A method is disclosed of retrofitting an elevator machine with primary and secondary braking, the machine being disposed on a machine support frame in an elevator machine room, and engaging one or more ropes for providing selective movement of an elevator car disposed in an elevator shaft, the machine having a drive sheave including a cylindrical brake drum, and brake components including dual brake arms; the method including: removing the brake components; affixing flanged disc segments about the drum and interlocking the flanged disc segments to form a brake rotor; and mounting respective brake calipers to frame mounts for providing primary and secondary braking to the elevator machine.
1. A method of retrofitting an elevator machine with primary and secondary braking, the machine being disposed on a machine support frame in an elevator machine room, and engaging one or more ropes for providing selective movement of an elevator car disposed in an elevator shaft, the machine having a drive sheave including a cylindrical brake drum, and brake components including dual brake arms;
the method comprising: removing the brake components;
affixing flanged disc segments about the drum and interlocking the flanged disc segments to form a brake rotor; and mounting respective brake calipers to frame mounts for providing primary and secondary braking to the elevator machine. 2. The method of 3. The method of 4. The method of 5. The method of 6. The method of 7. The method of 8. The method of 9. The method of 10. The method of 11. The method of 12. The method of 13. The method of 14. An elevator machine, retrofitted with primary and secondary braking, the machine being disposed on a machine support frame in an elevator machine room, and engaging one or more ropes for providing selective movement of an elevator car disposed in an elevator shaft, the machine having a drive sheave including a cylindrical brake drum, and brake components including dual brake arms;
the machine comprising: flanged disc segments, affixed about the drum and interlocked to form a brake rotor; and mounted, to frame mounts, respective brake calipers, for providing primary and secondary braking to the elevator machine. 15. The machine of 16. The machine of 17. The machine of 18. The machine of 19. The machine of 20. The machine of
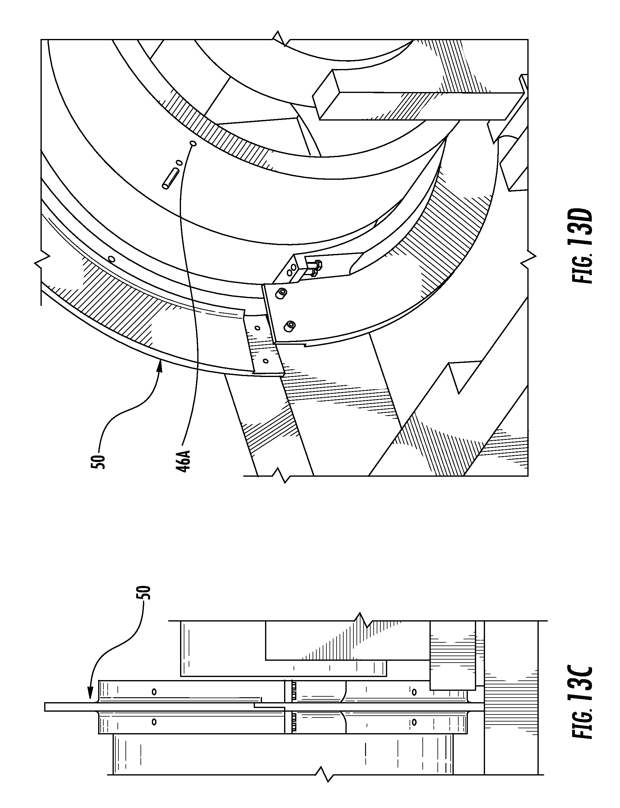
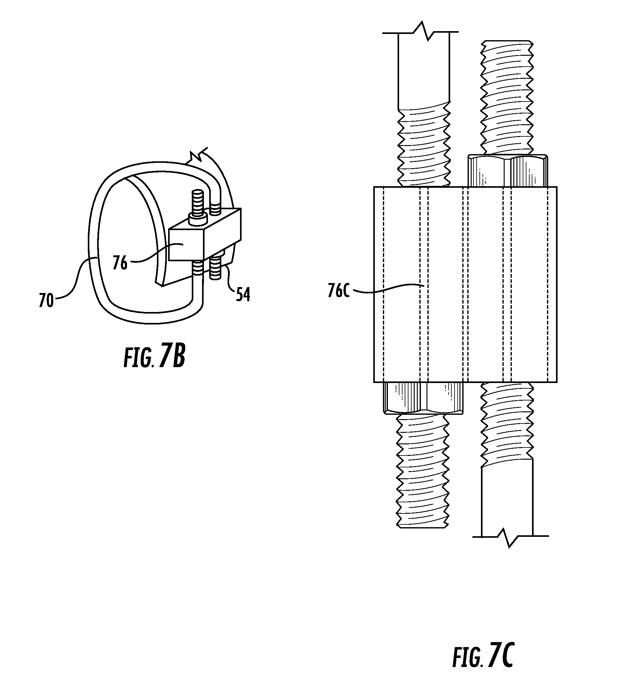
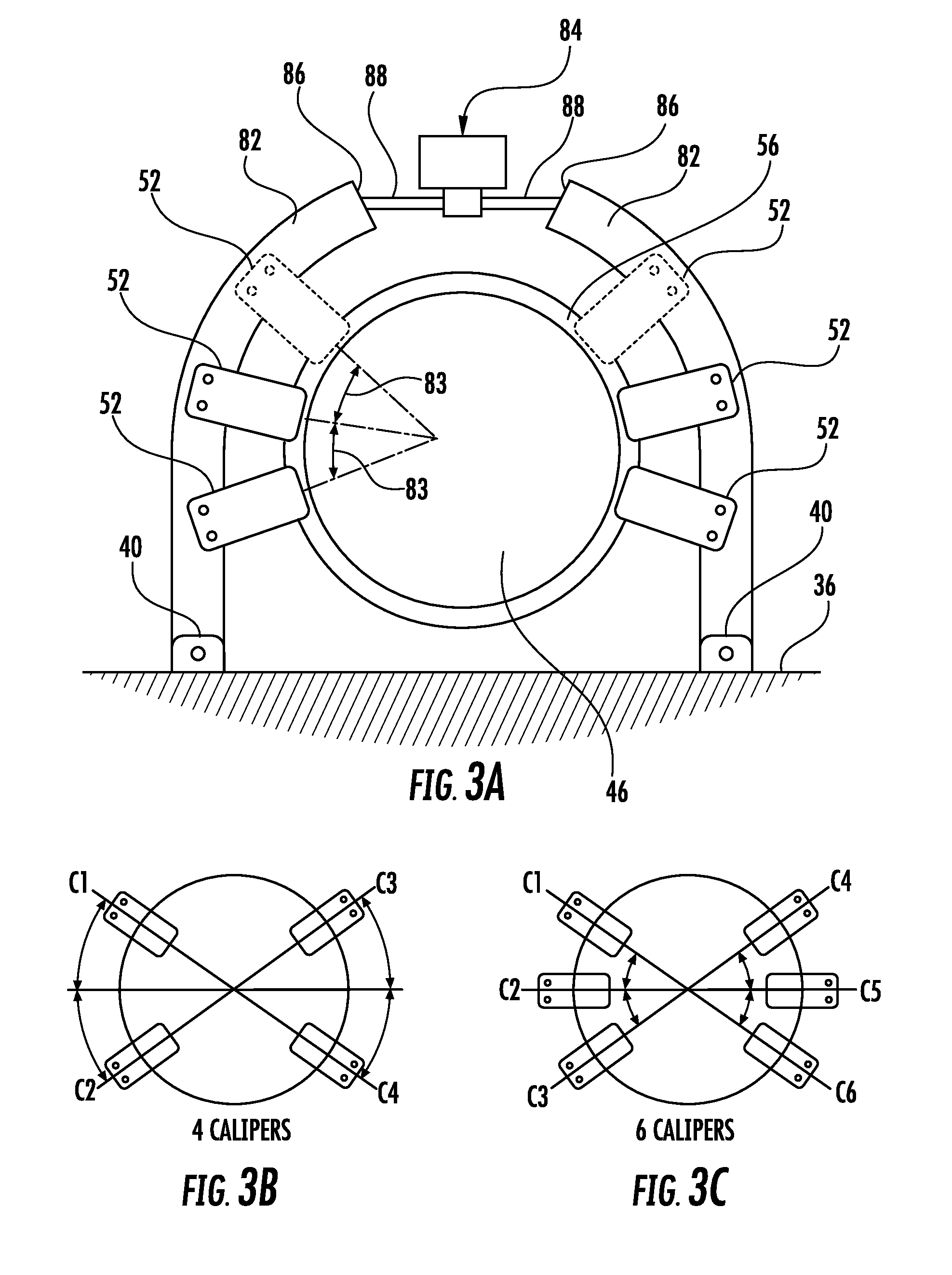
Exemplary embodiments pertain to the art of retrofitting elevator machines with braking functionality. Elevator systems are useful for carrying passengers between various levels in a building. There are various types of elevator systems. Some are referred to as traction-based systems because of reliance upon traction between a drive sheave and hoisting ropes to move and position the elevator car. Elevator machines in traction-based systems include a motor and a brake. There are a variety of known brake configurations. Supplemental brakes for conventional elevator machines are known. Some elevator codes require braking functions that are not provided by older machines. Supplemental brakes can be added to meet such code requirements. One type of supplemental brake is referred to as a rope grabber because it provides a mechanism for clamping onto the roping arrangement. A rope grabber prevents the roping arrangement from moving, which maintains a position of an elevator car within a hoistway. Rope grabber braking has drawbacks. One drawback is that the rope grabber system needs to be positioned below the elevator machine drive sheave. This requires taking up space within the hoistway or raising the elevator machine within a machine room for providing adequate spacing for the rope grabber system. Raising elevator machines is very costly, requires adequate clearance in the machine room, and may require new ropes. Such installation is cramped, resulting in limited accessibility for future service. Additionally, some elevator applications exceed the capability of existing rope grabbing devices, or have other space limitations. Rope grabbers, by applying braking forces directly onto the ropes, increase rope wear. Other options to meet new braking requirements include replacing the existing elevator machine with a completely new machine, which includes the necessary braking capabilities. Such action, however, can be costly and time consuming, and results in wasting otherwise serviceable elevator machinery. There is a need to enhance braking of installed elevators while eliminating the requirements of: (1) directly applying braking forces to elevator ropes; (2) mounting an additional braking device in the hoistway; (3) raising the elevator machine to accommodate proper braking; and (3) completely replacing elevator machinery, which results in unnecessary waste. On the other hand, there is a need for elevator machinery to include both a primary braking system and a secondary emergency braking system, per safety code requirements. Disclosed is a method of retrofitting an elevator machine with primary and secondary braking, the machine being disposed on a machine support frame in an elevator machine room, and engaging one or more ropes for providing selective movement of an elevator car disposed in an elevator shaft, the machine having a drive sheave including a cylindrical brake drum, and brake components including dual brake arms; the method including: removing the brake components; affixing flanged disc segments about the drum and interlocking the flanged disc segments to form a brake rotor; and mounting respective brake calipers to frame mounts for providing primary and secondary braking to the elevator machine. In addition to one or more of the features described above, or as an alternative, further embodiments may include that each flanged disc segment is formed from a rolled angle. In addition to one or more of the features described above, or as an alternative, further embodiments may include that each flanged disc segment is formed by affixing together an annular band segment and an annular flange segment and providing therebetween a keyed connection. In addition to one or more of the features described above, or as an alternative, further embodiments may include that the annular band segments and annular flange segments are welded and/or bolted together. In addition to one or more of the features described above, or as an alternative, further embodiments may include that affixing each flanged disc segment to the drum includes connecting, to circumferentially adjacent ends of each flange, fastening members, and thereafter fastening together the fastening members. In addition to one or more of the features described above, or as an alternative, further embodiments may include that the fastening members are circumferentially adjacent tubes, secured together via a bolt, at least one washer and a nut. In addition to one or more of the features described above, or as an alternative, further embodiments may include that affixing each flanged disc to the drum includes wrapping a continuous rod around an outer diameter of the drum, clamping together the rod ends, and providing hoop compression with a parallel rod clamp. In addition to one or more of the features described above, or as an alternative, further embodiments may include that the rod ends are threaded and the clamp includes tubes and tightening nuts. In addition to one or more of the features described above, or as an alternative, further embodiments may include that each flanged disc segment includes disc guide holes, the drum includes matching drum guide holes, and affixing the flanged disc segments to the drum includes positioning guide members therethrough, for orienting each flanged disc segment against the drum. In addition to one or more of the features described above, or as an alternative, further embodiments may include that the guide members are bolts or dowels. In addition to one or more of the features described above, or as an alternative, further embodiments may include that mounting calipers includes mounting caliper mounting arms to the respective frame mounts, and mounting the calipers to the respective mounting arms. In addition to one or more of the features described above, or as an alternative, further embodiments may include that the mounting arms each include a same number of calipers, circumferentially spaced about each arm by a mutually constant angle. In addition to one or more of the features described above, or as an alternative, further embodiments may include that the machine includes a brake magnet housing with a spring guide rod, supported by via a brake magnet mount, and mounting calipers includes mounting an end of the mounting arms to respective opposing ends of the brake magnet housing or spring guide rod. Further disclosed is an elevator machine, retrofitted with primary and secondary braking, the machine being disposed on a machine support frame in an elevator machine room, and engaging one or more ropes for providing selective movement of an elevator car disposed in an elevator shaft, the machine having a drive sheave including a cylindrical brake drum, and brake components including dual brake arms; the machine comprising: flanged disc segments, affixed about the drum and interlocked to form a brake rotor; and mounted, to frame mounts, respective brake calipers, for providing primary and secondary braking to the elevator machine. In addition to one or more of the features described above, or as an alternative, further embodiments may include that each flanged disc segment is affixed to the drum by connecting, to circumferentially adjacent ends of each flange, fastening members, and thereafter fastening together the fastening members. In addition to one or more of the features described above, or as an alternative, further embodiments may include that each flanged disc is affixed to the drum by wrapping a continuous rod around an outer diameter of the drum, clamping the rod ends, and providing hoop compression with a parallel rod clamp. In addition to one or more of the features described above, or as an alternative, further embodiments may include that each flanged disc segment includes disc guide holes, the drum includes matching drum guide holes, and guide members are positioned therethrough, for orienting each flanged disc segment against the drum. In addition to one or more of the features described above, or as an alternative, further embodiments may include caliper mounting arms, mounted to the respective frame mounts, and the calipers are mounted to the respective mounting arms. In addition to one or more of the features described above, or as an alternative, further embodiments may include that the machine includes a brake magnet housing, with a spring guide rod, supported by a brake magnet mount, and an end of the mounting arms is mounted to respective opposing ends of the brake magnet housing or spring guide rod. The following descriptions should not be considered limiting in any way. With reference to the accompanying drawings, like elements are numbered alike: A detailed description of one or more embodiments of the disclosed apparatus and method are presented herein by way of exemplification and not limitation with reference to the Figures. The disclosed embodiments involve the removal, from the existing elevator machine, the singular machine brake. Thereafter, the application of a new split disc, or split ring (collectively referred to as the “split disc”), is provided to the outside face surface of the existing machine drive sheave, i.e., on the existing brake drum surface. Brake calipers are then mounted onto the existing machine bedplate structure or to caliper mounting arms. Brake pads are positioned to straddle the split disc. The new split disc and brake calipers are sized to meet regulatory primary machine braking requirements. The same are sized, moreover, to meet regulatory secondary emergency braking requirements. The primary benefits of the disclosed embodiments, for retrofitting an elevator machine with primary and secondary braking components, include: (1) the ability to perform a complete installation of the braking system in the machine room; (2) avoiding the need to raise, or re-rope the machine; (3) avoiding the direct application of braking/clamping forces to the ropes in order to achieve desired braking; (4) accessibility to the system for service remains the same as that for the machine; (5) avoiding the need to replace the entire elevator machine to provide the disclosed braking features; and (6) associated cost savings. An elevator machine 30 causes desired movement of the elevator car 22 to provide desired elevator service. The elevator machine 30, which could be a traction elevator machine, includes two brake arms 32 and related braking machinery (not shown). In the example of An example procedure for retrofitting the machine with a braking arrangement according to disclosed embodiments is described below. As illustrated in The machine 30 is installed on a machine support frame 36 in an elevator machine room 38. The frame 36 has a pair of frame connection mounts 40, illustrated schematically in As illustrated in The method further includes mounting, to the frame connection mounts 40, respective brake calipers 52 ( As illustrated in As illustrated in As illustrated in As illustrated Turing back to Turning back to As illustrated, on each vertical half of the rotor 46, e.g., left and right halves, circumferentially adjacent calipers may be separated by a substantially constant angle. Also as illustrated, pairs of calipers on opposing vertical halves of the rotor 46 may be disposed on a common axis. This is illustrated with e.g., calipers C1 and C4 in the four caliper configuration ( As illustrated in In addition to the above method for retrofitting a machine, an elevator machine 30 retrofitted by the above method is considered part of the disclosure. Turning to Turning to Turning to Turning to Turning to Circumferentially opposing ends 56AA, 56BB of the flange 56 are half-lapped in the circumferential direction, to connect with circumferentially adjacent flanges 56 as illustrated in One of the circumferentially opposing ends 54A of the band 54 is provided with a pair of circumferentially extending countersunk impressions 54C and through-holes 54D ( The band 54 is provided with four pairs of radially extending through-holes 54G ( Turning to Those skilled in the art who have the benefit of this description will realize that a variety of brake configurations and a variety of machine configurations could be used that are different than the illustrated example. The techniques associated with the example retrofitting procedure may be used in a variety of elevator system configurations to retrofit a previously installed elevator machine with a supplementary brake. The preceding description is exemplary rather than limiting in nature. Variations and modifications to the disclosed examples may become apparent to those skilled in the art that do not necessarily depart from the essence of this invention. The scope of legal protection given to this invention can only be determined by studying the following claims. The terminology used herein is for the purpose of describing particular embodiments only and is not intended to be limiting of the present disclosure. As used herein, the singular forms “a”, “an” and “the” are intended to include the plural forms as well, unless the context clearly indicates otherwise. It will be further understood that the terms “comprises” and/or “comprising,” when used in this specification, specify the presence of stated features, integers, steps, operations, elements, and/or components, but do not preclude the presence or addition of one or more other features, integers, steps, operations, element components, and/or groups thereof. While the present disclosure has been described with reference to an exemplary embodiment or embodiments, it will be understood by those skilled in the art that various changes may be made and equivalents may be substituted for elements thereof without departing from the scope of the present disclosure. In addition, many modifications may be made to adapt a particular situation or material to the teachings of the present disclosure without departing from the essential scope thereof. Therefore, it is intended that the present disclosure not be limited to the particular embodiment disclosed as the best mode contemplated for carrying out this present disclosure, but that the present disclosure will include all embodiments falling within the scope of the claims.BACKGROUND
BRIEF DESCRIPTION
BRIEF DESCRIPTION OF THE DRAWINGS
DETAILED DESCRIPTION