The invention provides a method and apparatus for removing tattoos and treating hyperpigmentation lesions in skin using a femtosecond diode laser irradiation system. The system comprises a femtosecond diode laser capable of generating laser light that has a wavelength of 300 nm-12,000 nm, a power level of 300 mw-1000 mw, and a pulse duration of less than 1 picosecond. A manipulable wand is coupled to the diode laser by means of flexible waveguide, and the wand is held over the skin to irradiate an area of the skin containing tattoo ink or a hyperpigmentation lesion. Laser setting controls are set to achieve a depth and rate of photon absorption and conversion to heat in the skin sufficient to fracture tattoo ink particles or damage melanosomes with a lesion in a time frame short enough to prevent thermal damage to adjacent tissue.
1. A method of tattoo removal using a diode laser irradiation system, the method comprising:
selecting an area of skin containing tattoo ink; manipulating a wand over the skin, wherein the wand is coupled to a femtosecond diode laser and emits coherent light generated by the diode laser; irradiating the area of skin containing the tattoo ink with laser light from the femtosecond diode laser that has a wavelength of 300 nm-12,000 nm, a power level of 300 mw-1000 mw, and a pulse duration of less than 1 picosecond; and elevating the temperature of tattoo pigment particles within the skin by means of the laser light to a temperature sufficient to fracture the tattoo pigment particles in a time frame fast enough to prevent thermal damage to tissue peripheral to the tattoo pigment particles. 2. The method according to 3. The method according to 4. A diode laser irradiation system for removing tattoo ink from skin, the system comprising:
a femtosecond diode laser capable of generating laser light that has a wavelength of 300 nm-12,000 nm, a power level of 300 mw-1000 mw, and a pulse duration of less than 1 picosecond; a manipulable wand configured to be positioned over an area of skin, wherein the light-emitting device is coupled to the diode laser by a flexible waveguide and emits coherent light generated by the diode laser; and laser setting controls for operating the diode laser to achieve a depth and rate of photon absorption and conversion to heat in irradiated skin to elevate the temperature of tattoo pigment particles within the skin to a temperature sufficient to fracture the tattoo pigment particles in a time frame fast enough to prevent thermal damage to tissue adjacent to the tattoo pigment particles. 5. The diode laser irradiation system according to 6. The diode laser irradiation system according to 7. A method of treating hyperpigmentation lesions in skin using a diode laser irradiation system, the method comprising:
selecting a hyperpigmentation lesion in skin; manipulating a wand over the skin, wherein the wand is coupled to a femtosecond diode laser and emits coherent light generated by the diode laser; irradiating the hyperpigmentation lesion with laser light from the femtosecond diode laser that has a wavelength of 300 nm-12,000 nm, a power level of 300 mw-1000 mw, and a pulse duration of less than 1 picosecond; and elevating the temperature of the hyperpigmenation lesion by means of the laser light to a temperature sufficient to damage melanosomes with the lesion in a time frame fast enough to prevent thermal damage to tissue peripheral to the melanosomes. 8. The method according to 9. The method according to 10. A diode laser irradiation system for treating hyperpigmentation lesions in skin, the system comprising:
a femtosecond diode laser capable of generating laser light that has a wavelength of 300 nm-12,000 nm, a power level of 300 mw-1000 mw, and a pulse duration of less than 1 picosecond; a manipulable wand configured to be positioned over an area of skin, wherein the light-emitting device is coupled to the diode laser by a flexible waveguide and emits coherent light generated by the diode laser; and laser setting controls for operating the diode laser to achieve a depth and rate of photon absorption and conversion to heat in irradiated skin to elevate the temperature of a hyperpigmenation lesion within the skin to a temperature sufficient to damage melanosomes with the lesion in a time frame fast enough to prevent thermal damage to tissue adjacent to the melanosomes. 11. The diode laser irradiation system according to 12. The diode laser irradiation system according to
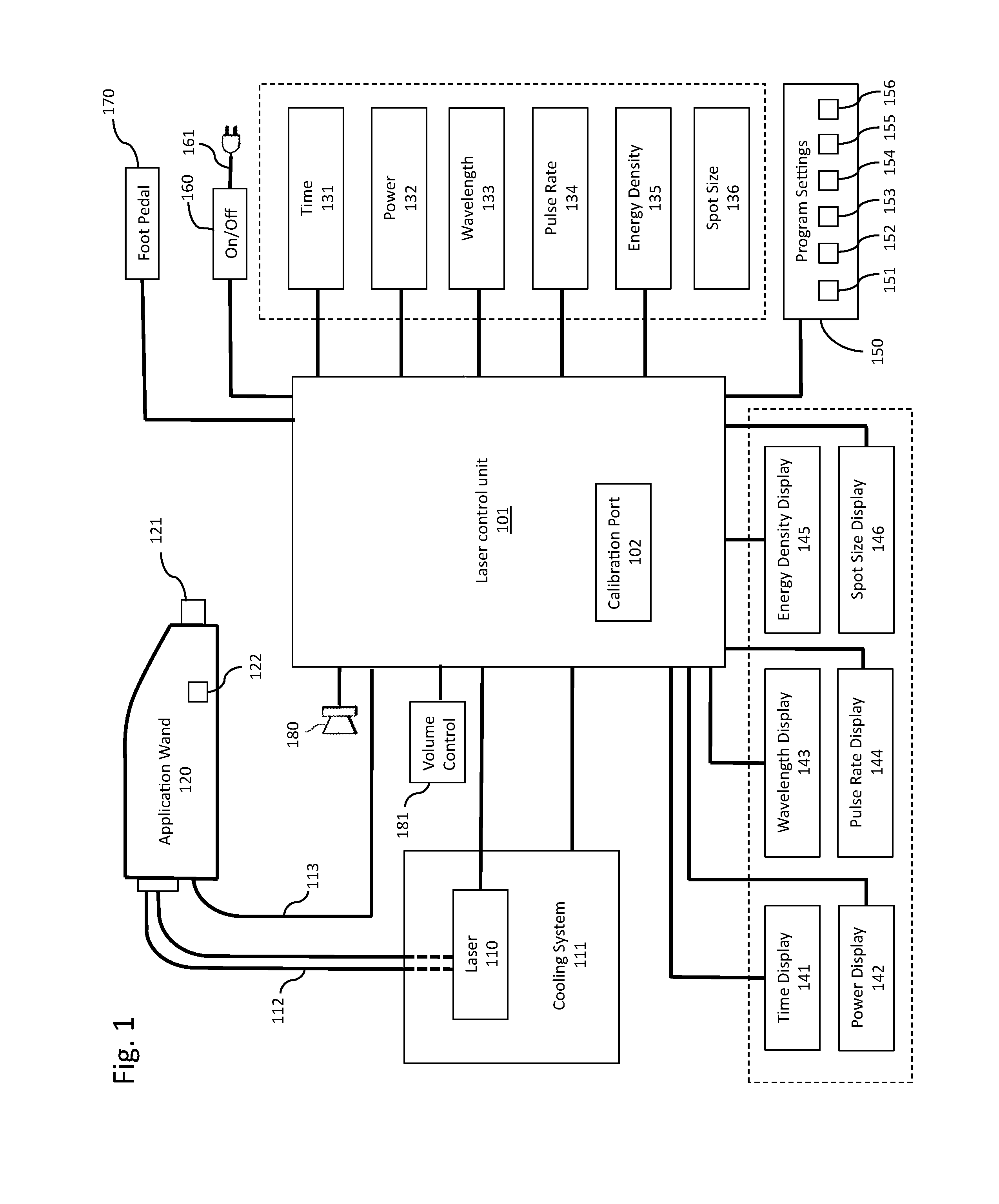
This application claims the benefit of and priority to U.S. Provisional Patent Application No. 62/408,499, filed Oct. 14, 2016, the technical disclosures of which are hereby incorporated herein by reference. The present invention relates general to medical application of lasers and more specifically to the use of lasers for treating hyperpigmentation of the skin and tattoo removal. Hyperpigmentation is a common condition in which patches of skin become darker in color than the normal surrounding skin. This darkening occurs when an excess of melanin, the brown pigment that produces normal skin color, forms deposits in the skin. Hyperpigmentation can be caused by sun damage, medications, inflammation, or other skin injuries, including those related to acne vulgaris. People with darker skin tones are more prone to hyperpigmentation, especially with excess sun exposure. An example of hyperpigmentation is melasma (also known as chloasma), which is a condition characterized by tan or brown patches, most commonly on the face. Melasma can occur in pregnant women. However, men can also develop this condition. Another form of hyperpigmentation is post inflammatory hyperpigmentation. Hyperpigmentation can be diffuse or focal, affecting such areas as the face and the back of the hands. Melanin is a class of pigment responsible for producing colour in the body in places such as the eyes, skin, and hair. Melanin is produced by melanocytes at the lower layer of the epidermis. As the body ages, melanocyte distribution becomes less diffuse and its regulation less controlled by the body. UV light stimulates melanocyte activity, and where concentration of the cells is greater, hyperpigmentation occurs. Tattooing comprises the injection of pigments into the skin's dermis, the second layer just below the epidermis. After initial injection, the pigment is dispersed down through the epidermis and upper dermis. In both layers the presence of foreign material activates the immune system's phagocytes to engulf the pigment particles in an attempt to absorb them and dispose of them through the bloodstream. However, the pigment particles are too big to be absorbed by the white bloods cells and as a result stay in place. As the skin heals from the injection, the damaged epidermis flakes away while granulated tissue forms deeper in the skin, which is later converted to connective tissue by collagen growth. The pigment remains trapped in the upper dermis within fibroblasts, ultimately concentrating in a layer just below the dermis/epidermis boundary. In essence, tattoos represent a form of artificial hyperpigmenation. The presence of the pigment in this layer is fairly stable, but in the long term (i.e. decades) the pigment tends to migrate deeper into the dermis, accounting for the degraded detail of old tattoos. As a result of this stability of pigment particles within the upper dermis it was long believed that tattoos are permanent. In recent years several methods of tattoo removal have been developed with varying degrees of success. Examples include dermabrasion, salabrasion (salt scrubbing), trichloroacetic acid (TCA), cryosurgery, and excision. However, the most successful tattoo removal method to date has been with lasers. Today, laser treatments for hyperpigmentation and tattoo removal are usually performed with Q-switched lasers. Common Q-switched lasers include Nd:YAG (neodymium-doped yttrium aluminum garnet), ruby, and alexandrite. Q-switching involves placing a variable attenuator (the Q-switch) inside the laser's optical resonator. When the Q-switch is functioning, light that leaves the gain medium does not return. As a consequence lasing cannot begin. This attenuation inside the laser cavity decreases the Q (quality) factor of the optical resonator. Conversely, when the Q-switch is not functioning, there is low resonator loss, thereby producing a high Q factor. Initially the laser medium is pumped while the Q-switch is set to prevent feedback of light into the medium. The amount of energy stored in the laser medium increases as the medium is pumped, eventually reaching a maximum level known as gain saturation. The device is then switched from low Q to high Q, allowing lasing to begin. Because of the large amount of energy already stored in the laser medium, the intensity of light in the laser resonator builds up very quickly, which also causes the stored energy to deplete quickly resulting is a short light pulse known as a giant pulse, which typically has high peak intensity. Typical Q-switched lasers can produce lights pulses on the order of nanoseconds in duration. Laser treatment of pigmented lesions is based on the theory of selective photothermolysis, which states that when a specific wavelength of energy is delivered in a period of time shorter that the thermal relaxation time (TRT) of the target chromophore, the energy is restricted to the target and causes less damage to the surrounding tissue. Hence, a laser should emit a wavelength that is specific and well absorbed by the particular chromophore being treated. A selective window for targeting melanin lies between 630 and 1100 nm, where there is good skin penetration and preferential absorption of melanin over oxyhaemoglobin. Absorption for melanin decreases as the wavelength increases, but a longer wavelength allows deeper skin penetration. Shorter wavelengths (<600 nm) damage pigmented cells with lower energy fluencies, while longer wavelengths (>600 nm) penetrate deeper but need more energy to cause melanosome damage. In addition to wavelength, pigment specificity of lasers also depends on pulse width. With an estimated TRT of 250-1000 ns, melanosomes require submicrosecond laser pulses (<1 μs) for their selective destruction, but longer pulse durations in the millisecond domain do not appear to cause specific melanosome damage. In the case of tattoo removal the laser pulses are used to shatter the ink particles in the skin into smaller particles that can be cleared out of the body through the lymphatic system. A tattoo removal laser needs to emit light within the given absorption spectrum of the pigment to provide an effective treatment. Therefore, different wavelengths are used for different colored inks. For example, red light is highly absorbed by green tattoo pigments. Black and dark-colored pigments can usually be removed completely. However, lighter colors such as green and light blue are more problematic. Laser removal of tattoo ink depends on four factors: 1) the color of the light must penetrate sufficiently deep into the skin to reach the ink; 2) the color of the laser light must be more highly absorbed by the tattoo pigment than the surrounding skin; 3) each laser pulse must deliver sufficient energy to heat the pigment to fragmentation; and 4) the pulse duration of the laser energy must be very short (on the order of nanoseconds or shorter) to allowing heating of the tattoo pigment to fragmentation temperature before the heat dissipates to surrounding tissue causing burns or scars. As with treatment of hyperpigmentation, pulse duration is a critical parameter for tattoo removal. Though generally superior to other forms of tattoo remove, laser removal is not without its drawbacks and side effects. Laser removal is frequently painful, requiring anesthetic during treatment. Nd:YAG lasers may cause hemoglobin absorption, leading to purpura (collection of blood under tissue in large areas), pinpoint bleeding, or whitening of the skin. Ironically, hyperpigmentation is another side effect as well as hypopigmentation and textural changes. These latter effects are more common with ruby and alexandrite lasers. Most of the side effects are related to pulse duration. Even on the order of nanoseconds, the pulse duration is long enough to result in tissue damage and pain. The invention provides a method and apparatus for removing tattoos and treating hyperpigmentation lesions in skin using a femtosecond diode laser irradiation system. The system comprises a femtosecond diode laser capable of generating laser light that has a wavelength of 300 nm-12,000 nm, a power level of 300 mw-1000 mw, and a pulse duration of less than 1 picosecond. In one embodiment the laser light has a wavelength of 1350 nm-1650 nm. In another embodiment the laser light has a wavelength of 1900 nm-2150 nm. A manipulable wand is coupled to the diode laser by means of flexible waveguide, and the wand is held over the skin to irradiate an area of the skin containing tattoo ink or a hyperpigmentation lesion. Laser setting controls are set to achieve a depth and rate of photon absorption and conversion to heat in the skin sufficient to fracture tattoo ink particles or damage melanosomes with a lesion in a time frame short enough to prevent thermal damage to adjacent tissue. The novel features believed characteristic of the invention are set forth in the appended claims. The invention itself, however, as well as a preferred mode of use, further objects and advantages thereof, will best be understood by reference to the following detailed description of an illustrative embodiment when read in conjunction with the accompanying drawings, wherein: The present invention provides a method and apparatus for skin treatment that can be applied to skin pigment lesions and tattoo removal using ultrashort, pulsed laser treatments. The control unit 101 receives power through a power supply line 161 adapted for connection to a conventional 120-volt power outlet. An on/off switch 160 is connected in series with the line 161 for controlling the flow of power through the line. A foot pedal 170 is connected to the control unit 101 and is depressible for activating the generation and emission of laser light through the wand 120. Activation may alternatively, or additionally, be provided using a switch 122 on the wand 120. The system includes laser setting controls 131-136 and corresponding setting displays 141-146. The setting controls 131-136 are utilized to select operational parameters of the control unit 101 according to desired treatment protocols. The setting controls include a treatment time control 131, power control 132, wavelength control 133, pulse rate control 134, pulse density control 135, and laser spot size control 136 in order to achieve the desired therapeutic effects. Adjustments in the operating parameters of the laser 110 utilizing the controls 131-136 make possible improved therapeutic effects based upon the aforementioned treatment protocols involving one or more of these parameters. It is understood that, according to the specific embodiment of the control unit 101, the setting controls may include any combination of one or more of the controls 131-136. The setting displays include a time display 141, a power display 142, a wavelength display 143, a pulse rate display 144, a pulse density display 145, and a laser spot size display 146. In one embodiment, each of the displays 141-146 comprise light emitting diode (LED) displays such that the corresponding setting controls 131-136 can be operated to increment or decrement the settings, which are then indicated on the displays. A programmed settings controller 150 is used to save setting selections and then automatically recall them for convenience, using one or more buttons 151-156, for example. The time control 131 adjusts the time that laser light is emitted from the wand 120 from, e.g., 0.01 to 9.99 minutes in 0.01-minute intervals, as indicated on the time display 141. The time display 141 can be set as a countdown display or an accumulated display. Once the time control 131 is set, in countdown mode the time display 141 indicates the setting so that as the wand 120 is operated the time is decremented to zero. In accumulated mode the time display 141 increments from zero (or any other reset value) as the wand 120 is operated so that the total treatment time is displayed. The time display 141 takes into account the pulsed operation of the system. The power control 132 adjusts the power dissipation level of the laser light in a range from zero up to 12 W, with typical operation ranging from about 500 mw to 1000 mw. The wavelength control 133 allows the operator to tune the wavelength of light generated by the laser 110 depending on the specific application. The pulse rate control 134 adjusts the pulse rate of the laser 110. The pulse repetition rate (or pulse repetition frequency) frep of a regular train of pulses is defined as the number of emitted pulses per second. The pulse rate is displayed on the pulse duration display 144 in terms of pulses-per-second (PPS) or repetition frequency. Where as Q-switched solid-state lasers allow repetition rates from below 1 Hz to the order of 100 kHz, mode-locked solid-state lasers (see below) have typically have pulse repetition rates between 1 MHz and 100 MHz. The energy density control 135 adjusts the energy delivered per unit area, also known as fluence, which is measured in J/cm2 and displayed on the energy density display 145. Typical energy density used might be in the range of about 0.0001 to about 0.0015 joules/cm2. The spot size control 136 adjusts the focal size of the laser pinpoint. This is typically measured in mm2, which is displayed on the spot size display 146. Spot size, for example, may be 0.5 mm2 to 2 mm2. An audio volume control 181 is provided for generating an audible warning tone from a speaker 180 when laser light is being generated. A calibration port 102 is utilized to verify laser performance by placing the wand 120 in front of the port. The port 102 determines whether the system is operating within calibration specifications and automatically adjusts the system parameters. While not shown, the control unit 101 includes digital and analog electronic circuitry for implementing the foregoing features. The details of the electronic circuitry necessary to implement these features will be readily understood by one of ordinary skill in the art in conjunction with the present disclosure and therefore will not be described in further detail. In a preferred embodiment of the invention, the laser 110 is a femtosecond laser that emits optical pulses with a duration of below 1 picosecond (ps), i.e., in the domain of femtoseconds (fs) (1 fs=10−15 s). Such lasers belong to the category of ultrafast lasers or ultrashort pulse lasers, which are generally defined within the art as lasers with pulse durations on the order of tens of femtoseconds (quadrillionths of a second). The generation of such ultrashort pulses is typically achieved with the technique of passive mode locking, which is based on the use of a saturable absorber inside the laser resonator. The saturable absorber selectively absorbs low-intensity light and transmits light that is of a sufficiently high intensity. Examples of saturable absorbers for passive mode locking include semiconductor saturable absorption mirrors (SESAMs) and quantum dots (e.g., of lead sulfide) suspended in glass. As light in the resonator cavity oscillates, the saturable absorber selectively amplifies high-intensity spikes and absorbs low-intensity light. This process has the effect of inducing a fixed-phase relationship between the longitudinal modes (standing wave states of excitation) of the laser's resonant cavity. Interference between these modes causes the laser light to be generated as a train of pulses of extremely short duration (i.e. a few femtoseconds). Examples of diodes used in femtosecond lasers include, but are not limited to, neodymium:glass (Nd:glass), titanium-sapphire (Ti:Sapphire), and ytterbium-doped gain media such as Yb:YAG, yttrium vanadate (Yb:YVO4), Yb:Sr3Y(BO3)3 (aka Yb:BOYS), Yb:GdCa4O(BO3)3 (aka Yb:GdCOB), Yb:glass, e.g. based on silicate or phospate glasses, and monoclinic potassium double tungstates such as Yb:KGW, Yb:KYW and Yb:KLuW. Due to heat generated during operation, the laser 110 is coupled to a cooling system 111, which removes excess heat from the laser system 110 to avoid overheating critical components. Examples of laser cooling systems that can be used with the present invention include recirculating chillers, liquid-to-liquid cooling systems, ambient cooling systems, cold plates, and heat exchangers, and other laser cooling techniques known in the art. The critical aspect of femtosecond laser technology is the speed at which the light is fired. The focused ultrashort pulses eliminate the collateral damage of surrounding tissues and the heat generation associated with slower excimer and Nd:YAG lasers, which have longer pulse durations on the order of nanoseconds. Whereas excimer lasers produce precise superficial effects, femtosecond lasers produce precise deeper effects within tissue. Medical application of femtosecond lasers has been limited primarily to ophthalmology, especially for use in cataract and corneal refractive surgery due to the delicate tissues in the eye. However, the application of femtosecond lasers to other medical fields such as dermatology is relatively unexplored. Furthermore, the use of femtosecond lasers in ophthalmology has been for cutting and ablation. The present invention employs femtosecond laser light at much lower power levels to prevent tissue damage. The present invention uses femtosecond laser pulses with wavelengths ranging from 300 nm-12,000 nm at a power level of 300 mw-1,000 mw to remove tattoo ink from skin or reduce hyperpigmentation lesions. In one embodiment of the invention the wavelengths used for tattoo removal are 1400 nm-1650 nm and 1900 nm-2150 nm. Similarly, for treatment of pigmentation lesions, embodiments of the invention employ wavelengths of 1350 nm-1650 nm and 1900 nm-2150 nm. At these wavelengths, the light photons reach the deeper layers of the skin and are able to reach the ink pigment particles trapped in the upper dermis just below the dermis/epidermis boundary and fragment the tattoo pigment particles into particles small enough for the immune system to clear from the body and do so in a time frame short enough to prevent thermal damage to tissue adjacent to the pigment particles. They are also capable of to causing melanosome damage in hyperpigmentation lesions in a time frame fast enough to prevent thermal damage to tissue peripheral to the melanosomes. In contrast to Q-switched nanosecond lasers typically used for tattoo removal, the short duration of the femtosecond laser pulses of the present invention produces considerably less discomfort requiring less anesthetic during the procedure or even obviating its use altogether. In addition, the femtosecond pulses produce considerably less collateral tissue damage and stress than that produced by nanosecond lasers such as Nd:YAG lasers. The laser light is applied to the skin by means of the hand-held wand 120. The laser light is supplied to the wand 120 by the laser unit 110 through a flexible waveguide 112. The wand 120 is sized to be easily manipulated by the user. In the example shown in The wand 120 has a lens 121 that focuses the laser beam and controls dispersion of the light. In an embodiment, the lens may also be used to adjust the spot size of the laser beam in addition to or as an alternative to the spot size controller 136. In an embodiment, any spot size adjustment made with the lens 121 is displayed on the spot size display 146. In operation, the switch 160 is closed (i.e., turned on) to power up the control unit 101, at which time the displays becomes illuminated, thereby indicating that the control unit is receiving power. The time control 131 is set for specifying a desired duration of time for laser treatment, which time is displayed on the countdown (or accumulation) display 141. The amount of power is set by the power control 132, and displayed on the power display 142. The pulse rate control 134 is set for the laser. The pulses-per-second or repetition frequency is displayed on the pulse rate display 144. Depending on the laser unit 110 the wavelength of the laser light may also be tuned and adjusted with controller 133, which is displayed on wavelength display 143. The energy density control 135 is also set and displayed on the energy density display 145. The spot size of the laser may be set with the spot size control 136 and/or the lens 121 on the handheld wand 120 and displayed on the spot size display 146. It can be appreciated that the laser parameters above are thus selectable for the control unit 101 and are to be determined by the treatment protocols relating to the character of the tissue to be treated, the color of the tattoo ink pigment, the depth of penetration desired, and the condition of the patient. The audio volume control 181 can be adjusted to control the volume of the tone generated from the speaker 180. After the laser operating parameters are set, the wand 120 may be directed into the calibration port 102 to verify the accuracy of the system. The wand 120 may then be applied to patient tissue for therapy. The foot pedal 170 and/or the wand switch 122 may be depressed to cause therapeutic laser light energy to be generated from the wand 120. To indicate that laser light energy is being generated, an audible tone is generated from the speaker 180. The generated laser optical energy is applied to target regions of the body (i.e. tattoo). The surface of the tissue in the region to be treated is demarcated to define an array of grid treatment points, each of which points identifies the location of an aforementioned small treatment area. Each small treatment area is irradiated with the laser beam light to produce the desired therapeutic effect. The energy of the optical radiation is controlled by the power control 131 and applied as determined by treatment protocols. The laser beam wavelength, spot or beam size, power dissipation level, and time exposure are thus carefully controlled to avoid damaging the tissue from thermal effects. The description of the present invention has been presented for purposes of illustration and description, and is not intended to be exhaustive or limited to the invention in the form disclosed. Many modifications and variations will be apparent to those of ordinary skill in the art. The embodiment was chosen and described in order to best explain the principles of the invention, the practical application, and to enable others of ordinary skill in the art to understand the invention for various embodiments with various modifications as are suited to the particular use contemplated. It will be understood by one of ordinary skill in the art that numerous variations will be possible to the disclosed embodiments without going outside the scope of the invention as disclosed in the claims.CROSS-REFERENCE TO RELATED APPLICATIONS
TECHNICAL FIELD
BACKGROUND OF THE INVENTION
SUMMARY OF THE INVENTION
BRIEF DESCRIPTION OF THE DRAWINGS
DETAILED DESCRIPTION OF THE DRAWINGS