An apparatus includes one or more memories storing computer readable code and processor(s). The processor(s), in response to loading and executing the computer readable code, cause the apparatus to perform operations including receiving electrocardiogram data from an electrocardiogram sensor. The electrocardiogram data includes data from an electrocardiogram from a person. The operations also include receiving pulse wave data from one or more pulse wave pressure sensors. The pulse wave data includes data from one or more pulse waves from the person. The operations further include determining blood pressure using the electrocardiogram data or the pulse wave data from the chest and the pulse wave data from the wrist or finger, and outputting an indication of the blood pressure. Another apparatus uses pulse wave data from two pulse wave sensors (e.g., pulse wave pressure sensor(s) and/or PPG sensor(s)) and blood pressure determinations are made using these pulse wave data.
1. An apparatus, comprising:
one or more memories storing computer readable code and one or more processors, the one or more processors, in response to loading and executing the computer readable code, causing the apparatus to perform operations comprising: receiving first pulse wave data from a first pulse wave sensor placed at a first location on a person, the first pulse wave data comprising data from one or more pulse waves from the first location of the person; receiving second pulse wave data from a second pulse wave sensor placed at a second location on the person, the first and second locations being different locations on the person, the second pulse wave data comprising data from one or more pulse waves from the second location of the person; determining blood pressure using at least the first and second pulse wave data; and outputting an indication of the blood pressure. 2. The apparatus of 3. The apparatus of 4. The apparatus of a sensor structure, comprising: a first portion configured to contact a surface of skin under which arteries or veins or both are to be located; a second portion that contacts the first portion and is configured to have a capacitance, wherein the first and second portions are configured to create a capacitance change in response to a squeezing or bending between the first portion and a fixed part of the second portion caused by a pulse pressure under the skin and in response to a return to an original state of the first portion with a release of the pulse pressure; circuitry connected to the sensor structure and configured to measure and transmit waveforms for the sensor unit and configured to digitize the measured waveforms, wherein each waveform captures the capacitance change for its corresponding individual sensor unit. 5. The apparatus of 6. The apparatus of 7. The apparatus of 8. The apparatus of 9. The apparatus of 10. The apparatus of 11. The apparatus of 12. The apparatus of where h is the person's height, a and b are constants which are empirically obtained, PTT is a pulse transit time determined using the first and second pulse wave data, and ln(•) means natural logarithm, and wherein FIT is determined as a time between a corresponding maximum inclination in pulse wave data from one of the pulse wave PPG sensor or the pulse wave pressure sensor and a corresponding maximum inclination in pulse wave data from the other of the pulse wave PPG sensor or the pulse wave pressure sensor. 13. The apparatus of 14. The apparatus of 15. The apparatus of where c, d and e are constants which are empirically obtained, and T2 is determined using certain pulse wave data from either the pulse wave pressure sensor or the pulse wave sensor and is a time interval between a peak point of a pulse wave in the certain pulse wave data and a baseline point where the pulse wave reaches to the baseline. 16. The apparatus of 17. The apparatus of determining the systolic blood pressure using the following equation:
where SBP is systolic blood pressure, SBPPTT is the systolic blood pressure based on the pulse transit time (PTT), α is defined empirically, and SIDVP is a stiffness index. 18. The apparatus of 19. The apparatus of where subject height is a height of a person and ΔTDVP is a time difference between a forward wave point and a reflective wave point and is determined using one of the first or second pulse wave data. 20. The apparatus of
SBPPTT
DBP=
SBP=SBPPTT[1+α×SIDVP],
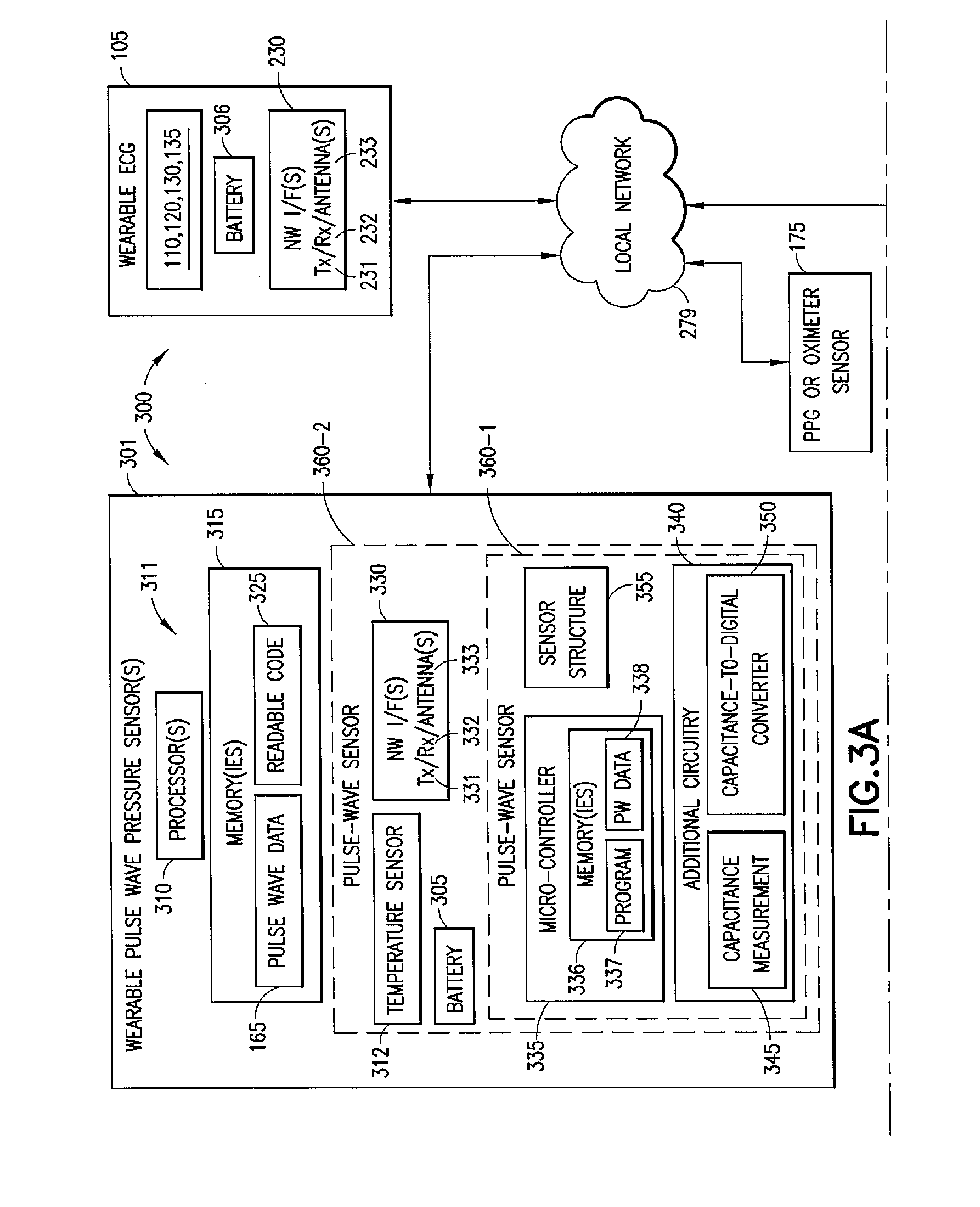
The present application is a continuation of U.S. patent application Ser. No. 15/269,040, filed on Sep. 19, 2016, the disclosure of which is hereby incorporated by reference in its entirety. This invention relates generally to sensors and, more specifically, relates to wearable sensors. Abbreviations used in the specification and/or drawings are defined below, prior to the claims. Today, monitoring of personal health and wellness from detecting an early onset of a disease to monitoring recovery from medical intervention can be infrequent and/or costly. For instance, one risk factor for cardiovascular disease (CVD) is high blood pressure. Typically, high blood pressure develops over a long time period and may not be found until substantial damage has been done. Monitoring blood pressure in real time and in a remote mode could help reduce, prevent, or cure certain cardiovascular diseases. The following summary is merely intended to be exemplary. The summary is not intended to limit the scope of the claims. In one example, an apparatus includes one or more memories storing computer readable code and one or more processors. The one or more processors, in response to loading and executing the computer readable code, causing the apparatus to perform operations comprising: receiving electrocardiogram data from an electrocardiogram sensor, the electrocardiogram data comprising data from an electrocardiogram from a person; receiving pulse wave data from at least one pulse wave pressure sensor, the pulse wave data comprising data from one or more pulse waves from the person; determining blood pressure using at least the electrocardiogram data and the pulse wave data; outputting an indication of the blood pressure. In another example, an apparatus comprises one or more memories storing computer readable code and one or more processors. The one or more processors, in response to loading and executing the computer readable code, causing the apparatus to perform operations comprising: receiving first pulse wave data from a first pulse wave sensor placed at a first location on a person, the first pulse wave data comprising data from one or more pulse waves from the first location of the person; receiving second pulse wave data from a second pulse wave sensor placed at a second location on the person, the first and second locations being different locations on the person, the second pulse wave data comprising data from one or more pulse waves from the second location of the person; determining blood pressure using at least the first and second pulse wave data; and outputting an indication of the blood pressure. The word “exemplary” is used herein to mean “serving as an example, instance, or illustration.” Any embodiment described herein as “exemplary” is not necessarily to be construed as preferred or advantageous over other embodiments. All of the embodiments described in this Detailed Description are exemplary embodiments provided to enable persons skilled in the art to make or use the invention and not to limit the scope of the invention which is defined by the claims. It is possible to provide an estimate of blood pressure for a human being (i.e., a person) by using data from an electrocardiogram (ECG) and at least one photoplethysmography (PPG) (also called photoplethysmogram) sensor, which is usually implemented as an oximeter. Referring to Turning to Using the PTT and additional information such as pulse wave velocity (PWV), height of a person, and body correlation factors, the person's blood pressure can be determined. For instance, see the P. Fung article cited above; H. Gesche et al., “Continuous blood pressure measurement by using the pulse transit time: comparison to a cuff-based method”, European Journal of Applied Physiology, Volume 112, Issue 1, pp 309-315 (January 2012); and S. Fuke et al., “Blood pressure estimation from pulse wave velocity measured on the chest”, 35th Annual International Conference of the IEEE EMBS Osaka, Japan (3-7 Jul. 2013). While these are useful tools, they can be improved upon. For instance, exemplary embodiments here provide a wearable blood pressure monitoring system with a wearable ECG (electrocardiogram) on, e.g., the chest and a wearable pressure sensor on, e.g., the wrist. The wearable pressure sensor on the wrist can generate more precise artery pulse waves than a typical photoplethysmography (PPG), the technique of which is often employed for an oximeter. One of the highly sensitive pressure sensors is made of elastomeric pyramids which, upon pressing and releasing, generate pulse waves in the form of a capacitance (across the pressure sensor) versus time graph. In an exemplary embodiment, an electronic hub receives (e.g., wirelessly) ECG and pulse wave signals. Certain exemplary embodiments also include an upgraded algorithm that can provide an output of more precise blood pressures which can be transferred (e.g., wirelessly) to, for instance, a cognitive/cloud system that in turn may communicate with hospitals, doctors, and/or users. Another possible aspect of the exemplary embodiments is to measure and store a person's artery stiffness index which is indicative of hypertension or vascular diseases. The cumulated records of blood pressures and artery stiffness indices can be used for an early diagnosis and/or cure of certain cardiovascular disease(s). One possible aspect of the exemplary embodiment includes the use of a more wearable and sensitive pressure sensor on, e.g., the wrist. There are at least two distinct advantages of the types of pressure sensors used herein over the PPG or oximeter: (1) A first advantage is better sensitivity to provide more precise pulse wave signals. (2) A second advantage is much less power consumption since the pressure sensors used herein generate their capacitance variation by pulses without requiring much electrical power, while an oximeter (e.g., PPG) needs to emit light (e.g., red and infrared from LEDs) and detect reflection or transmission of the lights, which consumes a larger amount of power relative to the sensors used herein. That is, the pressure sensor still needs a little electrical power to detect capacitance variation, but this amount of power will be much smaller than the electrical power to emit light and detect light as in an oximeter (e.g., PPG). Referring to A wearable pulse wave pressure sensor 301 includes, in one example, one or more processor(s) 310, a battery 305, one or more network (NW) interfaces (I/F) 330, one or more memories 315, a temperature sensor 312, and a layered and multi-sectional pulse wave sensor 360-1. Each network interface 330 typically includes a transmitter (Tx) 331, a receiver (Rx) 332, and one or more antennas 333. The one or more memories include pulse wave data 165 and computer readable code 325. In an exemplary embodiment, the one or more processors 310 execute the computer readable code 325 and cause the wearable pulse wave pressure sensor 301 to perform operations as described herein. In another example, the operations are embedded into the one or more processors 310 (or other circuitry 311), e.g., as hardware elements (such as integrated circuits, programmable logic devices, or the like), and the one or more processors 310 or the other circuitry 311 performs the operations. In a further example, some combination of hardware or code may be used to implement the operations described herein. A pulse wave pressure sensor is a sensor that senses blood flow via pressure of the blood (and other parts of a person, such as skin) produced on the sensor. A pulse wave PPG sensor is a sensor that senses blood flow, typically by using green, red and/or infrared light (and other parts of a person, such as skin) produced on the sensor. A pulse wave sensor in this disclosure means either a pulse wave pressure sensor or a pulse wave PPG sensor. The layered and multi-sectional pulse wave sensor 360-1 comprises a micro-controller 335, a sensor structure 355, and additional circuitry 340. The micro-controller 335 comprises one or more memories 336, which comprise a program 337 of computer readable code and pulse wave data 338. The additional circuitry 340 comprises capacitance measurement circuitry 345 and capacitance-to-digital converter circuitry 350. Exemplary sensor structures are described below. The sensor structure 355 may have one or multiple sections, such as three or six sections, each section being an individual sensor unit (also called a pixel). See the examples of possible sensors in FIG. 3, 6A, 6B, 8, 9, or 10 in U.S. patent application Ser. No. 14/872,209, filed on Oct. 1, 2015, by Afzali-Ardakani et al., with applicant of International Business Machines Corporation. The micro-controller 335 can execute code in the program 337 to cause the pulse wave sensor 360-1 to perform operations described herein, or the operations can be embedded as hardware (e.g., in the micro-controller 335 or other circuitry), or some combination of these may be used. The micro-controller 335 can cause the capacitance measurement circuitry 345 to determine waveforms, for all of the individual sensing units, capturing changes in capacitance in the sensor structure 355 caused in response to bending of layers by a pulse wave under the skin. The waveforms are converted to digital signals by the capacitance-to-digital converter 350 and stored as PW data 338 in the one or more memories 336. The one or more processors 310 can cause the pulse wave sensor 360-1 to transfer the PW data 338 to the one or more processors 310, which then stores the data in the memory/memories 315 as pulse wave data 165. The pulse wave data 338 and 165 may be the same or could be different, depending on implementation. For instance, the pulse wave data 338 could be sent in a stream or in bursts to the processor(s) 310, and the processors 310 would then construct the pulse wave data 165 from this, and the pulse wave data 165 could contain information from multiple pulses. The one or more processors 310 can cause the wearable pulse wave pressure sensor 301, using the one or more network interfaces 330, to transmit the pulse wave data 165 to the wearable BP hub 205 via the local network 279. In another example, the wearable device 301 does not include the one or more processors 310 or the one or more memories 315, and “only” includes the pulse wave sensor 360-2. Pulse wave sensor 360-2 includes the battery 305 and the network interface 330 and transmits the PW data 338 to the wearable BP hub 205 via the local network 279. The wearable ECG 105 includes one or more electrodes 110, wiring 120, ECG circuitry 130, and an ECG wave data 135 (e.g., as digital data). The wearable ECG 105 also includes a battery 306, and one or more network interfaces 230, each of which typically includes a transmitter 231, receiver 232, and one or more antennas 233. The ECG circuitry 130 may comprise one or more processors and one or more memories. The wearable BP hub 205 includes one or more processors 210, and one or more memories 215, a battery 307, a display 250, and one or more network interfaces 240, each typically comprising a transmitter 241, a receiver 242, and one or more antennas 243. The one or more memories 215 include pulse wave data 165, ECG wave data 135, computer readable code 225, height data 226, BDC 227, and BP data 255. The BP data 255 is determined using the pulse wave data 165, the ECG wave data 135, the height data 226, and the BDC data 227 as described in more detail below. In an exemplary embodiment, the one or more processors 210 execute the computer readable code 225 and cause the wearable pulse wave pressure sensor 301 to perform operations as described herein. In another example, the operations are embedded into the one or more processors 210 (or other circuitry 206), e.g., as hardware elements, and the one or more processors 210 or other circuitry 206 performs the operations. In a further example, some combination of hardware or code may be used to implement the operations described herein. The display 250 may or may not be present, but if present, may be used to display the BP data 255, for instance. The display 250 could be LED, LCD, or any other suitable device suitable for display of information to a user. The display could also indicate that the blood pressure is too high (e.g., using a red color), too low (e.g., using a yellow color), or is in a normal range (e.g., using a green color). Other colors, blood pressure, ranges, and indications may be used. It should be noted that the data 165 and 135 are numbered the same even though the corresponding data exists on multiple devices. This is simply for ease of exposition. The data could be the same on all of the devices or be different. In one example, the wearable BP hub 205 determines the BP data 255 (using techniques described below), and transmits the BP data 255 to a server 395 via a wired or wireless (or both) network(s) 379 such as the Internet or the cloud. The network interface(s) 240 are typically wireless, but could be implemented via wires. The wearable BP hub 205 may also display the blood pressure and/or stiffness index (and/or potentially other elements such as a patient's height), in addition to or in lieu of transmitting the data. The server 395 comprises one or more processors 370 and one or more memories 380, which comprise a program 375 of computer readable code. The one or more processors 370, in response to execution of the computer readable code in the program 375, cause the server to interact with the wearable BP hub 205 to receive the BP data 255 (and other data, such as stiffness index, indication(s) whether the BP is high, normal, low, or error messages, and the like). The server 395 may also send out one or more alert(s) 376, e.g., to a doctor, nurse, hospital, patient, and the like. The doctor, nurse, hospital, and/or patient can then determine a course of action for the patient, such as prescribing a medication, diet change, lifestyle modification, or other action. Although the computer system 395 is characterized as a “server”, this is only one possibility. The computer system 395 may also be “local” to the person using the system 300, such as being an app on the person's smartphone, tablet, or computer system, or on a movable cart in a hospital. In this case, the network 379 could be a local wireless (e.g., WI-FI) or wired network. The server 395 may also be part of a cognitive/cloud system that in turn may communicate with hospitals, doctors, and/or users. The processors 210, 310, 335, and 370 and ECG circuitry 130 may be any suitable processing device for the particular environment, such as application specific integrated circuits, single or multicore processors, low power processors (e.g., as used in smartphones or tablets), general purpose processors, digital signal processors, and the like. The memories 215, 315, 336, and 380 (and any memories in the ECG circuitry 130) may be any suitable memory, such as RAM, ROM, removable memory, memories internal or external to processors, memory that retains its values without power or only retains its values with power, and the like. Portions or all of a data collection and a compression algorithm may be carried out in the program 337 running on the microcontroller 335 making the capacitance to digital measurements. This program could be in an assembly code. This would reduce the amount of data that would need to be transmitted (e.g., wirelessly) to the wearable BP hub 205 which would in turn lower the power consumption (an advantage for battery power operation). In the simplest example, the microcontroller 335 would know enough not to transmit when no pulse is detected (e.g., not attached to the patient yet), as opposed to continually transmitting capacitance to digital results. The microcontroller 335 could place the sensor 360-1 into an off state (e.g., where no measurements are made and, e.g., no current is passed into the capacitor(s)) in response to no pulse being detected. In addition, the microcontroller 335 could cause the sensor 360-1 to perform measurements only periodically even if a pulse is detected. Additionally, a temperature sensor 312 could be included and the microcontroller could use data from the temperature sensor 312 (e.g., configured to sense temperature from the skin) to determine whether to take sensor data or not. For instance, if the temperature reading from the temperature sensor 312 does not meet some criterion (e.g., within a few degrees of normal body temperature for a human), the microcontroller could place the sensor 360-1 into an off state (e.g., where no measurements are made and, e.g., no current is passed into the capacitor(s)). The batteries 305, 306, and 307 are used to power their respective devices. Each of these may be one or multiple batteries and may be any suitable batter for this purpose. The batteries may or may not be rechargeable, and it's also possible for the batteries to be replaced or augmented with plugged-in sources of power, such as Alternating Current. Now that an exemplary system has been described, additional details about possible exemplary embodiments are described. In the exemplary embodiments herein, the PPG can be replaced with a pressure sensor (e.g., the sensor structure 355), which has better sensitivity and energy efficiency and is more suitable for wearable sensing devices. In another exemplary system, two or more pulse wave sensors can be employed without employing an ECG to obtain blood pressures. In this case, pulse transit time can be obtained between two pulse wave sensors worn on two different body locations (for example, one on chest and the other on wrist). Also, two new algorithms have been developed to get both systolic and diastolic blood pressures in a way that the diastolic blood pressure (DBP) is dependent on the systolic blood pressure (SBP) and that the algorithms are simplified. An aspect of the invention includes a new algorithm for SBP, which is different from that used previously (see Fuke, et al, in 35th Annual International Conference of the IEEE EMBS, 2013) in which a person's height has not been used. The equation by Fuke, et at, is SBP=a*ln(1/PTT2)+c where a and c are constants and ln(•) means natural logarithm. However, it is important to incorporate a subject person's height into the equation since the pulse transit time is related to the length of an artery between two sensors (e.g., ECG and pulse wave sensor). The taller a person, the longer the artery from chest to wrist. The new algorithm in this invention is SBPPTTa*ln(h2/PTT2)+b where h is a person's height and a and b are constants which will be empirically obtained and further optimized. The PTT may be determined as illustrated in reference to The new algorithm for DBP, which is another aspect of the invention, is DBP=c*SBPPTT+d T2+e where c, d and e are constants which are determined empirically, and T2 is a time interval between the peak point 201 of a pulse wave and the baseline point 202 where the pulse wave reaches to the baseline as shown in In another aspect of the invention, an algorithm has been developed in order to include a factor of an artery stiffness index so as to determine more precise blood pressures. One exemplary algorithm is as follows. The first equation is the following: where SIDVP is a stiffness index (e.g., in cm/ms), and α is defined empirically. The acronym DVP means digital volume pulse which is a wrist pulse pressure. Pulse wave velocity (PWV) is also an important factor that indicates a health condition. As shown in the prior art by Gesche, et al. Eur J Appl Physiol (2011), the PWV may be calculated as follows: where BDC is body correlation factor (e.g., a calibrating constant without units), the height (of a person) can be in cm, the PTT is pulse transit time in ms. The height multiplied by BDC corresponds to the distance from the sternal notch to the tip of the middle finger: The PTT may be determined as illustrated in reference to The SIDVP and also a ΔTDVP can be determined using the wearable pulse wave pressure sensor 301. where SIDVP is in cm/ms and Subject height is the height of the person being measured, in meters. Thus, the stiffness index (SIDVP) is inversely proportional to the time difference between the forward wave point and the reflective wave point (ΔTDVP). It is noted that the stiffness index may be determined using pulse wave data from the wearable pulse wave pressure sensor 301, but may be determined using pulse wave data from the PPG sensor 175. It is expected that younger persons have more flexible arteries while older persons have stiffer arteries. This is illustrated by All the important health conditions discussed in this disclosure such as systolic/diastolic blood pressures, pulse transit times, stiffness indices, pulse wave velocities, forward/reflective wave points can be measured with ECG, PPG (either transmission or reflection mode), mechanical pressure sensors and/or combinations of two or more of such sensors. A reflection mode PPG sensor 175 likely can be more convenient in wearables, such as wrist watches and neck bands. All the data-collection techniques including sensor handling and algorithm-equations can also be implemented with a wide range of ECGs, PPGs, mechanical pressure sensors, and/or combinations of two or more of such sensors. Furthermore, algorithms used for these health conditions can be built into a sensor, a separate microprocessor, a smart phone and/or a personal computer, as non-limiting examples. Possible pulse wave sensors 360 may include the following. The design of the pulse wave sensor unit, in one example, includes a dielectric layer and particularly pyramid-shaped elastomeric dielectrics to maximize the change of capacitance by the same pressure from arteries and the sensor also involves microhairs to enhance the contact of the sensor to skin so as to enhance the detection sensitivity as shown in In this example, the individual sensor unit 360-2 is shown contacting skin 665 of a body part 670, which contains one or more arteries 680 (of which one is shown in FIG. 6). The arteries 680 generate pulse pressures 675 that pass through the first and second portions 910, 920 (and the third sensor layer 971) and cause squeezing (e.g., deformation and bending) of the elastomeric pyramids 630 of the first and second portions 910, 920 (and the third layer 971) at least to some extent. This squeezing therefore causes a capacitance change, and the circuitry 610 can determine waveforms capturing this change. Additionally, the first and second portions 910, 920 (and the third layer 971) are configured to create a capacitance change in response to a return of the portions to an original state with a release of the pulse pressure. It is assumed that at least the elements 615 and 620 are fixed (e.g., to a watch for instance) and the squeezing occurs between the elements 615/620 and the portions 910, 920, and part (e.g., elements 625, 630) of 971. It is desirable that the squeezing occurs mostly with the elastomeric pyramids so that the change of the capacitance between the two conductive layers 645 and 640 or 625 and 620 can be maximized. The shape of the dielectrics 630-1, 630-2 are exemplary, but use of pyramid shapes helps to increase the pulse wave signal to noise ratio so as to improve the data quality. The dielectric pyramids 630-1, 630-2 may be made of polymeric elastomer such as polydimethylsiloxane (PDMS). The two capacitors C1, 690-1 and C2, 690-2 are operated in series in an embodiment. Referring to In terms of the examples herein, it has been primarily assumed that one wave from an ECG would be used and one pulse wave from a pulse wave pressure sensor would also be used, where the pulse wave pressure sensor was usually on the wrist. However, it is possible to determine the PTT and other information using two pulse wave sensors and the data from them. Turning to In this example, one of the pulse waves 165-1/165-2 is determined using a pulse wave pressure sensor such as shown in The following are additional examples. A system with ECG, pulse wave sensors, and electronic hub can diagnose various cardiovascular diseases that include but are not limited to high blood pressure, hypertension, arrhythmias, pulse rates, sinus blocks, and pacemaker impulse. A system with ECG, pulse wave sensors, and additional sensors such as a sound sensor, a strain gauge sensor, and/or an electromyography (EMG) sensor can act to provide more data with integration to the electronic hub in support of continuous or timed or periodic measurements and correlation with the heart, blood flow and/or blood pressure as well as other data that could aide modeling and analytical characterization of the body. Further, it is possible to use a controlled manual, semi-automated or automated blood pressure wrist, arm, or other location blood pressure monitor which can provide a secure position to begin an inflation step of a bladder or cuff such that blood flow is altered or stopped for a short time, followed by bladder pressure relief while sensors characterize the blood pressure and/or blood flow. Such a periodic measurement or measurements can aide in blood pressure calibration under controlled measurement conditions such as having a person or patient remain relatively still during this procedure. This may be performed in a doctor's office, for instance. Further calibration of the relative stiffness of arteries and veins may be determined via measurement of the pulse wave of blood flow with multiple sensors such as those highlighted above and with blood pressure measurements due to a periodic, inflatable bladder to restrict blood flow with increased pressure and measurement at elevated bladder pressure down through reduced or no bladder pressure while monitoring blood flow, relative pulse shape and/or blood pressure. Ultrasound characterization between sensors may also be deployed to determine distance between sensor on a person or other animals. The system can incorporate encryption in system hardware, communications and use to provide security on personal information, tracking, recording and access. Use of one or more electrical contacts ECG and/or EMG sensors may improve quality of data. The one or more sensors may be on the body as a wearable device adhesively joined in a temporary manor to the skin or may be joined to or be part of clothing or other wearable solutions. The pulse wave sensors may be on the body such as on the chest cavity or elsewhere as a wearable such as by using an adhesive to form a temporary attachment to the skin, integrated into a shirt or attached to a shirt, pants, socks or other clothing, in a watch band or ankle bracelet. The use of two or more sensors may take advantage of ultrasound sensors or sound communication to provide reference of distance from one sensor to another. For instance, when measuring the pulse transit time using an ECG and a pulse wave sensor, there can be an error due to the difference between the heart's electrical R signal and the heart's ventricle valve opening as the ventricle muscle squeezes blood to make the valve open. The error can be limited if two pulse wave sensors instead of one ECG and one pulse wave sensor are used. However, it is not easy to employ the two pulse wave sensors due to signal detection issues. One or more ECG and/or EMG sensors may be co-located in close proximity with one or more pulse wave sensors such as at or near the heart, on the chest cavity, an arm(s), leg(s) or elsewhere on the body. One or more ECG and/or EMG sensors may be used, which are located remotely from the pulse wave sensor or sensors such as but not limited to on the torso/chest cavity for ECG and or EMG and on legs and/or arms for pulse wave sensor(s). Data from ECG/EMG and pulse wave sensors can be communicated between sensors and such data collection may be performed by, e.g., a microprocessor by wired communication, wireless communication or both. The blood pressure monitoring systems described above may be used with other sensors such as motion sensors, accelerometers, gyroscopic sensors, temperature sensors, humidity sensors, oxygen sensors, chemical sensors, and the like. These sensors may be used on the body for client evaluation in at least the following scenarios: while resting (e.g., sleeping), lying down, sitting up, standing, as examples; while exercising or moving such as walking, running, swimming; while under stress such as at work, having a lack of sleep, and/or being in dangerous environment; and relative to the environment, temperature, humidity, sea level high altitude, low oxygen, polluted air environment, chemical exposure and other environmental conditions. As will be appreciated by one skilled in the art, aspects of the present invention may be embodied as a system, method or computer program product. Accordingly, aspects of the present invention may take the form of an entirely hardware embodiment, an entirely software embodiment (including firmware, resident software, micro-code, etc.) or an embodiment combining software and hardware aspects that may all generally be referred to herein as a “circuit,” “module” or “system.” Furthermore, aspects of the present invention may take the form of a computer program product embodied in one or more computer readable medium(s) having computer readable program code embodied thereon. Any combination of one or more computer readable medium(s) may be utilized. The computer readable medium may be a computer readable signal medium or a computer readable storage medium. A computer readable storage medium may be, for example, but not limited to, an electronic, magnetic, optical, electromagnetic, infrared, or semiconductor system, apparatus, or device, or any suitable combination of the foregoing. More specific examples (a non-exhaustive list) of the computer readable storage medium would include the following: an electrical connection having one or more wires, a portable computer diskette, a hard disk, a random access memory (RAM), a read-only memory (ROM), an erasable programmable read-only memory (EPROM or Flash memory), an optical fiber, a portable compact disc read-only memory (CD-ROM), an optical storage device, a magnetic storage device, or any suitable combination of the foregoing. In the context of this document, a computer readable storage medium may be any tangible medium that can contain, or store a program for use by or in connection with an instruction execution system, apparatus, or device. A computer readable storage medium does not include a propagating wave. A computer readable signal medium may include a propagated data signal with computer readable program code embodied therein, for example, in baseband or as part of a carrier wave. Such a propagated signal may take any of a variety of forms, including, but not limited to, electro-magnetic, optical, or any suitable combination thereof. A computer readable signal medium may be any computer readable medium that is not a computer readable storage medium and that can communicate, propagate, or transport a program for use by or in connection with an instruction execution system, apparatus, or device. Program code embodied on a computer readable medium may be transmitted using any appropriate medium, including but not limited to wireless, wireline, optical fiber cable, RF, etc., or any suitable combination of the foregoing. Computer program code for carrying out operations for aspects of the present invention may be written in any combination of one or more programming languages, including an object oriented programming language such as Java, Smalltalk, C++ or the like and conventional procedural programming languages, such as the “C” programming language or similar programming languages. The program code may execute entirely on the designer's computer, partly on the designer's computer, as a stand-alone software package, partly on the designer's computer and partly on a remote computer or entirely on the remote computer or server. In the latter scenario, the remote computer may be connected to the designer's computer through any type of network, including a local area network (LAN) or a wide area network (WAN), or the connection may be made to an external computer (for example, through the Internet using an Internet Service Provider). Aspects of the present invention are described above with reference to flowchart illustrations and/or block diagrams of methods, apparatus (systems) and computer program products according to embodiments of the invention. It will be understood that each block of the flowchart illustrations and/or block diagrams, and combinations of blocks in the flowchart illustrations and/or block diagrams, can be implemented by computer program instructions. These computer program instructions may be provided to a processor of a general purpose computer, special purpose computer, or other programmable data processing apparatus to produce a machine, such that the instructions, which execute via the processor of the computer or other programmable data processing apparatus, create means for implementing the functions/acts specified in the flowchart and/or block diagram block or blocks. These computer program instructions may also be stored in a computer readable medium that can direct a computer, other programmable data processing apparatus, or other devices to function in a particular manner, such that the instructions stored in the computer readable medium produce an article of manufacture including instructions which implement the function/act specified in the flowchart and/or block diagram block or blocks. The computer program instructions may also be loaded onto a computer, other programmable data processing apparatus, or other devices to cause a series of operational steps to be performed on the computer, other programmable apparatus or other devices to produce a computer implemented process such that the instructions which execute on the computer or other programmable apparatus provide processes for implementing the functions/acts specified in the flowchart and/or block diagram block or blocks. The terminology used herein is for the purpose of describing particular embodiments only and is not intended to be limiting of the invention. As used herein, the singular forms “a”, “an” and “the” are intended to include the plural forms as well, unless the context clearly indicates otherwise. It will be further understood that the terms “comprises” and/or “comprising,” when used in this specification, specify the presence of stated features, integers, steps, operations, elements, and/or components, but do not preclude the presence or addition of one or more other features, integers, steps, operations, elements, components, and/or groups thereof. The corresponding structures, materials, acts, and equivalents of all means or step plus function elements in the claims below are intended to include any structure, material, or act for performing the function in combination with other claimed elements as specifically claimed. The description of the present invention has been presented for purposes of illustration and description, but is not intended to be exhaustive or limited to the invention in the form disclosed. Many modifications and variations will be apparent to those of ordinary skill in the art without departing from the scope and spirit of the invention. The embodiment was chosen and described in order to best explain the principles of the invention and the practical application, and to enable others of ordinary skill in the art to understand the invention for various embodiments with various modifications as are suited to the particular use contemplated. The following abbreviations that may be found in the specification and/or the drawing figures are defined as follows:
CROSS-REFERENCE TO RELATED APPLICATIONS
BACKGROUND
SUMMARY
BRIEF DESCRIPTION OF THE DRAWINGS
DETAILED DESCRIPTION
SBP=SBPPTT[1+α×SIDVP],
PWV=BDC×height/PTT,