заявка
№ US 20170122077
МПК E21B41/00

Systems and Methods For Evaluating and Optimizing Stimulation Efficiency Using Diverters

Авторы:
Mojtaba Pordel Shahri Jian Huang Clayton S. Smith
Все (12)
Номер заявки
15334074
Дата подачи заявки
25.10.2016
Опубликовано
04.05.2017
Страна
US
Дата приоритета
15.12.2025
Номер приоритета
Страна приоритета
Как управлять
интеллектуальной собственностью
Реферат

The disclosure pertains to the determining the efficiency of stimulation operations in a hydrocarbon well. Stimulation is performed in a hydrocarbon well and various data is obtained therefrom. The data is used to develop a simulation of fluid flow in the well and the simulation is used to model a synthetic tracer log, which corresponds to a modeled level of efficiency. Numerous synthetic tracer logs may be generated in this way so that tracer logs are available for a variety of different stimulation efficiencies. In order to determine the efficiency of an actual stimulation, the real tracer log of the stimulated well may be compared to the synthetic tracer logs in search of a match. When the real tracer log matches a synthetic tracer log the modeled efficiency of the synthetic log may be used as the actual or true efficiency of the real well stimulation.

Формула изобретения

1. A method comprising

identifying a primary fluid path for production of hydrocarbons;

performing one or more first stimulation operations within the primary fluid path and obtaining stimulation data and a real tracer log from the one or more first stimulation operations;

obtaining fluid diversion data, including at least pressure build-up information;

receiving a first efficiency of diverters;

simulating diversion and stimulation in the primary fluid path based at least upon the collected stimulation data, and the first efficiency of diverters;

using the simulation to create a first synthetic tracer log having a modeled diversion efficiency;

determining the first diversion efficiency of the one or more first stimulation operations within the primary fluid path by comparing the first synthetic tracer log to the real tracer log.

2. The method of claim 1, wherein determining the first diversion efficiency of the one or more stimulation operations within the primary fluid path by comparing the synthetic tracer log to the real tracer log, includes comparing a plurality of synthetic tracer logs to the real tracer log, where each of the plurality of synthetic tracer logs is associated with a different efficiency of diverters.

3. The method of claim 2, further comprising determining a match between one of the plurality of synthetic tracer logs with the real tracer log, wherein a match is determined when there is a correlation between one of the plurality of synthetic tracer logs and the real tracer log.

4. The method of claim 3, wherein a match is determined when the correlation between the one of the plurality of synthetic tracer logs and the real tracer log is greater than a pre-determined threshold.

5. The method of claim 1, wherein the stimulation data includes one or more of the following: completion design, pumping schedule, geomechanical properties, or reservoir properties.

6. The method of claim 1, wherein the efficiency of diverters is a function of diverters' properties, and includes at least one parameter affecting particles jamming and sealing process.

7. The method of claim 1, further comprising:

performing one or more further stimulation operations upon the primary fluid path, wherein operational parameters of the further stimulation operations are optimized based at least on part upon the first diversion efficiency of the one or more stimulation operations within the primary fluid path.

8. The method of claim 7, wherein the operational parameters include a modified pumping schedule.

9. The method of claim 8, wherein the modified pumping schedule includes changing a diverters' injection time and properties.

10. The method of claim 9, wherein the diverters' properties includes at least one of the parameters affecting the particles jamming and sealing process.

11. The method of claim 1, wherein the efficiency of diverters is a function of diverters' properties and includes at least one diverter slurry property chosen from the group of concentration, size, shape, size distribution, fluid viscosity and rate.

12. A non-transitory program storage device, readable by a processor and comprising instructions stored thereon to cause one or more processors to:

identifying a primary fluid path for production of hydrocarbons;

performing one or more first stimulation operations within the primary fluid path and obtaining stimulation data and a real tracer log from the one or more stimulation operations;

receive fluid diversion data, including at least pressure build-up information based upon a first stimulation operation in a primary fluid path;

receiving a first efficiency for diverters;

simulating diversion and stimulation in the primary fluid path based at least upon the collected stimulation data, and the received first efficiency of diverters;

using the simulation to create a first synthetic tracer log associated with an assumed diversion efficiency and a modeled diversion efficiency, wherein the received first efficiency for diverters is the assumed diversion efficiency;

determine the first diversion efficiency of the one or more first stimulation operations within the primary fluid path by comparing the first synthetic tracer log to the real tracer log.

13. The non-transitory program storage device of claim 12, wherein determining the first diversion efficiency of the one or more first stimulation operations within the primary fluid path by comparing the synthetic tracer log to the real tracer log, includes comparing a plurality of synthetic tracer logs to the real tracer log, where each of the plurality of synthetic tracer logs is associated with a different assumed efficiency of diversion.

14. The non-transitory program storage device of claim 13, wherein further instructions cause the one or more processors to determine a match between one of the plurality of synthetic tracer logs with the real tracer log, wherein a match is determined when there is a correlation between one of the plurality of synthetic tracer logs and the real tracer log.

15. A method comprising performing one or more first stimulation operations within a well;

performing diversion operations within the well;

receiving diversion data, based at least in part upon the diversion operations;

receiving stimulation data of one or more first stimulation operations;

receiving a first efficiency for diverters;

simulating diversion and stimulation in the well based at least upon the stimulation data, and the first efficiency of diverters;

based upon the simulation, creating a first synthetic tracer log having an assumed diversion efficiency and a modeled diversion efficiency, wherein the assumed diversion efficiency is the first efficiency for diverters;

comparing the first synthetic tracer log to the real tracer log;

determining the true diversion efficiency of the one or more first stimulation operations based upon the comparing.

16. The method of claim 15, wherein comparing the synthetic tracer log to the real tracer log includes comparing a plurality of synthetic tracer logs to the real tracer log, where each of the plurality of synthetic tracer logs is associated with a different assumed efficiency of diversion.

17. The method of claim 16, further comprising determining a match between one of the plurality of synthetic tracer logs with the real tracer log, wherein a match is determined when there is a correlation between one of the plurality of synthetic tracer logs and the real tracer log.

18. The method of claim 17, wherein a match is determined when the correlation between the one of the plurality of synthetic tracer logs and the real tracer log is greater than a pre-determined threshold.

19. The method of claim 15, further comprising:

performing one or more further stimulation operations within the well or an associated well, wherein operational parameters of the further stimulation and diversion operations are modified based at least on part upon the verified diversion efficiency.

20. The method of claim 19, wherein the operational parameters include a modified pumping schedule.

21. The method of claim 20, wherein the modified pumping schedule includes changing a diverters' injection time and properties.

22. The method of claim 21, wherein the diverters' properties includes at least one of the parameters affecting the particles jamming and sealing process.

23. The method of claim 15 wherein the diversion efficiency and operations comprise:

identifying one or more undesired openings in the well;

evaluating a plurality of particle types using a dry analysis to determine a subset of the plurality of particle types, the subset of the plurality of particle types comprising one or more candidate particle types, wherein the selection of the candidate particle types is based upon the probability of one or more of the candidate particle types creating a stable jam of a first undesired opening of the one or more undesired openings;

performing a wet analysis regarding sealing the already developed jammed structure, using as inputs the candidate particle types and data regarding the first undesired opening;

determining, by the wet analysis at least a particle concentration and a particle ratio;

providing a diversion fluid in the well, wherein a plurality of the constituents of the diversion fluid are based upon the parameters controlling jamming and sealing process.

Описание

RELATED APPLICATIONS AND CLAIM FOR PRIORITY

[0001]

This application is a continuation in part of and claims priority from pending U.S. application Ser. No. 14/931,664 filed on Nov. 3, 2015, which is incorporated herein by reference in its entirety.

BACKGROUND

[0002]

Inventions disclosed herein relate to stimulation of hydrocarbon wells using diverters and evaluating and optimizing the efficiency of such stimulation. Other inventions also relate to the field of fluid flow diversion by use of mechanical blocking agents, such as degradable, solid-particle diverting agents. One particular example of products in this field is Weatherford International's TBLOCKSURE® product line. At the time of this filing, TBLOCKSURE® is a trade name given to a suite of self-degradable, polymer-based, temporary diversion materials that are useful in a number of Oil and Gas operations, primarily to facilitate the flow of fluids into areas of the reservoir where they would not normally go based upon fluid dynamics. Fluids that are introduced into a reservoir, for purposes such as stimulation, typically take the path of least resistance and therefore will frequently go into areas where there are open flow paths. These areas of least resistance are not necessarily the areas targeted for stimulation and/or treatment (e.g., to increase production or target formation damage). To counteract this phenomenon of fluid flowing in the path of least resistance, mechanical diversion techniques may be employed. However, a variety of factors, including production need, regulatory requirements, or environmental concerns may necessitate the physical removal of the mechanical diversions. The phenomenon may also be counteracted through the use of temporary degradable diversion systems, for example blocking agents that degrade with time, heat, pressure, or other natural or augmented treatment. These temporary degradable diversions work well for zonal isolation and do not need to be removed (e.g., from a well) mechanically after the intervention since they are capable of degrading (e.g., with time) from a solid polymer state into a fluid, such as a clear non-damaging liquid monomer solution.

[0003]

The chemistries used for degradable diversions, such as TBLOCKSURE® product chemistries, may be designed to exhibit a variation of jamming, sealing, and degrading properties. For example, diversion agents may be capable of degrading across a wide temperature range to monomer species that will not damage a hydrocarbon bearing formation. In addition, diversion agents may be designed to accommodate significant temperature variations (e.g., from 80° F. up to 325° F.) with variable degradation times (e.g., between a few hours to a few days). This may be achieved, for example, through the selection of polymer chemistry, shape, size, or other particle parameter.

[0004]

However, despite the useful design of these various degradable polymers, the successful deployment and use of this technology in the field (e.g., as a temporary diverter) is heavily dependent upon optimization that contemplates engineering and geo-mechanical design as it relates to the particulars of the environment. In simpler words, the potential of modern degradable diversion agents is extremely limited in the absence of timely-created workflows and processes that contemplate, in correct proportions, job-specific factors as well as historical field data, experimental data, modeling, and specifically beneficial mathematical analysis.

[0005]

Furthermore, the effectiveness of diversion application may be expressed as pressure build up in the well and the effectiveness of corresponding stimulation using production data (in an area where the diversion fluids are redirected). However, the efficiency of diverters under downhole condition may not be assessed accurately using these methods in operational environments.

SUMMARY

[0006]

In any application where fluid paths are employed, there may be a need or desire to divert fluid around openings that might undesirably absorb fluid flow. These applications may include hydrocarbon production operations such as drilling, fracturing, or stimulating wells, but they may also include any processes where the control of fluid flow is useful. Therefore, applications of the embodiments herein may reach fluid flow in any context such as in natural formations, man made formations, man-made facilities (e.g., conduits or casings of any kind), or any combination of the foregoing.

[0007]

Regarding diversion, in some embodiments, the major mechanisms controlling the success of the diversion process can be divided into two main subcategories of jamming and sealing. In an exemplary embodiment, a first phase of the diversion process may include the formation of a stable jammed structure. This structure may form the base for an effective sealing mechanism. In a second phase of an example embodiment, a seal may be formed over and/or within the jam to limit or extinguish the flow paths that exist in the jammed structure. Thus, a fluid diversion is created.

[0008]

Many embodiments of the present disclosure relate to customized processes using engineered diverting agents (e.g., TBLOCKSURE®) for jamming and subsequent sealing of openings such as existing perforations, natural fractures, or fissures or openings in rock or geographic formations of any kind. Among many potential applications, these embodiments may have implications to hydrocarbon production operations, acidizing, multi-stage hydraulic fracturing, fracturing, and refracturing of geologic formations or man made formations of any kind. In a general embodiment of the disclosure, field data; experimental data; analytical functions or models; and numerical functions or models may be used to specify diversion-related parameters, such as optimum particle concentration, optimum particle size, optimum ratio of particle types, pressure build-up and predictions thereof, and/or optimum particle shapes.

[0009]

Some embodiments of the disclosure propose processes or workflows that combine proprietary proportions of analytical and numerical techniques to optimize the variable constituents of jamming and sealing, such as particle size, particle size distribution (including, without limitation, particle ratio), particle shape, particle concentration, flow rate, and fluid viscosity. In some embodiments, these and potentially other variable parameters may be customized to the target formation and the job-specific goals to ensure effective and efficient sealing of existing openings. For example, an illustrative proposed process or workflow may specify the variable parameters in view of multiple analyses applied in proprietary sequence and/or proportions, where the analyses contemplate the available data in view of the target formation, and to optimize a process or workflow for application of diverting agents. In some embodiments the created workflow or process may be created to most efficiently target a particular pressure build-up capability.

[0010]

In a current and common application of diversion implementation, a pre-specified ratio of particles may be pumped into the treatment area at a specified rate, while the pressure build-up is either monitored or intermittently checked. If the pressure builds as desired, then no adjustments are made to the process and the diversion is completed after the target pressure is reached. However, if the pressure build-up does not move as desired, typical field behavior may be to simply change particle concentration by pumping more pounds per gallon (for higher desired pressure). In these situations, even if there is a desire to vary other parameters relating to pressure build-up, the field operators are left to essentially guess at solutions because the number of factors is large and the potential changes that may be applied to the diversion operation is virtually infinite.

[0011]

A process or workflow under one or more embodiments proposed herein may take into account, in appropriate proportions, field data or experimental data yielding formation specific properties so that engineering design can be customized based on data unique to different formations. For example, a sample application concerning a particular fluid path and subject to particular job requirements may require a seal over existing flow pathways where the seal can withstand differential pressures up to a specified psi (e.g., practically sometimes exceeding 6,000 psi). Yet, the job demands may also require the solid particles to completely degrade in a controlled amount of time (e.g., .N hours) after the completion of the intervention. Using the techniques and proposals described herein, a strong diversion seal may be dynamically created, in some embodiments, by using material particle sizes (e.g., 100 mesh-7 mesh) that are smaller than the openings to be sealed (e.g., typically up to 10 mm, but potentially much larger).

[0012]

Many embodiments herein iteratively employ analytical and numerical functions and modeling, for example to run simulations and obtain the results thereof. In particular, as discussed in further detail below, specifically directed use of coupled Computational Fluid Dynamics (CFD), Discrete Element Methods (DEM), and analytical models may be used to create custom design and implementation criteria and processes for controlling fluid diversion and pressure build-up. In one or more embodiments, the analytical models may be calibrated with both experimental data and field data in order to enhance the customization of the diversion techniques employed.

[0013]

Varying embodiments of the disclosure may use modeling engines, which may incorporate different scenarios so that the factors affecting diversion efficiency may be optimized. By designing, in correct and proprietary proportions, the application of chemistries, particle shapes and sizes, as well as pressure, temperature, and other parameters, a diversion operation may be engineered and/or customized for the best result in each fluid path. For example, each diversion operation may be customized to the particular hydrocarbon formation, a particular well, or even a particular segment or branch of a well. This customization with data unique to each local environment (e.g., depth, mechanical properties, formation breakdown pressures, etc.) may provide efficient and robust sealing and jamming procedures and results. For example, different parameters, such as particle size, shape, concentration, ratio, flow rate, etc., may be optimized to achieve a desired diversion (e.g., during re-fracturing processes or other wellbore operations).

[0014]

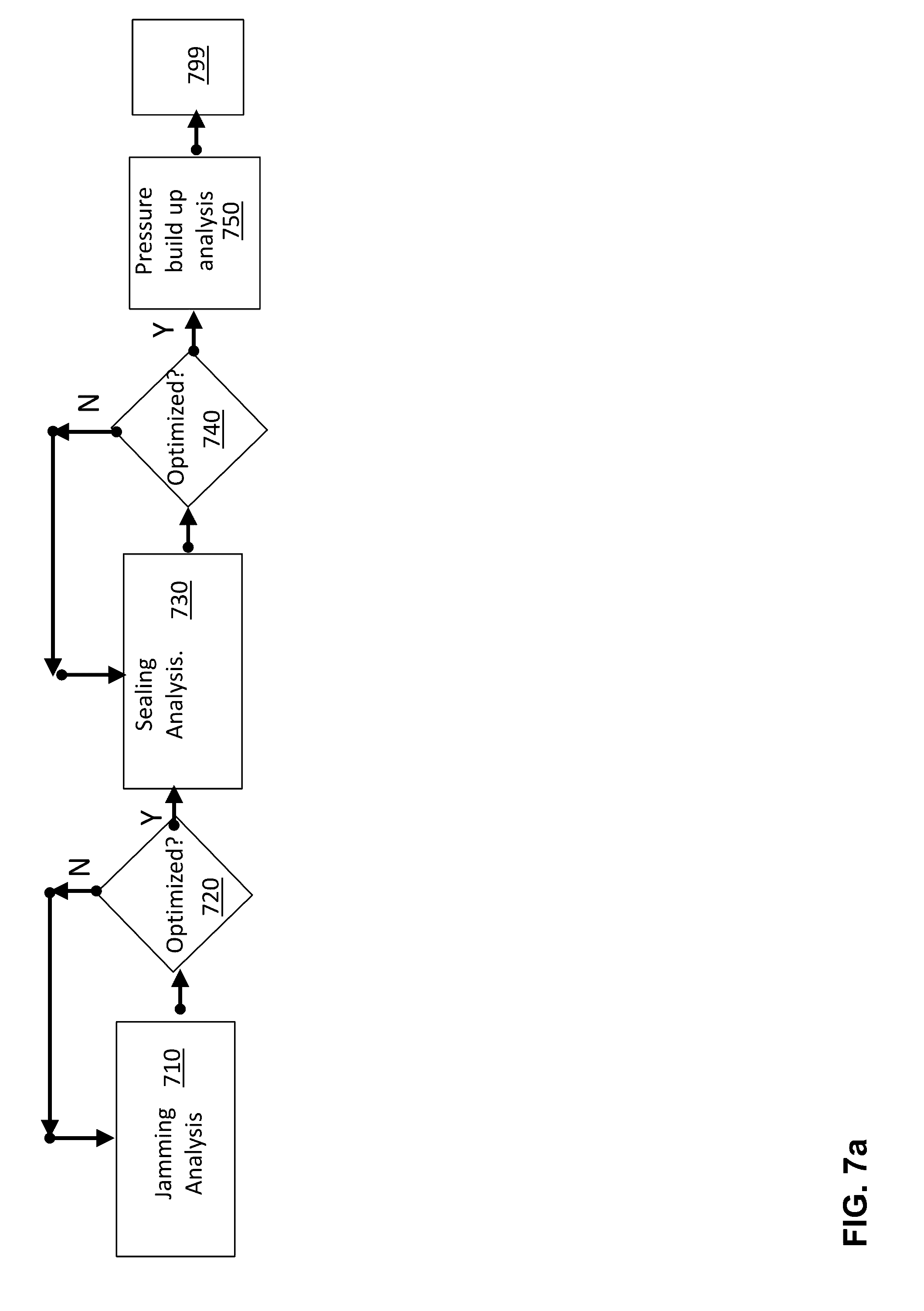
In addition, embodiments herein disclose methods and mechanisms relating to stimulation of hydrocarbon wells and measuring the efficiency of such stimulation. In particular, during stimulation of a hydrocarbon well, often tracers are inserted in the stimulation fluids. Tracers enable the operators to observe the location and accumulation of stimulating (or other) fluids in the well. This observation is generally provided by graphical or numerical expressions that describe the location of different tracers in the well. For example, stimulation operations might employ different tracers for different stages of stimulation, and the observable expression often distinguishes between the tracers. Therefore, using these observable expressions, operators are able to coarsely assess the success or failure of the stimulation operations.

[0015]

In some embodiments of the disclosure the efficiency of stimulation is measure by comparing real tracer logs to synthetic tracer logs. The synthetic tracer logs are created through a data gathering and modeling process that allows creation of multiple synthetic tracer logs, where each log corresponds to a different stimulation efficiency. When a synthetic tracer log is matched to a real tracer log, the stimulation efficiency of the real well (stimulation) may be assumed to be the modeled stimulation efficiency. Once obtained the real well stimulation efficiency may be employed to improve further stimulation efforts and the hydrocarbon production process.

BRIEF DESCRIPTION OF THE DRAWINGS

[0016]

FIG. 1 shows a representative computer node that may be used, for example, as an end-user machine or a developer machine.

[0017]

FIG. 2 shows an illustrative network environment associated with embodiments of the invention.

[0018]

FIG. 3 shows an illustrative software layer and architecture diagram.

[0019]

FIG. 3A show an overview of aspects of projects efficiency.

[0020]

FIGS. 4A and 4B show illustrations of jamming.

[0021]

FIG. 4C shows a process or workflow in accordance with one or more embodiments.

[0022]

FIGS. 5A and 5B show illustrations of jamming and sealing.

[0023]

FIG. 6 shows an exemplary well site arrangement.

[0024]

FIGS. 7A, 7B, 7C, 7D, 7E, and 7F show processes or workflows in accordance with one or more embodiments.

[0025]

FIG. 8 shows a graph related to particle sizing.

[0026]

FIG. 9 shows a graph related to particle sizing and pressure build-up.

[0027]

FIG. 10 shows processes or workflows in accordance with one or more embodiments.

[0028]

FIG. 11 shows another overview of diverters application and design.

[0029]

FIG. 12 shows the relationship between stages and clusters in an exemplary well.

[0030]

FIG. 13 shows the FIG. 12 juxtaposed with a table showing an injection plan for tracer and/or fracturing fluid.

[0031]

FIG. 14 through 16 show exemplary synthetic tracer logs.

[0032]

FIG. 17 shows an injection plan for tracer and/or fracturing fluid.

[0033]

FIG. 18 shows an exemplary synthetic tracer log.

[0034]

FIG. 19-20 show exemplary processes associated with the inventions disclosed.

[0035]

FIG. 21 shows the process of FIG. 7 juxtaposed with the process of FIG. 19.

DETAILED DESCRIPTION

[0036]

This disclosure pertains to systems, tools, machinery, methods, and computer-readable media pertaining to an intelligent and staged design and application of fluid path diversion in geological structures. In particular, many embodiments of the invention relate to processes and workflows embodying stimulation engineering optimization design. Further, some embodiments relate to the use of oil field tools, including mechanical and fluid dynamic tools in conjunction with analysis and design flow that is computer aided or computer implemented. In some embodiments, there is envisioned an automated intelligent workflow or process with limited human involvement whereby oil field equipment and resources are directed by intelligent computer control, which uses dynamically gathered-on-site information along with field data and specified types of modeling and analysis to direct or control the creation and maintenance of diversion systems in fluid passageways, such as wells.

[0037]

In the following description, for purposes of explanation, numerous specific details are set forth in order to provide a thorough understanding of the disclosed concepts. As part of this description, some of this disclosure's drawings represent structures and devices in block diagram form in order to avoid obscuring the novel aspects of the disclosed concepts. In the interest of clarity, not all features of an actual implementation are described. Moreover, the language used in this disclosure has been principally selected for readability and instructional purposes, and may not have been selected to delineate or circumscribe the inventive subject matter, leaving resorting to the claims as a potential necessity to determine such inventive subject matter. Reference in this disclosure to “one embodiment” or to “an embodiment” or “embodiments” means that a particular feature, structure, or characteristic described in connection with the embodiment is included in at least one embodiment of the disclosed subject matter, and multiple references to ‘“one embodiment” or “an embodiment” should not be understood as necessarily all referring to the same embodiment. Furthermore, unless otherwise stated, use of the word “or” herein is intended to state options that may be applied separately or together (i.e., unless otherwise stated, “or” herein does not indicate a mutually exclusive choice).

[0038]

It will be appreciated that in the development of any actual implementation (as in processes, machinery, tools, or any software and/or hardware development project), numerous decisions must be made to achieve the developers' specific goals (e.g., compliance with system- and business-related constraints), and that these goals may vary from one implementation to another. It will also be appreciated that such development efforts might be complex and time-consuming, but would nonetheless be a routine undertaking for those having the benefit of this disclosure and being of ordinary skill in the design and implementation of diversion systems and related technologies.

[0039]

Exemplary Hardware and Software

[0040]

The inventive embodiments described herein may have implication and use in and with respect to all types of devices, including single- and multi-processor computing systems and vertical devices that incorporate single- or multi-processing computing systems. The discussion herein is made with reference to a common computing configuration that may be discussed as a server, a software development system, or an end-user system. This common computing configuration may have a CPU resource including one or more microprocessors. This discussion is only for illustration regarding sample embodiments and is not intended to confine the application of the invention to the disclosed hardware. Other systems having other known or common hardware configurations (now or in the future) are fully contemplated and expected. With that caveat, a typical hardware and software-operating environment is discussed below. The hardware configuration may be found, for example, in a server, a workstation, a laptop, a tablet, a desktop computer, a gaming platform (whether or not portable), a television, an entertainment system, a smart phone, a phone, or any other computing device, whether mobile or stationary.

[0041]

Referring to FIG. 1, the disclosed embodiments may be performed by representative computer system 100. For example, the representative computer system may act as a server, a software development platform, or an end-user device. System 100 may be embodied in any type of device, such as a general purpose computer system, a television, a set top box, a media player, a multi-media entertainment system, an image processing workstation, a hand-held device, or any device that provides software services to users and/or other computers. Computer system 100 may include one or more processors 105, memory 110 (110A and 110B), one or more storage devices 115, and graphics hardware 120. Computer system 100 may also have or be connected with device sensors 125, which may include one or more of: any known well site or oil field sensor, depth sensors (such as a depth camera), 3D depth sensor(s), imaging devices (such as a fixed and/or video-capable image capture unit), RGB sensors, proximity sensors, ambient light sensors, accelerometers, gyroscopes, any type of still or video camera, LIDAR devices, SONAR devices, microphones, CCDs (or other image sensors), infrared sensors, thermometers, etc. These and other sensors may work in combination with one or more GPUs, DSPs, or conventional microprocessors along with appropriate programming so the sensor outputs may be properly interpreted and/or combined and interpreted.

[0042]

Returning to FIG. 1, system 100 may also include communication interface 130, user interface adapter 135, and display adapter 140—all of which may be coupled via system bus or backplane 145. Memory 110 may include one or more different types of media (e.g., solid-state, DRAM, optical, magnetic, etc.) used by processor 105 and/or graphics hardware 120. For example, memory 110 may include memory cache, read-only memory (ROM), and/or random access memory (RAM). Storage 115 may include one or more non-transitory storage media including, for example, magnetic disks (fixed, floppy, and removable) and tape, optical media such as CD-ROMs and digital video disks (DVDs), and semiconductor memory devices such as Electrically Programmable Read-Only Memory (EPROM) and Electrically Erasable Programmable Read-Only Memory (EEPROM). Memory 110 and storage 115 may be used to retain media (e.g., audio, image, and video files), preference information, device profile information, computer program instructions organized into one or more modules and written in any desired computer programming language, and any other suitable data. When executed by processor 105 and/or graphics hardware 120, such computer program code may implement one or more of the methods, workflows, or processes described herein. Communication interface 130 may include semiconductor-based circuits and may be used to connect computer system 100 to one or more networks. Illustrative networks include, but are not limited to: a local network, such as a USB network; a business's local area network; and a wide area network, such as the Internet; and may use any suitable technology (e.g., wired or wireless). Communications technologies that may be implemented include cell-based communications (e.g., LTE, CDMA, GSM, HSDPA, etc.) or other communications (Ethernet, Wi-Fi, Bluetooth, USB, Thunderbolt, Firewire, etc.). User interface adapter 135 may be used to connect keyboard 150, microphone 155, pointer device 160, speaker 165, and other user interface devices such as a touchpad and/or a touch screen (not shown). Display adapter 140 may be used to connect one or more display units 170. Communications interface 130 may also be used to exercise external control over outside items, such as pumps, valves, conveyances, motors, notification systems, other computers, storage containers, and anything else that may be controlled by a computer at a well site or in the oil field services industry.

[0043]

Processor 105 may execute instructions necessary to carry out or control the operation of many functions performed by system 100 (e.g., execution of formulas and modeling software). Processor 105 may, for instance, drive display 170 and receive user input from user interface adapter 135 or any other user interfaces embodied by a system, such as sensor interfaces or networked communication. User interface adapter 135, for example, can take a variety of forms, such as a button, a keypad, a dial, a click wheel, a keyboard, a display screen, and/or a touch screen. Processor 105 may be any type of computing device, such as one or more microprocessors working alone or in combination with GPUs, DSPs, and/or system-on-chip devices such as those found in mobile devices. Processor 105 may include one or more dedicated GPUs or graphics subsystems that accept program instructions to create or alter display information such as pixels. In addition, processor 105 may be based on reduced instruction-set computer (RISC) or complex instruction-set computer (CISC) architectures or any other suitable architecture and may include one or more processing cores. Graphics hardware 120 may be special purpose computational hardware for processing graphics and/or assisting processor 105 in performing computational tasks. In some embodiments, graphics hardware 120 may include CPU-integrated graphics and/or one or more programmable GPUs. System 100 (implementing one or more embodiments discussed herein) can provide the means for one or more users to control the same system (e.g., system 100) or another system (e.g., another computer or entertainment system) through user activity, which may include natural activity and/or predetermined gestures such as hand gestures. For example, a system may use sensors such as cameras to monitor a well site and interpret as input detected human or machine behaviors.

[0044]

Various embodiments of the invention may employ sensors, such as cameras. Cameras and like sensor systems may include auto-focus systems to accurately capture video or image data ultimately used to interpret user intent or commands. Since the motion of the user may be based upon subtle activity in small regions in the captured images (e.g., hands, fingers, face, mouth, brow etc.) the autofocus system may be used to separately focus on multiple regions of the image in order to access better information.

[0045]

Returning to FIG. 1, sensors 125 may capture contextual and/or environmental phenomena such as time; location information; the status of the device with respect to light, gravity, and the magnetic north; and even still and video images. In addition, network-accessible information, such as weather information, may also be used as part of the context. All captured contextual and environmental phenomena may be used to provide context to sensed activity or user activity or information about the sensed activity or user activity.

[0046]

Output from the sensors 125 may be processed, at least in part, by processor 105 and/or graphics hardware 120 and/or a dedicated image processing unit incorporated within or without system 100. Information so captured may be stored in memory 110 and/or storage 115 and/or any storage accessible on an attached network. Memory 110 may include one or more different types of media used by processor 105, graphics hardware 120, and sensors 125 to perform device functions. Storage 115 may store data such as media (e.g., audio, image, and video files); sensor data; computer program instructions; and other software, including database applications (e.g., a database storing field data or historical data), preference information, device profile information, and any other suitable data. Memory 110 and storage 115 may be used to retain computer program instructions or code organized into one or more modules in either compiled form or written in any desired computer programming language. When executed by, for example, processor 105, such computer program code may implement one or more of the acts, functions, or models described herein (e.g., DEM or CFD analysis).

[0047]

FIG. 2 depicts illustrative network architecture 200, within which the disclosed techniques may be implemented and the disclosed hardware may reside. This illustrative network 200 may include a plurality of networks 205, (i.e., 205A, 205B, and 205C), each of which may take any form including, but not limited to, a local area network (LAN) or a wide area network (WAN), such as the Internet. Further, networks 205 may use any desired technology (wired, wireless, or a combination thereof) and protocol (e.g., transmission control protocol, TCP). Coupled to networks 205 are data server computers 210 (i.e., 210A and 210B) that are capable of operating server applications such as databases and also capable of communicating over networks 205. One embodiment using server computers may involve the operation of one or more central systems to process models distribute the processed information to nodes on a network.

[0048]

Client computers 215 (i.e., 215A, 215B, and 215C), which may take the form of any intelligent machine, may also be coupled to networks 205, and/or data server computers 210. In some embodiments, network architecture 210 may also include network printers such as printer 220 and storage systems such as 225, which may be used to store multi-media items or other data that are referenced herein. To facilitate communication between different network devices (e.g., data servers 210, end-user computers 215, network printer 220, and storage system 225), at least one gateway or router 230 may be optionally coupled there between. Furthermore, in order to facilitate such communication, each device employing the network may comprise a network adapter circuit and related software. For example, if an Ethernet network is desired for communication, each participating device must have an Ethernet adapter or embedded Ethernet-capable ICs. Further, the devices may carry network adapters for any network in which they might participate (including, but not limited to, PANs, LANs, WANs, and cellular networks).

[0049]

As noted above, embodiments of the inventions disclosed herein include software. As such, a general description of common computing software architecture is provided as expressed in the layer diagrams of FIG. 3. Like the hardware examples, the software architecture discussed here is not intended to be exclusive in any way but rather illustrative. This is especially true for layer-type diagrams, which software developers tend to express in somewhat differing ways. In this case, the description begins with layers starting with the O/S kernel, so lower level software and firmware has been omitted from the illustration but not from the intended embodiments. The notation employed here is generally intended to imply that software elements shown in a layer use resources from the layers below and provide services to layers above. However, in practice, all components of a particular software element may not behave entirely in that manner.

[0050]

With those caveats regarding software, referring to FIG. 3, layer 31 is the O/S kernel, which provides core O/S functions in a protected environment. Above the O/S kernel is layer 32 O/S core services, which extends functional services to the layers above, such as disk and communications access. Layer 33 is inserted to show the general relative positioning of lower level services such as Open GL library and similar application and framework resources. Layer 34 is an amalgamation of functions typically expressed as multiple layers: applications frameworks and application services. For purposes of our discussion, these layers provide high-level and often functional support for application programs which reside in the highest layer shown here as item 35. Item C100 is intended to show the general relative positioning of the application software, including any geoscience related application software or modeling and simulation software described for some of the embodiments of the current invention. In particular, in some embodiments, a geoscience software application is used to interact with the user through user interfaces facilitated by the host device. The geoscience application software allows the user to provide or arrange input parameters or settings and receive output assisting with diversion methodologies, materials, or techniques. The output may be implemented in any or three ways: automatically by the computer's control of tools and equipment; manually, where the user or the user's proxy is provided with instructions for implementing a diversion or one or more aspects thereof; or a combination of the former, where the computer controls some functions and/or tools or equipment and provides instructions or indications for the user that facilitate the process.

[0051]

In some embodiments, application layer geoscience software may rely on frameworks and resources in one or more of the layers shown as 34 or 33. Furthermore, in some embodiments, the invention or parts and embodiments thereof may be implemented as a resource and/or framework for use with application programs that use an API or interface provided by the invention. For example, any application offering geoscience functionality may use a framework and API to access diversion techniques, methodologies, modeling, simulations, functions, or assistance.

[0052]

While the ingenuity of any particular software developer might place the functions of the software described at any place in the software stack, the software hereinafter described is generally envisioned as any of: (i) user facing, for example, to allow user operation of geoscience functionality; (ii) as a utility, or set of functions or utilities, beneath the application layer, providing geoscience or diversion resources to application programs or other programs; and (iii) as one or more server applications for providing the same functions and/or services to client devices over a network. Furthermore, on the server side, certain embodiments described herein may be implemented using a combination of server application level software and database software, with either possibly including frameworks and a variety of resource modules.

[0053]

No limitation is intended by these hardware and software descriptions and the varying embodiments of the inventions herein may include any manner of computing device such as Macs, PCs, PDAs, phones, servers, or even embedded systems.

[0054]

Aspects of Project Efficiency

[0055]

Referring to FIG. 3A, there is shown a block diagram providing exemplary illustration of four aspects of efficiency regarding fluid diversion projects. With reference to 3A1, slurry displacement efficiency relates to optimizing the parameters controlling slurry integrity during transportation from surface to downhole. Jamming and sealing efficiency 3A2 refers to diverting (or not) the flow of fluids such as hydraulic fracturing fluids from small apertures within a well so that different parts of the well may be stimulated and produced (or not) without losing flow or pressure due to undesired fluid paths. Stimulation efficiency 3A3 relates to the effectiveness of diversion operations in isolating portions of the well and distributing fracturing fluids towards intact portion to enhance production. Finally, production efficiency 3A4 relates to the efficiency of the project in extracting hydrocarbons from the well or portion thereof. The discussion below relates first primarily to jamming and sealing efficiency 3A2 and then transitions to stimulation efficiency 3A3. However, the primary focus on these topics is not intended to exclude or detract from thoughts or inventive concepts conveyed with respect to production efficiency 3A4, slurry displacement efficiency 3A1, or any other topic discussed herein.

[0056]

Diversion

[0057]

In some embodiments of the disclosure, a successful diversion can be created by understanding the jamming and sealing mechanisms that occur at the entrance of a fluid path. By understanding the physics of the fluid flow and the environment, models may be used to optimize re-work operations so as to use the minimal amount of time and material, yet create a seal that can withstand high pressure differentials even at flow path openings materially larger than the mean particle size of the largest particle. In one embodiment, the average size of the largest particle size may be 3 to 7 times smaller than the opening. There are many complex factors that all affect the efficiency of diversion and they can all either be adjusted or accommodated to achieve minimal flow into highly conductive flow paths.

[0058]

The current state of the art numerical simulations for fluid path analysis are based on coupled Computational Fluid Dynamics (CFD) and Discrete Element Methods (DEMs). CFD is a branch of fluid mechanics using algorithms as well as numerical analysis to analyze (or solve) fluid flow inquiries or problems. CFD is a computer-based mechanism for making calculations to simulate interactions involving liquids, gases, surfaces, and boundary conditions. A DEM belongs to a well-known family of numerical methods used to compute particle motion and interaction. The models discussed herein may be used to better design and implement processes for controlling fluid diversion and pressure build-up. In many embodiments, coupled CFD and DEM analysis are used to understand and evaluate jamming and sealing mechanisms. For example, coupled CFD and DEMs may be used in some embodiments for probabilistic analysis regarding jamming and sealing in a particular diversion job.

[0059]

Varying embodiments of the disclosure may use modeling engines, which may incorporate different scenarios so the factors affecting diversion efficiency may be optimized. By designing the application of chemistries, particle shapes, sizes, concentrations and ratios, as well as pressure, temperature, and other parameters, a diversion operation may be engineered and/or customized for the best result for each specific diversion job.

[0060]

Jamming and Sealing

[0061]

As discussed above, in some embodiments, significant mechanisms controlling a diversion process are jamming and sealing. Jamming refers to the formation of a stable jammed structure, which may in some embodiments form the base for an effective sealing mechanism. A jamming stage, in one or more embodiments, forms an initial “stable” structure in an opening, which may for example represent the outside or inside of a perforation, door, hole, fissure, natural fracture, hydraulic fracture mouth, etc. The stable structure or jammed state refers to a configuration where relatively large particles provide support for each other, remain stable, and do not pass through the existing opening.

[0062]

Referring to FIG. 4A, there is shown an opening 401 having diameter D, where the opening is jammed with spherical particles 402, having diameter D′, where D′ is substantially smaller than D. Of course, the shapes of the opening and the particles can vary and neither is necessarily a regular shape. For example, openings in geologic formations may embody any shape whether the openings are naturally occurring or are the result of human activity. Similarly, particles may be designed in any shape, including shapes that embody an aspect of randomness, such as a snowflake. Referring to FIG. 4B, there is shown another opening 405 with diameter D, where the opening 405 is jammed with star or pseudo-snowflake shaped particles having diameter D′. As is evident from FIGS. 4A and 4B, openings 401 and 405 appear stably jammed in that particles having diameter D′ can no longer move through or about the opening (although no pressure capability is ascertainable from a drawing). Similarly, particles having sizes even somewhat smaller (e.g., within an order of magnitude or more depending upon the specific configuration) similarly may not pass through the openings 401 and 405. However, fluids and substantially smaller particles (e.g., multiple orders of magnitude smaller depending upon the configuration) may still pass through in small open spaces between D′-sized particles. Therefore stable jamming does not necessarily sufficiently restrict pressure communication for many embodiments of the disclosure or practical applications. For example, in some embodiments, pressure build-up required for successful practical application (such as a re-fracturing operation) may not be achieved by jamming.

[0063]

With reference to FIG. 4C, an effective diversion over a given aperture or opening may be implemented in a two-phase process as shown. At phase 401, the aperture or opening is jammed and at phase 402, the aperture or opening is sealed. The process of FIG. 4C is not intended to require that the phases are performed either together, overlapping, or in mutually exclusive time periods. Any of these are possibilities contemplated by embodiments of the disclosure.

[0064]

In order to create a seal over a stably jammed opening or to provide an increased pressure build-up, in some embodiments, a sealing operation may be implemented so that the fluid pathway between the jammed particles (e.g., particles 402 and 406) is either diminished or eliminated at desirable pressure levels. In one embodiment, smaller particles 510 (e.g., smaller than D′) may be used to effectively fill the remaining fluid path as shown in FIGS. 5A and 5B. For example, as shown in FIGS. 5A and 5B, smaller particles may form a layer cake between and/or on top of larger particles and may “seal” all or most of the remaining porosity/fluid path. In this manner, pressure communication is reduced across the pressure differential shown in FIGS. 4A and 4B, and pressure build-up occurs. The ability to more accurately build and/or specify pressure build-up allows for more precise and efficient diversion implementation. For example, fracturing fluid may divert away from existing perforations; fissures; natural fractures; or any portion of a formation, such as geologic formations. With reference to FIGS. 5A and 5B, small sealing particles 510 are illustrated by way of example, while the remaining portions of FIGS. 5A and 5B analogize to FIGS. 4A and 4B respectively.

[0065]

Sample Field Configuration

[0066]

With reference to FIG. 6, there is shown an embodiment of a field configuration for implementation in the hydrocarbon production industries. Drilling rig 604 is associated with equipment modules 610, which may include common oil field equipment used to manually or automatically prepare material for introduction to the well and to introduce material to the well. Equipment 610 may include pumps, valves, blenders, and any other equipment or machinery known in the art for use at a well site or other location of a diversion job. Equipment 610 may also include items to facilitate removal of fluids and other materials from the well, which may include flow back lines, separators, plug catchers, chokes, tank batteries, production facilities and other equipment or machinery know in the art. Well 607 is shown as a directional well, but the embodiments herein may be applied to vertical, horizontal, or any well or opening in a formation where degradable polymers may be introduced. Well 607 has perpendicular apertures (e.g., fissures) 608 and 609, which are illustrated to represent areas of fluid porosity directed outside of the well bore. At the surface, containers 601, 602, and 603 respectively represent storage for diversion particulates, fluids (such as fracking fluids and mediums for the diversion particulates), and any other materials that may be desirable for use at the well site. The use of only three containers 601-603 is merely illustrative, as many embodiments of the disclosure contemplate as many containers as may be necessary to store any number of different materials, including multiple particulates (e.g., various sizes, shapes, hardness, and degrading characteristics), multiple fluids (e.g., various types of fluids and various viscosities), and many other materials. Conveyance 611 provides a path from the stored material to the equipment module 610 so that materials may be automatically or manually conveyed for entry in the well. Conveyance 611 may include any number of pipes, pumps, valves, or other items to facilitate material movement. Computing device 605 is intended to represent computational capacity at the well site and may be in any known form, including the computing embodiments discussed above. Computing device 605 may include the software architecture described with respect to FIG. 3, which may work in combination with the computer hardware to implement the computing tasks discussed herein, such as analysis, modeling, and sensing. Network 606 represents the ability to communicate offsite and access computing power (e.g., servers) as well as network-based information (e.g., over the Internet or a proprietary network). Network 606 may also take any known form and may also be a permutation of the networks discussed above. Conveyance 612 and 612a may be electric or radio communication mediums, such as wires or wireless networking systems, such as PANs or WANs; including cell networks, such as LTE, 3G, Edge, or GPRS; but may take any form known or any form as discussed above for communications. Conveyance 612 and 612a may be used to convey control from computer 605 or network resources to control equipment module 610 or any other equipment on site. In addition, or as an alternative, mere instructional information may be conveyed. Furthermore conveyance 612 and 612a may be used to communicate information from the well or equipment to computer 605 or a network-based resource, which may include for example well logging information, any sensor information (such as pressures), equipment status, production data, and any other information available from the well or its attendant personnel and/or machinery.

[0067]

Parameters Considered and/or Controlled for Diversions Involving Jamming and Sealing

[0068]

Many embodiments of the disclosure envision accessing and manipulating all possible parameters related to creating and sustaining one or more diversions in a fluid passage system, such as a well. In one or more embodiments the following parameters are considered and/or manipulated as follows:

[0069]

Particle size. Particle may be assessed by any known manner, such as diameter or circumference or averages of these and other measures across a population of particles. In some embodiments, particle size is evaluated as a ratio of the opening sought to be jammed or sealed. For example, FIG. 8 shows the probability of jamming as the ratio of particle size to opening size increases, as shown in FIG. 8, as particle size increases relative to opening size, the probability of stable jamming also increases. Thus, some embodiments of the disclosure bias toward larger particles to increase the probability of jamming. In addition, some implementations of an embodiment use only two particle sizes, a large particle size for jamming and a small particle size for sealing. In one particular embodiment, the small size is 100 mesh and the large size is 7 mesh.

[0070]

Opening size. Opening size represents the size of the opening to be jammed and/or sealed. This may apply to openings in any context where diversion is desirable and is not confined to the hydrocarbon industry. However, in many embodiments of the disclosure, openings may refer to perforations, fissures, natural formations, or any aperture to be sealed. As discussed above, when the ratio of particle size to opening size increases, jamming probability also increases. Thus, for some embodiments of the invention, there is recognition of a decreased probability of stable jamming as opening size rises.

[0071]

Particle shape. Particles may take any geometric shape or non-geometric shape, such as a snowflake. Many embodiments of the disclosure provide for optimizing the use of different particle shapes based on a combination of numeric, analytic, field, and experimental data. In addition, some embodiments of the disclosure may be based upon empirical data collected from limited testing. Using a spherical shape as a reference, the limited testing may provide an indication regarding jamming and sealing properties of different shapes. For example, in comparing the jamming related behavior of three particles, the inventors have found that spherical particles provided the lowest jamming probability, while quasi-spherical particles performed better, and non-spherical flakes performed best. Furthermore, the limited test indicated that the less spherical the particle, the larger the stable bridge that may be constructed with the particle. Similarly, the less spherical the particle, the lower the probability that no bridging will be possible. Some embodiments of the disclosure contemplate that less spherical shapes may lead to higher-pressure build-up. Therefore, in some embodiments, less spherical shapes are correlated with both more stable jamming probability and more effective sealing. Of course, while the results from this limited test and any future testing may bear on any particular embodiment, no testing detracts from the embodiments that rely on shape optimization based upon a combination of numeric, analytic, field, and experimental data. Using these techniques, any type of specific shape may be tested and modeled to determine specifically beneficial shapes for a given formation or diversion job. Finally, in some embodiments, a particle may be measured or judged as large based upon either its aspect ratio or it largest single dimension.

[0072]

Particle friction coefficient: Particle friction coefficient refers to the friction coefficient between particles. The inventors have demonstrated that higher friction coefficients correlate with higher stable jamming probability and higher sealing probability. Thus, some embodiments herein apply higher friction particles for increasing either or both of stable jamming probability or sealing efficiency and pressure build-up.

[0073]

Particle density. In relevant part, particle density refers to the density of a particle relative to the carrier fluid. If the particle is denser than the carrier fluid, it tends to deviate from the flow of the fluid and is less likely to reach the opening absorbing fluid flow as desired for jamming. Therefore, in some embodiments of the disclosure, lower particle density (ratio to carrier fluid, e.g. approaching 1) is correlated with higher probability of stable jamming.

[0074]

Particle concentration. Particle concentration refers to the mass or weight content of particles in a volume of fluid (e.g., pounds per gallon or Kilograms per liter). In many embodiments, particle concentration levels may be optimized by determining the minimum concentration required to seal a specified opening. In other embodiments, particle concentration levels may be optimized by determining the minimum concentration required to seal a specified opening, given one or more other variable constraints such as time. In one or more embodiments of the disclosure, higher particle concentration is correlated with higher stable jamming probability.

[0075]

Particle ratio. Particle ratio refers to the weight or volume percent ratio between different particles held in the same carrier fluid. Thus, for example, in a two-particle mix, having one large particle (approx. 7 mesh) type and a small particle (approx. 100 mesh) type, particle ratio refers to the weight or volume percent ratio between small and large particles. The inventors have found that a greater presence of small particles reduces probability of stable jamming, but increases the efficiency of sealing and pressure build-up. Therefore in some embodiments, higher ratios of smaller particles are correlated with lower stable jamming probability, and higher probabilities of sealing. In addition, in one or more embodiments, numerically weighted size average is correlated with stable jamming probability and inversely correlated with sealing, so that the numerically weighted size average of all particle types in the carrier fluid is associated with stable jamming probability (i.e., higher average=higher stable jamming probability) and inversely correlated with sealing (i.e., higher average=lower probability of sealing). Furthermore, the inventors have determined that a band of small particle ratios may facilitate using the same mixture for sealing and jamming (e.g., where the small particle is 100 mesh and the large particle is 7 mesh). For example, ratios in the band from X % small particles to (X+Y)% small particles may best facilitate jamming and sealing with the same mixture. In some embodiments, the values of X and Y may be found by experimentation and simulations.

[0076]

Flow rate. Flow rate refers to the amount or volume of material movement over a specified period of time. For example, a mass flow rate may be expressed as Kilograms per minute, while a volume flow rate may be expressed as liters per minute. Flow rate is a parameter that may be useful in designing diversion systems and particularly with respect to jamming and/or sealing analysis.

[0077]

Fluid viscosity: Viscosity refers to the thickness of a fluid and in particular the fluid property that resists forces tending to cause the fluid to flow. Viscosity is a parameter that may be useful in designing diversion systems and particularly with respect to jamming and/or sealing analysis.

[0078]

In addition to the foregoing parameters and embodiments, varying embodiments of the disclosure seek to measure, contemplate and/or manipulate one or more of the following diversion-related parameters:

[0079]

particle size (either for jamming or sealing);

[0080]

perforation size of the openings to be sealed;

[0081]

size of the fluid path on the proximal side of the intended work area;

[0082]

size of the fluid path on the distal side of the intended work area;

[0083]

particle shape(s) (e.g., different shapes or the cylindrical aspect of a particle shape);

[0084]

friction coefficients between like-type particles;

[0085]

friction coefficients between each pairing of different types of particles available;

[0086]

friction coefficients between each particle type and each available carrier fluid (or the availability of tables/equations to calculate these coefficients as viscosity changes);

[0087]

friction coefficients between the each type of particle that may be introduced and the target formation;

[0088]

particle/fluid density ratio;

[0089]

ratio of concentration between different particle types simultaneously introduced;

[0090]

concentration of each particle type;

[0091]

overall concentration (all particle types together) or injection ratio (e.g., pounds per gallon)

[0092]

fluid flow rate or pump rate (e.g., volumetric flow rate);

[0093]

fluid viscosity (i.e., carrier fluid);

[0094]

ratio of particle sizes;

[0095]

ratio of different particle shapes (e.g., mass based);

[0096]

ratio of particle hardness (elastic property measured in mpa);

[0097]

blending rate;

[0098]

ratio of different particle types;

[0099]

perforation geometry (known or measured);

[0100]

particle properties (for each particle type) including without limitation, chemistry of the particle/polymer, elastic prosperities, tensile strength, compression strength, and friction coefficients as noted above;

[0101]

fluid properties, including density, viscosity, fluid type (e.g., water based, oil based, emulsions), and PH;

[0102]

additives and properties of additives (e.g., surfactants and corrosion inhibitors); and

[0103]

formation data, including type of formation (e.g., shale, etc.), mechanical and reservoir properties, depth, geological factors, geo-mechanics factors, production data (e.g., amount of hydrocarbon being produced), and production size.

[0104]

Workflows or Processes

[0105]

A workflow or process may be designed to optimize diverting agent design and the particulars of particle jamming and sealing. In some embodiments, a general proposed workflow starts with a candidate screening process to determine wells that are advisable for analysis and work-over. Once a suitable candidate well is identified, required breakdown pressure and Perf design can be determined based upon factors for the specific well. A quick-look screening analysis may be performed to check the extent of feasibility of a candidate set of initial particle types (potentially including size, shape, and chemistry) and diverting agent. A quick-look analysis saves engineering and computational resources by assessing particle size with respect to the opening diameter that needs to be jammed. If the quick-look analysis provides feasible candidate particle types, then advanced analysis may be employed deeper in the workflow. For example, look-up tables based on advanced analysis can be used to optimize design and simulate “sealing.” This involves fully coupled flow-polydisperse particle transport models to adjust particle concentration, ratio, shape, and flow rates. Using these models predicts pressure build-up (i.e., capability using a candidate set of parameters) may be evaluated with respect to formation breakdown pressure. If breakdown pressure is greater than or equal to the predicted pressure build-up due to sealing, the design may be feasible. If breakdown pressure is less than the predicted pressure build-up due to sealing, model parameters may be fine-tuned and a new candidate set of parameters may be produced with more sensitivity to the pressure constraints. The workflow can be used in real-time or intermittently applied with field implementation so field design parameters can be updated accordingly.

[0106]

Specific Illustrative Workflow or Processes

[0107]

Referring to FIG. 7A, there is shown an illustrative process or workflow for creating a diversion in a fluid flow path by jamming and/or sealing an opening such as a perforation. At 710, jamming analysis is performed. In many embodiments, jamming analysis includes optimizing different parameters that contribute to the jammed structure stability and probability of success. In one or more embodiments, the optimized parameters include, without limitation, particle size, ratio, and concentration. In some embodiments, jamming analysis 710 may be used to narrow a selection of particle types (e.g., particle size, shape, and chemistry) to be considered in later modeling/analysis during sealing analysis 730 or even later portions of the process/workflow of FIG. 7A (e.g., limit further consideration to 3 to 5 particles). In other embodiments, jamming analysis 710 results in a set of selected parameters for consideration in subsequent operations such as sealing analysis 730 and portions of FIG. 7A beyond sealing analysis.

[0108]

In many embodiments of the disclosure, coupled Computational Fluid Dynamics (CFD) and Discrete Element Method or Model (DEM) approaches are used to develop probabilistic curves (or tables such as LUTs) to aid with “jamming” analysis. In most embodiments, coupled CFD and DEM analysis includes extensive numerical simulations. Given, the large number of particles being modeled, coupled CFD and DEM analysis is infeasible without computers, thus embodiments herein may employ coupled CFD and DEM through software as discussed above using computing technology as discussed above. In addition, custom applications designed to provide all or part of the functionality of FIG. 7A may use service software to provide the coupled CFD and DEM functionality. The service software may be in the application layer or a framework layer as taught herein with respect to FIG. 3.

[0109]

In one or more embodiments, the curve or LUTs created through coupled CFD and DEM techniques may be employed to investigate the effect of different parameters on the probability of jamming. In some embodiments, the parameters under investigation are one or more of particle size, ratio of particles, existence of small particles (i.e., more than a magnitude smaller than the jamming particle size), perforation geometry of the target formation, and particle shapes. Of course, depending upon available time and computing resources, any number of parameters as identified above may be modeled and evaluated. By using the coupled CFD and DEM modeling, the selected parameters can be optimized to increase the probability of jamming under specific operational conditions. A sample probabilistic analysis derived by coupled CFD and DEM techniques may be seen in FIG. 8, where the probability of jamming (Y axis) is plotted against the ratio of particle size/slot opening (X axis). The curve, which may easily be represented in a LUT for easier computer accessibility, aids with the selection of particle size because it shows how likely different particle sizes are to jam formation openings of proportionally indicated sizes.

[0110]

In certain embodiments, jamming analysis 710 may also include deterministic/analytical models that are used to examine the stability of a jammed structure. A deterministic approach or model is one without randomness such that the same set of inputs will always produce the same output. With the aid of a deterministic model or approach, or by actual experimentation, particle properties as discussed above may be modified to achieve higher seal stability, which may be required for successful jamming in a particular modeled application. In one embodiment, one or more of the following particle properties is used for this purpose: particle size; ratio of different types of particles; friction coefficients, including particle-to-particle, particle-to-fluid, and particle-to-formation; and particle elastic properties. In one or more embodiments, a deterministic approach may be employed to determine stable seal configurations and/or geometries and to verify or calculate a pressure limit that the jammed structure can sustain. In some embodiments, the stability of a jam may be assessed based upon particle size, particle shape, opening size, and opening shape.

[0111]

FIG. 9 shows an example of deterministic evaluation in a jamming analysis. With reference to FIG. 9, there is shown a graph with different jammed structures corresponding to a combination of parameters shown on the X-axis and stability index shown on the Y-axis. The graph of FIG. 9 is separated into regions indicating unstable jamming arrangements 905 and stable jamming arrangements 901. The vertical lines labeled respectively “jammed structure 1” through “jammed structure 3” show that, for a given jammed structure, different ranges of stable jamming may be achieved. For example, under a specific combination of parameters, jammed structure 1 has a high range of stability while jammed structure 3 has a relatively low range. Some embodiments of the disclosure may use an analytical engine to investigate the stability of a jammed structure. Using this modeling, different parameters affecting a given or hypothetical jammed structure stability may be investigated and optimized. For example, modeling may be employed to determine the appropriate values of parameters (e.g., particle size, mechanical properties, etc.) that result in jams in the stable region 901. Thus, a target pressure or breakdown pressure may be achieved for more efficient jamming. The same analysis also may apply for sealing.

[0112]

Referring now to FIG. 7B, there is shown a version of FIG. 7A where an embodiment's sub-operations for jamming analysis 710 are shown. At 711a, a Perf analysis may be performed. Perf analysis is a topic of Weatherford International's FracAdvisor. In general, Perf (i.e., performance) analysis provides objective and/or subjective information to determine the extent of benefits available (or not) from well stimulation, such as a fracking work-over. At 711b, which may be performed in any order (including simultaneously) with respect to Perf analysis 711a, required breakdown pressure is analyzed. BDP analysis is also known in the art, and relates to either: determining the pressure build-up that is desired (and should be endurable by the diversion); or determining whether an optional jamming configuration can withstand the desirable pressure build-up. The BDP may be calculated based upon techniques known in the industry. It may also be derived from one or all of pumping curves, pressure curves, or field observations. At 712, proposed particle sizes, shapes, and properties may be optimized and, in one embodiment candidate, optimized particles may be selected. In some embodiments, these factors are derived by application of the probabilistic and deterministic techniques discussed above. In one or more embodiments, three to five options are yielded for particles, including a particle size; shape; and at least one other particle property, such as chemistry. In another embodiment, only one particle option is yielded, also including one or more of particle size, shape, and at least one other particle property, such as chemistry. Of course, the skilled artisan will recognize that any embodiment may employ any number of particle properties or parameters, such as those discussed above.

[0113]

Returning now to FIG. 7A, after item 710 (potentially including items 711a, 711b, and 712), control moves to decision block 720, where a determination is made regarding whether jamming analysis has been optimized. In one or more embodiments, optimizing jamming analysis refers to whether the parameters of particle size, shape, and chemistry for jamming have been sufficiently optimized. In other embodiments, optimizing jamming analysis may refer to sufficiently optimizing one or more parameters of any nature (e.g., any of those parameters discussed above). For example, and in some embodiments, in order to be considered optimized, the available jamming analysis result must meet one or more pre-determined criteria. Each criterion may have its own threshold or tipping condition and the criteria may include one or more of the following: provision of a reduced set of potential particles for jamming (i.e., reduced from all possibilities); provision of 5 or fewer potential particles for jamming (or below any pre-determined threshold); provision of a ranked set of particle possibilities for jamming; provision of the ranked set wherein the ranked set is at least 5 in length or beyond a pre-determined threshold in length; or provision of a set of candidate particle types where each particle type is predicted to satisfy a minimum stability requirement, and where the stability requirement may or may not be job-specific.

[0114]

Referring back to FIG. 7A, if there is a determination that optimize decision 720 has not been met, the control moves back to jamming analysis 710 for another attempt to develop candidate particles for an appropriate jamming structure. In one or more embodiments, upon return to the jamming analysis stage 710 after a negative decision from any decision block in the process of FIG. 7A, the jamming analysis is altered to account or compensate for the factors causing the negative decision. For example, if a negative decision at optimized block 720 was caused by a failure of candidate particle types to meet a minimum stability requirement or prediction, then jamming analysis 710 may heighten the stability sensitivity for the next set of candidate points.

[0115]

If the optimize 720 decision has been met affirmatively, control moves to sealing analysis 730. Referring now to FIG. 7C, in one or more embodiments, there is a third option for decision block 720. For these embodiments, the optimized block 720 evaluates (at 721) one or both of field data from the job under consideration and historical data regarding other jobs and determines whether the further analysis of FIG. 7A is warranted. For example, in view of the field data and/or the historical data, the likelihood of a successful sealing may be high enough that further expense and time of analysis is not warranted or economically advisable. In this case, one or more candidate particles chosen at the jamming analysis 710 are used the process of FIG. 7A ends with that result. In these embodiments, if the field/historical data review 721 does not indicate an end to analysis 722, then control returns to decision block 720 for the determination regarding whether optimization has been reached. In yet another possible alternative, the jamming analysis 710 may lead to a decision to abandon the process altogether for lack of feasibility or for overly high cost.

[0116]

Returning again to FIG. 7A, as stated above, if optimize decision 720 is answered in the affirmative, then control moves to sealing analysis 730. In one or more embodiments, sealing analysis 730, evaluates some or all of the candidate particles produced by jamming analysis 710 and attempts to optimize any one or more of the parameters relating to the wet state of the system, e.g., particle concentration, ratio of particles (with respect to different types being used), and flow rate. In order to make this evaluation, sealing analysis 730 may use one or both of DEM analysis (discussed above) and computational fluid dynamics (CFD). Both techniques are know in the art and discussed elsewhere in this specification. Sealing analysis 730, in some embodiments, may be predicated by information known from jamming analysis 710. For example, by using a candidate particle resulting from jamming analysis 710, the nature of the formation requiring sealing may be narrowed, which simplifies and focuses the sealing analysis 730.

[0117]

With or without DEM and CFD, many embodiments of sealing analysis 730 focus on a wet and full physics-based analysis of particle movement in the modeled system, which may include one or more modeled scenarios. This physics-intensive analysis may investigate drag forces, fluid properties, particle-to-particle interactions, particle-to-perforation interactions, and particle-to-wall interactions, all for different types (sizes, shapes, etc.) and different combinations of particles at different concentrations.

[0118]

In one or more practically constrained embodiments, the selection of small particles (i.e., sealing particles as compared to jamming particles) is limited to one or a few particle types. Thus, the analysis and modeling in those constrained embodiments may be limited to evaluating each candidate jamming particle with a single sealing particle, resulting in an analysis focused on optimization of concentration, rate, and particle ratio. The variation of rate, ratio, and concentration may be employed to facilitate or optimize sealing in any embodiment.

[0119]

Referring now to FIG. 7D, there is shown an expanded view of sealing analysis 730, including sub-steps 731 and 732. In the embodiments of FIG. 7D, sealing analysis 730 may include coupling of CFD and DEM analysis 731. CFD and DEM analyses are described above. In some embodiments, the CFD and DEM analyses are employed to simulate varying particle combinations in the presence of the specific job conditions.

[0120]

At block 732, it is shown that sealing analysis 730 may also include optimizing particle concentration, ratio, and flow rate. In one or more embodiments, once a successful jammed structure is in place, it may be effectively sealed for efficient pressure build-up and fluid diversion. Based on data specific to a job, engineering design parameters may be selected and optimized to reach the desired pressure build-up required to create new fractures. In many embodiments, the design parameters include, without limitation, particle concentration, ratio of particle types (e.g., size or shape distribution), and flow rate. Other parameters may be mechanical properties and fluid properties. The selection of these parameters may be made by running coupled CFD-DEM simulations for real case scenarios or by using operational guidelines generated based on different approaches. These simulations can capture both particle-particle interaction and transport and also fluid diversion and pressure build-up required to design a successful diversion process. Using the best results from the simulations may optimize the parameters such as particle concentration, ratio, and flow rate. Furthermore, in some embodiments, a ranking of results may be maintained and stored in memory for later reference if, for example, there is a negative result in an optimized decision block later in the process.

[0121]

Referring again to FIG. 7A, after sealing analysis, there may be a second optimized decision block 740, where a decision is made regarding whether sealing analysis has been optimized. In some embodiments, optimizing sealing analysis refers to whether the parameters of particle concentration, ratio, and flow rate have been sufficiently optimized. In other embodiments, fewer or greater numbers of parameters may be considered. In order to be affirmative for the optimized block 740, the available sealing analysis result must meet one or more pre-determined criteria. Each criterion may have its own threshold or tipping condition and the criteria may include one or more of the following: provision of a parameter set predicted to provide effective sealing and diversion at a specified pressure level; provision of a ranked set of parameters for sealing where at least the highest ranked parameters are predicted to provide effective sealing and diversion at a specified pressure level; or provision of one or more particle types (which may include size, shape, and or chemistry), a ratio of particle types, a flow rate, and a concentration level, where the combination is predicted to provide effective sealing and diversion at a specified pressure level.

[0122]

Referring back to FIG. 7A, if there is a determination that optimize decision 740 has not been met, the control moves back to sealing analysis 730, for another attempt to develop at least one candidate rate, ratio, and concentration parameter set. In one or more embodiments, upon return to the sealing analysis stage 730 after a negative decision from decision block 740, the sealing analysis 730 is altered to account or compensate for the factors causing the negative decision at 740. For example, if a negative decision at optimized block 740 was caused by a failure of a candidate parameter set to meet a pressure limitation, then jamming analysis 730 may heighten the pressure sensitivity for the next set of candidate parameters.

[0123]

If the optimize 740 decision has been met affirmatively, control moves to pressure build-up analysis 750, where one or more candidate parameter sets are evaluated for compliance with the breakdown pressure for the specific job. The evaluation may take any form discussed herein or otherwise known in the art. With reference to FIG. 7E, there is shown an embodiment specifying particular activities 751a, 751b, and 752 as sub-parts of pressure build-up analysis 750. In particular, at 751a, coupled DEM and CFD analysis is shown, as discussed above. Further, at structural analysis block 751b, a complete structural analysis of the jammed and sealed structure is evaluated through modeling. Finally, at decision block 752, there is a final check to determine if the selected parameter set for field use meets the BDP. If the answer is affirmative, then control moves to the completion of the process. If the answer is in the negative, control moves back to the pressure build-up analysis block 750, where analysis may be repeated with a higher sensitivity regarding pressure. As with the negative decisions above, in some embodiments, the pressure build-up analysis may be altered in a specific response to the negative result at decision block 752.

[0124]

Particle Degrading Analysis

[0125]

As discussed above, many embodiments of the disclosure contemplate the use of degrading particles so the jammed and sealed formations will eventually clear themselves and allow fluid flow again. This property is particularly useful in situations where an operator seeks to produce hydrocarbons from a previously sealed area. In one particular example, sometime during a drilling operation the operators may experience an undesirable loss of drilling fluid. The fluid may be lost into unplanned or unexpected openings such as weak, fractured, or vugular formation. Degradable particles may be used as described herein to seal the unplanned or unexpected openings so drilling operations may proceed normally. In some situations, the sealed well may be used to produce hydrocarbons within a short time period from the formation of the seal using the degradable particles. In these situations, as the seal degrades, the degraded particulate matter may flow to the surface with the production fluids. Thus, some embodiments of the disclosure account for any problems or irregularities that might be caused by the flow of degraded particulate in the production fluid. One example of a problem or irregularity is the presence of a sand screen that might be clogged by the degraded particulates.

[0126]

In some embodiments of this disclosure, the timing of the degrading process is more critical because sand screens may be installed upstream from the seal. The escape of degradable particles that are large enough to clog the sand screen can impede hydrocarbon production. Therefore, in wells that may yield hydrocarbon (or other fluid) production within a short period of time from a sealing effort, some embodiments of the invention model the degrading properties of the particles and/or the expected problem or irregularity that may be caused by the degraded particles. For example, in wells that may use sand screens or in any other situation where the degradable particle breakdown may impede production, it may be useful to model the degrading of the seal so the size and shape of remaining particles at a given point in time may be predicted to prevent production problems, such as clogging the sand screen. In one or more embodiments, modeling may factor one or more of the following: the degrading properties of the available particles (e.g., the time and conditions for the seal degrading given the chemistries of the candidate particles); the specifications of the sand screen or other up-well implements that may be hindered by the up-well flow of the degrading particles; and the expected time between the formation of a seal and the initiation of production or up-well flow from the well. In addition, by considering the foregoing factors, some of the embodiments of this disclosure may predict or specify any of the parameters, such as particle parameters discussed above. For example, some embodiments may predict particle size, particle shape, particle type distribution, and particle chemistry (for each particle type).

[0127]

In some embodiments, the specifications of a sand screen may be part of the analysis so the optimization of jamming and/or sealing parameters may contemplate the degrading properties of particles such that the sand screens do not become clogged during production. In some embodiments, one specification regarding the sand screen that may be employed is in regards to the size of particles that may flow past the sand screen without clogging or otherwise impeding the performance of the screen. For example, the modeling may contemplate the maximum particle size or average particle size that may flow upstream without causing a production issue such as clogging a sand screen.

[0128]

With reference to FIG. 10, there is shown an alteration of the process of FIG. 7A where a degrading particle analysis 760 is added with an optimize decision block 765 to determine if the degrading particle analysis is optimized. Since particles often degrade as a function of time, temperature, and fluid exposure, the degrading particle analysis may employ CFD and DEM analysis in many embodiments. Furthermore, in some embodiments, the modeling may predict the ratio of different size particles to be used because smaller particles may degrade more quickly. In other embodiments, the modeling may predict two or more of the following: the sizes of particles to be used; the ratio of different size particles; the chemistry for each particle; and the shape of each particle. In one or more embodiments, given a set of one or more specified particle types, the modeling may predict a minimum amount of time for degrading that must pass in order to safely employ a sand screen without clogging. In some embodiments, particle-degrading analysis 760 occurs after jamming analysis 710 and before sealing analysis 730, while in some other embodiments it occurs sequentially as shown in FIG. 10. In yet other embodiments, particle degrading analysis 760 may be performed as part of jamming analysis 710, sealing analysis 730, or both.

[0129]

Predicate Screening

[0130]

With reference to FIG. 7A, some embodiments of the disclosure call for predicate screening prior to the beginning of jamming analysis 710. In particular, as shown in FIG. 7F, some embodiments of the disclosure contemplate the collection of formation data 705 prior to the onset of the process/workflow shown in FIG. 7A. Formation data may include any available data regarding the geologic context of the job under consideration, including generally the following information: field data; log data; core data; acoustic data, outcrop data; and offset well data. In particular embodiments, the following specific data may also be gathered: amount of hydrocarbon being produced; reserve size and production size; viability of the well for hydrocarbons; formation breakdown pressure; and performance of nearby wells.

[0131]

In addition, some embodiments provide an initial screening 706, to determine if the inquiry involved in the workflow/process of FIG. 7A is advisable. For example, if a well is performing sufficiently, there may be little or no incentive to investigate a work-over. In addition, if a well has little or no potential to justify the effort of a work-over, then there may be insufficient reason to perform the analysis of FIG. 7A. This type of screening analysis may be performed by, for example, Weatherford International's FracAdvisor product. In sum, according to some embodiments of the disclosure, the best candidate wells for analysis of FIG. 7A are those that are under-performing in production, but have potential to produce materially more hydrocarbons after a work-over. As a threshold basis for this determination, the increased performance in a well may be measured against the cost of the work-over and analysis and the lost production time during the job (e.g., a work-over or fracturing job).

[0132]

Compensation for Dry Models

[0133]

In some embodiments, the jamming analysis 710 is a “quick look” analysis, which ignores fluid and particle transport coupling. While this saves time and money, it ignores flow effects relying only on “dry models” where only particle-particle interactions under gravity are simulated. In these embodiments, this may be an intentional oversimplification of reality where polydisperse particles are transported in the system and under the influence of drag forces coupled with particle-particle interactions. For an accurate optimization of flow rate(s), concentration, and other motion-dependent parameters, more intensive analysis may be used relying on Discrete Element Modeling (DEM) coupled with Computational Fluid Dynamics (CFD) as discussed herein. The coupling of these techniques may be used to more realistically simulate sealing/sealing mechanisms. For example, as illustrated above, the coupling of these models can be used for optimizing particle ratio (percentage of small particles or of one particle type to others), particle concentration in the carrying fluid, flow rate, carrying fluid properties, and other motion related parameters. In addition, these models may be used to predict the pressure capabilities of a candidate set of parameters so their capabilities may be compared with formation breakdown pressure. Thus, as discussed above with respect to FIG. 7A (and particularly applicable to pressure build-up analysis 750), diverting agent design can be customized to reach a formation-specific breakdown pressure.

[0134]

Safety Factor

[0135]

The discussion herein has involved threshold-type limitations regarding jamming stability and pressure tolerance or capability with reference to safety factors. Some embodiments of the disclosure contemplate the use of safety factors, which generally involve applying a multiple to any pressure or stability requirement. For example, a 20% safety factor increases any requirement threshold for pressure of stability by 20% from its base number. In some embodiments of the disclosure, a Monte Carlo analysis is applied to determine an appropriate safety factor for any particular parameter, such as stability or breakdown pressure. The use of Monte Carlo analysis relative to safety factors is well known in the art.

[0136]

Learning Models

[0137]

As referenced above, many embodiments of the disclosure contemplate that the models and algorithms may learn from field applications. Thus, some embodiments of the disclosure call for a learning module of the modeling software so that fed-back production data can be contemplated in subsequent use of the model. Furthermore, in some embodiments, the learning module may automatically receive production data, match the data to the former predictions, and vary the model. With reference to FIG. 6, conveyance 612 and network/Internet 606 may be employed to transport data to and from local computers and server-based resources to both perform modeling and implement model learning.

[0138]

Iterative Mechanisms

[0139]

As referenced above, many embodiments of the disclosure contemplate the ranking of predicted alternatives as output of the various embodiments of FIG. 7A. The rankings may be used in iterative fashion without the necessity of re-running the mode. Thus, if the first-ranked recommendation does not work (either in real production or in modeling downstream in the process), the next-lowest-ranked alternative may be used and so on.

[0140]

Model or Algorithm Validation

[0141]

In some embodiments, the analytical and numerical modeling discussed herein may be improved by validating and tuning against experimental and field data. This verification step may be used to calibrate the model parameters to enhance the prediction accuracy. Successful calibration may be measured by an accurate prediction of failures and design optimization as compared to the field data or experimental data. Results may be applied to guidelines for application in the field.

[0142]

Modeling with Mixed Field Testing or Use

[0143]

Many embodiments of the disclosure contemplate the use of FIG. 7A and FIG. 10 models to perform analyses that ultimately direct the use of real world mechanisms, such as particles, fluids, pumps, blenders, valves, and servicepersons. Other embodiments contemplate the intermittent use of real world implements within the modeling stream to affect the progression for the analysis. For example, with reference to FIG. 6, at the conclusion of jamming analysis 710, results from the jamming analysis may be applied to a well and the data from the jamming procedure may be fed back to the process to transform the operation of the FIG. 7 or FIG. 10 processes moving forward. Similarly, the outputs of sealing analysis 730, pressure build-up analysis 750, or particle degrading analysis 760 may be applied in the field with results fed back in a way to affect subsequent modeling.

[0144]

In addition, some applications of the current disclosure may be initiated in real world, well-site activity and then aided by the techniques discussed herein. For example, if a problem is encountered at a well site and drilling fluid is draining off through an unwanted opening, the techniques herein may be employed to fix the problem. In one embodiment of the disclosure, a problem, such as unwanted drainage, is detected at a well site. Sensors and production data are received related to the problem. The sensor and production data are used to design a diversion operation using the techniques discussed with respect to FIGS. 7A and 10. In some embodiments, a single fluid is developed for jamming and sealing the draining area. In other embodiments multiple fluids are developed, with at least one fluid being directed toward jamming and a second fluid directed toward sealing.

[0145]

Automatic Model

[0146]

With reference to FIG. 6, many embodiments of the disclosure contemplate implementations with no or limited automatic connections between the processes of FIGS. 7A and 10 and the operation of the well site. However, other embodiments of the disclosure may require differing levels of interaction and at least one embodiment is fully automated. For example, any computer-controllable implement at the well site may be automatically controlled by the processes of FIGS. 7A and 10. For example, a computerized process may do any one or more of the following: read field data or historical data from servers or its own memory; perform testing on a well site (e.g., provide a stimulus and read sensor data) to receive test data for application to models; read or poll sensors deployed at the well site; create diversion fluids using stored fluid, particles, and water at the well site using a blender, pumps, and conveyances or other implements known in the art; and provide instructions for field technicians to cooperate with or aid the automated processes.

[0147]

Single-Fluid or Multi-Fluid Applications

[0148]

Many embodiments of the disclosure result in implementation of a diversion process using a single carrier fluid and particulate that is developed using the teachings hereunder. For example, a single carrier fluid and specified particles at specified parameters may be used for jamming and sealing. Many embodiments herein are particularly well suited for a single-fluid application because the analysis provided herein can optimize the fluid balancing the considerations for jamming and sealing. However, other embodiments of the disclosure use at least two fluids for implementing a diversion. One fluid is applied and optimized for jamming, and the second fluid is applied and optimized for sealing (and even, in some embodiments, where the sealing is optimized to the prior jamming process). Finally, the analysis techniques taught herein provide flexibility to specify and predict results for the applications of 3 or more fluids in a diversion operation. This may be useful in particularly complex well situations where natural, man-made, or production factors favor a layering of particle types, rather than a more heterogeneous application of mixtures.

[0149]

Design of Particle Properties

[0150]

As indicated above, in some embodiments, particle properties may be customized to the particular job through the use of analytical and advanced numerical approaches. For example, models and/or algorithms may be constructed to account for input conditions such as target pressure build-up, formation information, and the range of available particle types and chemistries. Given these inputs, the models or algorithms may produce optimized custom values (per job or formation) regarding the application of a particular diversion job, e.g., particle size, particle concentration, and/or particle combination. Ultimately, some embodiments may specify these parameters and predict achievable pressure build-up for the job under analysis. In one or more particular embodiments, custom particle properties (e.g., size, shape, concentration, and ratio) and operational parameters (e.g., flow rate, fluid viscosity, etc.) may be calculated for optimum and efficient jamming and/or sealing operations. Furthermore, the model/algorithm results obtained may be verified (e.g., sanity checked), or recursively improved using field data (e.g., collected from past jobs) and experimental data (e.g., in a lab or test environment) to calibrate the model's/algorithm's parameters.

[0151]

It is to be understood that the above description is intended to be illustrative, and not restrictive. The material has been presented to enable any person skilled in the art to make and use the invention as claimed and is provided in the context of particular embodiments, variations of which will be readily apparent to those skilled in the art (e.g., many of the disclosed embodiments may be used in combination with each other). In addition, it will be understood that some of the operations identified herein may be performed in different orders. The scope of the invention, therefore, should be determined with reference to the appended claims, along with the full scope of equivalents to which such claims are entitled. In the appended claims, the terms “including” and “in which” are used as the plain-English equivalents of the respective terms “comprising” and “wherein.”

[0152]

Stimulation Efficiency

[0153]

With reference to FIG. 11, the discussion of the aspects of efficiency now transitions to a focus on stimulation efficiency 1103. Stimulation efficiency 1103 refers to the ability to measure or quantify the effectiveness of stimulation occurring in the intended area of a well as a result of diversion's (e.g. jamming and sealing process) effectiveness in isolating a portion of the well. In some embodiments, as explained below, the stimulation efficiency may be quantified by comparing tracer logs of actual well formations with synthetic tracer logs generated by models that provide differing logs for differing levels of efficiency. When an actual log closely corresponds to a synthetic log, then the stimulation efficiency of the actual well stimulation may be analogized to the modeled efficiency of the synthetic log.

[0154]

Referring to 12, there is shown a visualization of well indicated by 1230 at the well surface and 1235 at a point beneath the surface and below operational areas of the well. In some embodiments, the deep portion of the well 1235 may be the bottom of the well and in some other embodiments it may simply be a point below one or more operational areas. Furthermore, in some embodiments, the deep portion of the well 1235 may represent and natural or artificial blockage in the well, such as a plug.

[0155]

The well 1230 is illustrated with three stages: stage I 1203 near the bottom of the well; stage II 1202 in the middle area of the well; and, stage III on the surface side of the illustrated operational areas of the well. In some embodiments, there may be more or fewer stages in the well. For example, a well may have only one or two stages, or alternatively, a well may have several more stages. In the later embodiments, where the well has several more stages, some embodiments may have additional stages on the surface side of stage III, which other embodiments may have additional stages beneath stage I, while yet other embodiments may have additional stages in both places.

[0156]

Referring again to FIG. 12 and well 1230, each stage 1201, 1202 or 1203, is intended to represent a physical section of the well. In some embodiments, each stage (or at least one stage) of the well represents a physical section of the well that is subject to operational work such as stimulation or production after stimulation. Depending upon the embodiment, stimulation operations refer to operations in the well having the goal of causing the stimulation of production or greater amounts of production. One form of stimulation contemplated by many embodiment of the invention is hydraulic fracturing.

[0157]

In practice, many embodiments herein contemplate that each stage of the well may be implemented in any known manner. For example, a stage may be a linear length of well bore such as a 400 foot long section or a 500 foot long section. Varying embodiments of this disclosure contemplate different size stages and some embodiments contemplate a well stage as portions of the well to be produced together (e.g. simultaneously). In one embodiment, one stage may be a 400 foot long section of the well to be isolated for production, while other stages may be longer or short portions of the well, each to be isolated for production.

[0158]

With reference again to FIG. 12, each stage of the well is illustrated as having multiple clusters 1211 through 1225. By way of example, each stage is shown with 5 clusters: stage III has clusters 1211 through 1215; stage II has clusters 1216 though 1220; and stage 1 has clusters 1221 through 1225. In some embodiments, any particular well a stage may have more or less than five clusters, although a well stage may be characterized as a section of the well having one or more clusters in an area such as a single operational zone of the well. Clusters within a single stage of a well may, for example, be 50 to 75 feet apart. Each cluster represents a group of perforations, so each cluster may include one or more perforations. For example, in some embodiments a cluster may have 8 or 16 perforations while in other embodiments the number of perforations may vary between clusters based upon operational goal or well characteristics. In some embodiments the number of perforations in a cluster or the number of clusters in a stage may vary, being categorized by operational or theoretical factors, or a combination thereof.

[0159]

As discussed above, diversion agents may be used to jam or seal perforations so that fluids, such as stimulation agents, may be appropriately directed in a well. In some embodiments, jamming and sealing operations may be directed at one or more clusters or an entire stage. As discussed above, the goal of diversion is typically to block targeted perforations (e.g. clusters or an entire stage) so that other perforation may propagate. In some embodiments, Weatherford's TBlockSure® products are used as diverting agents to jam and/or seal perforations as discussed above, primarily with respect to diversion.

[0160]

Using Tracers

[0161]

During a well-based project, such as a stimulation project (e.g. a hydraulic fracturing operation), tracers may be used to monitor and evaluate the flow of fluids in the well such as fracturing fluids. Tracers are observable elements that are added to wellbore fluids so that the path or accumulation of the fluids may be objectively observed by personnel at the surface. For example, there is known in the energy industry radioactive tracers or chemical tracers that are added to hydraulic fracturing fluid or other stimulation agents and used to determine injection profiles and location of fractures created by the fluid. In some embodiments, the same well may employ multiple tracers that are differentiable when observed. The tracers may use radioactive elements have a tracing basis in other technologies to create an observable characteristic for use by the well operators in observing the fluid flow characteristics of the well. In some embodiments a variety of tracers may be used on the same well, but those tracers may be distinguished upon viewing data or imaging of the well. In this way, a well operator may be able to observe the migration of different fluids in the well. There are multiple known technologies for tracers of this type and the embodiments herein contemplate use of any tracer technology currently known or developed in the future.

[0162]

In discussing the use or visualization of tracers herein, there may be references to colors, e.g. blue, red, yellow, etc. The colors are used to refer to tracers being distinguished from one and other, and not meant to imply a specific type of tracer technology, a specific implementation, or even an actual color of the tracer. Therefore, a reference to a “red” (or any particular color) tracer is referencing any tracer technology. The use of the word, “red,” is to convey that the tracer may be distinguished from another color, e.g. “blue” tracer, which may also be implemented in any tracer technology. Similarly, the discussion herein may refer to tracers by number, e.g., “tracer 1” and “tracer 2.” As discussed with respect colors, reference to tracers by number is not intended to confine any embodiments to any particular tracer technology, but merely to suggest that the tracers are distinguishable by the well operators in observing information about the well, such as tracer logs. In other words, a tracer log may show three different colors representing tracers. The colors merely represent the fact that the tracers are different and do represent a particular technology of tracer or even that that actual tracer has any particular color.

[0163]

With reference now to FIG. 13, there is shown the staged diagram of well 1230 juxtaposed to tracer (or stimulant) injection plan or log 1300. The log/plan 1300 is stated in the alternative (log or plan) because the illustration may represent either a record or activity (a log) or a plan for activity (a plan). In general, tracer injection log/plan interleaves diversion operations (steps 2 and 4) between different color tracers (step 1, step 3 and step 5), which are in most embodiments injected in the well as part of a stimulation agent, such as hydraulic fracturing fluid. In particular, log/plan 1300 shows: a first step of 15 minutes of red tracer injection into stage I of the well; followed by step 2, a diversion operation such as the application of jamming and sealing agents, in some embodiments applied to stage I; followed by step 3, which reflects 15 minutes injecting blue tracer in stage II of the well; followed by step 4, a second diversion operation, e.g. in some embodiments applying jamming and/or sealing agents to stage 2 of the well; and step 5 where a yellow tracer is injected into stage 3 of the well for 15 minutes. Log/plan 1300 is intended to be merely illustrative of voluminous possibilities for a tracer injection plan. For example, there may be any number of steps including any number of injection steps as applied to any number of well stages. In some embodiments, there may be multiple tracer injection steps in the same stage. Still in other embodiments, the time for each stage may be varied. In sum, the operational team for the well may design any tracer injection plan per their operational needs, desires or goals.

[0164]

Referring now to FIGS. 14 and 15 there are shown synthetic tracer logs 1400, 1450, 1500 and 1550. A synthetic tracer log is generated by using project data and modeling to determine or predict the amount of tracer present in a well and the stratification of that tracer across the well. A synthetic tracer log may be contrasted to a real tracer log, which is a field reading of tracer levels as those levels are stratified in a well. Real tracer logs may be expressed in many varying graphical and mathematical formats. The concept behind a real tracer log is to show the volume and position of tracer in the well at the time the data is taken. With reference to FIG. 16, there is shown an illustration that represents a real tracer log. Real tracer log 1600 shows colored tracers that are coded by the use of shapes. In particular, yellow tracer is represented as a triangle, blue tracer is represented as a square, and red tracer is represented as a circle. In this form of a real tracer log 1600, the volume of a tracer is indicated by the amount of the color/shape shown in the log. For example, in Stage III of log 1600, just below 9,600 feet, there is mostly yellow tracer surrounded by some blue tracer. In stage II of the well shown by log 1600, in the area of 10,300 feet of depth, there are three patches of entirely blue tracer. Finally, in stage I of the well, just above 10,800 feet of depth, there is primarily red tracer, with a small amount of surrounding yellow tracer. Real tracer log 1600 is not intended to illustrate the very realistic graphic presentation that is given by most contemporary commercial products. For purposed of this disclosure, the conceptual core of a real tracer log is to illustrate the volume or quantity of tracer present at different portions of the well—e.g. the stratification of tracers in the well. Many times, a real tracer log may also be expressed as an array of data, such as one might find in a spreadsheet or a database, where data indicating the volume or quantity of tracer may be associated with locations in the well.

[0165]

Returning now to synthetic tracer logs (e.g., 1400, 1450, 1500 and 1550), depending upon the model used to generate a synthetic tracer log, varying types of data may be employed as input. In some embodiments, sealing and diversion data is used as input to the model. The sealing and diversion data may be sourced from the same well being modeled, for example, when the modeling is occurring after some amount drilling and/or stimulation and/or diversion and/or production. Alternatively, the sealing and diversion data may be sourced from wells that are considered similar to the well being modeled, for example, wells in the same field or geographic area or other wells that have been deemed similar by the operators (e.g. geologists, geophysicists, etc.).

[0166]

In some embodiments, additional input data for the model may be pressure build up data or an assumed efficiency level. In one or more embodiments, this data can be obtained from the jamming and sealing modeling described above. For example, the model may receive as input the pressure build-up data for a well where the actual stratification of tracer in the well is known. The model may then be used to predict the efficiency of the well stimulation at the given level of pressure build up or predict the amount of pressure build up and the tracer stratification at differing levels of efficiency. In yet other embodiments relating to fracturing simulations, some of the input data may be completion data (such as stage spacing, cluster design, perforation design), pumping data (such as pressure data, fluid properties, proppant properties) and reservoir and geomechanical data (such as in-situ stress and rock properties). In still other embodiments relating to diversion simulations, similar data as coupled CFD-DEM modeling may be used.

[0167]

The model to create the synthetic tracer log may be any suitable model that attempts to use real-world data about a well (or a similar well) to predict efficiency levels for different stratifications of tracers. For example, in some embodiments, the model may produce predicted tracer stratification for each of several efficiency levels. Thus, when a real tracer log is acquired from a well, a close correlation between the real tracer log and one of the synthetic logs may be used to determine the efficiency of the stimulation and diversion.

[0168]

In some embodiments, synthetic tracer logs are a form of output from a model as discussed above. Illustrated synthetic tracer logs 1400, 1450, 1500 and 1550 are merely illustrative of this type of output. Some embodiments of this disclosure require that the “output” or synthetic tracer log should show the stratification of tracer predicted for a well, as well as the predicted stimulation efficiency that accompanies such specific stratification. Thus, the illustrative synthetic tracer logs shown as 1400, 1450, 1500 and 1550 visually demonstrate the volume of tracer (“Zero” to “Higher” on the Y axis) and the stratification (depth in feet on the X axis). In addition to graphical indications of the stratification of tracers in a well, the same data may be indicated in any known matter. For example, a spreadsheet of database may be used to show volumes or quantities of specific tracers and the position of those quantities in the well.

[0169]

Returning briefly to FIG. 13, recall that, there is shown the staged tracer injection plan/log 1300. As discussed above, the tracer injection log/plan interleaves diversion operations (steps 2 and 4) between different color tracers (step 1, step 3 and step 5), which are in most embodiments injected in the well as part of a stimulation agent, such as hydraulic fracturing fluid. Tracer injection log/plan 1300 will now be used as a tool to help illustrate synthetic tracer logs of FIGS. 14 and 15. In particular, for some embodiments, we can assume that a modeling process or program uses the log/plan 1300 as part of its input (e.g. along with physical information about the well such as that shown in FIG. 12, along with operational data). In some embodiments, the model may then generate one or more synthetic tracer logs, such as 1400, 1450, 1500 and 1550.

[0170]

Referring to FIG. 14, synthetic tracer log 1400 shows amounts of all tracers (i.e., yellow, red and blue, shown overlapping) in the well at stage I, which is the lowest part of the well. Looking at log/plan 1300, we see that yellow tracer was injected at step 5, but in Stage 3 of the well, which corresponds to an area of the well more toward the surface. Thus, it is evident that yellow tracer (along with any stimulation agent) propagated outside the intended area of treatment, meaning that synthetic tracer log 1400 correlates with a relatively low stimulation and diversion efficiency. A similar observation can be made for tracer blue which was injected at step 3 and in Stage 2 of the well which corresponds to the middle part of the well. However, due to low diversion and stimulation efficiency, blue tracers are observed outside of intended area and in Stage 1.

[0171]

In one embodiment, the modeled stimulation efficiency of synthetic tracer log 1400 is 75%. If a real tracer log correlates with synthetic tracer log 1400, then we can determine the stimulation efficiency of the real well stimulation with relation to the modeled stimulation efficiency corresponding to the synthetic tracer log. For example, if the stratification of tracer in a real tracer log has a high correlation with the stratification of tracer in a synthetic tracer log, some embodiments of the disclosure assume or proclaim that measurement of the stimulation efficiency of the real well is the modeled stimulation efficiency of the synthetic tracer log—i.e. 75%. In some embodiments, there is a threshold for the correlation so that equivalence of the stimulation efficiency between a real well and a synthetic log is only assumed or proclaimed if the correlation is above the threshold. In one embodiment, the threshold is 90% correlation, while in other embodiments, the threshold is 95%. In some embodiments, the adequacy of the threshold is determined based upon other factors. For example, a threshold may be more tolerant for some wells because the precision of the efficiency measurement is less critical.

[0172]

Referring now to synthetic log 1450, there is shown tracer stratification with blue and yellow tracer found on the shallower side of stage II, and red and yellow tracer throughout the area of stage 1. Referring to log/plan 1300, while red and blue tracers are located generally in the area of their injection, the yellow tracer from stage 3 is found in areas where it was not injected, indicating a lower efficiency. In some embodiments, the modeled efficiency of log/plan 1450 may be 88%. Each stimulation (diversion) efficiency (e.g., 88%) may be corresponding to specific pressure build-up on the opening path due to diverters jamming and sealing.

[0173]

Referring to FIG. 15, synthetic tracer logs 1500 and 1550 may be evaluated with respect to log/plan 1300 in a similar manner. Thus, it is evident that synthetic log 1500 is a relatively high efficiency (e.g. in some embodiments 94%) and synthetic log 1550 is yet higher efficiency (e.g. in some embodiments 98%). Furthermore, in some embodiments many synthetic logs may be modeled in order to increase the chance of finding a match with a real tracer log. For example, a synthetic log may be modeled for each percentage of efficiency or for each half percentage of efficiency. In yet other embodiments, since efficiency below a certain threshold (e.g. about 75%) is not particularly relevant, synthetic tracer logs may only be generate for efficiencies greater that threshold. This allows the generation of fewer synthetic logs with a smaller efficiency span between adjacent logs.

[0174]

Modifying the Pumping Plan

[0175]

In many embodiments of the disclosure, synthetic logs may be modeled for more complex applications of tracer and stimulation elements. The ability to model more complex stimulant application log/plans allows the determination of stimulation efficiency even for complexly managed and stimulated wells. By way of example, FIG. 17 shows a stimulation/tracer injection log/plan that injects stimulant/tracer for the same amount of time as log/plan 1300, except the time is divided into 7.5 minute periods with diversion applied between stimulant/tracer injections. Thus, stage I receives a 7.5 minute injection of red tracer (and stimulant), followed by the application of a diverting agent, then followed by another application of red tracer (and stimulant). Furthermore, the same pattern is repeated from the remainder of the project shown in the log/plan 1700. By way of example, a synthetic tracer log 1800 in FIG. 18 may be interpreted as a modeled tracer log for a particular well having the injection log/plan 1700. Note that the tracer colors are very well located as aligned with the injection plan (yellow in stage III, blue in stage II, and red in stage I), and the distribution of the tracer within each stage is more evenly distributed. This may be contrasted to the synthetic log 1850, which illustrates the modeled log for the same total injection time, without the modified pumping schedule (i.e. injecting all 15 minutes at once rather that in two 7.5 minute periods with diversion interspersed). In some embodiments, the inventor has determined that modified pumping schedule and the resulting more even disbursement of the tracer (and by extension, the fractures) results in significantly higher production. For example, in some embodiments, the modeled production for synthetic log 1800 is over 30% greater than the modeled production for synthetic log 1850. This is due to higher stimulated rock volume and also uniform fluid and proppant distribution along the wellbore (less out of zone fracture propagation).

[0176]

Processes Associated with the Embodiments

[0177]

With reference to FIG. 19, there is shown a process associated with many embodiments herein. In particular, process 1900 may be used to illustrate generation of synthetic tracer logs. Block 1901 shows a repository for well data such as sealing and diversion data and field tracer logs, as well as any other data that may be collected during the hydrocarbon production process and particularly the stimulation and production portions of the process. Block 1901 may represent a computer as discussed above or any memory type discussed above or envisioned. A simulator 1904 is used to simulate fluid flow in the well and the simulator 1904 draws on the sealing and diversion data 1902 as well as 1903 information regarding (i) diversion efficiency and (ii) an assumed stimulation efficiency (this is the stimulation efficiency that the generated synthetic log will represent). Once the simulator creates a prediction of the fluid flow dynamics of the well, a synthetic tracer log generator 1904 may use the results of the simulation to create a synthetic tracer log that corresponds with the input data, including notably the assumed stimulation (diversion) efficiency. The diversion simulator 1904 and the tracer generator 1905 may be embodied in hardware or as software application or a combination of both. In some embodiments, the distinction of the models provides flexibility in assembling an upgrading the system because one module or another can simply be replaced rather than re-writing a larger portion of software, for example, simply due to a minor change in the simulator.

[0178]

After a synthetic log is generated at 1905, it may be optionally stored in a memory 1906. The memory may be any type discussed above. Thus, having passed once through the process 1900, one synthetic tracer log will be generated and it will be associated with a single stimulation efficiency (i.e. the assumed stimulation efficiency 1903). As discussed above, in some embodiments, it may be desirable to generate many synthetic tracer logs corresponding to many different efficiency levels. In order to do so, in some embodiments, assumptions are changed 1950, and the process is repeated to created more synthetic logs. In many embodiments, the primary changed assumption is the assumed stimulation (diversion) efficiency, so that logs may be created for a variety of efficiencies. In some embodiments, the assumptions may be altered according to a program, where the programed used a microprocessor to proceed through the process for a multiple sets of input data, each set of input data designed to generate a single synthetic tracer log.

[0179]

Referring now to FIG. 20, there is shown a process 2000 that is a modified version of the process 1900. In particular, at compare portion 1907 may perform a correlation between a generated synthetic tracer log and a real field tracer log 1912. If the two match at decision block 1908, then at 1910, the stimulation efficiency of the real well (corresponding to the real tracer log) is determined to be the same as the modeled stimulation efficiency of the synthetic log. If the two logs do not match at decision 1908, then at 1909, the process is repeated to create another synthetic log using different inputs, such as different assumed stimulation efficiency. As discussed with respect to the simulator 1904 and the synthetic tracer generator 1905, the compare portion 1907, “match?” portion 1908 and other active consideration or manipulation of data may be performed by a programmed processor as illustratively discussed above.

[0180]

Combining Diversion Optimization with Stimulation Efficiency

[0181]

With reference to FIG. 21, there is shown an illustrative process or workflow for creating a diversion in a fluid flow path by jamming and/or sealing an opening such as a perforation; and for measuring the stimulation efficiency of the well. As discussed above with respect to the similar FIGS., at 710, jamming analysis is performed. If at decision 720 it is determined that jamming has not been optimized, then control returns to block 710 as described above. However, if optimization is found at decision 720, then control continues to sealing analysis 730. At decision 740, there is a determination regarding the optimization of the sealing analysis. If optimization is not found, control returns to block 730 as described above. If optimization is found, then control moves forward to 750 pressure build up analysis where the potential pressure build up of the well is determined as described above. The pressure build up 750 may then be used as input to the processes shown in FIGS. 19 and 20.

[0182]

Referring to FIG. 21, for illustration, transition element 2100 shows where stimulation efficiency (e.g. of FIG. 19 or 20) may be incorporated adjacent to diversion efficiency. In the example of FIG. 21, the process of FIG. 19 has been used to represent the stimulation efficiency process. With reference to FIGS. 19, 20 and 21, it may be observed that there are many ways to use the stimulation efficiency measurement techniques suggested by the varying embodiments of this disclosure. In one embodiment, a stimulation operation may begin, generating data from the operation. That data generated as well as other inputs (as discussed above) may be used to generate one or more synthetic tracer logs, each log representing a different modeled efficiency level. When a real tracer log from the well is matched to a synthetic tracer log, the stimulation efficiency of the well may be equated to the modeled efficiency of the synthetic tracer log. To the extent the efficiency is less than 100%, the well stimulation operation including diverter design may be changed to move toward 100%. Further, the production of synthetic logs may be interleaved with operational changes to form a learning process that may bring any well to its maximum stimulation efficiency.

[0183]

Thus, many embodiments discussed herein to provide stimulation efficiency measurement may be used to improve stimulation operations through iterative measurement and stimulation adjustment. Additionally, many embodiments discussed herein to provide stimulation efficiency measurement may be used to validate stimulation operations by confirming that stimulation efficiency is high or at 100%. Furthermore many embodiments herein to provide stimulation efficiency measurement, may be used to design modified pumping schedules (e.g. 1700), that result in more distributed stimulation of the well, higher pressures and ultimately higher production output.

[0184]

Enhancing Production

[0185]

In some embodiments, production efficiency 3A4 may be correlated to stimulation efficiency, as represented in a synthetic tracer log. Thus, the embodiments herein providing for determination of stimulation efficiency may also be used to predict production efficiency. For example, once a stimulation efficiency of the well is known, other input information may be used and a prediction may be made regarding the production efficiency of the well. In some embodiments, the production efficiency of the well is represented by the relative production efficiency of the well, meaning that the data may indicate more or less production, rather than an absolute amount of production for a stage or stages under study.

[0186]

Non Limitation

[0187]

No limitation is intended by these hardware and software descriptions and the varying embodiments of the inventions herein may include any manner of computing device such as Macs, PCs, PDAs, phones, servers, or even embedded systems, such as a dedicated device.

[0188]

It is to be understood that the above description is intended to be illustrative, and not restrictive. The material has been presented to enable any person skilled in the art to make and use the invention as claimed and is provided in the context of particular embodiments, variations of which will be readily apparent to those skilled in the art (e.g., many of the disclosed embodiments may be used in combination with each other). In addition, it will be understood that some of the operations identified herein may be performed in different orders. The scope of the invention therefore should be determined with reference to the appended claims, along with the full scope of equivalents to which such claims are entitled. As used in this disclosure, (i) the words “include” and “including” and variations thereof, will not be deemed to be terms of limitation, but rather will be deemed to be followed by the words “without limitation,” and (ii) unless the context otherwise requires, the word “or” is intended as an inclusive “or” and shall have the meaning equivalent to “and/or.” Furthermore, in the appended claims, the terms “including” and “in which” are used as the plain-English equivalents of the respective terms “comprising” and “wherein.”

Как компенсировать расходы
на инновационную разработку
Похожие патенты