System architecture and methods for enabling a client-side real-time auction of advertising inventory that works in conjunction with ad serving technologies. The method according to some embodiments of the present invention comprise: (i) an end-user visiting a web page wherein multiple advertisements are displayed, (ii) for each ad unit on the page, multiple parallel requests are sent from the end-user's browser client to multiple real-time bidders who respond with a bid & advertisement for each unit, (iii) the bids are compared within the end-user's browser and the winning bid is sent to an ad serving system to be compared with other statically priced advertisements and exchange demand to determine the winning advertisements that will be displayed to the end-user and (iv) data is aggregated for each bid and price limits are set based on the aggregations.
1. A method implemented by an ad-exchange platform, connected by a network, to an architecture of advertiser and publisher servers and a plurality of client devices, for selection and placement of advertisements on a web page displayed on the client devices, the method comprising:
making a determination, by a processor and over the network, that a user has visited a web page associated with a publisher; receiving an advertisement bid request, by the processor, from a browser on the client devices associated with the web page; transmitting the advertisement bid request, by the processor, to a plurality of demand partner platforms coupled to the ad-exchange platform and in the networked architecture of servers, the plurality of demand partner platforms configured as a plurality of electronic market places, by which bids for placement of particular advertisements responsive to the advertisement bid request are solicited; receiving a plurality of different bids responsive to the advertisement bid request from the plurality of demand partner platforms within a predetermined time limit set for receiving the plurality of different bids; and transmitting the plurality of different bids to an advertisement server of the publisher in the networked architecture of servers, to enable the publisher to select a particular bid from the plurality of bids; transmitting the particular bid and related bidder information, by the processor to an advertisement server for further processing; receiving, by the network, a particular advertisement associated with the particular bid from the advertisement server; and rendering, by the processor, the particular advertisement on the web page. 2. The method of 3. The method of 4. The method of identifying from the advertisement bid request, by the processor, an auction type, a code for currency to bid in, a first object containing a custom field defining the bid request, a unique identification for the advertisement bid request, and a second object describing an advertisement impression associated with the advertisement bid request. 5. The method of identifying, by the processor, an extension object associated with the advertisement bid request. 6. The method of identifying, by the processor, a banner object and a unique identification for the advertisement impression, and a format object associated with the banner object to define an allowed height and width for a banner impression for the slot in the webpage. 7. The method of identifying, by the processor, at least one of the following from the advertisement bid request: a 1) site object, 2) a device object to indicate the end-user's computing environment, 3) a geo object to indicate the end-user's current location, and a 4) a user object to describe the details about an end user. 8. An ad-exchange platform coupled to a publisher, a plurality of demand partners, and a plurality of client devices by a network, comprising:
a processor; memory for executing instructions stored for selecting and placing an advertisement in a predetermined slot on a web page displayed on at least one of the client devices, the processor making a determination that a user has visited a web page associated with the publisher connected by the network to the processor, and the processor receiving an advertisement bid request from a browser associated with the web page and transmitting the advertisement bid request to the plurality of demand partner platforms, wherein the plurality of demand partner platforms serve as a plurality of electronic market places for generating bids for the advertisement bid request, and the processor is adapted to receive a plurality of bids for the advertisement bid request from the plurality of demand partner platforms within a pre-determined time limit for aggregating bids and transmitting the plurality of bids aggregated to an advertisement server associated with the publisher, to enable the publisher to select a particular bid of interest to the publisher form the bids for the advertisement bid request that are generated, the processor further adapted to transmit the particular bid and related bidder information, to an advertisement server for further processing, the processor further adapted to receive, by the network, a particular advertisement associated with the particular bid from the advertisement server and adapted to render the particular advertisement on the web page. 9. The ad-exchange platform of 10. The ad-exchange platform of 11. The ad-exchange platform of 12. The ad-exchange platform of 13. The ad-exchange platform of 14. The ad-exchange platform of 15. The ad-exchange platform of 16. A method implemented by an ad-exchange platform, connected by a network, to an architecture of advertiser and publisher servers and a plurality of client devices, for selection and placement of an advertisement on a web page displayed on the client devices, the method comprising:
making a determination, by a processor over the network, that a web page associated with a particular publisher has rendered on a client device, the web page including an advertisement slot that is available for real-time bidding for the selection and placement of the advertisement on the web page receiving an advertisement request, by the processor, from a browser on the client device associated with the particular web page; transmitting the advertisement request, by the processor, to a plurality of real-time bidding devices coupled to the ad-exchange platform and in the networked architecture of servers, the plurality of real-time bidding devices configured to solicit multiple bids for placement of particular advertisements responsive to the advertisement request for filling a slot on the webpage, wherein the advertisement request is adapted to execute a plurality of parallel requests sent to the plurality of real-time bidding devices for advertisement units and is adapted to receive multiple bids from multiple real-time bidding devices; making a determination of a winning bid, by the processor, after a predetermined time limit has lapsed and obtain bidder information associated with the winning bid for each of the advertisements units; transmitting the winning bid and the bidder information to an advertisement server for processing through the ad-exchange server; receiving, by the network, a winning advertisement associated with each winning bid from the advertisement server; and rendering, by the processor, the winning advertisement on the web page for display. 17. The method of requesting and receiving, by the processor, historical pricing information for the winning advertisement and user segmentation information from a plurality of data vendors; determine for the winning bid whether the winning bid satisfies a minimum pricing threshold based on historical pricing information and the user segmentation information; generating and setting, by the processor, a key/value pair for the winning bid, wherein the key/value pair is adapted to describe the bidder device and bidding information associated with the winning bid; and sending the key/value pair to the advertisement server with the winning bid. 18. The method of making a determination, by the processor, if the winning bid complies with a fixed price inventory. 19. The method of making a determination, by the processor, if the winning bid complies with one or more criteria set by the ad-exchange system. 20. The method of aggregating, by the processor, all winning bid related data including user segmentation information, historical pricing information, and current pricing information. 21. The method of sending, by the processor, the real-time advertisement for rendering to the bidder associates with the winning bid. 22. An ad-exchange platform, connected by a network, to an architecture of advertiser and publisher servers and a plurality of client devices, for selection and placement of an advertisement on a web page displayed on the client devices, comprising:
a processor; memory for executing instructions stored for selecting and placing the advertisement in a predetermined slot on the web page displayed on the client device, the instructions executed on the processor to:
make a determination that a user has visited a web page associated with the publisher connected by the network to the processor, wherein the web page is available for real-time bidding for the selection and placement of the advertisement on the web page, wherein the processor receives from a browser on the client device associated with the particular web page, an advertisement bid request, and is adapted to transmit the advertisement bid request to a plurality of real-time bidding devices coupled to the ad-exchange platform and in the networked architecture of servers, the plurality of real-time bidding devices configured to solicit multiple bids for placement of particular advertisements responsive to the advertisement bid request for filling the slot on the webpage, wherein the advertisement request is adapted to execute a plurality of parallel requests sent to the plurality of real-time bidding devices for advertisement units and is adapted to receive multiple bids from multiple real-time bidding devices; make a determination of a winning bid, after a predetermined time limit has lapsed and obtain bidder information associated with the winning bid for each of the advertisements units; transmit the winning bid and the bidder information to an advertisement server for processing through the ad-exchange server; receive, by the network, a winning advertisement associated with each winning bid from the advertisement server; and render the winning advertisement on the web page for display. 23. The ad-exchange platform of request and receives historical pricing information for the winning advertisement and user segmentation information from a plurality of data vendors; determine for the winning bid whether the winning bid satisfies a minimum pricing threshold based on historical pricing information and the user segmentation information; generate and set a key/value pair for the winning bid, wherein the key/value pair is adapted to describe the bidder device and bidding information associated with the winning bid; and send the key/value pair to the advertisement server with the winning bid. 24. The ad-exchange platform of make a determination, if the winning bid complies with a fixed price inventory. 25. The ad-exchange platform of make a determination if the winning bid complies with one or more criteria set by the ad-exchange system. 26. The ad-exchange platform of aggregate all winning bid related data including user segmentation information, historical pricing information, and current pricing information. 27. The ad-exchange platform of send the real-time advertisement for rendering to the bidder associates with the winning bid. 28. The ad-exchange platform of a pixel processor configured to deliver pixel image files in at least one of gif, jpg, and png formats. 29. The ad-exchange platform of 30. The ad-exchange platform of
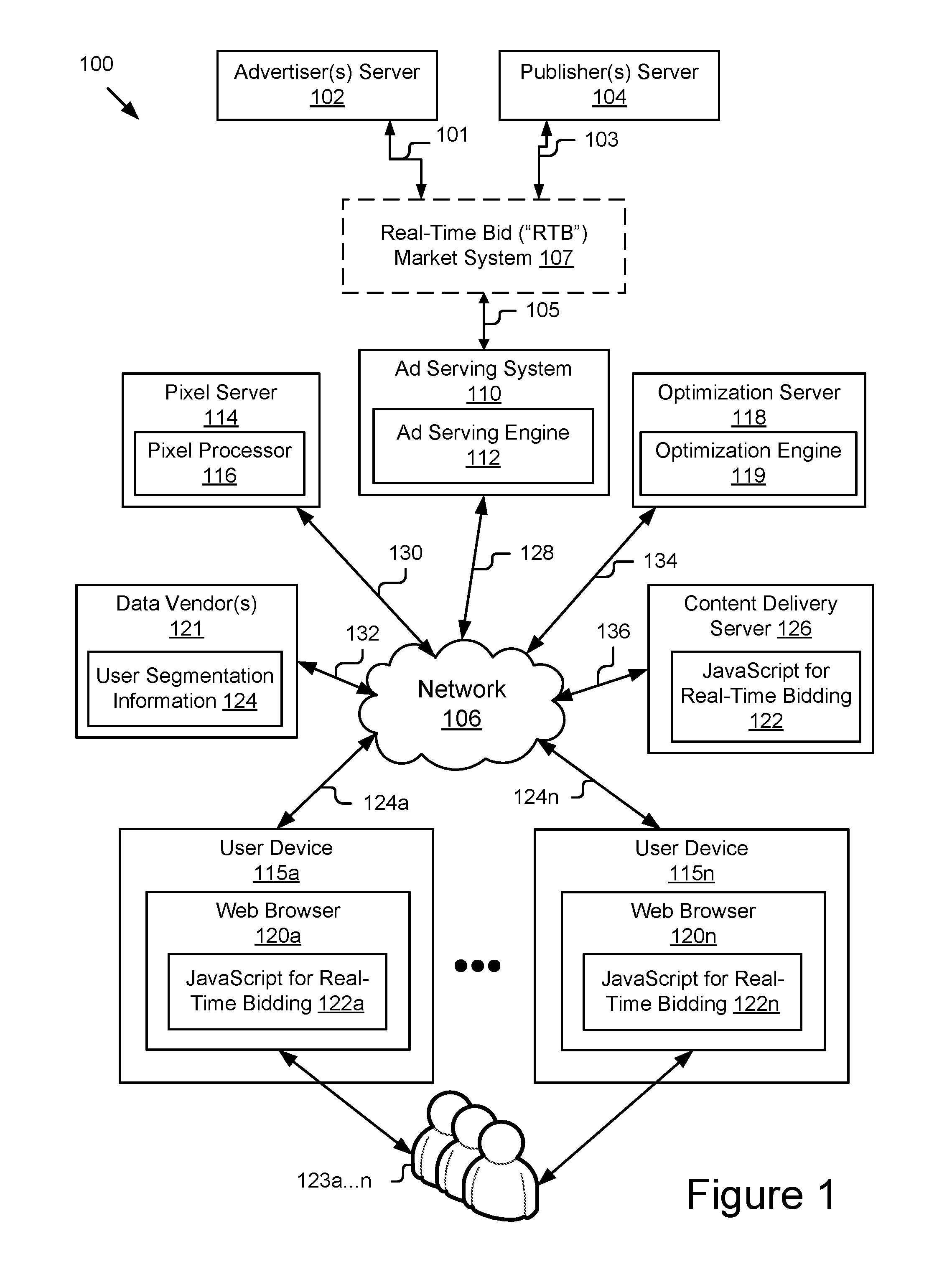
This application is a Continuation of and claims priority under 35 U.S.C. §120 to U.S. application Ser. No. 14/461,265, entitled “System Architecture and Methods for Facilitating Client-Side Real-Time Auctions of Advertising Inventory,” filed on Aug. 15, 2014. This application also claims priority under 35 USC §119(e) to U.S. application Ser. No. 61/866,998, entitled “System Architecture and Methods For Facilitating Client-Side Real-Time Auctions of Advertising Inventory” filed Aug. 16, 2013, and U.S. application Ser. No. 14/461,186, entitled, “Integrated Architecture for Performing Online Advertising Allocations” filed Aug. 15, 2014, the entirety of each of which are herein incorporated by reference. 1. Field of the Invention The present invention relates generally to the field of digital media display advertising. In particular, the present invention relates to system architecture and methods for facilitating client-side real-time auctions of advertising inventory. 2. Description of the Related Art With the popularity and use of the Internet, web browsers and sites providing content have grown dramatically over the past decade. With this growth there has been an equally dramatic growth and migration to online advertising. However, online advertising presents a complex eco-system involving a complicated interplay between several entities, including online publishers (an example of a first-party entity), online advertisers (both, informed and uninformed, other examples of a first-party entity), and users (examples of first-party entities) who typically browse the internet or use mobile applications to view all types of content. An advertisement displayed in the web content or on a mobile application is often in the form of an arbitrary string of HTML called a “creative.” The advertisement is displayed by adding a “creative” to the current web page or application in which the advertisement is to be displayed in the appropriate location. In the simplest case, the creative may contain an image or “Flash” element representing what is ultimately visible to the user on his or her user device as the advertisement. In some instances, the creative may also represent code or the HTML for a third-party advertisement (“ad”) tag. In instances when a “creative” is added to the web page, a notification otherwise referred to as the “impression” is sent back to the advertisement server to confirm that the advertisement has been displayed. It should be recognized that the term “impression” also generally refers to the event in which a user views a slot into which an advertisement can be served, along with any contextual information that could inform the advertisement selection process. In such scenarios, “impressions” are what advertisers are ultimately interested in purchasing from web publishers. Typically, digital advertising supply, or “inventory,” refers to the impressions that website publishers have made available for advertisers to purchase. Impressions are eventually associated with advertisement units, which are the physical spaces on web pages or mobile applications reserved for displaying advertisements. Online or digital advertising typically uses modeling platforms (examples of third-party entities) that use these impressions, impression values (intrinsic, i.e., value to an “advertiser” and value to a “publisher” of content), estimated impression values, and inventory of content. Impression values include intrinsic values, which are values to advertisers and publishers. Estimated impression values include values to publishers and advertisers (both informed and uninformed). Because advertising on the internet has become a very large industry, advertisers are interested in targeting very specific individuals who are most likely to engage with their product. Advertisers are often looking to target specific users who match certain demographics and/or have visited certain web sites or purchased specific items. In order to reach those specific users, advertisers utilize real-time bidders (third-party platforms) and exchanges (third-party platforms), which have access to large amounts of inventory so they can find those specific users. Presently most real-time bidders gain access to publisher inventory indirectly, through these exchanges or through server-side requests (examples of third-party platforms). The ability to make multiple requests to several real-time bidders directly from the client and have them compete with their other non-real-time inventory is beneficial to the publisher as it creates additional competition and accomplishes higher overall pricing for their inventory. As a related consideration, several third-party platforms exist that provide advertisement software as a service and serve as ad servers. Some of these third-party ad server platforms are configured for use by small publishers and others are scaled for use by large publishers. Such third-party ad server platforms provide a myriad features to provide ad-management solutions that help publishers either sell, schedule, deliver, or measure their digital ad inventory, and optimize their revenue. In operations of third-party platforms, a webmaster typically inserts a tag or code into a webpage. In some instances, each time this page is visited, the code calls an advertisement server, which delivers an advertisement from its source of vendors. In some instances, the code may create an IFrame, and then the third-party platform determines which campaign wins and then delivers the creative (one or a group of creatives) to the IFrame. In many instances, inline Javascript tags are used instead. Such platforms enable growing publishers to operate quickly, while providing access to a sophisticated feature set to manage and deliver advertising across a publisher's web, mobile, and video ad inventory. In one example scenario, a publisher may define its advertisement inventory to a third-party ad server. For example, the platform may take a publisher's home page and cut out all of the advertisement space. These empty spaces that are identified define the publisher's advertisement inventory and represent what the publisher can sell to advertisers. Ad servers permit the publisher to sell the ad inventory directly to advertisers, by confirming the number of advertisement impressions or clicks that are available to sell. These third-party platforms also offer inventory forecasting. Using these third-party platforms, publishers can manage their own campaigns and in the event advertisers have specific campaign goals, add in additional delivery and targeting options such as geography, day and time, or custom targeting criteria that is defined by the publishers. For any inventory that is not sold by the publisher, the platform may utilize tools to ensure that the publisher always has an opportunity to earn the most revenue from its content. After uploading “creative” (for example, either one or a group of “creative”), the platform delivers a publisher's ads. The platform may be configured with infrastructure and intelligent ad-delivery engines to help ensure that campaigns deliver on schedule and meet their campaign goals. Once a particular publisher's advertisements start delivering, a particular publisher may monitor their performance with ease. There are other ad server platforms that provide other features including a single interface to track all activities, eliminating the frustrations typically experienced by publishers who have to toggle back and forth between different systems. These platforms can track multiple campaigns for multiple clients across multiple digital marketing channels through a single, powerful gateway. A publisher may obtain real-time statistics on campaign performance, from clicks to conversions, e-commerce sales, and more. Such platforms are configured to partner with other ad platforms and networks. These platforms offer a more reliable infrastructure, a flexible API, custom solutions, and consulting services. Some ad servers interface with one or more ad exchanges that allow publishers seamlessly to manage their inventory, and sell the inventory directly through the associated ad exchange. A publisher, however, cannot know whether the prices bid by advertisers in such an associated ad exchange is the highest and best price available for any given ad impression. If publishers could accurately assess the market value of an impression before sending the impression to an ad exchange associated with their ad server, they could use such information to set a minimum price for bids in the associated ad exchange, thereby ensuring that they receive the highest and best price for each impression. Therefore, a need continues to exist in the art for better systems and methods configured to provide better solutions and increased revenue. The present invention overcomes the deficiencies and limitations of prior systems and methods, at least in part by, providing a system and methods configured to enable or operate a client-side auction with several real-time bidders before the system communicates with an advertisement exchange associated with their ad server. In some implementations, the results of the client-side auction are then communicated to the ad-serving system using key/value pairs and campaign targeting so that the ad-serving system can operate its own auction between the real-time bidders and the non-real time inventory. By soliciting bids from one or more third party sources, publishers can evaluate the market value of a given ad impression before delivering it to an ad exchange associated with their ad server. By using this value as a minimum price that the publisher will accept, bidders in the associated ad exchange will be required to exceed the minimum price in order to win the right to have their ad delivered. This system ensures accurate and competitive pricing and bidding for a publisher's inventory, thereby increasing the publisher's revenue and yield. In some implementations, a publisher may send a request to one or more third parties, including ad exchanges where a real-time auction results in a winning bid, or demand side platforms, ad networks, or other sources of potential demand for ad impressions. In advance, the third-party platforms may have set up campaigns for a range of prices. A publisher may then use the prices such demand sources are willing to pay as a minimum price delivered to another ad exchange. In many implementations, these initial auctions or expressions of price interest may result in a higher price to the publisher as multiple parties bid on the request. This integrated architecture for multiple third-party platforms creates a more competitive market for each request, resulting in increased revenue for publishers. The method according to some embodiments of the present invention comprise: (i) an end-user visiting a web page wherein multiple advertisements are displayed, (ii) for each ad unit on the page, multiple parallel requests are sent from the end-user's browser client to multiple real-time bidders who respond with a bid & advertisement for each unit, (iii) the bids are compared within the end-user's browser and the winning bid is sent to an ad serving system to be compared with other statically priced advertisements and exchange demand to determine the winning advertisements that will be displayed to the end-user and (iv) data is aggregated for each bid and price limits are set based on the aggregations. The present invention is illustrated by way of example, and not by way of limitation in the figures of the accompanying drawings in which like reference numerals are used to refer to the same or similar elements. It is to be understood that the attached drawings are for purposes of illustrating the concepts of the invention and may not be to scale, and are not intended to be limiting in terms of the range of possible shapes and/or proportions. A system architecture and methods configured to enable or operate a client-side auction with several real-time bidders before the system communicates with, for example, places a call to an advertisement exchange. In some implementations, the results of the client-side auction are then communicated to the ad-serving system using key/value pairs and campaign targeting so that the ad-serving system can operate its own auction between the real-time bidders and the non-real time inventory. In some implementations, a publisher may send a request to a third-party market platform, where a first real-time auction results in a winning bid. Before this winning advertisement (“ad”) is served, that price may be sent to one or more other third-party platforms (also configured to perform other real-time auctions, a second, third, and so on). In advance, the third-party platforms may have set up campaigns for a range of prices. In many implementations, these additional auctions may result in a higher price to the publisher as parties within these other third-party platform also bid on the request. This integrated architecture for multiple third-party platforms creates a more competitive market for each request, resulting in increased revenue for publishers. In the following description, for purposes of explanation, numerous specific details are set forth in order to provide a thorough understanding of this technology. It will be apparent, however, that this technology can be practiced without some of these specific details. In other instances, structures and devices are shown in block diagram form in order to avoid obscuring the innovative aspects. For example, the present technology is described in some implementations below with reference to particular hardware and software. Reference in the specification to “one implementation or embodiment” or “an implementation or embodiment” simply means that a particular feature, structure, or characteristic described in connection with the implementation or embodiment is included in at least one implementation or embodiment of the technology described. The appearances of the phrase “in one implementation or embodiment” in various places in the specification are not necessarily all referring to the same implementation or embodiment. Some portions of the detailed descriptions that follow are presented in terms of algorithms and symbolic representations of operations on data bits within a computer memory. These algorithmic descriptions and representations are the means used by those knowledgeable in the data processing arts to most effectively convey the substance of their work to others in the art. An algorithm is here, and generally, conceived to be a self-consistent sequence of steps leading to a desired result. The steps are those requiring physical manipulations of physical quantities. Usually, though not necessarily, these quantities take the form of electrical or magnetic signals capable of being stored, transferred, combined, compared, and otherwise manipulated. It has proven convenient at times, principally for reasons of common usage, to refer to these signals as bits, values, elements, symbols, characters, terms, numbers or the like. It should be borne in mind, however, that all of these and similar terms are to be associated with the appropriate physical quantities and are merely convenient labels applied to these quantities. Unless specifically stated otherwise, as apparent from the following discussion, it is appreciated that throughout the description, discussions utilizing terms such as “processing” or “computing” or “calculating” or “determining” or “displaying” or the like, refer to the action and processes of a computer system, or similar electronic computing device, that manipulates and transforms data represented as physical (electronic) quantities within the computer system's registers and memories into other data similarly represented as physical quantities within the computer system memories or registers or other such information storage, transmission or display devices. The present technology also relates to an apparatus for performing the operations described. This apparatus may be specially constructed for the required purposes, or it may comprise a general-purpose computer selectively activated or reconfigured by a computer program stored in the computer. Such a computer program may be stored in a computer readable storage medium, such as, but is not limited to, any type of disk including floppy disks, optical disks, CD-ROMs, and magnetic disks, read-only memories (ROMs), random access memories (RAMs), EPROMs, EEPROMs, magnetic or optical cards, flash memories including USB keys with non-volatile memory or any type of media suitable for storing electronic instructions, each coupled to a computer system bus. The present technology can take the form of an entirely hardware embodiment, an entirely software embodiment or an implementation containing both hardware and software elements. In some implementations, this technology is implemented in software, which includes but is not limited to, firmware, resident software, microcode, etc. Furthermore, this technology can take the form of a computer program product accessible from a computer-usable or computer-readable medium providing program code for use by or in connection with a computer or any instruction execution system. For the purposes of this description, a computer-usable or computer readable medium can be any apparatus that can contain, store, communicate, propagate, or transport the program for use by or in connection with the instruction execution system, apparatus, or device. A data processing system suitable for storing and/or executing program code will include at least one processor coupled directly or indirectly to memory elements through a system bus. The memory elements can include local memory employed during actual execution of the program code, bulk storage, and cache memories, which provide temporary storage of at least some program code in order to reduce the number of times, code must be retrieved from bulk storage during execution. Input/output or I/O devices (including but not limited to, keyboards, displays, pointing devices, etc.) can be coupled to the system either directly or through intervening I/O controllers. Network adapters may also be coupled to the system to enable the data processing system to become coupled to other data processing systems or remote printers or storage devices through intervening private or public networks. Modems, cable modem, and Ethernet cards are just a few of the currently available types of network adapters. Finally, the algorithms and displays presented here are not inherently related to any particular computer or other apparatus. Various general-purpose systems may be used with programs in accordance with the teachings herein, or it may prove convenient to construct more specialized apparatuses to perform the required method steps. The required structure for a variety of these systems will appear from the description below. In addition, the present invention is not described with reference to any particular programming language. It will be appreciated that a variety of programming languages may be used to implement the teachings of the invention as described herein. Each computer in the system may include one or more input and output (I/O) unit, a memory system, and one or more processing units. The input-output (“I/O”) units of each computer may be connected to various input/output devices, such as a mouse, keyboard, video card (video monitor), sound card (with speakers), network card, and printer. The memory system in a typical general purpose computer system usually includes a computer readable and writeable nonvolatile recording medium, of which a magnetic disk, a flash memory and tape are examples. The memory system operably holds the operating system, utilities, and application programs. It should also be understood the invention is not limited to the particular input devices, output devices, or memory systems used in combination with the computer system or to those described herein. Nor should the invention be limited to any particular computer platform, processor, or high-level programming language. According to some embodiment of the present invention system architecture for conducting client-side auctions are illustrated. For purposes of the description, some definitions are provided here. A “pixel” refers to a 1×1 pixel image file in any standard browser image format (e.g., gif, jpg, png). A “web worker” refers to an HTML five threaded process that runs asynchronously and can pass messages/events back to main page. A key/value pair refers to data expressed as a tuple <attribute name, value>. For example: <david, male>. “Segmentation data” refers to data describing a user's demographics and preferences used for targeting advertisements. For example, considering a user's gender, income leve, etc. “JSON” (Javascript Object Notation) means a lightweight text-based open standard designed for human-readable data interchange. It is derived from the Javascript scripting language for representing simple data structures, called objects. Referring now to The advertiser server 102 may be an online or digital advertiser server or website 102 (representing one or more online or digital advertisers). In the context of the present disclosure, an advertiser is any individual, group of people, company, or any other enterprise, that desires to have advertisements embedded in the content of other publishers. The online or digital advertiser server 102 may be a computing system (with one or more computers or processors, either linked or distributed) that submits bids to the Real-Time Bid (“RTB”) Market Platform 107 (shown in broken lines as in some advertising scenarios this may be omitted or the functionalities may be incorporated in other platforms) to purchase publisher inventory and have advertiser advertisements shown on the publisher's website. The online or digital advertiser server 102 is illustrated as coupled to the RTB market platform 107 via signal line 101 and the online or digital publisher content server 104 is illustrated as coupled to the RTB market platform 107 via signal line 103. In some embodiments, the computing system may comprise one or more processors coupled in a distributed environment or otherwise to execute operational functionalities associated with the Advertiser(s) servers. The online or digital publisher content server 104 may be a computing system that maintains online or digital content that attracts users and contains placeholders for advertisements (from the advertisement inventory) that are submitted to the RTB market system 107, for sale to advertisers. A content publisher that places content on publisher content server 104 may be an individual, a group of people, a company, or any other enterprise that owns or controls content that is made accessible for viewing via the publisher content server 104. A content publisher utilizes the publisher content server to serve content (e.g., web pages) to the user devices 115 The RTB Market System 107 may be a computing system that provides a real-time bidding market that allows advertisers to bid on publisher inventory in real-time. While only a single advertiser server 102, a single publisher content server 104 and a single network 106 are shown in The Advertiser(s) Server 102 is coupled by signal line 101 for communication with the Real-Time Bid Market System 107. Although not explicitly shown in The online Publisher Server or content site 104 is a computing device for hosting a website with any type of content for publishing. The signal line 103 provides information to the RTB Market System 107 about which impressions on the publisher's site are available for the RTB Market System 107. The bi-directional signals line 102 and 103 (from the RTB 107) to the Advertiser(s) Server 102 and Publisher(s) Server 104 represent the flow of data. The RTB Market System 107 is coupled by signal line 105 to an Ad Serving System 110, which is configured to serve the advertisements. The advertisement server 110 may be hardware and software that receives requests for advertisement units, submits, and then fulfills those requests with online content. The advertisement server 110 is coupled to the Network 106 for communication and interaction with the Advertiser Server(s) 102 and/or the Publisher(s) Server 104. In some embodiments, the Ad Serving System 110 is also coupled to interact directly with the user devices 115 The Network 106 may be of a conventional type, wired or wireless, and may have any number of configurations such as a star configuration, token ring configuration or other configurations known to those skilled in the art. Furthermore, the network 106 may comprise a local area network (LAN), a wide area network (WAN) (e.g., the Internet), and/or any other interconnected data path across which multiple devices may communicate. In yet another embodiment, the network 106 may be a peer-to-peer network. The network 106 may also be coupled to or includes portions of a telecommunications network for sending data in a variety of different communication protocols. In yet another embodiment, the network 106 includes Bluetooth communication networks or a cellular communications network for sending and receiving data such as via short messaging service (SMS), multimedia messaging service (MMS), hypertext transfer protocol (HTTP), direct data connection, WAP, email, etc. The Pixel Server 114 with Pixel Processor 116 delivers pixel image files in any standard browser image format (e.g., gif, jpg, png). The pixel processor 116 aggregates this data for reporting and for price threshold analysis. The Optimization Server 118 with Optimization Engine 119 takes this data and determines minimum pricing thresholds and writes this to the JavaScript code that is downloaded by the client at the beginning of the process. Data Vendor(s) 121 may provide User Segmentation Information 124 and Content Delivery Server 126 provides the JavaScript for Real-Time Bidding. The client (alternatively referred to as a consumer, user, or viewer) device, referenced in the drawings as User Device 115 As illustrated in In one example, an end-user (e.g., client) may visit a website located at a specific URL using an internet browser 120 In some implementations a pixel may be written to the web page that calls the Pixel Server 114. Appended to the pixel is information pertaining to the number of requests the user made to reach the bid and more detailed information about the user as determined by the Data Vendor(s) 121. The Pixel Processor 116 aggregates this data for reporting and for price threshold analysis. In some implementations, the Optimization Engine 119 takes this data and determines minimum pricing thresholds and writes this to the JavaScript code 122 Referring now to The user device 115 The Processor 202 processes data signals and program instructions received from the Memory 204. The processor 202 may comprise various computing architectures including a complex instruction set computer (CISC) architecture, a reduced instruction set computer (RISC) architecture, or an architecture implementing a combination of instruction sets. The memory 204 is non-transitory storage medium. The memory 204 stores the instructions and/or data which may be executed by the processor 202. In some embodiments, the instructions and/or data stored on the memory 204 comprises code for performing any and/or all of the techniques described herein. The memory 204 may be a dynamic random access memory (DRAM) device, a static random access memory (SRAM) device, flash memory or some other memory device known in the art. The memory 204 includes the web browser 120 The network I/F module 208 facilitates the communication between the user device 115 The display device 210 displays the content or web pages that a particular user is viewing and the input device 212 serves as the input to the display device 210. According to an embodiment of the present invention and referring to Referring now to Referring now to The memory 304 is non-transitory storage medium. The memory 304 stores the instructions and/or data which may be executed by the processor 302. In some embodiments, the instructions and/or data stored on the memory 304 comprises code for performing any and/or all of the techniques described herein. The memory 304 may be a dynamic random access memory (DRAM) device, a static random access memory (SRAM) device, flash memory or some other memory device known in the art. The memory 304 includes the Ad Serving Engine 312 for implementing the enhanced features. The network I/F module 308 facilitates the communications between all the components over the bus 206. The data storage 310 stores the data and program instructions that may be executed by the processor 302. In some embodiments, the data storage 310 includes a variety of non-volatile memory permanent storage device and media such as a hard disk drive, a floppy disk drive, a CD-ROM device, a DVD-ROM device, a DVD-RAM device, a DVD-RW device, a flash memory device, or some other non-volatile storage device known in the art. Referring now to The Fixed Priced Inventory Determination Module 322 determines a fixed price. In some implementations, the Fixed Priced Inventory Determination Module 322 may be software including routines for determining fixed pricing. In some implementations, the Fixed Priced Inventory Determination Module 322 may be a set of instructions executable by the processor 302 ( The Winning Bid Analyzer 324 analyzes the winning bid. In some implementations, the Winning Bid Analyzer 324 may be software including routines for analyzing the winning bid. In some implementations, the Winning Bid Analyzer 324 may be a set of instructions executable by the processor 302 ( The Real-time Advertisement Serving Module 326 serves the winning advertisement in real time. In some implementations, the Real-time Advertisement Serving Module 326 may be software including routines for serving the advertisement in real time. In some implementations, the Real-time Advertisement Serving Module 326 may be a set of instructions executable by the processor 302 ( The Notification Module 328 provides notifications. In some implementations, the Notification Module 328 may be software including routines handling ad requests. In some implementations, the Notification Module 328 may be a set of instructions executable by the processor 302 ( According to an embodiment of the present invention and referring to According to an embodiment of the present invention, for each user request the system checks the cookie to determine if current segmentation data provided by data providers is available. If no current segmentation data is available, the system can request this data from the applicable data vendors by rendering a javascript tag in the web page. The winning bid is retrieved from the parallel client-side auction. The system writes a pixel to the page that describes information about the winning bid and segmentation data provided by the data vendors. The data is aggregated and pricing thresholds are determined for each segment for future real-time bidder requests. The pricing thresholds are updated in a javascript file for each site and are downloaded by the client before requests are made. In operation, this system architecture facilitates multiple requests to multiple bidders. In order to make multiple requests to multiple bidders, embodiments of the present invention utilize web workers 214 ( http://www.rtb1.com/rtb?id=12345&size=300×250&flash=1&cookies=1&callback=300×250_1&referrer=refferrer
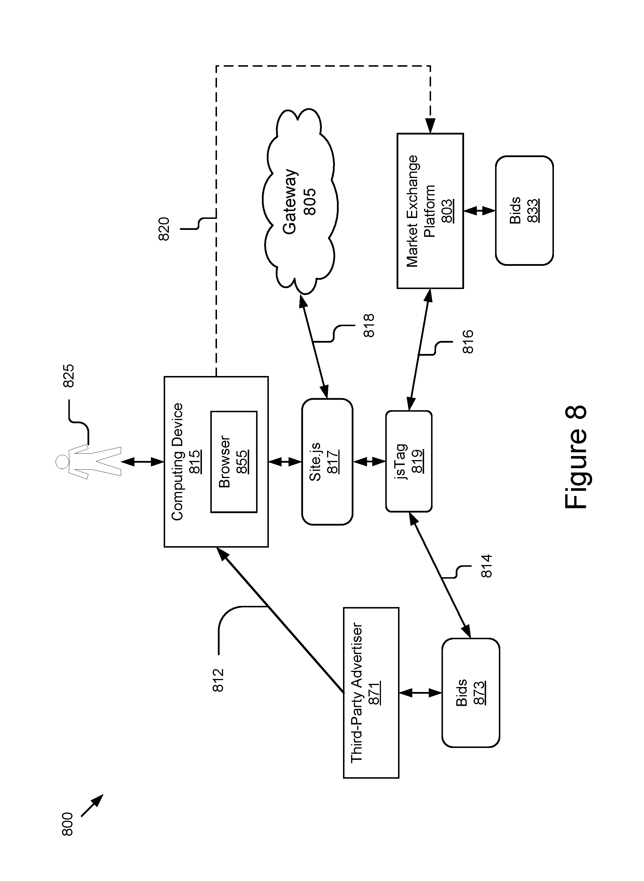
In some implementations, a new web worker or iframe may be created for each RTB URL. The web worker 214 asynchronously retrieves the bid and advertisement from the bidder and returns it to the main thread. In the event the browser does not support the web workers 214, the system is configured to use iframes to make each individual call. This is accomplished by programmatically creating an iframe for each RTB call and writing a script tag to the iframe. The information is retrieved by calling a javascript function in the main page from the iframe. In some implementations during the period in which bid requests are being made to bidders, the system makes requests to data providers (e.g., Data Vendor(s) 121) to return detailed segmentation data on the user (e.g. User Segmentation Information 124). This information is stored in a cookie so that in future requests for this user there is no need to make an additional call to the data provider. In some implementations, the main thread waits until it has received a response from each worker or iframe. After the main thread has either received a response or reached the max time, it determines the maximum bid response received. The maximum bid response value is measured against the value for the data segment and a decision is made whether to pass the bid to the adserver or not. The data segmentation information is retrieved and updated in JSON format. The system determines segment pricing using an algorithm that looks at mean prices by user segment. If the bid received is a set percentage below the average bids received for the user's segmentation than the bid is rejected. The data is gathered by writing a pixel along with the winning ad with bid & segment information. In some implementations, a set of campaigns are created in the Ad Server(s) 102 for each bidder associated to the key/value pairs. The system creates one or more keys for the maximum number of advertisements of a specific size for placement on a single page of the web site. By way of example, if a site has a maximum of five ads on one page then the system generates five unique keys. In some instances, only one key may be required. The system then traffics/creates campaigns in the Ad Server(s) 102 for each bidder and assigns them to each key. In the above example, the Ad Server(s) 102 key would be KEY1 and the value would be rtb113size_order_bid where rtb1 is the name of the real-time bidder, size is the size of the ad slot, and order is the numerical position of the ad on the page and bid represents the nominal value of the rtb1's returned bid. The numerical position is necessary because a page might contain more than one ad of the same size. In some implementations, for each campaign set-up in the system, the system traffics a “creative” (or a group of “creative”) that calls the associated URL stored in the web page. In the above example, the system sets the returned URL from the bid request in the web page as ad[rtb1_size_order]. In the associated “creative” (or group of “creative”) the system renders this to the page using javascript that renders the stored variable in the page. The system also appends another script to the “creative” (or a group of “creative”) that renders a pixel in the browser and makes a request to the system's servers. The winning bid and any information from data providers are sent as a pixel request to the system's server. The system utilizes this information to make intelligent decisions regarding the value of different user segments and for reporting purposes. The value of each user segment is the calculated mean of all the requests made to the server. The system then calculates a standard deviation of the requests and this value is used to determine the threshold minimum value for specific user requests. The present invention is described above with reference to exemplary embodiments. It will be apparent to those skilled in the art that various modifications may be made and other embodiments can be used without departing from the broader scope of the present invention. Therefore, these and other variations upon the exemplary embodiments are intended to be covered by the present invention. Referring now to Referring now to Referring now to Referring now to If the answer at block 613 is negative, the process 600 proceeds to the next block 614 including one or more operations for determining real-time advertisements for advertisement units. The process 600 continues to the next block 616 including one or more operations for sending real-time advertisements for rendering to bidders associated with the winning bid. From there, the process proceeds to the end. Referring now to Referring now to In some implementations, these large platforms may be configured with all non-guaranteed campaigns set to compete based on a price threshold. Publishers may use page implementation operations that include replacing tags or code placed by conventional third-party ad serving platforms on their webpages (on Site.js 817), with new tags or code 819, for example, referred to as a “LiftTag.” This permits any particular third-party platform utilizing the present technology to interrupt the ad request before sending it to other third-party ad serving platforms. For page implementation, publishers may replace their conventional page tags with a “LiftTag.” This is to divert a particular “ad request” before sending it to a conventional platform. The present technology uses key value targeting to pass the “Market bid” price from a particular third-party platform into another third-party platform. An appropriate number of key values should be used to target to make sure that all the information is properly forwarded. In some implementations, eight out of twenty may be used. In some instances, in the event publishers are migrated from conventional platforms, they have customized multi-part zones that may require customization in order to work properly. In addition, multi-size ad requests require special assessment. In operation, at the user interface, a user 825 may land on a particular web page, at which point an Ad request is sent to a particular first third-party platform (e.g., Third-Party Advertiser 871). A winning bid is sent back to user's browser 855. A winning bid price is triggered in another second third-party platform (another Third-Party Advertiser 871) by calling a campaign with a key value. The second third-party platform runs selection and its house auction. If the first third-party platform wins, it renders the advertisement and fires the impression beacon. For system operation, the publisher may retag their page and include the javascript files in their page header. The publisher may provide this system architecture (e.g. the first platform) API access to another third-party platform. The first platform runs a setup script that mirrors their inventory setup in the each of the real-time bidders' platforms. The technology in the first platform runs another script that creates an order in the second platform with campaigns for each price bucket. The technology (first platform) creates a configuration file that is stored on an internet traffic reporting website with inventory mapping for that site. When this technology serves an advertisement, it is difficult to measure when a particular third-party platform wins, and another one loses. The third-party platforms are not configured to send an impression beacon in such instances, and when a particular platform attempts to fire a late impression beacon on the client-side, some percentage is lost. In such instances, the lost-to-another platform rate is indicated as “unbillable”. The foregoing description of the embodiments of the present invention has been presented for the purposes of illustration and description. It is not intended to be exhaustive or to limit the present invention to the precise form disclosed. Many modifications and variations are possible in light of the above teaching. It is intended that the scope of the present invention be limited not by this detailed description, but rather by the claims of this application. As will be understood by those familiar with the art, the present invention may be embodied in other specific forms without departing from the spirit or essential characteristics thereof. Likewise, the particular naming and division of the modules, routines, features, attributes, methodologies and other aspects are not mandatory or significant, and the mechanisms that implement the present invention or its features may have different names, divisions and/or formats. Furthermore, as will be apparent to one of ordinary skill in the relevant art, the modules, routines, features, attributes, methodologies and other aspects of the present invention can be implemented as software, hardware, firmware or any combination of the three. Also, wherever a component, an example of which is a module, of the present invention is implemented as software, the component can be implemented as a standalone program, as part of a larger program, as a plurality of separate programs, as a statically or dynamically linked library, as a kernel loadable module, as a device driver, and/or in every and any other way known now or in the future to those of ordinary skill in the art of computer programming. Additionally, the present invention is in no way limited to implementation in any specific programming language, or for any specific operating system or environment.CROSS REFERENCE TO RELATED APPLICATIONS
BACKGROUND
SUMMARY
BRIEF DESCRIPTION OF THE DRAWINGS
DETAILED DESCRIPTION
System Overview
Example URLs:
http://www.rtb2.com/rtb?id=23456&size=300×250&flash=1&cookies=1&callback=300×250_1&referrer=refferrer
Methods and Algorithms for Conducting Client-Side Bidding