заявка
№ US 20170100752
МПК B08B3/00

Conveying and Cleaning Systems and Methods for Cleaning and Stacking Trays and/or Layer Pads

Авторы:
Howard Eisenberg Darius Scott EISENBERG HOWARD
Все (6)
Номер заявки
14879589
Дата подачи заявки
09.10.2015
Опубликовано
13.04.2017
Страна
US
Дата приоритета
14.12.2025
Номер приоритета
Страна приоритета
Как управлять
интеллектуальной собственностью
Реферат

The invention comprises a steam cleaning system that can rapidly handle multiple objects in an efficient and useful way. For example, objects used for shipping or moving food products in the food manufacturing or food services industries must either be new, clean and used once and then discarded, or re-used and thus cleaned to ensure no contamination is present. Layer pad objects or other separating surfaces are often used in these industries and often when these objects are used in stacking and pelletizing large shipments of food products, where the payer pad or other separating or container objects or surfaces help contain or maintain the integrity of the food products during shipment. In an important aspect of the invention, a plastic layer pad cleaning system is described. In other aspects, other surfaces, containers, or other separating objects used in shipping or distribution or food products are efficiently cleaned using a steam cleaning and conveying system. The system can comprise a steam generator, one or more steam cleaning units where optionally an individual object or layer pad is cleaned one at a time, one or more drying units, and specialized conveying and holding units for moving objects through a cleaning apparatus, and then subsequently drying and handling or storing the objects for future use.

Формула изобретения

1. A system for conveying, inspecting, and steam cleaning plastic layer pads comprising:

one or more conveying and vertical handling devices for moving a single layer pad from a supply stack to a steam cleaning station, the one or more conveying and handling devices capable of orienting the single layer pad into a vertical or horizontal/parallel position where the flat surfaces of the layer pad are perpendicular to the ground;

a steam cleaning station connected to a steam generator for providing steam of at least 160 degrees F. on the surface of the layer pad, the steam cleaning station containing one or more steam treating units oriented toward each vertical side of the layer pad, where steam is directed toward the layer pad from multiple sources of the steam treating unit, and wherein the one or more steam treating units substantially seal a section of the layer pad surface within the steam region defined by the unit, whereby the steam can contact and treat said section of the layer pad surface for a desired amount of time to bring said section of the layer pad surface into a desired sterilized condition;

an optional drying station for removing excess moisture on the pads after the cleaning process through the operation of one or more air knives as well as multiple consecutive wiper sections, whereby the combined effect of wiping and blowing air on the pads sequentially dry the layer pads until all moisture is removed for stacking purposes;

an inspection station comprising at least one visual detection device for inspecting each of the surfaces of the layer pad and a system for evaluating the surfaces of the layer pad and tracking the movement of the layer pad associated with both surfaces; and

a sorting station for sorting individual layer pads after they have passed through the steam cleaning station and the inspection station, the sorting station capable of responding to the tracking the movement of the layer pad from the inspection station in order to direct each layer pad into one or multiple sort stacks.

2. The system according to claim 1, wherein the steam cleaning station contains at least one set of rollers on each side of the steam treating unit, the rollers substantially sealing the section of the layer pad surface during the steam treatment.

3. The system according to claim 2, wherein the set of rollers are made of silicone or a silicone composite.

4. The system according to claim 2, wherein flat guide surfaces are used on one or more sides of each set of rollers and wire guides between each set of rollers to maintain the surface of the layer pad in a substantially flattened state while the layer pad progresses through the steam cleaning station.

5. The system according to claim 2, wherein excess steam and debris are removed through sealed vacuum chambers through a multitude of steam and debris removal ports on both steam and vacuum chambers by an externally located vacuum exhauster system

6. The system according to claim 2, wherein excess condensate moisture travels through the wash unit in a multitude of weep holes and directed to moisture collection pans that collect and port moisture to a drain.

7. The system according to claim 2, wherein maintenance on the wash unit is easily conducted through flexible piping and quick disconnect mechanisms.

8. The system according to claim 1, wherein the one or more conveying and handling devices capable of orienting the single layer pad into a vertical position comprises a twisted belt or series of compliant rollers driven by motorized drive rollers and idlers that direct a horizontal layer pad into a vertical position as the belt rotates between two perpendicularly arranged sets of belt rollers at each end of a handling device.

9. The system according to claim 5, wherein at least one set of support rollers tension the belt at a point between the sets of belt rollers at each end of the handling device.

10. The system of claim 1, further comprising a conveying and handling device after the inspection station for orienting the single layer pad into a horizontal position where a narrow edge or the layer pad is parallel to the ground.

11. The system according to claim 7, wherein the horizontal layer pads are subsequently sorted by the sorting station.

12. The system according to claim 8, wherein the sorted layer pads are stacked in a consistent manner through the use of pneumatic pistons and product guides.

13. The system according to claim 1, wherein the vertical handling device is capable of controlling position of the bottom edge of the layer pad whereby both the bottom edge and top edge of the layer pad can move through the steam cleaning station and the surface from the top edge and to the bottom edge is treated with steam.

14. The system according to claim 1, wherein the inspection station contains one or more cameras on each side of the layer pad, and each camera is capable of detecting holes in the layer pad or differences associated with microbial contamination.

15. The system according to claim 1, wherein the steam cleaning station is designed so that regions of each side of the flat surfaces of the layer pad are brought to 160 degrees F. at some point during the time the layer pad traverses the steam cleaning station, whereby the entire surface of each side of the layer pad is treated to 160 degrees F.

16. The system of claim 1 that comprises one or more drying stations after the steam cleaning station.

Описание

FIELD OF THE INVENTION

Field of the Invention and Introduction

[0001]

The present invention relates to a system for cleaning layer pads or other barriers or containers that can be used in stacking products that are typically shipped or stored in a standard container setting. Commonly used plastic and corrugated layer pads are an example of widely used separating pads for this purpose, especially with palletized products and packages. In particular, the invention relates to a system employing high temperature steam to clean layer pads in an automated and efficient manner, or alternatively to steam clean containers typically used in the food manufacturing or food services industries. The system can optionally stack the cleaned pads or containers for storage. Even more particularly, the present invention relates to devices and methods for conveying layer pads and containers through a conveying device for quality control checks as well as cleaning them so that they can be re-used without fear of contamination.

[0002]

Layer pads are used in a number of industries for stacking products efficiently and safely on pallets. What is needed, therefore, is a system and method for cleaning these layer pads so that they can be re-used. However, the reused layer pads, especially if used for the food service industry, should be clean and free of contamination.

BRIEF SUMMARY OF THE INVENTION

[0003]

The present invention meets these and other objectives by providing devices and methods for cleaning and inspecting layer pads or alternatively containers at a high rate and with high efficiency. One advantage of the present invention is that it facilitates the handling of layer pads and allows for the reuse of layer pads with a higher degree of cleanliness, a lower defect or waste rate, and greater confidence in industries where contamination or cleanliness are important.

[0004]

Another advantage of the present invention is that it minimizes the risk of damaging food or other products designed to be stored or shipped in a palletized manner.

[0005]

A further advantage of the instant invention is that it facilitates removal of noncompliant containers or layer pads while simultaneously cleaning them for further use.

[0006]

In one aspect, the invention encompasses a system for conveying, inspecting, and steam cleaning plastic layer pads, where the system contains several handling or treating stations in sequence. Generally, the sequence is important but alternative sequencing of the stations is possible beyond those exemplified here. The system comprises one or more conveying and vertical handling devices for moving a single layer pad from a supply stack toward a steam cleaning station, where the one or more conveying and handling devices are capable of orienting the single layer pad into a vertical or horizontal/parallel position. For example, the flat surfaces of the layer pad can preferably be perpendicular to the ground. The steam cleaning station is connected to a steam generator for providing steam of at least 160 degrees F. to produce temperatures on the surfaces of the layer pad of 160 degrees F. for a desired period of time. The steam cleaning station can containing one or more than one steam treating units oriented toward each vertical side of the layer pad, where steam is directed toward the layer pad from multiple sources of the steam treating unit, and wherein the one or more steam treating units substantially seal a section of the layer pad surface within the steam region defined by the unit. Thus, the steam can contact and treat a section of the layer pad surface for a desired amount of time to bring that section of the layer pad surface into a desired temperature or sterilized condition. An optional drying station is positioned after the steam cleaning station and the drying station removes excess moisture on the pads after the cleaning process through, for example, the operation of one or more air knives and/or with multiple consecutive wiper sections. The combined effect of wiping and blowing air on the pads sequentially dry the layer pads until all moisture is removed before stacking. An inspection station comprising at least one visual detection device for inspecting each of the surfaces of the layer pad also is positioned after the steam cleaning station. This can include a system for evaluating the surfaces of the layer pad and tracking the movement of the layer pad associated with both surfaces. A sorting station for sorting individual layer pads is positioned after the steam cleaning station and the inspection station, and the sorting station capable of responding to the tracking the movement of the layer pad from the inspection station in order to direct each layer pad into one or multiple sort stacks. Thus, for example, adequately cleaned layer pads can be sorted to a “pass” stack where inadequately cleaned layer pads can be sorted to a “reject” stack.

[0007]

In another alternative aspect, the steam cleaning apparatus is used to deliver a single container for cleaning at a time, where the handling of the container does not prevent the cleaning of all the internal services. For example, a flexible device for securing or maintaining the container in a position for cleaning is used so that steam and/or cleaning conditions can contact all parts of the container. In addition, multiple contact points for holding the container can be used to ensure that all surfaces of the container are effectively exposed to cleaning conditions or exposed to the desired steam and temperature conditions for disinfection, as noted with the temperatures above. The foregoing and other aspects, features, details, utilities, and advantages of the invention will be apparent top one of skill in the art from the following description and claims, and from a review of the accompanying drawings.

BRIEF DESCRIPTION OF THE DRAWINGS

[0008]

FIG. 1 depicts an exemplary configuration of sections or stations in a layer pad or flats handling and cleaning device, where layer pads or flats are directed from the end with the arrow to the other end. The sections include, beginning from the side with an arrow: receiving/unitizing station; horizontal to vertical flipper station; vertical conveying station or VFC; washing or super-steam cleaning station with associated boiler and superheater; drying station; inspection station; vertical conveying station; vertical to horizontal flopping station; sorter/stacker station.

[0009]

FIG. 2 depicts the receiving, holding and unitizing device. Flat products or layer pads are received, stored, and then separated into a single layer pad or flat unit and sent on to the next handling device.

[0010]

FIGS. 3, 4A, and 4B depict close up views of the device of FIG. 2, where an exemplary apparatus sends one unit of flats or layer pads on to the next device by a system of controlled rollers. The pressure applied from the roller, a clutch system for controlling the speed of the rollers, and the lift of the stack of pads or flats from a scissor lift or any other lift mechanism (ball screw, actuactor, etc.) coordinate to send a single unit at a time.

[0011]

FIGS. 5, 6A, 6B, and 6C depict an exemplary horizontal to vertical flipping device guided by belts in this case.

[0012]

FIGS. 7 and 8 show photographs of the belt systems depicted in the example of FIGS. 5, 6A, 6B, and 6C.

[0013]

FIG. 9 illustrates a vertical conveying section.

[0014]

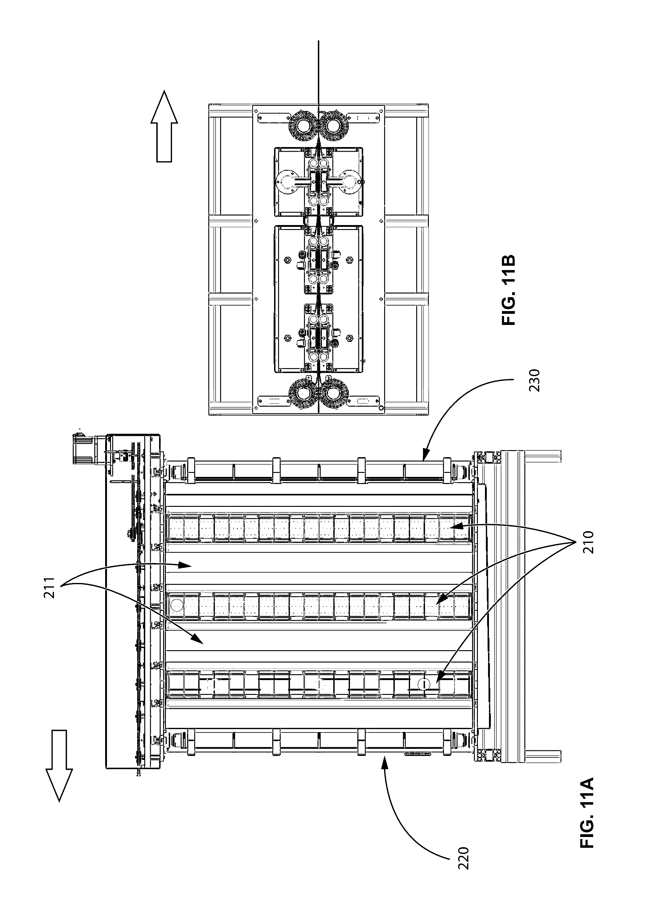
FIGS. 10A, 10B, 11A, 11B, 12A, 12B, 12C, 12D depicts various views of the washing section or superheated steam cleaning section.

[0015]

A drying station is optionally inserted into the conveyor line after the cleaning section.

[0016]

FIGS. 13 and 14 depict an inspection station in different views.

[0017]

FIG. 15 depicts a vertical conveying section.

[0018]

FIGS. 16, 17, 18A, and 18B depict the final sorting/stacking station, where layer pads or flats are sorted into two or more groups. In one example, the layer pads are sorted into “pass” (or “acceptable”) and “reject” groups based upon input from inspection station of FIGS. 13 and 14.

DETAILED DESCRIPTION OF THE INVENTION

[0019]

The present invention provides devices and methods for handling layer pads or flats typically used between layers of stacked goods or packages. In particular, the invention includes cleaning and inspection stations in a system of cleaning and conveying flats or layer pads. As many crated items in the food and food services industry employ flats or layer pad elements to stack one layer of packaged good on top of another, the use of cleaned layering pads becomes more and more important. Any contamination of articles used in shipping and storing food service products can result in delays and expenses.

[0020]

In one aspect, the system and methods of the invention employ steam to clean layer pads, which advantageously provides both a sanitizing effect as well as a cleaning effect simultaneously and on the same conveyor system. In preferred embodiments, the invention can be developed for use on plastic sheets or layer pads, which tend to repel moisture. In additional embodiments of the invention, the conveyor system can include static electricity brushes to remove unwanted static from plastic layer pads. Coated flats or layer pads can also be similarly cleaned through the system and methods of the invention.

[0021]

In another aspect, the use of vertical directional conveyance in the invention promotes the removal of dirt, debris, and residual moisture from the pads of flats as they move through the system. In addition, the invention can advantageously use multiple rollers in different directions to ensure that a single layer pad or flat moves into the system at a time. This system has advantages over suction systems for lifting or moving a single pad or flat, as the friction-based movement from rollers here can detect and prevent all but a single layer pad or flat from moving at various points of contact. In addition, the invention as described can operate up to 1800 layer pads per minute, while other systems that contain different combinations of elements can only operate at approximately 600 layer pads per minute.

[0022]

This system (100) generally begins with an operator preparing a stack of flats to be cleaned and sorted. Any bands, wraps or other extraneous components from a pallet of flats, such as pallets of plastic layer pads, are manually removed. Also, any layer pads that overhang the stack by more than a desired tolerance limit are manually removed. More than one stack of flats can be used to enter the cleaning system of the invention. In general, a stack height of less than 18 inches is optimal for dual stack induction, or a stack height of less than 40 inches for single stack induction. Dual stacks can be stored one on top of the other if desired.

[0023]

The receiving and loading station (700) singulates and inducts a single layer pad from a stack of layer pads (110) into the system at a time. FIGS. 2-4 show details. A scissor lift in combination with suction cups distributed across the layer pad (730) tensions the pressure of the top layer pad (110) against top roller (740) that moves the layer pad in the direction of the arrow shown in FIG. 2. In FIG. 3 a set of rollers are shown. The first roller (751) is controlled by the system when suction cups lift the layer pad to apply desired pressure to advance a single layer pad (110) of a known thickness. Rollers (753), suction cups, and (752) operate as drive and clutch rollers so that a single payer pad is sent through the area between them at a time. FIG. 4B shows a close up of area (760) of FIG. 4A. Controlling unit (754) includes a piston for controlling the applied downward pressure of the suction cups (751).

[0024]

Each single layer pad (110) is flipped from its initial horizontal orientation in the stack, horizontal with respect to the flat surfaces of the layer pad, to the vertical position by flipper station (400). FIGS. 5-8 depict an embodiment of a flipper station. Sets of belt rollers (420) and (430) at each end of the station are oriented 90 degrees different from one another. This creates a 90 degree twist in belt (410) as it moves from one end to the other. Each of the two rollers shown in (420) and (430) contain a belt (410), so that two belts span the two ends of the flipping station as shown in FIG. 5. Belt tensioners (440) are used to maintain tension of the belt through the station and keep the layer pad from slipping out of orientation. Justifiers and guide rails are used as guides to ensure that the bottom edge of the layer pad stays within desired parameters and that the layer pad leaves the station properly positioned. FIG. 6B shows the two sets of belts (410) as they twist from one end to the other. Belt tensioners (440) (441) and (442) are positioned where desired. The black layer pad (112) is shown in the process of being flipped to vertical while layer pad (111) is now in vertical position ready to exit the station at rollers (430). FIGS. 6A and 6C shows alternative views of the two layer pads while progressing through the station. FIGS. 7 and 8 show photographs of a flipper station without the layer pads in them. All of the belts, belt rollers, tensioners mentioned above are shown. FIG. 9 shows a vertical conveying station, or Vertical Flats Conveyor VFC, where the layer pads brought into vertical orientation are moved between rollers (610) and (620). Between modules, justifiers and guide rails are used to transition product without jams.

[0025]

FIGS. 10-12 show various parts and views of the steam cleaning station. As shown in FIG. 1, steam generator (250) provides instantaneous steam from a high power boiler and superheater. Because of the speed at which flats or layer pads move through the system, steam generation must by consistent and continuous once the system is in operation. In operation, the steam cleaning station is designed to steam clean simultaneously all the surfaces of both sides of the layer pad. FIG. 11A shows in detail one embodiment of a steam cleaning station. Sets of steam treating units (210), where the rollers are made of silicone or a similar polymer or silicone combination rollers, use tensioned rollers to create one or more sealed, steam-treating regions between them and the layer pad. Sealing surfaces on the rear surface of the rollers provide a sealed compartment for steam and vacuum sections. The length of the units (210) covers the length of the flat surface of the layer pad or flat being sterilized or cleaned. Between each set of rollers in the units (210) are steam outlets spaced from top to bottom and side to side. To ensure that the layer pad remains flat during its progress through the station, the areas between the units (210) contain flat plates (211). Plastic layer pads have a tendency to curl when heated and the combination of rollers on units (210) and wire guides and flat plates (211) and their placement keep the layer pad flat. Additional rollers (220) and (230) provide tension at the ends of the station. Multiple steam treating devices as shown in FIG. 11A can be used in sequence to ensure proper cleaning. FIG. 12 depicts additional aspects. In FIG. 12A, chains (213) apply pressure on each side of the unit while chain (212) applies pressure of one side of the unit against the other. In combination, the rollers as discussed above for units (210) can create one or more sealed regions for steam treatment or sterilization. Vacuum manifolds port excess moisture and debris out of the wash unit through suction slots and holes, thereby sealing the cavity through rollers and sealing covers. The steam exhausts out of vacuum manifolds as well as the steam section covers through rigid or flexible tubing. Excess moisture will condense within the steam system and is ported to a drain through weep holes and drains.

[0026]

An exemplary drying station can be included after the washing section. This station uses various drying devices including wipers and air knives to dry the layer pads as they traverse through the system. In preferred embodiments, the layer pads move close to air knives for drying and are maintained through mesh guiding to keep from straying due to the intense air pressure. The locations, air pressure, and angles of air knives all contribute to effective drying.

[0027]

FIG. 13 depicts an exemplary Inspection Station (300). This station uses a camera and light on each side of the layer pad to inspect for quality defects and undesirable conditions, such as evidence of microbial contamination. In FIG. 13, the plane of light and camera surveillance (311) is shown directed to layer pad (110) progressing through the station. Encoder tracking and photoeye triggers allow for inspection control. Layer pad tracking is additionally accomplished through barcode scanners. Information on the presence or absence of debris, defects, or other indication of contamination is stored so that the layer pad is tagged “reject” as it moves along the system, and data on stacks of layer pads analyzed later by computer (350) storing the data. FIG. 14 shows a top view of the inspection station. [there are a few elements that were labeled in the first version of these FIGS. 13 and 14 sent from USS that we need to explore, if relevant]Additional capability of the vision system includes both reading and writing barcodes on layer pad as they traverse through the Inspection Station.

[0028]

FIG. 15 depicts a second VFC and layer pad (110) moving through it. In FIG. 1, the second VFC is shown as (600). Also in FIG. 1 is the flopping station (500), which is the flipping station (400) oriented 90 degrees different in order to flip the layer pad from vertical back to horizontal. Each VFC allows for quick entry and exit ports to add layer pads for testing and clear pads in the case of jams or unwanted conditions.

[0029]

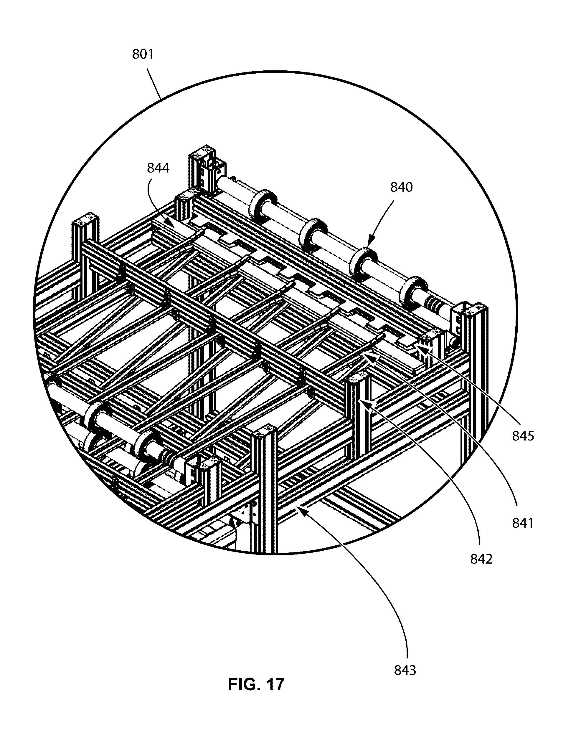
FIGS. 16-18 depict the Sorter/Stacker (800) of FIG. 1. From the data derived from the inspection station, each layer pad is assigned a “reject” or “acceptable” label or tag in the system. Other additional labels can be determined if desired, so that more than just two stacks could be created. The Sorter/Stacker station uses a pivot arm driven by piston (849) to sort between the two sets (“reject” and “acceptable”) of layer pads and direct them to the appropriate stack. In FIG. 18B, either level (847) or (846) as shown can be used to direct layer pads to the “reject” stack or the “acceptable” stack. The reject and acceptable stacks align through pneumatic pistons and product guides.

[0030]

The system will hold the production line when any of the controls for the placement of the layer pad in the system signals a stop or if the steam temperature falls below a minimum or an inspection result failure. Additionally, the system will stop once an “acceptable” or “reject” pallet reaches a certain height. A plurality of photoeye sensors included throughout the system will track pads for location and faults.

[0031]

All directional references (e.g., upper, lower, upward, downward, left, right, leftward, rightward, top, bottom, above, below, vertical, horizontal, clockwise, and counterclockwise) are only used for identification purposes to aid the reader's understanding of the present invention, and do not create limitations, particularly as to the position, orientation, or use of the invention. Joinder references (e.g., attached, coupled, connected, and the like) are to be construed broadly and may include intermediate parts between a connection of elements and relative movement between elements. As such, joinder references do not necessarily infer that two elements are directly connected and in fixed relation to each other.

[0032]

All matter contained in the above description or shown in the accompanying drawings shall be interpreted as illustrative only and not limiting. Changes in detail or structure may be made without departing from the spirit of the invention as defined in the appended claims.

Как компенсировать расходы
на инновационную разработку
Похожие патенты