A semiconductor wafer contains a plurality of semiconductor die separated by a saw street. An insulating layer is formed over the semiconductor wafer. A protective layer is formed over the insulating layer including an edge of the semiconductor die along the saw street. The protective layer covers an entire surface of the semiconductor wafer. Alternatively, an opening is formed in the protective layer over the saw street. The insulating layer has a non-planar surface and the protective layer has a planar surface. The semiconductor wafer is singulated through the protective layer and saw street to separate the semiconductor die while protecting the edge of the semiconductor die. Leading with the protective layer, the semiconductor die is mounted to a carrier. An encapsulant is deposited over the semiconductor die and carrier. The carrier and protective layer are removed. A build-up interconnect structure is formed over the semiconductor die and encapsulant.
1. A method of making a semiconductor device, comprising:
providing a semiconductor die; forming a protective layer over the semiconductor die; depositing an encapsulant over the semiconductor die; forming a first cavity in the encapsulant; removing the protective layer; and forming an interconnect structure over the semiconductor die including a first insulating layer of the interconnect structure extending into the first cavity. 2. The method of 3. The method of forming a second insulating layer over the semiconductor die including a non-planar surface of the second insulating layer opposite the semiconductor die; and forming the protective layer over the second insulating layer. 4. The method of 5. The method of 6. The method of 7. A method of making a semiconductor device, comprising:
providing a semiconductor die; depositing an encapsulant over the semiconductor die; forming a first cavity in the encapsulant adjacent to the semiconductor die; and forming an interconnect structure over the semiconductor die and into the first cavity. 8. The method of 9. The method of 10. The method of 11. The method of 12. The method of 13. A method of making a semiconductor device, comprising:
providing a semiconductor die; depositing an encapsulant over the semiconductor die; and forming a first cavity in the encapsulant adjacent to the semiconductor die. 14. The method of 15. The method of 16. The method of 17. The method of 18. The method of 19. The method of 20. A semiconductor device, comprising:
a semiconductor die; an encapsulant deposited over the semiconductor die; and a first cavity formed in the encapsulant adjacent to the semiconductor die. 21. The semiconductor device of 22. The semiconductor device of 23. The semiconductor device of 24. The semiconductor device of 25. The semiconductor device of
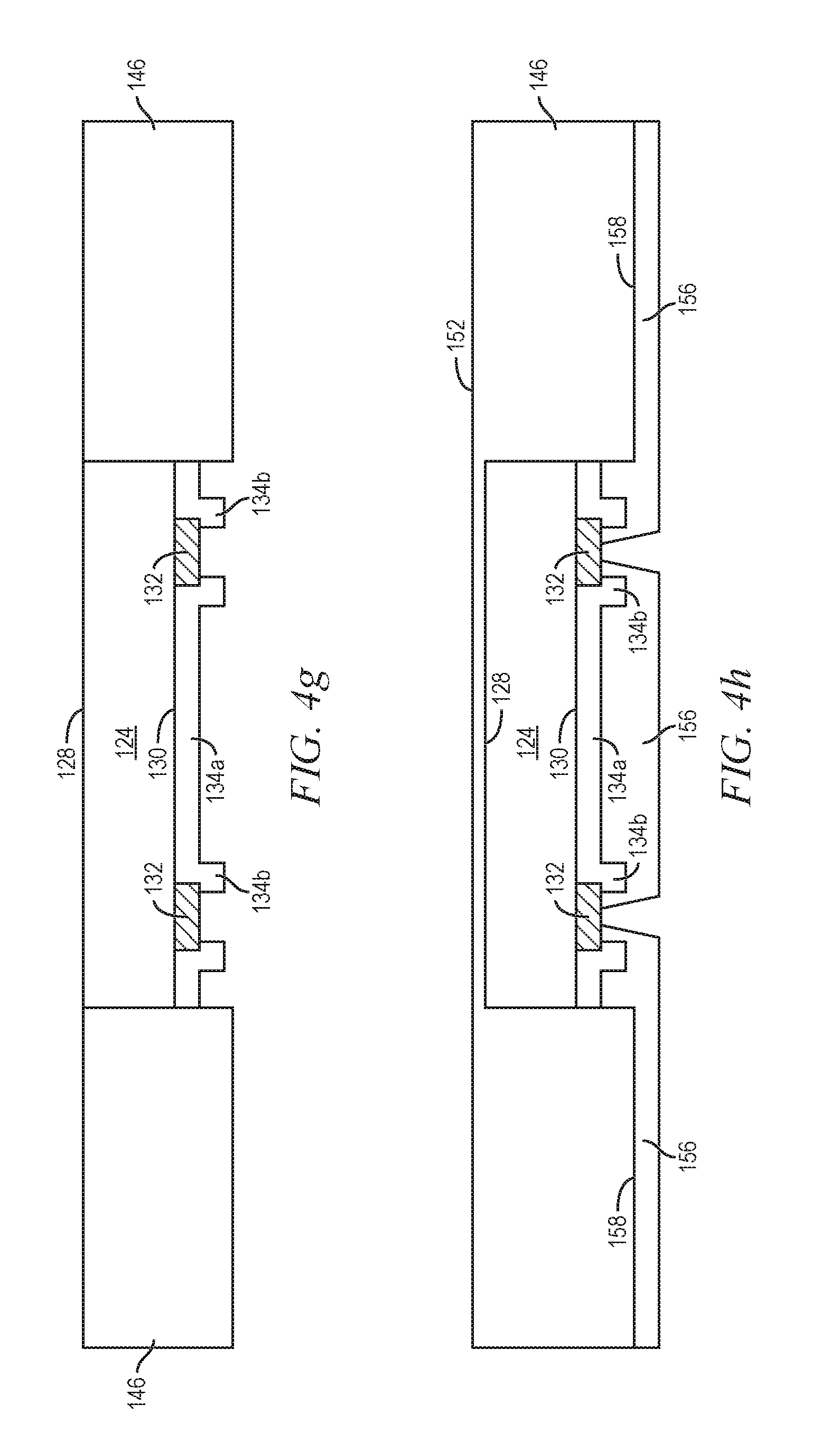
The present application is a continuation of U.S. patent application Ser. No. 14/494,508, filed Sep. 23, 2014, which is a continuation of U.S. patent application Ser. No. 13/446,664, now U.S. Pat. No. 8,907,476, filed Apr. 13, 2012, which is a division of U.S. patent application Ser. No. 13/029,936, now U.S. Pat. No. 8,183,095, filed Feb. 17, 2011, which claims the benefit of U.S. Provisional Application No. 61/313,208, filed Mar. 12, 2010, which applications are incorporated herein by reference. The present invention relates in general to semiconductor devices and, more particularly, to a semiconductor device and method of forming a temporary planarization protective layer to protect a semiconductor die edge during singulation. Semiconductor devices are commonly found in modern electronic products. Semiconductor devices vary in the number and density of electrical components. Discrete semiconductor devices generally contain one type of electrical component, e.g., light emitting diode (LED), small signal transistor, resistor, capacitor, inductor, and power metal oxide semiconductor field effect transistor (MOSFET). Integrated semiconductor devices typically contain hundreds to millions of electrical components. Examples of integrated semiconductor devices include microcontrollers, microprocessors, charged-coupled devices (CCDs), solar cells, and digital micro-mirror devices (DMDs). Semiconductor devices perform a wide range of functions such as signal processing, high-speed calculations, transmitting and receiving electromagnetic signals, controlling electronic devices, transforming sunlight to electricity, and creating visual projections for television displays. Semiconductor devices are found in the fields of entertainment, communications, power conversion, networks, computers, and consumer products. Semiconductor devices are also found in military applications, aviation, automotive, industrial controllers, and office equipment. Semiconductor devices exploit the electrical properties of semiconductor materials. The atomic structure of semiconductor material allows its electrical conductivity to be manipulated by the application of an electric field or base current or through the process of doping. Doping introduces impurities into the semiconductor material to manipulate and control the conductivity of the semiconductor device. A semiconductor device contains active and passive electrical structures. Active structures, including bipolar and field effect transistors, control the flow of electrical current. By varying levels of doping and application of an electric field or base current, the transistor either promotes or restricts the flow of electrical current. Passive structures, including resistors, capacitors, and inductors, create a relationship between voltage and current necessary to perform a variety of electrical functions. The passive and active structures are electrically connected to form circuits, which enable the semiconductor device to perform high-speed calculations and other useful functions. Semiconductor devices are generally manufactured using two complex manufacturing processes, i.e., front-end manufacturing, and back-end manufacturing, each involving potentially hundreds of steps. Front-end manufacturing involves the formation of a plurality of die on the surface of a semiconductor wafer. Each die is typically identical and contains circuits formed by electrically connecting active and passive components. Back-end manufacturing involves singulating individual die from the finished wafer and packaging the die to provide structural support and environmental isolation. One goal of semiconductor manufacturing is to produce smaller semiconductor devices. Smaller devices typically consume less power, have higher performance, and can be produced more efficiently. In addition, smaller semiconductor devices have a smaller footprint, which is desirable for smaller end products. A smaller die size can be achieved by improvements in the front-end process resulting in die with smaller, higher density active and passive components. Back-end processes may result in semiconductor device packages with a smaller footprint by improvements in electrical interconnection and packaging materials. A semiconductor wafer contains a plurality of semiconductor die or components separated by a saw street. The semiconductor wafer is singulated through the saw street into individual semiconductor die using a saw blade or laser cutting tool. Once singulated, the semiconductor die can be mounted to a temporary carrier in order to form a build-up interconnect structure for a fan-out wafer level chip scale package (Fo-WLCSP). The semiconductor die are subject to chipping and cracking along the die edge or other damage during the singulation process, more specifically by the impact of the spinning saw blade. Metal burring can occur along the saw street during singulation, which can cause electrical shorting when forming the build-up interconnect structure. In situations where the semiconductor die has an uneven or high topology, the adhesion between the die and carrier can be weak leading to defects during the interconnect build-up process. A need exists to protect the semiconductor die during singulation and provide a planar surface between the die and carrier during the build-up interconnect process. Accordingly, in one embodiment, the present invention is a method of making a semiconductor device comprising the steps of providing a semiconductor die, forming a protective layer over the semiconductor die, depositing an encapsulant over the semiconductor die, forming a first cavity in the encapsulant, removing the protective layer, and forming an interconnect structure over the semiconductor die including a first insulating layer of the interconnect structure extending into the first cavity. In another embodiment, the present invention is a method of making a semiconductor device comprising the steps of providing a semiconductor die, depositing an encapsulant over the semiconductor die, forming a first cavity in the encapsulant adjacent to the semiconductor die, and forming an interconnect structure over the semiconductor die and into the first cavity. In another embodiment, the present invention is a method of making a semiconductor device comprising the steps of providing a semiconductor die, depositing an encapsulant over the semiconductor die, and forming a first cavity in the encapsulant adjacent to the semiconductor die. In another embodiment, the present invention is a semiconductor device comprising a semiconductor die. An encapsulant is deposited over the semiconductor die. A first cavity is formed in the encapsulant adjacent to the semiconductor die. The present invention is described in one or more embodiments in the following description with reference to the figures, in which like numerals represent the same or similar elements. While the invention is described in terms of the best mode for achieving the invention's objectives, it will be appreciated by those skilled in the art that it is intended to cover alternatives, modifications, and equivalents as may be included within the spirit and scope of the invention as defined by the appended claims and their equivalents as supported by the following disclosure and drawings. Semiconductor devices are generally manufactured using two complex manufacturing processes: front-end manufacturing and back-end manufacturing. Front-end manufacturing involves the formation of a plurality of die on the surface of a semiconductor wafer. Each die on the wafer contains active and passive electrical components, which are electrically connected to form functional electrical circuits. Active electrical components, such as transistors and diodes, have the ability to control the flow of electrical current. Passive electrical components, such as capacitors, inductors, resistors, and transformers, create a relationship between voltage and current necessary to perform electrical circuit functions. Passive and active components are formed over the surface of the semiconductor wafer by a series of process steps including doping, deposition, photolithography, etching, and planarization. Doping introduces impurities into the semiconductor material by techniques such as ion implantation or thermal diffusion. The doping process modifies the electrical conductivity of semiconductor material in active devices, transforming the semiconductor material into an insulator, conductor, or dynamically changing the semiconductor material conductivity in response to an electric field or base current. Transistors contain regions of varying types and degrees of doping arranged as necessary to enable the transistor to promote or restrict the flow of electrical current upon the application of the electric field or base current. Active and passive components are formed by layers of materials with different electrical properties. The layers can be formed by a variety of deposition techniques determined in part by the type of material being deposited. For example, thin film deposition can involve chemical vapor deposition (CVD), physical vapor deposition (PVD), electrolytic plating, and electroless plating processes. Each layer is generally patterned to form portions of active components, passive components, or electrical connections between components. The layers can be patterned using photolithography, which involves the deposition of light sensitive material, e.g., photoresist, over the layer to be patterned. A pattern is transferred from a photomask to the photoresist using light. In one embodiment, the portion of the photoresist pattern subjected to light is removed using a solvent, exposing portions of the underlying layer to be patterned. In another embodiment, the portion of the photoresist pattern not subjected to light, the negative photoresist, is removed using a solvent, exposing portions of the underlying layer to be patterned. The remainder of the photoresist is removed, leaving behind a patterned layer. Alternatively, some types of materials are patterned by directly depositing the material into the areas or voids formed by a previous deposition/etch process using techniques such as electroless and electrolytic plating. Depositing a thin film of material over an existing pattern can exaggerate the underlying pattern and create a non-uniformly flat surface. A uniformly flat surface is required to produce smaller and more densely packed active and passive components. Planarization can be used to remove material from the surface of the wafer and produce a uniformly flat surface. Planarization involves polishing the surface of the wafer with a polishing pad. An abrasive material and corrosive chemical are added to the surface of the wafer during polishing. The combined mechanical action of the abrasive and corrosive action of the chemical removes any irregular topography, resulting in a uniformly flat surface. Back-end manufacturing refers to cutting or singulating the finished wafer into the individual die and then packaging the die for structural support and environmental isolation. To singulate the die, the wafer is scored and broken along non-functional regions of the wafer called saw streets or scribes. The wafer is singulated using a laser cutting tool or saw blade. After singulation, the individual die are mounted to a package substrate that includes pins or contact pads for interconnection with other system components. Contact pads formed over the semiconductor die are then connected to contact pads within the package. The electrical connections can be made with solder bumps, stud bumps, conductive paste, or wirebonds. An encapsulant or other molding material is deposited over the package to provide physical support and electrical isolation. The finished package is then inserted into an electrical system and the functionality of the semiconductor device is made available to the other system components. Electronic device 50 can be a stand-alone system that uses the semiconductor packages to perform one or more electrical functions. Alternatively, electronic device 50 can be a subcomponent of a larger system. For example, electronic device 50 can be part of a cellular phone, personal digital assistant (PDA), digital video camera (DVC), or other electronic communication device. Alternatively, electronic device 50 can be a graphics card, network interface card, or other signal processing card that can be inserted into a computer. The semiconductor package can include microprocessors, memories, application specific integrated circuits (ASIC), logic circuits, analog circuits, RF circuits, discrete devices, or other semiconductor die or electrical components. Miniaturization and weight reduction are essential for these products to be accepted by the market. The distance between semiconductor devices must be decreased to achieve higher density. In In some embodiments, a semiconductor device has two packaging levels. First level packaging is a technique for mechanically and electrically attaching the semiconductor die to an intermediate carrier. Second level packaging involves mechanically and electrically attaching the intermediate carrier to the PCB. In other embodiments, a semiconductor device may only have the first level packaging where the die is mechanically and electrically mounted directly to the PCB. For the purpose of illustration, several types of first level packaging, including bond wire package 56 and flip chip 58, are shown on PCB 52. Additionally, several types of second level packaging, including ball grid array (BGA) 60, bump chip carrier (BCC) 62, dual in-line package (DIP) 64, land grid array (LGA) 66, multi-chip module (MCM) 68, quad flat non-leaded package (QFN) 70, and quad flat package 72, are shown mounted on PCB 52. Depending upon the system requirements, any combination of semiconductor packages, configured with any combination of first and second level packaging styles, as well as other electronic components, can be connected to PCB 52. In some embodiments, electronic device 50 includes a single attached semiconductor package, while other embodiments call for multiple interconnected packages. By combining one or more semiconductor packages over a single substrate, manufacturers can incorporate pre-made components into electronic devices and systems. Because the semiconductor packages include sophisticated functionality, electronic devices can be manufactured using cheaper components and a streamlined manufacturing process. The resulting devices are less likely to fail and less expensive to manufacture resulting in a lower cost for consumers. In BGA 60 is electrically and mechanically connected to PCB 52 with a BGA style second level packaging using bumps 112. Semiconductor die 58 is electrically connected to conductive signal traces 54 in PCB 52 through bumps 110, signal lines 114, and bumps 112. A molding compound or encapsulant 116 is deposited over semiconductor die 58 and carrier 106 to provide physical support and electrical isolation for the device. The flip chip semiconductor device provides a short electrical conduction path from the active devices on semiconductor die 58 to conduction tracks on PCB 52 in order to reduce signal propagation distance, lower capacitance, and improve overall circuit performance. In another embodiment, the semiconductor die 58 can be mechanically and electrically connected directly to PCB 52 using flip chip style first level packaging without intermediate carrier 106. An electrically conductive layer 132 is formed over active surface 130 using PVD, CVD, electrolytic plating, electroless plating process, or other suitable metal deposition process. Conductive layer 132 can be one or more layers of Al, Cu, Sn, Ni, Au, Ag, or other suitable electrically conductive material. In one embodiment, conductive layer 132 extends above active surface 130 by 0.6 micrometers (μm) or more. Conductive layer 132 operates as contact pads electrically connected to the circuits on active surface 130. In In In one embodiment, temporary protective planarization layer 136 covers the entire surface of semiconductor wafer or substrate 120 without patterning, including semiconductor die 124 and saw streets 126, as shown in Alternatively, temporary protective planarization layer 136 is patterned to have trench or groove 138 formed over saw streets 126, as shown in A laser can be used to form trench or groove 138 in saw street 126 by removing metal, insulating material, and base semiconductor material with 2-7 passes. The laser reduces cracking of the insulating material, particularly for low dielectric constant (k) material, which can occur during mechanical dicing with saw blade or cutting tool 137. The temporary protective planarization layer 136 is deposited over saw street 126 prior to laser excitation. Protective planarization layer 136 provides for convenient control of the dielectric thickness for additional protection of semiconductor die 124 in reliability testing. In addition, temporary protective planarization layer 136 helps to prevent the die shift and flying die issue in late encapsulating process in Semiconductor die 124 from In In The temporary protective planarization layer 136 is removed by peeling, as shown in In another embodiment, continuing from In In An insulating or passivation layer 162 is formed over insulating layer 156 and conductive layer 160 using PVD, CVD, screen printing, spin coating, spray coating, sintering or thermal oxidation. The insulating layer 162 contains one or more layers of polyimide, BCB, PBO, low temperature (<280° C.) curing polymer dielectric, or other material having similar insulating and structural properties. A portion of insulating layer 162 is removed to expose conductive layer 160. Additional RDL layers, including conductive and insulation layers, may be built up as per design requirements. In While one or more embodiments of the present invention have been illustrated in detail, the skilled artisan will appreciate that modifications and adaptations to those embodiments may be made without departing from the scope of the present invention as set forth in the following claims.CLAIM TO DOMESTIC PRIORITY
FIELD OF THE INVENTION
BACKGROUND OF THE INVENTION
SUMMARY OF THE INVENTION
BRIEF DESCRIPTION OF THE DRAWINGS
DETAILED DESCRIPTION OF THE DRAWINGS