The present invention provides mimetics of erythropoietin that bind to the erythropoietin receptor and that are suitable for use in pharmaceutical compositions. The present invention also provides methods of treatment using the mimetics of erythropoietin as well as methods of making the mimetics of erythropoietin.
1.-21. (canceled) 22. An erythropoietin (EPO) mimetic comprising a first chain, a second chain and a linker wherein at least one of the first and second chains comprise:
a. a loop consisting of five amino acid residues or mimetics thereof; and b. a bridge, wherein:
i. the bridge comprises a series of between about three to about seven bonds, and ii. the bridge is covalently linked across the loop; and wherein the linker is covalently bound to each of the first and second chains at sequence positions of, independently, from between about residue 5 to about residue 18. 23. The EPO mimetic of 24. The EPO mimetic of 25. The EPO mimetic of 26. The EPO mimetic of 27. The EPO mimetic of 28. The EPO mimetic of 29. The EPO mimetic of 30. The EPO mimetic of 31. The EPO mimetic of 32. The EPO mimetic of 33. The EPO mimetic of a. the N-terminal end portion comprises the sequence of Ac—N—Y-L, b. the loop comprises the sequence of R-M-P—X—V (SEQ ID NO: 11), c. the C-terminal end portion comprises the sequence of X—P—R where X is homo-arginine, and d. the tail comprises at least one selected from the group consisting of polyethylene glycol, a fatty acid, an hSA binding peptide and combinations thereof. 34. The EPO mimetic of 35. A pharmaceutical composition comprising:
a. an EPO mimetic according to b. a pharmaceutically acceptable excipient. 36. The pharmaceutical composition of 37. The pharmaceutical composition of 38. A method for treating anemia, beta-thalassemia, acute blood loss, ischemia, boosting red blood count of a patient prior to surgery and combinations thereof, comprising the step of administering to a warm blooded animal in need thereof an EPO mimetic according to
The present application is a continuation of U.S. patent application Ser. No. 14/118,471, filed on Jan. 28, 2014, which is a U.S. National Stage filing under 35 U.S.C. §371 of International Application No. PCT/US2012/037450, filed May 11, 2012, which in turn claims priority to Provisional Application No. 61/487,747, filed on May 19, 2011; to Provisional Application No. 61/487,752, filed on May 19, 2011; to Provisional Application No. 61/487,760, filed on May 19, 2011; and to Provisional Application No. 61/487,771, filed on May 19, 2011, all of which are incorporated herein by reference in their entirety. The instant application contains a Sequence Listing which has been submitted electronically in ASCII format and is hereby incorporated by reference in its entirety. Said ASCII copy, created on Oct. 15, 2014, is named 2033-001US_SL.txt and is 6,982 bytes in size. The present invention relates broadly to erythropoietin (“EPO”) mimetics that bind to the erythropoietin receptor (“EPOR”) and pharmaceutical compositions thereof. Embodiments of the present invention are useful for stimulating erythropoiesis in patients suffering from a range of diseases and disorders. The glycoprotein erythropoietin (“EPO”) has a molecular mass of about 34,000 Daltons and is composed of 165 amino acids. It acts as the primary hormone in the regulation of erythropoiesis, in which cell differentiation and proliferation results in increased red blood cell production. EPO is produced by the kidneys during times of low oxygen levels in the blood. EPO binds to the EPO receptor (“EPOR”), reportedly inducing dimerization of two receptors that initiate a cascade leading to the synthesis of hemoglobin and increased production of mature erythrocytes, and consequently higher oxygen levels in the blood. See, e.g., Graber and Krantz, Ann. Rev. Med. 29, 51-66 (1978). Recombinant human EPO, sometimes referred to as rhEPO and sold under the brand names EPOGEN® (epoetin alfa) and PROCRIT® (epoetin alfa), is widely used in the treatment of patients suffering from anemia, such as anemia from impaired renal function, cancer chemotherapy, or AZT treatment. These drugs are administered either intravenously or subcutaneously. Efforts have been made to identify alternative peptide EPOR agonists or binding molecules that would improve upon the activity or characteristics of EPO. Erythropoietin (EPO) and a description of novel peptides that bind to the EPO receptor (EPOR) have been described in U.S. Pat. Nos. 7,084,245; 7,414,105; and 7,459,522, each of which are incorporated herein by reference. An X-ray crystal structure of a peptide agonist complexed with the extracellular domain of the EPO receptor has also been published. See Livnah et al., Science, 273, 1996, 464-471; the crystal structure coordinates are hereby incorporated by reference. The structure shows a homodimeric complex containing two ligands and two EPOR domains with near perfect C2 symmetry. A hydrogen bond exists between the two Gln18 residue sidechains of the dimer near the C-terminal regions of the ligands. The C-terminal regions project away from the binding site towards solution. Based on the near perfect C2 symmetry of the homodimer complex, it is possible that dimeric EPO analogues with pseudo C2/C2 symmetry may be favored due to an enhanced entropic component to binding. Wrighton et al. describe a series of small peptides that might act as mimics of EPO. Science, 273, 458 (1996). The compounds were identified using a phage display library and are represented by a family of 16 amino acid peptides having an intramolecular disulfide bond located between two cysteine residues with eight residues between them. U.S. Pat. No. 7,084,245 describes a group of three peptide dimers that are agonists of EPOR. The peptides each contain intramolecular disulfide linkages, and the peptides were covalently joined by a linker at their carboxy terminus. The phage display technology used to identify these EPOR agonists was based on a NNK codon library that was biased towards certain amino acid residues. Moreover, the number of molecules required for a perfect random library of peptides of 14 residues exceeds the numerical limitations of the phage. In addition, 60% of mRNA nucleotide sequences are estimated to include at least one stop codon in a standard NNK library. Thus, it is clear that the number of known EPOR binding compounds, including EPOR agonists, is limited and new molecules are needed. Moreover, even the compounds that have been identified have limited stability, thereby making their production and handling more difficult and limiting the ways in which they can be administered and used. For instance, the known EPOR agonists contain peptide sequences having intramolecular disulfide linkages which are thought to be necessary for binding. Unfortunately, these disulfide bonds are unstable and can undergo cleavage in a facile manner depending on the conditions, such as under reducing conditions. In addition, peptides as a class are susceptible to acid hydrolysis and enzymatic degradation by proteases which limits the half-life of the drug in the body and further limits the ways they can be administered. Consequently, new EPOR binding compounds, including EPOR agonists, are needed with increased stability, especially molecules that have more stable intramolecular and intermolecular bonds. It is also known in the art that a patient's hematocrit (i.e., the amount of red blood cells in whole blood, measured as a percentage of the whole blood) and the change in hematocrit can be monitored using readily available, non-invasive finger cuffs that test for hemoglobin levels (a surrogate for hematocrit. These cuffs are also known as pulse oximeters, and commercially available versions are available both over the counter and as a prescription medical device. SUMMARY OF INVENTION It is an object of the present invention to provide a new EPO mimetic that is smaller than EPO while still being at least as therapeutically effective as EPO and other prior art rhEPO. It is an additional object of the present invention to provide a new EPO mimetic that is more stable than prior art rhEPO. It is another object of the present invention to provide a new EPO mimetic that is less expensive to produce than prior art rhEPO. It is a further object of the present invention to provide a new EPO mimetic that is suitable for subcutaneous injection and can be self-administered privately by the patient. It is an additional object of the present invention to provide a new EPO mimetic that has fewer contaminants than prior art rhEPO. It is yet another object of the present invention to provide a new EPO mimetic that, when administered to a patient, induces less anti-EPO antibodies in vivo than prior art rhEPO. Additional objectives, advantages and novel features of the invention will be set forth in part in the description which follows, and in part will become apparent to those skilled in the art upon examination of the following, or may be learned by practice of the invention. The present invention provides erythropoietin receptor agonists (EPO mimetics) capable of binding to, and preferably activating, the EPO receptor. The EPO mimetics of the invention comprise a first peptide chain (Chain A) covalently linked to a second peptide chain (Chain B), where Chain A and Chain B each contain a loop structure that is defined by an intra-chain bridge covalently linked across the loop. Without being bound by theory not expressly recited in a particular claim, the loop structure can make hydrophobic interactions (e.g., hydrophobic contacts) with the EPO receptor when bound thereto. The EPO mimetics of the present invention may bind to a dimeric human EPO receptor extracellular domain with affinities (K1) of, for example, about 200 nM or less, about 100 nM or less, about 50 nM or less, about 20 nM or less, about 10 nM or less, about 9 nM or less, about 5 nM or less and/or about 1 nM or less. The EPO mimetics of the invention may also have advantages in stability and/or bioavailability over known EPO mimetics. The present invention is directed in various aspects and embodiments to certain EPO mimetic compounds, compositions (including pharmaceutical compositions) comprising such compounds, methods for preparing such compounds, and methods for using such compounds (including methods for therapeutic or prophylactic treatment of a subject in need thereof, such as a subject suffering from anemia or a subject undergoing another treatment which can lead to anemia). The EPO mimetic compound of the present invention can be a structural analog and preferably a functional analog of erythropoietin. Compounds having the general structure shown in More specifically, the bridge component of each of Chain A and Chain B, which is independently selected, comprises a first end covalently linked to an L2 which is adjacent to an N-terminal of the loop, and a second end covalently linked to an L1 which is adjacent to a C-terminal of the loop. L3 of Chain A may be positioned C-terminal of the loop of Chain A, and the L3 of Chain B may be positioned C-terminal to the loop of Chain B. Each of Chain A and Chain B may comprise an independently selected end portion N-terminal of the loop, the N-terminal end portion having an end covalently linked to linking moiety L2 Each of Chain A and Chain B may further comprise an independently selected mid portion C-terminal of the loop and N-terminal of the linker, the mid portion having a first end covalently linked to linking moiety L1 and a second end covalently linked to linking moiety L3. Each of Chain A and Chain B may further comprise an independently selected end portion C-terminal of the linker, the C-terminal end portion having an end covalently linked to linking moiety L3. Each of Chain A and Chain B may further comprise an independently selected tail portion covalently linked thereto. The present invention provides, in one aspect, EPO mimetic compounds. The EPO mimetic compounds can, in preferred embodiments, be EPOR agonists. The EPO mimetic compounds can be capable of binding to and activating the EPO receptor. As shown in Chain A and/or Chain B can optionally further comprise additional independently selected regions or portions. For example, Chain A and/or Chain B can optionally further comprise an independently selected end portion N-terminal of the loop. The N-terminal end portion can have an end covalently linked to linking moiety L2. Additionally, each of Chain A and or/Chain B can optionally further comprise an independently selected mid portion C-terminal of the loop. In some embodiments, the mid portion can be N-terminal of the interchain linker. Such mid portion can have a first end covalently linked to linking moiety L1 and a second end covalently linked to linking moiety L3. Each of Chain A and/or Chain B can optionally further comprise an independently selected end portion C-terminal of the loop and in some embodiments, C-terminal of the interchain linker. The C-terminal end portion can have an end covalently linked to linking moiety L3. Each of Chain A and/or Chain B can optionally further comprise an independently selected tail portion covalently linked thereto. It is envisioned that Chain A and Chain B may have the same (or substantially the same) or different amino acid (or mimetics thereof) sequence or structure. In some embodiments, the entire sequence of Chain A and Chain B (or, in fact, any corresponding components thereof, such as the loop structure) may exhibit about 75% or more, 80% or more, 85% or more, 90% or more, or 95% or more sequence identity with each other. Other corresponding components (i.e., N-terminal end regions, mid regions, C-terminal end regions and/or tail regions) may also have these same levels of sequence identity. When Chain A and Chain B have substantially the same sequence, one chain may have, for example, from one to ten, preferably one to five, more preferably one to three and most preferably one or two conserved amino acid substitutions, including conserved substitutions of a non-generically encoded amino acid, and/or one or two isosteric changes in the side chains or peptide backbone, as described herein. In certain embodiments, Chains A and B are the same, at least without regard to any linking or bridge components as discussed elsewhere herein. Components of Chain A and/or Chain B The loop of at least one of Chain A and Chain B, and preferably the loop of each of Chain A and Chain B, comprises at least first and second hydrophobic amino acid residues or mimetics thereof separated by a spacer moiety. The spacer moiety has an absence of hydrogen bonding (e.g., via its backbone) with the extracellular domain of the human EPO receptor when the mimetic is bound thereto. Generally, without wishing to be bound by theory not recited in a particular claim, in this aspect, the spacer moiety does not contain amino acid residues or mimetics thereof that hydrogen bond through atoms included within the backbone chain thereof with the EPO receptor. The length of the loop and/or the composition of the loop may be such that hydrophobic groups in the loop structure are well positioned for interaction with hydrophobic groups of the EPO receptor (e.g., independent of hydrogen bonding). In some embodiments of the present invention, the loop of at least one of Chain A and Chain B, and preferably the loop of each of Chain A and Chain B, has at least 65% hydrophobic amino acid residues or mimetics thereof, as compared to the total number of amino acid residues or mimetics thereof within the loop. Such composition of the loop structure allows for favorable interaction between hydrophobic groups of the EPOR and hydrophobic components of the loop, to thereby support high affinity binding. In some embodiments of the present invention, the loop of either or both of Chain A and Chain B may independently contain at least 80% (e.g., 4 or 5), at least 83% (e.g., 5 or 6) or 100% hydrophobic amino acid residues or mimetics thereof. At least one or at least two hydrophobic residues may contain aliphatic side chains, such as M, A, I, L or V, or a conservative substitution or isosteric replacement thereof, such as homocysteine, β-alanine, norisoleucine, norleucine or norvaline, respectively. Additional aliphatic amino acid residues include any natural or non-natural amino acid having linear or branched, saturated or unsaturated, substituted or unsubstituted hydrocarbyl chain of from about 2 to about 10 carbon atoms, which substituted hydrocarbyl may include one or more heteroatoms including S, O or N within the main chain. Alternatively, at least one or at least two hydrophobic residues in the loop may contain aromatic side chains, such as F or W, or a suitable replacement thereof such as homophenylalanine or naphthylalanine (1- or 2-), respectively). Additional aromatic amino acid residues (e.g., as conservative or isosteric substitutions for phenylalanine or tryptophan) include non-genetically encoded amino acids having a substituted or unsubstituted aromatic group covalently linked to the α-carbon, such as by side-chain sub-moieties (e.g., alkyl sub-moieties) comprising about 2 to about 10 carbon atoms in the main portion of the side chain therebetween. Such side-chain sub-moieties may ben any linear or branched, saturated or unsaturated, or substituted or unsubstituted hydrocarbyl chain. While the hydrocarbyl chain is generally hydrophobic in nature, the chain may further comprise one or more heteroatoms including S, O or N within the main chain of the side-chain sub-moiety. The aromatic moiety may be a monocyclic or multicyclic ring system, wherein at least one ring is aromatic, comprising about 6 to about 14 carbon atoms, preferably about 6 to about 10 carbon atoms. Non-limiting examples of suitable aromatic groups include substituted or unsubstituted phenyl, naphthyl, indolyl, indanyl, indenyl, tetrahydronaphthyl, anthracenyl and fluorenyl. In some embodiments of the present invention, the loop of at least one of Chain A and Chain B, and preferably the loop of each of Chain A and Chain B, comprises at least first and second hydrophobic amino acid residues or mimetics thereof separated by a spacer moiety. Preferably, the spacer moiety is a peptide spacer moiety having a sequence of not more than 3 amino acid residues linked via amide bonds (e.g., peptide bonds). Alternatively, the first and second hydrophobic amino acid residues or mimetics thereof may be separated by a spacer moiety other than a peptide consisting of (i.e., a sequence of) amino acid residues linked by amide bonds. In preferred embodiments, the spacer moiety can be, for example, a hydrocarbyl group or a substituted hydrocarbyl group (other than such a peptide), including a substituted or unsubstituted hydrocarbyl optionally having one or more heteroatoms in the main chain. Without being bound by theory not expressly recited in the claims, the spacer moiety may position the first and second hydrophobic residues for favorable interaction with one or more hydrophobic groups in the receptor binding pocket (e.g., one, two, or each of residues F93, M150, and F205 of the EPOR). In some preferred embodiments, the loop of at least one of Chain A and Chain B, and preferably the loop of each of Chain A and Chain B, has a sequence of at least about two and not more than about six amino acid residues or mimetics thereof—and preferably five amino acid residues or mimetics thereof—and at least two residues of the sequence are independently selected hydrophobic amino acid residues or mimetics thereof. Preferably, the at least two residues of the sequence are independently selected bulky hydrophobic amino acid residues or mimetics thereof. More preferably, the at least two residues of the sequence are independently selected from the group consisting of M, F, L, I, W, V, naphthylalanine and mimetics thereof. For example, the first hydrophobic residue may be an amino acid residue or mimetic thereof with an aliphatic side chain such as methionine, or mimetic thereof, and the second hydrophobic residue may be an amino acid residue or mimetic thereof with an aromatic side chain such as tryptophan or a mimetic thereof. In such an embodiment, the loop structure of the EPO mimetic is relatively small and hydrophobic in character, and therefore without being bound by theory not expressly recited in the claims, may be well positioned to interact with hydrophobic groups in the EPO binding pocket, when bound to the EPO receptor. In some embodiments, without being bound by theory not expressly recited in the claims, the loop does not contain amino acid residues or mimetics thereof that hydrogen bond with the EPO receptor without also contributing Van der Waals contacts with the receptor. Thus, amino acid residues or mimetics in the loop that do not contribute hydrophobic contacts with the receptor (e.g., such as residues in the spacer moiety), preferably also do not form hydrogen bonds with the backbone of residue M150 of the EPO receptor (i.e., M150 of one or both subunits of the dimerized EPO receptor), and/or the backbone and/or side chains of T151 or S152 of the EPO receptor (i.e., in one or both subunits of the dimerized EPO receptor). In some such embodiments, carbonyl oxygens or other potential hydrogen bond acceptors, if present in the loop region of the EPO mimetic compound (and particularly if present in the spacer), are positioned so as to minimize or obviate hydrogen bond formation with donor atoms of the EPOR (i.e., with M150, T151 and/or S152 in one or both subunits of the dimerized receptor), without compromising hydrophobic contacts between the loop and the EPOR. More specifically, and as shown in In preferred embodiments, X1 is independently selected from the group consisting of R, H and mimetics thereof; X2 is independently selected from the group consisting of M and mimetics thereof; X3 is independently selected from the group consisting of G, P, β-alanine (βA) and mimetics thereof and preferably from the group consisting of G, P and mimetics thereof; X4 is not present; X5 is independently selected from the group consisting of W, naphthylalanine and mimetics thereof; and X6 is independently selected from the group consisting of V and mimetics thereof. X1 may be at a sequence position in either or both of Chain A and Chain B ranging from 2 to about 18, preferably from 3 to about 12 and more preferably at positions 3, 4, 5 or 6. Such sequence position is generally determined without regard to any N-terminal capping moiety on the Chain A or Chain B. Exemplary loop sequences according to the present invention include R-M-G-W-V (SEQ ID NO: 1); R-M-βA-W-V (SEQ ID NO: 2); R-M-F-W-V (SEQ ID NO: 3); R-M-homoF-W-V (SEQ ID NO: 4); R-M-L-W-V (SEQ ID NO: 5); R-M-nL-W-V (SEQ ID NO: 6); R-M-P-W-V (SEQ ID NO: 7); H-M-P-W-V (SEQ ID NO: 8); R-M-P-Nal-V (SEQ ID NO: 9); and H-M-P-Nal-V (SEQ ID NO: 10). Another preferred loop sequence is R-M-P-X-V (SEQ ID NO: 11). Wherein R, M, G, W, V, βA, F, homoF, L, nL, P, H and Nal are as defined above and X can be equivalent to W, preferably 2-Nal. It is envisioned that the loop structure of Chain A and/or Chain B can comprise one or more modifications to the backbone thereof, particularly one or more isosteres as substitutive replacements for a corresponding one or more amide moieties, —C(O)NH—, of the backbone structure of the loop moiety. The spacer moiety may consist of three or fewer amino acid residues inked by amide (e.g., peptide) bonds. In some embodiments, the spacer moiety may comprise glycine, β-alanine, phenylalanine, homophenylalanine, leucine, norleucine, proline or mimetics thereof, including conservative and/or isosteric substitutions thereof. In some embodiments, the spacer moiety is a β-amino acid residue or mimetic thereof. Alternatively, the spacer moiety may be a non-peptidyl spacer moiety such as a substituted or unsubstituted hydrocarbyl other than a peptide comprising amino acid residues inked by amide bonds, such as substituted or unsubstituted, linear or branched, C1-C5 alkyl, C1-C15 alkenyl or C1-C15 alkynyl. In some embodiments, the spacer moiety can be a hydrocarbyl substituted or interrupted in the main chain by one or more heteroatoms or functional groups selected from —O—, —N—, —C(O)—, —S— and —P— and combinations thereof; preferably selected from —O—, —N— and —S— and combinations thereof. Exemplary non-peptidyl spacer moieties include (—(CH2)n—O—(CH2)m—)o, (—(CH2)n—N(R)—(CH2)m—)o, (—CH2)n-NHC(O)NH—(CH2)m—)o, (—(CH2)n—NHC(O)O—(CH2)m—)o, (—(CH2)n—C(O)—(CH2)m—)o, (—(CH2)n—C(O)O—(CH2)m—)o, (—CH2)n—NS(O)2—(CH2)m—)o, (—(CH2)n—S—(CH2)m—)o and mixtures thereof, wherein n and m are integers from 1 to about 9 and may be the same or different, o is an integer from about 1 to about 5, preferably 1 or 2; and R is H or a substituent. In other embodiments, the spacer moiety may have a length of 11 carbon and/or heteroatoms or less, such as 7, 8, 9, 10 or 11 carbons and/or heteroatoms in the main chain thereof. Thus, in these embodiments, the spacer moiety may have less than about 11, 12 or 13 chemical bonds, e.g., 7, 8, 9, 10 or 11 chemical bonds. The bridge can be any type of bond but is preferably a series of about 3-7 bonds, more preferably about 4-5 bonds and most preferably about 5 bonds. The series of bonds can also be any type of chemical group with preferred groups being ether, disulfide bonds, amides, carbamates, esters, thioesters, polyethers, thioethers, phenolic ethers, amines (e.g., secondary, tertiary or quaternary amines) sulfonamides and carbon-carbon bonds. Ether bonds are especially preferred. In certain embodiments, the intrachain bridge of Chain A and/or Chain B is or includes a C3-C10 hydrocarbon, preferably a C3-C7 hydrocarbon, which may be linear or branched, saturated or unsaturated and substituted or unsubstituted. The intrachain bridge may comprise an alkylene-containing unit or repeating units (e.g., alkylene-moiety-alkylene). For example, the intrachain bridge may comprise a unit represented as (alkylene-O-alkylene), (alkylene-N(R)C(═O)-alkylene), (alkylene-C(═O)N(R)-alkylene), (alkylene-N(R)C(═O)O-alkylene), (alkylene-OC(═O)N(R)-alkylene), alkylene-OC(═O)-alkylene), (alkylene-C(═O)O-alkylene), (alkylene-SC(═O)-alkylene), (alkylene-C(═O)S-alkylene), (alkylene-S-alkylene), (alkylene-N(R)-alkylene), alkylene-N(R)SO2-alkylene), (alkylene-SO2N(R)-alkylene) and (alkylene-C(═O)-alkylene) and combinations thereof, where R is selected from the group consisting of hydrogen or a substituent, such as an optionally substituted and/or unsaturated alkyl, acyl or sulfonyl. When the intrachain bridge comprises an ether moiety or a polyether moiety, it may be represented as a unit or repeating units of (alkylene-O-alkylene)m, where m is selected from 1 to about 5. Exemplary intrachain bridges in these embodiments have the formula: (CH2)n—O—(CH2)n, where n is independently selected from 1 to about 5. For example, an ether-based intrachain bridge may comprise a moiety selected from: —CH2—O—CH2CH2—, —CH2CH2OCH2—, —CH2CH2OCH2CH2—, —CH2CH2CH2OCH2CH2— and —CH2CH2—O—CH2CH2CH2—. Chain A and Chain B may be covalently linked though at least one linker moiety having a structure disclosed herein, and/or having a first end covalently linked to Chain A at a sequence position ranging from about residue 5 to about residue 18 thereof (preferably about residue 11 to about residue 17 and even more preferably about residue 12 or 13), and having a second end covalently linked to Chain B at a sequence position ranging from about residue 5 to about residue 18 thereof (preferably about residue 11 to about residue 17 and even more preferably about residue 12 or 13). For example, the linker may preferably comprise one or more moieties selected from: C1-C10 hydrocarbon (linear, branched or cyclic), heterocycle, ether, amide, carbamate, ester, thioester, polyether, thioether, phenolic ether, amine, sulfonamide, ketone and combinations thereof. The moieties may be oriented in either direction, e.g., an amide moiety may be oriented as —N(R)C(═O)— or —C(═O)N(R)—. When the moieties are amide, amine or sulfonamide, the nitrogen may be substituted with a substituent denoted as R; R may be H or a substituent such as a tail as described herein, or optionally substituted and/or unsaturated alkyl, acyl or sulfonyl. In other embodiments, the linker comprises an optionally substituted alkylene, uninterrupted by the above-listed moieties. The linker may be or may contain a C3-C20 hydrocarbon, which may be linear or branched, and which may be substituted or unsubstituted. Alternatively, the hydrocarbon chain may also contain one or more heteroatoms in the main chain, such as —O—, —S— and/or —N—, with the total number of atoms in the main chain being from about 8 to about 20. Thus, the linker may be an alkylene; where the alkylene contains one or more units of unsaturation, the unit(s) may each contain one or two substituents, such as halogen substituents (e.g., independently selected from F, Cl or Br) and may be in trans configuration. The term “alkylene” as used herein means an optionally substituted C1-C20 straight or branched alkyl group and includes, e.g., methylene, ethylene, trimethylene, propylene, tetramethylene, pentamethylene, etc. Optional substituents of the alkylene include, e.g., one or more of the following: halogen, alkyl (optionally substituted and/or unsaturated), cycloalkyl, heterocycloalkyl, alkoxy, hydroxyl, amino, aryl, amido, carbamoyl, thio, carbonyl, carboxy, oxycarbonyl and carboalkoxy. Any substituent may be used so long as it does not interfere with binding to the EPO receptor. In one embodiment, the linker comprises an alkylene moiety which may be represented as (alkylene-O-alkylene)m, (alkylene-N(R)C(═O)-alkylene)m, (alkylene-C(═O)N(R)-alkylene)m, (alkylene-N(R)C(═O)O-alkylene)m, (alkylene-OC(═O)N(R)-alkylene)m, alkylene-OC(═O)-alkylene)m, (alkylene-C(═O)O-alkylene)m, (alkylene-SC(═O)-alkylene)m, (alkylene-C(═O)S-alkylene)m, (alkylene-S-alkylene)m, (alkylene-N(R)-alkylene)m, alkylene-N(R)SO2-alkylene)m, (alkylene-SO2N(R)-alkylene)m and (alkylene-C(═O)-alkylene)m and combinations thereof, where R is hydrogen or a substituent, such as a tail as described herein or an optionally substituted and/or unsaturated alkyl, alcyl or sulfonyl, and where m is selected from 1 to about 5, preferably 1, 2 or 3. Preferred linkers contain a unit or repeating units comprising ether and/or amide moieties, including structures represented as —(CH2)2-8—O—(CH2)2-4—O—(CH2)2-8—, —(CH2)2-8—N(R)—C(O)—(CH2)2-8—, —CH2-8—C(═O)N(R)—CH2)2-8 and combinations thereof, where R is selected from the group consisting of hydrogen, a tail as described herein and an optionally substituted and/or unsaturated alkyl, acyl or sulfonyl. In further embodiments, the linker is an ether-based linker having a structure represented by the general formulation alkylene-O-alkylene-O-alkylene, where the alkylene is as defined above. In these embodiments, the alkylene moieties may each independently have a length of from 1 to 5 carbon atoms, preferably 2-3 carbon atoms. The alkylene moieties may each, independently, be optionally substituted (e.g., with substituted or unsubstituted hydrocarbyl, e.g., as a tail). Exemplary covalent linkers in accordance with these embodiments may have structures represented by —(CH2)2-8—O—(CH2)2-4—O—(CH2)2-8— or —(CH2)1-5—O—(CH2)1-3—CH(R)—O—(CH2)1-5—, where R may be H, or any substituent as defined in above (e.g., an amide group or a tail. In these embodiments, the linker preferably has a total of from 10-14 bonds in the main chain, preferably about 11 or about 12 bonds. Alternatively, the linker may contain a heterocyclic moiety, as represented by Formula I below, wherein each of Q1, Q2, Q3 and Q4 are the same. Especially preferable are symmetrical linkers in which Q1 and Q2 are the same, and Q3 and Q4 are the same. In Formula 1, R may be H or a substituent, such as a tail as described herein. In accordance with these embodiments, the linker may contain a 5-, 7-, 9-, 11- or 13-membered ring. Exemplary embodiments include the interchain linker moieties as shown in Formulas 1A, 1B and 1C (shown with an optional tail): The length of the interchain linking moiety is not tightly constrained and is not narrowly critical. Rather, the linker may have a length equal to from about 8 linear carbon-carbon bonds to about 30 linear carbon-carbon bonds, preferably from about 12 linear carbon-carbon bonds to about 20 linear carbon-carbon bonds. L1, L2, L3 L1, L2 and/or L3 can be any type of linking moiety with preferred moieties being amino acid residues or mimetics thereof or multifunctional moieties containing functional groups such as ether, amide and carbonyl sufficient to connect and orient the loop, bridge and N-terminal end portion as shown in The mid portion is a sequence one to five amino acid residues or mimetics thereof, and preferably one, two or three amino acid residues or mimetics thereof. It is also preferred that the mid portion have a basic amino acid, with preferred basic amino acids such as R, K, H or mimetics thereof. Other preferred amino acids include homoarginine, hydroxylysine or methylhistidine. Still other preferred amino acids include proline, proline analogs, or other cyclic amino acid residues or mimetics thereof. Preferred proline analogs may contain 4-, 5-, 6- or 7-membered rings. As shown in The N-terminal end portion is an optional component of a Chain A and/or Chain B. The N-terminal end portion is a sequence of, preferably, one to five amino acids or mimetics thereof, even more preferably one, two, three or four amino acids or mimetics thereof, and most preferably about three amino acids or mimetics thereof. As shown in Alternatively, conservative substitutions of amino acid residues or mimetics thereof may be positioned at X8, which may include residues carrying side chains capable of making hydrophobic contacts with the receptor (e.g., hydrophobic packing), and optionally contributing a hydrogen bond. For example, exemplary substitutions at X8 include T, W, V and tyrosine methyl ether, as well as residues having side chains containing hydrophobic groups commensurate in size with that of tyrosine. X9 may be independently selected from the group consisting of S, T, K, L, Y and mimetics thereof. Alternatively, conservative substitutions of amino acid residues or mimetics thereof may be positioned at X9. In some embodiments, the N-terminal end portion comprises the amino acid residue sequence of N—Y-L. If the N-terminal end portion contains only two amino acid residues or mimetics thereof, and optionally a capping moiety, then a first amino acid may be selected from tyrosine and mimetics thereof, and a second amino acid residue or mimetic thereof may be selected from the group consisting of S, T, K, L, Y and mimetics thereof. A preferred sequence is Y-L. If the N-terminal end portion comprises only one amino acid residue or mimetic thereof, the amino acid residue or mimetic thereof may be selected from the group consisting of S, T, K, L, Y and mimetics thereof; Y and L are preferred. The capping moiety (“Y”, in The C-terminal end portion is an optional component of Chain A and/or Chain B; in some embodiments, it is the C-terminal of a mid portion or of the linker. The C-terminal end portion is a sequence of, preferably, one to five amino acids or mimetics thereof, even more preferably one, two or three amino acids or mimetics thereof. In some embodiments, the C-terminal end portion is a sequence of amino acid residues or mimetics thereof or may comprise a functional group such as a basic function group (e.g., an amine) or a hydrogen atom. The C-terminal end portion may also be a, or may include, a C-terminal capping moiety (“Z” in The tail can extend the in vivo lifetime/half-life and thus the therapeutic effectiveness of the EPO mimetic. The tail is preferably attached to only the linker (which connects Chain A to Chain B), however, it is also envisioned that the tail can be attached to Chain A or Chain B. In lesser preferred embodiments, two tails are present and attached to either Chain A and Chain B, or Chain A and the linker or Chain B and the linker. In another lesser preferred embodiment, three tails are present and attached to each of Chain A, Chain B and the linker. The tail may be any useful chemical group and can easily be selected by one of skill in the art. Examples of preferred tails include polyethylene glycol (“PEG”), polypropylene glycol, polyalkylene oxide, peptide, peptide mimetic, a fatty acid moiety, transporter moiety, a hydrogen, or moieties derived from amine, from carboxylic acid, from organic halide, from alcohol and from aldehyde. The tail can be modified by functional groups, for example, PEG can be modified as shown in Harris et al., “Pegylation, A Novel Process for Modifying Pharmacokinetics”, Polyethylene glycol, as discussed above, is a polyalkylene glycol compound or a derivative thereof, with or without coupling agents or derivatization with coupling or activating moieties (e.g., with thiol, triflate, tresylate, azirdine, oxirane or preferably with a maleimide moiety). Compounds such as maleimido monomethoxy PEG are exemplary of activated PEG compounds. Other polyalkylene glycol compounds, such as polypropylene glycol, may be used in accordance with the present invention. Other appropriate polymer conjugates include, but are not limited to, non-polypeptide polymers, charged or neutral polymers of the following types: dextran, colominic acids or other carbohydrate based polymers, biotin derivatives and dendrimers, for example. The PEG can be linked to an amino acid residue such as lysine, histidine, tryptophan, aspartic acid, glutamic acid and cysteine, for example, or other such amino acids (or mimetics thereof) known to those of skill in the art. The PEG moiety, or moieties, attached to the molecule may range in molecular weight from about 200 to about 20,000 MW. In some embodiments, the PEG moiety will be from about 1,000 to 8,000 MW, from about 3,250 to 5,000 MW, or about 5,000 MW. In certain embodiments, the total molecular weight of the PEG moieties on the molecule may range from 10,000 to 50,000 MW, and may preferably be over about 30,000 MW. In some embodiments, the total molecular weight of the PEG moieties on the EPO mimetic of the invention is such that renal filtration of the compound is precluded, and in such embodiments renal clearance of the compound may be substantially reduced, such as by about ½ or less, by about ⅓ or less, by about ⅕ or less, or by about 1/10 or less, as compared to a corresponding unpegylated molecule. The number of PEG molecules covalently bound per molecule of the invention may vary depending upon the desired stability (i.e., serum half-life), but in certain embodiments, is one, two or three PEG molecules. Molecules disclosed herein can be linked to PEG molecules using techniques shown in, but not limited to, U.S. Pat. Nos. 4,179,337; 5,382,657; 5,972,885; 6,177,087; 6,165,509; 5,766,897; and 6,217,869, each of which are incorporated herein by reference. In other embodiments, other moieties may be attached to EPO mimetics of the invention to extend serum half-life of the mimetics. For instance, human serum albumin, transferrin, Ig segments or other serum proteins may be attached, linked or conjugated to EPO mimetics of the invention. Such molecules and methods of attachment are known in the art and are described, e.g., in U.S. Pat. Nos. 7,238,667; 7,176,278; and 5,766,883, each of which is incorporated herein by reference. Other moieties that may be used to extend the half-life of the EPO mimetics of the present invention can be found on pages 42-43 of U.S. Provisional Application Ser. No. 61/487,760, filed May 19, 2011, which is incorporated herein by reference and to which the present application claims priority. The compounds of the present invention may employ various natural or non-natural amino acids, i.e., amino acids other than the standard, genetically-encoded amino acids, and/or may employ amino acid mimetics, such as substitute replacements of moieties in the peptide backbone, all of which are more fully described on pages 47-51 of U.S. Provisional Application Ser. No. 61/487,760, filed May 19, 2011, which is incorporated herein by reference and to which the present application claims priority. In a preferred embodiment, the N-terminal end portion is Ac—N—Y-L, the loop is R-M-P—X—V (SEQ ID NO: 11) and the C-terminal end portion is X—P—R where X is homo-arginine; the tail is preferably PEG, a fatty acid or hSA binding peptide. This preferred embodiment may be about 10× more active than prior art rhEPO or EPO with an in vitro affinity of <1 nM (600 pM) as determined by radiolabeled competition assay. The EPO mimetics of the invention are useful for the preparation of pharmaceutical compositions for stimulating erythropoiesis in a patient. Thus, the EPO mimetics of the present invention are useful for treating and/or preventing various conditions associated with decreased red-blood cell count. For example, the EPO mimetics of the invention are useful for treating renal insufficiency and/or end-stage renal failure; anemia, including anemia associated with cancer chemotherapy, AIDS treatment (e.g., treatment with AZT or other reverse transcriptase inhibitors), chronic inflammatory disease, or an autoimmune disease; and for boosting the red blood count of a patient prior to surgery. The EPO mimetic compounds of the invention may also be useful in diagnostic applications and/or in other applications, including for research uses. Pharmaceutical compositions according to the present invention may be formulated for administration by inhalation (via mouth or nose), oral, parenteral, transdermal or transmucosal means; parenteral modes of administration are preferred. In general, pharmaceutical compositions according to the present invention may comprise effective amounts of an EPO mimetic according to the present invention (or derivative products thereof) together with pharmaceutically acceptable excipients, diluents, preservatives, solubilizers, emulsifiers, adjuvants and/or carriers. Such compositions include diluents of various buffer content (e.g., Tris-HCl, acetate, phosphate), pH and ionic strength; additives such as detergents and solubilizing agents (e.g., Tween 20, Tween 80, Polysorbate 80), anti-oxidants (e.g., ascorbic acid, sodium metabisulfite), preservatives (e.g., thimersol, benzyl alcohol) and bulking substances (e.g., lactose, mannitol). Such compositions may influence the physical state, stability, rate of in vivo release and rate of in vivo clearance of the EPO mimetics. The pharmaceutical composition according to the present invention may be prepared in liquid form or may be in dried powder (e.g., lyophilized) form. Preferred methods of administration of EPO mimetics of the present invention may be parenteral (intramuscular, intraperitoneal, intravenous or subcutaneous injection). Preparations according to this invention for parenteral administration include sterile aqueous or non-aqueous solutions, suspensions or emulsions. Examples of non-aqueous solvents or vehicles are propylene glycol, polyethylene glycol, vegetable oils such as olive oil and corn oil, gelatin and injectable organic esters such as ethyl olate. Such dosage forms may also contains adjuvants such as preserving, wetting, emulsifying and dispersing agents. They may be sterilized by, e.g., filtration through a bacteria retaining filter, by incorporating sterilizing agents into the compositions, by irradiating the compositions, or by heating the compositions. They can also be manufactured using sterile water, or some other sterile injectable medium, immediately before use. An especially preferred method of administration is through the use of a micro needle with a pen-style dosing cartridge as is currently used for BYETTA® (exenatide). Such a delivery would allow a patient to self-treat. A therapeutically effective dose could be contained within about 20 μl of fluid. It is envisioned that such a delivery device could be coupled with a monitoring device to allow the patient to monitor the patient's hematocrit changes; such a monitoring device could be a readily-available, non-invasive finger cuff for hemoglobin levels (surrogate for hematocrit). One of skill in the art on considering the therapeutic context, age and general health of the recipient, will be able to ascertain proper dosing; the selected dosage depends upon the desired therapeutic effect, on the route of administration and on the duration of the treatment desired. Generally, dosage levels of 0.001 to 10 mg/kg of body weight daily are administered to mammals; dosage may be lower for intravenous injection or infusion. The dosing schedule may vary depending on the circulation half-life and the formulation used. The EPO mimetics of the present invention may be administered in conjunction with one or more additional active ingredients or pharmaceutical compositions. The present invention also relates to methods of treatment using the EPO mimetics of the present invention. More particularly, the EPO mimetics of the present invention may be administered to warm blooded animals, preferably mammals, more preferably humans, to simulate the binding of EPO to the EPOR in vivo. Thus, the present invention provides methods for therapeutic treatment of disorders associated with a deficiency of EPO, which methods comprise administering a EPO mimetic of the invention in amounts sufficient to stimulate the EPOR and thus alleviate the symptoms associated with a deficiency of EPO in vivo. For example, the EPO mimetics of this invention will find use in the treatment of renal insufficiency and/or end-stage renal failure/dialysis; anemia associated with AIDS; anemia associated with chemotherapy for cancer; anemia associated with chronic inflammatory disease (e.g., rheumatoid arthritis and chronic bowel inflammation); anemia associated with autoimmune disease; and for boosting the red blood count of a patient prior to surgery. Other disease states, disorders and states of hematologic irregularity that may be treated by administration of the EPO mimetics of this invention include: beta-thalassemia; cystic fibrosis; pregnancy and menstrual disorders; early anemia of prematurity; spinal cord injury; space flight; acute blood loss; aging; stroke and/or ischemia (both CNS and cardiac); and various neoplastic disease states accompanied by abnormal erythropoiesis. In other embodiments, the EPO mimetics of the present invention may be used for the treatment of disorders which are not characterized by low or deficient red blood cells, e.g., as a pretreatment prior to transfusions. In addition, administration of the EPO mimetics of the present invention can result in a decrease in bleeding time and will thus find a use in the administration to patients prior to surgery or for indications wherein bleeding is expected to occur. In addition, the EPO mimetics of the present invention will find use in the activation of megakaryocytes. Since EPO has been shown to have a mitogenic and chemotactic effect on vascular endothelial cells as well as an effect on central cholinergic neurons (see, e.g., Amagnostou et al., Proc. Natl. Acad. Sci. USA, 1990, Vol. 87, pp. 5978-5982; Konishi et al., Brain Res., 1993, Vol. 609, pp. 29-35), the EPO mimetics of this invention will also find use in the treatment of a variety of vascular disorders, such as: promoting wound healing; promoting growth of collateral coronary blood vessels (such as those that may occur after myocardial infarction); trauma treatment; and post-vascular graft treatment. The EPO mimetics of the present invention will also find use for the treatment of a variety of neurological disorders, generally characterized by low absolute levels of acetyl choline or low relative levels of acetyl choline as compared to other neuroactive substances, e.g., neurotransmitters. The present invention also provides a method for preparing compounds having the general structure depicted in An exemplary method of preparation is depicted in the preparation of fragment 1 or fragment 2 (as fragments of Chain A or Chain B, respectively) in Hence, more specifically, e.g., a protected monomer, such as trityl-Asp(NH(Me)OMe)-OH can be coupled to a resin via its C-terminal acid. The activated sidechain amide can be reduced to an aldehyde with a reducing agent such as lithium aluminum hydride. An ether bridge precursor component can then be formed by reaction of the aldehydye with the silyl ether (e.g., Fmoc-Ser(SiMe2tBu)-(OAlloc) in the presence of a suitable catalyst system (e.g., BiBr3 and triethylsilane, or alternatively Et3SiBr) in a suitable solvent (e.g., acetonitrile or dichloromethane) by reductive etherification methods. Following Fmoc deprotection, additional monomers of the N-terminal end component can be coupled sequentially by standard solid phase peptide synthesis methodologies. In an exemplary method, the end component can be coupled to the resin as one fragment, previously synthesized on a suitable resin and purified by HPLC. The N-terminal amine can be capped by acetylation with acetic anhydride. At this point, the N-trityl protected amine can be orthogonally deprotected with 3% TFA/CH2Cl2 and a sequence of monomers corresponding to the loop component are coupled sequentially by standard solid phase peptide synthesis methodologies. In an exemplary method, the loop component can be coupled to the resin as one fragment, previously synthesized on a suitable resin and purified by HPLC. Following N-Fmoc and C-Alloc ester deprotections, cyclization of the loop component to the L2 component can be achieved by activating the carboxylic acid group with a coupling reagent such as HBTU, washing away excess reagents, and allowing a reaction with the free amine at room temperature overnight. In an exemplary method, the cyclization can be performed at approximately 4° C. to 80° C. for between about 30 minutes to about 36 hours. In an exemplary method, the cyclization can be carried out under microwave irradiation. In an exemplary method, fragment 1 or fragment 2 (Chain A or Chain B) can be cleaved from the resin by TFA giving a fully sidechain-deprotected fragment 1 or fragment 2 (Chain A or Chain B) suitable for coupling by the disclosed convergent fragment assembly strategy. In an exemplary method, fragment 1 or fragment 2 can be cleaved from the resin with retention of acid-labile sidechain protecting groups ready for coupling by the convergent fragment assembly strategy. It will be appreciated by those skilled in the art that the monomers for the mid component can be easily included into the fragment 1 or fragment 2 (Chain A or Chain B) synthesis by standard SPPS methodologies at an appropriate point in the sequence. The cleaved fragment 1 or fragment 2 (Chain A or Chain B) can be purified by HPLC by standard methods well known in the art before further couplings. In an exemplary method, a fragment 3 comprising a linker moiety can be prepared as illustrated in Ideally, when fragment 1 and fragment 2 are structurally the same (or substantially the same), then two equivalents of fragment 1/2 (Chain A=Chain B) are activated by reagents such as HBTU/HOBT/DIEA and coupled to immobilized fragment 3, as depicted in Several series of assays were carried out on various EPO mimetics. For the assays in Examples 1-4, the EPOR used was obtained as follows: A series of assays was carried out on several EPO mimetics that varied in their N-terminal end portion, loop and C-terminal end portion sequences (“Loop” sequences disclosed as SEQ ID NOS 13, 1-2, 1, 1, 3-5, 14, 7, 7, 7, 7, 7, 8, 11, and 15, respectively, in order of appearance). The results are as follows: A series of assays was carried out on several EPO mimetics that varied in their loop, C-terminal end portion and tail sequences, and the results are as follows (“Loop” sequences disclosed as SEQ ID NOS 7, 11, 11, 11, 11, 11, and 11, respectively, in order of appearance): Results show that a close to optimal EPO mimetic has a Ki≈600 pMolar. Various EPO mimetics were evaluated in Radioligand Binding assays, using methods adapted from the scientific literature [Broudy et al., IC50 values were determined by a non-linear, least squares regression analysis using MATHIQ™ (computer software for integrating mathematical functions into new or existing software). K1 values were calculated using the equation of Cheng and Prusoff (Biochem. Pharmacol., 1973, Vol. 22, pp. 3099-3108), using the observed IC50 of the tested compound, the concentration of the radioligand employed in the assay, and the historical values for the Ki of the ligand. Where presented, the Hill coefficient (nH), defining the slope of the competitive binding curve, was calculated using MATHIQ™. Hill coefficients significantly different than 1.0 may suggest that the binding displacement does not follow the laws of mass action with a single binding site. Where IC50, KI and/or nH data was presented without Standard Error of the Mean (SEM), data are insufficient to be quantitative, and the values presented (KI, IC50 and nH) should be interpreted with caution. For the assays in Examples 3 and 4, the identifiers correspond to EPO mimetic structures as follows (circles such as “∘” between amino residues or mimetics thereof represent bonds): A series of assays was carried out on several EPO mimetics that varied in their sequences at various locations. The results are as follows: EPO mimetics were assayed for EPOR binding and resulted in the following IC50 and Ki values. (The last column expresses the Ki relative to that of AC-0005-002): The affinity of compounds 001 to 008 for the EPOR was not optimal. Generally, smaller and/or more hydrophobic loop structures are preferred, the assay results for which are shown below. In addition, in the structural context of compound 007, the glutamine at position 14 appears suboptimal. Basic amino acid residues such as arginine, lysine or mimetics thereof are preferred at this position, as shown by the assay results below. (The last column expresses the Ki relative to that of AC-0005-002): Additional assays yielded the following results. (The last column expresses the Ki relative to that of AC-0005-002): Additional assays yielded the following results. (The last column expresses the Ki relative to that of AC-0005-002): Additional assays yielded the following results. (The fourth column expresses the Ki relative to that of AC-0005-002; the fifth column expresses the Ki relative to that of EPO): Additional assays yielded the following results. (The fourth column expresses the Ki relative to that of AC-0005-002; the fifth column expresses the Ki relative to that of EPO): While certain preferred and alternative embodiments of the present invention have been set forth for purposes of disclosing the invention, modifications to the disclosed embodiments may occur to those who are skilled in the art. Accordingly, the appended claims are intended to cover all embodiments of the invention and modifications thereof which do not depart from the spirit and scope of the invention. All documents, patents and other literature referred to herein are incorporated by reference in their entirety. The term “comprising” as used in the following claims is an open-ended transitional term that is intended to include additional elements not specifically recited in the claims. The term “consisting essentially of” as used in the following claims is a partially closed transitional phrase and is intended to include the recited elements plus any unspecified elements that do not materially affect the basic and novel characteristics of the claims. The term “consisting of” as used in the following claims is intended to indicate that the claims are restricted to the recited elements. It should be noted that it is envisioned that any feature or element that is positively identified in this document may also be specifically excluded as a feature or element of an embodiment of the present invention as defined in the claims.CROSS REFERENCE TO RELATED APPLICATIONS
SEQUENCE LISTING
TECHNICAL FIELD OF THE INVENTION
BACKGROUND OF THE INVENTION
BRIEF DESCRIPTION OF THE DRAWINGS
DETAILED DESCRIPTION OF THE PRESENT INVENTION
Loop
Spacer Moiety
Bridge
Linker
Mid Portion
N-Terminal End Portion
C-Terminal End Portion
Tail
Pharmaceutical Compositions
Methods of Treatment
Methods of Synthesis
EXAMPLES
Source: Human recombinant Ligand: 0.04 nM [125l] Erythropoietin NSO cells Vehicle: 1% DMSO Incubation Time/Temp: 2 hours @25° C. Incubation Buffer: 1.5 mM Non-Specific Ligand: 3 nM Erythropoietin KH2PO4, 8 mM Na2HPO4•H2O, pH 7.4, KI: 0.036 nM 137 mM NaCl, 2.7 mM KCl, 0.2% BSA BMAX: 3000 pmole/mg Protein Specific Binding: 89% Quantitation Method: Radioligand Binding Significance Criteria: ≧50% of max stimulation or inhibition Example 1
1. AcNYL RMGPITWV KP 48 (control) 2. AcNYL RMGWV KP 22 3. AcNYL RMβAWV KP 27 4. AcNYL RMGWV RP 44 5. AcNYL RMGWV homoRP 12 6. AcNYL RMFWV RP 17 7. AcNYL RMhomoFWV RP 17 8. AcNYL RMLWV RP 34 9. AcNYL RMhomoLWV RP 23 10. AcNYL RMPWV RP 9 11. EPO 0.08 (control) 12. AcNYL RMPWV KP 5.9 13. AcNYL RMPWV homoRP 4.6 14. AcYL RMPWV KP 11.4 15. Desamino YL RMPWV KP 9.6 16. AcNYL HMPWV KP 15.5 17. AcNYL RMPXV KP 4.8 18. AcNYL HMPZV KP 11.2 Example 2
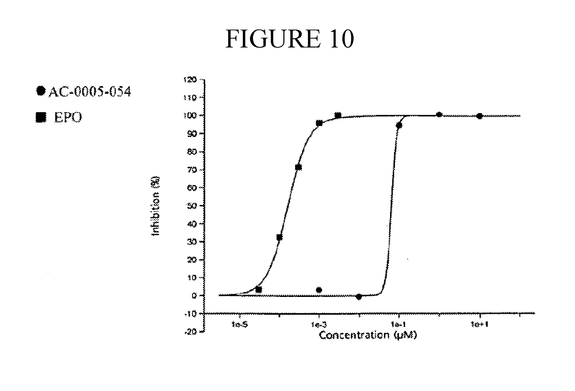
19. EPO 0.06 20. AcNYL RMPWV KP 4.3 (control) 21. AcNYL RMPXV KP 6 (control) 22. AcNYL RMPXV homoRP R 19.8 23. AcNYL RMPXV KP R 27.7 24. AcNYL RMPXV KP βAR 1.2 25. AcNYL RMPXV homoRP βAR 1 26. AcNYL RMPXV homoRP 0.6 AC-0005- 001 (SEQ ID NOS 16 and 16) AC-0005- 002 (SEQ ID NOS 17 and 17) AC-0005- 003 (SEQ ID NOS 18 and 18) AC-0005- 004 (SEQ ID NOS 19 and 19) AC-0005- 005 (SEQ ID NOS 20 and 20) AC-0005- 006 (SEQ ID NOS 21 and 21) AC-0005- 007 (SEQ ID NOS 22 and 22) AC-0005- 008 (SEQ ID NOS 23 and 23) AC-0005- 018 (SEQ ID NOS 1 and 1) AC-0005- 019 (SEQ ID NOS 2 and 2) AC-0005- 020 (SEQ ID NOS 1 and 1) AC-0005- 021 (SEQ ID NOS 1 and 1) AC-0005- 022 (SEQ ID NOS 3 and 3) AC-0005- 023 (SEQ ID NOS 4 and 4) AC-0005- 024 (SEQ ID NOS 5 and 5) AC-0005- 025 (SEQ ID NOS 6 and 6) AC-0005- 026 (SEQ ID NOS 7 and 7) AC-0005- 051 (SEQ ID NOS 7 and 7) AC-0005- 052 (SEQ ID NOS 7 and 7) AC-0005- 053 (SEQ ID NOS 7 and 7) AC-0005- 054 (SEQ ID NOS 8 and 8) AC-0005- 055 (SEQ ID NOS 24 and 24) AC-0005- 056 (SEQ ID NOS 25 and 25) AC-0005- 057 AC-0005- 060 (SEQ ID NOS 24 and 24) AC-0005- 061 (SEQ ID NOS 24 and 24) AC-0005- 062 (SEQ ID NOS 24 and 24) AC-0005- 063 (SEQ ID NOS 24 and 24) AC-0005- 064 (SEQ ID NOS 24 and 24) Example 3
EPO 0.163 nM 0.0771 nM 1.65 AC-0005-026 0.0135 μM 6.39 nM 1.1 AC-0005-051 0.0101 μM 4.8 nM 1.64 AC-0005-052 0.0244 μM 0.0116 μM 1.52 AC-0005-053 0.0192 μM 9.09 nM 1.86 AC-0005-054 0.0651 μM 0.0309 μM 6.65 AC-0005-055 0.011 μM 5.23 nM 1.38 AC-0005-056 0.0235 μM 0.0111 μM 1.7 AC-0005-057 0.0213 μM 0.0101 μM 1.84 Example 4
Control: EPO 0.24 0.11 3.5 × 104 AC-0005-001 1298 615 6.3 AC-0005-002 8167 3870 1 AC-0005-003 119 56 69 AC-0005-004 265 126 31 AC-0005-005 >10,000 — — AC-0005-006 >10,000 — — AC-0005-007 4949 2350 1.7 AC-0005-008 >10,000 — — Control 1: EPO 0.54 0.26 1.5 × 104 Control 2: AC- 171 81 48 0005-003 AC-0005-018 47 22 176 AC-0005-019 57 27 143 Control 1: EPO 0.14 0.064 50 Control 2: AC- 164 78 .041 0005-003 AC-0005-009 58660 27800 1.15 × 10−4 AC-0005-010 56420 26740 1.20 × 10−4 AC-0005-011 70470 33400 9.60 × 10−5 AC-0005-012 89780 42550 7.52 × 10−5 AC-0005-013 110300 52270 6.12 × 10−5 AC-0005-014 60400 28630 1.12 × 10−4 AC-0005-015 111900 53000 6.04 × 10−5 AC-0005-016 127700 60500 5.29 × 10−5 AC-0005-017 126800 60100 5.32 × 10−5 Control 1: EPO 0.22 0.1 3.9 × 104 Control 2: AC- 70 33 117 0005-018 AC-0005-020 93 44 88 AC-0005-021 25 12 323 AC-0005-022 36 17 228 AC-0005-023 35 17 228 AC-0005-024 72 34 114 AC-0005-025 48 23 168 AC-0005-026 20 9 430 AC-0005-027 63 30 129 AC-0005-028 93 44 88 Control 1: EPO 0.16 0.08 3.9 × 104 1 Control 2: AC- 12.4 5.9 656 74 0005-026 AC-0005-051 9.6 4.6 841 58 AC-0005-052 24 11.4 339 143 AC-0005-053 20 9.6 403 120 AC-0005-054 33 15.5 250 194 AC-0005-055 10.2 4.8 806 60 AC-0005-056 24 11.2 346 140 AC-0005-057 22 10.2 379 128 Control 1: EPO 0.13 0.06 3.9 × 104 1 Control 2: AC- 9 4.3 900 72 0005-026 Control 3: AC- 12.6 6 645 100 0005-055 AC-0005-060 41.8 19.8 195 330 AC-0005-061 58.5 27.7 140 462 AC-0005-062 2.4 1.2 3336 19 AC-0005-063 2.2 1 3720 17 AC-0005-064 1.3 0.6 6450 10 AC-0005- 2.2 1.2 3250 20 066/51