заявка
№ US 20160294455
МПК H04B7/04

SYSTEMS AND METHODS TO COORDINATE TRANSMISSIONS IN DISTRIBUTED WIRELESS SYSTEMS VIA USER CLUSTERING

Авторы:
Antonio Forenza Erik Lindskog Stephen G. Perlman
Все (9)
Номер заявки
15181383
Дата подачи заявки
13.06.2016
Опубликовано
06.10.2016
Страна
US
Дата приоритета
14.12.2025
Номер приоритета
Страна приоритета
Как управлять
интеллектуальной собственностью
Реферат

Systems and methods are described for coordinating transmissions in distributed wireless systems via user clustering. For example, a method according to one embodiment of the invention comprises: measuring link quality between a target user and a plurality of distributed-input distributed-output (DIDO) distributed antennas of base transceiver stations (BTSs); using the link quality measurements to define a user cluster; measuring channel state information (CSI) between each user and each DIDO antenna within a defined user cluster; and precoding data transmissions between each DIDO antenna and each user within the user cluster based on the measured CSI.

Формула изобретения

1. A wireless system comprising:

a plurality of base station (BTS) antennas;

a plurality of subsets of the BTS antennas;

a plurality of user equipment (UE) antennas;

wherein each subset of BTS antennas transmits to or receives from at least one UE antenna; and

at least two subsets of BTS antennas having at least one BTS antenna in common and at least one BTS antenna not in common, the subsets of BTS antennas concurrently transmitting or receiving within the same frequency band.

2. The system as in claim 1 wherein one or a plurality of UE antennas move and the subsets of BTS antennas are dynamically reconfigured to adjust for the motion of the UE antennas.

3. The system as in claim 2 wherein reconfiguring comprises dynamically removing or adding BTS antennas to the subsets of BTS antennas.

4. The system as in claim 2 wherein reconfiguring comprises dynamically assigning the subsets of BTS antennas to the respective UE antennas based on Doppler velocity of the UE antennas.

5. The system as in claim 1 wherein the BTS antennas or the UE antennas measure channel characterization data for one or a plurality of communication channels among them.

6. A multiuser (MU) multiple antenna system (MAS) comprising:

one or a plurality of centralized units communicatively coupled to a plurality of distributed transceiver stations or antennas via a network;

the network consisting of wireline or wireless links or a combination of both, employed as a backhaul communication channel;

a plurality of users communicatively coupled to the plurality of distributed transceiver stations via a plurality of wireless links;

the centralized units adaptively selecting a plurality of subsets of transceiver stations based on the quality of the wireless links between the transceiver stations and the user, wherein every subset of transceiver stations is associated to one of the plurality of users.

7. The system as in claim 6 wherein every subset of transceiver stations employs precoding to send (or receive) one or a plurality of concurrent non-interfering data streams to (or from) the users over the wireless links.

8. The system as in claim 6 wherein the quality of the wireless links is estimated based on channel characterization data between the distributed transceiver station and the users.

9. The system as in claim 6 wherein one or multiple subsets of transceiver stations are dynamically recomputed as one or multiple users move.

10. The system as in claim 9 wherein radio frequency (RF) power transmitted over the wireless links is adjusted to maintain the number of transceiver stations within each subset below a predefined value.

11. A multiuser (MU) multiple antenna system (MAS) comprising:

a plurality of users communicatively coupled to a plurality of distributed transceiver stations via a plurality of wireless links;

one or a plurality of centralized units computing a matrix containing the channel state information (CSI) of the wireless links;

the centralized units dynamically selecting one or a plurality of sub-matrices within the matrix and computing precoding weights for the users from each of the sub-matrices.

12. The system as in claim 11 wherein the sub-matrices are selected based on a link-quality metric determining the quality of the wireless links.

13. The system as in claim 11 wherein the sub-matrices are dynamically recomputed as one or multiple users change their positions in space.

14. The system as in claim 11 wherein the precoding weights are computed to create points of zero RF energy to one or multiple users.

Описание

CROSS REFERENCE TO RELATED APPLICATIONS

[0001]

This application is a continuation and claims the benefit of co-pending U.S. application Ser. No. 14/023,302, filed Sep. 10, 2013, entitled, “Systems And Methods To Coordinate Transmissions In Distributed Wireless Systems Via User Clustering” which is a continuation and claims the benefit of co-pending U.S. application Ser. No. 12/917,257, filed Nov. 1, 2010, entitled “Systems And Methods To Coordinate Transmissions In Distributed Wireless Systems Via User Clustering”, now U.S. Issued U.S. Pat. No. 8,542,763, Issued on Sep. 24, 2013.

[0002]

This application is also a continuation-in-part of the following co-pending U.S. patent applications:

[0003]

U.S. application Ser. No. 12/802,988, filed Jun. 16, 2010, entitled “Interference Management, Handoff, Power Control And Link Adaptation In Distributed-Input Distributed-Output (DIDO) Communication Systems”

[0004]

U.S. application Ser. No. 12/802,976, filed Jun. 16, 2010, entitled “System And Method For Adjusting DIDO Interference Cancellation Based On Signal Strength Measurements”

[0005]

U.S. application Ser. No. 12/802,974, filed Jun. 16, 2010, entitled “System And Method For Managing Inter-Cluster Handoff Of Clients Which Traverse Multiple DIDO Clusters”

[0006]

U.S. application Ser. No. 12/802,989, filed Jun. 16, 2010, entitled “System And Method For Managing Handoff Of A Client Between Different Distributed-Input-Distributed-Output (DIDO) Networks Based On Detected Velocity Of The Client”

[0007]

U.S. application Ser. No. 12/802,958, filed Jun. 16, 2010, entitled “System And Method For Power Control And Antenna Grouping In A Distributed-Input-Distributed-Output (DIDO) Network”

[0008]

U.S. application Ser. No. 12/802,975, filed Jun. 16, 2010, entitled “System And Method For Link adaptation In DIDO Multicarrier Systems”

[0009]

U.S. application Ser. No. 12/802,938, filed Jun. 16, 2010, entitled “System And Method For DIDO Precoding Interpolation In Multicarrier Systems”

[0010]

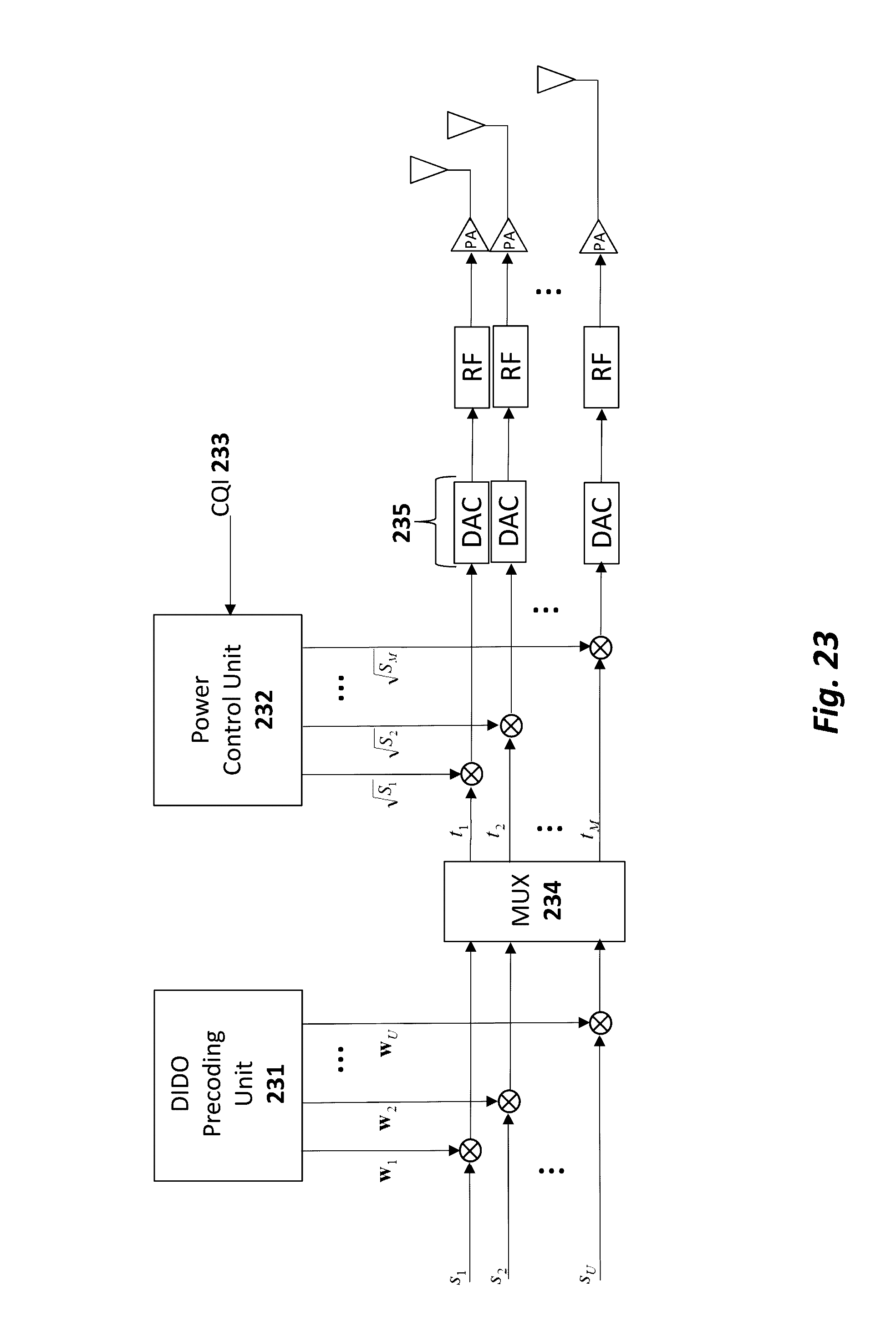
U.S. application Ser. No. 12/630,627, filed Dec. 3, 2009, entitled “System and Method For Distributed Antenna Wireless Communications”

[0011]

U.S. application Ser. No. 12/143,503, filed Jun. 20, 2008 entitled “System and Method For Distributed Input-Distributed Output Wireless Communications”;

[0012]

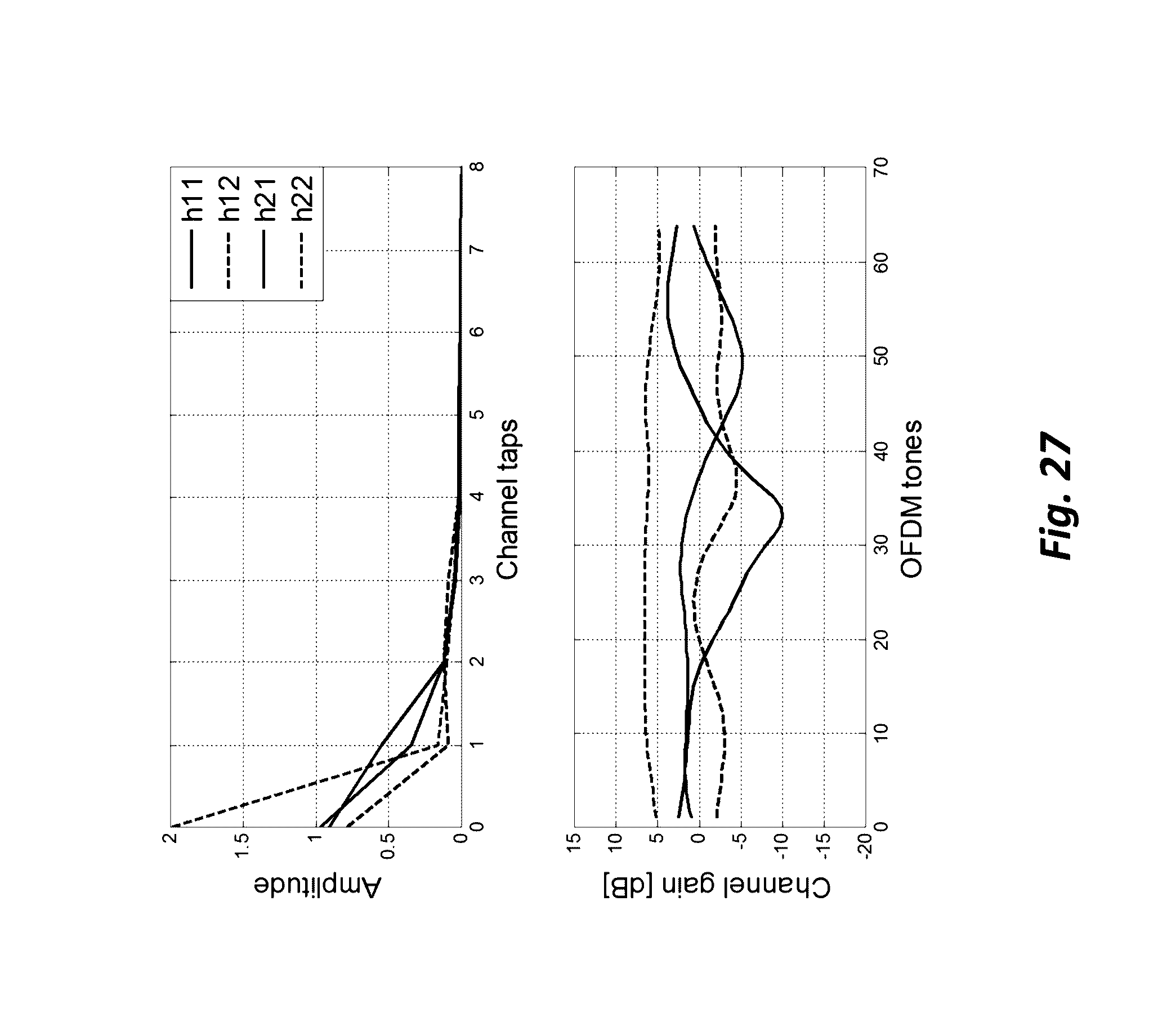
U.S. application Ser. No. 11/894,394, filed Aug. 20, 2007 entitled, “System and Method for Distributed Input Distributed Output Wireless Communications”;

[0013]

U.S. application Ser. No. 11/894,362, filed Aug. 20, 2007 entitled, “System and method for Distributed Input-Distributed Wireless Communications”;

[0014]

U.S. application Ser. No. 11/894,540, filed Aug. 20, 2007 entitled “System and Method For Distributed Input-Distributed Output Wireless Communications”

[0015]

U.S. application Ser. No. 11/256,478, filed Oct. 21, 2005 entitled “System and Method For Spatial-Multiplexed Tropospheric Scatter Communications”;

[0016]

U.S. application Ser. No. 10/817,731, filed Apr. 2, 2004 entitled “System and Method For Enhancing Near Vertical Incidence Skywave (“NVIS”) Communication Using Space-Time Coding.

BACKGROUND

[0017]

Prior art multi-user wireless systems may include only a single base station or several base stations.

[0018]

A single WiFi base station (e.g., utilizing 2.4 GHz 802.11b, g or n protocols) attached to a broadband wired Internet connection in an area where there are no other WiFi access points (e.g. a WiFi access point attached to DSL within a rural home) is an example of a relatively simple multi-user wireless system that is a single base station that is shared by one or more users that are within its transmission range. If a user is in the same room as the wireless access point, the user will typically experience a high-speed link with few transmission disruptions (e.g. there may be packet loss from 2.4 GHz interferers, like microwave ovens, but not from spectrum sharing with other WiFi devices), If a user is a medium distance away or with a few obstructions in the path between the user and WiFi access point, the user will likely experience a medium-speed link. If a user is approaching the edge of the range of the WiFi access point, the user will likely experience a low-speed link, and may be subject to periodic drop-outs if changes to the channel result in the signal SNR dropping below usable levels. And, finally, if the user is beyond the range of the WiFi base station, the user will have no link at all.

[0019]

When multiple users access the WiFi base station simultaneously, then the available data throughput is shared among them. Different users will typically place different throughput demands on a WiFi base station at a given time, but at times when the aggregate throughput demands exceed the available throughput from the WiFi base station to the users, then some or all users will receive less data throughput than they are seeking. In an extreme situation where a WiFi access point is shared among a very large number of users, throughput to each user can slow down to a crawl, and worse, data throughput to each user may arrive in short bursts separated by long periods of no data throughput at all, during which time other users are served. This “choppy” data delivery may impair certain applications, like media streaming.

[0020]

Adding additional WiFi base stations in situations with a large number of users will only help up to a point. Within the 2.4 GHz ISM band in the U.S., there are 3 non-interfering channels that can be used for WiFi, and if 3 WiFi base stations in the same coverage area are configured to each use a different non-interfering channel, then the aggregate throughput of the coverage area among multiple users will be increased up to a factor of 3. But, beyond that, adding more WiFi base stations in the same coverage area will not increase aggregate throughput, since they will start sharing the same available spectrum among them, effectually utilizing time-division multiplexed access (TDMA) by “taking turns” using the spectrum. This situation is often seen in coverage areas with high population density, such as within multi-dwelling units. For example, a user in a large apartment building with a WiFi adapter may well experience very poor throughput due to dozens of other interfering WiFi networks (e.g. in other apartments) serving other users that are in the same coverage area, even if the user's access point is in the same room as the client device accessing the base station. Although the link quality is likely good in that situation, the user would be receiving interference from neighbor WiFi adapters operating in the same frequency band, reducing the effective throughput to the user.

[0021]

Current multiuser wireless systems, including both unlicensed spectrum, such as WiFi, and licensed spectrum, suffer from several limitations. These include coverage area, downlink (DL) data rate and uplink (UL) data rate. Key goals of next generation wireless systems, such as WiMAX and LTE, are to improve coverage area and DL and UL data rate via multiple-input multiple-output (MIMO) technology. MIMO employs multiple antennas at transmit and receive sides of wireless links to improve link quality (resulting in wider coverage) or data rate (by creating multiple non-interfering spatial channels to every user). If enough data rate is available for every user (note, the terms “user” and “client” are used herein interchangeably), however, it may be desirable to exploit channel spatial diversity to create non-interfering channels to multiple users (rather than single user), according to multiuser MIMO (MU-MIMO) techniques. See, e.g., the following references:

  • G. Caire and S. Shamai, “On the achievable throughput of a multiantenna Gaussian broadcast channel,” IEEE Trans. Info. Th., vol. 49, pp. 1691-1706, July 2003.
  • P. Viswanath and D. Tse, “Sum capacity of the vector Gaussian broadcast channel and uplink-downlink duality,” IEEE Trans. Info. Th., vol. 49, pp. 1912-1921, August 2003.
  • S. Vishwanath, N. Jindal, and A. Goldsmith, “Duality, achievable rates, and sum-rate capacity of Gaussian MIMO broadcast channels,” IEEE Trans. Info. Th., vol. 49, pp. 2658-2668, October 2003.
  • W. Yu and J. Cioffi, “Sum capacity of Gaussian vector broadcast channels,” IEEE Trans. Info. Th., vol. 50, pp. 1875-1892, September 2004.
  • M. Costa, “Writing on dirty paper,” IEEE Transactions on Information Theory, vol. 29, pp. 439-441, May 1983.
  • M. Bengtsson, “A pragmatic approach to multi-user spatial multiplexing,” Proc. of Sensor Array and Multichannel Sign. Proc. Workshop, pp. 130-134, August 2002.
  • K.-K. Wong, R. D. Murch, and K. B. Letaief, “Performance enhancement of multiuser MIMO wireless communication systems,” IEEE Trans. Comm., vol. 50, pp. 1960-1970, December 2002.
  • M. Sharif and B. Hassibi, “On the capacity of MIMO broadcast channel with partial side information,” IEEE Trans. Info. Th., vol. 51, pp. 506-522, February 2005.

[0030]

For example, in MIMO 4×4 systems (i.e., four transmit and four receive antennas), 10 MHz bandwidth, 16-QAM modulation and forward error correction (FEC) coding with rate 3/4 (yielding spectral efficiency of 3 bps/Hz), the ideal peak data rate achievable at the physical layer for every user is 4×30 Mbps=120 Mbps, which is much higher than required to deliver high definition video content (which may only require ˜10 Mbps). In MU-MIMO systems with four transmit antennas, four users and single antenna per user, in ideal scenarios (i.e., independent identically distributed, i.i.d., channels) downlink data rate may be shared across the four users and channel spatial diversity may be exploited to create four parallel 30 Mbps data links to the users. Different MU-MIMO schemes have been proposed as part of the LTE standard as described, for example, in 3GPP, “Multiple Input Multiple Output in UTRA”, 3GPP TR 25.876 V7.0.0, March 2007; 3GPP, “Base Physical channels and modulation”, TS 36.211, V8.7.0, May 2009; and 3GPP, “Multiplexing and channel coding”, TS 36.212, V8.7.0, May 2009. However, these schemes can provide only up to 2× improvement in DL data rate with four transmit antennas. Practical implementations of MU-MIMO techniques in standard and proprietary cellular systems by companies like ArrayComm (see, e.g., ArrayComm, “Field-proven results”, http://www.arraycomm.com/serve.php?page=proof) have yielded up to a ˜3× increase (with four transmit antennas) in DL data rate via space division multiple access (SDMA). A key limitation of MU-MIMO schemes in cellular networks is lack of spatial diversity at the transmit side. Spatial diversity is a function of antenna spacing and multipath angular spread in the wireless links. In cellular systems employing MU-MIMO techniques, transmit antennas at a base station are typically clustered together and placed only one or two wavelengths apart due to limited real estate on antenna support structures (referred to herein as “towers,” whether physically tall or not) and due to limitations on where towers may be located. Moreover, multipath angular spread is low since cell towers are typically placed high up (10 meters or more) above obstacles to yield wider coverage.

[0031]

Other practical issues with cellular system deployment include excessive cost and limited availability of locations for cellular antenna locations (e.g. due to municipal restrictions on antenna placement, cost of real-estate, physical obstructions, etc.) and the cost and/or availability of network connectivity to the transmitters (referred to herein as “backhaul”). Further, cellular systems often have difficulty reaching clients located deeply in buildings due to losses from walls, ceilings, floors, furniture and other impediments.

[0032]

Indeed, the entire concept of a cellular structure for wide-area network wireless presupposes a rather rigid placement of cellular towers, an alternation of frequencies between adjacent cells, and frequently sectorization, so as to avoid interference among transmitters (either base stations or users) that are using the same frequency. As a result, a given sector of a given cell ends up being a shared block of DL and UL spectrum among all of the users in the cell sector, which is then shared among these users primarily in only the time domain. For example, cellular systems based on Time Division Multiple Access (TDMA) and Code Division Multiple Access (CDMA) both share spectrum among users in the time domain. By overlaying such cellular systems with sectorization, perhaps a 2-3× spatial domain benefit can be achieved. And, then by overlaying such cellular systems with a MU-MIMO system, such as those described previously, perhaps another 2-3× space-time domain benefit can be achieved. But, given that the cells and sectors of the cellular system are typically in fixed locations, often dictated by where towers can be placed, even such limited benefits are difficult to exploit if user density (or data rate demands) at a given time does not match up well with tower/sector placement. A cellular smart phone user often experiences the consequence of this today where the user may be talking on the phone or downloading a web page without any trouble at all, and then after driving (or even walking) to a new location will suddenly see the voice quality drop or the web page slow to a crawl, or even lose the connection entirely. But, on a different day, the user may have the exact opposite occur in each location. What the user is probably experiencing, assuming the environmental conditions are the same, is the fact that user density (or data rate demands) is highly variable, but the available total spectrum (and thereby total data rate, using prior art techniques) to be shared among users at a given location is largely fixed.

[0033]

Further, prior art cellular systems rely upon using different frequencies in different adjacent cells, typically 3 different frequencies. For a given amount of spectrum, this reduces the available data rate by 3×.

[0034]

So, in summary, prior art cellular systems may lose perhaps 3× in spectrum utilization due to cellularization, and may improve spectrum utilization by perhaps 3× through sectorization and perhaps 3× more through MU-MIMO techniques, resulting in a net 3*3/3=3× potential spectrum utilization. Then, that bandwidth is typically divided up among users in the time domain, based upon what sector of what cell the users fall into at a given time. There are even further inefficiencies that result due to the fact that a given user's data rate demands are typically independent of the user's location, but the available data rate varies depending on the link quality between the user and the base station. For example, a user further from a cellular base station will typically have less available data rate than a user closer to a base station. Since the data rate is typically shared among all of the users in a given cellular sector, the result of this is that all users are impacted by high data rate demands from distant users with poor link quality (e.g. on the edge of a cell) since such users will still demand the same amount of data rate, yet they will be consuming more of the shared spectrum to get it.

[0035]

Other proposed spectrum sharing systems, such as that used by WiFi (e.g., 802.11b, g, and n) and those proposed by the White Spaces Coalition, share spectrum very inefficiently since simultaneous transmissions by base stations within range of a user result in interference, and as such, the systems utilize collision avoidance and sharing protocols. These spectrum sharing protocols are within the time domain, and so, when there are a large number of interfering base stations and users, no matter how efficient each base station itself is in spectrum utilization, collectively the base stations are limited to time domain sharing of the spectrum among each other. Other prior art spectrum sharing systems similarly rely upon similar methods to mitigate interference among base stations (be they cellular base stations with antennas on towers or small scale base stations, such as WiFi Access Points (APs)). These methods include limiting transmission power from the base station so as to limit the range of interference, beamforming (via synthetic or physical means) to narrow the area of interference, time-domain multiplexing of spectrum and/or MU-MIMO techniques with multiple clustered antennas on the user device, the base station or both. And, in the case of advanced cellular networks in place or planned today, frequently many of these techniques are used at once.

[0036]

But, what is apparent by the fact that even advanced cellular systems can achieve only about a 3× increase in spectrum utilization compared to a single user utilizing the spectrum is that all of these techniques have done little to increase the aggregate data rate among shared users for a given area of coverage. In particular, as a given coverage area scales in terms of users, it becomes increasingly difficult to scale the available data rate within a given amount of spectrum to keep pace with the growth of users. For example, with cellular systems, to increase the aggregate data rate within a given area, typically the cells are subdivided into smaller cells (often called nano-cells or femto-cells). Such small cells can become extremely expensive given the limitations on where towers can be placed, and the requirement that towers must be placed in a fairly structured pattern so as to provide coverage with a minimum of “dead zones”, yet avoid interference between nearby cells using the same frequencies. Essentially, the coverage area must be mapped out, the available locations for placing towers or base stations must be identified, and then given these constraints, the designers of the cellular system must make do with the best they can. And, of course, if user data rate demands grow over time, then the designers of the cellular system must yet again remap the coverage area, try to find locations for towers or base stations, and once again work within the constraints of the circumstances. And, very often, there simply is no good solution, resulting in dead zones or inadequate aggregate data rate capacity in a coverage area. In other words, the rigid physical placement requirements of a cellular system to avoid interference among towers or base stations utilizing the same frequency results in significant difficulties and constraints in cellular system design, and often is unable to meet user data rate and coverage requirements.

[0037]

So-called prior art “cooperative” and “cognitive” radio systems seek to increase the spectral utilization in a given area by using intelligent algorithms within radios such that they can minimize interference among each other and/or such that they can potentially “listen” for other spectrum use so as to wait until the channel is clear. Such systems are proposed for use particularly in unlicensed spectrum in an effort to increase the spectrum utilization of such spectrum.

[0038]

A mobile ad hoc network (MANET) (see http://en.wikipedia.org/wiki/Mobile_ad_hoc_network) is an example of a cooperative self-configuring network intended to provide peer-to-peer communications, and could be used to establish communication among radios without cellular infrastructure, and with sufficiently low-power communications, can potentially mitigate interference among simultaneous transmissions that are out of range of each other. A vast number of routing protocols have been proposed and implemented for MANET systems (see http://en.wikipedia.org/wiki/List_of_ad-hoc_routing_protocols for a list of dozens of routing protocols in a wide range of classes), but a common theme among them is they are all techniques for routing (e.g. repeating) transmissions in such a way to minimize transmitter interference within the available spectrum, towards the goal of particular efficiency or reliability paradigms.

[0039]

All of the prior art multi-user wireless systems seek to improve spectrum utilization within a given coverage area by utilizing techniques to allow for simultaneous spectrum utilization among base stations and multiple users. Notably, in all of these cases, the techniques utilized for simultaneous spectrum utilization among base stations and multiple users achieve the simultaneous spectrum use by multiple users by mitigating interference among the waveforms to the multiple users. For example, in the case of 3 base stations each using a different frequency to transmit to one of 3 users, there interference is mitigated because the 3 transmissions are at 3 different frequencies. In the case of sectorization from a base station to 3 different users, each 180 degrees apart relative to the base station, interference is mitigated because the beamforming prevents the 3 transmissions from overlapping at any user.

[0040]

When such techniques are augmented with MU-MIMO, and, for example, each base station has 4 antennas, then this has the potential to increase downlink throughput by a factor of 4, by creating four non-interfering spatial channels to the users in given coverage area. But it is still the case that some technique must be utilized to mitigate the interference among multiple simultaneous transmissions to multiple users in different coverage areas.

[0041]

And, as previously discussed, such prior art techniques (e.g. cellularization, sectorization) not only typically suffer from increasing the cost of the multi-user wireless system and/or the flexibility of deployment, but they typically run into physical or practical limitations of aggregate throughput in a given coverage area. For example, in a cellular system, there may not be enough available locations to install more base stations to create smaller cells. And, in an MU-MIMO system, given the clustered antenna spacing at each base station location, the limited spatial diversity results in asymptotically diminishing returns in throughput as more antennas are added to the base station.

[0042]

And further, in the case of multi-user wireless systems where the user location and density is unpredictable, it results in unpredictable (with frequently abrupt changes) in throughput, which is inconvenient to the user and renders some applications (e.g. the delivery of services requiring predictable throughput) impractical or of low quality. Thus, prior art multi-user wireless systems still leave much to be desired in terms of their ability to provide predictable and/or high-quality services to users.

[0043]

Despite the extraordinary sophistication and complexity that has been developed for prior art multi-user wireless systems over time, there exist common themes: transmissions are distributed among different base stations (or ad hoc transceivers) and are structured and/or controlled so as to avoid the RF waveform transmissions from the different base stations and/or different ad hoc transceivers from interfering with each other at the receiver of a given user.

[0044]

Or, to put it another way, it is taken as a given that if a user happens to receive transmissions from more than one base station or ad hoc transceiver at the same time, the interference from the multiple simultaneous transmissions will result in a reduction of the SNR and/or bandwidth of the signal to the user which, if severe enough, will result in loss of all or some of the potential data (or analog information) that would otherwise have been received by the user.

[0045]

Thus, in a multiuser wireless system, it is necessary to utilize one or more spectrum sharing approaches or another to avoid or mitigate such interference to users from multiple base stations or ad hoc transceivers transmitting at the same frequency at the same time. There are a vast number of prior art approaches to avoiding such interference, including controlling base stations' physical locations (e.g. cellularization), limiting power output of base stations and/or ad hoc transceivers (e.g. limiting transmit range), beamforming/sectorization, and time domain multiplexing. In short, all of these spectrum sharing systems seek to address the limitation of multiuser wireless systems that when multiple base stations and/or ad hoc transceivers transmitting simultaneously at the same frequency are received by the same user, the resulting interference reduces or destroys the data throughput to the affected user. If a large percentage, or all, of the users in the multi-user wireless system are subject to interference from multiple base stations and/or ad hoc transceivers (e.g. in the event of the malfunction of a component of a multi-user wireless system), then it can result in a situation where the aggregate throughput of the multi-user wireless system is dramatically reduced, or even rendered non-functional.

[0046]

Prior art multi-user wireless systems add complexity and introduce limitations to wireless networks and frequently result in a situation where a given user's experience (e.g. available bandwidth, latency, predictability, reliability) is impacted by the utilization of the spectrum by other users in the area. Given the increasing demands for aggregate bandwidth within wireless spectrum shared by multiple users, and the increasing growth of applications that can rely upon multi-user wireless network reliability, predictability and low latency for a given user, it is apparent that prior art multi-user wireless technology suffers from many limitations. Indeed, with the limited availability of spectrum suitable for particular types of wireless communications (e.g. at wavelengths that are efficient in penetrating building walls), it may be the case that prior art wireless techniques will be insufficient to meet the increasing demands for bandwidth that is reliable, predictable and low-latency.

[0047]

Prior art related to the current invention describes beamforming systems and methods for null-steering in multiuser scenarios. Beamforming was originally conceived to maximize received signal-to-noise ratio (SNR) by dynamically adjusting phase and/or amplitude of the signals (i.e., beamforming weights) fed to the antennas of the array, thereby focusing energy toward the user's direction. In multiuser scenarios, beamforming can be used to suppress interfering sources and maximize signal-to-interference-plus-noise ratio (SINR). For example, when beamforming is used at the receiver of a wireless link, the weights are computed to create nulls in the direction of the interfering sources. When beamforming is used at the transmitter in multiuser downlink scenarios, the weights are calculated to pre-cancel inter-user interference and maximize the SINR to every user. Alternative techniques for multiuser systems, such as BD precoding, compute the precoding weights to maximize throughput in the downlink broadcast channel. The co-pending applications, which are incorporated herein by reference, describe the foregoing techniques (see co-pending applications for specific citations).

BRIEF DESCRIPTION OF THE DRAWINGS

[0048]

A better understanding of the present invention can be obtained from the following detailed description in conjunction with the drawings, in which:

[0049]

FIG. 1 illustrates a main DIDO cluster surrounded by neighboring DIDO clusters in one embodiment of the invention.

[0050]

FIG. 2 illustrates frequency division multiple access (FDMA) techniques employed in one embodiment of the invention.

[0051]

FIG. 3 illustrates time division multiple access (TDMA) techniques employed in one embodiment of the invention.

[0052]

FIG. 4 illustrates different types of interfering zones addressed in one embodiment of the invention.

[0053]

FIG. 5 illustrates a framework employed in one embodiment of the invention.

[0054]

FIG. 6 illustrates a graph showing SER as a function of the SNR, assuming SIR=10 dB for the target client in the interfering zone.

[0055]

FIG. 7 illustrates a graph showing SER derived from two IDCI-precoding techniques.

[0056]

FIG. 8 illustrates an exemplary scenario in which a target client moves from a main DIDO cluster to an interfering cluster.

[0057]

FIG. 9 illustrates the signal-to-interference-plus-noise ratio (SINR) as a function of distance (D).

[0058]

FIG. 10 illustrates the symbol error rate (SER) performance of the three scenarios for 4-QAM modulation in flat-fading narrowband channels.

[0059]

FIG. 11 illustrates a method for IDCI precoding according to one embodiment of the invention.

[0060]

FIG. 12 illustrates the SINR variation in one embodiment as a function of the client's distance from the center of main DIDO clusters.

[0061]

FIG. 13 illustrates one embodiment in which the SER is derived for 4-QAM modulation.

[0062]

FIG. 14 illustrates one embodiment of the invention in which a finite state machine implements a handoff algorithm.

[0063]

FIG. 15 illustrates depicts one embodiment of a handoff strategy in the presence of shadowing.

[0064]

FIG. 16 illustrates the hysteresis loop mechanism when switching between any two states in FIG. 93.

[0065]

FIG. 17 illustrates one embodiment of a DIDO system with power control.

[0066]

FIG. 18 illustrates the SER versus SNR assuming four DIDO transmit antennas and four clients in different scenarios.

[0067]

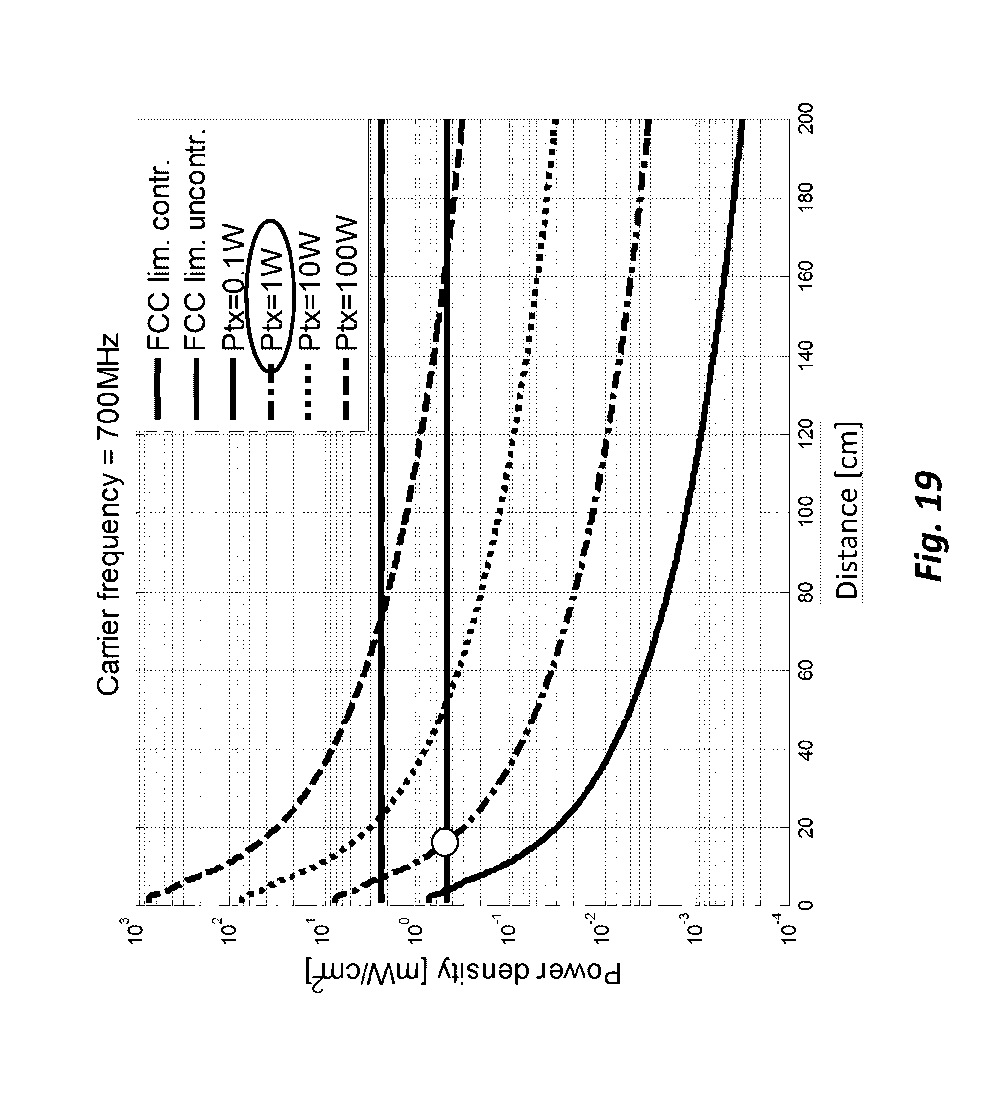
FIG. 19 illustrates MPE power density as a function of distance from the source of RF radiation for different values of transmit power according to one embodiment of the invention.

[0068]

FIGS. 20a-b illustrate different distributions of low-power and high-power DIDO distributed antennas.

[0069]

FIGS. 21a-b illustrate two power distributions corresponding to the configurations in FIGS. 20a and 20b, respectively.

[0070]

FIG. 22a-b illustrate the rate distribution for the two scenarios shown in FIGS. 99a and 99b, respectively.

[0071]

FIG. 23 illustrates one embodiment of a DIDO system with power control.

[0072]

FIG. 24 illustrates one embodiment of a method which iterates across all antenna groups according to Round-Robin scheduling policy for transmitting data.

[0073]

FIG. 25 illustrates a comparison of the uncoded SER performance of power control with antenna grouping against conventional eigenmode selection in U.S. Pat. No. 7,636,381.

[0074]

FIGS. 26a-c illustrate thee scenarios in which BD precoding dynamically adjusts the precoding weights to account for different power levels over the wireless links between DIDO antennas and clients.

[0075]

FIG. 27 illustrates the amplitude of low frequency selective channels (assuming β=1) over delay domain or instantaneous PDP (upper plot) and frequency domain (lower plot) for DIDO 2×2 systems

[0076]

FIG. 28 illustrates one embodiment of a channel matrix frequency response for DIDO 2×2, with a single antenna per client.

[0077]

FIG. 29 illustrates one embodiment of a channel matrix frequency response for DIDO 2×2, with a single antenna per client for channels characterized by high frequency selectivity (e.g., with β=0.1).

[0078]

FIG. 30 illustrates exemplary SER for different QAM schemes (i.e., 4-QAM, 16-QAM, 64-QAM).

[0079]

FIG. 31 illustrates one embodiment of a method for implementing link adaptation (LA) techniques.

[0080]

FIG. 32 illustrates SER performance of one embodiment of the link adaptation (LA) techniques.

[0081]

FIG. 33 illustrates the entries of the matrix in equation (28) as a function of the OFDM tone index for DIDO 2×2 systems with NFFT=64 and L0=8.

[0082]

FIG. 34 illustrates the SER versus SNR for L0=8, M=Nt=2 transmit antennas and a variable number of P.

[0083]

FIG. 35 illustrates the SER performance of one embodiment of an interpolation method for different DIDO orders and L0=16.

[0084]

FIG. 36 illustrates one embodiment of a system which employs super-clusters, DIDO-clusters and user-clusters.

[0085]

FIG. 37 illustrates a system with user clusters according to one embodiment of the invention.

[0086]

FIGS. 38a-b illustrate link quality metric thresholds employed in one embodiment of the invention.

[0087]

FIGS. 39-41 illustrate examples of link-quality matrices for establishing user clusters.

[0088]

FIG. 42 illustrates an embodiment in which a client moves across different different DIDO clusters.

DETAILED DESCRIPTION

[0089]

One solution to overcome many of the above prior art limitations is an embodiment of Distributed-Input Distributed-Output (DIDO) technology. DIDO technology is described in the following patents and patent applications, all of which are assigned the assignee of the present patent and are incorporated by reference. These patents and applications are sometimes referred to collectively herein as the “related patents and applications”:

[0090]

U.S. application Ser. No. 12/802,988, filed Jun. 16, 2010, entitled “Interference Management, Handoff, Power Control And Link Adaptation In Distributed-Input Distributed-Output (DIDO) Communication Systems”

[0091]

U.S. application Ser. No. 12/802,976, filed Jun. 16, 2010, entitled “System And Method For Adjusting DIDO Interference Cancellation Based On Signal Strength Measurements”

[0092]

U.S. application Ser. No. 12/802,974, filed Jun. 16, 2010, entitled “System And Method For Managing Inter-Cluster Handoff Of Clients Which Traverse Multiple DIDO Clusters”

[0093]

U.S. application Ser. No. 12/802,989, filed Jun. 16, 2010, entitled “System And Method For Managing Handoff Of A Client Between Different Distributed-Input-Distributed-Output (DIDO) Networks Based On Detected Velocity Of The Client”

[0094]

U.S. application Ser. No. 12/802,958, filed Jun. 16, 2010, entitled “System And Method For Power Control And Antenna Grouping In A Distributed-Input-Distributed-Output (DIDO) Network”

[0095]

U.S. application Ser. No. 12/802,975, filed Jun. 16, 2010, entitled “System And Method For Link adaptation In DIDO Multicarrier Systems”

[0096]

U.S. application Ser. No. 12/802,938, filed Jun. 16, 2010, entitled “System And Method For DIDO Precoding Interpolation In Multicarrier Systems”

[0097]

U.S. application Ser. No. 12/630,627, filed Dec. 2, 2009, entitled “System and Method For Distributed Antenna Wireless Communications”

[0098]

U.S. Pat. No. 7,599,420, filed Aug. 20, 2007, issued Oct. 6, 2009, entitled “System and Method for Distributed Input Distributed Output Wireless Communication”;

[0099]

U.S. Pat. No. 7,633,994, filed Aug. 20, 2007, issued Dec. 15, 2009, entitled “System and Method for Distributed Input Distributed Output Wireless Communication”;

[0100]

U.S. Pat. No. 7,636,381, filed Aug. 20, 2007, issued Dec. 22, 2009, entitled “System and Method for Distributed Input Distributed Output Wireless Communication”;

[0101]

U.S. application Ser. No. 12/143,503, filed Jun. 20, 2008 entitled, “System and Method For Distributed Input-Distributed Output Wireless Communications”;

[0102]

U.S. application Ser. No. 11/256,478, filed Oct. 21, 2005 entitled “System and Method For Spatial-Multiplexed Tropospheric Scatter Communications”;

[0103]

U.S. Pat. No. 7,418,053, filed Jul. 30, 2004, issued Aug. 26, 2008, entitled “System and Method for Distributed Input Distributed Output Wireless Communication”;

[0104]

U.S. application Ser. No. 10/817,731, filed Apr. 2, 2004 entitled “System and Method For Enhancing Near Vertical Incidence Skywave (“NVIS”) Communication Using Space-Time Coding.

[0105]

To reduce the size and complexity of the present patent application, the disclosure of some of the related patents and applications is not explicitly set forth below. Please see the related patents and applications for a full detailed description of the disclosure.

[0106]

Note that section I below (Disclosure From Related application Ser. No. 12/802,988) utilizes its own set of endnotes which refer to prior art references and prior applications assigned to the assignee of the present application. The endnote citations are listed at the end of section I (just prior to the heading for Section II). Citations in Section II uses may have numerical designations for its citations which overlap with those used in Section I even through these numerical designations identify different references (listed at the end of Section II). Thus, references identified by a particular numerical designation may be identified within the section in which the numerical designation is used.

I. Disclosure from Related application Ser. No. 12/802,988

1. Methods to Remove Inter-Cluster Interference

[0107]

Described below are wireless radio frequency (RF) communication systems and methods employing a plurality of distributed transmitting antennas to create locations in space with zero RF energy. When M transmit antennas are employed, it is possible to create up to (M−1) points of zero RF energy in predefined locations. In one embodiment of the invention, the points of zero RF energy are wireless devices and the transmit antennas are aware of the channel state information (CSI) between the transmitters and the receivers. In one embodiment, the CSI is computed at the receivers and fed back to the transmitters. In another embodiment, the CSI is computed at the transmitter via training from the receivers, assuming channel reciprocity is exploited. The transmitters may utilize the CSI to determine the interfering signals to be simultaneously transmitted. In one embodiment, block diagonalization (BD) precoding is employed at the transmit antennas to generate points of zero RF energy.

[0108]

The system and methods described herein differ from the conventional receive/transmit beamforming techniques described above. In fact, receive beamforming computes the weights to suppress interference at the receive side (via null-steering), whereas some embodiments of the invention described herein apply weights at the transmit side to create interference patters that result in one or multiple locations in space with “zero RF energy.” Unlike conventional transmit beamforming or BD precoding designed to maximize signal quality (or SINR) to every user or downlink throughput, respectively, the systems and methods described herein minimize signal quality under certain conditions and/or from certain transmitters, thereby creating points of zero RF energy at the client devices (sometimes referred to herein as “users”). Moreover, in the context of distributed-input distributed-output (DIDO) systems (described in our related patents and applications), transmit antennas distributed in space provide higher degrees of freedom (i.e., higher channel spatial diversity) that can be exploited to create multiple points of zero RF energy and/or maximum SINR to different users. For example, with M transmit antennas it is possible to create up to (M−1) points of RF energy. By contrast, practical beamforming or BD multiuser systems are typically designed with closely spaced antennas at the transmit side that limit the number of simultaneous users that can be serviced over the wireless link, for any number of transmit antennas M.

[0109]

Consider a system with M transmit antennas and K users, with K<M. We assume the transmitter is aware of the CSI (HεCK×M) between the M transmit antennas and K users. For simplicity, every user is assumed to be equipped with single antenna, but the same method can be extended to multiple receive antennas per user. The precoding weights (wεCM×1) that create zero RF energy at the K users' locations are computed to satisfy the following condition

[0000]


Hw=0K×1

[0000]

where 0K×1is the vector with all zero entries and H is the channel matrix obtained by combining the channel vectors (hk×C1×M) from the M transmit antennas to the K users as

[0000]

H=[h1hkhK].

[0000]

In one embodiment, singular value decomposition (SVD) of the channel matrix H is computed and the precoding weight w is defined as the right singular vector corresponding to the null subspace (identified by zero singular value) of H. The transmit antennas employ the weight vector defined above to transmit RF energy, while creating K points of zero RF energy at the locations of the K users such that the signal received at the kthuser is given by

[0000]


rk=hkwsk+nk=0+nk

[0110]

where nk×C1×1is the additive white Gaussian noise (AWGN) at the kthuser.

[0000]

In one embodiment, singular value decomposition (SVD) of the channel matrix H is computed and the precoding weight w is defined as the right singular vector corresponding to the null subspace (identified by zero singular value) of H.

[0111]

In another embodiment, the wireless system is a DIDO system and points of zero RF energy are created to pre-cancel interference to the clients between different DIDO coverage areas. In U.S. application Ser. No. 12/630,627, a DIDO system is described which includes:

    • DIDO clients
    • DIDO distributed antennas
    • DIDO base transceiver stations (BTS)
    • DIDO base station network (BSN)
      Every BTS is connected via the BSN to multiple distributed antennas that provide service to given coverage area called DIDO cluster. In the present patent application we describe a system and method for removing interference between adjacent DIDO clusters. As illustrated in FIG. 1, we assume the main DIDO cluster hosts the client (i.e. a user device served by the multi-user DIDO system) affected by interference (or target client) from the neighbor clusters.

[0116]

In one embodiment, neighboring clusters operate at different frequencies according to frequency division multiple access (FDMA) techniques similar to conventional cellular systems. For example, with frequency reuse factor of 3, the same carrier frequency is reused every third DIDO cluster as illustrated in FIG. 2. In FIG. 2, the different carrier frequencies are identified as F1, F2and F3. While this embodiment may be used in some implementations, this solution yields loss in spectral efficiency since the available spectrum is divided in multiple subbands and only a subset of DIDO clusters operate in the same subband. Moreover, it requires complex cell planning to associate different DIDO clusters to different frequencies, thereby preventing interference. Like prior art cellular systems, such cellular planning requires specific placement of antennas and limiting of transmit power to as to avoid interference between clusters using the same frequency.

[0117]

In another embodiment, neighbor clusters operate in the same frequency band, but at different time slots according to time division multiple access (TDMA) technique. For example, as illustrated in FIG. 3 DIDO transmission is allowed only in time slots T1, T2, and T3for certain clusters, as illustrated. Time slots can be assigned equally to different clusters, such that different clusters are scheduled according to a Round-Robin policy. If different clusters are characterized by different data rate requirements (i.e., clusters in crowded urban environments as opposed to clusters in rural areas with fewer number of clients per area of coverage), different priorities are assigned to different clusters such that more time slots are assigned to the clusters with larger data rate requirements. While TDMA as described above may be employed in one embodiment of the invention, a TDMA approach may require time synchronization across different clusters and may result in lower spectral efficiency since interfering clusters cannot use the same frequency at the same time.

[0118]

In one embodiment, all neighboring clusters transmit at the same time in the same frequency band and use spatial processing across clusters to avoid interference. In this embodiment, the multi-cluster DIDO system: (i) uses conventional DIDO precoding within the main cluster to transmit simultaneous non-interfering data streams within the same frequency band to multiple clients (such as described in the related patents and applications, including U.S. Pat. Nos. 7,599,420; 7,633,994; 7,636,381; and application Ser. No. 12/143,503); (ii) uses DIDO precoding with interference cancellation in the neighbor clusters to avoid interference to the clients lying in the interfering zones 8010 in FIG. 4, by creating points of zero radio frequency (RF) energy at the locations of the target clients. If a target client is in an interfering zone 410, it will receive the sum of the RF containing the data stream from the main cluster 411 and the zero RF energy from the interfering cluster 412-413, which will simply be the RF containing the data stream from the main cluster. Thus, adjacent clusters can utilize the same frequency simultaneously without target clients in the interfering zone suffering from interference.

[0119]

In practical systems, the performance of DIDO precoding may be affected by different factors such as: channel estimation error or Doppler effects (yielding obsolete channel state information at the DIDO distributed antennas); intermodulation distortion (IMD) in multicarrier DIDO systems; time or frequency offsets. As a result of these effects, it may be impractical to achieve points of zero RF energy. However, as long as the RF energy at the target client from the interfering clusters is negligible compared to the RF energy from the main cluster, the link performance at the target client is unaffected by the interference. For example, let us assume the client requires 20 dB signal-to-noise ratio (SNR) to demodulate 4-QAM constellations using forward error correction (FEC) coding to achieve target bit error rate (BER) of 10−6. If the RF energy at the target client received from the interfering cluster is 20 dB below the RF energy received from the main cluster, the interference is negligible and the client can demodulate data successfully within the predefined BER target. Thus, the term “zero RF energy” as used herein does not necessarily mean that the RF energy from interfering RF signals is zero. Rather, it means that the RF energy is sufficiently low relative to the RF energy of the desired RF signal such that the desired RF signal may be received at the receiver. Moreover, while certain desirable thresholds for interfering RF energy relative to desired RF energy are described, the underlying principles of the invention are not limited to any particular threshold values.

[0120]

There are different types of interfering zones 8010 as shown in FIG. 4. For example, “type A” zones (as indicated by the letter “A” in FIG. 80) are affected by interference from only one neighbor cluster, whereas “type B” zones (as indicated by the letter “B”) account for interference from two or multiple neighbor clusters.

[0121]

FIG. 5 depicts a framework employed in one embodiment of the invention. The dots denote DIDO distributed antennas, the crosses refer to the DIDO clients and the arrows indicate the directions of propagation of RF energy. The DIDO antennas in the main cluster transmit precoded data signals to the clients MC 501 in that cluster. Likewise, the DIDO antennas in the interfering cluster serve the clients IC 502 within that cluster via conventional DIDO precoding. The green cross 503 denotes the target client TC 503 in the interfering zone. The DIDO antennas in the main cluster 511 transmit precoded data signals to the target client (black arrows) via conventional DIDO precoding. The DIDO antennas in the interfering cluster 512 use precoding to create zero RF energy towards the directions of the target client 503 (green arrows).

[0122]

The received signal at target client k in any interfering zone 410A, B in FIG. 4 is given by

[0000]

rk=HkWksk+Hku=1ukUWusu+c=1CHc,ki=1IcWc,isc,i+nk(1)

[0000]

where k=1, . . . , K, with K being the number of clients in the interfering zone 8010A, B, U is the number of clients in the main DIDO cluster, C is the number of interfering DIDO clusters 412-413 and I, is the number of clients in the interfering cluster c. Moreover, rkεCN×Mis the vector containing the receive data streams at client k, assuming M transmit DIDO antennas and N receive antennas at the client devices; skεCN×1is the vector of transmit data streams to client k in the main DIDO cluster; suεCN×1is the vector of transmit data streams to client u in the main DIDO cluster; s0εCN×1is the vector of transmit data streams to client i in the cthinterfering DIDO cluster; nkεCN×1is the vector of additive white Gaussian noise (AWGN) at the N receive antennas of client k; HkεCN×mis the DIDO channel matrix from the M transmit DIDO antennas to the N receive antennas at client k in the main DIDO cluster; Hc,kεCN×Mis the DIDO channel matrix from the M transmit DIDO antennas to the N receive antennas t client kin the cthinterfering DIDO cluster; WkεCM×Nis the matrix of DIDO precoding weights to client k in the main DIDO cluster; WkεCM×Nis the matrix of DIDO precoding weights to client u in the main DIDO cluster; W0εCM×Nis the matrix of DIDO precoding weights to client i in the cthinterfering DIDO cluster.

[0123]

To simplify the notation and without loss of generality, we assume all clients are equipped with N receive antennas and there are M DIDO distributed antennas in every DIDO cluster, with M≧(N·U) and M≧(N·Ic), ∀c=1, . . . , C. If M is larger than the total number of receive antennas in the cluster, the extra transmit antennas are used to pre-cancel interference to the target clients in the interfering zone or to improve link robustness to the clients within the same cluster via diversity schemes described in the related patents and applications, including U.S. Pat. Nos. 7,599,420; 7,633,994; 7,636,381; and application Ser. No. 12/143,503.

[0124]

The DIDO precoding weights are computed to pre-cancel inter-client interference within the same DIDO cluster. For example, block diagonalization (BD) precoding described in the related patents and applications, including U.S. Pat. Nos. 7,599,420; 7,633,994; 7,636,381; and application Ser. No. 12/143,503 and [7] can be used to remove inter-client interference, such that the following condition is satisfied in the main cluster

[0000]


HkWu=0N×N;∀u=1, . . . ,U; with u≠k.  (2)

[0000]

The precoding weight matrices in the neighbor DIDO clusters are designed such that the following condition is satisfied

[0000]


Hc,kWc,i=0N×N; ∀c=1, C and ∀i=1, . . . ,Ic.  (3)

[0000]

To compute the precoding matrices Wc,i, the downlink channel from the M transmit antennas to the Icclients in the interfering cluster as well as to client k in the interfering zone is estimated and the precoding matrix is computed by the DIDO BTS in the interfering cluster. If BD method is used to compute the precoding matrices in the interfering clusters, the following effective channel matrix is built to compute the weights to the ithclient in the neighbor clusters

[0000]

H_c,i=[Hc,kH~c,i](4)

[0000]

where {tilde over (H)}c,iis the matrix obtained from the channel matrix HcεC(N·Ic)×Mfor the interfering cluster c, where the rows corresponding to the ithclient are removed.
Substituting conditions (2) and (3) into (1), we obtain the received data streams for target client k, where intra-cluster and inter-cluster interference is removed

[0000]


rk=HkWksk+nk.  (5)

[0125]

The precoding weights Wc,iin (1) computed in the neighbor clusters are designed to transmit precoded data streams to all clients in those clusters, while pre-cancelling interference to the target client in the interfering zone. The target client receives precoded data only from its main cluster. In a different embodiment, the same data stream is sent to the target client from both main and neighbor clusters to obtain diversity gain. In this case, the signal model in (5) is expressed as

[0000]


rk=(HkWkc=1CHc,kWc,k)sk+nk  (6)

[0000]

where Wc,kis the DIDO precoding matrix from the DIDO transmitters in the cthcluster to the target client k in the interfering zone. Note that the method in (6) requires time synchronization across neighboring clusters, which may be complex to achieve in large systems, but nonetheless, is quite feasible if the diversity gain benefit justifies the cost of implementation.

[0126]

We begin by evaluating the performance of the proposed method in terms of symbol error rate (SER) as a function of the signal-to-noise ratio (SNR). Without loss of generality, we define the following signal model assuming single antenna per client and reformulate (1) as

[0000]


rk=√{square root over (SNR)}hkwksk+√{square root over (INR)}hc,kΣi=1Iwc,ksc,i+nk  (7)

[0000]

where INR is the interference-to-noise ratio defined as INR=SNR/SIR and SIR is the signal-to-interference ratio.

[0127]

FIG. 6 shows the SER as a function of the SNR, assuming SIR=10 dB for the target client in the interfering zone. Without loss of generality, we measured the SER for 4-QAM and 16-QAM without forwards error correction (FEC) coding. We fix the target SER to 1% for uncoded systems. This target corresponds to different values of SNR depending on the modulation order (i.e., SNR=20 dB for 4-QAM and SNR=28 dB for 16-QAM). Lower SER targets can be satisfied for the same values of SNR when using FEC coding due to coding gain. We consider the scenario of two clusters (one main cluster and one interfering cluster) with two DIDO antennas and two clients (equipped with single antenna each) per cluster. One of the clients in the main cluster lies in the interfering zone. We assume flat-fading narrowband channels, but the following results can be extended to frequency selective multicarrier (OFDM) systems, where each subcarrier undergoes flat-fading. We consider two scenarios: (i) one with inter-DIDO-cluster interference (IDCI) where the precoding weights wc,iare computed without accounting for the target client in the interfering zone; and (ii) the other where the IDCI is removed by computing the weights wc,ito cancel IDCI to the target client. We observe that in presence of IDCI the SER is high and above the predefined target. With IDCI-precoding at the neighbor cluster the interference to the target client is removed and the SER targets are reached for SNR>20 dB.

[0128]

The results in FIG. 6 assumes IDCI-precoding as in (5). If IDCI-precoding at the neighbor clusters is also used to precode data streams to the target client in the interfering zone as in (6), additional diversity gain is obtained. FIG. 7 compares the SER derived from two techniques: (i) “Method 1” using the IDCI-precoding in (5); (ii) “Method 2” employing IDCI-precoding in (6) where the neighbor clusters also transmit precoded data stream to the target client. Method 2 yields ˜3 dB gain compared to conventional IDCI-precoding due to additional array gain provided by the DIDO antennas in the neighbor cluster used to transmit precoded data stream to the target client. More generally, the array gain of Method 2 over Method 1 is proportional to 10*log 10(C+1), where C is the number of neighbor clusters and the factor “1” refers to the main cluster.

[0129]

Next, we evaluate the performance of the above method as a function of the target client's location with respect to the interfering zone. We consider one simple scenario where a target client 8401 moves from the main DIDO cluster 802 to the interfering cluster 803, as depicted in FIG. 8. We assume all DIDO antennas 812 within the main cluster 802 employ BD precoding to cancel intra-cluster interference to satisfy condition (2). We assume single interfering DIDO cluster, single receiver antenna at the client device 801 and equal pathloss from all DIDO antennas in the main or interfering cluster to the client (i.e., DIDO antennas placed in circle around the client). We use one simplified pathloss model with pathloss exponent 4 (as in typical urban environments) [11].

[0000]

The analysis hereafter is based on the following simplified signal model that extends (7) to account for pathloss

[0000]

rk=SNR·Do4D4hkwksk+SNR·Do4(1-D)4hc,ki=1Iwc,isc,i+nk(8)

[0000]

where the signal-to-interference (SIR) is derived as SIR=((1-D)/D)4. In modeling the IDCI, we consider three scenarios: i) ideal case with no IDCI; ii) IDCI pre-cancelled via BD precoding in the interfering cluster to satisfy condition (3); iii) with IDCI, not pre-cancelled by the neighbor cluster.

[0130]

FIG. 9 shows the signal-to-interference-plus-noise ratio (SINR) as a function of D (i.e., as the target client moves from the main cluster 802 towards the DIDO antennas 813 in the interfering cluster 8403). The SINR is derived as the ratio of signal power and interference plus noise power using the signal model in (8). We assume that Do=0.1 and SNR=50 dB for D=Do. In absence of IDCI the wireless link performance is only affected by noise and the SINR decreases due to pathloss. In presence of IDCI (i.e., without IDCI-precoding) the interference from the DIDO antennas in the neighbor cluster contributes to reduce the SINR.

[0131]

FIG. 10 shows the symbol error rate (SER) performance of the three scenarios above for 4-QAM modulation in flat-fading narrowband channels. These SER results correspond to the SINR in FIG. 9. We assume SER threshold of 1% for uncoded systems (i.e., without FEC) corresponding to SINR threshold SINRT=20 dB in FIG. 9. The SINR threshold depends on the modulation order used for data transmission. Higher modulation orders are typically characterized by higher SINRTto achieve the same target error rate. With FEC, lower target SER can be achieved for the same SINR value due to coding gain. In case of IDCI without precoding, the target SER is achieved only within the range D<0.25. With IDCI-precoding at the neighbor cluster the range that satisfies the target SER is extended up to D<0.6. Beyond that range, the SINR increases due to pathloss and the SER target is not satisfied.

[0132]

One embodiment of a method for IDCI precoding is shown in FIG. 11 and consists of the following steps:

    • SIR estimate 1101: Clients estimate the signal power from the main DIDO cluster (i.e., based on received precoded data) and the interference-plus-noise signal power from the neighbor DIDO clusters. In single-carrier DIDO systems, the frame structure can be designed with short periods of silence. For example, periods of silence can be defined between training for channel estimation and precoded data transmissions during channel state information (CSI) feedback. In one embodiment, the interference-plus-noise signal power from neighbor clusters is measured during the periods of silence from the DIDO antennas in the main cluster. In practical DIDO multicarrier (OFDM) systems, null tones are typically used to prevent direct current (DC) offset and attenuation at the edge of the band due to filtering at transmit and receive sides. In another embodiment employing multicarrier systems, the interference-plus-noise signal power is estimated from the null tones. Correction factors can be used to compensate for transmit/receive filter attenuation at the edge of the band. Once the signal-plus-interference-and-noise power (PS) from the main cluster and the interference-plus-noise power from neighbor clusters (PIN) are estimated, the client computes the SINR as

[0000]

SINR=PS-PINPIN.(9)

    • Alternatively, the SINR estimate is derived from the received signal strength indication (RSSI) used in typical wireless communication systems to measure the radio signal power.
    • We observe the metric in (9) cannot discriminate between noise and interference power level. For example, clients affected by shadowing (i.e., behind obstacles that attenuate the signal power from all DIDO distributed antennas in the main cluster) in interference-free environments may estimate low SINR even though they are not affected by inter-cluster interference. A more reliable metric for the proposed method is the SIR computed as

[0000]

SIR=PS-PINPIN-PN(10)

    • where PNis the noise power. In practical multicarrier OFDM systems, the noise power PNin (10) is estimated from the null tones, assuming all DIDO antennas from main and neighbor clusters use the same set of null tones. The interference-plus-noise power (PIN), is estimated from the period of silence as mentioned above. Finally, the signal-plus-interference-and-noise power (PS) is derived from the data tones. From these estimates, the client computes the SIR in (10).
    • Channel estimation at neighbor clusters 1102-1103: If the estimated SIR in (10) is below predefined threshold (SIRT), determined at 8702 in FIG. 11, the client starts listening to training signals from neighbor clusters. Note that SIRTdepends on the modulation and FEC coding scheme (MCS) used for data transmission. Different SIR targets are defined depending on the client's MCS. When DIDO distributed antennas from different clusters are time-synchronized (i.e., locked to the same pulse-per-second, PPS, time reference), the client exploits the training sequence to deliver its channel estimates to the DIDO antennas in the neighbor clusters at 8703. The training sequence for channel estimation in the neighbor clusters are designed to be orthogonal to the training from the main cluster. Alternatively, when DIDO antennas in different clusters are not time-synchronized, orthogonal sequences (with good cross-correlation properties) are used for time synchronization in different DIDO clusters. Once the client locks to the time/frequency reference of the neighbor clusters, channel estimation is carried out at 1103.
    • IDCI Precoding 1104: Once the channel estimates are available at the DIDO BTS in the neighbor clusters, IDCI-precoding is computed to satisfy the condition in (3). The DIDO antennas in the neighbor clusters transmit precoded data streams only to the clients in their cluster, while pre-cancelling interference to the clients in the interfering zone 410 in FIG. 4. We observe that if the client lies in the type B interfering zone 410 in FIG. 4, interference to the client is generated by multiple clusters and IDCI-precoding is carried out by all neighbor clusters at the same time.

Methods for Handoff

[0139]

Hereafter, we describe different handoff methods for clients that move across DIDO clusters populated by distributed antennas that are located in separate areas or that provide different kinds of services (i.e., low- or high-mobility services).

[0140]

a. Handoff Between Adjacent DIDO Clusters

[0141]

In one embodiment, the IDCI-precoder to remove inter-cluster interference described above is used as a baseline for handoff methods in DIDO systems. Conventional handoff in cellular systems is conceived for clients to switch seamlessly across cells served by different base stations. In DIDO systems, handoff allows clients to move from one cluster to another without loss of connection.

[0142]

To illustrate one embodiment of a handoff strategy for DIDO systems, we consider again the example in FIG. 8 with only two clusters 802 and 803. As the client 801 moves from the main cluster (C1) 802 to the neighbor cluster (C2) 803, one embodiment of a handoff method dynamically calculates the signal quality in different clusters and selects the cluster that yields the lowest error rate performance to the client.

[0143]

FIG. 12 shows the SINR variation as a function of the client's distance from the center of clusters C1. For 4-QAM modulation without FEC coding, we consider target SINR=20 dB. The line identified by circles represents the SINR for the target client being served by the DIDO antennas in C1, when both C1 and C2 use DIDO precoding without interference cancellation. The SINR decreases as a function of D due to pathloss and interference from the neighboring cluster. When IDCI-precoding is implemented at the neighboring cluster, the SINR loss is only due to pathloss (as shown by the line with triangles), since interference is completely removed. Symmetric behavior is experienced when the client is served from the neighboring cluster. One embodiment of the handoff strategy is defined such that, as the client moves from C1 to C2, the algorithm switches between different DIDO schemes to maintain the SINR above predefined target.

[0144]

From the plots in FIG. 12, we derive the SER for 4-QAM modulation in FIG. 13. We observe that, by switching between different precoding strategies, the SER is maintained within predefined target.

[0145]

One embodiment of the handoff strategy is as follows.

    • C1-DIDO and C2-DIDO precoding: When the client lies within C1, away from the interfering zone, both clusters C1 and C2 operate with conventional DIDO precoding independently.
    • C1-DIDO and C2-IDCI precoding: As the client moves towards the interfering zone, its SIR or SINR degrades. When the target SINRT1is reached, the target client starts estimating the channel from all DIDO antennas in C2 and provides the CSI to the BTS of C2. The BTS in C2 computes IDCI-precoding and transmits to all clients in C2 while preventing interference to the target client. For as long as the target client is within the interfering zone, it will continue to provide its CSI to both C1 and C2.
    • C1-IDCI and C2-DIDO precoding: As the client moves towards C2, its SIR or SINR keeps decreasing until it again reaches a target. At this point the client decides to switch to the neighbor cluster. In this case, C1 starts using the CSI from the target client to create zero interference towards its direction with IDCI-precoding, whereas the neighbor cluster uses the CSI for conventional DIDO-precoding. In one embodiment, as the SIR estimate approaches the target, the clusters C1 and C2 try both DIDO- and IDCI-precoding schemes alternatively, to allow the client to estimate the SIR in both cases. Then the client selects the best scheme, to maximize certain error rate performance metric. When this method is applied, the cross-over point for the handoff strategy occurs at the intersection of the curves with triangles and rhombus in FIG. 12. One embodiment uses the modified IDCI-precoding method described in (6) where the neighbor cluster also transmits precoded data stream to the target client to provide array gain. With this approach the handoff strategy is simplified, since the client does not need to estimate the SINR for both strategies at the cross-over point.
    • C1-DIDO and C2-DIDO precoding: As the client moves out of the interference zone towards C2, the main cluster C1 stops pre-cancelling interference towards that target client via IDCI-precoding and switches back to conventional DIDO-precoding to all clients remaining in C1. This final cross-over point in our handoff strategy is useful to avoid unnecessary CSI feedback from the target client to C1, thereby reducing the overhead over the feedback channel. In one embodiment a second target SINRT2is defined. When the SINR (or SIR) increases above this target, the strategy is switched to C1-DIDO and C2-DIDO. In one embodiment, the cluster C1 keeps alternating between DIDO- and IDCI-precoding to allow the client to estimate the SINR. Then the client selects the method for C1 that more closely approaches the target SINRT1from above.

[0150]

The method described above computes the SINR or SIR estimates for different schemes in real time and uses them to select the optimal scheme. In one embodiment, the handoff algorithm is designed based on the finite-state machine illustrated in FIG. 14. The client keeps track of its current state and switches to the next state when the SINR or SIR drops below or above the predefined thresholds illustrated in FIG. 12. As discussed above, in state 1201, both clusters C1 and C2 operate with conventional DIDO precoding independently and the client is served by cluster C1; in state 1202, the client is served by cluster C1, the BTS in C2 computes IDCI-precoding and cluster C1 operates using conventional DIDO precoding; in state 1203, the client is served by cluster C2, the BTS in C1 computes IDCI-precoding and cluster C2 operates using conventional DIDO precoding; and in state 1204, the client is served by cluster C2, and both clusters C1 and C2 operate with conventional DIDO precoding independently.

[0151]

In presence of shadowing effects, the signal quality or SIR may fluctuate around the thresholds as shown in FIG. 15, causing repetitive switching between consecutive states in FIG. 14. Changing states repetitively is an undesired effect, since it results in significant overhead on the control channels between clients and BTSs to enable switching between transmission schemes. FIG. 15 depicts one example of a handoff strategy in the presence of shadowing. In one embodiment, the shadowing coefficient is simulated according to log-normal distribution with variance 3 [3]. Hereafter, we define some methods to prevent repetitive switching effect during DIDO handoff.

[0152]

One embodiment of the invention employs a hysteresis loop to cope with state switching effects. For example, when switching between “C1-DIDO,C2-IDCI” 9302 and “C1-IDCI,C2-DIDO” 9303 states in FIG. 14 (or vice versa) the threshold SINRT1can be adjusted within the range A1. This method avoids repetitive switches between states as the signal quality oscillates around SINRT1. For example, FIG. 16 shows the hysteresis loop mechanism when switching between any two states in FIG. 14. To switch from state B to A the SIR must be larger than (SIRT1+A1/2), but to switch back from A to B the SIR must drop below (SIRT1−A1/2).

[0153]

In a different embodiment, the threshold SINRT2is adjusted to avoid repetitive switching between the first and second (or third and fourth) states of the finite-state machine in FIG. 14. For example, a range of values A2may be defined such that the threshold SINRT2is chosen within that range depending on channel condition and shadowing effects.

[0154]

In one embodiment, depending on the variance of shadowing expected over the wireless link, the SINR threshold is dynamically adjusted within the range [SINRT2, SINRT2+A2]. The variance of the log-normal distribution can be estimated from the variance of the received signal strength (or RSSI) as the client moves from its current cluster to the neighbor cluster.

[0155]

The methods above assume the client triggers the handoff strategy. In one embodiment, the handoff decision is deferred to the DIDO BTSs, assuming communication across multiple BTSs is enabled.

[0156]

For simplicity, the methods above are derived assuming no FEC coding and 4-QAM. More generally, the SINR or SIR thresholds are derived for different modulation coding schemes (MCSs) and the handoff strategy is designed in combination with link adaptation (see, e.g., U.S. Pat. No. 7,636,381) to optimize downlink data rate to each client in the interfering zone.

[0157]

b. Handoff Between Low- and High-Doppler DIDO Networks

[0158]

DIDO systems employ closed-loop transmission schemes to precode data streams over the downlink channel. Closed-loop schemes are inherently constrained by latency over the feedback channel. In practical DIDO systems, computational time can be reduced by transceivers with high processing power and it is expected that most of the latency is introduced by the DIDO BSN, when delivering CSI and baseband precoded data from the BTS to the distributed antennas. The BSN can be comprised of various network technologies including, but not limited to, digital subscriber lines (DSL), cable modems, fiber rings, T1 lines, hybrid fiber coaxial (HFC) networks, and/or fixed wireless (e.g., WiFi). Dedicated fiber typically has very large bandwidth and low latency, potentially less than a millisecond in local region, but it is less widely deployed than DSL and cable modems. Today, DSL and cable modem connections typically have between 10-25 ms in last-mile latency in the United States, but they are very widely deployed.

[0159]

The maximum latency over the BSN determines the maximum Doppler frequency that can be tolerated over the DIDO wireless link without performance degradation of DIDO precoding. For example, in [1] we showed that at the carrier frequency of 400 MHz, networks with latency of about 10 msec (i.e., DSL) can tolerate clients' velocity up to 8 mph (running speed), whereas networks with 1 msec latency (i.e., fiber ring) can support speed up to 70 mph (i.e., freeway traffic).

[0160]

We define two or multiple DIDO sub-networks depending on the maximum Doppler frequency that can be tolerated over the BSN. For example, a BSN with high-latency DSL connections between the DIDO BTS and distributed antennas can only deliver low mobility or fixed-wireless services (i.e., low-Doppler network), whereas a low-latency BSN over a low-latency fiber ring can tolerate high mobility (i.e., high-Doppler network). We observe that the majority of broadband users are not moving when they use broadband, and further, most are unlikely to be located near areas with many high speed objects moving by (e.g., next to a highway) since such locations are typically less desirable places to live or operate an office. However, there are broadband users who will be using broadband at high speeds (e.g., while in a car driving on the highway) or will be near high speed objects (e.g., in a store located near a highway). To address these two differing user Doppler scenarios, in one embodiment, a low-Doppler DIDO network consists of a typically larger number of DIDO antennas with relatively low power (i.e., 1 W to 100 W, for indoor or rooftop installation) spread across a wide area, whereas a high-Doppler network consists of a typically lower number of DIDO antennas with high power transmission (i.e., 100 W for rooftop or tower installation). The low-Doppler DIDO network serves the typically larger number of low-Doppler users and can do so at typically lower connectivity cost using inexpensive high-latency broadband connections, such as DSL and cable modems. The high-Doppler DIDO network serves the typically fewer number of high-Doppler users and can do so at typically higher connectivity cost using more expensive low-latency broadband connections, such as fiber.

[0161]

To avoid interference across different types of DIDO networks (e.g. low-Doppler and high-Doppler), different multiple access techniques can be employed such as: time division multiple access (TDMA), frequency division multiple access (FDMA), or code division multiple access (CDMA).

[0162]

Hereafter, we propose methods to assign clients to different types of DIDO networks and enable handoff between them. The network selection is based on the type of mobility of each client. The client's velocity (v) is proportional to the maximum Doppler shift according to the following equation [6]

[0000]

fd=vλsinθ(11)

[0000]

where fdis the maximum Doppler shift, λ is the wavelength corresponding to the carrier frequency and θ is the angle between the vector indicating the direction transmitter-client and the velocity vector.

[0163]

In one embodiment, the Doppler shift of every client is calculated via blind estimation techniques. For example, the Doppler shift can be estimated by sending RF energy to the client and analyzing the reflected signal, similar to Doppler radar systems.

[0164]

In another embodiment, one or multiple DIDO antennas send training signals to the client. Based on those training signals, the client estimates the Doppler shift using techniques such as counting the zero-crossing rate of the channel gain, or performing spectrum analysis. We observe that for fixed velocity v and client's trajectory, the angular velocity ν sin θ in (11) may depend on the relative distance of the client from every DIDO antenna. For example, DIDO antennas in the proximity of a moving client yield larger angular velocity and Doppler shift than faraway antennas. In one embodiment, the Doppler velocity is estimated from multiple DIDO antennas at different distances from the client and the average, weighted average or standard deviation is used as an indicator for the client's mobility. Based on the estimated Doppler indicator, the DIDO BTS decides whether to assign the client to low- or high-Doppler networks.

[0165]

The Doppler indicator is periodically monitored for all clients and sent back to the BTS. When one or multiple clients change their Doppler velocity (i.e., client riding in the bus versus client walking or sitting), those clients are dynamically re-assigned to different DIDO network that can tolerate their level of mobility.

[0166]

Although the Doppler of low-velocity clients can be affected by being in the vicinity of high-velocity objects (e.g. near a highway), the Doppler is typically far less than the Doppler of clients that are in motion themselves. As such, in one embodiment, the velocity of the client is estimated (e.g. by using a means such as monitoring the clients position using GPS), and if the velocity is low, the client is assigned to a low-Doppler network, and if the velocity if high, the client is assigned to a high-Doppler network.

Methods for Power Control and Antenna Grouping

[0167]

The block diagram of DIDO systems with power control is depicted in FIG. 17. One or multiple data streams (sk) for every client (1, . . . , U) are first multiplied by the weights generated by the DIDO precoding unit. Precoded data streams are multiplied by power scaling factor computed by the power control unit, based on the input channel quality information (CQI). The CQI is either fed back from the clients to DIDO BTS or derived from the uplink channel assuming uplink-downlink channel reciprocity. The U precoded streams for different clients are then combined and multiplexed into M data streams (tm), one for each of the M transmit antennas. Finally, the streams tmare sent to the digital-to-analog converter (DAC) unit, the radio frequency (RF) unit, power amplifier (PA) unit and finally to the antennas.

[0168]

The power control unit measures the CQI for all clients. In one embodiment, the CQI is the average SNR or RSSI. The CQI varies for different clients depending on pathloss or shadowing. Our power control method adjusts the transmit power scaling factors Pkfor different clients and multiplies them by the precoded data streams generated for different clients. Note that one or multiple data streams may be generated for every client, depending on the number of clients' receive antennas.

[0169]

To evaluate the performance of the proposed method, we defined the following signal model based on (5), including pathloss and power control parameters

[0000]


rk=√{square root over (SNRPkαk)}HkWksk+nk  (12)

[0000]

where k=1, . . . , U, U is the number of clients, SNR=Po/No, with Pobeing the average transmit power, Nothe noise power and αkthe pathloss/shadowing coefficient. To model pathloss/shadowing, we use the following simplified model

[0000]

αk=-αk-1U(13)

[0000]

where a=4 is the pathloss exponent and we assume the pathloss increases with the clients' index (i.e., clients are located at increasing distance from the DIDO antennas).

[0170]

FIG. 18 shows the SER versus SNR assuming four DIDO transmit antennas and four clients in different scenarios. The ideal case assumes all clients have the same pathloss (i.e., a=0), yielding Pk=1 for all clients. The plot with squares refers to the case where clients have different pathloss coefficients and no power control. The curve with dots is derived from the same scenario (with pathloss) where the power control coefficients are chosen such that Pk=1/αk. With the power control method, more power is assigned to the data streams intended to the clients that undergo higher pathloss/shadowing, resulting in 9 dB SNR gain (for this particular scenario) compared to the case with no power control.

[0171]

The Federal Communications Commission (FCC) (and other international regulatory agencies) defines constraints on the maximum power that can be transmitted from wireless devices to limit the exposure of human body to electromagnetic (EM) radiation. There are two types of limits [2]: i) “occupational/controlled” limit, where people are made fully aware of the radio frequency (RF) source via fences, warnings or labels; ii) “general population/uncontrolled” limit where there is no control over the exposure.

[0172]

Different emission levels are defined for different types of wireless devices. In general, DIDO distributed antennas used for indoor/outdoor applications qualify for the FCC category of “mobile” devices, defined as [2]:

[0000]

“transmitting devices designed to be used in other than fixed locations that would normally be used with radiating structures maintained 20 cm or more from the body of the user or nearby persons.”

[0173]

The EM emission of “mobile” devices is measured in terms of maximum permissible exposure (MPE), expressed in mW/cm2. FIG. 19 shows the MPE power density as a function of distance from the source of RF radiation for different values of transmit power at 700 MHz carrier frequency. The maximum allowed transmit power to meet the FCC “uncontrolled” limit for devices that typically operate beyond 20 cm from the human body is 1 W.

[0174]

Less restrictive power emission constraints are defined for transmitters installed on rooftops or buildings, away from the “general population”. For these “rooftop transmitters” the FCC defines a looser emission limit of 1000 W, measured in terms of effective radiated power (ERP).

[0175]

Based on the above FCC constraints, in one embodiment we define two types of DIDO distributed antennas for practical systems:

    • Low-power (LP) transmitters: located anywhere (i.e., indoor or outdoor) at any height, with maximum transmit power of 1 W and 5 Mbps consumer-grade broadband (e.g. DSL, cable modem, Fibe To The Home (FTTH)) backhaul connectivity.
    • High-power (HP) transmitters: rooftop or building mounted antennas at height of approximately 10 meters, with transmit power of 100 W and a commercial-grade broadband (e.g. optical fiber ring) backhaul (with effectively “unlimited” data rate compared to the throughput available over the DIDO wireless links).

[0178]

Note that LP transmitters with DSL or cable modem connectivity are good candidates for low-Doppler DIDO networks (as described in the previous section), since their clients are mostly fixed or have low mobility. HP transmitters with commercial fiber connectivity can tolerate higher client's mobility and can be used in high-Doppler DIDO networks.

[0179]

To gain practical intuition on the performance of DIDO systems with different types of LP/HP transmitters, we consider the practical case of DIDO antenna installation in downtown Palo Alto, Calif. FIG. 20a shows a random distribution of NLP=100 low-power DIDO distributed antennas in Palo Alto. In FIG. 20b, 50 LP antennas are substituted with NHP=50 high-power transmitters.

[0180]

Based on the DIDO antenna distributions in FIGS. 20a-b, we derive the coverage maps in Palo Alto for systems using DIDO technology. FIGS. 21a and 21b show two power distributions corresponding to the configurations in FIG. 20a and FIG. 20b, respectively. The received power distribution (expressed in dBm) is derived assuming the pathloss/shadowing model for urban environments defined by the 3GPP standard [3] at the carrier frequency of 700 MHz. We observe that using 50% of HP transmitters yields better coverage over the selected area.

[0181]

FIGS. 22a-b depict the rate distribution for the two scenarios above. The throughput (expressed in Mbps) is derived based on power thresholds for different modulation coding schemes defined in the 3GPP long-term evolution (LTE) standard in [4,5]. The total available bandwidth is fixed to 10 MHz at 700 MHz carrier frequency. Two different frequency allocation plans are considered: i) 5 MHz spectrum allocated only to the LP stations; ii) 9 MHz to HP transmitters and 1 MHz to LP transmitters. Note that lower bandwidth is typically allocated to LP stations due to their DSL backhaul connectivity with limited throughput. FIGS. 22a-b shows that when using 50% of HP transmitters it is possible to increase significantly the rate distribution, raising the average per-client data rate from 2.4 Mbps in FIGS. 22a to 38 Mbps in FIG. 22b.

[0182]

Next, we defined algorithms to control power transmission of LP stations such that higher power is allowed at any given time, thereby increasing the throughput over the downlink channel of DIDO systems in FIG. 22b. We observe that the FCC limits on the power density is defined based on average over time as [2]

[0000]

S=n=1NsntnTMPE(14)

[0000]

where TMPEn=1Ntnis the MPE averaging time, tnis the period of time of exposure to radiation with power density Sn. For “controlled” exposure the average time is 6 minutes, whereas for “uncontrolled” exposure it is increased up to 30 minutes. Then, any power source is allowed to transmit at larger power levels than the MPE limits, as long as the average power density in (14) satisfies the FCC limit over 30 minute average for “uncontrolled” exposure.

[0183]

Based on this analysis, we define adaptive power control methods to increase instantaneous per-antenna transmit power, while maintaining average power per DIDO antenna below MPE limits. We consider DIDO systems with more transmit antennas than active clients. This is a reasonable assumption given that DIDO antennas can be conceived as inexpensive wireless devices (similar to WiFi access points) and can be placed anywhere there is DSL, cable modem, optical fiber, or other Internet connectivity.

[0184]

The framework of DIDO systems with adaptive per-antenna power control is depicted in FIG. 23. The amplitude of the digital signal coming out of the multiplexer 234 is dynamically adjusted with power scaling factors S1, . . . , SM, before being sent to the DAC units 235. The power scaling factors are computed by the power control unit 232 based on the CQI 233.

[0185]

In one embodiment, NgDIDO antenna groups are defined. Every group contains at least as many DIDO antennas as the number of active clients (K). At any given time, only one group has Na>K active DIDO antennas transmitting to the clients at larger power level (So) than MPE limit (MPE). One method iterates across all antenna groups according to Round-Robin scheduling policy depicted in FIG. 24. In another embodiment, different scheduling techniques (i.e., proportional-fair scheduling [8]) are employed for cluster selection to optimize error rate or throughput performance.

[0186]

Assuming Round-Robin power allocation, from (14) we derive the average transmit power for every DIDO antenna as

[0000]

S=SOtoTMPEMPE_(15)

[0000]

where tois the period of time over which the antenna group is active and TMPE=30 min is the average time defined by the FCC guidelines [2]. The ratio in (15) is the duty factor (DF) of the groups, defined such that the average transmit power from every DIDO antenna satisfies the MPE limit (MPE). The duty factor depends on the number of active clients, the number of groups and active antennas per-group, according to the following definition

[0000]

DF=ΔKNgNa=toTMPE.(16)

[0000]

The SNR gain (in dB) obtained in DIDO systems with power control and antenna grouping is expressed as a function of the duty factor as

[0000]

GdB=10log10(1DF).(17)

[0000]

We observe the gain in (17) is achieved at the expense of GdBadditional transmit power across all DIDO antennas.

[0187]

In general, the total transmit power from all Naof all Nggroups is defined as

[0000]


Pj=1NgΣi=NaPij  (18)

[0000]

where the Pijis the average per-antenna transmit power given by

[0000]

Pij=1TMPE0TMPESij(t)tMPE_(19)

[0000]

and Sij(t) is the power spectral density for the ithtransmit antenna within the jthgroup. In one embodiment, the power spectral density in (19) is designed for every antenna to optimize error rate or throughput performance.

[0188]

To gain some intuition on the performance of the proposed method, consider 400 DIDO distributed antennas in a given coverage area and 400 clients subscribing to a wireless Internet service offered over DIDO systems. It is unlikely that every Internet connection will be fully utilized all the time. Let us assume that 10% of the clients will be actively using the wireless Internet connection at any given time. Then, 400 DIDO antennas can be divided in Ng=10 groups of Na=40 antennas each, every group serving K=40 active clients at any given time with duty factor DF=0.1. The SNR gain resulting from this transmission scheme is Gdm3=10 log10(1/DF)=10 dB, provided by 10 dB additional transmit power from all DIDO antennas. We observe, however, that the average per-antenna transmit power is constant and is within the MPE limit.

[0189]

FIG. 25 compares the (uncoded) SER performance of the above power control with antenna grouping against conventional eigenmode selection in U.S. Pat. No. 7,636,381. All schemes use BD precoding with four clients, each client equipped with single antenna. The SNR refers to the ratio of per-transmit-antenna power over noise power (i.e., per-antenna transmit SNR). The curve denoted with DIDO 4×4 assumes four transmit antenna and BD precoding. The curve with squares denotes the SER performance with two extra transmit antennas and BD with eigenmode selection, yielding 10 dB SNR gain (at 1% SER target) over conventional BD precoding. Power control with antenna grouping and DF=1/10 yields 10 dB gain at the same SER target as well. We observe that eigenmode selection changes the slope of the SER curve due to diversity gain, whereas our power control method shifts the SER curve to the left (maintaining the same slope) due to increased average transmit power. For comparison, the SER with larger duty factor DF=1/50 is shown to provide additional 7 dB gain compared to DF=1/10.

[0190]

Note that our power control may have lower complexity than conventional eigenmode selection methods. In fact, the antenna ID of every group can be pre-computed and shared among DIDO antennas and clients via lookup tables, such that only K channel estimates are required at any given time. For eigenmode selection, (K+2) channel estimates are computed and additional computational processing is required to select the eigenmode that minimizes the SER at any given time for all clients.

[0191]

Next, we describe another method involving DIDO antenna grouping to reduce CSI feedback overhead in some special scenarios. FIG. 26a shows one scenario where clients (dots) are spread randomly in one area covered by multiple DIDO distributed antennas (crosses). The average power over every transmit-receive wireless link can be computed as

[0000]


A={|H|2}.  (20)

[0000]

where H is the channel estimation matrix available at the DIDO BTS.

[0192]

The matrices A in FIGS. 26a-c are obtained numerically by averaging the channel matrices over 1000 instances. Two alternative scenarios are depicted in FIG. 26b and FIG. 26c, respectively, where clients are grouped together around a subset of DIDO antennas and receive negligible power from DIDO antennas located far away. For example, FIG. 26b shows two groups of antennas yielding block diagonal matrix A. One extreme scenario is when every client is very close to only one transmitter and the transmitters are far away from one another, such that the power from all other DIDO antennas is negligible. In this case, the DIDO link degenerates in multiple SISO links and A is a diagonal matrix as in FIG. 26c.

[0193]

In all three scenarios above, the BD precoding dynamically adjusts the precoding weights to account for different power levels over the wireless links between DIDO antennas and clients. It is convenient, however, to identify multiple groups within the DIDO cluster and operate DIDO precoding only within each group. Our proposed grouping method yields the following advantages:

    • Computational gain: DIDO precoding is computed only within every group in the cluster. For example, if BD precoding is used, singular value decomposition (SVD) has complexity O(n3), where n is the minimum dimension of the channel matrix H. If H can be reduced to a block diagonal matrix, the SVD is computed for every block with reduced complexity. In fact, if the channel matrix is divided into two block matrices with dimensions n1and n2such that n=n1+n2, the complexity of the SVD is only O(n13)+O(n23)<O(n3). In the extreme case, if H is diagonal matrix, the DIDO link reduce to multiple SISO links and no SVD calculation is required.
    • Reduced CSI feedback overhead: When DIDO antennas and clients are divided into groups, in one embodiment, the CSI is computed from the clients to the antennas only within the same group. In TDD systems, assuming channel reciprocity, antenna grouping reduces the number of channel estimates to compute the channel matrix H. In FDD systems where the CSI is fed back over the wireless link, antenna grouping further yields reduction of CSI feedback overhead over the wireless links between DIDO antennas and clients.

Multiple Access Techniques for the DIDO Uplink Channel

[0196]

In one embodiment of the invention, different multiple access techniques are defined for the DIDO uplink channel. These techniques can be used to feedback the CSI or transmit data streams from the clients to the DIDO antennas over the uplink. Hereafter, we refer to feedback CSI and data streams as uplink streams.

    • Multiple-input multiple-output (MIMO): the uplink streams are transmitted from the client to the DIDO antennas via open-loop MIMO multiplexing schemes. This method assumes all clients are time/frequency synchronized. In one embodiment, synchronization among clients is achieved via training from the downlink and all DIDO antennas are assumed to be locked to the same time/frequency reference clock. Note that variations in delay spread at different clients may generate jitter between the clocks of different clients that may affect the performance of MIMO uplink scheme. After the clients send uplink streams via MIMO multiplexing schemes, the receive DIDO antennas may use non-linear (i.e., maximum likelihood, ML) or linear (i.e., zeros-forcing, minimum mean squared error) receivers to cancel co-channel interference and demodulate the uplink streams individually.
    • Time division multiple access (TDMA): Different clients are assigned to different time slots. Every client sends its uplink stream when its time slot is available.
    • Frequency division multiple access (FDMA): Different clients are assigned to different carrier frequencies. In multicarrier (OFDM) systems, subsets of tones are assigned to different clients that transmit the uplink streams simultaneously, thereby reducing latency.
    • Code division multiple access (CDMA): Every client is assigned to a different pseudo-random sequence and orthogonality across clients is achieved in the code domain.

[0201]

In one embodiment of the invention, the clients are wireless devices that transmit at much lower power than the DIDO antennas. In this case, the DIDO BTS defines client sub-groups based on the uplink SNR information, such that interference across sub-groups is minimized. Within every sub-group, the above multiple access techniques are employed to create orthogonal channels in time, frequency, space or code domains thereby avoiding uplink interference across different clients.

[0202]

In another embodiment, the uplink multiple access techniques described above are used in combination with antenna grouping methods presented in the previous section to define different client groups within the DIDO cluster.

System and Method for Link Adaptation in DIDO Multicarrier Systems

[0203]

Link adaptation methods for DIDO systems exploiting time, frequency and space selectivity of wireless channels were defined in U.S. Pat. No. 7,636,381. Described below are embodiments of the invention for link adaptation in multicarrier (OFDM) DIDO systems that exploit time/frequency selectivity of wireless channels.

[0204]

We simulate Rayleigh fading channels according to the exponentially decaying power delay profile (PDP) or Saleh-Valenzuela model in [9]. For simplicity, we assume single-cluster channel with multipath PDP defined as

[0000]


Pn=e−βn  (21)

[0000]

where n=0, . . . , L−1, is the index of the channel tap, L is the number of channel taps and β=1/σDSis the PDP exponent that is an indicator of the channel coherence bandwidth, inverse proportional to the channel delay spread (σDS). Low values of β yield frequency-flat channels, whereas high values of β produce frequency selective channels. The PDP in (21) is normalized such that the total average power for all L channel taps is unitary

[0000]

P_n=Pni=0L-1Pi.(22)

[0000]

FIG. 27 depicts the amplitude of low frequency selective channels (assuming β=1) over delay domain or instantaneous PDP (upper plot) and frequency domain (lower plot) for DIDO 2×2 systems. The first subscript indicates the client, the second subscript the transmit antenna. High frequency selective channels (with β=0.1) are shown in FIG. 28.

[0205]

Next, we study the performance of DIDO precoding in frequency selective channels. We compute the DIDO precoding weights via BD, assuming the signal model in (1) that satisfies the condition in (2). We reformulate the DIDO receive signal model in (5), with the condition in (2), as

[0000]


rk=HekSk+nk.  (23)

[0206]

where Hex=HkWkis the effective channel matrix for user k. For DIDO 2×2, with a single antenna per client, the effective channel matrix reduces to one value with a frequency response shown in FIG. 29 and for channels characterized by high frequency selectivity (e.g., with β=0.1) in FIG. 28. The continuous line in FIG. 29 refers to client 1, whereas the line with dots refers to client 2. Based on the channel quality metric in FIG. 29 we define time/frequency domain link adaptation (LA) methods that dynamically adjust MCSs, depending on the changing channel conditions.

[0207]

We begin by evaluating the performance of different MCSs in AWGN and Rayleigh fading SISO channels. For simplicity, we assume no FEC coding, but the following LA methods can be extended to systems that include FEC.

[0208]

FIG. 30 shows the SER for different QAM schemes (i.e., 4-QAM, 16-QAM, 64-QAM). Without loss of generality, we assume target SER of 1% for uncoded systems. The SNR thresholds to meet that target SER in AWGN channels are 8 dB, 15.5 dB and 22 dB for the three modulation schemes, respectively. In Rayleigh fading channels, it is well known the SER performance of the above modulation schemes is worse than AWGN [13] and the SNR thresholds are: 18.6 dB, 27.3 dB and 34.1 dB, respectively. We observe that DIDO precoding transforms the multi-user downlink channel into a set of parallel SISO links. Hence, the same SNR thresholds as in FIG. 30 for SISO systems hold for DIDO systems on a client-by-client basis. Moreover, if instantaneous LA is carried out, the thresholds in AWGN channels are used.

[0209]

The key idea of the proposed LA method for DIDO systems is to use low MCS orders when the channel undergoes deep fades in the time domain or frequency domain (depicted in FIG. 28) to provide link-robustness. Contrarily, when the channel is characterized by large gain, the LA method switches to higher MCS orders to increase spectral efficiency. One contribution of the present application compared to U.S. Pat. No. 7,636,381 is to use the effective channel matrix in (23) and in FIG. 29 as a metric to enable adaptation.

[0210]

The general framework of the LA methods is depicted in FIG. 31 and defined as follows:

    • CSI estimation: At 3171 the DIDO BTS computes the CSI from all users. Users may be equipped with single or multiple receive antennas.
    • DIDO precoding: At 3172, the BTS computes the DIDO precoding weights for all users. In one embodiment, BD is used to compute these weights. The precoding weights are calculated on a tone-by-tone basis.
    • Link-quality metric calculation: At 3173 the BTS computes the frequency-domain link quality metrics. In OFDM systems, the metrics are calculated from the CSI and DIDO precoding weights for every tone. In one embodiment of the invention, the link-quality metric is the average SNR over all OFDM tones. We define this method as LA1 (based on average SNR performance). In another embodiment, the link quality metric is the frequency response of the effective channel in (23). We define this method as LA2 (based on tone-by-tone performance to exploit frequency diversity). If every client has single antenna, the frequency-domain effective channel is depicted in FIG. 29. If the clients have multiple receive antennas, the link-quality metric is defined as the Frobenius norm of the effective channel matrix for every tone. Alternatively, multiple link-quality metrics are defined for every client as the singular values of the effective channel matrix in (23).
    • Bit-loading algorithm: At 3174, based on the link-quality metrics, the BTS determines the MCSs for different clients and different OFDM tones. For LA1 method, the same MCS is used for all clients and all OFDM tones based on the SNR thresholds for Rayleigh fading channels in FIG. 30. For LA2, different MCSs are assigned to different OFDM tones to exploit channel frequency diversity.
    • Precoded data transmission: At 3175, the BTS transmits precoded data streams from the DIDO distributed antennas to the clients using the MCSs derived from the bit-loading algorithm. One header is attached to the precoded data to communicate the MCSs for different tones to the clients. For example, if eight MCSs are available and the OFDM symbols are defined with N=64 tone, log 2(8)*N=192 bits are required to communicate the current MCS to every client. Assuming 4-QAM (2 bits/symbol spectral efficiency) is used to map those bits into symbols, only 192/2/N=1.5 OFDM symbols are required to map the MCS information. In another embodiment, multiple subcarriers (or OFDM tones) are grouped into subbands and the same MCS is assigned to all tones in the same subband to reduce the overhead due to control information. Moreover, the MCS are adjusted based on temporal variations of the channel gain (proportional to the coherence time). In fixed-wireless channel (characterized by low Doppler effect) the MCS are recalculated every fraction of the channel coherence time, thereby reducing the overhead required for control information.

[0216]

FIG. 32 shows the SER performance of the LA methods described above. For comparison, the SER performance in Rayleigh fading channels is plotted for each of the three QAM schemes used. The LA2 method adapts the MCSs to the fluctuation of the effective channel in the frequency domain, thereby providing 1.8 bps/Hz gain in spectral efficiency for low SNR (i.e., SNR=20 dB) and 15 dB gain in SNR (for SNR>35 dB) compared to LA1.

System and Method for DIDO Precoding Interpolation in Multicarrier Systems

[0217]

The computational complexity of DIDO systems is mostly localized at the centralized processor or BTS. The most computationally expensive operation is the calculation of the precoding weights for all clients from their CSI. When BD precoding is employed, the BTS has to carry out as many singular value decomposition (SVD) operations as the number of clients in the system. One way to reduce complexity is through parallelized processing, where the SVD is computed on a separate processor for every client.

[0218]

In multicarrier DIDO systems, each subcarrier undergoes flat-fading channel and the SVD is carried out for every client over every subcarrier. Clearly the complexity of the system increases linearly with the number of subcarriers. For example, in OFDM systems with 1 MHz signal bandwidth, the cyclic prefix (L0) must have at least eight channel taps (i.e., duration of 8 microseconds) to avoid intersymbol interference in outdoor urban macrocell environments with large delay spread [3]. The size (NFFT) of the fast Fourier transform (FFT) used to generate the OFDM symbols is typically set to multiple of L0to reduce loss of data rate. If NFFT=64, the effective spectral efficiency of the system is limited by a factor NFFT/(NFFT+L0)=89%. Larger values of NFFTyield higher spectral efficiency at the expense of higher computational complexity at the DIDO precoder.

[0219]

One way to reduce computational complexity at the DIDO precoder is to carry out the SVD operation over a subset of tones (that we call pilot tones) and derive the precoding weights for the remaining tones via interpolation. Weight interpolation is one source of error that results in inter-client interference. In one embodiment, optimal weight interpolation techniques are employed to reduce inter-client interference, yielding improved error rate performance and lower computational complexity in multicarrier systems. In DIDO systems with M transmit antennas, U clients and N receive antennas per clients, the condition for the precoding weights of the kthclient (Wk) that guarantees zero interference to the other clients u is derived from (2) as

[0000]


HuWk=0N×N; ∀u=1, . . . ,U; with u≠k  (24)

[0000]

where Huare the channel matrices corresponding to the other DIDO clients in the system.

[0220]

In one embodiment of the invention, the objective function of the weight interpolation method is defined as

[0000]

f(θk)=u=1ukU||HuW^k(θk)||F(25)

[0000]

where θkis the set of parameters to be optimized for user k, Ŵkk) is the weight interpolation matrix and ∥·∥Fdenotes the Frobenius norm of a matrix. The optimization problem is formulated as

[0000]

θk,opt=argminθkΘkf(θk)(26)

[0000]

where θkis the feasible set of the optimization problem and θk,optis the optimal solution.

[0221]

The objective function in (25) is defined for one OFDM tone. In another embodiment of the invention, the objective function is defined as linear combination of the Frobenius norm in (25) of the matrices for all the OFDM tones to be interpolated. In another embodiment, the OFDM spectrum is divided into subsets of tones and the optimal solution is given by

[0000]

θk,opt=argminθkΘkmaxnAf(n,θk)(27)

[0000]

where n is the OFDM tone index and A is the subset of tones.

[0222]

The weight interpolation matrix Wkk) in (25) is expressed as a function of a set of parameters θk. Once the optimal set is determined according to (26) or (27), the optimal weight matrix is computed. In one embodiment of the invention, the weight interpolation matrix of given OFDM tone n is defined as linear combination of the weight matrices of the pilot tones. One example of weight interpolation function for beamforming systems with single client was defined in [11]. In DIDO multi-client systems we write the weight interpolation matrix as

[0000]


Ŵk(lN0+n,θk)=(1−cnW(l)+cnek·W(l+1)  (28)

[0000]

where 0≦l≦(L0−1), L0is the number of pilot tones and cn=(n−1)/N0, with N0=NFFT/L0. The weight matrix in (28) is then normalized such that ∥ŴkF=√{square root over (NM)} to guarantee unitary power transmission from every antenna. If N=1 (single receive antenna per client), the matrix in (28) becomes a vector that is normalized with respect to its norm. In one embodiment of the invention, the pilot tones are chosen uniformly within the range of the OFDM tones. In another embodiment, the pilot tones are adaptively chosen based on the CSI to minimize the interpolation error.

[0223]

We observe that one key difference of the system and method in [11] against the one proposed in this patent application is the objective function. In particular, the systems in [11] assumes multiple transmit antennas and single client, so the related method is designed to maximize the product of the precoding weight by the channel to maximize the receive SNR for the client. This method, however, does not work in multi-client scenarios, since it yields inter-client interference due to interpolation error. By contrast, our method is designed to minimize inter-client interference thereby improving error rate performance to all clients.

[0224]

FIG. 33 shows the entries of the matrix in (28) as a function of the OFDM tone index for DIDO 2×2 systems with NFFT=64 and L0=8. The channel PDP is generated according to the model in (21) with β=1 and the channel consists of only eight channel taps. We observe that L0must be chosen to be larger than the number of channel taps. The solid lines in FIG. 33 represent the ideal functions, whereas the dotted lines are the interpolated ones. The interpolated weights match the ideal ones for the pilot tones, according to the definition in (28). The weights computed over the remaining tones only approximate the ideal case due to estimation error.

[0225]

One way to implement the weight interpolation method is via exhaustive search over the feasible set θkin (26). To reduce the complexity of the search, we quantize the feasible set into ithvalues uniformly in the range [0,2π]. FIG. 34 shows the SER versus SNR for L0=8, M=Nt=2 transmit antennas and variable number of P. As the number of quantization levels increases, the SER performance improves. We observe the case P=10 approaches the performance of P=100 for much lower computational complexity, due to reduced number of searches.

[0226]

FIG. 35 shows the SER performance of the interpolation method for different DIDO orders and L0=16. We assume the number of clients is the same as the number of transmit antennas and every client is equipped with single antenna. As the number of clients increases the SER performance degrades due to increase inter-client interference produced by weight interpolation errors.

[0227]

In another embodiment of the invention, weight interpolation functions other than those in (28) are used. For example, linear prediction autoregressive models [12] can be used to interpolate the weights across different OFDM tones, based on estimates of the channel frequency correlation.

REFERENCES

[0000]

  • [1] A. Forenza and S. G. Perlman, “System and method for distributed antenna wireless communications”, U.S. application Ser. No. 12/630,627, filed Dec. 2, 2009, entitled “System and Method For Distributed Antenna Wireless Communications”
  • [2] FCC, “Evaluating compliance with FCC guidelines for human exposure to radiofrequency electromagnetic fields,” OET Bulletin 65, Ed. 97-01, August 1997
  • [3] 3GPP, “Spatial Channel Model AHG (Combined ad-hoc from 3GPP & 3GPP2)”, SCM Text V6.0, Apr. 22, 2003
  • [4] 3GPP TR 25.912, “Feasibility Study for Evolved UTRA and UTRAN”, V9.0.0 (2009-10)
  • [5] 3GPP TR 25.913, “Requirements for Evolved UTRA (E-UTRA) and Evolved UTRAN (E-UTRAN)”, V8.0.0 (2009-01)
  • [6] W. C. Jakes, Microwave Mobile Communications, IEEE Press, 1974
  • [7] K. K. Wong, et al., “A joint channel diagonalization for multiuser MIMO antenna systems,” IEEE Trans. Wireless Comm., vol. 2, pp. 773-786, July 2003;
  • [8] P. Viswanath, et al., “Opportunistic beamforming using dump antennas,” IEEE Trans. On Inform. Theory, vol. 48, pp. 1277-1294, June 2002.
  • [9] A. A. M. Saleh, et al., “A statistical model for indoor multipath propagation,” IEEE Jour. Select. Areas in Comm., vol. 195 SAC-5, no. 2, pp. 128-137, February 1987.
  • [10] A. Paulraj, et al., Introduction to Space-Time Wireless Communications, Cambridge University Press, 40 West 20th Street, New York, N.Y., USA, 2003.
  • [11] J. Choi, et al., “Interpolation Based Transmit Beamforming for MIMO-OFDM with Limited Feedback,” IEEE Trans. on Signal Processing, vol. 53, no. 11, pp. 4125-4135, November 2005.
  • [12] I. Wong, et al., “Long Range Channel Prediction for Adaptive OFDM Systems,” Proc. of the IEEE Asilomar Conf. on Signals, Systems, and Computers, vol. 1, pp. 723-736, Pacific Grove, C A, USA, Nov. 7-10, 2004.
  • [13] J. G. Proakis, Communication System Engineering, Prentice Hall, 1994
  • [14] B. D. Van Veen, et al., “Beamforming: a versatile approach to spatial filtering,” IEEE ASSP Magazine, April 1988.
  • [15] R. G. Vaughan, “On optimum combining at the mobile,” IEEE Trans. On Vehic. Tech., vol 37, n. 4, pp. 181-188, November 1988
  • [16] F. Qian, “Partially adaptive beamforming for correlated interference rejection,” IEEE Trans. On Sign. Proc., vol. 43, n. 2, pp. 506-515, February 1995
  • [17] H. Krim, et. al., “Two decades of array signal processing research,” IEEE Signal Proc. Magazine, pp. 67-94, July 1996
  • [19] W. R. Remley, “Digital beamforming system”, U.S. Pat. No. 4,003,016, January 1977
  • [18] R. J. Masak, “Beamforming/null-steering adaptive array”, U.S. Pat. No. 4,771,289, September 1988
  • [20] K.-B. Yu, et. al., “Adaptive digital beamforming architecture and algorithm for nulling mainlobe and multiple sidelobe radar jammers while preserving monopulse ratio angle estimation accuracy”, U.S. Pat. No. 5,600,326, February 1997
  • [21] H. Boche, et al., “Analysis of different precoding/decoding strategies for multiuser beamforming”, IEEE Vehic. Tech. Conf., vol. 1, April 2003
  • [22] M. Schubert, et al., “Joint ‘dirty paper’ pre-coding and downlink beamforming,” vol. 2, pp. 536-540, December 2002
  • [23] H. Boche, et al. “A general duality theory for uplink and downlink beamformingc”, vol. 1, pp. 87-91, December 2002
  • [24] K. K. Wong, R. D. Murch, and K. B. Letaief, “A joint channel diagonalization for multiuser MIMO antenna systems,” IEEE Trans. Wireless Comm., vol. 2, pp. 773-786, July 2003;
  • [25] Q. H. Spencer, A. L. Swindlehurst, and M. Haardt, “Zero forcing methods for downlink spatial multiplexing in multiuser MIMO channels,” IEEE Trans. Sig. Proc., vol. 52, pp. 461-471, February 2004.

II. Disclosure of the Present Application

[0253]

Described below are wireless radio frequency (RF) communication systems and methods employing a plurality of distributed transmitting antennas operating cooperatively to create wireless links to given users, while suppressing interference to other users. Coordination across different transmitting antennas is enabled via user-clustering. The user cluster is a subset of transmitting antennas whose signal can be reliably detected by given user (i.e., received signal strength above noise or interference level). Every user in the system defines its own user-cluster. The waveforms sent by the transmitting antennas within the same user-cluster coherently combine to create RF energy at the target user's location and points of zero RF interference at the location of any other user reachable by those antennas.

[0254]

Consider a system with M transmit antennas within one user-cluster and K users reachable by those M antennas, with K≦M. We assume the transmitters are aware of the CSI (HεCK×M) between the M transmit antennas and K users. For simplicity, every user is assumed to be equipped with a single antenna, but the same method can be extended to multiple receive antennas per user. Consider the channel matrix H obtained by combining the channel vectors (hkεC1×M) from the M transmit antennas to the K users as

[0000]

H=[h1hkhK].

[0255]

The precoding weights (WkεCM×1) that create RF energy to user k and zero RF energy to all other K−1 users are computed to satisfy the following condition

[0000]


{tilde over (H)}kwk=0K×1

[0000]

where {tilde over (H)}kis the effective channel matrix of user k obtained by removing the k-th row of matrix H and 0K×1is the vector with all zero entries

[0256]

In one embodiment, the wireless system is a DIDO system and user clustering is employed to create a wireless communication link to the target user, while pre-cancelling interference to any other user reachable by the antennas lying within the user-cluster. In U.S. application Ser. No. 12/630,627, a DIDO system is described which includes:

    • DIDO clients: user terminals equipped with one or multiple antennas;
    • DIDO distributed antennas: transceiver stations operating cooperatively to transmit precoded data streams to multiple users, thereby suppressing inter-user interference;
    • DIDO base transceiver stations (BTS): centralized processor generating precoded waveforms to the DIDO distributed antennas;
    • DIDO base station network (BSN): wired backhaul connecting the BTS to the DIDO distributed antennas or to other BTSs.
    • The DIDO distributed antennas are grouped into different subsets depending on their spatial distribution relative to the location of the BTSs or DIDO clients. We define three types of clusters, as depicted in FIG. 36:
    • Super-cluster 3640: is the set of DIDO distributed antennas connected to one or multiple BTSs such that the round-trip latency between all BTSs and the respective users is within the constraint of the DIDO precoding loop;
    • DIDO-cluster 3641: is the set of DIDO distributed antennas connected to the same BTS. When the super-cluster contains only one BTS, its definition coincides with the DIDO-cluster;
    • User-cluster 3642: is the set of DIDO distributed antennas that cooperatively transmit precoded data to given user.

[0265]

For example, the BTSs are local hubs connected to other BTSs and to the DIDO distributed antennas via the BSN. The BSN can be comprised of various network technologies including, but not limited to, digital subscriber lines (DSL), ADSL, VDSL [6], cable modems, fiber rings, T1 lines, hybrid fiber coaxial (HFC) networks, and/or fixed wireless (e.g., WiFi). All BTSs within the same super-cluster share information about DIDO precoding via the BSN such that the round-trip latency is within the DIDO precoding loop.

[0266]

In FIG. 37, the dots denote DIDO distributed antennas, the crosses are the users and the dashed lines indicate the user-clusters for users U1 and U8, respectively. The method described hereafter is designed to create a communication link to the target user U1 while creating points of zero RF energy to any other user (U2-U8) inside or outside the user-cluster.

[0267]

We proposed similar method in [5], where points of zero RF energy were created to remove interference in the overlapping regions between DIDO clusters. Extra antennas were required to transmit signal to the clients within the DIDO cluster while suppressing inter-cluster interference. One embodiment of a method proposed in the present application does not attempt to remove inter-DIDO-cluster interference; rather it assumes the cluster is bound to the client (i.e., user-cluster) and guarantees that no interference (or negligible interference) is generated to any other client in that neighborhood.

[0268]

One idea associated with the proposed method is that users far enough from the user-cluster are not affected by radiation from the transmit antennas, due to large pathloss. Users close or within the user-cluster receive interference-free signal due to precoding. Moreover, additional transmit antennas can be added to the user-cluster (as shown in FIG. 37) such that the condition K≦M is satisfied.

[0269]

One embodiment of a method employing user clustering consists of the following steps:

  • a. Link-quality measurements: the link quality between every DIDO distributed antenna and every user is reported to the BTS. The link-quality metric consists of signal-to-noise ratio (SNR) or signal-to-interference-plus-noise ratio (SINR).
    In one embodiment, the DIDO distributed antennas transmit training signals and the users estimate the received signal quality based on that training. The training signals are designed to be orthogonal in time, frequency or code domains such that the users can distinguish across different transmitters. Alternatively, the DIDO antennas transmit narrowband signals (i.e., single tone) at one particular frequency (i.e., a beacon channel) and the users estimate the link-quality based on that beacon signal. One threshold is defined as the minimum signal amplitude (or power) above the noise level to demodulate data successfully as shown in FIG. 38a. Any link-quality metric value below this threshold is assumed to be zero. The link-quality metric is quantized over a finite number of bits and fed back to the transmitter. In a different embodiment, the training signals or beacons are sent from the users and the link quality is estimated at the DIDO transmit antennas (as in FIG. 38b), assuming reciprocity between uplink (UL) and downlink (DL) pathloss. Note that pathloss reciprocity is a realistic assumption in time division duplexing (TDD) systems (with UL and DL channels at the same frequency) and frequency division duplexing (FDD) systems when the UL and DL frequency bands are relatively close. Information about the link-quality metrics is shared across different BTSs through the BSN as depicted in FIG. 37 such that all BTSs are aware of the link-quality between every antenna/user couple across different DIDO clusters.
  • b. Definition of user-clusters: the link-quality metrics of all wireless links in the DIDO clusters are the entries to the link-quality matrix shared across all BTSs via the BSN. One example of link-quality matrix for the scenario in FIG. 37 is depicted in FIG. 39.

[0272]

The link-quality matrix is used to define the user clusters. For example, FIG. 39 shows the selection of the user cluster for user U8. The subset of transmitters with non-zero link-quality metrics (i.e., active transmitters) to user U8 is first identified. These transmitters populate the user-cluster for the user U8. Then the sub-matrix containing non-zero entries from the transmitters within the user-cluster to the other users is selected. Note that since the link-quality metrics are only used to select the user cluster, they can be quantized with only two bits (i.e., to identify the state above or below the thresholds in FIG. 38) thereby reducing feedback overhead.

[0273]

Another example is depicted in FIG. 40 for user U1. In this case the number of active transmitters is lower than the number of users in the sub-matrix, thereby violating the condition K≦M. Therefore, one or more columns are added to the sub-matrix to satisfy that condition. If the number of transmitters exceeds the number of users, the extra antennas can be used for diversity schemes (i.e., antenna or eigenmode selection).

[0274]

Yet another example is shown in FIG. 41 for user U4. We observe that the sub-matrix can be obtained as combination of two sub-matrices.

  • c. CSI report to the BTSs: Once the user clusters are selected, the CSI from all transmitters within the user-cluster to every user reached by those transmitters is made available to all BTSs. The CSI information is shared across all BTSs via the BSN. In TDD systems, UL/DL channel reciprocity can be exploited to derive the CSI from training over the UL channel. In FDD systems, feedback channels from all users to the BTSs are required. To reduce the amount of feedback, only the CSI corresponding to the non-zero entries of the link-quality matrix are fed back.
  • d. DIDO precoding: Finally, DIDO precoding is applied to every CSI sub-matrix corresponding to different user clusters (as described, for example, in the related U.S. patent applications).

[0277]

In one embodiment, singular value decomposition (SVD) of the effective channel matrix {tilde over (H)}kis computed and the precoding weight Wkfor user k is defined as the right singular vector corresponding to the null subspace of {tilde over (H)}k. Alternatively, if M>K and the SVD decomposes the effective channel matrix as {tilde over (H)}k=VkΣkUkH, the DIDO precoding weight for user k is given by

[0000]


wk=Uo(UoH·hkT)

    • where Uois the matrix with columns being the singular vectors of the null subspace of {tilde over (H)}k.

[0279]

From basic linear algebra considerations, we observe that the right singular vector in the null subspace of the matrix {tilde over (H)} is equal to the eigenvetor of C corresponding to the zero eigenvalue

[0000]


C={tilde over (H)}H{tilde over (H)}=(vΣUH)H(VΣUH)=2UH

[0000]

where the effective channel matrix is decomposed as {tilde over (H)}=VΣUH, according to the SVD. Then, one alternative to computing the SVD of {tilde over (H)}Kis to calculate the eigenvalue decomposition of C. There are several methods to compute eigenvalue decomposition such as the power method. Since we are only interested to the eigenvector corresponding to the null subspace of C, we use the inverse power method described by the iteration

[0000]

ui+1=(C-λI)-1ui||(C-λI)-1ui||

[0280]

where the vector (ui) at the first iteration is a random vector.

[0281]

Given that the eigenvalue (λ) of the null subspace is known (i.e., zero) the inverse power method requires only one iteration to converge, thereby reducing computational complexity. Then, we write the precoding weight vector as

[0000]


w=C−1u1

    • where u1is the vector with real entries equal to 1 (i.e., the precoding weight vector is the sum of the columns of C−1).

[0283]

The DIDO precoding calculation requires one matrix inversion. There are several numerical solutions to reduce the complexity of matrix inversions such as the Strassen's algorithm [1] or the Coppersmith-Winograd's algorithm [2,3]. Since C is Hermitian matrix by definition, an alternative solution is to decompose C in its real and imaginary components and compute matrix inversion of a real matrix, according to the method in [4, Section 11A].

[0284]

Another feature of the proposed method and system is its reconfigurability. As the client moves across different DIDO clusters as in FIG. 42, the user-cluster follows its moves. In other words, the subset of transmit antennas is constantly updated as the client changes its position and the effective channel matrix (and corresponding precoding weights) are recomputed.

[0285]

The method proposed herein works within the super-cluster in FIG. 36, since the links between the BTSs via the BSN must be low-latency. To suppress interference in the overlapping regions of different super-clusters, it is possible to use our method in [5] that uses extra antennas to create points of zero RF energy in the interfering regions between DIDO clusters.

[0286]

It should be noted that the terms “user” and “client” are used interchangeably herein.

REFERENCES

[0000]

  • [1] S. Robinson, “Toward an Optimal Algorithm for Matrix Multiplication”, SIAM News, Volume 38, Number 9, November 2005
  • [2] D. Coppersmith and S. Winograd, “Matrix Multiplication via Arithmetic Progression”, J. Symb. Comp. vol. 9, p. 251-280, 1990
  • [3] H. Cohn, R. Kleinberg, B. Szegedy, C. Umans, “Group-theoretic Algorithms for Matrix Multiplication”, p. 379-388, November 2005
  • [4] W. H. Press, S. A. Teukolsky, W. T. Vetterling, B. P. Flannery “NUMERICAL RECIPES IN C: THE ART OF SCIENTIFIC COMPUTING”, Cambridge University Press, 1992
  • [5] A. Forenza and S. G. Perlman, “INTERFERENCE MANAGEMENT, HANDOFF, POWER CONTROL AND LINK ADAPTATION IN DISTRIBUTED-INPUT DISTRIBUTED-OUTPUT (DIDO) COMMUNICATION SYSTEMS”, patent application Ser. No. 12/802,988, filed Jun. 16, 2010
  • [6] Per-Erik Eriksson and Bjorn Odenhammar, “VDSL2: Next important broadband technology”, Ericsson Review No. 1, 2006

[0293]

Embodiments of the invention may include various steps as set forth above. The steps may be embodied in machine-executable instructions which cause a general-purpose or special-purpose processor to perform certain steps. For example, the various components within the Base Stations/APs and Client Devices described above may be implemented as software executed on a general purpose or special purpose processor. To avoid obscuring the pertinent aspects of the invention, various well known personal computer components such as computer memory, hard drive, input devices, etc., have been left out of the figures.

[0294]

Alternatively, in one embodiment, the various functional modules illustrated herein and the associated steps may be performed by specific hardware components that contain hardwired logic for performing the steps, such as an application-specific integrated circuit (“ASIC”) or by any combination of programmed computer components and custom hardware components.

[0295]

In one embodiment, certain modules such as the Coding, Modulation and Signal Processing Logic 903 described above may be implemented on a programmable digital signal processor (“DSP”) (or group of DSPs) such as a DSP using a Texas Instruments' TMS320x architecture (e.g., a TMS320C6000, TMS320C5000, . . . etc). The DSP in this embodiment may be embedded within an add-on card to a personal computer such as, for example, a PCI card. Of course, a variety of different DSP architectures may be used while still complying with the underlying principles of the invention.

[0296]

Elements of the present invention may also be provided as a machine-readable medium for storing the machine-executable instructions. The machine-readable medium may include, but is not limited to, flash memory, optical disks, CD-ROMs, DVD ROMs, RAMs, EPROMs, EEPROMs, magnetic or optical cards, propagation media or other type of machine-readable media suitable for storing electronic instructions. For example, the present invention may be downloaded as a computer program which may be transferred from a remote computer (e.g., a server) to a requesting computer (e.g., a client) by way of data signals embodied in a carrier wave or other propagation medium via a communication link (e.g., a modem or network connection).

[0297]

Throughout the foregoing description, for the purposes of explanation, numerous specific details were set forth in order to provide a thorough understanding of the present system and method. It will be apparent, however, to one skilled in the art that the system and method may be practiced without some of these specific details. Accordingly, the scope and spirit of the present invention should be judged in terms of the claims which follow.

[0298]

Moreover, throughout the foregoing description, numerous publications were cited to provide a more thorough understanding of the present invention. All of these cited references are incorporated into the present application by reference.

Как компенсировать расходы
на инновационную разработку
Похожие патенты