A mobile system and method that reform flare gas, methane, or natural gas, using air without steam, to directly produce methanol, a clean burning gasoline blend, component, and/or substitute are disclosed. The system first reforms the air-methane mixture at ambient atmospheric pressure, then compresses the resulting CO-hydrogen-nitrogen gas mixture to 600 psi, and feeds it through a methanol reactor which reacts the gas mixture directly into methanol. The nitrogen is returned by the system back to the atmosphere. Methanol is a clean burning gasoline substitute, and can be used to displace significantly costlier and dirtier petroleum-based fuel, while solving a critical problem with flaring. For example, the over 120 billion cubic feet per year that was flared in North Dakota in 2014 could be converted into over 6 million tons of methanol.
1. A mobile system for converting raw natural gas into methanol, comprising:
a syngas generator for generating syngas from the raw natural gas and air; a syngas compressor for compressing the syngas; a reactor for converting carbon monoxide and hydrogen in the syngas to methanol; and a power generator for using unreacted carbon monoxide and hydrogen to generate power, wherein some of the power is used to power the syngas compressor. 2. The system of a sulfur removal unit for removing sulfur from the raw natural gas stream. 3. The system of 4. The system of 5. The system of 6. The system of 7. The system of 8. The system of 9. The system of 10. The system of 11. The system of 12. The system of 13. The system of 14. The system of 15. The system of 16. The system of 17. The system of 18. The system of 19. The system of 20. The system of 21. The system of 22. A method for converting raw natural gas into methanol, comprising:
a syngas generation step for generating syngas from the raw natural gas and air; a syngas compression step for compressing the syngas; a methanol synthesis step for synthesizing methanol from the syngas; and a power generation step for using unreacted carbon monoxide and hydrogen in the syngas to generate power, wherein some of the power is used to power the syngas compression step. 23. The method of 24. The method of 25. The method of 26. The method of 27. The method of 28. The method of
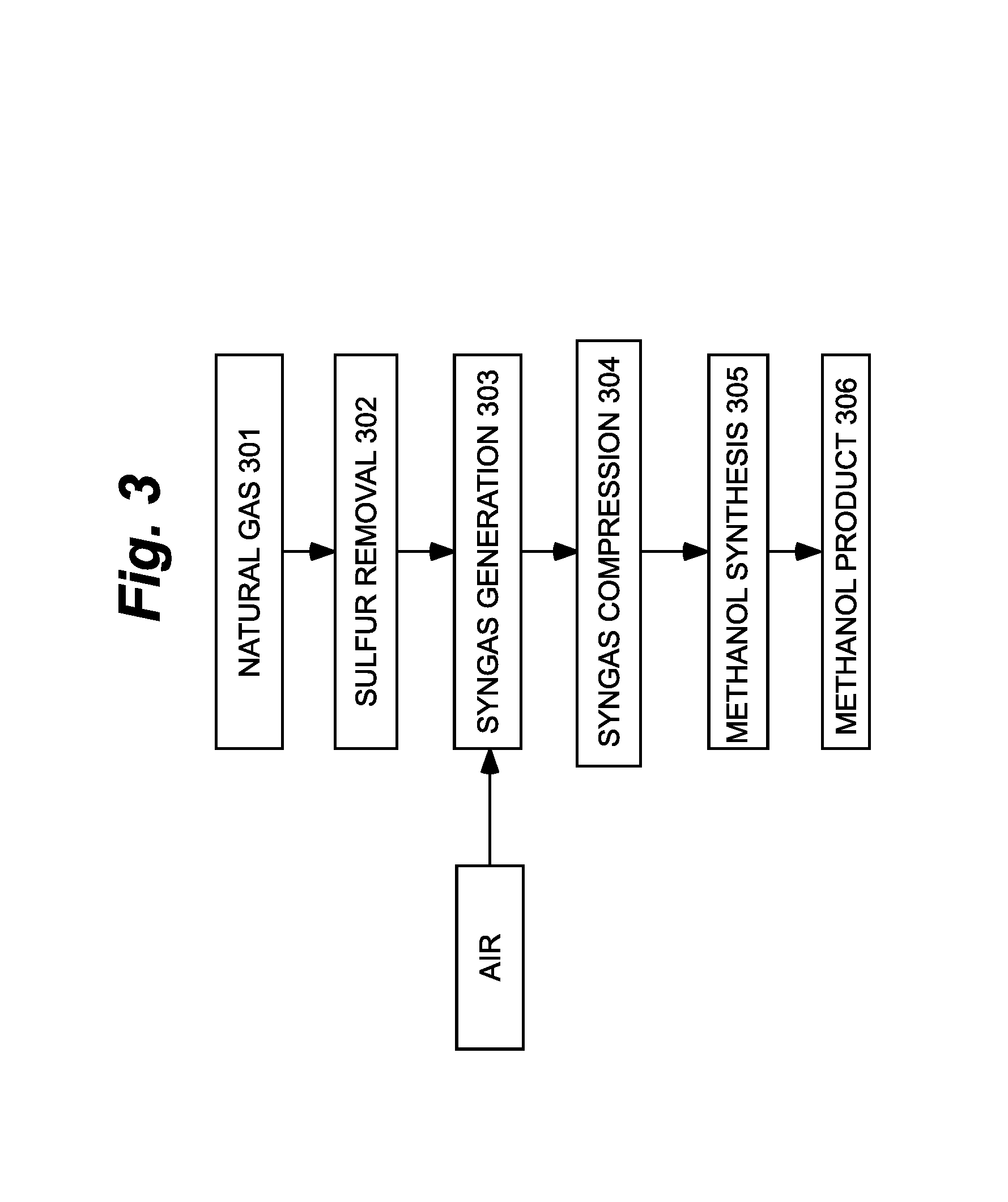
This application is a Continuation-In-Part (CIP) from U.S. Ser. No. 14/953,268, filed on 27 Nov. 2015, and entitled “SYSTEMS AND METHODS FOR MANUFACTURE OF DIMETHYL ETHER (DME) FROM NATURAL GAS AND FLARE GAS FEEDSTOCK,” which itself claims the benefit of provisional application U.S. Ser. No. 62/085,391, filed on 28 Nov. 2014, and entitled “DIMETHYL ETHER (DME), A DIESEL-SUBSTITUTE LIQUID FUEL, FROM NATURAL GAS AND FLARE GAS FEEDSTOCK,” both of which are hereby incorporated by reference in their entireties herein. The present invention relates to enabling the utilization of raw natural gas, such as flare gas, stranded gas, associated gas, and so on, for methanol production. More specifically, this invention relates to a mobile system for producing methanol from any natural gas feedstock, wet or dry. The statements in this section merely provide background information related to the present disclosure and may not constitute prior art. The U.S. is currently flaring so much stranded natural gas that the gas flares are visible from outer space. The world as a whole annually flares about 5,000 billion cubic feet (BCF) of stranded gas. This is equivalent to the annual gas usage of France and Italy combined, and represents about 5% of the world's gas production. It is estimated that in North Dakota alone, where oil production from fracking reached 1 million barrels per day, around 36% of North Dakota's associated gas was flared in 2014—about 120 BCF/yr. All of this flare gas produces significant quantities of CO2emissions, estimated to be about 7 million tons of CO2-equivalents in emissions from North Dakota's flaring, or the emissions from about 1.3 million cars, while producing no useful product. Furthermore, North America is facing a vast abundance of natural gas generally, driving natural gas prices to historical lows, making it an ideal feedstock for liquid fuel production. Flaring of natural gas entails significant loss of income for oil and gas producers that could be earned by selling the natural gas product. Still more financial losses are entailed by failing to make use of the energy content of the flared gas to generate power. As a result, such producers have to buy their electric power from the grid, or even worse, generate it themselves at significant cost (typically USD $0.40/kWh) through the use of on-site diesel generators consuming expensive diesel fuel. Furthermore, the large-scale flaring of natural gas has raised environmental issues that could cause state and/or federal regulators to take action to fine, shutdown, or highly regulate their operations. The United States oil and gas industry annually flared approximately 7.1 billion cubic meters (bcm), or 250 billion cubic feet (bcf) in 2011 (Source: Global Gas Flaring Reduction Partnership, Canada also has a significant flaring problem. It is estimated that Canada flared 2.4 billion m3per year in 2011 (Source: Global Gas Flaring Reduction Partnership, This flaring produces significant quantities of CO2emissions while producing no useful product. If this waste flare gas could be utilized for powering transportation vehicles, used to produce liquid fuel, and/or transported for sale to market, significant environmental and economic benefits would accrue. Furthermore, gas produced as a by-product of fracking shale for oil is often rich in natural gas liquids (NGLs), including but not limited to in the Bakken formation of North Dakota, United States. Although natural gas prices are at a historic low in the United States, the high concentration of NGLs justifies gathering and processing the gas. However, as gas gathering infrastructure is put into place, and statutory restrictions kick in after 12 months after initial drilling, flaring on old wells may be reduced. Unfortunately, newly drilled wells as well as wells far from pipeline infrastructure will continue to be flared. This high variability and uncertainty in flaring quantities make it extremely difficult to plan and effectively size traditional gas gathering and pipeline infrastructure in order to minimize flaring. It is highly financially and environmentally disadvantageous to flare valuable natural gas that could be sold for profit. It is even more financially and environmentally disadvantageous to utilize large quantities of gasoline for transportation vehicles while at the same time flaring a feedstock that could be doing the same job. The problem is that liquids-rich raw natural gas cannot be used in gasoline engines directly, and cannot be easily transported by truck. Therefore, there exists an important need for a solution to address the problem of utilizing raw natural gas (wet or dry), which may have significant quantities of NGLs, to the maximum extent and to minimize or completely eliminate flaring, while still meeting the operators' requirements of a highly variable and uncertain flow rate in the raw natural gas stream. Accordingly, as recognized by the present inventors, what are needed are a novel method, apparatus, and system for converting raw natural gas into a liquid stream that can be easily transported by truck, and that can be utilized for transportation and/or power generation, or for other purposes in existing equipment. As recognized by the present inventors, what is also needed is a liquid fuel synthesis system that is compact, portable, and modular, and which can be easily and quickly delivered to, as well as removed from, flare gas sites as flaring volumes change and as natural gas infrastructure matures. Therefore, it would be an advancement in the state of the art to provide an apparatus, system, and method for producing a liquid fuel from a raw natural gas source at or near an oil or gas site that flares its associated gas. It would also be an advancement in the state of the art to provide a compact, portable, and modular liquid fuel production apparatus. It is against this background that various embodiments of the present invention were developed. Whereas the problem of flare gas was previously recognized, two known solutions included (1) pipelines to transport the raw natural gas to natural gas plants/refineries, and (2) mobile systems to process the flare gas on-site. These will be briefly discussed in turn. First, pipelines can be built to transport the raw natural gas from oil fields currently flaring to natural gas plants/refineries. This has several drawbacks, including complexity, cost, long-lead time, and permitting issues associated with building pipelines. An additional problem with pipelines is the flare volumes are highly uncertain and variable, making it difficult to plan pipeline construction. Additionally, pipelines cannot be deployed quickly to address the existing problem in real-time, nor can they be moved when flare volumes decrease. Finally, even if pipelines could be built, natural gas plants are highly expensive and large, capital-intensive infrastructure that would take time and large capital to finance and build. Secondly, existing mobile systems have many shortcomings; all existing mobile systems are designed to either capture NGLs or produce dry generator gas. Some existing mobile systems are designed for extracting NGLs from the raw natural gas, and then flare the remaining methane and ethane because it is unusable in existing gensets. Other existing mobile systems generate high-quality (lean) methane for CNG production or pipelines, and flare the remaining NGLs because it has high ethane content (and hence a high vapor pressure), and cannot be transported in existing tanks. Many mobile systems utilize the Joule-Thompson (J-T) effect, and cannot remove a substantial portion of the ethane content in the flare gas, resulting in a gas mixture that is unpractical to use in existing, unmodified gensets. The system design presented in the present application solves the problems with both existing pipeline-based solutions as well as existing mobile systems by producing a transportable fuel from the raw natural gas feedstock. The MEthanol from Natural Gas (“MENG”) system would allow methanol, a clean burning fuel, to be produced from currently wasted flare gas, at a cost substantially lower than petroleum-based gasoline. Methanol can be used at 100% substitution on a regular gasoline engine, with small modifications to the fuel line on the engine. Methanol is a sulfur-free, particulate-free, ultra-clean liquid fuel, that can be put directly to use without further refinement. Using flare gas and surplus natural gas for liquid fuel production yields significant environmental and economic benefits. This process would enhance the economic and energy security of the world through: a) reductions of imports of energy from volatile regions of the world; b) reductions in energy-related emissions, including greenhouse gases; and c) improvement in the energy and economic efficiency of the oil and gas sector. Methanol became popular as an automotive fuel within California during the 1970s following the oil embargos, though race teams have been using it for over a half century. When burned in an internal combustion engine, the overall efficiency is improved and the EPA regulated emissions are greatly reduced. Furthermore, an increase in fuel mileage over gasoline blends is possible by fully utilizing methanol's 110 octane rating in a high-compression motor. Vehicles do not need to be methanol-specific, since software exists that allows the engine to adapt to blends of methanol, ethanol, butanol, or gasoline, or mixtures thereof. Methanol has low health risks as evidenced by the fact that hundreds of millions of drivers routinely handle methanol as a component of window-washing fluid. Methanol is biodegradable and does not harm the environment. One drawback of methanol is that the energy content of a gallon of methanol is approximately half of the energy content of a gallon of gasoline, but this is compensated for by its low production cost from natural gas. The inventors have thus developed a unique design for a mobile system that reforms flare gas or natural gas, using air without steam, to directly produce methanol. The system first reforms the air-methane mixture at 1 bar, and then compresses the resulting CO-hydrogen-nitrogen gas mixture to 600 psi and feeds it through a methanol reactor to produce methanol vapor. No separation system is required after the methanol reactor since methanol has a low vapor pressure and can be easily condensed to liquid at ambient temperatures. As previously stated, existing competing technologies for dealing with stranded natural gas include hauling the flare gas by truck as CNG or LNG. These solutions are inferior to the MENG because of the logistical complexity and cost of transporting CNG and LNG compared to transporting a room temperature liquid such as methanol produced on site by the MENG. Alternatively, methanol today is currently produced in massive stationary industrial scale chemical plants, which must be supplied with pipeline natural gas or coal, which are commercial feedstocks that cost money, as opposed to flare gas, which is free. Furthermore, making methanol out of such marketable fuels does nothing to reduce flaring or CO2emissions. Systems that make methanol out of flare gas have frequently been proposed, but such systems require steam and oxygen, making their product expensive. MENG does not use either steam or oxygen, drastically reducing the cost of methanol production. Thus, the MENG is uniquely advantageous. By using the MENG, the over 120 billion cubic feet per year that was currently flared in North Dakota in 2014 could be converted into over 6 million tons of methanol. Accordingly, one embodiment of the present invention is a mobile system for converting raw natural gas into methanol, comprising a syngas generator for generating syngas from the raw natural gas and air; a syngas compressor for compressing the syngas; a reactor for converting carbon monoxide and hydrogen in the syngas to methanol; and a power generator for using unreacted carbon monoxide and hydrogen to generate power, wherein some of the power is used to power the syngas compressor. Another embodiment of the present invention is a method for converting raw natural gas into methanol, comprising a syngas generation step for generating syngas from the raw natural gas and air; a syngas compression step for compressing the syngas; a methanol synthesis step for synthesizing methanol from the syngas; and a power generation step for using unreacted carbon monoxide and hydrogen in the syngas to generate power, wherein some of the power is used to power the syngas compression step. Some embodiments of the present invention also include a sulfur removal unit for removing sulfur from the raw natural gas stream. In some embodiments of the present invention, the syngas generator comprises an air reforming unit for reforming the raw natural gas and air in presence of a steam reforming catalyst. In some embodiments of the present invention, air enriched in oxygen is added to the air reforming unit to increase concentrations of hydrogen and carbon monoxide in syngas. In some embodiments of the present invention, distilled water is added to the air reforming unit for preventing catalyst coking. In some embodiments of the present invention, distilled water is recycled to the air reforming unit from a condenser downstream from an air recycling unit. In some embodiments of the present invention, distilled water is converted to steam inside the air reforming unit. In some embodiments of the present invention, a gas mixer mixes raw natural gas, air, and steam before these gases pass through a catalyst bed. In some embodiments of the present invention, natural gas and air are preheated to improve carbon monoxide yield. In some embodiments of the present invention, a catalyst bed in the reactor comprises a syngas-to-methanol synthesis catalyst. In some embodiments of the present invention, the syngas-to-methanol synthesis catalyst is Cu—ZnO. In some embodiments of the present invention, methanol is removed from an effluent of a catalyst bed of the reactor. Some embodiments of the present invention also include a heat exchanger to cool effluent gases to temperature at which most of methanol vapor condenses to liquid, a phase separator to separate liquid methanol from gases, and a component for draining liquid methanol. In some embodiments of the present invention, syngas is preheated before a catalyst bed of the reactor. In some embodiments of the present invention, energy is exchanged between streams entering and exiting a catalyst bed of the reactor to reduce duties on the syngas preheating and syngas cooling. In some embodiments of the present invention, energy released in the synthesis reaction is removed from a catalyst bed of the reactor. In some embodiments of the present invention, carbon monoxide conversion to methanol is enhanced by using a recycle blower. In some embodiments of the present invention, carbon monoxide conversion to methanol is enhanced by using cascading catalyst beds with methanol being removed between catalyst beds. In some embodiments of the present invention, unreacted carbon monoxide and hydrogen are used to generate mechanical or electrical power. In some embodiments of the present invention, the electrical power is generated by combusting unreacted carbon monoxide and hydrogen in a spark ignited internal combustion engine, and using engine power to drive an electric generator. In some embodiments of the present invention, some of the syngas is recirculated back to the syngas generator to prevent hot spots in the reactor's catalyst. Other features, utilities, and advantages of the various embodiments of the invention will be apparent from the following more particular description of various embodiments of the present invention. The invention will be understood by the following detailed description in conjunction with the accompanying drawings, wherein like reference numerals designate like structural elements, in which: The following description is merely exemplary in nature and is in no way intended to limit the scope of the present disclosure, application, or uses. The following terms of art are provided for illustrative and explanatory purposes only, and are not intended to limit the application, intended uses, or scope of the present invention. Throughout this disclosure “MENG-170,” “full scale” apparatus, or any reference to a single full-scale module, will refer to an apparatus module that can process about 170 mcf (thousand cubic feet) of raw natural gas per day. Multiple modules can be combined for higher gas flow rates. These product flow estimates are provided for explanation purposes only, and are not intended to be limiting the scope of the present invention in any way. Different input raw gas compositions would produce different quantities of products. The symbols cf, CF, scf, and SCF shall all stand for standard cubic feet (ft3). The symbols mcf, MCF, and kcf will all stand for a thousand standard cubic feet (1,000 scf). The symbols MMCF, MMcf, and mmcf will all stand for a million standard cubic feet (1,000,000 scf or 1,000 mcf). The word “day” shall mean “a day of operations,” which shall be a 24-hour day, but could also be an 8-hour day, a 12-hour day, or some other amount of operational time. 1 scf=0.02832 standard m3=28.32 L. Natural gas at the wellhead is commonly a mixture of methane (C1) with other hydrocarbons, including ethane (C2), propane (C3), butane (C4), pentane (C5), and hexane and higher (C6+). Wellhead natural gas also contains other compounds such as water vapor (H2O), hydrogen sulfide (H2S), carbon dioxide (CO2), oxygen (O2), and nitrogen (N2). Also known as raw natural gas. Pure methane is also included within this definition. Associated gas is natural gas produced as a by-product of oil drilling, either conventional or unconventional extraction (such as hydraulic fracking for tight oil). Also known as raw natural gas. Flare gas is natural gas, usually associated gas, that is flared (burned for no useful purpose) because natural gas pipelines are not in place when the oil well is drilled. Also known as raw natural gas. Stranded gas is natural gas, usually associated gas that is flared, that cannot be brought to market either because it is off-shore or too far from natural gas pipelines/infrastructure. Also known as raw natural gas. As used herein, the phrase raw natural gas, or even more simply natural gas, shall be interchangeable with, and could mean, all of the following: unprocessed natural gas, associated gas, flare gas, and/or stranded gas, and is meant to encompass all such raw natural gas sources. Wet gas is natural gas that contains a high proportion of C2+ components (typically more than 10%). Wet gas is frequently also saturated with water vapor. This is an approximate definition often used by those skilled in the art. Dry gas is natural gas with typically less than 5% C3+ components, or typically less than 10% C2+ components. This is an approximate definition often used by those skilled in the art. Natural gas liquids (NGLs) are C3+ components, including propane and heavier hydrocarbons, and may include small amounts of methane and ethane. Other definitions sometimes include ethane as an NGL (natural gas liquid). LPG is an acronym for Liquefied Petroleum Gas, which is generally a term for pressurized, processed gas mixtures of C3+ components, most commonly primarily propane and butane. CNG is an acronym for Compressed Natural Gas, which is typically mostly methane (C1) compressed to a pressure above approximately 140 bar/2,000 psig, although higher or lower pressures are also possible. LNG is an acronym for Liquefied Natural Gas, which is typically mostly methane (C1) at a pressure and a temperature in which it is a liquid phase. It is highly disadvantageous—both from a financial and an environmental perspective—to flare natural gas that could be sold for a profit. It is even more disadvantageous to spend large amounts of money on liquid fuel for vehicle fleets, and at the same time flare methane that could be doing the same job. The problem is that raw natural gas cannot be used in automotive engines and cannot be transported by truck. The inventors recognized that what is needed is a mobile system that can go to a well-site that is currently flaring gas, and process the raw natural gas into a liquid fuel—methanol—that can be used for transportation, to generate power, or for other purposes, and/or that can be transported for sale. It is to meet this unmet need that the inventors have developed the MEthanol from Natural Gas (MENG) system. The MENG is a truck-mobile methane-to-methanol conversion system scaled to meet local needs. The MENG system can use any kind of natural gas, wet or dry, as its feedstock, to produce methanol, which is a viable gasoline substitute fuel without refining. In what follows, it is assumed that the feedstock is pure methane. The presence of higher hydrocarbons in the gas increases the yield in proportion that the total amount of carbon in the gas is increased. The system works using industrial catalysts—no expensive precious metal catalysts are needed. First, the methane is reformed at ˜1 bar using preheated air over Ni catalyst to produce hydrogen and carbon monoxide. The resulting gas is then compressed to ˜40 bar and then reacted in a Cu—ZnO catalyst bed to produce methanol. The system is simple enough overall to enable implementation in a compact field-mobile form. From 170 mcf/day of flare gas, the system can produce about 4.8 tons/day of methanol. In short, the new methanol system can use waste flare gas or stranded natural gas, located anywhere in the world, and produce a valuable clean burning gasoline substitute fuel. Process Overview and Chemistry: Methanol is produced from the low pressure catalytic partial air oxidation of natural gas to syngas (CO and H2) at one bar. The syngas is then compressed to 40 bar, and fed into a single-step methanol synthesis reactor using methanol synthesis catalyst. The methanol vapor at the synthesis reactor outlet is condensed to liquid methanol at ambient temperature. The principal reactions for the MENG are given in reactions (1)-(3) Process Flow Diagram: A preliminary process flow diagram and stream summary for the MENG process is shown in The MENG contains three main process sub-systems: (1) Syngas Generation, (2) Syngas Compression, and (3) Methanol Synthesis, which are highlighted in Syngas Generation: As shown in Syngas Compression: Syngas from Syngas Generator (Stream 7) is cooled to 308 K, compressed to 40 bar with a four stage compressor in Stream 9, and then sent to the Methanol Generator. Methanol Generation: Conversion of CO to methanol is limited by equilibrium for the reaction (2). In order to alleviate this limit imposed by thermodynamics, the product (methanol) of the synthesis reaction (2) is removed in order to force the reaction (2) forward. This is implemented using either the recycle scheme or cascading reactors scheme illustrated on The cascading reactor scheme illustrated on A stream summary is presented in Table 2 that summarizes the key process points for the system. Various catalysts may be used in reforming and hydrogenation reactions of the invention. The catalyst used may contain one or more transition metal such as ruthenium, palladium, platinum, rhodium, nickel, iridium, rhenium, copper, zinc, chromium, nickel, iron, cobalt, or combinations of thereof. The catalyst may contain a combination of one or more transition metals with main group elements, such as, for example, platinum and tin, or ruthenium and tin. The catalyst may contain promoters such as barium hydroxide, magnesium hydroxide, and so on. Reduction or hydrogenation may also be done using Raney type sponge catalysts, such as Raney nickel, copper, cobalt, and so on, optionally bearing promoters, such as iron, molybdenum, chromium, palladium, and so on. Catalysts used in reductions may be supported or unsupported. A supported catalyst is one in which the active metal(s) are deposited on a support material, e.g., by soaking or wetting the support material with a metal solution, spraying or physical mixing followed by drying, calcination, and finally reduction with hydrogen if necessary to produce the active catalyst. Catalyst support materials used frequently are porous solids with high surface areas, such as silica, alumina, titania, magnesia, carbon, zirconia, zeolites, and so on. The reforming step may be run under different temperature and pressure conditions to achieve acceptable conversions. Pressures may range between ˜0.1 and ˜10 bar, or preferably between ˜0.5 and ˜1 bar. Temperatures for the reforming step may be in the range of ˜400 to 1000° C., preferably between ˜500 and ˜900° C., and more preferably at about 700° C. The Weight Hourly Space Velocity (WHSV) may be around 7500−h. The methanol synthesis step may be run at pressures between ˜10 and ˜1000 bar, preferably between ˜20 and ˜60 bar, and around ˜40 bar in some embodiments. Temperatures for the methanol synthesis step may be between ˜170 and ˜250° C., or about 220-230° C. in some embodiments. The WHSV may be about 1500−h. The inventors have built and tested several embodiments of the present invention. These sections present various experimental results from such tests. A pilot unit was built to demonstrate MENG on a substantial scale. The unit was run with the methane feed rate up to 500 SLM, or 18 SCFM. CO yields in excess of 84% from the air reforming unit were demonstrated. With 70% yield of methanol from syngas, the pilot unit would produce approximately 600 kg of methanol per day. A schematic of the air reforming unit is shown in The water stream enters a plenum where water is vaporized on contact with hot metal. The resulting steam is injected alongside with the natural gas. An igniter is used to ignite a gas mixture to preheat the reformer. A layer of the ceramic foam is placed on top of the catalyst to protect catalyst from a thermal shock during reformer preheating. A perforated plate is placed on top of the catalyst bed to separate ceramic foam layer from the catalyst pellets. The syngas stream from the reformer contains a significant amount of water vapor. This water vapor comes from the water added to the reforming process as well as from the reactions between methane and air. Before compressing the reformer gas in a compressor, the majority of the water vapor is removed in a condenser. The pilot unit condenser is of a single pass tube side and single pass shell side construction. Cooling water is on a shell side and the syngas is on a tube side. The tube bundle was constructed from approximately 250 tubes of 0.375-inch diameter; each tube is 5 feet long. The compressor is a four stage compressor with inter-stage cooling. The compressor is capable of compressing a flow of 6000 Standard Liters per Minute (SLM) of reformer gas to a pressure of 600 psia, or approximately 40 bara. The compressor is driven by two electrical motor with a total power rating of 80 HP (107 kW). The compressor is capable of handling of 5× turndown. After the compressor, the syngas is directed into the synthesis reactor detailed on Performance of Pilot Unit Reformer with Air To evaluate performance of the reformer, some meaningful quantitative metrics are needed. Carbon monoxide yield from methane is one such metric, and 100% conversion of methane to carbon monoxide would represent ideal operation of the reformer. However, 100% conversion of methane to carbon monoxide is not feasible, since some of the methane will be combusted to raise the temperature of the incoming gases and hence will not be available to make carbon monoxide product via the reforming process. In addition, thermodynamic equilibrium may limit carbon monoxide yield from methane. To investigate this, a computer simulation was performed to establish the maximum possible carbon monoxide yield in the reformer. This yield can be compared to the experimentally measured yield to establish how well the reformer works. For comparison with the experiment, let's consider the following case when the incoming gases (air and methane) are preheated to 400° C., the exit temperature of the reformer is 750° C., the molar ratio of water flow rate to methane flow rate is 1:4, and the air to methane ratio is 3.0. With the assumption that the reaction in the reformer reaches equilibrium, the calculated carbon monoxide yield is 83%, with the following calculated composition of dry gases out of the reformer: Hydrogen: 35.8%, Carbon monoxide: 15.4%, Carbon dioxide: 2.9%, Methane: 0.2%, Nitrogen, argon: balance. These calculated numbers can be directly compared with the experimental results. In one test, the air and methane were preheated to the temperatures close to 400° C., the molar ratio of water flow rate to methane flow rate was approximately 1:4, and the temperature of gas exiting the reformer was approximately 750° C., the same conditions for which simulation was done. The CO yield of 84% was measured and the following composition of dry gases out of the reformer was measured: Hydrogen: 32.7%, Carbon monoxide: 16.2%, Carbon dioxide: 1.8%, Methane: 1.24%, Nitrogen, argon: balance. Calculated and measured results are remarkably close for space velocity corresponding to reforming of 300 SLM of methane with 900 SLM of air using 20 kg of catalyst, the conditions of the test. The time history of carbon monoxide yield and methane conversion along with some other relevant experimental data is shown in For preheating of methane and air streams, U-tube style heat exchangers were used. These heat exchangers were of 4 pass tube side and a single pass shell side construction. The inventors state that using true counter-flow heat exchangers with large surface area for gas preheating will improve performance of the reformer. Let's consider a case when air and methane are preheated to 700° C. instead of 400° C., while the exit temperature of the reformer is 750° C. Calculation shows that the CO yield improves to 94% and the dry gas composition from the reformer is as follows: Hydrogen: 39.4%, Carbon monoxide: 18.7%, Carbon dioxide: 0.8%, Methane: 0.03%, Nitrogen, argon: balance. Calculation confirms than better reformer performance can be obtained when the gases are preheated to the maximum temperature which is the exit temperature of the reformer. Performance of Pilot Unit Reformer with Enriched Air Air contains approximately 20% oxygen with approximately 80% of nitrogen. The nitrogen component of air plays both positive and negative roles. On the positive side, nitrogen, being an inactive component with a significant heat capacity, moderate temperature extremes and reduces occurrences of hot spots. On the negative side, nitrogen dilutes carbon monoxide and hydrogen, reducing concentrations and partial pressures of these two gases. When partial pressures of hydrogen and carbon monoxide are decreased at the inlet of the methanol synthesis reactor, two things happen: 1) maximum possible conversion to products decreases because equilibrium shifts away from products; and 2) the absolute reaction rates decreases with the decreasing concentration of the reactants. Operation of the reformer with enriched air was demonstrated. On a smaller scale, a flow of 240 SLM air enriched to 33% oxygen was demonstrated by passing compressed air through a gas separation membrane. For a larger scale pilot unit reformer tests, oxygen enriched air was made by adding pure oxygen to the air stream. This was done because not enough gas separation membranes were available for the large scale tests. In one test, the reformer was operated with air enriched to oxygen concentration 28.5%-30%. CO yield of 89% was achieved and the following composition of dry gas out of the reformer was measured: Hydrogen: 36%, Carbon monoxide: 21.3%, Carbon dioxide: 1.8%, Methane: 0.8%, Nitrogen, argon: balance. In this test, water was added to the reformer at approximately 1:4 water to methane mole ratio to prevent catalyst coking. Catalyst temperature was 860° C. on top of the catalyst bed and 720° C. at the exhaust. The flow of methane was approximately 300 SLM and 20 kg of reforming catalyst was used for this test. This test was simulated assuming equilibrium is achieved in the reformer and the following numbers were calculated. The conversion of methane to CO was calculated to be 93% which compares well to the experimental conversion of 90%. The dry gas composition out of the reformer was calculated to be: Hydrogen: 44.4%, Carbon monoxide: 22.2%, Carbon dioxide: 1.1%, Methane: 0.6%, Nitrogen: balance. As in the case with unenriched air, a good agreement between the calculated and experimental results is observed. This indicates good performance of the air reforming unit. The time history of CO yield and methane conversion along with some other relevant experimental data are shown in In another test, air enriched to approximately 40% oxygen was used. In this test, methane to water ratio was approximately 5:1, the reformer exhaust temperature was approximately 750° C. The following dry gas composition was measured: Hydrogen: 46%, Carbon monoxide: 23%, Carbon dioxide: 3.1%, Methane: 5.4%, Nitrogen: balance. The syngas obtained in this test, with high CO concentration (23%), optimal hydrogen to carbon monoxide ratio of 2:1 and low inert gases concentration (31%) is well suited for synthesis of methanol. In the experiment conducted with air enriched to 30% oxygen, high temperature (860° C.) near the top of the catalyst bed was observed. The manufacturer of the catalyst does not recommend exceeding 900° C. for the catalyst, which is why tests with air enriched to oxygen concentration higher than 30% were not attempted. It is advantageous to use higher oxygen concentrations in enriched air to reduce nitrogen content in the syngas for improved methanol yield. However, without sufficient nitrogen gas entering the reformer, the hot spot near the top of the catalyst bed will develop, which results in damage to catalyst. The kinetics and thermodynamics of the reforming dictates that sufficient buffer gas needs to be present to prevent catalyst from overheating. As shown below, this buffer gas can be recirculated syngas. Equilibrium in reforming of methane at low pressures and high temperatures favors formation of carbon monoxide and hydrogen products. As long as equilibrium is favorable, part of the syngas can be recirculated to the reformer. This was investigated by performing equilibrium calculation for the case of air enriched to 45% oxygen. Membrane separation can produce air enriched to 45% oxygen, and membrane separation is one of the methods of oxygen enrichment which is suitable for field deployment at remote locations. In the equilibrium calculation for air enriched to 45% oxygen concentration, 35% of the syngas is recirculated back to the reformer. The recirculated syngas is split after the condenser because at this point the syngas is cold and can be recirculated using a blower, which does not have to withstand high temperatures. The enriched air feed and methane are assumed to be preheated to 400° C., and the ratio of methane to water is set to 4:1. The ratio of enriched air to methane is varied to obtain reformer exit temperature of 750° C. For these conditions, the following composition of dry gases at the exit of the reformer is obtained: Hydrogen: 50%, Carbon monoxide: 23%, Carbon dioxide: 4%, Methane: 0.5%, Nitrogen: 22.5%. These results show that significant reduction of nitrogen concentration in the syngas can be achieved if air enriched with oxygen and syngas recirculation is used. If the recirculated syngas is counted as nitrogen, the effective oxygen concentration in the feed is only 19%, which is low enough to prevent formation of hot spots. The above example is for air enriched to 45% oxygen. The reformer can be operated with air enriched to oxygen concentrations other than 45%, provided that sufficient syngas is recirculated to prevent catalyst overheating while achieving high yield of carbon monoxide from methane. Synthesis of Methanol from Syngas Methanol synthesis was demonstrated in multiple tests. Conversion efficiency of CO to methanol varied with the reactor temperature, pressure, reformer gas composition, space velocity, reactor geometry, and other factors. In one of the tests, the methanol reactor was a jacketed 1.75 inch (4.44 cm) diameter tube holding approximately 2 kg of CuO—ZnO catalyst. In the jacket, a heat transfer fluid (vegetable oil) was circulated to remove reaction energy. The syngas gas had the following composition: 23% CO, 45% H2, and 32% N2. Before entering the synthesis reactor, the reformer gas was preheated to a temperature of approximately 240° C. Catalyst temperature varied from 270° C. at the rector inlet to 220° C. at the reactor outlet. Conversion of approximately 40% were achieved at a space velocity of 1700 vol/hr and conversion of 32% was achieved at a space velocity of 2200 vol/hr. For pressure of 600 psia and stated reformer gas composition, equilibrium conversions of methanol are 40%, 48%, and 56% at temperatures 240° C., 230° C., and 220° C., respectively. The experimental results show that a close approach to equilibrium was achieved. After the run, 402 grams of liquid were collected. The GC analysis of the liquid showed that it was a high purity methanol with negligible amount of water and small amount of DME. Space velocity profile and conversion efficiencies are shown on Methanol synthesis in a pilot system was demonstrated. The reforming of methane was done using air at methane flow of 300 SLM and air flow approximately 900 SLM. Water to methane ratio was approximately 1:4. Methane conversion was 94% and CO yield was 78%. The following composition of dry gases out of the reformer was obtained: Hydrogen: 36%, Carbon monoxide: 16.4%, Carbon dioxide: 3.2%, Methane: 1.1%, Nitrogen, Argon: balance. The reformer gas was compressed to 600 psia. Part of the compressed reformer gas was flared and a smaller part, approximately 200 SLM, was pre-heated and sent through the synthesis reactor. The following composition of dry gas at the outlet of synthesis reactor was measured: Hydrogen: 32.7%, Carbon monoxide: 11.8%, Carbon dioxide: 5.3%, Methane: 0.94%, Nitrogen, Argon: balance Approximately 1.4 kg of liquid were collected, which was analyzed using a GC. Analysis showed that the collected liquid was high purity methanol, with a water impurity less than 1% and DME impurity less than 2%. GC analyses and material balances are consisted with methanol yield of 30% on a single pass. We are using catalysts which work adequately well in the presence of N2. In the baseline approach, for syngas generation, the catalyst is a Ni-based steam reforming catalyst; for methanol synthesis, the catalyst is Cu—ZnO. The nitrogen (air) flow will influence the catalyst performance to the extent of lowering the partial pressures of the product constituents and increasing reactor size. This can be mitigated by oxygen enrichment of the air stream into the syngas generator. Some downstream benefits of oxygen enriched air (OEA) include reactant flow rate reduction, reduced air/NG preheater size (heat exchanger), enhanced partial pressure of CO and H2, and lower pressure operation. Since the MENG works without oxygen separation and without steam production, these are unique characteristics for this type of conversion. This makes the overall process simple, enabling the radical simplification necessary for field-deployment. One key challenge is to avoid coking. Steam suppresses coking, but we are doing this without steam. We have found that if we can operate in a regime above 700° C., we can prevent coking. The challenge is to keep the reaction always above 700° C. Also, operating with air (without pure oxygen), we need effective heat exchange to pre-heat the air and methane—otherwise, the temperature does not get high enough. This is done in a one pass system to ensure simplicity. No oxygen production subsystems or steam boilers are needed. Unlike a typical system that is high pressure and high temperature, the part of our system that is hot is operating near atmospheric pressure: the front half of the system is 800° C., but below 15 psi; in the part of the system that is high-pressure (300 psi), the temperatures are below 250° C., which does not challenge steel. In short, the system and process are unique. This system would be most desirable as a fully-automated, remotely controlled, mobile system that can be taken directly to where stranded wells are located. It is designed for mobile, medium-scale installation, which can be economically practical because of its radical simplicity and because it has freed itself from the requirements of oxygen and steam. The system is readily controllable in a small-scale system, and fully automated to lessen the labor burden. We are going after economies not of scale, but economies of mass-production, to produce a standardized system that uses very little labor to control and operate. The system does not need any external utilities, as any unreacted carbon monoxide/hydrogen produced is more than sufficient to run the unit. In short, the inventors have developed a mobile system that goes from flare gas—wet or dry—directly to methanol—without needing oxygen or steam. One of many illustrative scenarios is presented here to demonstrate the potential profitability of the MENG system. In this scenario, dry methane gas is assumed to be the feedstock. Other configurations and use cases are also possible. This economic analysis is illustrative of the invention only and is not meant to limit the scope of the present invention. For the system size in Table 1, the value of the methanol product is about $2420 per day, or $883,000 per year. If it is using flare gas for feedstock, the cost of feedstock is zero. If is using commercial natural gas priced at $3 per MCF, the cost of feedstock is $504/day, or $184,000/year. If the unit is sold with a 6-year lease at 5% interest, the capital cost of the unit will be about $385,000 per year for the first six years, zero afterwards. Two full-time worker-equivalents, priced at $100,000 per year each, would be sufficient to operate the machine. So we have four cases, defined by whether the unit is operating during the first six years, or afterwards, and whether the unit is using flare gas or commercial gas. These are examined in Table 3 as cases A, B, C, and D, respectively. It can be seen that the company that manufactures the machine can make a two to one profit on each unit sold, while allowing the user to profit substantially starting on the very first day of operation, with profits growing substantially after six years when the machine is paid off. However, Table 3 limits consideration of the value of the MENG unit to the value of the MENG product itself. In fact, in many cases there will be an additional value proposition, which may be substantially larger. This is because in many cases, those producing flare gas will be oil companies, whose wells may be shut down if their flaring is not eliminated. The value lost by losing oil production in this way may be an order of magnitude greater than the value of the methanol itself. For example, the inventors are acquainted with one oil producer who is currently flaring about 168 MCF of natural gas, who is being threatened with shutdown for this reason. If this occurs, the operator will lose its oil revenue, which is currently about $22,000 per day, or $8 million per year. Thus, the value of the MENG to such an operator could be many times greater than the calculations in Table 3, taken in isolation, would indicate. On a per-unit basis, the MENG system would be capable of manufacturing methanol at a cost of $0.89/gallon ($0.29/kg) methanol during the first 6 years, and at a price of $0.31/gallon ($0.10/kg) methanol thereafter (after all of the capital costs have been paid back). This corresponds to a methanol cost of about $0.61/gallon ($0.20/kg) methanol amortized over 12 years. This corresponds to a cost of about $1.20 per Gasoline-Gallon-Equivalent (GGE) amortized over 12 years, which is highly competitive. If necessary, and in some embodiments, as shown in That is, for sour flare gas that is rich in H2S, the raw gas can be cleaned in a unit before further processing. For sulfur concentrations less than about 500 ppm, a disposable, solid iron-based sorbent would be optimal (low capital costs). The solid sorbent produces a recyclable iron sulfide waste. For higher sulfur concentrations, a liquid-based iron-chelate process would be appropriate. The liquid iron-chelate process produces an elemental sulfur filter cake by-product. Either by-product can be recycled or disposed off site. The present invention may also be configured as a modular system, which may be created from modular units (for example, but not limited to, 170 mcf units). Each unit can run in parallel autonomously without interference. These units may be combined together at the field depending on the particular application, and the requirements of a particular user. Depending on the gas processing needs of a particular site, multiple units may be combined to provide the necessary processing power. Similarly, as production declines or gas gathering lines are added, units can be removed and moved to new production locations. Some use cases of the present invention are now presented. These use cases are illustrative of the possible applications of the present invention and are not meant to be exhaustive or limiting. Long-Felt, Unsolved Need for Cost-Effective, on-Site Gas Capture As stated by a recent government-commissioned study, around 34% of North Dakota's produced associated gas was flared, nearly 340 million cubic feet per day (340 mmcf/day) in 2014, nearly double the 2011 flaring estimates of 190 million cubic feet per day (190 mmcf/day). (Source: Wocken, C. A.; Stevens, B. G.; Almlie, J. C; Schlasner, S. M., While the methods disclosed herein have been described and shown with reference to particular operations performed in a particular order, it will be understood that these operations may be combined, sub-divided, or re-ordered to form equivalent methods without departing from the teachings of the present invention. Accordingly, unless specifically indicated herein, the order and grouping of the operations is not a limitation of the present invention. While the present invention has been particularly shown and described with reference to embodiments thereof, it will be understood by those skilled in the art that various other changes in the form and details may be made without departing from the spirit and scope of the present invention.REFERENCE TO RELATED APPLICATIONS
FIELD OF THE INVENTION
BACKGROUND OF THE INVENTION
BRIEF SUMMARY OF THE INVENTION
BRIEF DESCRIPTION OF THE DRAWINGS
DETAILED DESCRIPTION OF THE INVENTION
Definitions
Overview of the Meng
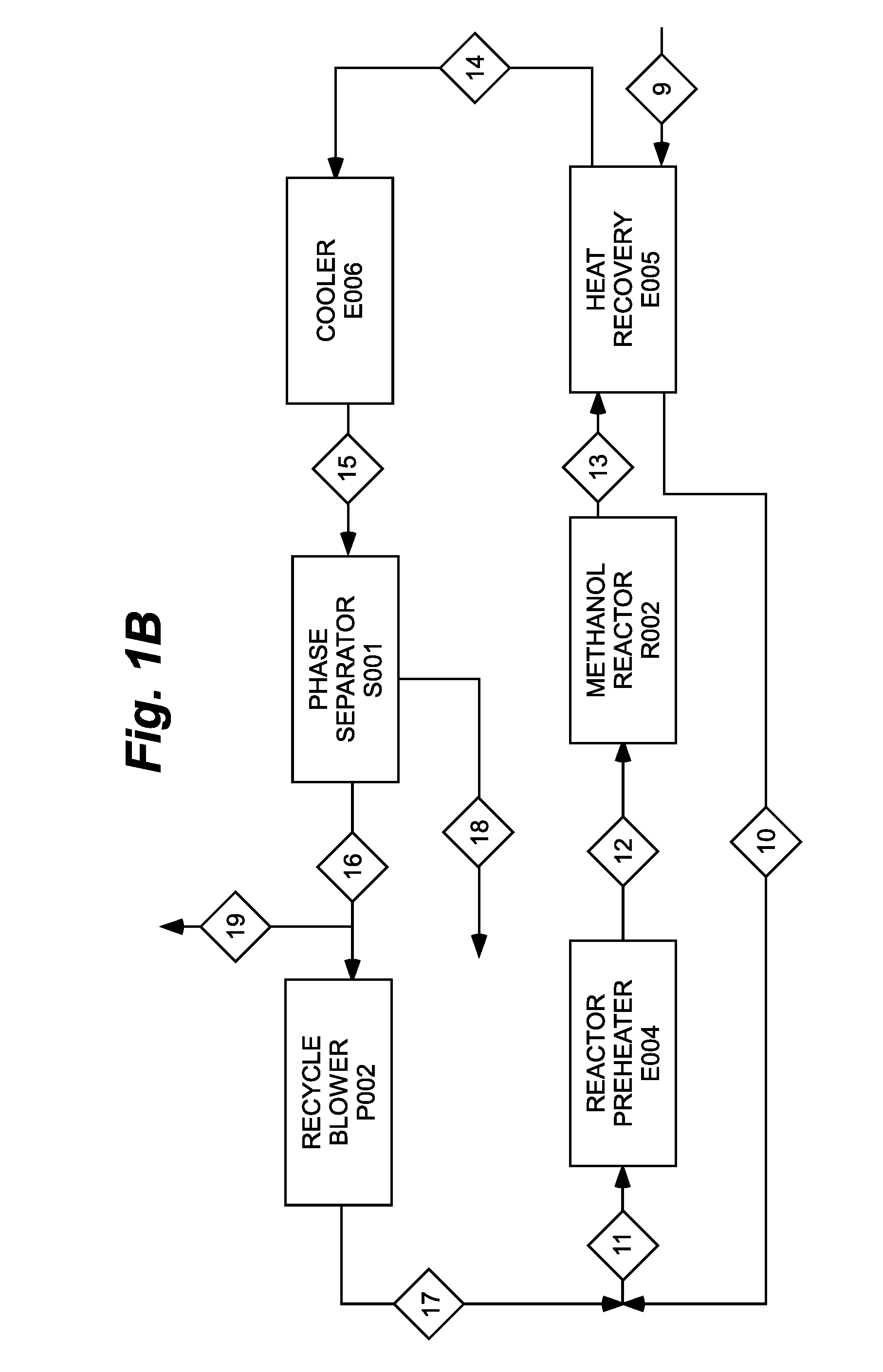
Syngas Generation:
N2+CH4+1/2O2→2H2+CO+N2 (1)
Methanol Synthesis:
CO+2H2CH3OH (2)
Net Reaction:
CH4+1/2O2→CH3OH (3)Methane feed rate 3300 L/min = 2.4 kg/min = 170 mcf/day Air feed rate 8400 L/min Methanol Production Rate 202 kg/hour = 4840 kg/day= 6900 gal/day (@ 25 C.) Power requirement 180 kWe Value of methanol product ~$3,000/day Stream unit 0 5 4 6 8 9 Temperature K 298 873 873 1023.424 313 525.962 Pressure Bar 1 1 1 1 1 40 Mole fraction O2 0 0 0.33 0 0 0 N2 0 0 0.67 0.24488 0.246801 0.261856 CH4 0 1 0 0.011983 0.012077 0.012813 CO 0 0 0 0.222244 0.223987 0.237651 CO2 0 0 0 0.004745 0.004783 0.005074 H2 0 0 0 0.444488 0.447974 0.475301 H2O 1 0 0 0.071659 0.064378 0.007305 CH3OH 0 0 0 0 0 0 Overall flow mol/s 0.215 0.826447 1.264 3.458341 3.431426 3.234142 Overall MW kg/mol 0.018015 0.016043 0.029329 0.015673 0.015655 0.015511 Mass flow rate kg/s 0.003873 0.013259 0.037072 0.054203 0.053718 0.050164 Stream unit 12 13 16 18 19 17 Temperature K 493 513 333 333 333 333 Pressure Bar 40 40 40 40 40 40 Mole fraction O2 0 0 0 0 0 0 N2 0.447441 0.508628 0.544475 0.008078 0.544475 0.544475 CH4 0.021806 0.024788 0.026508 0.000772 0.026508 0.026508 CO 0.16708 0.121554 0.130183 0.00106 0.130183 0.130183 CO2 0.008275 0.009406 0.009948 0.001843 0.009948 0.009948 H2 0.334316 0.243286 0.260603 0.001475 0.260603 0.260603 H2O 0.002769 0.003147 0.000397 0.04155 0.000397 0.000397 CH3OH 0.018313 0.089191 0.027887 0.945223 0.027887 0.027887 Overall flow mol/s 9.418974 8.285894 7.732163 0.553732 1.546433 6.18573 Overall MW kg/mol 0.019239 0.02187 0.021188 0.031388 0.021188 0.021188 Mass flow rate kg/s 0.181213 0.181213 0.163833 0.01738 0.032767 0.131066 Catalysts and Operating Conditions
Pilot Unit Description
Process Flow Chart
Syngas Recirculation
Methanol Synthesis in the Pilot System Using Unenriched Air
Meng System Advantages
Economic Estimates
Economic Estimates of the MENG Unit Case A Case B Case C Case D Feed Stock Flare Flare Commercial Commercial Gas Gas Gas Gas Period of First After First After operation 6 years 6 years 6 years 6 years Annual $883,000 $883,000 $883,000 $883,000 Revenue Capital Cost/yr $385,000 0 $385,000 0 Feedstk Cost/yr 0 0 $184,000 $184,000 Labor Cost/yr $200,000 $200,000 $200,000 $200,000 Net Profit/yr $298,000 $683,000 $114,000 $499,300 Sulfur Removal Subsystem Embodiments
Modular System Design
VARIOUS USE CASES OF THE PRESENT INVENTION