A multipurpose solar lighter for conveniently lighting a cigarette, tinder, or other flammable objects, includes a hollow upper part, which further includes an upper elongated piece, a convex lens, and a stopping tab; and a hollow lower part; such that the upper part connects to the lower part, whereby a cigarette can be inserted into the solar lighter, until it reaches the stopping tab, and is lighted by focused solar light. The upper part can also be used separately to ignite tinder. Furthermore, the solar lighter can include a fire steel surface and a fire striker, and end mounted thumb caps for holding the upper and lower parts, when striking the fire steel surface with the fire striker to produce sparks that can light a fire.
1. A multipurpose solar lighter for conveniently lighting a cigarette, tinder, or other objects, comprising:
a) an upper part, further comprising:
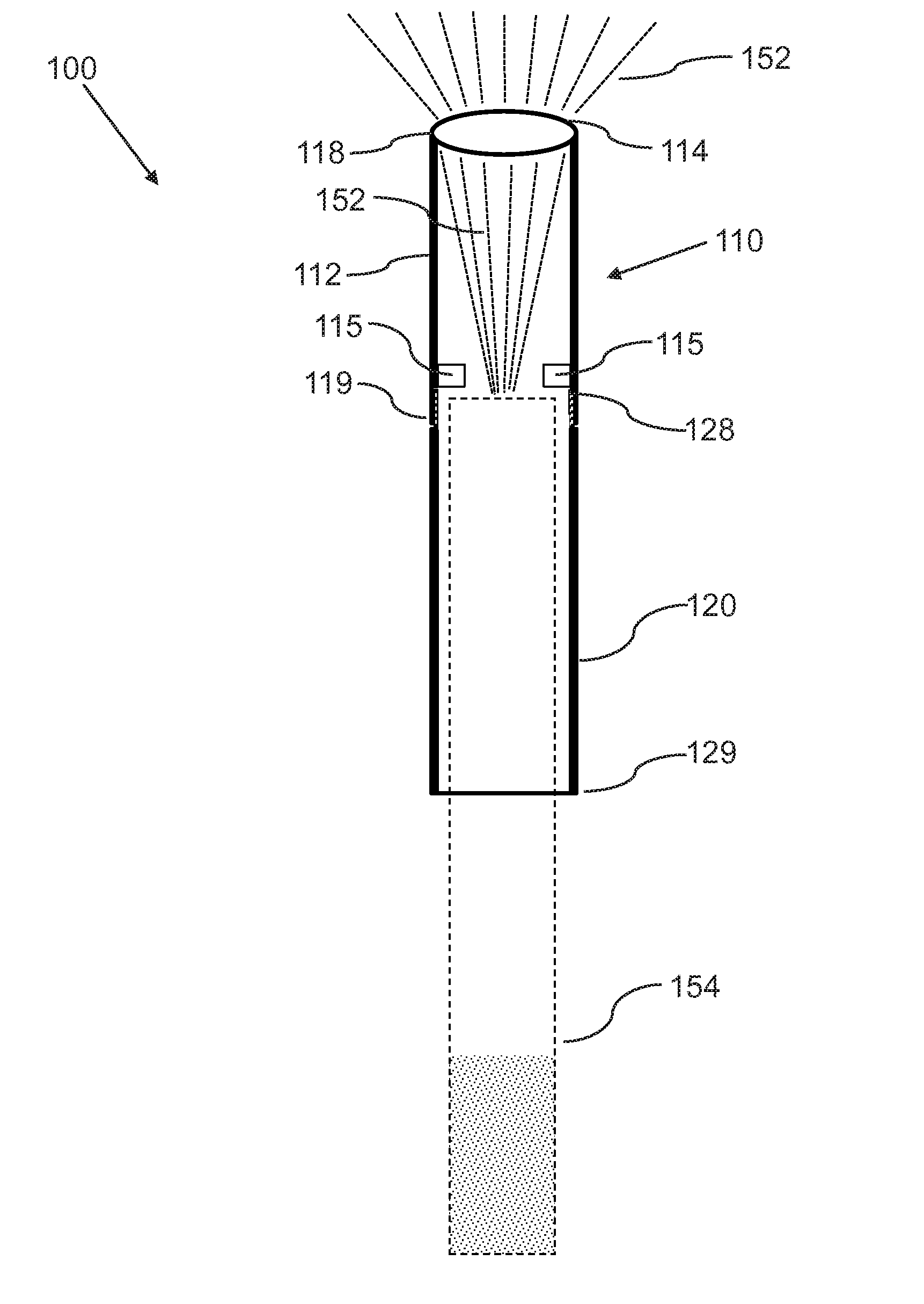
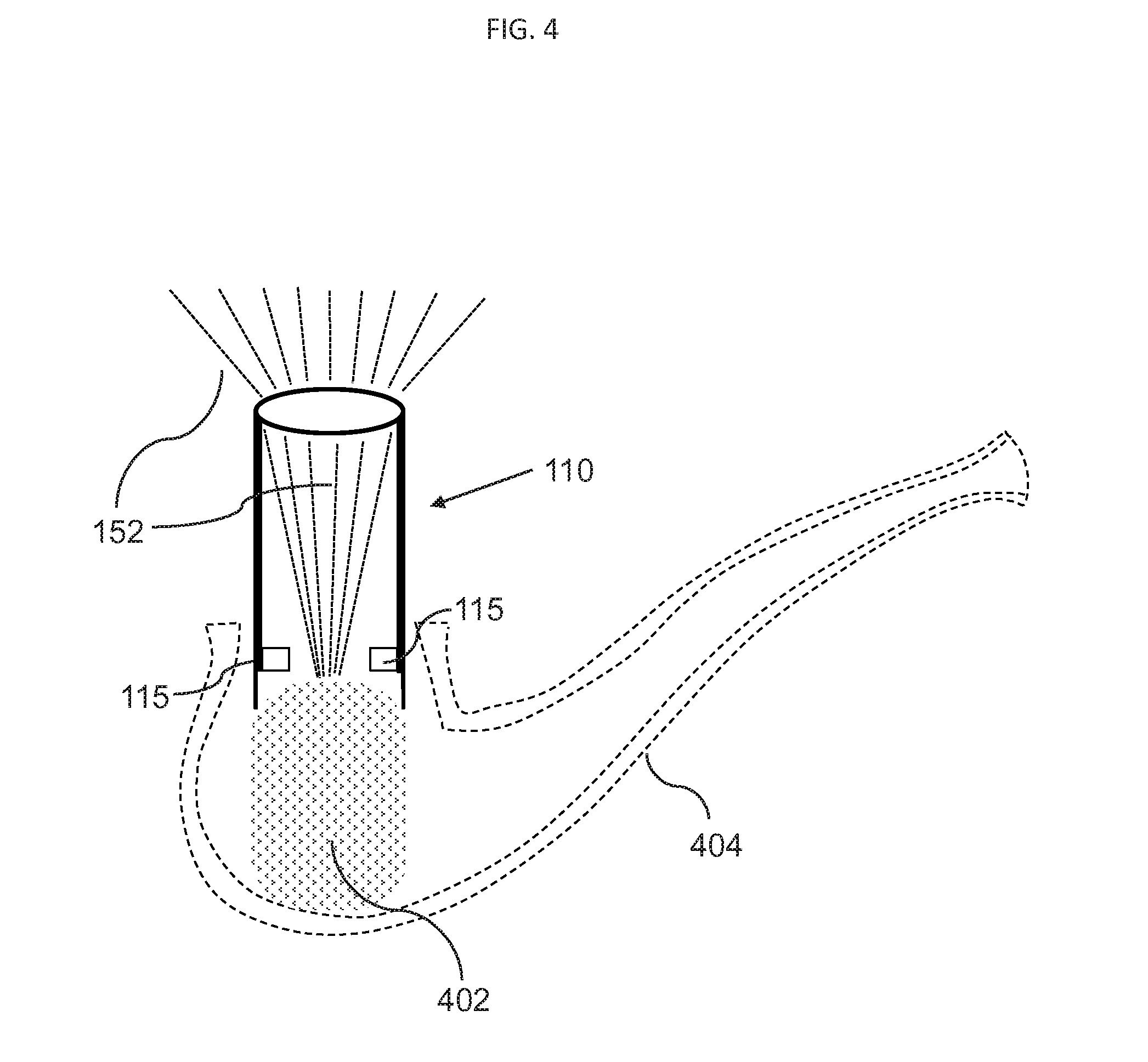
i. an upper elongated piece, which is hollow, and open in an upper front end and open in an upper rear end; ii. a convex lens; which is mounted in an opening of the upper front end; and iii. at least one stopping tab, which is mounted inside the upper part, such that a lower edge of the stopping tab is substantially in the plane of the focal point of the convex lens; and b) a lower part, which is an elongated hollow piece, which is open in a lower front end and open in a lower rear end; such that a front end of the lower part is detachably connected to the rear end of the upper part with a connection mechanism, such that the multipurpose solar lighter is hollow from below the convex lens in the upper front end to the lower rear end, forming a cavity with an opening in the lower rear end; whereby when a cigarette is inserted into the cavity, such that it reaches and is stopped by the stopping tab, thereby a tip of the cigarette is positioned at the focal point of the convex lens, thereby a strong external light source is focused by the convex lens on the tip of the cigarette, thereby lighting the cigarette. 2. The multipurpose solar lighter of 3. The multipurpose solar lighter of 4. The multipurpose solar lighter of 5. The multipurpose solar lighter of 6. The multipurpose solar lighter of 7. The multipurpose solar lighter of 8. The multipurpose solar lighter of 9. The multipurpose solar lighter of a. A protruding fire striker, which is mounted to the upper elongated piece, such that the protruding fire striker is made from a fire striker material; b. A ridged steel surface, wherein a surface of the lower part further comprises the ridged steel surface. 10. The multipurpose solar lighter of 11. The multipurpose solar lighter of a. 19% iron; b. 47% cerium; c. 22% lanthanum; d. 4% neodymium; e. 4% praseodymium; and f. 4% magnesium. 12. The multipurpose solar lighter of a. a first thumb cap, further configured with a first inner threaded aperture; and b. a second thumb cap, further configured with a second inner threaded aperture; such that the first thumb cap screws onto the front upper end, wherein the front upper end further comprises a first outer threading; and such that the second thumb cap screws onto the rear lower end, wherein the rear lower end further comprises a second outer threading; whereby a user attaches the first and second thumb caps to respectively the upper and lower parts, which are separated, and produce sparks by striking the ridged steel surface with the protruding fire striker, thereby producing sparks, which ignite an object. 13. The multipurpose solar lighter of 14. The multipurpose solar lighter of
N/A The present invention relates generally to the field of lighter devices, and more particularly to methods and systems for using solar energy to function as a cigarette lighter, in combination with other lighting mechanisms. Fire-making or burning lenses, in the form of a convex lens that can concentrate solar light and thereby ignite an exposed surface, have been known since ancient times. Similarly fire striker devices have been used since in various forms since early times. Originally used by striking iron pyrites with flint, later devices and methods used steel with various types of hard rock. Even in modern times there is widespread interest in the outdoor community in fire-making devices that use natural and traditional methods for lighting a fire or lighting tobacco products. Devices exist for lighting a cigarette with focused sunlight and modern fire steel devices are also widely available. However, these devices are restricted in that they only allow one mode of usage, and one method of ignition, and therefore a hiker may be forced to carry several devices, or resort to inconvenient procedures for using one device for several purposes, some of which the device may not have been designed for. As such, considering the foregoing, it may be appreciated that there continues to be a need for novel and improved lighter and fire-making devices and methods. The foregoing needs are met, to a great extent, by the present invention, wherein in aspects of this invention, enhancements are provided to the existing model of solar lighters. In an aspect, a multipurpose solar lighter for convenient lighting of a cigarette, tinder, or similar objects, can include an upper part which is hollow and has a convex lens mounted to an upper front end, and further includes a stopping tab, which is mounted so that a lower edge of the stopping tab is substantially in the focal plane of the convex lens; and a lower part, which is a hollow piece, that is open in both ends, such that the upper and lower parts can be connected, thereby forming an internal cavity In a related aspect, a cigarette can be inserted into the cavity, until the cigarette reaches the stopping tab, whereby a tip of the cigarette is positioned at the focal point of the convex lens, such that sunlight can be focused by the convex lens on the tip of the cigarette, thereby lighting the cigarette. In a related aspect, the upper and lower parts can be screwed together. In a related aspect, the upper part can further include one or more ventilation holes. In a related aspect, the upper part can further include a window, such that a user can see the inside, and for example, in some related aspects, view ignition of the cigarette tip by the focused sunlight. In a further related aspect, the window can be made of heat-resistant borosilicate glass. In a related aspect, the upper part can be used separately to light a piece of tinder, by pointing the convex lens towards the sun and directing the other end of the upper part, to rest against the tinder. In another aspect, the multipurpose solar lighter can further include a fire steel function, such that the multipurpose solar lighter further includes a fire striker and a ridged steel surface mounted on respectively the upper and lower parts, or alternatively on respectively the lower and upper parts. The multipurpose solar lighter can further include thumb caps, which are mounted on both the upper and lower parts to aid a user in holding the upper and lower parts when striking the ridged steel surface with the fire striker. There has thus been outlined, rather broadly, certain embodiments of the invention in order that the detailed description thereof herein may be better understood, and in order that the present contribution to the art may be better appreciated. There are, of course, additional embodiments of the invention that will be described below and which will form the subject matter of the claims appended hereto. In this respect, before explaining at least one embodiment of the invention in detail, it is to be understood that the invention is not limited in its application to the details of construction and to the arrangements of the components set forth in the following description or illustrated in the drawings. The invention is capable of embodiments in addition to those described and of being practiced and carried out in various ways. In addition, it is to be understood that the phraseology and terminology employed herein, as well as the abstract, are for the purpose of description and should not be regarded as limiting. As such, those skilled in the art will appreciate that the conception upon which this disclosure is based may readily be utilized as a basis for the designing of other structures, methods and systems for carrying out the several purposes of the present invention. It is important, therefore, that the claims be regarded as including such equivalent constructions insofar as they do not depart from the spirit and scope of the present invention. Before describing the invention in detail, it should be observed that the present invention resides primarily in a novel and non-obvious combination of elements and process steps. So as not to obscure the disclosure with details that will readily be apparent to those skilled in the art, certain conventional elements and steps have been presented with lesser detail, while the drawings and specification describe in greater detail other elements and steps pertinent to understanding the invention. The following embodiments are not intended to define limits as to the structure or method of the invention, but only to provide exemplary constructions. The embodiments are permissive rather than mandatory and illustrative rather than exhaustive. In the following, we describe the structure of an embodiment of a multipurpose solar lighter 100 with reference to In an embodiment a multipurpose solar lighter 100 for conveniently lighting a cigarette, tinder, or other objects, can comprise:
The various embodiments of the multipurpose solar lighter 100 thereby provide a natural ignition aided by the sun, avoiding any butane inhalation In a related embodiment, such as shown in In alternative related embodiments the connection mechanism can be a snap-connector with a ball release, or similar well known detachable connection mechanisms. In a related embodiment, the stopping tab 115 can instead be mounted in the lower part 120. In a related embodiment, In a related embodiment, shown in In a related embodiment, shown in In a further related embodiment, the heat-resistant material can for example be borosilicate glass. In a further related embodiment, the window 204 can be tinted, whereby the window tinting prevents any eye damage from visibility to focused light and ignited material inside the multi-purpose solar lighter 100. In related embodiments, the window tinting can be similar to optical filters used in welding helmets and goggles. In yet a further related embodiment, the multipurpose solar lighter 200 can further comprise one or two caps 206 for placing on an end of the multipurpose solar lighter 200. A cap 206 can be placed on the upper front end of the upper elongated piece 112, to protect the convex lens 114, and prevent light entering the convex lens 114, as a safety measure to prevent accidental damage from focused light. In addition, a cap 206 can be placed on a lower rear end of the lower part 120. The cap 206 can for example be made of a plastic or rubber material, and can for example be designed to fit snuggly on the end or be screwed on. In a related embodiment, In a related embodiment, In a related embodiment, the upper part 110 can be used to ignite gas emitting from a gas burner, such as used for camping, by pointing the convex lens 114 towards the sun or another light source and directing the upper rear end of the upper part 110, into the gas, whereby the gas can be ignited in the focal point of the convex lens 114. In an embodiment, the length of the multipurpose solar lighter 100 can be 3 inches long, with a width of ⅜ inches. In related embodiments the upper elongated part and the lower part can be made from a plastic material, including ABS; or a metal or metal alloy, such as aluminum or an aluminum alloy, steel, including stainless steel; and other suitable materials. In an embodiment, as illustrated in In a related embodiment, the ferrocerium material can include a composition in percentages by weight of:
The multipurpose solar lighter 500, can further include two thumb caps with an inner threaded aperture that screws onto respectively the front upper end, which further includes an outer threading 508, and the rear lower end, which further includes an outer threading (not visible in The many features and advantages of the invention are apparent from the detailed specification, and thus, it is intended by the appended claims to cover all such features and advantages of the invention, which fall within the true spirit and scope of the invention. Many such alternative configurations are readily apparent, and should be considered fully included in this specification and the claims appended hereto. Accordingly, since numerous modifications and variations will readily occur to those skilled in the art, it is not desired to limit the invention to the exact construction and operation illustrated and described, and thus, all suitable modifications and equivalents may be resorted to, falling within the scope of the invention.CROSS-REFERENCE TO RELATED APPLICATIONS
FIELD OF THE INVENTION
BACKGROUND OF THE INVENTION
SUMMARY OF THE INVENTION
BRIEF DESCRIPTION OF THE DRAWINGS
DETAILED DESCRIPTION