A galley module comprises a base galley section and a top galley section, wherein the base galley section comprises a top end adapted for carrying the top galley section. The base galley section comprises a first functional arrangement with a first access direction in a horizontal plane and the top galley section comprises at least one second functional arrangement having a second access direction in the horizontal plane. The first access direction and the second access direction enclose an angle of at least 90° in the horizontal plane.
1. A galley module, comprising:
a base galley section and a top galley section, wherein the base galley section comprises a top end adapted for carrying the top galley section, wherein the base galley section comprises a first functional arrangement with a first access direction in a horizontal plane, wherein a main part of the top galley section comprises at least one second functional arrangement having a second access direction in the horizontal plane and wherein the first access direction and the second access direction enclose an angle of at least 90° in the horizontal plane. 2. The galley module of wherein the angle enclosed by the first access direction and the second access direction is 90°. 3. The galley module of wherein the angle enclosed by the first access direction and the second access direction is 180°. 4. The galley module of wherein the first functional arrangement comprises at least one storage space for receiving containers for use inside the cabin. 5. The galley module of wherein the second functional arrangement comprises at least one storage compartment. 6. The galley module of wherein the base galley section comprises a width, which exceeds the depth of the top galley section. 7. The galley module of wherein the base galley section comprises a working surface, which extends from a first lateral wall of the base galley section to an access side of the top galley section. 8. The galley module of further comprising a holder for attaching a partition curtain. 9. The galley module of wherein the second functional arrangement is adapted for housing galley inserts. 10. A cabin arrangement for a cabin of a vehicle, comprising:
a cabin floor; and a galley module arranged on the cabin floor, the galley module, comprising: a base galley section and a top galley section, wherein the base galley section comprises a top end adapted for carrying the top galley section, wherein the base galley section comprises a first functional arrangement with a first access direction in a horizontal plane, wherein a main part of the top galley section comprises at least one second functional arrangement having a second access direction in the horizontal plane and wherein the first access direction and the second access direction enclose an angle of at least 90° in the horizontal plane. 11. The cabin arrangement of 12. The cabin arrangement of 13. The cabin arrangement of 14. The cabin arrangement of 15. An aircraft cabin arrangement, comprising:
a cabin floor; and a galley module arranged on the cabin floor, the galley module, comprising: a base galley section, and a top galley section, wherein the base galley section comprises a top end adapted for carrying the top galley section, wherein the base galley section comprises a first functional arrangement with a first access direction in a horizontal plane, wherein a main part of the top galley section comprises at least one second functional arrangement having a second access direction in the horizontal plane and wherein the first access direction and the second access direction enclose an angle of at least 90° in the horizontal plane, a partition curtain extending between the galley module and a monument inside the cabin, and wherein the galley module is arranged between an aisle and a door region, wherein the partition curtain extends between an edge of the galley module facing the aisle and the monument.
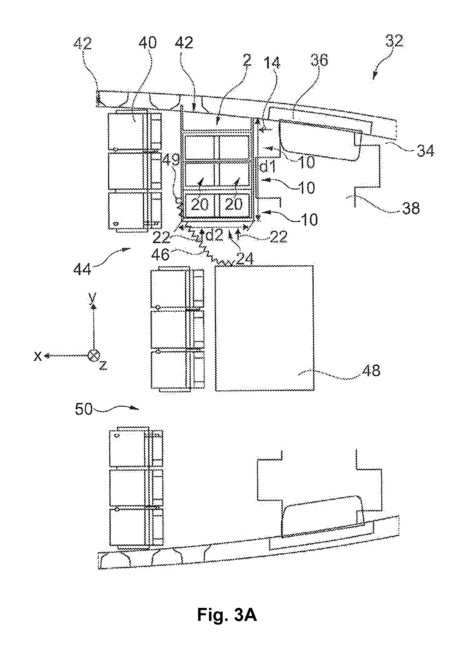
This application claims priority to European Patent Application No. 14 188 548.3, filed 10 Oct. 2014, which is incorporated herein by reference in its entirety. The embodiments described herein relate to a galley module, a cabin arrangement for a cabin of a vehicle as well as an aircraft having a cabin with such a cabin arrangement. Commonly, a cabin of an aircraft or another large commercial vehicle comprises a plurality of passenger seats as well as a number of functional components, such as cabin monuments comprising a toilet, a galley, cabin attendant seats and so on. Due to a limited installation space in the cabin, galley modules are often installed in the vicinity of an aircraft door, at a forward-most end or at a rearward-most end of the cabin. A galley module often comprises a front, which is accessible to cabin personnel. The front may be divided in several different sections for accomplishing different tasks. For example, a galley may comprise a plurality of storage spaces at a bottom side for storing cabin trolleys. These are adapted for receiving a trolley, which is pushed into the respective storage space along the cabin floor. Furthermore, a galley may comprise additional, but smaller storage compartments above the storage spaces, which storage compartments are adapted for storing various items or food. Still further, it is known to provide compartments for receiving electrically operated devices, such as ovens, coffee machines, etc. which are usually referred to as galley inserts (GAIN). U.S. Pat. No. 7,780,114 B2 shows a modular galley for an aircraft with several vertical and horizontal structural elements and usage areas provided there between for accommodating slide-in devices. Furthermore, it is known to combine different functional components into a larger monument extending over the complete width of a rear section of an aircraft cabin. Exemplarily, WO 2012110643 A1 discloses a combination of lavatory modules and galley modules in one large monument. The size of galleys to be integrated, especially in a door region of an aircraft cabin, is limited due to several regulations, which e.g. require the ability for a direct view from certain positions in the cabin. For example, regulatory authorities require that each seat located in a passenger compartment designated for use by cabin crew members should provide an unobstructed view of the cabin area for which the respective crew member is responsible. In this regard, the term “direct view” stands for providing a visual contact with a cabin main area and aisles, enabling a flight attendant to be made aware of safety related passenger needs when a respective flight attendant is seated. Furthermore, it is a constant aim to increase the number of passenger seats in an aircraft cabin, such that a space-efficient design of a galley module is desired, which may be installed in spaces that do not suggest themselves for passenger seats or that allow to reduce the available space inside the cabin. Hence, it is an object of the embodiment to provide a galley module, which is as space-efficient as possible. A galley module is provided that comprises a base galley section and a top galley section, wherein the base galley section comprises a top end adapted for carrying the top galley section, wherein the top galley section is positioned on the top end of the base galley section. The base galley section comprises at least one first functional arrangement with a first access direction in a horizontal plane. A main part of the top galley section comprises at least one second functional arrangement having a second access direction in the horizontal plane. The first access direction and the second access direction enclose an angle of at least 90° in the horizontal plane. Hence, the galley module is basically divided into two separate or segregated vertical sections, which are arranged on top of each other. The base galley section may be designed so as to be placed on a cabin floor and so as to be lockable in position. The base galley section may rigidly support the top galley section. Since it is arranged under the top galley section, it may comprise at least one horizontally accessible opening that has a lower end flush with a cabin floor, on which the base galley section is located. Consequently, the base galley section may preferably comprise at least one storage compartment for receiving cabin trolleys or other large or bulky items, allowing to simply push objects into the base galley section or to simply pull them out. Basically, the top galley section may include any device or arrangement for any desire and may either form an integral part with the base galley section or may be realized as a separately manufactured component, which is simply attached to a dedicated receiving surface or frame of the base galley section. In this regard, a main part may refer to at least ⅔ of a main measure, such as the width, or the volume of the top galley section. This does not exclude the fact that a minor part of the top galley section may include a clearly smaller arrangement, which comprises another access direction. A gist of the embodiment lies in providing two different access directions, which are at least perpendicular to each other. This design particularly allows the installation of the galley module according to the embodiment in a region with a strictly limited space, such as in a door region of the aircraft cabin. As the base and the top galley section are separated through their “twist” and as the access directions differ, it may especially be possible to provide clearly different widths and depths of both sections, such that the top section does not obstruct a direct view from a cabin attendant seat at a certain position and by still allowing to provide a sufficient space in a base galley section, e.g. for storing cabin trolleys. Such a “twisted” design particularly aims at optimizing the use of available cabin floor space forward and aft of the door areas, while the galley module according to the embodiment may also be integrated into other spots in the cabin with strict space constraints. Furthermore it allows to separate passenger related and cabin crew related functions of the galley module through their different access directions. Advantageously, this enables self-service stations, e.g. for domestic flights with reduced service or minimum cabin crew or long range flights during cabin crew off-duty time. In addition, passenger-related functions of the galley module may improve certain lounge or first class configurations. Resultantly, the galley module has two distinct main advantages. A first essential advantage lies in the physical separation of the space required in front of the top galley section and the base galley section. This leads to gaining additional space for lateral seating areas in a cabin by especially turning the base galley section part towards a cross aisle, e.g. between two longitudinal (in x-direction of the aircraft) aisles and therefore reducing the space required by the items for use in the top galley section or in the lower galley section in a longitudinal (x) direction. Further, additional storage space or work deck space in or in front of the top galley section may be created, as the internal layout of the galley module may be completely rearranged to make best use of the available space, such as aircraft structure and systems. This leads to avoiding operational problems of lateral transversal galleys with door frame lining, door hinges, slide rafts or other items by turning either the top or base section of the galley module towards a longitudinal aisle in the cabin. Still further, a clear separation, which may be accomplished by means of a curtain, may be accomplished between the top and base galley section. This enables access to the trolleys or other bulky items stored in the base galley section from a dedicated galley area reserved for cabin crew members, while still allowing passenger to access snacks, drinks or electrically operated devices adapted for self-service operation in the top galley section without entering said dedicated galley area. In addition, the “twisted” design improves the structural integrity of the galley module. In an advantageous embodiment, the angle enclosed by the first axis direction and the second axis direction is 90°. Hence, the base galley section and the top galley section have front faces, which are perpendicular to each other on a horizontal plane, such that the functions accomplished by both galley sections are clearly separated from each other. Especially in regions in front of or at the end of a passenger seat arrangement or group, or in corners where two adjacent faces of the galley module are accessible, such a perpendicular arrangement is preferred. In an alternative, the angle enclosed by the first axis direction and the second axis direction may also be 180°. This may be feasible in regions in front of or behind arrangements of passenger seats particularly in cabins with two parallel aisles, when the galley module is placed in a center region between the two aisles. In a still further advantageous embodiment, the first functional arrangement comprises at least one storage space for receiving containers for use inside the cabin. These containers may be cabin trolleys or other containers for storing food or other items. Preferably, the base galley section is coupled with or includes a cooling system for cooling the containers to be stored in the storage spaces. However, as the base galley section preferably comprises larger dimensions than the top galley section, the storage spaces may also be adapted for receiving other large and bulky items or containers. It is preferred that the second functional arrangement comprises at least one storage compartment. The storage compartment may be adapted for housing electrically operated or non-electrical devices for use in the cabin. However, the storage compartment may also simply be adapted for storing various items, which may be used inside the cabin. Still further, the base galley section comprises a width, which exceeds the depth of the top galley section. Especially in a perpendicular arrangement of both access directions, only a part of a top end of the base galley section is occupied by the top galley section. Still further, the base galley section comprises a working surface, which extends from a first lateral wall of the base galley section to an access side of the top galley section. When the top galley section is smaller in depth than the width of the base galley section, this leaves a part of the top end of the base galley section unused, which part may preferably be adapted for constituting a working surface. This part may be equipped with a surface coating, e.g. a resin and fiber web based laminate or any other suitable surface cover designed for this purpose. The galley module may further comprise a holder for attaching a partition curtain. The top galley section and/or the base galley section may then have limited or no access, depending on the exact position of the holder, when the partition curtain is attached to the holder and extends to another position in the cabin. In an advantageous embodiment, the holder may be a removable holder, which is fastenable at different positions of the galley module. For this purpose, the holder may comprise a latching mechanism that allows to selectively attach the holder to the galley module at different positions throughout the normal operation of the vehicle, i.e. without requiring tools. As indicated above, the second functional arrangement may be adapted for housing electrically operated galley inserts, such as coffeemakers, ovens, etc. or non-electrical inserts. Embodiments further relate to a cabin arrangement for a cabin in a vehicle, comprising a cabin floor and a galley module having any of the features mentioned above, which galley module is arranged on the cabin floor. The cabin arrangement may further comprise a door region, wherein an access side of the base galley section faces the door region. A door region is to be understood as a part of the cabin, which is directly adjacent to an access door that selectively opens or closes an opening in a fuselage of the vehicle and provides access from outside the vehicle into the cabin inside the vehicle. The door region preferably includes a cabin floor section, which directly follows on the opening in the fuselage and which must be trespassed when entering or leaving the cabin. In another advantageous embodiment, the galley module rests flush against an inner wall of the cabin, wherein an access side of the top galley section faces away from said inner wall. Still further, the cabin arrangement may comprise a partition curtain extending between the galley module and a monument inside the cabin. Also, the galley module may be arranged between an aisle and a door region, wherein the partition curtain extends between an edge of the galley module facing the aisle and the monument. Still further, the embodiments relate to an aircraft having a cabin arrangement according to the above-mentioned features. The various embodiments will hereinafter be described in conjunction with the following drawing figures, wherein like numerals denote like elements, and: In addition, other objects, desirable features and characteristics will become apparent from the subsequent summary and detailed description, and the appended claims, taken in conjunction with the accompanying drawings and this background. The following detailed description is merely exemplary in nature and is not intended to limit the disclosed embodiments or the application and uses thereof. Furthermore, there is no intention to be bound by any theory presented in the preceding background detailed description. The cabin trolleys may be moved in their associated storage spaces 10 through pushing in a first access direction 14 or through pulling opposite to the first access direction 14 parallel to a cabin floor 16, on which the lower end 6 rests. As the galley module 2 is adapted for the installation in an aircraft cabin or the cabin of another commercial transportation means, the cabin floor 16 is horizontal, such that the first access direction 14 lies in a horizontal plane. On top of the top end 8, a top galley section 18 is positioned, which comprises a number of storage compartments 20 for receiving electrically operated galley devices, so-called galley inserts (GAIN), for receiving non-electrical inserts (NELI) or for simply being used for storing items, which may be supported by a door or a flap for selectively opening and closing the storage compartments 20. The top galley section 18 is not necessarily a separately manufactured part, which is then installed on top of the base galley section 4, but it may also be an integral part together with the base galley section 4. A characteristic feature of the galley module 2 according to an embodiment lies in the fact that the top galley section 18 comprises a second access direction 22, which is parallel to the cabin floor 16 and which encloses an angle to the first access direction 14 of exemplarily 90°. Hence, the access directions for the top galley section 18 and the base galley section 4 are perpendicular to each other. This means, that a person standing in front of a lateral wall 24 of the base galley section 4 may simply access the storage compartments 20 or any other functional arrangement of the top galley section 18, while the storage compartments 10 for cabin trolleys or any other functional arrangement remains completely unobstructed. This provides to the ability to access the storage spaces 10 independently, while allowing a space efficient design of the galley module 2. The width of the base galley section 4 is indicated by d1. This measure may be determined by the available (and required or desired) space in the cabin and is measured along the individual storage spaces 10 between the outermost lateral delimitations. The depth of the base galley section 4 is indicated by d2. In case it is planned to store full size cabin trolleys in the base galley section 4, the measure d2 may be determined by the extension of these full size trolleys. However, it may also be possible to store a single half size trolley, a plurality of half size trolleys one behind the other or a combination of one or more half size trolleys and a full size trolley. Thus, the dimension d2 is not limited by the length of a common full size or half size trolley. To achieve a harmonic appearance and for rendering the use of the available space as efficient as possible, the width of the top galley section 18, which is indicated by d3, may be equal to d2. However, this is not necessarily the case, as by reducing the width d3 or by exceeding the width d2, the creation of a step between both galley sections 4 and 18 is possible. The depth of the top galley section 18, which is indicated by d4, may be clearly smaller than d1, such that a fraction of a surface 26 on the top end 8 of the base galley section 4 remains unused, but provides a working surface 26 or allows to temporarily deposit objects. It goes without saying, that the working surface 26 may preferably be coated or covered with an abrasion resistant material. The galley module 2 exemplarily comprises a second lateral surface 28, which is positioned opposite to the first lateral surface 24, but is not necessarily closed. As apparent in In In The storage spaces 10 are accessible from the door area 38 in the first access direction 14, while the storage compartments 20 are accessible from the aisle 44 in the second access direction 22. It may be possible to let a partition curtain 46 extend between the galley module 2 and a center monument 48, such that the access to the galley module 2 may be limited. For example, the curtain may be extendable from a forward end of the galley module 2 (in x-direction) to the center monument 48, such that neither the storage compartments 20 nor the storage spaces 10 are accessible. The partition curtain 46 may be fixed to the galley module 2 by means of a holder 49, which may be rigidly mounted to the galley module 2, or which may be releasably fastenable in order to change its position. The opposite end of the partition curtain 46 may be attachable to a corresponding holder or lock (not illustrated). Also, two partition curtains 46, i.e. the one shown in In the exemplary embodiments shown in In a still further view presented in In these illustrations, the storage spaces 10 are hidden, but it is clearly apparent that they may be accessed from the door region 38. Hence, even if the storage compartments 20 are accessed from a position adjacent to the first lateral wall 24, the storage spaces 10 remain completely unblocked. Due to the reduced size of the top galley section 18, a direct view from a cabin attendant seat at an opposite side of the door region 38 is not obstructed. Hence, the galley module 2 according to this embodiment allows to efficiently use the space available in or directly adjacent to the door region 38 under compliance with all relevant regulations. In It is also conceivable that the galley module 2 is arranged in a forward-most area of the cabin, such as in a forward door region or between a door region and a cockpit. It should be pointed out that “comprising” does not exclude other elements or steps, and “a” or “an” does not exclude a plural number. Furthermore, it should be pointed out that characteristics or steps which have been described with reference to one of the above exemplary embodiments can also be used in combination with other characteristics or steps of other exemplary embodiments described above. Reference characters in the claims are not to be interpreted as limitations. While at least one exemplary embodiment has been presented in the foregoing detailed description, it should be appreciated that a vast number of variations exist. It should also be appreciated that the exemplary embodiment or exemplary embodiments are only examples, and are not intended to limit the scope, applicability, or configuration of the embodiment in any way. Rather, the foregoing detailed description will provide those skilled in the art with a convenient road map for implementing an exemplary embodiment, it being understood that various changes may be made in the function and arrangement of elements described in an exemplary embodiment without departing from the scope of the embodiment as set forth in the appended claims and their legal equivalents.CROSS-REFERENCE TO RELATED APPLICATION
TECHNICAL FIELD
BACKGROUND
SUMMARY
BRIEF DESCRIPTION OF THE DRAWINGS
DETAILED DESCRIPTION