заявка
№ US 20160082444
МПК B02C18/18

PERFORATED ROTARY CUTTER

Авторы:
Rob SABOL Corey GLAUBERMAN Daniel MCHUGH
Все (5)
Правообладатель:
Номер заявки
14862226
Дата подачи заявки
23.09.2015
Опубликовано
24.03.2016
Страна
US
Как управлять
интеллектуальной собственностью
Чертежи 
7
Реферат

[0000]

An apparatus for comminuting solid waste material is provided an includes a casing defining a comminution chamber and being open on opposite sides thereof for permitting the flow of liquid therethrough and a comminutor assembly including cooperating substantially parallel first and second shredding stacks. The comminutor assembly includes first and second parallel shafts rotabably mounted, each including a plurality of cutting elements mounted on said first shaft in interspaced relationship with a plurality of second cutting elements mounted on said second shaft, the cutting elements being positioned between and separated in an axial direction by spacers which are coplanar with the cutting elements of the adjacent stack such that a cutting element from one stack and a spacer from the other stack form a pair of interactive shredding members, wherein the at least one cutting tooth has a plurality of serrations, a tapered profile or a bi-level profile.

[00000]

Формула изобретения

1. An apparatus for comminuting solid waste material comprising:

a casing defining a comminution chamber and being open on opposite sides thereof for permitting the flow of liquid therethrough bearing solid waste material and being adapted for connection in a solid waste disposal line;

a comminutor assembly including cooperating substantially parallel first and second shredding stacks comprising:

first and second parallel shafts rotabably mounted, each including a plurality of cutting elements mounted on said first shaft in interspaced relationship with a plurality of second cutting elements mounted on said second shaft, each of said cutting elements having at least one cutting tooth thereon, said cutting elements being positioned between and separated in an axial direction by spacers which are coplanar with the cutting elements of the adjacent stack such that a cutting element from one stack and a spacer from the other stack form a pair of interactive shredding members,

wherein the at least one cutting tooth has a plurality of serrations.

2. The apparatus for comminuting solid waste material according to claim 1, wherein the serrations are formed on leading edge of the cutter tooth and extend along a gullet of the cutter tooth.

3. The apparatus for comminuting solid waste material according to claim 2, wherein the spacers adjacent the cutting elements in the other stack have a cylindrical outer profile.

4. The apparatus for comminuting solid waste material according to claim 1, wherein serrations are formed on an outer circumferential surface of the cutting teeth of the cutting elements to extend along the outer circumferential surface.

5. The apparatus for comminuting solid waste material according to claim 4, wherein the spacers adjacent the cutting elements in the other stack are formed with a plurality of grooves configured to interleave with the corresponding serrations formed along the outer circumferential surface of the cutting teeth of the cutter elements.

6. An apparatus for comminuting solid waste material comprising:

a casing defining a comminution chamber and being open on opposite sides thereof for permitting the flow of liquid therethrough bearing solid waste material and being adapted for connection in a solid waste disposal line;

a comminutor assembly including cooperating substantially parallel first and second shredding stacks comprising:

first and second parallel shafts rotabably mounted, each including a plurality of cutting elements mounted on said first shaft in interspaced relationship with a plurality of second cutting elements mounted on said second shaft, each of said cutting elements having at least one cutting tooth thereon, said cutting elements being positioned between and separated in an axial direction by spacers which are coplanar with the cutting elements of the adjacent stack such that a cutting element from one stack and a spacer from the other stack form a pair of interactive shredding members,

wherein an outer surface of the cutting teeth of the cutter elements are formed with a bi-level profile to form an outer facing outer surface and an outer facing inner surface disposed radially inward of the outer surface.

7. The apparatus for comminuting solid waste material according to claim 6, wherein the spacers adjacent the cutting elements in the other stack are formed with a bi-level outer profile configured to interleave with the bi-level profile of the cutting elements.

8. The apparatus for comminuting solid waste according to claim 6, wherein serrations are formed on a leading edge of the cutter tooth and extend along a gullet of the cutter tooth.

9. An apparatus for comminuting solid waste material comprising:

a casing defining a comminution chamber and being open on opposite sides thereof for permitting the flow of liquid therethrough bearing solid waste material and being adapted for connection in a solid waste disposal line;

a comminutor assembly including cooperating substantially parallel first and second shredding stacks comprising:

first and second parallel shafts rotabably mounted, each including a plurality of cutting elements mounted on said first shaft in interspaced relationship with a plurality of second cutting elements mounted on said second shaft, each of said cutting elements having cutter teeth thereon, said cutting elements being positioned between and separated in an axial direction by spacers which are coplanar with the cutting elements of the adjacent stack such that a cutting element from one stack and a spacer from the other stack form a pair of interactive shredding members,

where the cutter teeth are formed with a tapered outer profile, the tapered profile being tapered along an axial direction of the outer circumference of the cutting elements.

10. The apparatus for comminuting solid waste material according to claim 9, wherein the spacers adjacent the cutting elements in the other stack have a tapered profile to interleave with the adjacent cutting elements.

11. The apparatus for comminuting solid waste material according to claim 9, wherein the cutter teeth are formed with a dual tapered outer profile, the tapered outer profile being tapered along an axial direction of the outer circumference of the cutting elements.

12. The apparatus for comminuting solid waste material according to claim 11, wherein the spacers adjacent the cutting elements in the other stack have a dual tapered profile to interleave with the adjacent cutting elements.

13. The apparatus for comminuting solid waste material according to claim 11, wherein the cutter teeth are formed such that the cutter teeth have their maximum diameter at a center of the cutting element with respect to an axial direction of the cutting element.

14. The apparatus for comminuting solid waste material according to claim 13, wherein the spacers adjacent the cutting elements in the other stack are formed with a minimum diameter at a center of the spacers with respect to an axial direction of the spacers.

15. The apparatus for comminuting solid waste material according to claim 11, wherein the cutter teeth are formed such that the cutter teeth have their minimum diameter at a center of the cutting element with respect to an axial direction of the cutting element.

16. The apparatus for comminuting solid waste material according to claim 15, wherein the spacers adjacent the cutting elements in the other stack are formed with a maximum diameter at a center of the spacers with respect to an axial direction of the spacers.

Описание

CROSS-REFERENCE TO RELATED PATENT APPLICATIONS

[0001]

This application claims the benefit of U.S. Provisional Patent Application No. 62/054,643 filed on Sep. 24, 2014 in the U.S. Patent Trademark Office, the disclosure of which is incorporated herein in its entirety by reference.

BACKGROUND OF THE INVENTION

[0002]

1. Field of the Invention

[0003]

Twin-shafted grinders are commonly used for solids particle size reduction in various municipal wastewater applications. Cutters, or knives, stacked on counter-rotating shafts “grind” or “shred” materials ranging from feminine sanitary products to rock. The geometry of the cutters and the shaft speeds affect the particle size and throughput produced by the machine.

[0004]

2. Description of the Related Art

[0005]

Starting in the late 2000s, non-dispersible wipes (sheets) and paper products started becoming more and more prevalent in municipal wastewater. Common cutter designs have proven reasonably effective at shredding friable materials, such as wood, tampon applicators and shoes, however, when shredding fibrous materials such as non-dispersible wipes, fabric, and paper, these configurations often produce strips that tend to reweave in the waste stream when combined with a binder, such as hair. Comminuting systems with counter-rotating cutter elements have been used for years to reduce waste water solids in order to protect downstream equipment such as pumps. Smaller particles have a lessor chance of re-weaving into larger clumps which could damage or reduce the efficiency of equipment. Thus, an aspect of this application is to shred these fibrous items into strips of controlled lengths having reduced widths.

[0006]

In the related art as shown in FIG. 7, the counter-rotating cutter stacks 44 and 46 comprise an alternating sequence of cutting elements 48 and spacers 50 fitted over a shaft 5, 68. The overlap and counter-rotation occurring in zone 52 shreds the material as it passed through the cutter elements.

SUMMARY OF THE INVENTION

[0007]

According to an aspect of the present invention, there is provided an apparatus for comminuting solid waste material including a casing defining a comminution chamber and being open on opposite sides thereof for permitting the flow of liquid therethrough bearing solid waste material and being adapted for connection in a solid waste disposal line and a comminutor assembly including cooperating substantially parallel first and second shredding stacks.

[0008]

The comminutor assembly including first and second parallel shafts rotabably mounted, each including a plurality of cutting elements mounted on said first shaft in interspaced relationship with a plurality of second cutting elements mounted on said second shaft, each of said cutting elements having at least one cutting tooth thereon, said cutting elements being positioned between and separated in an axial direction by spacers which are coplanar with the cutting elements of the adjacent stack such that a cutting element from one stack and a spacer from the other stack form a pair of interactive shredding members. The cutting tooth having a plurality of serrations.

[0009]

The serrations may be formed on leading edge of the cutter tooth and extend along a gullet of the cutter tooth. The spacers adjacent the cutting elements in the other stack have a cylindrical outer profile.

[0010]

According to another aspect, serrations are formed on an outer circumferential surface of the cutting teeth of the cutting elements to extend along the outer circumferential surface. The spacers adjacent the cutting elements in the other stack may be formed with a plurality of grooves configured to interleave with the corresponding serrations formed along the outer circumferential surface of the cutting teeth of the cutter elements.

[0011]

According to another aspect, there is provided an apparatus for comminuting solid waste material including a casing defining a comminution chamber and being open on opposite sides thereof for permitting the flow of liquid therethrough bearing solid waste material and being adapted for connection in a solid waste disposal line, and a comminutor assembly including cooperating substantially parallel first and second shredding stacks.

[0012]

The comminutor assembly includes first and second parallel shafts rotabably mounted, each including a plurality of cutting elements mounted on said first shaft in interspaced relationship with a plurality of second cutting elements mounted on said second shaft, each of said cutting elements having at least one cutting tooth thereon, said cutting elements being positioned between and separated in an axial direction by spacers which are coplanar with the cutting elements of the adjacent stack such that a cutting element from one stack and a spacer from the other stack form a pair of interactive shredding members. The outer surface of the cutting teeth of the cutter elements are formed with a bi-level profile to form an outer facing outer surface and an outer facing inner surface disposed radially inward of the outer surface.

[0013]

According to another aspect, the spacers adjacent the cutting elements in the other stack are formed with a bi-level outer profile configured to interleave with the bi-level profile of the cutting elements. Additionally, serrations may be formed on a leading edge of the cutter tooth and extend along a gullet of the cutter tooth.

[0014]

According to another aspect, there is provided an apparatus for comminuting solid waste material including a casing defining a comminution chamber and being open on opposite sides thereof for permitting the flow of liquid therethrough bearing solid waste material and being adapted for connection in a solid waste disposal line, and a comminutor assembly including cooperating substantially parallel first and second shredding stacks.

[0015]

The comminutor includes first and second parallel shafts rotabably mounted, each including a plurality of cutting elements mounted on said first shaft in interspaced relationship with a plurality of second cutting elements mounted on said second shaft, each of said cutting elements having cutter teeth thereon, said cutting elements being positioned between and separated in an axial direction by spacers which are coplanar with the cutting elements of the adjacent stack such that a cutting element from one stack and a spacer from the other stack form a pair of interactive shredding members. The cutter teeth are formed with a tapered outer profile, the tapered profile being tapered along an axial direction of the outer circumference of the cutting elements.

[0016]

According to another aspect, the spacers adjacent the cutting elements in the other stack have a tapered profile to interleave with the adjacent cutting elements.

[0017]

According to another aspect, the cutter teeth are formed with a dual tapered outer profile, the tapered outer profile being tapered along an axial direction of the outer circumference of the cutting elements. The spacers adjacent the cutting elements in the other stack may have a dual tapered profile to interleave with the adjacent cutting elements. The cutter teeth may be formed such that the cutter teeth have their maximum diameter at a center of the cutting element with respect to an axial direction of the cutting element. The spacers adjacent the cutting elements in the other stack may be formed with a minimum diameter at a center of the spacers with respect to an axial direction of the spacers.

[0018]

According to another aspect, the cutter teeth are formed such that the cutter teeth have their minimum diameter at a center of the cutting element with respect to an axial direction of the cutting element. The spacers adjacent the cutting elements in the other stack may be formed with a maximum diameter at a center of the spacers with respect to an axial direction of the spacers.

BRIEF DESCRIPTION OF THE DRAWINGS

[0019]

The above and other features and aspects of the present invention will become more apparent by describing in detail exemplary embodiments thereof with reference to the attached drawings in which:

[0020]

FIG. 1A is an isometric view of radially oriented serrations on the leading edge of cutters;

[0021]

FIG. 1B is a top view of radially oriented serrations on the leading edge of cutters;

[0022]

FIG. 1C is a close up view of radially oriented serrations on the leading edge of cutters at the cutter/spacer interface;

[0023]

FIG. 2A is an isometric view of circumferentially oriented serrations on the leading edge of cutters;

[0024]

FIG. 2B is a top view of circumferentially oriented serrations on the leading edge of cutters;

[0025]

FIG. 2C is a close up view of circumferentially oriented serrations on the leading edge of cutters and interleaving spacer interface;

[0026]

FIG. 3A is an isometric view of an interleaving cutter and spacer;

[0027]

FIG. 3B is a top view of an interleaving cutter and spacer;

[0028]

FIG. 3C is a close up view of an interleaving cutter and spacer interface;

[0029]

FIG. 4A is an isometric view of a combination serrated and interleaving cutter and spacer;

[0030]

FIG. 4B is a top view of a combination serrated and interleaving cutter and spacer;

[0031]

FIG. 4C is a close up view of a combination serrated and interleaving cutter and spacer—cutter/spacer interface;

[0032]

FIG. 5A is an isometric view of an interleaving V-profile cutter and spacer;

[0033]

FIG. 5B is a top view of an interleaving V-profile cutter and spacer;

[0034]

FIG. 5C is a close up view of an inverted interleaving V-profile cutter and spacer—cutter/spacer interface;

[0035]

FIG. 6A is an isometric view of an inverted interleaving V-profile cutter and spacer;

[0036]

FIG. 6B is a top view of an inverted interleaving V-profile cutter and spacer;

[0037]

FIG. 6C is a close up view of an inverted interleaving V-profile cutter and spacer—cutter/spacer interface;

[0038]

FIG. 7 is a comminuting system in the related art.

DETAILED DESCRIPTION OF THE INVENTION

[0039]

The present invention will now be described more fully with reference to the accompanying drawings, in which exemplary embodiments of the invention are shown.

[0040]

An aspect of this application is to provide improved cutters and spacers that consistently pierce or perforate and weaken dry and wetted fibrous waste water solids to facilitate tearing into short strips. This is accomplished using: 1) tooth profiles that incorporate serrations on the cutter teeth, or 2) tooth profiles that incorporate geometry that interleaves all or a portion of the cutter teeth with the opposing spacer. Additional embodiments describe interleaving designs using cutters with a V-shaped interface of cutter to spacer.

[0041]

As shown in FIGS. 1A-1C, a first embodiment of the application describes a cutter 20 for use with a spacer 20 on an adjacent cutter stack. In the embodiment, the each cutter 20 is formed with a plurality of cutter teeth 40 disposed around the outer circumference of the cutter 20 body. During operation and when the adjacent stacks are rotating, the outer most portion of the cutter teeth 40, or lands 90, pass by the outer circumferential surface 35 of the spacer 30 to cut and shear solid waste material. As shown in these figures, the cutter teeth 40 have multiple serrations 25 on the leading edge of each cutter tooth 40 within the gullet 60 of the cutter 20. These serrations 25 are oriented radially from the center of the cutter 20 outward toward the land 90. The serrations 25 create an effective tearing surface to perforate and tear fibrous solids into shorter strips. The cutters 20 of this embodiment are configured to operate with spacers of cylindrical outer profile.

[0042]

According to a second embodiment as shown in FIGS. 2A-2C, the cutter teeth 40 of the cutter 20 can have multiple serrations 25 formed on the leading edge 45 of each cutter tooth 40 and along the land surface 90. That is, in this embodiment, the serrations 25 are oriented circumferentially around the outer diameter of the cutter teeth 40. In addition to serrations 25 at the leading edge 45 of each cutter tooth 40, the circumferential serrations 25 also create a grooved surface 55 at the outer diameter portion of the cutter teeth 40. Additionally, the abutting spacer 30 is formed with a plurality of grooves 70. Thus, the grooved surface 55 at the outer diameter portion of the cutter teeth 40 interleaves with cylindrical spacers having similar grooves 70 along the spacer 30 to create an approach interface which facilitates the perforating and tearing of fibrous materials into shorter strips.

[0043]

In another embodiment as shown in FIGS. 3A-3C, the cutter 20 is formed with cutter teeth 40 having a bi-level height such that each cutter tooth 40 has a radially outward facing outer surface 65 and a radially outward facing inner surface 75. In this embodiment, each of these surfaces has a cylindrical profile. Additionally, this bi-level profile of the cutter 20 is configured to interleave with a cylindrical spacer 30 having a groove 80 of a similar mating profile. Thus, the groove 80 is formed to a profile similar to the portion of the cutter tooth 40 forming the outer surface 65 while the inner surface 75 is configured to approach the outer surface 35 of the spacer 30. The interleaving action of the cutter and spacer perforates fibrous materials to weaken, thus facilitating the tearing into shorter strips.

[0044]

In yet another embodiment as illustrated in FIGS. 4A-4C, in addition to the bi-level structure of FIGS. 3A-3C, the cutter teeth 40 of the cutter 20 are formed with multiple serrations 25 on the leading edge 45 of each cutter tooth 40. These serrations 25 are oriented radially from the center of the cutter 20 outward within the gullett 60. Additionally, all cutter teeth 40 are of bi-level height in which at least one raised portion 65 at the outer diameter of interleaves with a cylindrical spacer 30 having a groove 80 of similar mating profile. The combination of the serrations 25 and interleaving action of the cutter and spacer perforates fibrous materials to weaken, thus facilitating the tearing into shorter strips.

[0045]

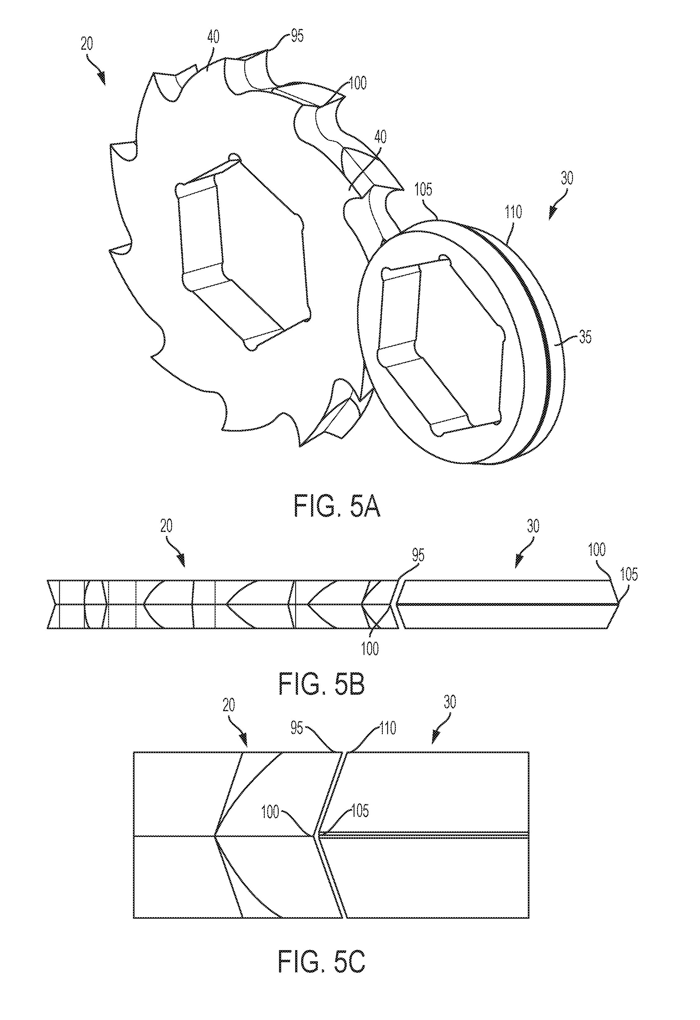
In another embodiment as illustrated in FIGS. 5A-5C, the cutter teeth 40 are formed in a tapered shape such that the cutter 20 has its maximum outer diameter 95 at the outer sides and its minimum outer diameter 100 at the center of the cutter 20 with respect to the axial direction of the cutter 20. Conversely, the spacer 30 is formed with a dual-tapered outer surface 35 such that the spacer 30 has its greatest outer diameter 105 at the center of the spacer 30 and a minimum outer diameter 110 at the outer sides with respect to the axial direction of the spacer 30. The shape may be a formed in a V-shaped profile. This V-shaped interface of the cutter 20 and spacer 30 facilitates edge perforation and weakening to facilitate tearing. The cutter 20 and the spacer 30 can be made either as a one-piece type or two piece type by mating mirror images arranged next to each other.

[0046]

In another embodiment as shown in FIGS. 6A-6C, the cutter teeth 40 are formed in a shape such that the cutter 20 has its maximum outer diameter 95 at the center of the cutter 20 and its minimum outer diameter 100 at the outer sides of the cutter 20 with respect to the axial direction of the cutter 20. Conversely, the spacer 30 is formed with a dual-tapered outer surface 35 such that the spacer 30 has its greatest outer diameter 105 at the outer sides of the spacer 30 and a minimum outer diameter 110 at the center of the spacer 30 respect to the axial direction of the spacer 30. This arrangement is an inversion of the previously described arrangement that is shown in FIGS. 5A-5C. Again, this V-shaped interface of the cutter 20 and spacer 30 facilitates center perforation and weakening to facilitate tearing. The cutter 20 and the spacer 30 can be made either as a one-piece type or two piece type by mating minor images arranged next to each other.

Как компенсировать расходы
на инновационную разработку
Похожие патенты