A semiconductor device which stores data by using a transistor whose leakage current between source and drain in an off state is small as a writing transistor. In a matrix including a plurality of memory cells in which a drain of the writing transistor is connected to a gate of a reading transistor and the drain of the writing transistor is connected to one electrode of a capacitor, a gate of the writing transistor is connected to a writing word line; a source of the writing transistor is connected to a writing bit line; and a source and a drain of the reading transistor are connected to a reading bit line and a bias line. In order to reduce the number of wirings, the writing bit line or the bias line is substituted for the reading bit line in another column.
1. (canceled) 2. A driving method of a semiconductor memory device comprising:
a first line; a second line; and a memory cell including a first transistor, a second transistor, and a capacitor, wherein the first transistor comprises a semiconductor layer including an oxide semiconductor, wherein one of a source and a drain of the first transistor is electrically connected to the first line, wherein the other of the source and the drain of the first transistor is electrically connected to the capacitor and a gate of the second transistor, wherein one of a source and a drain of the second transistor is electrically connected to the first line, wherein the other of the source and the drain of the second transistor is electrically connected to the second line, wherein the semiconductor device is configured to write a plurality of stages of data to the memory cell, wherein the semiconductor device is configured to read the plurality of stages of data from the memory cell, and wherein the plurality of stages of data is larger than or equal to three stages of data, the driving method comprising the steps of:
turning on the first transistor; supplying a first potential to the gate of the second transistor and the capacitor through the first line and the first transistor; supplying a second potential to the second line; and holding the first potential in the gate of the second transistor and the capacitor by turning off the first transistor, wherein the step of supplying the first potential is performed at the same time as the step of supplying the second potential, and wherein a level of the first potential is the same as a level of the second potential. 3. The driving method of a semiconductor memory device according to 4. The driving method of a semiconductor memory device according to 5. The driving method of a semiconductor memory device according to 6. A driving method of a semiconductor memory device comprising:
a first line; a second line; a memory cell including a first transistor, a second transistor, and a capacitor, wherein the first transistor comprises a semiconductor layer including an oxide semiconductor, wherein one of a source and a drain of the first transistor is electrically connected to the first line, wherein the other of the source and the drain of the first transistor is electrically connected to the capacitor and a gate of the second transistor, wherein one of a source and a drain of the second transistor is electrically connected to the first line, and wherein the other of the source and the drain of the second transistor is electrically connected to the second line; and a third transistor, wherein one of a source and a drain of the third transistor is electrically connected to the first line, wherein the other of the source and the drain of the third transistor is electrically connected to the second line, wherein the semiconductor device is configured to write a plurality of stages of data to the memory cell, wherein the semiconductor device is configured to read the plurality of stages of data from the memory cell, and wherein the plurality of stages of data is larger than or equal to three stages of data, the driving method comprising the steps of:
turning on the third transistor; turning on the first transistor; supplying a potential to the gate of the second transistor and to the second line through the first line while the third transistor is in an on state, and holding the potential by turning off the first transistor. 7. The driving method of a semiconductor memory device according to 8. The driving method of a semiconductor memory device according to wherein leakage current between the source and the drain of the first transistor in an off state is 1×10−20A or smaller at a temperature of 25° C., and wherein leakage current between the source and the drain of the third transistor in an off state is 1×10−20A or smaller at a temperature of 25° C. 9. The driving method of a semiconductor memory device according to
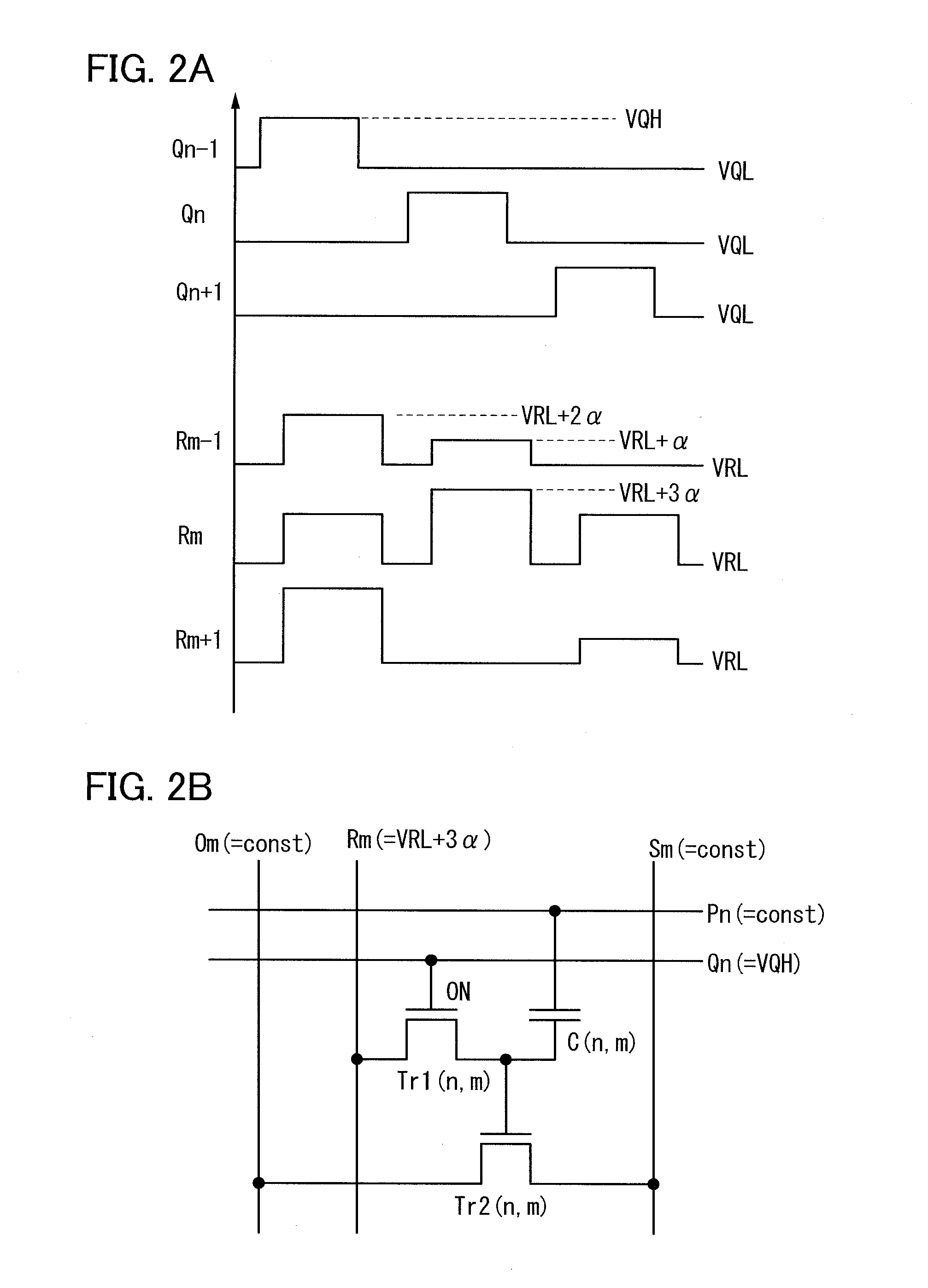
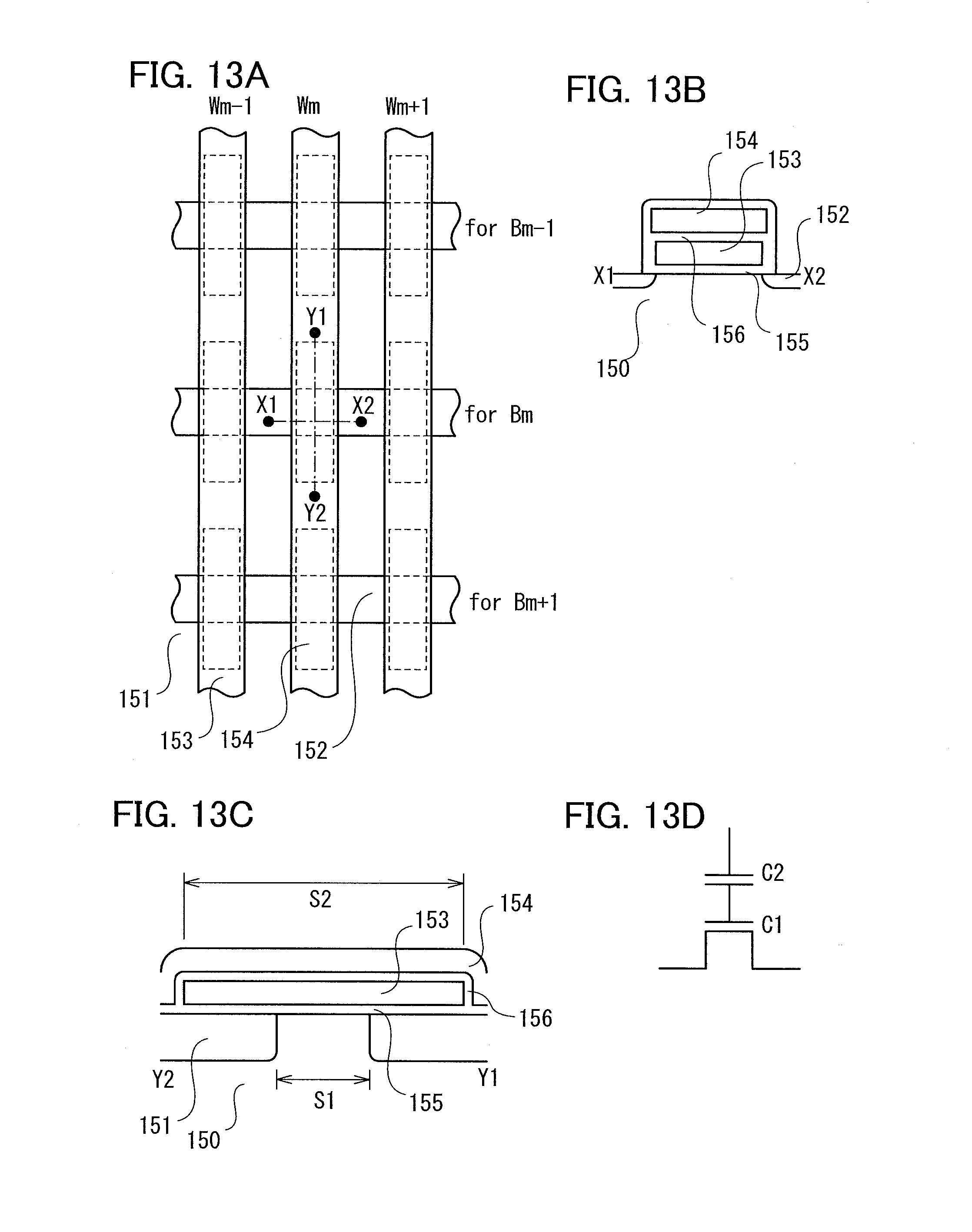
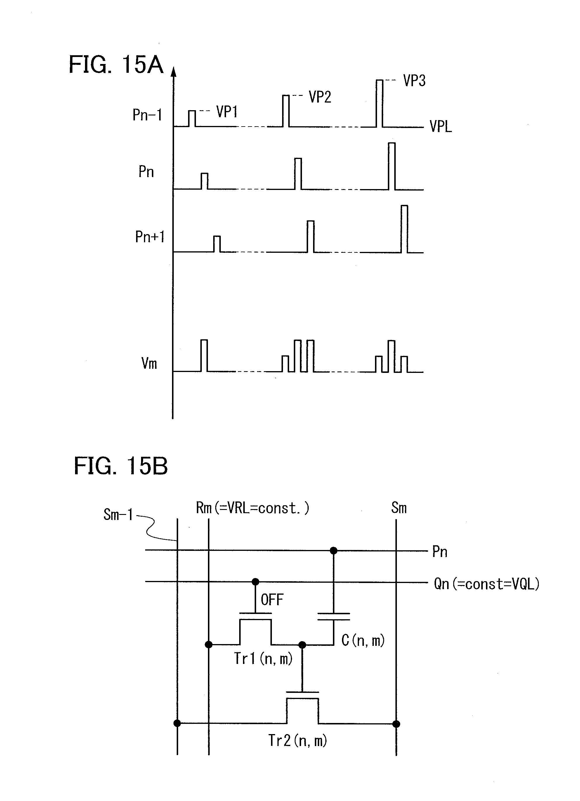
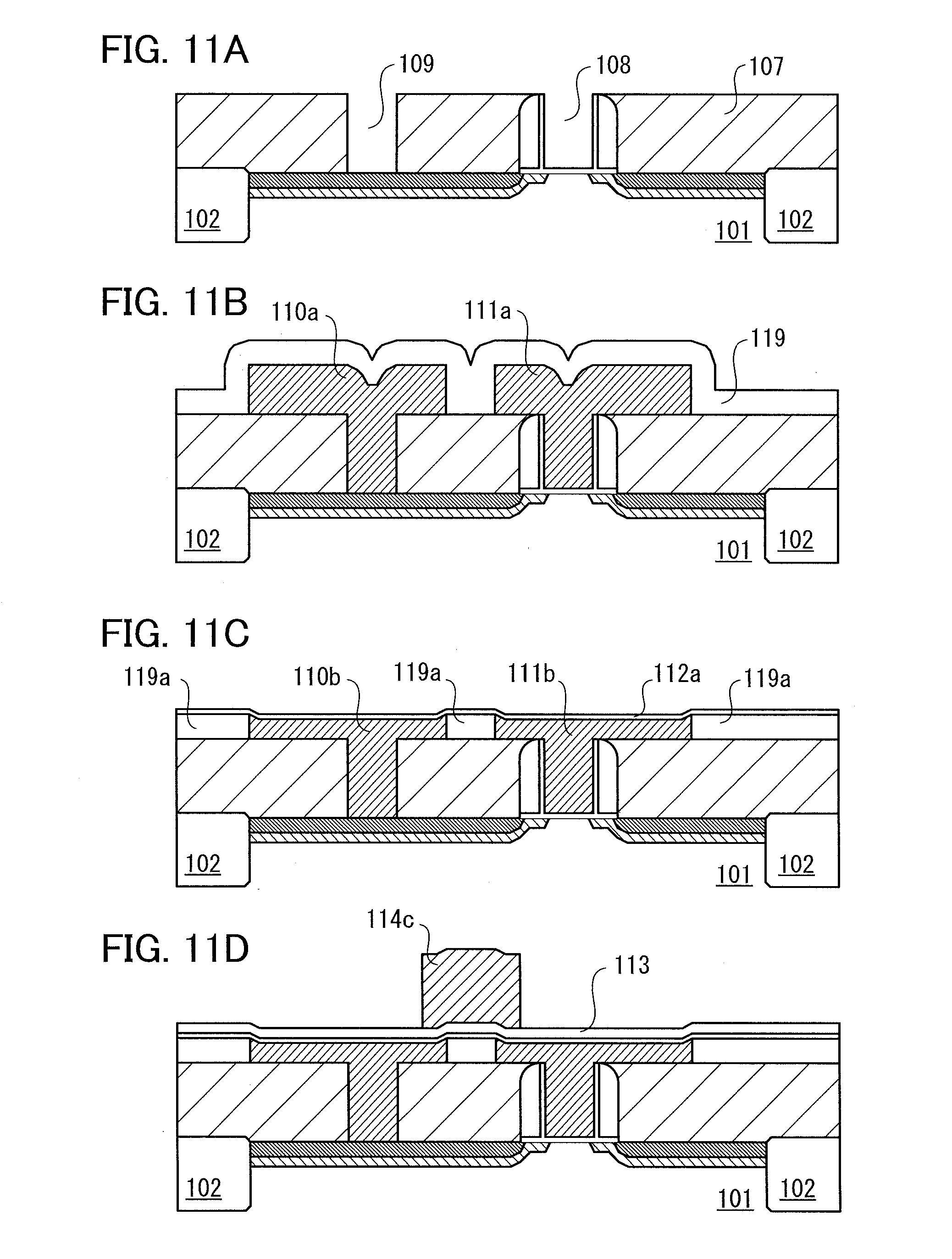
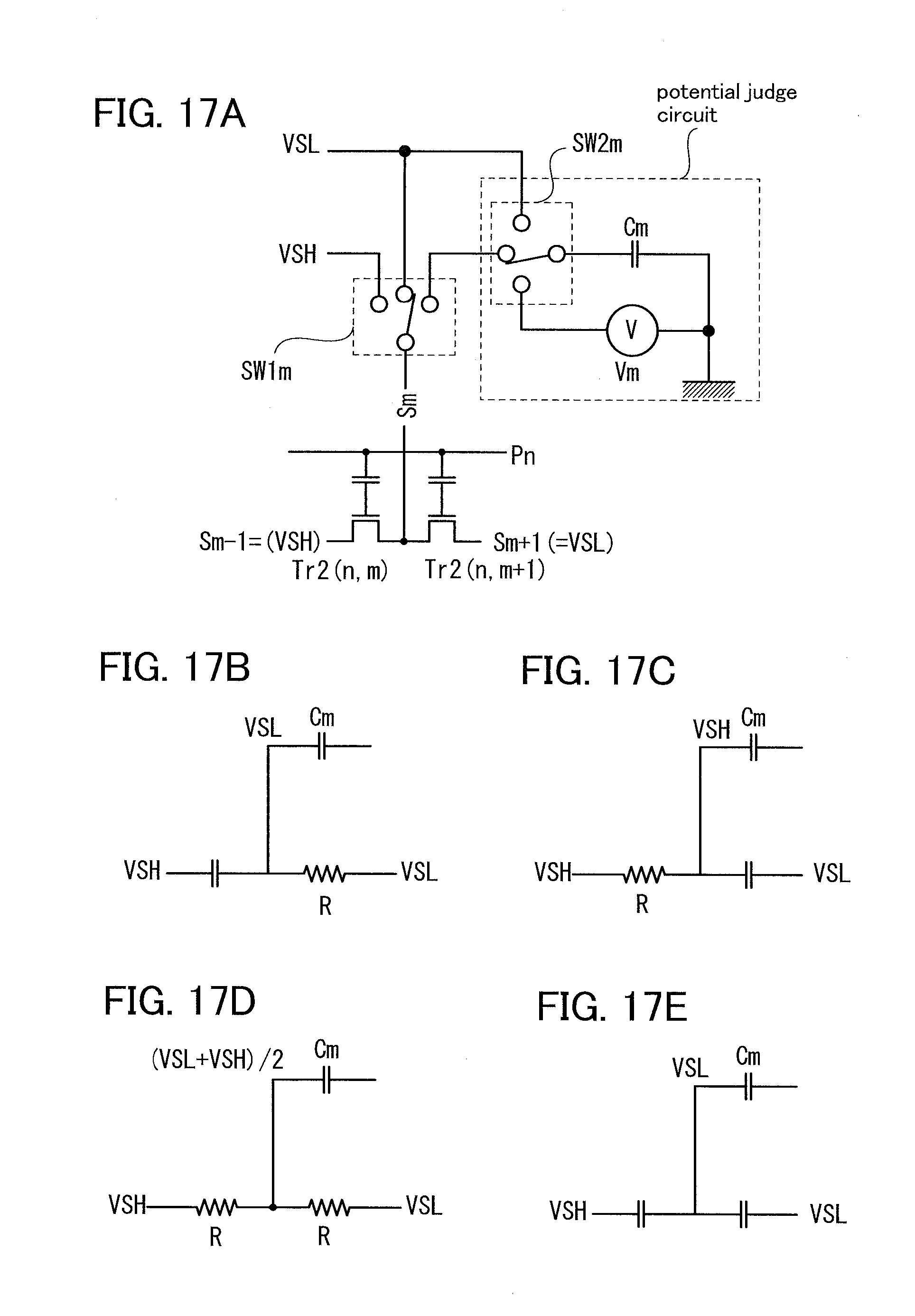
This application is a continuation of U.S. application Ser. No. 13/790,044, filed Mar. 8, 2013, now allowed, which is a continuation of U.S. application Ser. No. 13/009,034, filed Jan. 19, 2011, now U.S. Pat. No. 8,395,931, which claims the benefit of a foreign priority application filed in Japan as Serial No. 2010-012417 on Jan. 22, 2010, all of which are incorporated by reference. The present invention relates to a memory device using a semiconductor. There are many kinds of memory devices using semiconductors. For example, a dynamic random access memory (DRAM), a static random access memory (SRAM), an electrically erasable and programmable read only memory (EEPROM), a flash memory, and the like can be given. In a DRAM, data is stored by holding charge in a capacitor which is provided in a memory cell. However, even when a transistor used for switching is in an off state, a slight amount of leakage current is generated between a source and a drain; thus, the data is lost within a relatively short time (several tens of seconds at the longest). Therefore, the data needs to be rewritten (refreshed) in a certain cycle (generally several tens of milliseconds). In an SRAM, data is held by utilizing a bistable state of a flip-flop circuit. Although a CMOS inverter is generally used in a flip-flop circuit of an SRAM, since six transistors are used in one memory cell, an integration degree of the SRAM is lower than an integration degree of a DRAM. In addition, the data is lost when power is not supplied. On the other hand, in an EEPROM or a flash memory, a so-called floating gate is provided between a channel and a gate and charge is stored in the floating gate, whereby data is held. The charge stored in the floating gate is held even after power supply to a transistor stops, which is why these memories are called non-volatile memories. Patent Document 1, for example, can be referred to for description of a flash memory. These memories are hereinafter called floating gate non-volatile memories (FGNVM), in particular. Since data at some stages (multivalued data) can be stored in one memory cell in an FGNVM, storage capacity can be large. Further, since the number of contact holes can be significantly decreased in a NAND-type flash memory, an integration degree can be increased to some extent. However, in a conventional FGNVM, high voltage is needed at the time of injection of charge to a floating gate or removal of the charge. Because of this, deterioration of a gate insulating film cannot be avoided and writing and erasing cannot be repeated without limitation. Further, by application of high voltage, interference between adjacent memory cells occurs when a certain integration degree (a line width of 50 nm or less) is achieved; therefore, a certain distance needs to be kept between the memory cells. [Patent Document 1] Japanese Published Patent Application No. S57-105889 As described above, a conventional semiconductor memory device has good points and bad points. A semiconductor memory device in which data can be held for one day or longer, preferably one year or longer, more preferably ten years or longer even after power supply is turned off is desired. In addition, there is preferably no limitation on the number of times of writing and it is desirable that writing can be performed one billion times or more. Furthermore, an integration degree is also important. When a minimum line width is F, an area occupied by one memory cell is 100 F2to 150 F2in a conventional SRAM, 8 F2in a conventional DRAM, 4 F2to 6 F2in a conventional NAND-type flash memory, and 6 F2to 12 F2in a conventional NOR-type flash memory; however, it is desirable that the area be 40 F2or less, preferably 10 F2or less, more preferably 5 F2or less. From the above aspects, a DRAM or an SRAM is not preferable because data is lost when power supply is turned off; as for the SRAM, the integration degree needed is not achieved. Although an FGNVM has an advantage that data is held at least for ten years after power supply is turned off, the number of times of writing is a hundred thousand or less. In view of the above, it is an object of an embodiment of the present invention to provide a semiconductor memory device in which all the following three conditions are met: data can be held for one hour or longer, preferably one day or longer, more preferably ten years or longer; the number of times of writing can be one million or more; and an integration degree is 40 F2or less, preferably 10 F2or less, more preferably 5 F2or less. Note that in this specification, a data holding time is a time needed for the amount of charge held in a memory cell to be decreased to 90% of the initial amount. Further, it is an object of an embodiment of the present invention to provide a memory device having a novel structure and a driving method thereof. In particular, it is an object of an embodiment of the present invention to provide a memory device in which power consumption can be reduced and a driving method in which power consumption can be reduced. The present invention will be described below; terms used in this specification are briefly described. First of all, names of a source and a drain of a transistor are usually determined depending on potential applied; however, in this specification, when one of them is called a source, the other is called a drain for convenience and they are not particularly distinguished. Therefore, a source in this specification can be alternatively referred to as a drain. In the first structure of the present invention, one memory cell includes a transistor as a writing transistor, in which leakage current between a source and a drain is small, another transistor (a reading transistor), and a capacitor, and a plurality of the memory cells is arranged in a matrix. Further, as wirings connected to these, five kinds of wirings that are a writing word line, a writing bit line, a reading word line, a reading bit line, and a bias line are prepared. The drain of the writing transistor is connected to a gate of the reading transistor and one electrode of the capacitor. Further, a gate of the writing transistor is connected to the writing word line; the source of the writing transistor is connected to the writing bit line; a source of the reading transistor is connected to the reading bit line; a drain of the reading transistor is connected to the bias line; and the other electrode of the capacitor is connected to the reading word line. In the writing transistor in an off state, leakage current between the source and the drain is preferably 1×10−20A or smaller, more preferably 1×10−21A or smaller at a temperature where the transistor is in use (e.g., 25° C.), or 1×10−20A or smaller at 85° C. In the case of a general silicon semiconductor, it is difficult to realize leakage current having such a small value; however, in a transistor obtained by processing a semiconductor whose band gap is 3 electron volts or more, particularly an oxide semiconductor in a preferable condition, such a value can be achieved. Therefore, an oxide semiconductor is preferably used for the writing transistor. Needless to say, if leakage current can be made to have a value smaller than or equal to the above-described value by another method with the use of a silicon semiconductor or other kinds of semiconductors, the use of such semiconductors is not precluded. Although a variety of known materials can be used as the oxide semiconductor, a material with a band gap greater than or equal to 3 electron volts and less than 3.6 electron volts is desirable. In addition, it is desirable to use a material whose electron affinity is 4 electron volts or more, more preferably greater than or equal to 4 electron volts and less than 4.9 electron volts. Among such materials, one whose carrier concentration is less than 1×1014cm−3, preferably less than 1×1011cm−3may be used. The present inventors found that semiconductor characteristics which are exhibited by an oxide semiconductor meeting such conditions hardly differ from those observed at room temperature even at 150° C., for example. As for the reading transistor, although there is no limitation on leakage current between the source and the drain in an off state, it is desirable to use a transistor which operates at high speed in order to increase the reading rate. It is preferable to use a transistor with switching speed of 10 nanoseconds or less. Further, in both the writing transistor and the reading transistor, gate leakage current (leakage current between the gate and the source or between the gate and the drain) needs to be extremely small; also in the capacitor, internal leakage current (leakage current between the electrodes) needs to be small. Each leakage current is preferably 1×10−20A or smaller, more preferably 1×10−21A or smaller at a temperature where the transistor or capacitor is in use (e.g., 25° C.). Unlike the case of an FGNVM, there is no particular limitation on the capacity of the capacitor; however, since an integration degree is decreased as the size of the capacitor is increased, the area of the capacitor is greater than or equal to one tenth and less than 2 times that of a channel region of the reading transistor (a channel width×a channel length, in the case where the channel region is rectangular), preferably greater than or equal to one tenth of that of the channel region of the reading transistor and less than that of the channel region of the reading transistor. The area of the capacitor is preferably 100 nm2to 0.01 μm2. As a dielectric of the capacitor, a material such as hafnium oxide, lanthanum oxide, yttrium oxide, or aluminum oxide is used as needed and the relative permittivity may be 10 or more, preferably 15 or more. The capacity of the capacitor is preferably 10 fF or smaller so that the semiconductor memory device operates at high speed. The writing word line, the writing bit line, the reading bit line, the bias line, and the reading word line are arranged in a matrix; the writing word line is preferably orthogonal to the writing bit line and the reading bit line is preferably parallel to the bias line so that matrix drive is performed. In addition, the writing word line is preferably parallel to the reading word line. A memory cell having the above-described structure is illustrated in Further, a gate of the writing transistor Tr1( In In In order that data be written in the memory cell illustrated in Then, by applying different appropriate potential to the writing word line Qn, the writing transistor Tr1( When the data is read, appropriate potential is applied to the reading word line Pn and a state of the reading transistor Tr2( In the state where there is no charge, since the potential of the gate of the reading transistor Tr2( With the use of the same principle, a stage to which the amount of the charge stored in 1 memory cell corresponds can be known. A circuit at the time of reading is equivalently illustrated in In accordance with the value of the charge Q, apparent characteristics of the reading transistor Tr2( In the case where the largest amount of charge is held (Q=Q3), even when Vgis negative, a sufficiently large amount of current flows and the reading transistor Tr2 is turned on. For example, the reading transistor Tr2 is turned on when Vg=VP1. In order to turn the reading transistor Tr2 off, Vgneeds to be a sufficiently large negative value (e.g., VPL). The second curve from the left shows a case where the amount of charge is the second largest (Q=Q2). At this time, the reading transistor Tr2 is turned on when Vg=VP2. On the other hand, the reading transistor Tr2 is in an off state when Vg=VP1. In the case where the amount of charge is the third largest (Q=Q1), the reading transistor Tr2 is in an off state when Vg=VP2but turned on when Vg=VP3. In the case where Q=Q0, the reading transistor Tr2 is in an off state even when Vg=VP3. That is, by applying potential at some levels to the reading word line Pn, the amount of the charge held can be known. At first, Vg=VPL. In this case, the reading transistor Tr2 is in an off state regardless of the amount of the charge held. Then, when Vg=VPI, the reading transistor Tr2 is turned on only when the amount of the charge held is Q3. If the reading transistor Tr2 is turned on at this stage, it can be judged that the amount of the charge held is Q3. When Vg=VP2, the reading transistor Tr2 is turned on only when the amount of the charge held is Q3 or Q2. If the reading transistor Tr2 is turned on for the first time at this stage, it can be judged that the amount of the charge held is Q2. When Vg=VP3, the reading transistor Tr2 is turned on only when the amount of the charge held is Q3, Q2, or Q1. If the reading transistor Tr2 is turned on for the first time at this stage, it can be judged that the amount of the charge held is Q1. If the reading transistor Tr2 is not turned on even at this stage, it can be judged that the amount of the charge is Q0. In this manner, the data (2 bits) at four stages can be written and read. Needless to say, in a similar manner, much more data such as data (3 bits) at eight stages or data (4 bits) at 16 stages can be written and read. As described above, in order that much data be stored by making the amount of the charge held in the memory cell be at a plurality of stages, it is necessary that a variation in the amount of the charge held is small. This is because when the variation in the amount of the charge is large, each gap between VPL, VP1, VP2, and VP3in Further, in an FGNVM, extremely high voltage needs to be applied to a transistor at the time of writing or erasing; on the other hand, according to an embodiment of the present invention, voltage applied to a transistor can be lower both at the time of writing and at the time of reading. Thus, the capacity of the capacitor and the gate capacitance of the reading transistor do not restrict each other so much. In general, when the capacity of a capacitor is larger than the gate capacitance of a reading transistor, much of voltage applied to a bias line and a reading word line is applied to a gate of the reading transistor, and voltage applied to the gate of the reading transistor is thus high. Therefore, data can be read with lower voltage. On the other hand, when the capacity of the capacitor is smaller than the gate capacitance of the reading transistor, much of the voltage applied to the bias line and the reading word line is applied to the capacitor, much of voltage applied between the bias line and the reading word line is applied to the capacitor, and the voltage applied to the gate of the reading transistor is thus low. Therefore, data cannot be read unless higher voltage is applied between the reading word line and the bias line. However, in an embodiment of the present invention, absolute voltage needed for a transistor both at the time of writing and at the time of reading is much lower when compared with that needed in the case of an FGNVM. The absolute voltage is typically 0.5 volts to 3 volts; even if the capacity of the capacitor is one third of the gate capacitance of the reading transistor, voltage applied to the memory cell is 9 volts at the highest. In addition, such voltage is not directly applied to a gate insulating film of the transistor. Thus, the transistor is not deteriorated by high voltage. This makes an embodiment of the present invention definitely different from a conventional FGNVM. As an example of a conventional FGNVM, a memory cell of a NAND-type flash memory is described with reference to The control gates 154 serve as word lines ( . . . , Wm−1, Wm, Wm+1, . . . ). Further, although the impurity regions are separated in part with which the floating gate 153 overlaps, the impurity regions are connected to bit lines ( . . . , Bm−1, Bm, Bm+1, . . . ) at the time of operation. Such a memory cell can be expressed by a circuit illustrated in By the way, in such a memory cell of an FGNVM, C1 needs to be much smaller than C2. This is because high voltage (10 volts or higher) needs to be applied between the semiconductor wafer 150 (or the impurity region 152) and the floating gate 153 at the time of writing or at the time of erasing data. If C1=C2, voltage as high as 20 volts needs to be applied between the control gate 154 and the semiconductor wafer 150 (or the impurity region 152) in order that voltage between the semiconductor wafer 150 (or the impurity region 152) and the floating gate 153 be 10 volts. Therefore, in an FGNVM, it is desirable that the size of C1 be less than or equal to one-half of that of C2. However, when C2 is made larger than C1 as described above, the shape of the memory cell is limited. As illustrated in On the other hand, an area S2 of the capacitor C2 is roughly the same as a surface area of a top surface of the floating gate 153. Thus, the capacitor C2 can be made sufficiently large only by making the floating gate 153 excessively large. From the above reason, in a conventional FGNVM, the area of a memory cell is excessively large. Since there is no such limitation in an embodiment of the present invention, the position of the capacitor can be decided more freely, an area per memory cell can be smaller, and the integration degree of the semiconductor memory device can be further increased. In the second structure of the present invention, the writing bit line is substituted for the reading bit line in the above-described first structure of the present invention. A memory cell having such a structure is illustrated in Further, the gate of the writing transistor Tr1( In In the third structure of the present invention, a bias line is substituted for the reading bit line in another column of the above-described first structure of the present invention. A memory cell having such a structure is illustrated in Further, the gate of the writing transistor Tr1( In Although the three structures are described above as means for achieving the objects, a different solution is also disclosed in this specification. Further, the objects can be achieved also by making modifications obvious to those skilled in the art to the above three structures or any means for achieving the objects which is disclosed in this specification. Therefore, means for achieving the objects are not limited to the above three structures. By employing any of the above-described structures, at least one of the above-described objects can be achieved. In each of the above structures, since the writing operation is performed by ordinarily turning a transistor on or off, the problem of deterioration of an insulating film, from which an FGNVM suffers, cannot occur. Therefore, the number of times of writing in above-describe structures can be much larger than that in an FGNVM. By optimizing conditions, even after performing writing a billion times, change in main characteristics of a transistor (threshold voltage, on state current, and an S value) which is measured is in the range of measurement error or is only less than 1%. In addition, charge can be held for one hour or longer, preferably one day or longer by making leakage current between a source and a drain of a transistor in an off state which is used, gate leakage current in the transistor which is used, and internal leakage current in the capacitor meet the above-described conditions. Moreover, by using preferable conditions, charge can be held for one year or longer, or ten years or longer. In the case where the charge is reduced due to the leakage current, refreshing may be performed similarly to a conventional DRAM; an interval between refreshing operations is determined depending on a period during which the charge can be held. In the case where the charge is held for such a long period, refreshing is necessary, for example, only once a month or once a year. Frequent refreshing which is needed in a conventional DRAM is not necessary and thus power consumption of a semiconductor memory device is reduced. Note that in a conventional DRAM, operation of writing data is needed again every time when the data is read; on the other hand, in a semiconductor memory device according to an embodiment of the present invention, such operation is unnecessary because data is not lost by operation of reading the data. Such a feature can be conventionally realized in an SRAM; however, in the semiconductor memory device according to an embodiment of the present invention, the number of transistors used in 1 memory cell is 5 or less, typically 2, which is smaller than that in the case of a conventional SRAM. Furthermore, when one of the transistors is formed using an oxide semiconductor in a thin film shape, an increased integration degree can be obtained because the transistor can be stacked over a conventional silicon semiconductor. The integration degree can be increased by decreasing the area of the capacitor because there is no limitation on the size of the memory cell in an embodiment of the present invention as described above, unlike the case of a conventional FGNVM. Further, in a semiconductor memory device having the above-described structure, high voltage, which is needed for writing and erasing in an FGNVM, is not needed. In a so-called flash memory that is one of FGNVMs, in order that data in even one memory cell be rewritten, data in a predetermined region needs to be collectively erased with the use of high voltage. In this point, in the semiconductor memory device according to an embodiment of the present invention, rewriting is performed per row and thus completes through the minimum necessary operation. Further, since charge is injected to the floating gate in one direction in a thermal non-equilibrium state in an FGNVM, a variation in the amount of charge is large. Data at a plurality of stages which depends on the amount of the charge held in the floating gate can be stored. However, when the variation in the amount of the charge is considered, data at around four stages (2 bits) is general. Higher voltage needs to be used in order that data of a larger number of bits be stored. On the other hand, charge is reversibly injected in an embodiment of the present invention and thus variation is small; for example, a variation in the threshold value of the reading transistor due to injection of charge can be 0.5 volts or smaller. Thus, data at more stages can be held in one memory cell within a narrower voltage range; consequently, voltage for writing or reading can be lower. For example, voltage used for writing or reading data of 4 bits (16 stages) can be 10 volts or lower. Since voltage used is relatively low in an embodiment of the present invention, a phenomenon such as interference with an adjacent element or leakage of a signal to an adjacent element is less likely to occur than in an FGNVM, and in addition, the length of one side of one memory cell can be as small as 10 nm in simulation. In order to further increase such an effect of the present invention, an S value of a transistor used may be grater than or equal to 59 mV/dec and less than or equal to 70 mV/dec, preferably greater than or equal to 59 mV/dec and less than or equal to 63 mV/dec at a temperature where the transistor is in use. In this manner, a variation in threshold values in the whole semiconductor memory device can be reduced, which is a matter of course. In particular, when the writing transistor has an S value in the above range, a variation in the amount of charge at the time of writing data becomes small. In addition, when the reading transistor has an S value in the above range, potential to be applied to the reading word line at the time of reading can be set minutely. These features are advantageous in the case of dealing with multivalued data in a semiconductor memory device. In the accompanying drawings: Hereinafter, embodiments will be described with reference to drawings. However, the embodiments can be implemented in various modes. It will be readily appreciated by those skilled in the art that modes and details can be changed in various ways without departing from the spirit and scope of the present invention. Therefore, this invention is not interpreted as being limited to the description of the embodiments below. Note that in structures of the invention described below, the same portions or portions having similar functions are denoted by the same reference numerals, and description thereof is not repeated. Further, in the embodiments described below, for easy understanding, timing, width, height, or the like of a pulse is explained to have a fixed value; however, in consideration of the spirit of the present invention, it can be easily understood that the timing of the pulse is not necessarily synchronized or the width or height of the pulse is not necessarily fixed. In this embodiment, operation of a semiconductor memory circuit illustrated in In this state, a pulse is sequentially applied to the writing word lines ( . . . , Qn−1, Qn, Qn+1, . . . ) so that the writing transistor is turned on/off. Here, the potential of the writing word line when the pulse is not applied is VQLand potential of the pulse is VQH. As illustrated in Although periods during which the pulse is applied are prevented from overlapping with each other in the diagram, for example, a period during which a pulse is applied to Qn−1 may partly overlap with a period during which a pulse is applied to Qn. In addition, VQLneeds to be lower than or equal to the threshold value of the writing transistor Tr1 and can be set to −2 volts, for example. Further, VQHneeds to be higher than or equal to the threshold value of the writing transistor Tr1 and can be set to +2 volts, for example. At the same time, a signal is applied to the writing bit lines ( . . . , Rm−1, Rm, Rm+1, . . . ). The signal applied to the writing bit lines includes a plurality of pulses and the height of the pulses can be various. Here, the pulses have four levels of height VRL, VRL+α, VRL+2α, and VRL+3α(α>0). The pulse is not completely synchronized with the pulse to the writing word line but is preferably applied after a predetermined period (τ1) after the pulse to the writing word line is applied, and preferably stopped being applied after a predetermined period (τ2) after the pulse to the writing word line is stopped being applied. Here, τ1and τ2may be set so that τ1<τ2or τ1>τ2; however, for design of a circuit, it is preferable that they are set so that τ1=τ2. A state of the memory cell in the n-th row and the m-th column is illustrated in In this manner, potential in each memory cell is determined. Based on the potential in each memory cell, the amount of charge generated on the drain side of each of the writing transistors Tr1 is determined. Here, the amount of charge in each of the memory cells is shown in Table 1 when the amount of charge corresponding to the potential VRLis Q0, that corresponding to the potential VRL ais Q1, that corresponding to the potential VRL+2αis Q2, and that corresponding to the potential VRL+3αis Q3. The amount of charge Q0, the amount of charge Q1, the amount of charge Q2, and the amount of charge Q3 correspond to those already described with reference to Next, a reading method is described with reference to The potential of the reading word lines is held at VPLexcept when a pulse is applied. Then, as illustrated in Through the above steps, the reading transistor Tr2 is turned on in some cases by the application of the pulse. For example, as already described with reference to In Then, in the case where a pulse at the height of VP2is applied to the reading word line, a reading transistor of a memory cell in which the amount of charge is Q3 or Q2 is turned on; thus, in a similar manner, which of the memory cells has the amount of charge of Q3 or Q2 can be known. Similarly, also in the case where a pulse at the height of VP3is applied to the reading word line, the potential of the reading bit line is changed depending on the amount of charge. Reading is thus completed. The number of times of generating a pulse in each memory cell is recorded, whereby data written in the memory cell can be known. For example, according to On the other hand, in a memory cell in the (n+1)-th row and the (m−1)-th column, no pulse is generated. This is because the amount of charge in the memory cell is Q0 that is the smallest and the reading transistor Tr2 is not turned on even with the pulse at the height of VP3that is the highest pulse. Results of adding up the number of pulses generated in each of the memory cells in this manner are shown in Table 2. In this manner, data stored in each memory cell can be read. In this embodiment, operation of a semiconductor memory circuit illustrated in A writing method is almost the same as the writing method in Embodiment 1. The bias lines ( . . . , Sm−1, Sm, Sm+1, . . . ) and the reading word lines ( . . . , Pn−1, Pn, Pn+1, . . . ) are held at constant potential. Although potential may be different depending on the kind of a wiring, the potential of any wiring is set to 0 volt here. Then, a pulse is sequentially applied to the writing word lines ( . . . , Qn−1, Qn, Qn+1, . . . ) as illustrated in Next, a reading method is described with reference to The potential of the reading word lines ( . . . , Pn−1, Pn, Pn+1, . . . ) is held at VPLexcept when a pulse is applied. Then, as illustrated in At this time, by monitoring the potential of the writing bit line Rm, a state (an on state or an off state) of the reading transistor Tr2 which is in response to the pulse to the reading word line can be known. Details are the same as those in Embodiment 1 and thus omitted. In this embodiment, a shape and a manufacturing method of the semiconductor memory device described in Embodiment 2 are described. In this embodiment, an oxide semiconductor containing zinc and indium is used for the writing transistor Tr1 and a single crystal silicon semiconductor is used for the reading transistor Tr2. Therefore, a stack structure in which the writing transistor Tr1 is provided over the reading transistor Tr2 is employed. That is, an insulated gate transistor using a single crystal silicon semiconductor which is provided over a single crystal silicon substrate is used as the reading transistor Tr2 and a transistor in which an oxide semiconductor is used for a semiconductor layer is formed thereover as the writing transistor Tr1. Note that although an example in which a semiconductor memory device is formed over a single crystal silicon substrate is described in this embodiment, the semiconductor memory device can be provided over another kind of semiconductor substrate or an insulating substrate, alternatively. An example of layout of a memory cell of the semiconductor memory device in this embodiment is illustrated in Main wirings, main electrodes, and the like, focusing on the transistor using the oxide semiconductor are illustrated in Note that the width of the reading word line 114 Hereinafter, a manufacturing method of a semiconductor memory device having the above-described structure is described. A sidewall may be provided on a side surface of the dummy gate 104. The thickness of the gate insulating film is preferably 10 nm or more so that generation of leakage current is suppressed. In order that gate capacitance be less than the capacity of a capacitor to be formed later, a material having a relatively low dielectric constant such as silicon oxide is preferably used as a material of the gate insulating film. A silicide region may be provided over the impurity regions 105 Next, an interlayer insulator 107 is formed as illustrated in Then, a single-layer film or a stacked-layer film which contains a conductive material is deposited and planarized, whereby the gate electrode 111 and the connection electrode 110 are formed in the hole portion 108 and the contact hole 109, respectively, as illustrated in An example of such a material is a material whose work function W is almost the same as or smaller than electron affinity φ (an energy gap between the lowest end of the conduction band of the oxide semiconductor and the vacuum level) of the oxide semiconductor. In other words, W<φ+0.3 [electron volt] may be satisfied. For example, titanium, molybdenum, and titanium nitride can be given. Then, the oxide semiconductor film having a thickness of 3 nm to 30 nm is formed by a sputtering method. A method other than a sputtering method may be employed as a method for forming the oxide semiconductor film. The oxide semiconductor preferably contains zinc and indium. As illustrated in Then, a gate insulating film 113 is formed by a known deposition method such as a sputtering method as illustrated in Heat treatment may be performed after the gate insulating film is formed so as to improve semiconductor characteristics. After that, the writing word line 114 Then, as illustrated in In the oxide semiconductor, oxygen deficiency is caused by the above-described implantation of ions and n-type conductivity is exhibited. An oxide semiconductor is different from a silicon semiconductor in that many oxide semiconductors can obtain high conductivity without such heat treatment which is needed in the case of a silicon semiconductor for recovery of crystallinity after implantation of ions. Needless to say, heat treatment may be performed on the oxide semiconductor after the implantation of ions. In this manner, regions 115 A basic element structure is completed through the above steps. After that, an interlayer insulator 117 of a single-layer thin film or a multilayer thin film is formed. A surface of the interlayer insulator 117 is planarized and a contact hole reaching the oxide semiconductor region is formed, and a connection electrode 116 is embedded therein. Next, a wiring 118 is formed. The wiring 118 is a wiring parallel to the wiring 106 In light of increase in the integration degree of the semiconductor memory device, the area of the capacitor 120 is preferably less than or equal to two times the area (hereinafter referred to as STr1) which is determined by the channel width and the channel length of the reading transistor Tr2, preferably greater than or equal to one-tenth of STr1and less than STr1. In this embodiment, a manufacturing method of a memory cell of a semiconductor memory device, which is different from that in Embodiment 3, is described with reference to Then, a film is formed using a conductive material so as to be embedded in the hole portion 108 and the contact hole 109. The film is patterned, whereby an electrode 110 Further, as illustrated in Then, an oxide semiconductor film 112 After that, the gate insulating film 113 and a gate electrode 114 In the semiconductor memory device described in Embodiment 2, the writing bit line in the semiconductor memory device described in Embodiment 1 is substituted for the reading bit line. However, there is a problem of increase in power consumption at the time of writing in this structure, which is caused by reasons below. For example, positive charge is held in the memory cell in the n-th row and the m-th column and as a result, the reading transistor Tr2( In order to prevent such current, a signal which is the same as a signal applied to the writing bit line Rm may be applied to the bias line in the same phase as the signal applied to the writing bit line Rm, so that the potential of the bias line Sm is the same as the potential of the writing bit line Rm. Alternatively, a signal applied to the bias line Sm may be synchronized with a signal applied to the writing bit line Rm. When the potential of the writing bit line Rm connected to the source of the reading transistor Tr2( Even when the potential of the writing bit line Rm and that of the bias line Sm are not the same, current flowing between the source and the drain of the reading transistor Tr2( As illustrated in By applying an appropriate signal to T with all the bias lines being in a floating state at the time of writing, all the switching transistors Tr3 can be turned on and the bias line and the writing bit line can be at almost the same potential in each column. Although a method is illustrated in In this embodiment, operation of a semiconductor memory circuit illustrated in In this embodiment, both the writing transistor Tr 1 and the reading transistor Tr2 are re-channel transistors. In this embodiment, a bias line is substituted for the reading bit line in another column of the semiconductor memory device described in Embodiment 1. As described above, by employing this structure, the number of wirings of a semiconductor memory device can be smaller than that in Embodiment 1. A writing method is almost the same as the writing method in Embodiment 1. The bias lines ( . . . , Sm−1, Sm, Sm+1, . . . ) and the reading word lines ( . . . , Pn−1, Pn, Pn+1, . . . ) are held at constant potential. Although potential may be different depending on the kind of a wiring, the potential of any wiring is set to 0 volt here. Then, a pulse is sequentially applied to the writing word lines ( . . . , Qn−1, Qn, Qn+1, . . . ) as illustrated in Then, a reading method is described with reference to Further, the bias lines ( . . . , Sm−1, Sm, Sm+1, . . . ) are held at potential VSHor potential VSL(VSH>VSL) or is connected to a potential judge circuit, depending on a column in which reading is performed. The potential judge circuit may include a means for supplying potential. The potential judge circuit is provided for each column and is electrically connected to the bias line Sm in the m-th column when reading is performed in memory cells in the m-th column. The potential judge circuit includes at least a terminal of a wiring capable of being connected to the bias line, a potential measure means, a capacitor, and a switching mechanism which switches connection of the capacitor between the potential measure means and the terminal. The bias line Sm is connected to one of the capacitor and the potential measure means by the switching mechanism at the time of reading data in the m-th column. A potential judge circuit in the m-th column and a means for supplying VSLand/or VSHto the bias line Sm are illustrated in A method for reading data in the n-th row and the m-th column is described below. The circuit illustrated in The potential of the bias line Sm in the m-th column is set to VSLby the switch SW1 In each of reading transistors of memory cells on the left side of the bias line Sm−1 and memory cells on the right side of the bias line Sm+1, source and drain are at the same potential and current does not flow; therefore, the memory cells can be considered not to exist in the circuit. Memory cells other than memory cells connected to the reading word line Pn can also be considered not to exist in the circuit because reading transistors therein are in an off state. As a result, as illustrated in It is considered that a transistor in an off state becomes extremely high resistance and breaks a circuit. This state can be expressed as a capacitor having an extremely small capacity. On the other hand, the transistor has limited resistance even in an on state. Therefore, depending on combination of an on state and an off state of the reading transistor Tr2( For example, when the reading transistor Tr2( The more uniform the size or shape of transistors, the closer the resistance of the transistor each other. Transistors of exactly the same size have the same resistance. Since the transistors used in the memory cells are designed to have the same volume, size, material, or shape, it can be considered that the transistors have almost the same resistance. The potential of the capacitor Cm on the bias line Sm side when the circuit becomes stable and current stops flowing (i.e., when a constant state is realized; in other words, when charge corresponding to the state is stored in the capacitor Cm) is ideally VSLin Here, regardless of the state of the reading transistor Tr(n,m+1), the potential of the capacitor Cm on the bias line Sm side is VSLwhen the reading transistor Tr2( The value of VSHand that of VSLcan be, for example, +1 volt and 0 volt, respectively. The potential of the capacitor Cm on the bias line side can be measured by connecting the capacitor Cm and the potential measure means Vm by the switch SW2 That is, in the case where data shown in Table 1 is input in the memory cells, change in potential, an example of which is illustrated as Vm in Although the pulses illustrated in In the above example, the potential of the bias lines in the (m−1)-th column and the columns on the left side of the (m−1)-th column is set to VSHand the potential of the bias lines in the (m+1)-th column and the columns on the right side of the (m+1)-th column is set to VSL; however, the potential of the bias lines in the (m−1)-th column and the columns on the left side of the (m−1)-th column may be set to VSLand the potential of the bias lines in the (m+1)-th column and the columns on the right side of the (m+1)-th column may be set to VSH. As pointed out in Embodiment 5, there is a problem that power consumption is increased at the time of writing in the driving method of the semiconductor memory device which is described in Embodiment 2. In this embodiment, a driving method in which power consumption is reduced is described. In this embodiment, during a period other than the time when writing is performed for a selected row, the potential of the reading word line in the row is held at the potential which turns the reading transistor off regardless of the amount of charge on the drain side of the writing transistor. For example, in the case where the reading transistor is an n-channel transistor, the reading word line is held at sufficiently high negative potential. In the case where a value of the amount of the charge held on the drain side of the writing transistor is at any of four stages (Q0, Q1, Q2, and Q3) illustrated in Specifically, writing is performed as described below. The potential of the bias line Sm keeps to have a constant value, e.g., 0, in the memory cell in the n-th row and the m-th column in Next, writing in memory cells in another row is described. Also in that case, the potential of the bias line Sm is 0. On the other hand, a pulse is constantly applied to the writing bit line Rm so that writing is performed in another row. The potential of the writing word line Qn becomes VQLand the writing transistor Tr1( Thus, regardless of the amount of the charge held on the drain side of the writing transistor Tr1( In this embodiment, although current flows between the source and the drain of a reading transistor in some cases at the time of writing in the row of the reading transistor, the current flow can be cut at the time of writing in the other rows. Thus, although more power is consumed in this embodiment than in Embodiment 5, power consumption in this embodiment can be less than that in Embodiment 2 in a relatively easy way. This application is based on Japanese Patent Application serial no. 2010-012417 filed with Japan Patent Office on Jan. 22, 2010, the entire contents of which are hereby incorporated by reference.CROSS-REFERENCE TO RELATED APPLICATIONS
TECHNICAL FIELD
BACKGROUND ART
REFERENCE
Patent Document
DISCLOSURE OF INVENTION
BRIEF DESCRIPTION OF DRAWINGS
BEST MODE FOR CARRYING OUT THE INVENTION
Embodiment 1
(n − 1)th row Q2 Q2 Q3 (n)th row Q1 Q3 Q0 (n + 1)th row Q0 Q2 Q1 (n − 1)th row 2 2 3 (n)th row 1 3 0 (n + 1)th row 0 2 1 Embodiment 2
Embodiment 3
Embodiment 4
Embodiment 5
Embodiment 6
Embodiment 7