The present invention relates to hydrophobic modified peptides for the specific delivery of compounds to the liver, preferably to hepatocytes, in vitro as well as in vivo. The present invention relates to pharmaceutical compositions comprising said hydrophobic modified peptide(s) and the compound(s) to be specifically delivered to the liver. The present invention furthermore relates to the use of the inventive hydrophobic modified peptides as well as to a method for the prevention and/or treatment of liver diseases or disorders.
1. Hydrophobic modified peptide of the formula
wherein P is a peptide having the amino acid sequence NPLGFXaaP, wherein Xaa is an arbitrary amino acid; X is an amino acid sequence having a length of m amino acids, wherein one or more of the amino acids carry one or more group for hydrophobic modification selected from acylation, preferably with carboxylic acids, fatty acids, C8to C22fatty acids, amino acids with lipophilic side chains, and addition of hydrophobic moieties selected from cholesterol, derivatives of cholesterol, phospholipids, glycolipids, glycerol esters, steroids, ceramids, isoprene derivatives, adamantane, farnesol, aliphatic groups, polyaromatic compounds; m is at least 4; Y is an amino sequence having a length of n amino acids, wherein n is 0 or at least 1; m+n≧11 R is a C-terminal modification of said hydrophobic modified peptide, which is preferably a moiety that protects from degradation selected from amide, D-amino acid, modified amino acid, cyclic amino acid, albumin, natural and synthetic polymer, such as PEG, glycane, o is 0 or at least 1, A is an anchor group, preferably selected from ester, ether, disulfide, amide, thiol, thioester, p is 0 or at least 1, wherein one or more compound is/are coupled or linked to one or amino acid(s) of X. 2. Hydrophobic modified peptide according to 3. Hydrophobic modified peptide according to 4. Hydrophobic modified peptide according to 5. Hydrophobic modified peptide according to 6. Hydrophobic modified peptide according to 7. Hydrophobic modified peptide according to 8. Hydrophobic modified peptide according to 9. Hydrophobic modified peptide according to 10. Hydrophobic modified peptide according to 11. Hydrophobic modified peptide according to 12. Hydrophobic modified peptide according to 13. Hydrophobic modified peptide according to Formation of amides by the reaction of an amine and activated carboxylic acids, preferably NHS-esters or carbodiimides; Disulfide linkage using two thiols or one thiol that specifically reacts with pyridyl disulfides; Thioether formation using maleimides or haloacetyls and a thiol component; Amidine formation using an imidoester and an amine; Hydrazide linkage using carbonyls (e.g. aldehydes) and hydrazides; Amine linkage using carbonyls and amines under reductive conditions; Triazol formation using nitriles and azides; Thiourea formation using isothiocyanates and amines; Formation of esters by the reaction of an alcohol and activated carboxylic acids, preferably acid chlorides or carbodiimides; Formation of ethers by the reaction of an alcohol and alkyl halides. 14. Hydrophobic modified peptide according to 15. Hydrophobic modified peptide according to 16. Hydrophobic modified peptide according to 17. Hydrophobic modified peptide according to 18. Hydrophobic modified peptide according to 19. Hydrophobic modified peptide according to 20. Hydrophobic modified peptide according to 21. Hydrophobic modified peptide according to 22. Hydrophobic modified peptide according to 23. Hydrophobic modified peptide according to stearoyl-[K(Primaquin™)]3-NLSTSNPLGFFPDHQLDP, stearoyl-[K(GCHAK-Primaquin™)]-NLSTSNPLGFFPDHQLDP, myristoyl-[K(Doxocyclin)]3-NLSTSNPLGFFPDHQLDP, myristoyl-[K(GCHAK Doxocylin)]3-NLSTSNPLGFFPDHQLDP, myristoyl-[K(Penicillin)]3-NLSTSNPLGFFPDHQLDP, myristoyl-[K(GCHAK Penicillin)]3-NLSTSNPLGFFPDHQLDP, myristoyl-[K(Cyclosporine)]3-NLSTSNPLGFFPDHQLDP, myristoyl-[K(GCHAK Cyclosporine)]3-NLSTSNPLGFFPDHQLDP, myristoyl-[K(Rapamune™)]3-NLSTSNPLGFFPDHQLDP, myristoyl-[K(GCHAK Rapamune™)]3-NLSTSNPLGFFPDHQLDP, stearoyl-[K(RPLALWRS-Velcade™)]3-NLSTSNPLGFFPDHQLDP, stearoyl-[K(Nexavar™)]3-NLSTSNPLGFFPDHQLDP, stearyl-[K(RPLALWRS-Nexavar™)]3-NLSTSNPLGFFPDHQLDP, stearoyl-[K(Thiazolidinedione)]3-NLSTSNPLGFFPDHQLDP, Myristoyl-[K-Levofloxacin]-NLSTSNPLGFFPDHQLDP, and Myristoyl-[K-Doxorubicin]-NLSTSNPLGFFPDHQLDP. 24. Hydrophobic modified peptide according to 25. Hydrophobic modified peptide according to 26. Pharmaceutical composition comprising:
at least one hydrophobic modified peptide according to 27. Hydrophobic modified peptide according to 28. Hydrophobic modified peptide or pharmaceutical composition according to 29. Hydrophobic modified peptide or pharmaceutical composition according to 30. Hydrophobic modified peptide or pharmaceutical composition according to 31. Hydrophobic modified peptide or pharmaceutical composition according to 32. Hydrophobic modified peptide or pharmaceutical composition according to 33. Hydrophobic modified peptide or pharmaceutical composition according to 34. Hydrophobic modified peptide or pharmaceutical composition according to 35. Hydrophobic modified peptide or pharmaceutical composition according to 36. Hydrophobic modified peptide or pharmaceutical composition according to 37. Use of the hydrophobic modified peptide or the pharmaceutical composition defined as defined in 38. Method for the prevention and/or treatment of a liver disease or disorder, comprising administering to a subject a therapeutically effective amount of the hydrophobic modified peptide or the pharmaceutical composition as defined in
[X—P—Y—Ro]Ap
The present invention relates to hydrophobic modified peptides derived from preS-domain of hepatitis B virus (HBV) which are versatile vehicles for the specific delivery of compounds to the liver, preferably to hepatocytes, in vitro as well as in vivo. Any kind of compound, in particular drugs can be specifically targeted to the liver and so be enriched in the liver. This liver targeting can further be used for the targeted prevention and/or treatment of liver diseases or disorders, such as hepatitis, malaria, hepatocellular carcinoma (HCC), as well as for the prevention of HAV, HBV, HCV and/or HDV infection. The present invention relates to pharmaceutical compositions comprising said hydrophobic modified peptide(s) and the compound(s) to be specifically delivered to the liver. The present invention furthermore relates to the use of the inventive hydrophobic modified peptides for the prevention and/or treatment of liver diseases or disorders, a method for the prevention and/or treatment of liver diseases or disorders and the use of the hydrophobic modified peptides for the manufacture of a medicament for the prevention and/or treatment of liver diseases or disorders. The liver, an organ which is present in vertebrates and other animals, plays a major role in the metabolism and has a number of functions in the body, including glycogen storage, decomposition of red blood cells, synthesis of plasma proteins, and detoxification. The liver also is the largest gland in the human body. It lies below the diaphragm in the thoracic region of the abdomen. It produces bile, an alkaline compound which aids in digestion, via the emulsification of lipids. It also performs and regulates a wide variety of high-volume biochemical reactions requiring specialized tissues. Hepatocytes make up 70 to 80% of the cytoplasmic mass of the liver. Hepatocytes are involved in protein synthesis, protein storage and transformation of carbohydrates, synthesis of cholesterol, bile salts and phospholipids, and detoxification, modification and excretion of exogenous and endogenous substances. The hepatocyte also initiates the formation and secretion of bile. There is a wide number of known liver diseases, such as:
There are also many pediatric liver diseases, such as biliary atresia, alpha-1-antitrypsin deficiency, alagille syndrome, and progressive familial intrahepatic cholestasis; as well as metabolic diseases. Furthermore, several pathogens and parasites, especially of tropical diseases, have a liver stage during their life cycle. For instance malaria, is one of the most common infectious diseases and an enormous public-health problem. Malaria is caused by protozoan parasites of the genus Another example is schistosomiasis or bilharziosis, which is a parasitic disease caused by several species of flatworm. Although it has a low mortality rate, schistosomiasis can be very debilitating. It is an often chronic illness that results from infection of the blood with a parasitic flatworm (schistosome). It causes debilitation and causes liver and intestinal damage. It is most commonly found in Asia, Africa, and South America, especially in areas with water that is contaminated with fresh water snails, which contain the parasite. Hepatitis B virus (HBV), the cause for hepatitis B, is the prototype of a family of small, enveloped DNA viruses of mammals and birds (1). The HBV envelope encloses three proteins termed L-(large), M-(middle) and S-(small) (see Ideally, drug targeting should fulfil the following criteria: 1) exclusive transfer of the drug to the required site of action; 2) a minimum of effects for the remaining organism; 3) use of a pharmacologically inactive vector. In order to carry a drug i.e. a therapeutic active agent to a specific tissue, different strategies are pursued. These are for example the use of prodrugs, from which the pharmacologically active part is released in the target tissue by tissue-specific enzymes. A further possibility is to couple effective, non-tissue-specific drugs to tissue-specific, but pharmacologically inert carrier systems like receptor-affine peptides or colloidal particles. Various drug carriers have been used to enhance liver targeting of drugs. A straightforward approach is based on the active phagocytosis of the reticuloendothelial system in the liver by delivering drugs in particular carriers, such as liposomes and microspheres. For example, it has been shown that following i.v. (intravenous) injection, particulate carriers incorporating a drug are mainly captured by the reticuloendothelial system in the liver, resulting in drug targeting of the liver (5). On the other hand, liver targeting of drugs with positively charged, water-soluble polymers is based on free extravasation of most water-soluble substances from the vascular system of the liver as well as on negative charges on the liver cell surface (6). Thus, polymers have been used as the carrier to allow drugs to target to the liver based on such anatomical and biochemical characteristics of the liver. More specific drug targeting of the liver has been attempted by using asialoglycoprotein receptors of liver cells. The asialoglycoprotein receptor (galactose receptor) is present on hepatocytes with high density. In addition, once a ligand binds to the galactose receptor, the ligand-receptor complex is internalized which allows the cellular uptake of galactosylated ligands (7). Furthermore delivery approaches using nanoparticles have been performed by e.g. amphilic polymers and viral vectors (8). Also delivery of drugs and genetic material has been conducted via the use of bio-nanocapsules (BNCs). BNCs are described as “nano-scaled capsules consisting of proteins produced by biotechnological techniques” and can be used as delivery systems for organ specific drug delivery (9). U.S. Pat. No. 7,001,760 B2 disclose recombinant vectors derived from hepatitis B virus (HBV), which can be used for gene therapy, such as the delivery of therapeutic genes to liver cells and the expression of heterologous genes in liver cells. WO2009/092612, whose content is incorporated herewith by reference in its entirety, describes hydrophobic modified preS-derived peptides of HBV and their use as vehicles for the specific delivery of compounds to the liver. In this document, the hydrophobic modified preS-derived peptides of HBV may be coupled with a diagnostic or therapeutic active agent via an optional anchor group (A) which is preferably “C-terminal” of the hydrophobic modified preS-derived peptide. The present invention provides hydrophobic modified peptides conjugated to one ore more compounds, preferably being drug(s), which compounds are coupled to the N-terminal amino acid sequence of the peptide represented by X, making it possible to create shorter peptides while still maintaining liver specificity. Surprisingly it has become possible to couple hydrophobic moieties to the peptides without abrogating liver tropism. The coupling compounds like drugs to the N-terminal site allows better delivery of active compounds across the cell membrane and also allows to direct drugs, which are active on the cellular membrane, directly to the site of action. Furthermore, the coupling of a drug to the N-terminal region of the peptide contributes to the stability of this active substance. In According to the present invention this object is solved by providing a hydrophobic modified peptide. In In a preferred embodiment of the invention, the one or more compound(s) is/are linked to said peptide via a linker or spacer, wherein the linker or spacer is preferably cleaved off the conjugate with the hydrophobic modified peptide by a liver protein, preferably a hepatocellular proteolytic enzyme which may be selected from cytochromes, such as cytochrome P450, proteases and lyases of the endocytic pathway (e.g. esterases), matrix-metallo-proteases MMP1, MMP2, MMP7, MMP9 and MMP12, preferably MMP7. In this case, the linker or spacer preferably comprises the peptide sequences GCHAK or RPLALWRS. In a further preferred embodiment, the one or more drug(s) is/are coupled to one or amino acid(s) of X having an amino group in a side chain, which is/are preferably selected from lysine, α-amino glycine, α,γ-diaminobutyric acid, ornithine, α,β-diaminopropionic acid, more preferably lysine. The amino acid(s) having an amino group in a side chain is/are preferably located at the N-terminus of X, wherein preferably 1 to 11, more preferably 1 to 3, amino acids having an amino group in a side chain are located at the N-terminus of X. According to the present invention this object is furthermore solved by providing a pharmaceutical composition comprising at least one hydrophobic modified peptide as defined herein and at least a compound (e.g. a drug) to be specifically delivered to the liver, preferably to hepatocytes, as defined herein and optionally a pharmaceutically acceptable carrier and/or excipient. In a preferred embodiment, the hydrophobic modified peptide and the pharmaceutical composition are used in the specific delivery of drugs to the liver, preferably for use in the treatment and prevention of a liver disease or disorder. In a preferred embodiment, the compound is a cell-penetrating peptide (CPP). In a preferred embodiment, combinations of two or more different compounds are coupled to one hydrophobic modified peptide. More preferably, the one or more compound which is/are coupled or linked to one or amino acid(s) of X is one or more drug or a combination of two or more drugs. According to the present invention the object is furthermore solved by providing a use of the hydrophobic modified peptide or the pharmaceutical composition of the invention for the manufacture of a medicament for prevention and/or treatment of liver diseases or disorders. According to the present invention the object is furthermore solved by providing a method for prevention and/or treatment of liver diseases or disorders, comprising administering to a subject a therapeutically effective amount of a hydrophobic modified peptide or a pharmaceutical composition of the invention. Further preferred embodiments of the present invention are defined in the dependent claims. Before the present invention is described in more detail below, it is to be understood that this invention is not limited to the particular methodology, protocols and reagents described herein as these may vary. It is also to be understood that the terminology used herein is for the purpose of describing particular embodiments only, and is not intended to limit the scope of the present invention which will be limited only by the appended claims. Unless defined otherwise, all technical and scientific terms used herein have the same meanings as commonly understood by one of ordinary skill in the art. For the purpose of the present invention, all references cited herein are incorporated by reference in their entireties. As outlined above, the present invention provides hydrophobic modified peptides which are derived from the preS domain of hepatitis B virus (HBV) (also designated “preS-peptides”). The envelope of HBV encloses three proteins termed L (large), M (middle) and S (small) (see Thus, the peptide according to the present invention refers to a peptide with an amino acid sequence that corresponds to or is based on the N-terminal extensions of the L-protein of HBV, preS1, preferably of genotypes A to H as well as of woolly monkey (WMHBV), orang-utan, chimpanzee and gorilla hepatitis B viruses, but it also refers to variants thereof, preferably C-terminally truncated variants, amino acid substitution variants. As an indispensible sequence, the amino acid residues being important for the liver tropism of the hydrophobic modified preS-derived peptides of HBV, as set out in SEQ ID NO:1 (NPLGFXP) are present in the amino acid sequence of the hydrophobic modified peptide of the invention. In particular, the hydrophobic modified peptides of the invention are based on the following sequences (amino acids in single letter code; essential domain underlined). Essential domain of the hydrophobic modified peptide (SEQ ID NO:1):
“Variants” are preferably N-terminally and/or C-terminally truncated variants, amino acid substitution or deletion variants, or prolonged variants of the sequences of SEQ ID NOs: 2-13, carrying a hydrophobic modification and wherein one or more drug(s) is/are coupled to one or amino acid(s) N-terminal of the essential domain of the hydrophobic modified peptide. Variants comprise furthermore an amino acid sequence comprising modified amino acid(s), unnatural amino acid(s) or peptidomimetic(s) or further compounds which can mimic a peptide backbone/structure. Preferably, variants are selected from C-terminally truncated variants of SEQ ID NOs. 2 to 13; amino acid substitution or deletion variants; variants comprising modified amino acid(s), unnatural amino acid(s) or peptidomimetic(s) or further compounds which can mimic a peptide backbone/structure. According to the invention, a variant of a hydrophobic modified peptide comprise at least the amino acids having the sequence of SEQ ID NO: 1 and can consist of 18, 19, 20, 21, 22, 23, 24, 25, 26, 27, 28, 29, 30, 31, 32, 33, 34, 35, 36, 37, 38, 39, 40, 41, 42, 43, 44, 45, 46, 47, 48, 49, 50, 51, 52, 53, 54, 55, 56, 57, 58, 59, 60, 61, 62, 63, 64, 65, 66, 67, 68, 69, 70, 71, 72, 73, 74, 75, 76, 78, 79, 80, 81, 82, 83, 84, 85, 86, 87, 88, 89, 90, 91, 92, 93, 94, 95, 96, 97, 98, 99, 100, 101, 102, 103, 104, 105, 106, 107, 108, 109, 110, 111, 112, 113, 114, 115, 116, 117, 118 or 119 amino acids of the above SEQ ID NOs: 2 to 13, or variants thereof. N-terminally and/or C-terminally truncated variants comprise preferably at least 18 consecutive amino acids, more preferably at least 19 consecutive amino acids, even more preferably at least 20 and just even more preferably at least 21 consecutive amino acids of SEQ ID NOs. 2 to 13 or variants thereof. The N-terminal sequence (X) of the hydrophobic modified peptide having a length of m amino acids comprises at least 4 amino acids (i.e. m=4). Preferably, the N-terminal sequence (X) of the hydrophobic modified peptide can consist of 4, 5, 6, 7, 8, 9, 10, 11, 12, 13, 14, 15, 16, 17, 18, or 19 amino acids. That is, m may be 4 to 19. In a preferred embodiment, one or amino acid(s) of X have an amino group in a side chain, which is/are preferably selected from lysine, α-amino glycine, α,γ-diaminobutyric acid, ornithine, α,β-diaminopropionic acid, more preferably lysine. The amino acid(s) of X having an amino group in a side chain, is/are preferably is/are located at the N-terminus of X, wherein one to eleven (1-11), preferably one to three (1-3), amino acids having an amino group in a side chain are located at the N-terminus of X. In a preferred embodiment, the N-terminal sequence (X) of the hydrophobic modified peptide preferably comprises the sequence NX1SX2X3(SEQ ID NO: 16), wherein X1, X2and, X3may be arbitrary amino acids. Preferably, X1of SEQ ID NO: 16 is L, I or Q, more preferably L. Preferably, X2of SEQ ID NO: 16 is T, V, A or is not present, preferably T or V, more preferably T. Preferably, X3of SEQ ID NO: 16 is P, S, T or F, more preferably P or S, even more preferably S. Preferably, the sequence NX1SX2X3(SEQ ID NO: 16) is directly attached to the N-terminus of the peptide P (SEQ. ID NO: 1; NPLGFXaaP), resulting in a peptide comprising the sequence NX1SX2X3NPLGFXaaP, wherein X1, X2, X3and Xaa are defined as above. The C-terminal sequence (Y) of the hydrophobic modified peptide having a length of n amino acids comprises 0 or at least 1 amino acids (i.e. n≧0). Preferably, the C-terminal sequence (Y) of the hydrophobic modified peptide can consist of 0, 1, 2, 3, 4, 5, 6, 7, 8, 9, 10, 11, 12, 13, 14, 15, 16, 17, 18, 19 20, 21, 22, 23, 24, 25, 26, 27, 28, 29, 30, 31, 32, 33, 34, 35, 36, 37, 38, 39, 40, 41, 42, 43, 44, 45, 46, 47, 48, 49, 50, 51, 52, 53, 54, 55, 56, 57, 58, 59, 60, 61, 62, 63, 64, 65, 66, 67, 68, 69, 70, 71, 72, 73, 74, 75, 76, 78, 79, 80, 81, 82, 83, 84, 85, 86, 87, 88, 89, 90, 91, 92 or 93 amino acids. That is, n may be 0 to 93. In a preferred embodiment, the C-terminal sequence (Y) of the hydrophobic modified peptide consists of at least 4 amino acids (n=4), which preferably has the sequence X4HQLDP (SEQ ID NO: 17), wherein X4is an arbitrary amino acid. Preferably, X4of SEQ ID NO: 17 is D, E or S, more preferably D or E, even more preferably D. Preferably, the sequence X4HQLDP (SEQ ID NO: 17) is directly attached to the C-terminus of the peptide P (SEQ. ID NO: 1; NPLGFXaaP), resulting in a peptide comprising the sequence NPLGFXaaPX4HQLDP, wherein X4and Xaa are defined as above. In a preferred embodiment, the hydrophobic modified peptide of the present invention comprises a peptide encoded by the amino acid sequence NX1SX2X3NPLGFXaaPX4HQLDP (SEQ ID NO: 18), wherein X1, X2, X3, X4and Xaa are defined as above. The term “variant” also refers to the homologous sequences found in the different viral species, strains or subtypes of the hepadnavirus genus, such as HBV strain alpha, HBV strain LSH (chimpanzee isolate), woolly monkey HBV (WMHBV), or strains selected from the group consisting of the HBV genotypes A to H (see SEQ ID NO: 2-13). The term “variant” also refers to homologous sequences which show at least 50% sequence identity to an amino acid sequence comprising the invariant NPLGFXaaP-domain and the adjacent sequences of SEQ ID NO. 2-13 or any other amino acid sequence disclosed herein, preferably 70%, more preferably 80%, even more preferably 90% or 95%. Thus, a preferred hydrophobic modified peptide according to the invention comprises a variant of SEQ ID NOs. 2 to 13 with an amino acid sequence of the different viral species, strains or subtypes, preferably of the genotypes of HBV or woolly monkey HBV (WMHBV) or variants thereof. “Variants” of SEQ ID NOS. 2 to 13 also comprise variants or “analogues” comprising amino acid deletions, amino acid substitutions, such as conservative or non conservative replacement by other amino acids or by isosteres (modified amino acids that bear close structural and spatial similarity to protein amino acids), amino acid additions or isostere additions, as long as the sequence still shows liver tropism, preferably more than 10% of the injected dose accumulates in liver tissue after 1 h following intravenous injection. The liver tropism of the of the hydrophobic modified peptide or of its “variant” is preferably 10% or more of the injected dose after 1 h, more preferred 25% or more of the injected dose after 1 h, even more preferred 50% or more of the injected dose after 1 h. Conservative amino acid substitutions typically relate to substitutions among amino acids of the same class. These classes include, for example,
“N-terminal” refers to the N-terminus of X, i.e. the respective first amino acid residue, but comprises also the hydrophobic modification in close proximity to the N-terminus, such as respective amino acid residues (−4), (−3), (−2), (−1), 1, 2 or 3 or 4. Thus, the coupling of the compound (e.g. a drug) and the hydrophobic modification can furthermore be obtained by an attachment of a drug and a hydrophobic moiety at a site close to the N-terminus of X. The hydrophobic modification of said hydrophobic modified peptide according to the present invention adds a hydrophobic moiety to the peptide. X is modified with at least one hydrophobic moiety or group. In preferred embodiments of this invention, X is modified with 1, 2, 3, 4 or more hydrophobic moiety/ies or group(s). That is, X can be modified with more than one hydrophobic moiety or group, such as 2. The hydrophobic moieties or groups can be the same or different to each other. The hydrophobic modification of said peptide according to the present invention is selected from:
Acylation is preferably selected from acylation with carboxylic acids, fatty acids, amino acids with lipophilic side chains. Preferred fatty acids are saturated or unsaturated fatty acids, branched or unbranched fatty acids, preferably with 8 to 22 carbon atoms (C 8 to C 22). More preferably, the hydrophobic modification by acylation is selected from acylation with myristoyl (C 14), palmitoyl (C 16) or stearoyl (C 18). Modification by myristoylation is preferred in in vivo and medicinal applications due to its higher safety, e.g. not showing the adverse effects of the stearoyl group (innate immune response etc). The addition of hydrophobic moieties is preferably selected from addition of cholesterol, derivatives of cholesterol, phospholipids, glycolipids, glycerol esters, steroids, ceramids, isoprene derivatives, adamantane, farnesol, aliphatic groups, polyaromatic compounds. The attachment of the hydrophobic moieties is preferably by covalent binding, which can be achieved via carbamate, amide, ether, disulfide or any other linkage that is within the skill of the person skilled in the art. Thus, the hydrophobic modified, preferably acylated peptides of this invention are preferably lipopeptides due to their N-terminal lipophilic or hydrophobic group/moiety. The C-terminal modification (R) of Y is preferably a modification with a moiety that protects from degradation, such as in vivo degradation. “C-terminal” refers to the modification at the C-terminus, i.e. the respective last amino acid residue, but comprises also the modification in close proximity to the C-terminus, such as the last but one amino acid residue, the last but two amino acid residue or more amino acid residues (e.g. introduction of one D-amino acid that protects the carrier from enzymatic degradation e.g. by the action of carboxypeptidases). The skilled artisan will be able to select the respective suitable moiety(s) depending on the respective application. Preferred moieties that protect from degradation are selected from amides, D-amino acids, modified amino acids, cyclic amino acids, albumin, natural and synthetic polymers, such as PEG, glycane. Furthermore, o is 0 or at least 1, i.e. the C-terminal modification (R) is optional. Preferably, o is 1. In further embodiments of this invention o is 1, 2, 3, 4 or more. That is, the C-terminus of hydrophobic modified peptide or its proximity can be modified with more than one moiety or group, such as 2. The moieties or groups can be the same or different to each other. In an embodiment of this invention the hydrophobic modification and/or R are linked to the peptide via a linker or spacer. Linker or spacer are known to the skilled artisan, such as polyalanine, polyglycin, carbohydrates, (CHa)n groups. The skilled artisan will, thus, be able to select the respective suitable linker(s) or spacer(s) depending on the respective application. The optional anchor group (A) serves as an additional point of attachment for a compound, a tag, a label and is located at an amino acid of Y. That is, in case that at least one anchor group (A) is present (i.e. p≧1) Y comprises at least one amino acid, too (i.e. n≧1). In a preferred embodiment, the anchor group is “C-terminal” of Y, wherein “C-terminal” refers to the modification at the C-terminus, i.e. the respective last amino acid residue, but comprises also the close proximity of the C-terminus, such as the last but one amino acid residue, the last but two amino acid residue or more amino acid residues. In this case o can be 0, thus there is no other C-terminal modification R. The anchor group A can be at an amino acid side chain of Y or can be the amino acid side chain of Y itself, i.e. A can be a side chain itself or a modified side chain. The anchor group can also be a modified amino acid residue which was introduced into the amino acid sequence of Y to serve as an anchor group. In other embodiments of the invention the anchor group A is attached to the hydrophobic modification of X and/or the C-terminal modification R. Preferred anchor groups are selected from ester, ether, disulfide, amide, thiol, thioester. The skilled artisan will be able to select the respective suitable anchor group(s) depending on the respective compound, tag, label etc. to be attached. The anchor group can furthermore be suitable for attaching a complex-forming component, such as of the biotin/avidin, polyarginine/oligonucleotide (e.g. siRNA) complex. Furthermore, o is 0 or at least 1, i.e. the anchor group (A) is optional. Preferably, o is 1. In further embodiments of this invention o is 1, 2, 3, 4 or more. That is, there are more than one anchor group, such as 2. The anchor groups can be the same or different to each other, allowing the attachment of several compounds, such as a drug and a label or different drugs. The peptides of the invention can be prepared by a variety of procedures readily known to those skilled in the art, in general by synthetic chemical procedures and/or genetic engineering procedures. Synthetic chemical procedures include more particularly the solid phase sequential and block synthesis (Erickson and Merrifield, 1976). More details can be taken from WO2009/092612. The solid phase sequential procedure can be performed using established automated methods such as by use of an automated peptide synthesizer. In this procedure an [alpha]-amino protected amino acid is bound to a resin support. The resin support employed can be any suitable resin conventionally employed in the art for the solid phase preparation of (poly)peptides, preferably polystyrene which has been copolymerized with polyoxyethylen to provide sites for ester formation with the initially introduced o-amino protected amino acid. This optimized method, applied by the inventors, has been explicitly described (see e.g. 12). The amino acids are introduced one by one (stepwise). Each synthesis cycle corresponding to the introduction of one amino acid includes a deprotection step, successive washing steps, a coupling step with activation of the amino acid, and subsequent washing steps. Each of these steps is followed by a filtration. The reactive agents for coupling are the classical reactive agents for (poly)peptide synthesis such as dicyclohexylcarbodiimide, hydroxybenzotriazole, benzotriazil-1-yl-oxytris (dimethylamino) phosphonium hexafluorophosphate, and diphenylphosphorylazide. After synthesis of the polypeptide on the resin, the polypeptide is separated from the resin by a treatment with a strong acid such as trifluoroacetic acid in the presence of anisol, ethanedithiol or 2-methylindole. The compound is then purified by the classical techniques of purification, in particular by means of HPLC. The peptides of the present invention may also be obtained by coupling (poly)peptide fragments that are selectively protected, this coupling being effected e.g. in a solution. The peptides can further be produced by genetic engineering techniques as known to the skilled artisan. A eukaryotic expression system, such as the baculovirus system, is particularly suitable. According to this procedure proteins are expressed in insect cells infected with a recombinant baculovirus containing a nucleic acid sequence encoding a heterologous protein and regulating nucleic acid sequences, such as a promoter. Several cell-lines are available for infection with recombinant baculovirus, such as cell line Sf-9, available from the American Type Culture Collection (CRL 1711). Expression in prokaryotic expression system, such as The introduction of the hydrophobic moiety to the peptide can be accomplished by a variety of procedures readily known to those skilled in the art, including synthetic and genetic engineering approaches. Alternatively, the peptides and/or fusion peptides (i.e. hydrophobic modified peptides) can be produced by stably transfected eukaryotic cell lines, like CHO and other cell lines which are known in the art and usually used for generating vaccines and the like. Due to the intrinsic property that the N-terminal 47-preS1 amino acids promote secretion of a myristoylated protein/peptide, the biologically active hydrophobic modified peptide can be extracted from cell culture supernatants. As outlined above, the present invention provides the use of the hydrophobic modified peptides as vehicle or shuttle for the specific delivery of a compound (e.g. a drug) to the liver, wherein the drug is coupled to the hydrophobic modified peptides as described herein. “Vehicle” or “shuttle” for the specific delivery of a compound to the liver according to the present invention refers to the liver tropism or hepatotropism of the hydrophobic modified peptides as found by the inventors and described herein, i.e. to their capacity to selectively accumulate in the liver, preferably to selectively accumulate at the plasma membrane of hepatocytes as well as to selectively enter into hepatocytes. The invention is based on the finding of a highly specific liver accumulation and on the identification of the determinants of the liver tropism of HBV in the preS 1 sequence of HBV by the inventors. Thus, the invention uses the knowledge about the determinants of the liver tropism for the design of universal vehicles or shuttles for specific liver targeting or delivery, respectively. The hydrophobic modified peptides of the present invention are versatile vehicles or shuttles for specifically delivering compound(s) to the liver. Preferably, the specific delivery of a compound to the liver is the specific delivery of the compound to hepatocytes. Furthermore, the compound can specifically be delivered to hepatocytes in vitro as well as in vivo. The compound is preferably specifically delivered to the liver of an animal, preferably mammal or human, or a bird. The compounds (e.g. drugs) to be specifically delivered to the liver according to this invention can be any kind of compound, being preferably suitable for therapeutic purposes. Drugs can be in form of prodrugs or preprodrugs. A compound can also be a virus or derivatives thereof, such as a replication-deficient or a replication-competent recombinant virus (e.g. an Adenovirus or an Adeno-associated virus) that has been chemically or genetically modified to expose the targeting sequence on its surface and is thereby redirected to infect hepatocytes. These viruses shall be applicable for hepatocyte specific gene delivery. In a preferred embodiment of the invention the compound to be specifically delivered to hepatocytes is a drug (or a drug in form of a prodrug). This drug/prodrug is preferably selected from therapeutically active compounds, drugs, agents, more preferably from the following classes of substances: Radioactive molecules or isotopes (e.g.18F,51Cr,67Ga,68Ga,111In,99mTc), alkylating agents (e.g. cisplatin, oxalplatin), anti-metabolites (e.g. azathioprine), anti-neoplastics (e.g. bleomycine, actinomycine) anthracyclines (e.g. doxorubicin, epirubicin), antifolates, (e.g. Methotrexate) antiviral agents (e.g. ribavarin, tenofovir), cytoskeleton-disrupting drugs (e.g. vinblastine, TAXOL), cytokines (e.g. interferon-α, interferon-β), chemokines (e.g. CCL1, CXC1), siRNAs (e.g. CALAA-01, SIRNA-034), miRNAs (e.g. miR-26a), nuclear receptor agonists and antagonists (e.g. mifepristone), oligonucleotides and nucleic acids (e.g. plasmids, short dsDNA, short ssDNA), epothilone (e.g. patupilone, ixabepilone), hormones (e.g., progestrines, fluoxymesterone), hormone antagonists (e.g. toremifene, fulvestrant), immunosuppressive agents (e.g. rapamycine, cyclosporine A), immunomodulatory agents (e.g. lenalidomide), immune stimulatory agents (e.g. SDC101, ITMN-191), immune stimulatory sequences such as TLR agonists, kinase inhibitors (e.g. sorafenib, imatinib, erlotinib), protease inhibitors (e.g. boceprevir, telaprevir), polymerase inhibitors (e.g. MK-0608, R7128), topoisomerase inhibitors (e.g. irinotecan, topotecan), nucleoside analogues (e.g. telbivudine, entecavir), precursor analogues (e.g. fluorouracil), peptides and peptide antibiotics (e.g. defensin 1), antibiotics (e.g. azithromycin, clindamycin, rifampicin), gyrase inhibitors of the fluoroquinilone class (e.g. levofloxacin, clinafloxacin, gatifloxacin, gemifloxacin, moxifloxacin, sitafloxacin, trovafloxacin, prulifloxacin, garenoxacin, delafloxacin), platin-based agents (e.g. carboplatin, cisplatin), retinoids (e.g. tazarotene, bexarotene), vinca alkaloids (e.g. vinpocetine, vinorelbine) and their derivatives, cytotoxic agents and cytostatic agents like ribosome inactivating proteins (e.g. a-sarcin, restrictotin), vitamins (e.g. vitamin B6), α-chain toxins (e.g. diphtheria toxin), snake venom toxins and their components (e.g. cobratoxin), fungi derived agents (e.g. aspergillin), bacterial exotoxins (e.g., pseudomonas exotoxin), bacterial enterotoxins (e.g. cholera toxin) and bacterial endotoxins (e.g. lipopolysaccharide) and their analogues, antibodies (e.g. bevacizumab, cetuximab) and CADs (cationic amphilic drugs) such as prochlorperazine, fluphenazine, trifluorophenazine. Preferred embodiments of the invention may include one or more member of the above classes of substances, in particular dapsone, bleomycin, dactinomycin, mitomycin, daunorubicin, doxorubicin, cyclosporin A, tenofovir, lamivudine, adefovir, entecavir, ribavirin, telepravir, epirubicin, idarubicin, mitoxantrone, amsacrin, doxifluridine, cisplatin, carboplatin, oxaliplatin, satraplatin, camptothecin, topotecan, irinotecan, amsacrine, etoposide, teniposide, cyclophosphamide, ifosfamide, trofosfamide, melphalan, chlorambucil, estramustin, busulfan, chlormethine, treosulfan, carmustine, lomustine, nimustine, streptozocin, procarbazine, dacarbazine, temozolomide, thiotepa, vinorelbine, vincristine, vinblastine, vindesine, paclitaxel, docetaxel, methotrexate, pemetrexed, raltitrexed, fluorouracil, capecitabine, cytosine-arabinoside, gemcitabine, tioguanine, pentostatin, azathioprine, mercaptopurine, fludarabin, cladribine, hydroxycarbamide, mitotane, azacitidine, cytarabine, gemcitabine, nelarabine, bortezomib, anagrelide, preferably imatinib, erlotinib, sunitinib, sorafenib, dasatinib, lapatinib or nilotinib, MK 886, pizotlyene, toremifene, SDC-101, ITMN-191, RG7227, nitazoxanide, VX-950, VX-222, BMS-790052, BMS-650032, GS 9190, GS 9256, BI 201335, BI 207127, IDX184, R7128, boceprevir, MK-7009, SIRNA-034, MK-0608, R7128, RG7347, RG7348, TMC435, PF-868554, PF-4878691, TT033, BI201335, BI 207127, BMS-790052, BMS-791325, BMS-650032, BMS-824393, ANA598, VCH-759, G1 50005, ITX5061, ITX4520, IDX184, IDX320, IDX375, A-837093, GS 9190, GS 9256, ACH-1095, ACH-1625, PPI-461, PPI1301, TG4040, AZD7295, chemizole, SPC3649, GNI-104, ID-12, GSK625433, ABT-450, ABT-072, ABT-333, PSO-7977, INX09189, PSI-938, EDP-239, SDC-101, SP-30, AVL-181, VX-500 and combinations thereof. In a preferred embodiment, the drug is selected from the group consisting of primaquine, doxorubicin and gyrase inhibitors, preferably levofloxacin. Doxorubicin is used as a first line drug for the treatment of primary HCC and has been found to act as an anti-malaria drug (Friedman R, (2009); 38; Gamo F J et al. (2010); 39). However, doxorubicin displays severe cardiotoxicity and nephrotoxicity. Coupling of doxorubicin to the hydrophobic modified peptides of the invention eliminates the target toxicity of this drug. Gyrase inhibitors of the fluoroquinilone class like levofloxacin are known to inhibit liver stage malaria (Friesen et al., Scie. Transl. Med., 2010; 40). To be effective as an anti-malarai drug, long time daily use is required. Further, gyrase inhibitors are known to develop intolerance if high dosage, long term use is required. Coupling of gyrase inhibitors like levofloxacin can reduce high dosage use and allow depot induction using subcutaneous injection. The above specified drugs may be used alone or in any suitable combination with each other. Preferred combinations for the treatment of unresectable hepatocellular carcinoma are combinations of bortezumib and doxorubicin; sorafenib and doxorubicin; botezomib and sorafenib; erlotinib and fluorouracil; erlotinib, fluorouracil and interferon-α; cisplatin and doxorubicin; and cisplatin, doxorubicin and erlotinib. Preferred combinations for the treatment of metastasized colorectal cancers are: Irinotecan and Fluorouracil, irinotecan and erotinib, oxaliplatin and fluorouracil, FOLFOX (oxaliplatin, fluorouracil, lencovorin), cisplatin and doxocyclin. Preferred combinations for the treatment of liver stage malaria are: Primaquine and clindamycin, primaquine and azithromycin, ciprofloxacin, doxocycline and atovaquone, primaquine, ciprofloxacin and rifampicin, primaquine, rifampicin and dapsone. Preferred combinations for the treatment of chronic Hepatitis C are: Interferon-α and ribavirin, telepravir and ribavirin, telepravir, ribavirin and interferon-α, Boceprevir and ribavirin, boceprevir, ribavirin and interferon-a, Cyclosporin A and interferon-α. Preferred combinations for the treatment of Hepatitis B are: tenofovir and entecavir, tenofovir and interferon-α, entecavir and interferon-α, tenofovir, entecavir and interferon-α. Further information about drug, their actions and suitable combinations of drugs for the prevention and/or treatment of liver diseases or disorders can be taken from Chen, K. F., H. C. Yu, et al. (2010); Czauderna, P., G. Mackinlay, et al. (2002); Javle, M. and C. T. Hsueh (2009); Lee, J., J. O. Park, et al. (2004); Mendelsohn, J. and J. Baselga (2000); Patt, Y. Z., M. M. Hassan, et al. (2003); Richly, H., B. Schultheis, et al. (2009). Falcone; A., S. Ricci, et al. (2007); Javle, M. and C. T. Hsueh (2009); Sagar, J., K. Sales, et al. (2010); Seymour, M. T., T. S. Maughan, et al. (2007); Tournigand, C., T. Andre, et al. (2004); Kappe, S. H., A. M. Vaughan, et al. (2010); Goodman, C. D., V. Su, et al. (2007); Zeuzem, S. (2004). McHutchison, J. G., G. T. Everson, et al. (2009); Nelson, D R, Ghalib, R H, Sulkowski, M, et al. (2009). “EASL Clinical Practice Guidelines: management of chronic hepatitis B.” One or more cell penetrating peptide(s) (CCPs) can be coupled to the hydrophobic modified peptides of the invention in order to efficiently deliver prodrugs and intracellular active agents into hepatocytes. Preferably, CCPs will be used in combination with other compounds/drugs. Preferred embodiments are: N-terminally coupled CPPs and primaquine and or antibiotics for the treatment of malaria, N-terminally coupled CPPs and nucleoside analogues for the treatment of HBV and HCV, N-terminally coupled CPPs and protease inhibitors for the treatment of HCV and combinations thereof. In a preferred embodiment the CPP(s) are selected from polyarginine, Penetratin, HBVpreS2-TLM, Antennapedia. N-terminally coupled CPPs can be used for the delivery of oligonucleotide-peptide conjugates and peptide nucleic acid conjugates into hepatocytes. One preferred embodiment is the delivery of sulfosuccinimidyl-4-(p-maleimidophenylbutyrate) coupled anti-HCV siRNA into hepatocytes using N-terminally coupled HIV-TAT peptides. Further details concerning CCPs can be taken from Meng, S., B. Wei, et al. (2009); de Koning, M. C., G. A. van der Marel, et al. (2003) and Zatsepin, T. S., J. J. Turner, et al. (2005). Combination with a Label In a further preferred embodiment, a drug is combined with a label that is one or more label(s) is coupled to the hydrophobic modified peptide of the present invention, to which one or more drug is coupled. Due to this combination the delivery of the drug to the liver can be monitored by detecting the label. The labels can be any kind of compound being suitable for diagnostic purposes and can be coupled to the hydrophobic modified peptide of the present invention by the methods described herein. Preferably the label is selected from a fluorescent dye, a radioisotope or a contrast agent. According to the present invention, a contrast agent is a dye or other substance that helps show abnormal areas inside the body. Preferred radioisotopes/fluorescence emitting isotopes are selected from the group consisting of alpha radiation emitting isotopes, gamma radiation emitting isotopes, Auger electron emitting isotopes, X-ray emitting isotopes, fluorescence emitting isotopes, such as18F,51Cr,67Ga,68Ga,111In,99mTc,140La,175Yb,153Sm,166Ho,88Y,90Y,149Pm,177Lu,47Sc,142Pr,159Gd,212Bi,72As,72Se,97Ru,109Pd,105Rh,101m15Rh,119Sb,128Ba,123I,124I,131I,197Hg,211At,169Eu,203Pb,212Pb,64Cu,67Cu,188Re,186Re,198Au and199Ag. Preferred fluorescent dyes are selected from the following classes of dyes: Xanthens (e.g. Fluorescein), Acridines (e.g. Acridine Yellow), Oxazines (e.g. Oxazine 1), Cynines (e.g. Cy7/Cy 3), Styryl dyes (e.g. Dye-28), Coumarines (e.g. Alexa Fluor 350), Porphines (e.g. Chlorophyll B), Metal-Ligand-Complexes (e.g. PtOEPK), Fluorescent proteins (e.g. APC, R-Phycoerythrin), Nanocrystals (e.g. QuantumDot 705), Perylenes (e.g. Lumogen Red F300) and Phtalocyanines (e.g. IRDYE™700DX) as well as conjugates and combinations of these classes of dyes. Preferred contrast agents are selected from paramagnetic agents, e.g. Gd, Eu, W and Mn, preferably complexed with a chelating agent. Further options are supramagnetic iron (Fe) complexes and particles, compounds containing atoms of high atomic number, i.e. iodine for computer tomography (CT), microbubbles and carriers such as liposomes that contain these contrast agents. The compound to be specifically delivered to hepatocytes may be bound to the hydrophobic modified peptide in the form of a complex with a chelating agent being able to form complexes with the respective compound. In a preferred embodiment of the invention, the chelating agent is selected from the group consisting of 1,4,7,10-tetraazacyclododecane-N,N′,N,N′-tetraacetic acid (DOTA), ethylenediaminetetraacetic acid (EDTA), 1,4,7-triazacyclononane-1,4,7-triacetic acid (NOTA), triethylenetetramine (TETA), iminodiacetic acid, Diethylenetriamine-N,N,N′,N′,N″-pentaacetic acid (DTPA) and 6-Hydrazinopyridine-3-carboxylic acid (HYNIC), while 1,4,7,10-tetraazacyclododecane-N,N′,N,N′-tetraacetic acid (DOTA) is particularly preferred. The coupling of the compound(s) to the respective amino acids of X may be conducted by any suitable method known to the person skilled in the art. In a preferred embodiment of the present invention, the compound(s) is/are coupled to the respective amino acid of X by using an activated ester. In particular, in case of coupling compounds(s) to the amino acids of X having an amino group in a side chain this method can be used. Alternatively, the following coupling methods can be used in order to couple one or more compound to the respective amino acids of X, which are shortly summarized. The specific reaction conditions for achieving a coupling of a compound to an amino acid with or without a linker can be easily determined by a chemist:
The hydrophobic modified peptide, in particular the conjugates of the present invention, are preferably used to enrich a compound that is shuttled to the liver, in the liver. Preferably, the compound is cleaved off the conjugate with the hydrophobic modified peptide by a liver protein, preferably a hepatocellular proteolytic enzyme, in particular in vivo in the liver. The compound (e.g. drug) and the hydrophobic modified peptide form a conjugate. Preferably, the conjugate of compound and hydrophobic modified peptide is formed by covalent attachment or by complex formation. The form of attachment depends on the type of compound. The coupling of the compound(s) (e.g. drug(s)) to the respective amino acids of X may be conducted by using a spacer or linker. Linker or spacer are known to the skilled artisan, such as polyalanine, polyglycin, carbohydrates, (CH2)n groups or amino acid sequences. The skilled artisan will, thus, be able to select the respective suitable linker(s) or spacer(s) depending on the respective application. The spacer or linker preferably comprises a recognition site for hepatocyte specific activation, which is preferably recognized by a liver or tumor specific protein. The recognition site is preferably a proteolytic cleavage site. The liver protein is, thus, preferably a hepatocellular protein, more preferably a hepatocellular proteolytic enzyme or a proteolytic enzyme which is overexpressed in a tumor, e.g. MMP7. Thus, the hydrophobic modified peptide can be administered to a subject and will be transported through the body, such as in the body fluids, without being cleaved. However, as soon as the hydrophobic modified peptide reaches its target, the liver or the hepatocytes, respectively, the liver protein, such as a hepatocellular proteolytic enzyme will cleave the proteolytic cleavage site and release the compound from its shuttle, i.e. the hydrophobic modified peptide. Further preferred liver proteins are cytochromes, such as cytochrome P450 or lyases of the endocytic pathway. The HepDirect(R) technology (of Metabasis Technologies, Inc.) as used in Adefovir or Pradevofir, is also suitable for the present invention. Of particular importance for tumor diseases like neoplastic alterations by metastases of carcinomas, e.g. colon carcinomas, is the interchange between malignant tissue and the surrounding tissue. There is a need for the activation of healthy epithelia cells and or the recruitment of immune cells which is a prerequisite for the formation of a distant metastasis of a primary tumor. Tissue analysis have shown that tumor specific mRNA expression levels of matrix-metallo-proteases (MMP1, MMP2, MMP7, MMP9 and MMP12) are associated with a bad prognosis of tumor patients (Gentner B. et al., Anticancer Res. 2009 January; 29(1): 67-74). From these proteases especially MMP7 is of high interest since it is primarily expressed by tumor cells. Coupling a drug to the described peptide sequence via a linker sequence containing a specific proteolytic binding site for MMP7 (e.g. a short Peptide Sequence GCHAK or RPLALWRS) but also all other MMP 7 substrates (e.g. Fibronectin, Elastin, Casein or others) would allow to deliver an inactive pro drug to the liver via the modification of the original peptide by means described above. In the liver the modified peptides would then be preferentially cleaved in the direct surrounding of the tumor tissue and the inactive pro drug would be activated. This method of drug delivery to the liver targeting primary hepatocellular carcinomas or metastasis in the liver overexpressing one of the above listed MMPs (e.g. Colon Carcinoma Metastasis) presents a novel way of targeting drugs to tumor tissues. In one embodiment, the conjugate of compound and hydrophobic modified derived peptide is formed by complex formation. Preferred complexes useful in the invention are biotin/avidin, polyarginine/oligonucleotide (e.g. siRNA). The skilled artisan will be able to determine suitable complex components and to design the compound and hydrophobic modified peptide accordingly. Prevention and/or Treatment of Liver Diseases In a preferred embodiment of the invention the above hydrophobic modified peptides, in particular their conjugates with compounds, are provided for the prevention and/or treatment of a liver disease or disorder. Depending on the liver disease or disorder which shall be prevented and/or treated the respective compound is selected and selectively, specifically delivered to the liver. A “liver disease” or a “liver disorder” according to the present invention refers to any disease or disorder that has an effect on or involves the organ liver, liver tissue or hepatocytes. Examples of liver diseases are:
Furthermore, also liver diseases of animals, such as pets or livestock, are included, in particular diseases that can be transmitted to humans, such as toxoplasmosis. The liver disease or disorder to be prevented and/or treated is preferably selected from hepatitis, cirrhosis, haemochromatosis, preferably hepatitis caused by hepatitis A, B, C, D, E, F, G and H virus. The liver disease or disorder to be prevented and/or treated can also be concomitant hepatitis caused by viruses, such as viruses of the family Herpesviridae, e.g. herpes virus, cytomegalic virus (CMV) but also varicella zoster virus (VZV), Epstein Barr virus (EBV), coxsackie viruses, yellow fever virus, Dengue virus. The liver disease or disorder to be prevented and/or treated can also be a disease which involves a liver stadium of a virus or a non-viral pathogen, such as in many tropical diseases. Since the liver stadium of some pathogens is an early stadium, the respective infection can be selectively, specifically treated in such an early stadium. Such viruses are hepatitis A, B, C, D, E, F, G and H virus, herpes viruses. Such non-viral pathogens are bacteria, parasites and/or worms. Parasites are for example protozoan parasites of the genus The liver diseases or disorders to be prevented and/or treated are preferably liver tumors, preferably hepatocellular carcinoma (HCC) or neoplastic alterations by metastases of solid tumors, e.g. colon carcinomas. The liver disease or disorder to be prevented and/or treated can also be a metabolic disease, such as diabetes, hyperlipidemia, metabolic syndrome and obesity, chronic hyperglycemia, metabolic syndrome, non-alcoholic steatohepatitis (NASH) (see also (9)). In a preferred embodiment of the invention the above hydrophobic modified peptides, in particular their conjugates with compounds, are provided for the regulation of liver function(s). Preferred is their use for hepatocyte-mediated antigen presentation and activation of liver-directed immunological responses. In this case, the compound to be delivered to the liver is preferably an immunogenic epitope. In a preferred embodiment of the invention the above described hydrophobic modified, preferably acylated derived peptides, in particular their conjugates with compounds, can be used for the manufacture of a medicament for the prevention and/or treatment of a liver disease or disorder. As outlined above, the present invention provides a pharmaceutical composition comprising at least one hydrophobic modified peptide as defined herein and at least a compound to be specifically delivered to the liver as defined herein and optionally a pharmaceutically acceptable carrier and/or excipient. The pharmaceutical composition according to the present invention comprises:
The pharmaceutical compositions according to the present invention are very well suited for all the uses and methods described herein. A “pharmaceutically acceptable carrier or excipient” refers to any vehicle wherein or with which the pharmaceutical or vaccine compositions according to the invention may be formulated. It includes a saline solution, such as phosphate buffer saline, a citrate buffer, NaCl, ocytl glucoside and/or a poloxamere. In general, a diluent or carrier is selected on the basis of the mode and route of administration, and standard pharmaceutical practice. Furthermore, and as outlined above, the present invention provides methods for prevention and/or treatment of a liver disease or disorder by utilizing the above described hydrophobic modified peptide(s) or the pharmaceutical composition(s) of the invention. The present invention also provides a method for the prevention and/or treatment of a liver disease or disorder by administering to a subject a conjugate as defined herein, which comprises a hydrophobic modified derived peptide and a compound (e.g. a drug), or a pharmaceutical composition as defined herein. The method for the prevention and/or treatment of a liver disease or disorder according to the present invention comprises administering to a subject in a therapeutically effective amount (a) a hydrophobic modified peptide as defined herein above and comprising at least a compound (e.g. a drug) as defined herein above, or
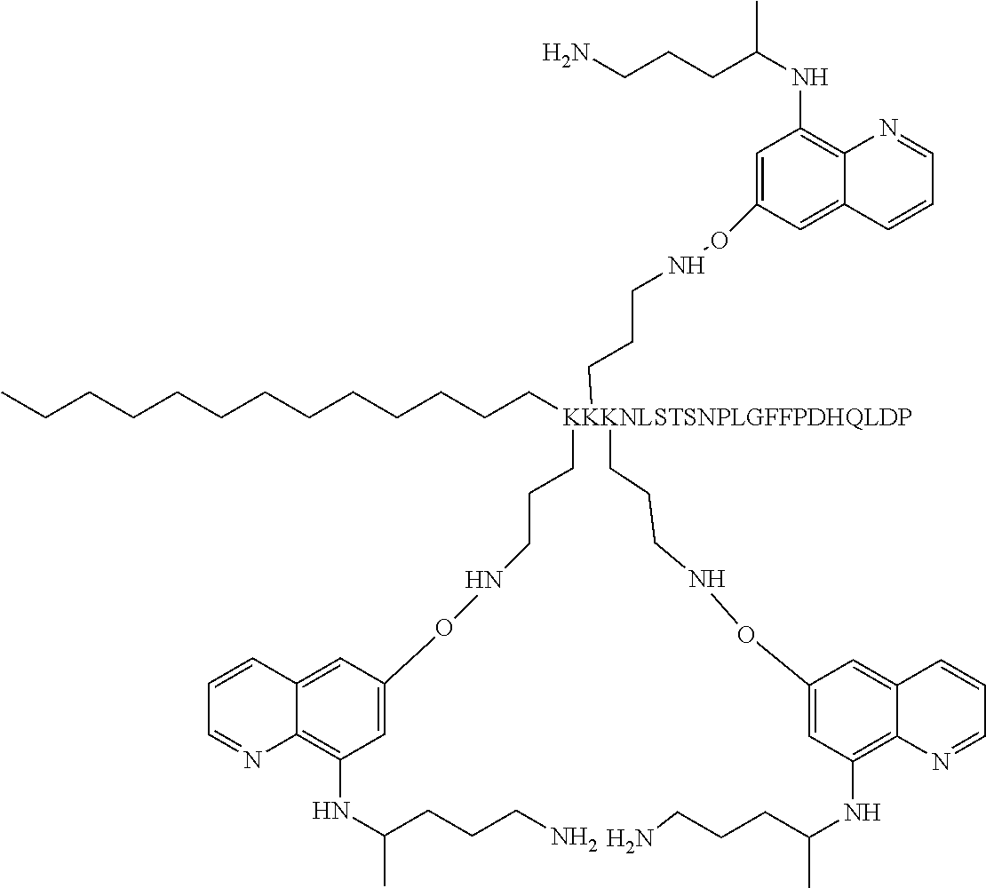
Preferably, the route of administration of the conjugates or pharmaceutical compositions of the present invention, in particular in the method of treatment, is selected from subcutaneous, intravenous, oral, nasal, intramuscular, transdermal, inhalative, by suppository. A preferred embodiment for nasal administration or application is a nasal spray. In a further preferred embodiment, the hydrophobic modified peptide of the invention comprising a compound (e.g. a drug) is dissolved in serum from the patient and is applied via injection. A “therapeutically effective amount” of a hydrophobic modified peptide or a pharmaceutical composition of this invention refers to the amount that is sufficient to prevent and/or treat the respective liver disease or disorder. The preferred therapeutically effective amount depends on the respective compound that is to be delivered and its respective therapeutic potential. The skilled artisan will be able to determine suitable therapeutically effective amounts. In a preferred embodiment, the therapeutically effective amount is in the range of 10 pmol per kg to 20 μmol per kg body weight. For use as a therapeutic agent (i.e. a drug is coupled to the hydrophobic modified peptide) a preferred amount to be applied to a patient is in the range of 100 nmol per kg to 2 μmol per kg body weight. In the following, preferred hydrophobic modified peptides of the invention are given. These hydrophobic modified peptides are based on the amino acid sequence KKKNLSTSNPLGFFPDHQLPD (SEQ ID NO. 14) or KKKNLSTSNPLGFFPDHQLDP (SEQ ID NO. 15), wherein one or two of the N-terminal lysines (K) may be deleted or substituted by another amino acid. An exemplary hydrophobic modified peptide has the following chemical structure: The amino acid sequence of the compound having the above exemplified chemical structure is stearoyl-[K(primaquine)][K(primaquine)][Kprimaquine)]-NLSTSNPLGFFPDHQLDP, wherein to each of the three N-terminal lysines (KKK) a primaquine molecule is coupled, and the first N-terminal lysine is further modified with a hydrophobic stearoyl group. In this connection it should be noted that the formulas of the hydrophobic modified peptides of the invention are simplified in the text so that the above exemplified hydrophobic modified peptide can be also designated “stearoyl-[K(primaquine)]3-NLSTSNPLGFFPDHQLDP” A further exemplary preferred hydrophobic modified peptide has the following chemical structure: A further preferred exemplary hydrophobic modified peptide has the following chemical structure: In the following, preferred hydrophobic modified peptides of the invention as well as their preferred specific uses in treatment and/or prevention of diseases or disorders of the liver are given:
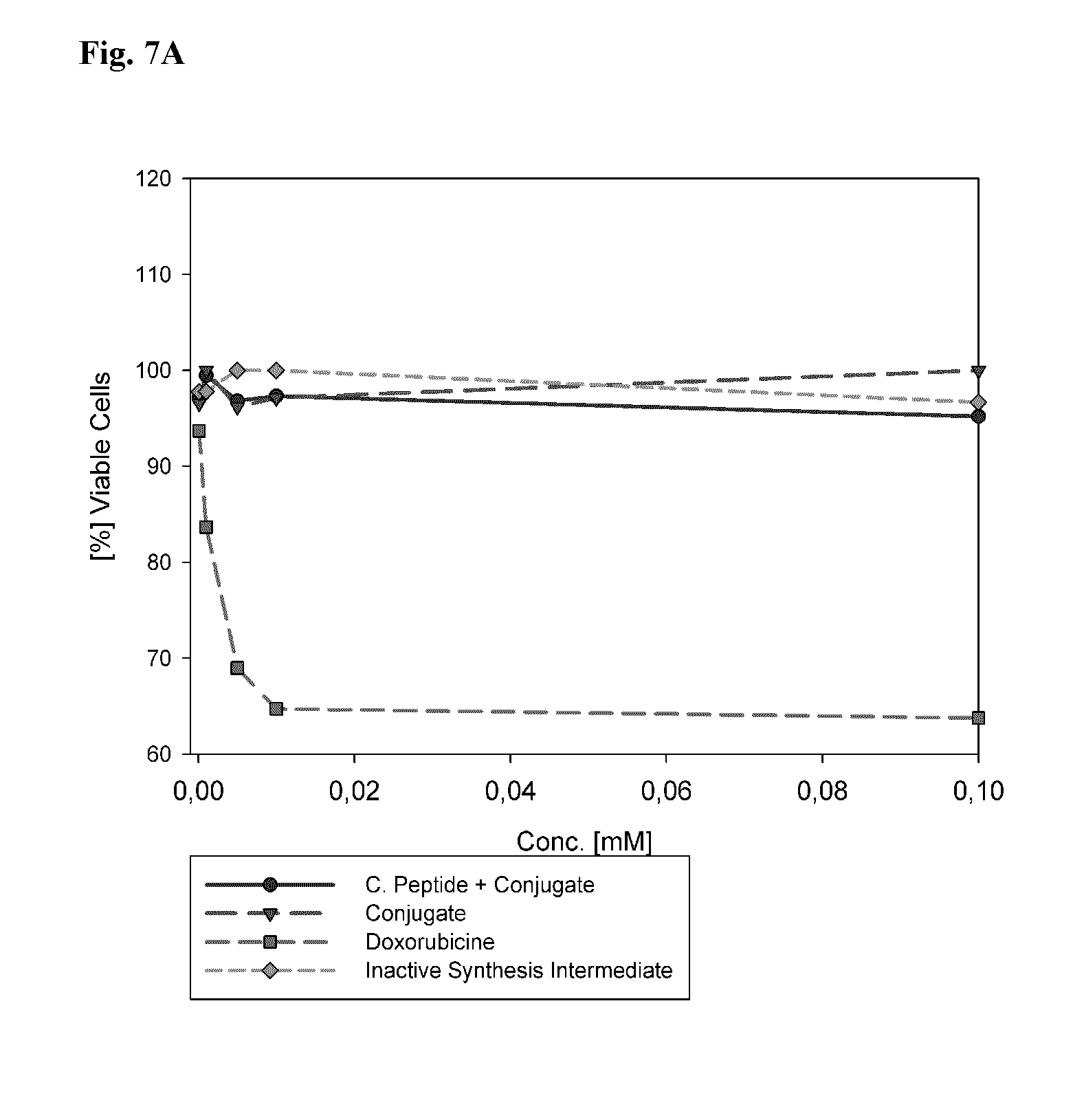
The following examples and drawings illustrate the present invention without, however, limiting the same thereto. In the following examples 1 and 2, a hydrophobic peptides carrying Gd as a label complexed with DOTA (stearoyl-[K(DOTA[Gd])]3-NLSTSNPLGFFPDHQLDP-amide was used in order to demonstrate the working principle of the present invention. The synthesis of the peptides was carried out by using the Fmoc method as described in (10) Gripon, P. et al. J Virol 79, 1613-1622 (2005). Diisopropylcarbodiimide (5 mmol, 631 mg, 774 μl) was dissolved in pyridine (15 ml) and dropped over 10 min to a solution of DOTA (5 mmol, 2.02 g) and difluoro phenole (5 mmol, 650 mg) in water (60 ml) while stirring. 30 min after addition, the reaction mixture was extracted three times with dichlormethane and the aqueous phase was evaporated to dryness by using a rotating evaporator. The crude product was dissolved in a mixture of water (11 ml) and acetonitrile (3 ml) and was purified via preparative RP-HPLC. The HPLC fractions containing the product were concentrated by lyophilisation. Yield: 1.0633 g (41%). The peptide stearoyl-KKKNLSTSNPLGFFPDHQLDP-amide (140 mg, 0.055 mmol) was dissolved in 5 ml DMF. DOTA-DFP (129 mg, 0.25 mmol) was added and, furthermore, DIPEA (410 μl, 2.5 mmol) was added. The mixture was stirred over night at 50° C. Diethylether was added until precipitation; the precipitate was separated by using a centrifuge and was washed twice with diethylether. The crude product was purified by using RP-HPLC. The purification was effected by using a gradient of water and acetonitrile, both comprising 0.1% trifluoroacetic acid. The HPLC fractions containing the product were concentrated by lyophilisation. Yield: 112 mg (55%). The peptide stearoyl-[K(DOTA)]3-NLSTSNPLGFFPDHQLDP-amide (112 mg, 0.030 mmol) was dissolved in 0.4 M sodium acetate buffer (pH 5) and GdCl3*6H2O (335 mg, 0.90 mmol) was added. The mixture was heated for 1 h in a water bath while stirring. The resulting mixture of products was purified by using RP-HPLC. The purification was effected by using a gradient of water and acetonitrile, both comprising 0.1% trifluoroacetic acid. The HPLC fractions containing the product (stearoyl-[K(DOTA[Gd])]3-NLSTSNPLGFFPDHQLDP-amide) were concentrated by lyophilisation. Yield: 94 mg (77%). The peptide stearoyl-[K(DOTA[68Ga])]3-NLSTSNPLGFFPDHQLDP-amide was dissolved in citrate buffer (pH 8.0)+4% BSA and injected i.v. in the tail vene of tumour bearing WAG/Rij rats. The rats were orthopically injected with 1×106syngenic colon carcinoma cells (CC531 cells) 10 days prior to the measurements. At the day of measurement the rats received the peptide in a concentration of 400 nmol/kg body weight. During the experiments the rats were anaesthetised by isoflurane and kept at 37° C. PET imaging was performed using a Inveon small animal PET from Siemens, imaging was started immediately after i.v. injection of the peptide 24h after the initial measurement using stearoyl-[K(DOTA[68Ga])]3-NLSTSNPLGFFPDHQLDP-amide the rats were injected with18F-FDG (Fluodeoxyglucose(18F) in a concentration of 5 millicuries as a control. Doxorubicin coupled peptides have been synthesized as described herein. Briefly, FMOC protected solid phase peptide synthesis was used to synthesize the peptide backbone (KNLSTSNPLGFFPDHQLDPy), Doxorubicin was then coupled to the peptide backbone using amid formation. The “y” in the peptide backbone represents D-tyrosine to which131Iodine can be coupled to act as a label for detecting the modified peptide in rats. The resulting peptide was purified by HPLC and purity was analyzed by Mass Spectrometry. Purity of the resulting peptide was 97% or higher. A sketch of the modified peptide is shown below: In order to show that the resulting synthesized peptides was still liver specific, the above sketched peptide was labeled C-terminally with radioactive131Iodine using the chloramine T method as described in (Eisenhut and Mier, 2011; 36). Tyrosine specific Iodine labeling: 10 μl of a 1 mM peptide solution (solved in water) is added to 20 μl phosphate buffer. Varying amounts of radioactive Na131I solution is added to the peptide solution as required to achieve complete labeling, the amount varies based on the age of the radioactive Na131I solution. The skilled artisan can control the required amounts by measuring radioactive activity (counts). 5 μl chloramine-T solution (2 mg/ml in water) is then added and the resulting solution is vortexed (5 times) and centrifuged (8000 g, 30 s, 5 times). Thereafter 10 μl of a saturated methionine solution is added and the vial is carefully inverted to mix. The resulting solution is then purified using RP-HPLC. The peptide fraction is collected and vacuum dried. The lyophilized, marked peptide can then be resolved in the desired experimental buffer and used for downstream experiments. Radioactive labeled peptides where then solved in PBS+3% BSA, heated to 37° C. and injected into the tail vein of WAG/RJ rats. Animals where then euthanized at the indicated time points ( Next it was analyzed if the modified doxorubicin is still cytotoxic to cells. In this experiment primary mouse hepatocytes isolated from C57BL/6 mice as described in Galle et al., (1994) (37) were incubated and reseeded in 96 well flat bottom plates to form a confluent cell layer. 24 h post seeding, cells were incubated with either the synthesized peptides (Conjugate), an inactive synthesis intermediate of doxorubicin, doxorubicin alone and as an additional control the cells were preincubated for 30 minutes using unmodified peptides without addition of doxorubicin (Cold Peptide) followed by the synthesized peptide (conjugate) at the indicated concentrations ( Incubation of primary mouse hepatocytes with either doxorubicin alone or Myristoyl-[K-Doxorubicin]-NLSTSNPLGFFPDHQLDPy-amide (HBVpreS/myr-[K-Doxorubicin]3-20y) peptides shows significant cytotoxic effects after 12 h and 24 h incubation. Incubation with an inactive synthesis intermediate of the coupling reaction does not show any toxicity. Furthermore, blocking of the peptide specific receptor by pre-incubating the cells with unmodified preS peptides for 30 minutes prior for treating the cells with Myristoyl-[K-Doxorubicin]-NLSTSNPLGFFPDHQLDPy-amide (HBVpreS/myr-[K-Doxorubicin]3-20y), completely abrogates the cytotoxic effect of the modified peptides. As an additional control HepG2 were incubated cells for 12 h under the same conditions as indicated above. HepG2 cells do not express the specific peptide receptor. For this reason HepG2 cells should not be affected by the observed cytotoxic effect of the Myristoyl-[K-Doxorubicin]-NLSTSNPLGFFPDHQLDPy-amide (HBVpreS/myr-[K-Doxorubicin]3-20y) peptides if the observed effect is peptide and receptor specific. The results of this experiment are shown in As shown in Levofloxacin coupled peptides have been synthesized as described herein. Briefly, FMOC protected solid phase peptide synthesis was used to synthesize the peptide backbone (KNLSTSNPLGFFPDHQLDP), Levofloxacin was then coupled to the peptide backbone using amid formation. The resulting peptide was the purified by HPLC and purity was analyzed by Mass Spectrometry. Purity of the resulting peptide was 95% or higher. A sketch of the modified peptide is shown below: In order to show that the resulting synthesized peptide was still liver specific, the above sketched peptide was labeled C-terminally with radioactive131Iodine using the chloramine T method as described in (36) and as described above. Radioactive labeled peptides where then solved in PBS+3% BSA, heated to 37° C. and injected into the tail vein of WAG/RJ rats. The animals were then narcotized using Isoflurane and peptide distribution was monitored using a small animal PET scanner. Images were taken at the indicated time points to monitor peptide distribution in the animals. The images 8A to 8D are summary images covering the indicated time points:
These experiments demonstrate that Myristoyl-[K-Levofloxacin]-NLSTSNPLGFFPDHQLDPy-131I (HBVpreS/myr-[K-Levofloxacin]3-20y-131I) peptides enrich specifically in the liver of WAG/RJ rats, where they are taken up by hepatocytes and traces of radioactivity can be found in the gut and the bladder of the animals 6 h post injection. The features disclosed in the foregoing description, in the claims and/or in the accompanying drawings may, both separately and in any combination thereof, be material for realizing the invention in diverse forms thereof.BACKGROUND OF THE INVENTION
SUMMARY OF THE INVENTION
DESCRIPTION OF THE PREFERRED EMBODIMENTS OF THE INVENTION
Hydrophobic Modified Peptides
NPLGFXP (wherein X is an arbitrary amino acid, preferably F or L, more preferably F)
preS HBV-A (ID: M57663; SEQ ID NO: 2): MGGWSSKPRKGMGTNLSVPNPLGFFPDHQLDPAFGANSNNPDWDFNPIKD HWPQANQVGVGAFGPGFTPPHGGVLGWSPQAQGILATVPAMPPPASTNRQ SGRQPTPISPPLRDSHPQA preS HBV-B (ID: D00329, SEQ ID NO: 3) MGGWSSKPRKGMGTNLSVPNPLGFFPDHQLDPAFKANSENPDWDLNPHKD NWPDAHKVGVGAFGPGFTPPHGGLLGWSPQAQGILTSVPAAPPPASTNRQ SGRQPTPLSPPLRDTHPQA preS HBV-C (ID: AB048704, SEQ ID NO: 4) MGGWSSKPRKGMGTNLSVPNPLGFFPDHQLDPAFKANSENPDWDLNPHKD NWPDAHKVGVGAFGPGFTPPHGGLLGWSPQAQGILTSVPAAPPPASTNRQ SGRQPTPLSPPLRDTHPQA preS HBV-Chimpanzee (ID: AB032432, SEQ ID NO: 5) MGQNLSTSNPLGFFPEHQLDPAFKANTNNPDWDFNPKKDYWPEANKVGAG AFGPGFTPPHGGLLGWSPQAQGILTTLPANPPPASTNRQSGRQPTPLSPP LRDTHPQA preS HBV-D(ID: AB048702, SEQ ID NO: 6) MGQNLSTSNPLGFFPDHQLDPAFRANTNNPDWDFNPNKDTWPDANKVGAG AFGLGFTPPHGGLLGWSPQAQGIMQTLPANPPPASTNRQSGRQPTPLSPP LRTTHPQA preS HBV-E (ID: X65657, SEQ ID NO: 7) MGLSWTVPLEWGKNISTTNPLGFFPDHQLDPAFRANTRNPDWDHNPNKDH WTEANKVGVGAFGPGFTPPHGGLLGWSPQAQGMLKTLPADPPPASTNRQS GRQPTPITPPLRDTHPQA preS HBV-F (ID: X69798@8, SEQ ID NO: 8) MGAPLSTTRRGMGQNLSVPNPLGFFPDHQLDPLFRANSSSPDWDFNTNKD SWPMANKVGVGGYGPGFTPPHGGLLGWSPQAQGVLTTLPADPPPASTNRR SGRKPTPVSPPLRDTHPQA preS HBV-G (ID: AF160501, SEQ ID NO: 9) MGLSWTVPLEWGKNLSASNPLGFLPDHQLDPAFRANTNNPDWDFNPKKDP WPEANKVGVGAYGPGFTPPHGGLLGWSPQSQGTLTTLPADPPPASTNRQS GRQPTPISPPLRDSHPQA HBV Gibbon (ID: AJ131572, SEQ ID NO: 10) MGQNHSVTNPLGFFPDHQLDPLFRANSNNPDWDFNPNKDTWPEATKVGVG AFGPGFTPPHGGLLGWSPQAQGILTTLPAAPPPASTNRQSGRKATPISPP LRDTHPQA HBV-H (ID: Q8JMY6, SEQ ID NO: 11) MGAPLSTARRGMGQNLSVPNPLGFFPDHQLDPLFRANSSSPDWDFNTNKD NWPMANKVGVGGFGPGFTPPHGGLLGWSPQAQGILTTSPPDPPPASTNRR SGRKPTPVSPPLRDTHPQA HBV Orangutan (ID: AF193864, SEQ ID NO: 12) MGQNLSVSNPLGFFPEHQLDPLFRANTNNPDWDFNPNKDTWPEATKVGVG AFGPGFTPPHGGLLGWSPQAQGVTTILPAVPPPASTNRQSGRQPTPISPP LRDTHPQA HBV Woolly Monkey (ID: NC_001896, SEQ ID NO: 13) MGLNQSTFNPLGFFPSHQLDPLFKANAGSADWDKNPNKDPWPQAHDTAVG AFGPGLVPPHGGLLGWSSQAQGLSVTVPDTPPPPSTNRDKGRKPTPATPP LRDTHPQA Synthesis of the Hydrophobic Modified Peptides
Vectors and Shuttles for Liver Targeting
Compounds to be Delivered
Drug (Therapeutic Agent)
Cell Penetrating Peptides
Chelating Agent
Coupling of a Compound to the Hydrophobic Modified Peptide
Linker/Spacer for the Compound (e.g. a Drug)
Pharmaceutical Compositions
Treatment Method
(b) a pharmaceutical composition as defined herein above.
Route of Administration
Therapeutically Effective Amount
Preferred Hydrophobic Modified Peptides of the Invention
Myristoyl-[K-Doxorubicin]-NLSTSNPLGFFPDHQLDP (HBVpreS/myr-K-Doxorubicin 3-20)
Myristoyl-[K-Levofloxacin]-NLSTSNPLGFFPDHQLDP (HBVpreS/myr-[K-Levofloxacin]3-20)
Preferred hydrophobic modified peptides Hydrophobic modified Peptide Coupled Agent Application stearoyl-[K(Primaquine)]3- Primaquine Treatment of Malaria Tertia NLSTSNPLGFFPDHQLDP myristoyl-[K(Doxocyclin)]3- Doxocyclin Treatment of MMP7 NLSTSNPLGFFPDHQLDP overexpressing neoplastic alterations in the liver myristoyl-[K(Penicillin)]3- Penicillin Treatment of bacterial NLSTSNPLGFFPDHQLDP infections in the liver stearoyl-[K(RPLALWRS- Velcade ™ Inhibition of neoangiogenesis Velcade ™]3- NLSTSNPLGFFPDHQLDP myristoyl- Rapamune ™ For the treatment of patients [K(Rapamune ™)]3- preceding and following liver NLSTSNPLGFFPDHQLDP transplantation myristoyl- Cyclosporine ™ For the treatment of patients [K(Cyclosporine)]3- preceding and following liver NLSTSNPLGFFPDHQLDP transplantation stearoyl- Thiazolidinedione Treatment of Diabetis [K(Thiazolidinedione)]3- (glitazones) Mellitus Type 2, Steatosis NLSTSNPLGFFPDHQLDP and neoangiogenesis in the liver stearoyl-[K(Nexavar ™)]3- Nexavar ™ Inhibition of neoangiogenesis NLSTSNPLGFFPDHQLDP in the liver Myristoyl-[K-Doxorubicin]- Doxorubicin First line drug for primary NLSTSNPLGFFPDHQLDP HCC; anti-malaria drug Myristoyl-[K-Levofloxacin]- Levofloxacin Treatment of Malaria Tertia NLSTSNPLGFFPDHQLDP by inhibition of the liver stage of malaria stearoyl-[K(Primaquine)]3- Primaquine Treatment of Malaria Tertia NLSTSNPLGFFPDHQLPD myristoyl-[K(Doxocyclin)]3- Doxocyclin Treatment of MMP7 NLSTSNPLGFFPDHQLPD overexpressing neoplastic alterations in the liver myristoyl-[K(Penicillin)]3- Penicillin Treatment of bacterial NLSTSNPLGFFPDHQLPD infections in the liver stearoyl-[K(RPLALWRS- Velcade ™ Inhibition of neo Velcade ™)]3- angiogenesis NLSTSNPLGFFPDHQLPD myristoyl- Rapamune ™ For the treatment of patients [K(Rapamune ™)]3- preceding and following liver NLSTSNPLGFFPDHQLPD transplantation myristoyl- Cyclosporine ™ For the treatment of patients [K(Cyclosporine)]3- preceding and following liver NLSTSNPLGFFPDHQLPD transplantation stearoyl- Thiazolidinedione Treatment of Di ab eti s [K(Thiazolidinedione)]3- (glitazones) Mellitus Type 2, Steatosis NLSTSNPLGFFPDHQLPD and neoangiogenesis in the liver stearoyl-[K(Nexavar ™)]3- Nexavar ™ Inhibition of neoangiogenesis NLSTSNPLGFFPDHQLPD in the liver myr refers to myristoylation of the N-terminus; palm refers to palmitoylation of the N-terminus; stearoyl refers to stearoylation of the N-terminus; BRIEF DESCRIPTION OF THE FIGURES
EXAMPLES
Example 1
Synthesis of the Hydrophobic Modified Peptide
Synthesis DOTA-DFP
Coupling to the Peptide
Complexing of Gd3+
Example 2
Imaging in PET
Example 3
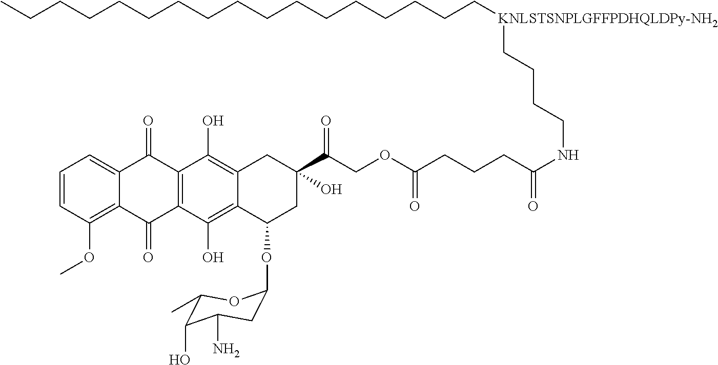
Test of Liver Specificity and Cytotoxicity of N-Terminally Modified preS Peptides Coupled with Doxorubicin
Myristoyl-[K-Doxorubicin]-NLSTSNPLGFFPDHQLDPy-amide (HBVpreS/myr-[K-Doxorubicin]3-20y)
Example 4
Liver Specificity of N-Terminally Modified HBVpreS Peptides Coupled to Levofloxacin for the Treatment of Liver Stage Malaria
Myristoyl-[K-Levofloxacin]-NLSTSNPLGFFPDHQLDPy-amide (HBVpreS/myr-[K-Levofloxacin]3-20y)
REFERENCES