Energy harvester. The harvester includes a radially extending beam having a proximal end mounted a selected distance from an axis of rotation of an object and includes a mass at its distal end. The mass, beam characteristics, and the selected distance are chosen so that the beam resonant frequency during rotation of the object substantially matches the driven rotational frequency of the object.
1. Energy harvester for extracting energy from rotational motion comprising:
a radially extending beam having a proximal end mounted a selected distance from an axis of rotation of an object and including a mass greater than or equal to zero at its distal end, wherein the mass, beam characteristics, and the selected distance are selected so that the beam resonant frequency during rotation of the object substantially matches the driven rotational frequency of the object. 2. The energy harvester of 3. The energy harvester of 4. Energy harvester for extracting energy from rotational motion comprising:
a radially extending flexible beam having a proximal end mounted a selected distance from an axis of rotation of an object and including a mass at its distal end; and a relatively rigid electrical energy generating beam mounted adjacent to the flexible beam for receiving an impact from the mass; wherein the mass and selected distance are chosen so that the natural frequency of the flexible beam/mass combination substantially matches the rotational frequency of the object. 5. The energy harvester of 6. The energy harvester of 7. Energy harvester for extracting energy from rotational motion comprising:
a self-tuning beam in which beam vibration is the power source for electrical energy harvesting.
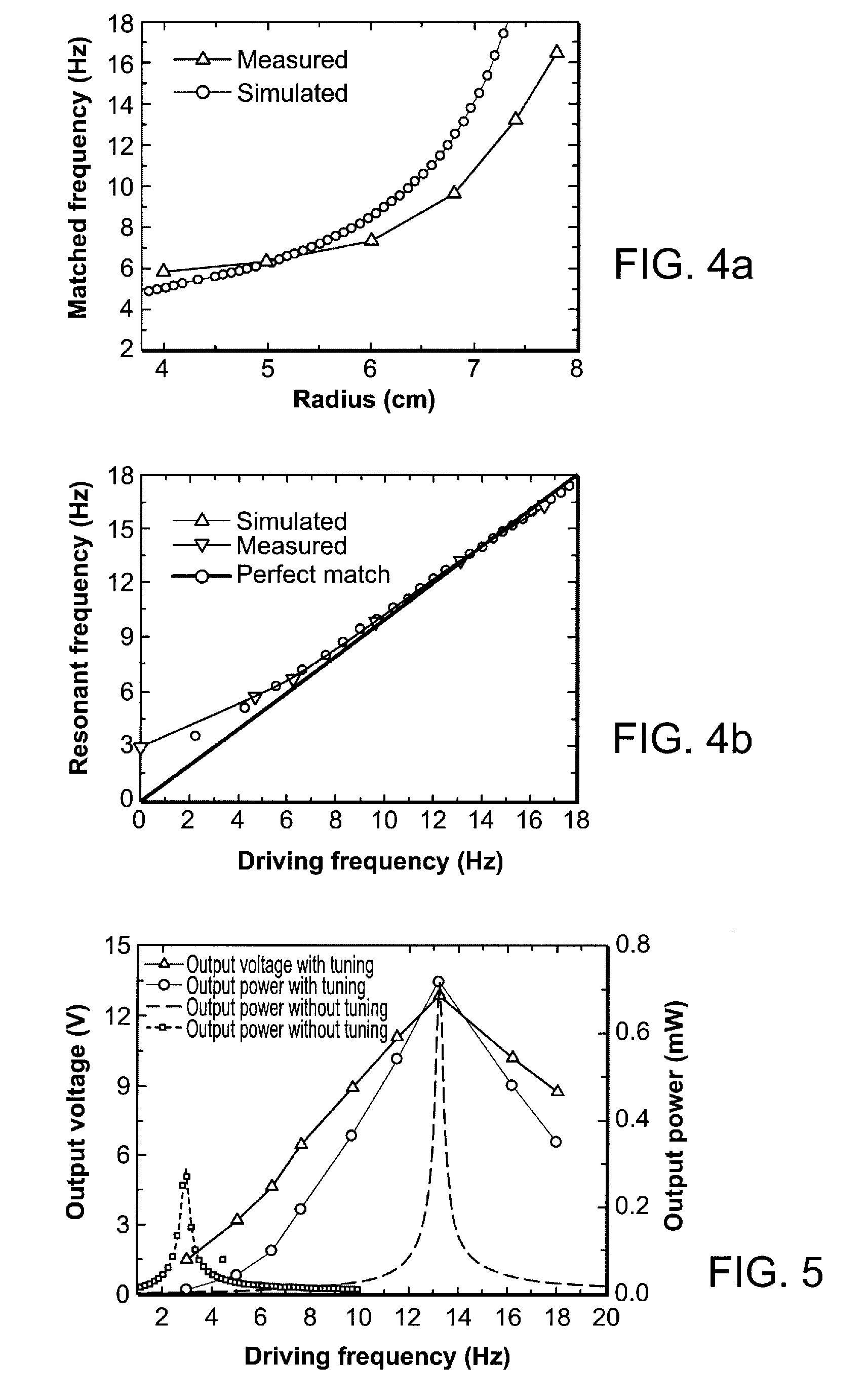
This application claims priority to U.S. Provisional Application Ser. No. 61/414,472, filed on Nov. 17, 2010. The application is incorporated herein by reference in its entirety. This invention relates to energy harvesters and more particularly to passive, self-tuning energy harvesters for rotating applications. Many vibrational energy harvesters use piezoelectric, electrostatic, or electromagnetic conversion techniques to convert vibration to electrical energy.1Superscript numbers refer to the references included herewith. The contents of all of these references are incorporated herein by reference. Independent of the conversion technique used, vibrational energy harvesters deliver maximum power when operating at resonance with environmental vibrations. Because the resonant frequencies of conventional vibrational energy harvesters are fixed during the design process, these harvesters are best suited for environments that consistently have large amounts of spectral content at their resonant frequencies. This constraint means that conventional energy harvesters have limited applicability to environments with a time-dependent vibrational frequency, such as automobile engines or wheels. Presently, energy harvesting from vehicle wheels uses non-resonant2or narrow bandwidth resonant3, 4approaches, which exhibit low efficiency power generation. One way to address this challenge is to use a broad-band energy harvester with multiple beams.5Although broad-band harvesters are efficient for vibrations containing multiple frequencies, they suffer from low efficiency when only one dominant frequency is present. For applications with a single, time-varying dominant frequency, more efficient harvesting can be obtained using a harvester with an adjustable resonance frequency. Both active and passive energy harvester tuning schemes have been proposed and demonstrated. Peters et al.6developed an active approach to vary the area moment of inertia by bending the beam with piezoelectric actuators. Wu et al.7manually tuned a cantilever's resonant frequency by moving its tip mass back and forth. Challa et al.8achieve d active frequency tuning by applying a magnetic force to a cantilever beam. Leland et al.9and Eichhorn et al.10manually tuned the resonance of piezoelectric beams by applying axial forces. The drawback of active tuning is that it requires an additional source of input power or force. Kozinsky11employed passive tuning by using string modes to vary the position of a free ball to change the resonance frequency. Although string mode passive tuning provides a promising theoretical prospect, experiments have not yet demonstrated improved energy harvester performance using this approach. This patent application, in one aspect, presents a passive self-tuning energy harvester for extracting energy from rotational motion. The harvester comprises a radially-oriented beam that is mounted at a selected distance from the axis of rotation; in the case demonstrated here, the harvesting beam is piezoelectric. Those of ordinary skill in the art will recognize that other energy harvesting methodologies may be used such as electrostatic or electromagnetic techniques to convert vibration to electrical energy. The rotating system is oriented parallel to the gravitational field (like a vehicle wheel), so that gravity drives the beam in one direction as it rises and in the opposite direction as it falls. The centrifugal force in the beam modifies the beam's stiffness and resonant frequency. In an optimized harvester, the tensile beam's resonant frequency tracks the frequency of the rotation over a range of rotational speeds. In this aspect, the energy harvester for extracting energy from rotational motion includes a radially extending beam having a proximal end mounted a selected distance from an axis of rotation of an object and includes a mass at its distal end. The mass, beam characteristics and the selected distance are selected so that the beam resonant frequency during rotation of the object substantially matches the driven rotational frequency of the object. In a preferred embodiment, the beam includes a piezoelectric portion that generates electricity upon vibration. In this embodiment, the piezoelectric portion is located near the proximal end of the beam. The mass at the beam tip may be greater than or equal to zero. In another aspect, the harvester comprises a relatively rigid energy generating beam that is driven by impact from a mass on a cable (which acts as a highly flexible beam) mounted adjacent to the generating beam on a vertically-oriented rotating platform such as a wheel. The generating beam may be made of a piezoelectric material. In this aspect, the energy harvester for extracting energy from rotational motion includes a radially extending flexible beam having a proximal end mounted a selected distance from an axis of rotation of an object and including a mass at its distal end. A relatively rigid piezoelectric (or other suitable material) beam is mounted adjacent to the flexible beam for receiving an impact from the mass. The mass and selected distance are chosen so that the natural frequency of the flexible beam/mass combination is related to the rotational frequency of the object. It is preferred that the flexible beam is a cable and the mass is a ball. The model is analyzed to determine the relationship between the drive frequency and the resonant frequency, based on three assumptions: 1) the beam 10 is homogeneous, 2) damping may be neglected, and 3) the magnitude of the displacement is small as compared to the distance between the center and mass 12. The root of the cantilever is offset from the axis of rotation, which changes one of the boundary conditions as compared with12, 13. For small deflections, the equation of motion for a beam with an applied centrifugal force fcis given as12, 13 where v(x) is the oscillation amplitude of the beam at position x, E is its Young's Modulus, I is the moment of inertia, ρ is the mass density of the beam, A is its cross sectional area, and ωris its resonant angular frequency. The solution to this differential equation is in which To solve for the four constants C1, C2, C3and C4in equation (2), four boundary conditions are required. Three of them are trivially given as v(0)=0, v′(0)=0, and v″(l)=0. The remaining boundary condition may be found from where Q(l) is a shear force at the location l along the beam. The relation between the resonant frequency ωrand the applied force (centrifugal force) fcis given as where k2is given as The centrifugal force is also related to the rotational speed or driving frequency ωdby thereby relating the driving frequency to the resonant frequency. The resulting relationship is advantageous for self-tuning rotational energy harvesters. The variation of centrifugal force with rotational speed ensures that the resonant frequency tracks the driving frequency over a broad frequency range, the center of which may be set by optimizing the beam dimensions and the radius at which it is mounted. A harvester was then designed for the specific case of rotating tires. For a tire with a 572 mm outer diameter, a speed range from 25 miles per hour (mph) to 65 mph corresponds to a rotational frequency range from 6.2 Hz to 16.2 Hz. For an optimized harvester using the design parameters shown in Table I, the predicted driving frequency ωdand the resonant frequency ωrof the beam are plotted versus centrifugal force in Once the harvester is built, the only parameter that can be changed is the radius r at which it is mounted on the wheel. By changing r, the matched frequency can be tuned. This allows for some compensation of manufacturing errors. For example, a 10% error in the beam's thickness results in a matched frequency that differs by 9% from the nominal matched frequency and a maximum mismatch frequency (without adjusting r) of 0.8 Hz. After r is adjusted for the as fabricated geometry, the matched frequency returns to its design value and the largest frequency mismatch is about 0.5 Hz. The self-tuning energy harvester concept was demonstrated using an ABS (Acrylonitrile butadiene styrene) plastic beam (80 mm by 5 mm by 0.45 mm) with a 2.2 g proof mass and a PZT beam (T220-A4-203X from Piezo Systems, Inc., Cambridge, Mass.) mounted close to the root of the ABS beam, as shown in First, the relation between the matched frequency and the radius at which the harvester is mounted were measured. Since the stiffness of the beam varies with changes in its axial force and hence with its rotational speed, the resonant frequency of the harvester could not be determined by sweeping the driving frequency as in the conventional measurement. Instead, an impact force was applied to the rotating fan 14, and the resulting exponentially decaying signal was measured. To cancel out the influence of gravity, the rotating fan was oriented horizontally during the impact. The resonant frequency was then determined from the resulting signal. This experiment was repeated for a range of values of ωdand r. Another embodiment of the invention uses a ball tethered by a flexible cable. The ball impacts an adjacent piezoelectric beam to harvest vibrational energy. With reference to For the impact vibration harvester in which the driving beam 22 and generating beam 20 are separate, the resonant frequency of the impact harvester can be estimated as in14(as long as the stiffness of the cable is much less than that of the piezoelectric beam), where ωris the resonant frequency of the single cable-ball vibration. Together, these equations yield a relationship between the resonant frequency of the harvester and the rotational speed. The resulting relationship can be used to design self-tuning rotational energy harvesters. Once the harvester is built, the only parameter that can be changed is the radius at which it is mounted. By varying the radial distance from the root of the harvester to the center of a rotating plate, the radius at which the resonant frequency and the driving frequency are optimally matched can be obtained. For an impact harvester using the design parameters shown in Table 2, the predicted driving frequency ωdand the resonant frequency ωim, of the harvester are plotted versus centrifugal force in In addition to self-tuning, the vibration of the piezoelectric generating beam 20 upon impact up-converts low ambient frequencies (1-20 Hz) to high generating frequencies (more than 100 Hz). An analysis of impact vibration can be found in14,15. The impact vibration process can be divided into two stages. The first stage begins when the driven ball impacts the generating beam 20 and continues while they vibrate together. If the mass of the generating beam is negligible compared with the mass of the ball, this stage can be approximately considered as an inelastic impact15. The second stage begins when the ball and the generating beam separate. During this stage, the generating beam vibrates alone with exponentially-decayed amplitude at its self-resonant frequency, while the ball on the cable is driven and vibrates at the ambient low frequency. The stages repeat under a periodic driving vibration. The impact-driven self-tuning energy harvester concept was demonstrated with a 0.4 g steel ball on a 2 cm long, 75 μm-diameter nylon cable epoxied to a frame that also held a separate PZT generating beam as shown in The optimal load resistance RLwas simply chosen to match the source resistance RS, which is given as where ωgand Cgare the self-resonant frequency and the capacitance of the generating piezoelectric beam 20, respectively. Although the piezoelectric beam 20 is also tensioned, its bending stiffness is high enough to dominate over the tensioning effects. The vibrational frequency of the generating beam therefore remains essentially constant, ensuring that the matched load resistance of 220 kΩ remains constant as well. Before measuring the performance of the harvester with self-tuning, the harvester's optimal mounting radius r was experimentally confirmed and fine-tuned. Since the stiffness of the cable changes synchronously with rotational speed, the resonant frequency of the harvester could not be measured by sweeping the driving frequency as in a conventional measurement. Instead, an impulse force (acceleration) was applied to the rotating fan, and the exponential decay signal was measured. To cancel the influence of gravity, the rotating fan was placed horizontally, and an impulse of acceleration was applied by shaking the rotating fan. The resonant frequency at that fan speed was measured from the decaying output waveform, and the measurement was repeated for a range of fan speeds. The optimal radius r is measured to be 7.5 mm, which is slightly larger than the predicted optimal radius due to the effects of damping in the real test. The output power and voltage of the impact-driven harvester were measured and compared with semi-empirical values for an untuned version ( where p1and p2are consecutive peak amplitudes. The peak output power of the frequency-matched but untuned harvester can be considered to be the same as that of the tuned harvester at the resonant frequency. A passively self-tuned energy harvester for rotational vibration applications has been disclosed herein. As the rotational speed varies, the corresponding tension due to centrifugal force on the beam adjusts the beam's resonant frequency so that the harvester always works at or near its resonant frequency. Both experiments and theory were presented, and the experimental results were well-matched to the analytical model. This self-tuning approach significantly increases the bandwidth of harvesters for rotating systems and is especially well suited for variable speed systems, such as tire pressure monitoring systems. Although passive self-tuning is demonstrated here for piezoelectric energy harvesters, the self-tuning approach relies only on the beam's mechanical behavior and can potentially be used to self-tune other types of energy harvesters.PRIORITY INFORMATION
BACKGROUND OF THE INVENTION
SUMMARY OF THE INVENTION
BRIEF DESCRIPTION OF THE DRAWINGS
DESCRIPTION OF THE PREFERRED EMBODIMENT
2β6ρ Density of the beam 1048 kg/m3 E Young's modulus 2.3 GPa l Length of the beam 80 mm b Width of the beam 5 mm h Thickness of the beam 0.45 mm m Tip mass 2.2 g r Distance from the root to the center 69 mm
ωim=2ωr, (8)ρ Density of the cable 1150 kg/m3 E Young's modulus of the cable 3 × 109 Pa l Length of the cable 20 mm R Diameter of the cable 75 μm m Tip mass 0.4 g r distance from the root to the center 5 mm REFERENCES