заявка
№ US 20140026293
МПК A41D1/06

Functional Wear

Авторы:
Antonio Quistian, JR.
Номер заявки
13888359
Дата подачи заявки
06.05.2013
Опубликовано
30.01.2014
Страна
US
Дата приоритета
14.12.2025
Номер приоритета
Страна приоритета
Как управлять
интеллектуальной собственностью
Чертежи 
5
Реферат

Improved pants include front and rear panels configured and dimensioned to provide a high rear waist and lower front waist to optimize fit by a wearer in a wheelchair. Front pockets are substantially lower than the waistline and rear or inseam pockets are disposed at the inseam behind the calf on the jeans below the knee, e.g., positioned on the inner calf on the leg of the pants. An inseam zipper preferably extends from the crotch down one or both legs for easy access to a catheter, and other features are employed for optimal fit and utility.

Формула изобретения

1. Pants for use by a wheelchair user, comprising:

a waist having a rear portion and a front portion, wherein the rear portion has a vertical dimension that is substantially higher than a vertical dimension of the front portion;

a crotch area below the waist positioned on a front side and a seat area below the waist on a back side opposite the front side; and

two legs extending from the crotch area and the seat area away from the waist, at least one of said legs having:

an access extending from the crotch area to at least a knee area of at least one leg,

an upper pocket positioned upper portion of the leg on the front side, said upper pocket separated from the waistline by at least three inches, and

a lower leg pocket positioned on an inseam or rear portion of the leg below the knee area.

2. The pants of claim 1, wherein the access comprises a zipper along an inseam from the crotch to an end of the leg, said zipper configured to adjustably open and close the inseam of the leg.

3. The pants of claim 1, wherein the seat does not include any pockets.

4. The pants of claim 1, comprising a lower leg pocket on each leg, wherein an opening of each pocket is configured and dimensioned as a slit in the rear portion of the lower leg.

5. The pants of claim 1, wherein the waist comprises at least one elastic member connecting the front portion of the waist to the rear portion, said elastic member including a draw string for adjusting elasticity of the elastic member.

6. The pants of claim 1, further comprising a front panel disposed between the front portion of the waist and the crotch area and a rear panel disposed between the rear portion of the waist and the seat area, wherein a vertical dimension of the rear panel is at least twice as long as a corresponding vertical dimension of the front panel.

Описание

CROSS REFERENCE TO RELATED APPLICATIONS

[0001]

This application claims benefit of priority to U.S. provisional application Ser. No. 61/642,996 titled “Functional Wear” filed on May 4, 2012 by inventor Antonio Quistian, Jr., which application is hereby incorporated by reference as though fully and completely set forth herein.

FIELD OF THE INVENTION

[0002]

The present invention relates to functional clothing, and more particularly to pants for use by wheelchair users.

BACKGROUND

[0003]

For a person in a wheelchair, designer jeans or other pants are impractical to wear because they are designed and constructed for able-bodied individuals and do not meet the particular needs of a person confined to the sitting position. The position of pockets, including rear pockets with graphics and designs and front pockets positioned at or just below the waistline, are difficult to access and essentially useless for most wheelchair users. The different styles and cuts of jeans available today do not address the unique position, abilities and needs of wheelchair users. Thus, there remains a need for improved functional jeans or other pants having features optimized for wear and use by a wheelchair user.

SUMMARY

[0004]

In one embodiment, exemplary jeans (also referred to herein as “Ability Jeans”) include a number of features to make them convenient, functional and comfortable to wear by a person in the sitting position, e.g., a wheel chair user. For example, inseam pockets are disposed at the inseam behind the calf on the jeans, e.g., just below the knee. The pocket may be positioned on the inner calf on the leg of the pants. Depending on the jean style the one or more calf pockets may be zipper pockets, button pockets, Velcro-closure pockets, drop-in slits, or other configurations. These pockets are preferably positioned and dimensioned to be accessible and convenient for a cell phone or a wallet. They are located in a spot that can be easily reached and that are not extremely noticeable as in cargo pants.

[0005]

In some embodiments, jeans according to the present invention have no back pockets on the seat of the user. Rather, lower leg, calf and/or inseam pockets are used. In some embodiments, front pockets are located below the waistline, e.g., such that they are positioned on a user's upper thigh. In preferred embodiments, such pockets are between 3 to 7 inches lower than waist level on the front of the pants to facilitate getting items in and out of the pockets while in a sitting position. In some embodiments, the inside of these pockets have an outward angle so items stored inside of them sit conveniently on the outside of the users thigh instead of on top of one's lap.

[0006]

In some embodiments, a rear portion of the waist is configured to be substantially higher than in standard pants or jeans and substantially higher the front of the waist of the pants. For example, the rear portion of the waist band of the pants may be 3 to 8 inches higher, or more, than the front of the waist band. Preferably, the design allows for complete coverage of the user's buttocks while sitting in a chair. This configuration allows the jeans to remain in the proper position while the user makes a transfer from one seat to another (e.g., from a wheelchair to a stationary chair), or while shifting positions.

[0007]

In some embodiments, Ability Jeans are equipped with a crotch zipper that extends down the inseam to at least the knee level. In some embodiments, the zipper extends past the knee to the heel of the pant. This allows the leg to be opened completely so the user can tend to his/her catheter easily without having to remove the pants. In some embodiments, a plurality of zippers, snaps, hook-and-loop closures, or other access points and closure means may be disposed along the leg, e.g., to facilitate access to a catheter, to use a toilet or to otherwise access a user's legs or undergarments without completely separating the inseam when unzipped or otherwise unfastened.

[0008]

In some embodiments, the waist band and/or a portion thereof includes stretch material. In some embodiments, a draw sting or other means for tightening the stretch material may be disposed on the sides of the jean, e.g., located on the inner waist band, such that the draw string can be pulled to tighten the stretch material. This allows the user to tighten the jeans without the use of a belt. The user can control how tight they wish to make each side of the jeans suitable to the users comfort. Other means of fastening, tightening and/or adjusting the elasticity of the waistline may be employed.

BRIEF DESCRIPTION OF THE DRAWINGS

[0009]

For a better understanding of the nature and objects of the invention, reference should be made to the following detailed description taken in conjunction with the accompanying drawings, in which:

[0010]

FIG. 1 is a front view schematic illustration of exemplary jeans having features and characteristics for wheelchair users, according to the present invention.

[0011]

FIG. 2 is a rear view illustration of the jeans of FIG. 1.

[0012]

FIG. 3 is a side view illustration of jeans according to an embodiment of the present invention.

[0013]

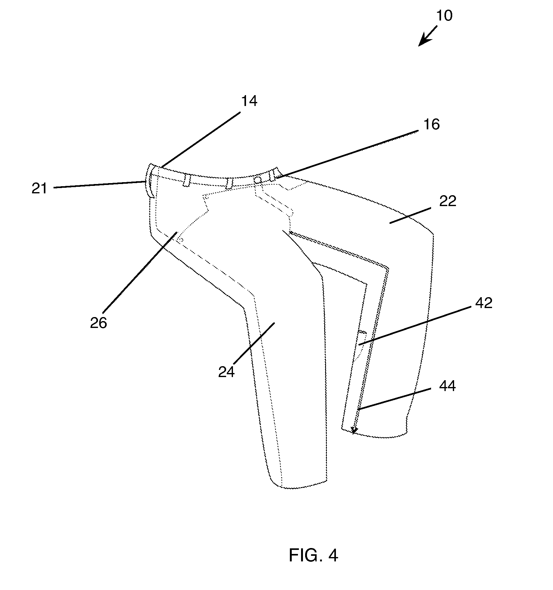
FIG. 4 is a perspective view illustration of jeans according to an embodiment of the present invention, in use in the sitting position

[0014]

FIG. 5 is a schematic illustration of a pattern for jeans having features according to the present invention.

DETAILED DESCRIPTION OF EMBODIMENTS

[0015]

Described herein are exemplary jeans and corresponding features configured and dimensioned for use by wheelchair users or other individuals who spend a significant amount of time or are otherwise confined to a sitting position. In the following description, for purposes of explanation, numerous examples and specific details are set forth in order to provide a thorough understanding of the present invention. It will be evident, however, to one skilled in the art that the present invention as defined by the claims may include some or all of the features in these examples alone or in combination with other features described below, and may further include modifications and equivalents of the features and concepts described herein.

[0016]

Referring to FIG. 1, specially designed jeans 10 configured and dimensioned for a wheelchair user include a waist 12, a seat 40 (see FIG. 2), a front or crotch area 34 and legs 22, 24. Waist 12 preferably includes a back waistline 14 that is substantially higher than a front waistline 16. Elastic or other stretchable material or features 18 are preferably incorporated into waist 12 to facilitate comfort and fit. Straps 20 may be disposed on each side of the pants 10 near waist 12, e.g., to tighten the elastic material 18 and/or to facilitate adjusting or donning of the garment. Snap features 30 and/or a zipper or other features are preferably positioned on one or both legs, e.g. at an inseam as shown in FIG. 1, to facilitate access to the wearer's catheter or to otherwise facilitate changing or access to the wearer's lower body or undergarments.

[0017]

Front pockets 26, 28 are preferably positioned on each leg 22, 24 substantially below front waistline 16. Preferably, these pockets are positioned between 3 to 4 inches or more lower than for traditional pants, on the front of the jeans 10. This positioning of pockets 26, 28 makes getting items in and out of the pockets easier while in a sitting position. The inside of these pockets have an outward angle so items stored inside of them sit conveniently on the outside of the users thigh instead of on top of one's lap.

[0018]

Straps 20, may be a drawstring or similar feature attached to or integral with elastic material 18 on the waistband 12 of the jeans. As a drawstring, straps 20 may tighten the elastic to optimize fit and elasticity of the jeans about the user's waist. This allows the user to tighten the jeans without the use of a belt. The wearer can control how tight they wish to make each side of the jeans suitable to the wearer's comfort.

[0019]

As shown in FIG. 2, the seat 40 of pants 10 preferably does not include pockets. Back pockets are useless to those who are in wheelchairs. One or both legs preferably includes an inseam pocket 42, e.g., positioned behind the calf on the jeans just below the knee. In preferred embodiments, this pocket is on the inner calf on the leg of the pants as shown in FIG. 2. In other embodiments, one or more pockets may be positioned on an outer portion of the thigh or lower leg. Depending on the jean style and desires of the wearer, pockets 42 may be zipper pockets, button pockets, drop -in slits, or other desired pocket configurations. As shown in FIGS. 2 and 4, pockets 42 are located for easy reach and access, e.g., for items such as a cell phone or wallet, and are not as noticeable or bulky as pockets on typical cargo pants.

[0020]

In some embodiments, as shown in FIGS. 2 and 4, jeans 10 may include an inseam or crotch zipper 44 that extends down the inseam, e.g., to at least the knee level. In some embodiments, the zipper extends past the knee to the heel of the pant. Such a configuration may allow one or both legs 22, 24 to be opened completely so the user can tend to his/her catheter easily without having to remove the pants. In some embodiments, a plurality of zippers, snaps, hook-and-loop closures, or other access points and/or closure means may be disposed along the leg, e.g., to facilitate access to a catheter, to use a toilet or to otherwise access a user's legs or undergarments without completely separating the inseam when unzipped or otherwise unfastened.

[0021]

FIG. 3 is a left side close-up view of jeans 10 according to a preferred embodiment of the invention. Rear portion 14 of waist is shown as substantially higher than front portion 16 as described above, e.g., by an extended panel 41 in the seat area 40 of the pants. An elastic or adjustable portion 18 is shown disposed on the side of the waistband. A strap 21 may be part of drawstring 20 as described above, or may be a separate strap as shown in FIG. 3, for facilitating dressing and adjustment of the pants by the wearer. Similarly, a front panel 43 separates front pockets 28 from the front waist band 16, and is configured and dimensioned such that pockets 28 are positioned substantially below the waistline for easy access by the wearer. Preferably, front panel 43 is substantially, e.g., 3 or more inches, shorter in it vertical dimension than rear panel 41, such that rear portion of waist 14 is substantially higher than front portion 16.

[0022]

Referring to FIG. 4, exemplary Ability Jeans are illustrated in the sitting position. The high rear waist 14 of the jean and lower front 16 allows for complete coverage and comfort while sitting in a chair. This allows the jeans to remain in the proper position while the user makes a transfer from one seat to another (e.g., from a wheelchair to a stationary chair), or while shifting positions. Straps 21 may be used for adjusting the jeans and/or may be integrated with a drawstring (not shown) to adjust tightness or elasticity of the waist. Zipper 44 or other access feature on one or both legs 22, 24 allow for access to a catheter or for facilitating dressing as discussed above. Front pockets 26 are positioned substantially below the waistline for easy access, and inseam or rear leg pockets 42 positioned on the lower leg as described above.

[0023]

Turning now to FIG. 5, a sample right side pattern 50 is shown. Pattern 50 includes a rear leg right side 54 and a front leg right side 52. Above and attached to rear leg right side is an extended panel 56 for rear coverage, and above front leg right side is a shorter front yoke 58. Front pocket cut areas 60 are positioned on the front leg 52. The crotch lines 62 and 68 are shown, as are knee lines 64 and 66.

[0024]

Ability Jeans may be constructed in various styles and cuts without departing from the scope of the invention. In preferred embodiments, the jeans are designed those who are in a wheelchair to include functional and practical features as described herein, yet who desire to keep up with current styles and trends. The jeans may include stylized elements such as stone and/or acid washed look, plus rips, folds, shreds, and/or embroidering and patch work.

[0025]

The foregoing description, for purpose of explanation, has been shown and described with reference to specific embodiments. However, the figures and illustrative discussions herein are not intended to be exhaustive or to limit the invention to the precise forms disclosed. Many modifications and variations are possible in view of the above teachings. The embodiments were chosen and described in order to best explain the principles of the invention and its practical applications, to thereby enable others skilled in the art to best utilize the invention and various embodiments with various modifications as are suited to the particular use contemplated.

Как компенсировать расходы
на инновационную разработку
Похожие патенты