Data is often populated into Configuration Management Databases (CMDBs) from different sources. Because the data can come from a variety of sources, it may have inconsistencies-and may even be incomplete. A Normalization Engine (NE) may be able to automatically clean up the incoming data based on certain rules and knowledge. In one embodiment, the NE takes each Configuration Item (CI) or group of CIs that are to be normalized and applies a rule or a set of rules to see if the data may be cleaned up, and, if so, updates the CI or group of CIs accordingly. In particular, one embodiment may allow for the CI's data to be normalized by doing a look up against a Product Catalog and/or an Alias Catalog. In another embodiment, the NE architecture could be fully extensible, allowing for the creation of custom, rules-based plug-ins by users and/or third parties.
1. A computer program product, the computer program product being tangibly embodied on a non-transitory computer-readable storage medium and comprising instructions that, when executed by at least one processor, are configured to:
communicate with one or more resources via a network; identify at least one inconsistency with incoming data received from the one or more resources; and normalize the incoming data received from the one or more resources by cleaning the incoming data to reconcile the at least one inconsistency. 2. The computer program product of 3. The computer program product of apply one or more rules stored in a repository to the incoming data received from the one or more resources. 4. The computer program product of 5. The computer program product of select one or more Configuration Items (CIs) from the one or more resources for normalizing through a discovery process, select one or more normalization rules from one or more knowledge bases, and apply the one or more selected normalization rules to the one or more selected CIs to determine if there are any inconsistencies between the one or more selected CIs and the one or more selected normalization rules. 6. The computer program product of normalize the incoming data related to the one or more selected CIs from the one or more resources by cleaning the incoming data related to the one or more selected CIs to reconcile the at least one inconsistency. 7. The computer program product of for at least one of the one or more selected CIs, when the at least one inconsistency is determined between the one or more selected CIs and the one or more selected normalization rules, normalize the incoming data related to the one or more selected CIs from the one or more resources by cleaning the incoming data related to the one or more selected CIs to reconcile the at least one inconsistency before storing the at least one of the one or more selected CIs in a repository. 8. The computer program product of identify one or more duplicate Configuration Items (CIs) from the one or more resources through a discovery process. 9. The computer program product of define the incoming data to normalize, the incoming data including one or more of classes, attributes, entities, and collections of entities to normalize. 10. The computer program product of store the incoming data in a repository, and clean the incoming data to reconcile the at least one inconsistency occurs before storing the incoming data in the repository. 11. The computer program product of 12. A computer system including instructions stored on a non-transitory computer-readable medium and executable by at least one processor, the system comprising:
one or more resources configured to store data; and a normalization engine configured to cause the at least one processor to:
communicate with the one or more resources via a network; identify at least one inconsistency with incoming data received from the one or more resources; and normalize the incoming data received from the one or more resources by cleaning the incoming data to reconcile the at least one inconsistency. 13. The system of 14. The system of 15. The system of selecting one or more Configuration Items (CIs) from the one or more resources for normalizing through a discovery process, selecting one or more normalization rules from one or more knowledge bases, and applying the one or more selected normalization rules to the one or more selected CIs to determine if there are any inconsistencies between the one or more selected CIs and the one or more selected normalization rules. 16. The system of normalizing the incoming data related to the one or more selected CIs from the one or more resources by cleaning the incoming data related to the one or more selected CIs to reconcile the at least one inconsistency. 17. The system of for at least one of the one or more selected CIs, when the at least one inconsistency is determined between the one or more selected CIs and the one or more selected normalization rules, normalizing the incoming data related to the one or more selected CIs from the one or more resources by cleaning the incoming data related to the one or more selected CIs to reconcile the at least one inconsistency before storing the at least one of the one or more selected CIs in a repository. 18. The system of define the incoming data to normalize, the incoming data including one or more of classes, attributes, entities, and collections of entities to normalize. 19. The system of store the incoming data in a repository, and clean the incoming data to reconcile the at least one inconsistency occurs before storing the incoming data in the repository. 20. A computer-implemented method, comprising:
communicating with one or more resources via a network; identifying at least one inconsistency with incoming data received from the one or more resources; and normalizing the incoming data received from the one or more resources by cleaning the incoming data to reconcile the at least one inconsistency. 21. The method of selecting one or more Configuration Items (CIs) from the one or more resources for normalizing through a discovery process, selecting one or more normalization rules from one or more knowledge bases, and applying the one or more selected normalization rules to the one or more selected CIs to determine if there are any inconsistencies between the one or more selected CIs and the one or more selected normalization rules. 22. The method of normalizing the incoming data related to the one or more selected CIs from the one or more resources by cleaning the incoming data related to the one or more selected CIs to reconcile the at least one inconsistency. 23. The method of for at least one of the one or more selected CIs, when the at least one inconsistency is determined between the one or more selected CIs and the one or more selected normalization rules, normalizing the incoming data related to the one or more selected CIs from the one or more resources by cleaning the incoming data related to the one or more selected CIs to reconcile the at least one inconsistency before storing the at least one of the one or more selected CIs in a repository. 24. The method of storing the incoming data in a repository, and cleaning the incoming data to reconcile the at least one inconsistency occurs before storing the incoming data in the repository.
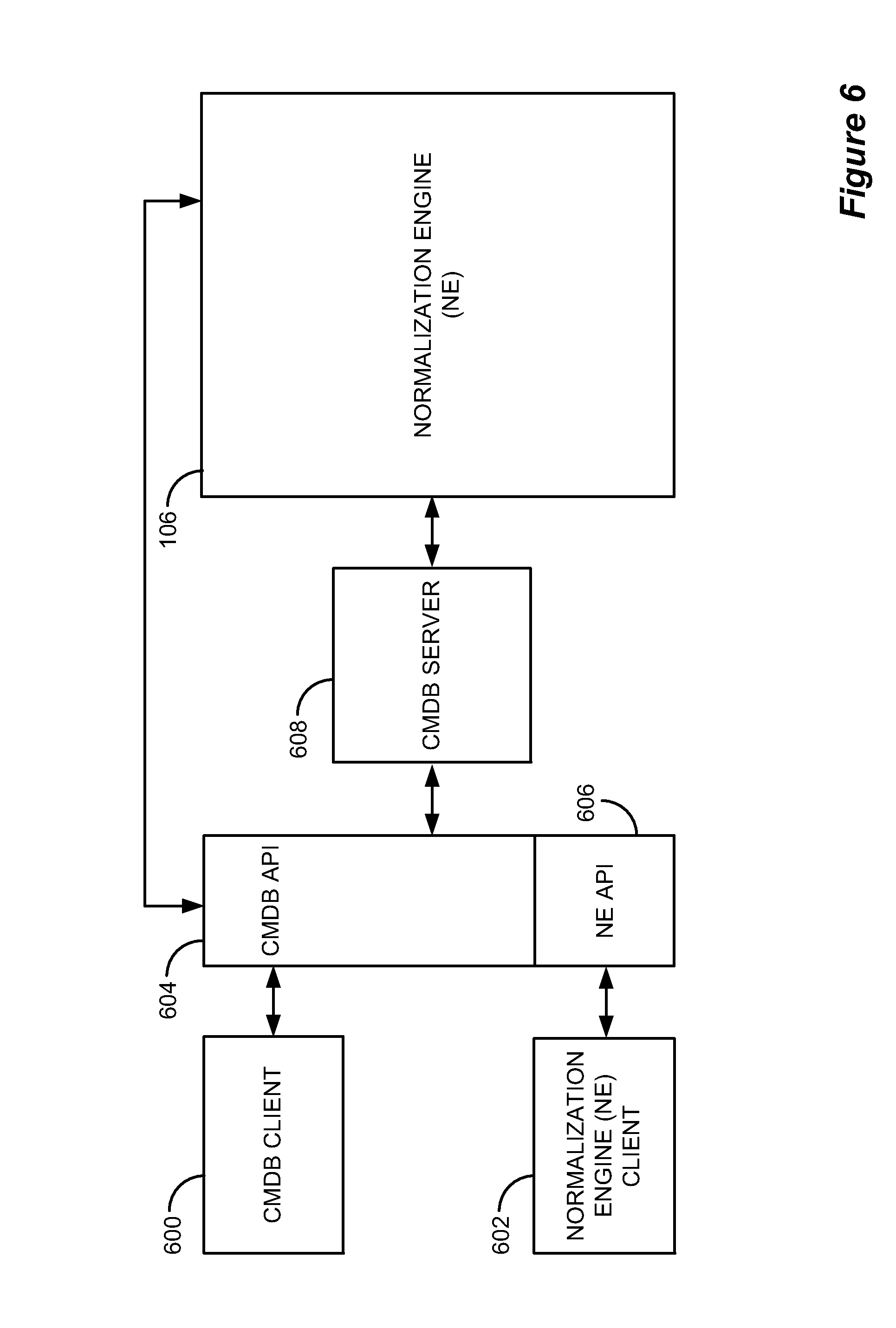
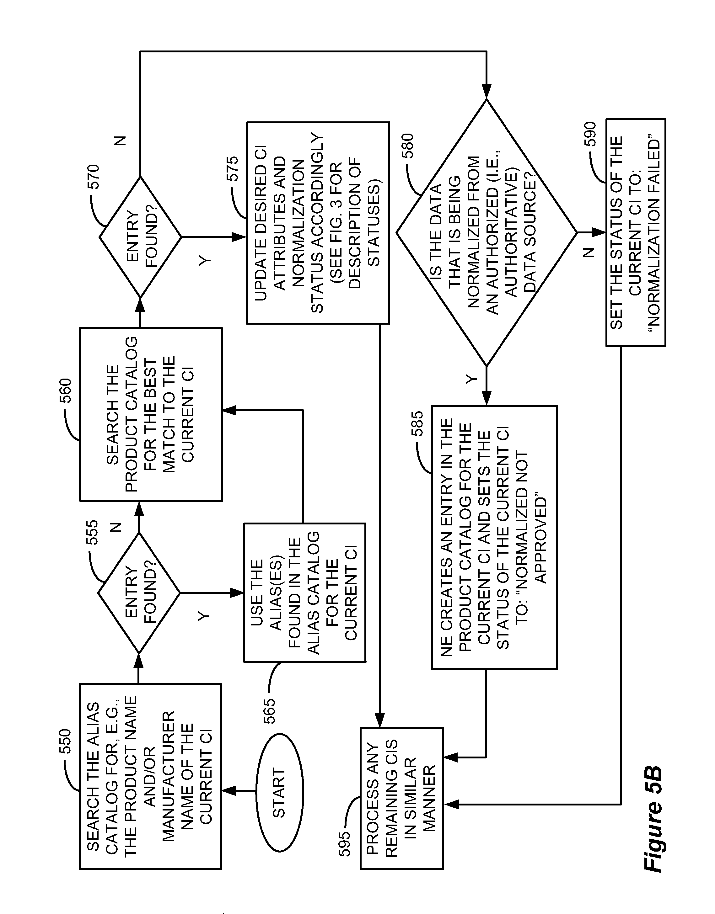
This application is a continuation application of U.S. application Ser. No. 12/685,096, filed Jan. 11, 2010, which claims priority to the U.S. Provisional Patent Application Ser. No. 61/145,070, entitled “A Normalization Engine to Manage Configuration Management Database (CMDB) Integrity,” filed on Jan. 15, 2009, which are hereby incorporated by reference in their entirety. This disclosure relates generally to the field of ITIL®-based (Information Technology Infrastructure Library) Configuration Management Databases (CMDBs). (ITIL is a registered trademark of The Lords Commissioners of Her Majesty's Treasury acting through The Office of Government Commerce and Central Computer and Telecommunications Agency, United Kingdom.) ITIL-based CMDBs are emerging as a prominent technology for Enterprise Management Software. The usefulness of these CMDBs is dependent on the quality, reliability, and security of the data stored in them. A CMDB often contains data about managed resources known as Configuration Items (CIs) or configuration objects. In general, CIs correspond to real-world elements, components, or objects. ITIL version 3 defines a CI as: “Any Component that needs to be managed in order to deliver an IT Service. Information about each CI is recorded in a Configuration Record within the Configuration Management System and is maintained throughout its Lifecycle by Configuration Management. CIs are under the control of Change Management [systems]. CIs typically include IT Services, hardware, software, buildings, people, and formal documentation such as Process documentation and [Service Level Agreements].” The CMDB serves as a point of integration between various IT management processes. Today, data is populated into the CMDB from different sources, such as spreadsheets, management tools, databases—and even manually. Such data, as it may come from a variety of sources, may have inconsistencies, and, in fact, could even be incomplete. These inconsistencies may result in at least the following problems in the CMDB: 1.) poor data quality; 2.) poor data manageability; 3.) poor data consistency; and 4.) the inability to “reconcile” CI's properly, resulting in duplicate CIs being stored in the CMDB. The process of “reconciliation” is described more fully in the document entitled, “BMC Atrium CMDB 7.5.00 Patch 001: Normalization and Reconciliation Guide,” which is hereby incorporated by reference in its entirety, as well as U.S. patent application Ser. No. 11/204,189, entitled, “Resource Reconciliation,” filed on Aug. 15, 2005 and U.S. patent application Ser. No. 11/669,005, entitled, “Configuration Management Database Reference Instance,” filed on Jan. 30, 2007, which applications are also hereby incorporated by reference in their entireties. What is needed to solve the aforementioned problems is a process for ensuring that the representation of entities, e.g., CIs, is consistent across the enterprise environment, regardless of the CI's data provider. This process is referred to herein as “normalization.” A Normalization Engine (NE) may be able to “normalize” data based on certain rules and knowledge in any of the following ways: “cleaning up” the attribute values of an incoming CI based on preferred values or rule(s); cleaning up an entire collection of CIs at one time based on a preferred configuration or rule(s); or cleaning up one or more relationship CIs based on a preferred configuration or rule(s). Essentially, any attribute or characteristic relating to an entity or collection of entities may be compared to corresponding preferred value(s), configuration(s), or rule(s), and the appropriate remedial action taken, e.g., any inconsistencies found may either be logged in a report, output in the form of a warning, or the CI(s) may be updated accordingly to remove the inconsistencies. This will result in data that is more manageable, more consistent, of a higher quality, and that is able to be reconciled more effectively, along with other benefits that will become clear in light of the teachings of this disclosure. This disclosure relates to a field of CMDB data management referred to herein as “normalization.” As mentioned above, when multiple sources provide data to a CMDB, data consistency problems such as the following can occur: 1.) poor quality data, e.g., inconsistent representations of CIs or collections of CIs; and 2.) the creation of duplicate CIs after an attempted reconciliation process. As part of an improved CMDB, and according to one aspect of the present invention, a Normalization Engine provides a centralized, customizable, and uniform way to overcome data quality and consistency problems. In one embodiment, the NE may normalize, for example, the following attributes for hardware and software products: name; product categorization attributes, e.g., category, type, and item (CTI); manufacturer name; model; version number; patch; access control information, or other attributes, as may be defined for each class of CI. For example, one data provider may discover a copy of MICROSOFT® WINDOWS® Word software with a “Name” attribute of “MICROSOFT® Word 97,” whereas another provider may find the same software with a “Name” attribute of “MICROSOFT® WINDOWS® Word.” (MICROSOFT and WINDOWS are registered trademarks of the Microsoft group of companies.) An effective normalization of the “Name” attribute may be to change the “Name” attribute to “MICROSOFT Word” for each discovered copy of the software, resulting in no data inconsistencies or unwanted duplication after an attempted reconciliation process. In another embodiment, the NE may normalize an entire collection of CIs at one time based on a preferred configuration or rule(s). For example, a single server may be represented by a collection of several CIs (e.g., hardware CIs, software CIs, operating system CIs, central processing unit CIs, etc.), and the NE may want to ensure that each time such a server configuration is encountered, each of the related CIs are modeled and represented in a consistent and/or preferred fashion. In yet another embodiment, the NE may normalize one or more relationship CIs based on a preferred configuration or rule(s). For instance, in the multi-CI server example discussed above, the NE may normalize each of the relationships relating the multiple CIs that make up the server to ensure that they match a predetermined and/or preferred configuration for that particular type of server, thus ensuring the related CIs are connected in the same way for each instance of the server stored in the CMDB. With a Normalization Engine according to one aspect, a user can specify precisely what data is to be normalized, for example: a specific subset of the overall data; specific collections of related CIs and their attendant relationships; a specific class of CI; or the particular attributes for a specific class of CI. Additionally, data may be normalized either before or after it is written to a data repository in the CMDB. In particular, one embodiment may allow for the CI's data to be normalized by doing a lookup against two or more data stores, e.g., a first data store that has information about various hardware and software products in a customer environment (e.g., product name, manufacturer name, version number, patch number, type, or item) and a second data store that has information about aliases for product names and manufacturer names. The “data store” may comprise storage of any format such as, for example, a database, a flat file, a hierarchically organized file (e.g., an XML file), and the like. In another embodiment, the NE could allow for rules-based plug-ins, thus making the architecture of the NE extensible. For example, certain plug-ins could allow for the creation of new rules to: clean up other attributes in a CI (e.g., changing hostname or domain name attributes from lower to upper case); clean up collections of CIs in a particular manner; or clean up relationship instances that describe how to associate CIs of certain classes with each other. The extensibility could be offered through the provision of a Software Development Kit (SDK) or a suitable user interface (UI) that could allow users to specify and implement a virtually limitless set of new rules to normalize data in their enterprise environment as desired. Normalizing data may allow different providers with various maturity levels to populate CIs with different information in their own provider data repositories—but still allow the CMDB to have the ability to clean up the CI instances from across the various data repositories into a single, unified resource data repository. This approach aims to ensure data integrity and compatibility with existing and future data providers and consumers by providing the ability to normalize data before, during, or after it is entered into the CMDB. In one embodiment, a computer system comprising a programmable control device can be programmed to perform a data normalization method, the method comprising: selecting one or more CIs to be normalized; selecting one or more normalization rules from one or more knowledge bases; applying the one or more selected normalization rules to determine if there are any inconsistencies between the one or more selected CIs and the one or more selected normalization rules; and, for at least one of the one or more selected CIs wherein there is an inconsistency between the one or more selected CIs and the one or more selected normalization rules, taking an appropriate remedial action. In another embodiment, the instructions for carrying out the above described method are tangibly embodied on a computer useable memory medium. In still another embodiment, a computer network is utilized to carry out the above described method. In yet another embodiment, a computer system comprising a programmable control device can be programmed to perform a data normalization method, the method comprising: defining selection criteria for the data normalization method, wherein the defined selection criteria comprises: the selection of one or more classes of Configuration Item (CI); and the selection of one or more attributes from each of the one or more selected classes of CI; selecting one or more CIs that meet the defined selection criteria; and, for at least one of the one or more selected CIs that meet the defined selection criteria: comparing a value for at least one of the one or more selected attributes to a corresponding specified attribute value stored in a first data store; and replacing the value of each compared attribute with the corresponding specified attribute value if the value of the compared attribute does not equal the corresponding specified attribute value. Enhanced techniques to normalize CMDB data relating to various computational resources (e.g., hardware, software, and services) from a number of different sources are described herein. A method to normalize data for a CMDB may include: (1) selecting data to be normalized (or configuring system-wide normalization guidelines); (2) specifying whether the data should be normalized in “inline,” i.e., real time, “continuous,” or “batch” mode; (3) defining what classes, attributes, entities, or collections of entities to normalize; and (4) adding a normalization job and defining when it should be run. The various modes that normalization jobs may run in are presented below in connection with Illustrative CIs whose data and attributes may be normalized include, but are not limited to, computer systems, components of computer systems, data storage systems, switches, routers, memory, software applications (both installed products and running applications), operating systems and business services (e.g., order entry or change management and tracking services). The following embodiments, described in terms of a change configuration management system, e.g., a CMDB, are illustrative only and are not to be considered limiting in any respect. The discovered data may be sent to the CMDB 100, wherein Normalization engine 106 may attempt to normalize various attributes of various classes of the incoming data, various configurations of CI collections, or various relationships between CIs through the aid of one or more Knowledge Bases 112. A Knowledge Base 112, as used herein, is a generic term to represent any repository of information that may contain predetermined and/or preferred attribute values, configurations, or rules. Knowledge Base 112 may comprise any of a number of data stores, for example: a Product Catalog, an Alias Catalog, a Rules Catalog, a Relationship Catalog, or any other source of predetermined and/or preferred configuration information. In one particular embodiment, the Knowledge Base 112 utilized by NE 106 may comprise a Product Catalog and/or an Alias Catalog, which may contain information about various products (both hardware and software) in a customer environment. One of the purposes of the Product Catalog may be to define how instances are preferably represented in the CMDB 100. After being normalized and stored in a data repository 110, the data may optionally be passed to reconciliation engine 108, which can initiate a reconciliation process according to specified reconciliation properties and parameters, thereby attempting to identify and merge instances of CIs in data repository 110 within the CMDB 100 that refer to the same “real world” objects. A goal of some reconciliation processes will be to end up with data repositories that are free from duplicated CIs. When the NE 106 searches the Product Catalog for information regarding the relevant CI, it may result in one of three potential outcomes: the Product Catalog may return a single match, in which case the corresponding, i.e., matching, specified attribute value is applied to the appropriate attribute of the CI; the Product Catalog may return multiple matches, in which case the NE 106 may reject the CI and report an error; or the Product Catalog may return no matches, in which case, depending on the source of the data, the NE 106 may accept the CI and assign it an appropriate normalization status, as will be discussed below. In practice, complex real-world objects may commonly be modeled in CMDBs as sets of many related CIs such that the various aspects of the real-world object may be independently monitored and/or configured as desired. As mentioned previously, the architecture of the NE could be fully extensible, allowing for rules-based plug-ins to be authored by third party providers as well as users of the CMDB. An SDK or suitable UI could be provided giving users of the CMDB and NE the tools available to specify both the logic and the Knowledge Bases to be used, thus allowing them to extend the NE and normalize whatever CIs, groups of CIs, relationships, and/or specific classes and attributes they so desire according to whatever rule(s) they so desire. The mainframe computer system 702 may be coupled to one or more other computer systems and/or computer networks, including other mainframe computer systems. The mainframe computer system 702 may be coupled locally to a computer system network 720 in a local area network (LAN) configuration, or may be coupled to one or more computer systems and/or networks through a wide area network (WAN) 722. As shown in Each of the one or more mainframe computer systems 702, the computer systems 714 and 716, as well as storage devices, e.g., file servers 704 may include various components as is standard in computer systems. For example, the mainframe computer system 702 may include one or more processors or CPUs, preferably multiple CPUs, as well as non-volatile memory, such as is represented by elements 704, and various internal buses, etc., as is well known in the art, as well as a display device. In a similar manner, each of the desktop computer systems 714 and/or portable computer systems 716, or other computer systems included within the enterprise, comprise various standard computer components including one or more CPUs, one or more buses, memory, a power supply, non-volatile memory, and a display, such as a video monitor or LCD display. The computer systems or terminals 712 may comprise standard “dumb” terminals as used with mainframes, i.e., may comprise a display and video hardware and/or memory for displaying data on the display provided from the mainframe computer system 702. The mainframe computer system 702 may store a database comprising data which is desired to be accessible among a portion or all of the enterprise, e.g., is desired to be accessible by one or more of the computer systems 714 and 716. The database stored in the mainframe computer system 702 may be distributed among one or more of the various storage devices, e.g., file servers 704 connected to the various computer systems 714 and 716. Thus, it is desired that the data comprising the database be distributed among the enterprise for ready access among multiple users. It is also possible that multiple different database management systems are used within the enterprise, e.g., one or more of the file servers 704 may store its own database which is desired to be replicated among various of the other file servers and/or the mainframe computer system 702. One or more of the computer systems 702, 712, 714, and 716 preferably include a memory medium on which computer programs according to the invention may be stored. In addition, the memory medium may be located in a first computer in which the programs are executed, or may be located in a second different computer which connects to the first computer over a network (e.g., LAN 720 or WAN 722). In the latter instance, the second computer provides the program instructions to the first computer for execution. Also, the computer systems 702/704, 712, 714, and 716 may take various forms, including a personal computer system, mainframe computer system, workstation, network appliance, Internet appliance, personal digital assistant (PDA), television system or other device. In general, the term “computer system” can be broadly defined to encompass any device having a processor which executes instructions from a memory medium. The memory medium preferably stores a software utility program or programs for graphically displaying database record organization characteristics as described herein. The software program(s) may be implemented in any of various ways, including procedure-based techniques, component-based techniques, and/or object-oriented techniques, among others. For example, the software program may be implemented using ActiveX controls, C++ objects, Java objects, Microsoft Foundation Classes (MFC), or other technologies or methodologies, as desired. (ACTIVEX is a registered trademark of the Microsoft Corporation. JAVA is a registered trademark of Sun Microsystems, Inc.) A computer system executing code and data from a memory medium comprises a means for graphically displaying database record organization according to the methods and/or block diagrams described below. Various embodiments further include receiving or storing instructions and/or data implemented in accordance with the foregoing description upon a memory medium. Suitable memory media include a memory medium as described below. Referring now to Program control device 810 may be included in a computer system and be programmed to perform methods in accordance with this disclosure. Program control device 810 comprises a processor unit (PU) 820, input-output (I/O) interface 850 and memory 830. Processing unit 820 may include any programmable controller device including, for example, processors of an IBM mainframe (such as a quad-core z10 mainframe microprocessor). Alternatively, in non mainframe systems, examples of processing unit 820 include the Intel Core®, Pentium® and Celeron® processor families from Intel and the Cortex and ARM processor families from ARM. (INTEL CORE, PENTIUM and CELERON are registered trademarks of the Intel Corporation. CORTEX is a registered trademark of the ARM Limited Corporation. ARM is a registered trademark of the ARM Limited Company.) Memory 830 may include one or more memory modules and comprise random access memory (RAM), read only memory (ROM), programmable read only memory (PROM), programmable read-write memory, and solid state memory. One of ordinary skill in the art will also recognize that PU 820 may also include some internal memory including, for example, cache memory. In the above detailed description, various features are occasionally grouped together in a single embodiment for the purpose of streamlining the disclosure. This method of disclosure is not to be interpreted as reflecting an intention that the claimed embodiments of the subject matter require more features than are expressly recited in each claim. Various changes in the details of the illustrated operational methods are possible without departing from the scope of the following claims. For instance, illustrative flow chart steps or process steps of Storage devices, sometimes called “memory medium” or “computer useable medium,” that are suitable for tangibly embodying program instructions may include, but are not limited to: magnetic disks (fixed, floppy, and removable) and tape; optical media such as CD-ROMs and digital video disks (“DVDs”); and semiconductor memory devices such as Electrically Programmable Read-Only Memory (“EPROM”), Electrically Erasable Programmable Read-Only Memory (“EEPROM”), Programmable Gate Arrays and flash devices. However, those of ordinary skill in the art will recognize that information may also be maintained as structured text, binary object data (e.g., binary data structures), HTML, XML, or other forms of storing data. It is to be understood that the above description is intended to be illustrative, and not restrictive. For example, the above-described embodiments may be used in combination with each other. Many other embodiments will be apparent to those of skill in the art upon reviewing the above description. The scope of the invention should, therefore, be determined with reference to the appended claims, along with the full scope of equivalents to which such claims are entitled.CROSS-REFERENCE TO RELATED APPLICATIONS
BACKGROUND
SUMMARY
BRIEF DESCRIPTION OF THE DRAWINGS
DETAILED DESCRIPTION