Provided are a thin film transistor and a method of manufacturing the same. The thin film transistor includes: a gate electrode; source and drain electrodes spaced apart in a up and down direction from the gate electrode and in a horizontal direction from each other; a gate dielectric formed between the gate electrode and the source electrode and between the gate electrode and the drain electrode; and an active layer formed between the gate dielectric and the source electrode and between the gate dielectric and the drain electrode, wherein the active layer is formed of at least two zinc oxide thin layers doped with an element.
1-15. (canceled) 16. A method of manufacturing a thin film transistor comprising:
forming a gate electrode on a substrate and forming a gate dielectric on the substrate including the gate electrode; forming an active layer on the gate dielectric; and forming a source electrode and a drain electrode on the active layer, wherein the active layer comprises a doped zinc oxide thin layer and the doped zinc oxide thin layer is formed in at least a two-layer structure by a chemical vapor deposition process. 17. The method of 18. The method of 19. The method of 20. The method of 21. The method of 22. The method of 23. The method of 24. The method of 25. The method of 26. The method of 27. The method of 28. The method of 29. The method of 30. The method of 31. The method of 32. The method of 33. The method of 34. The method of 35. The method of
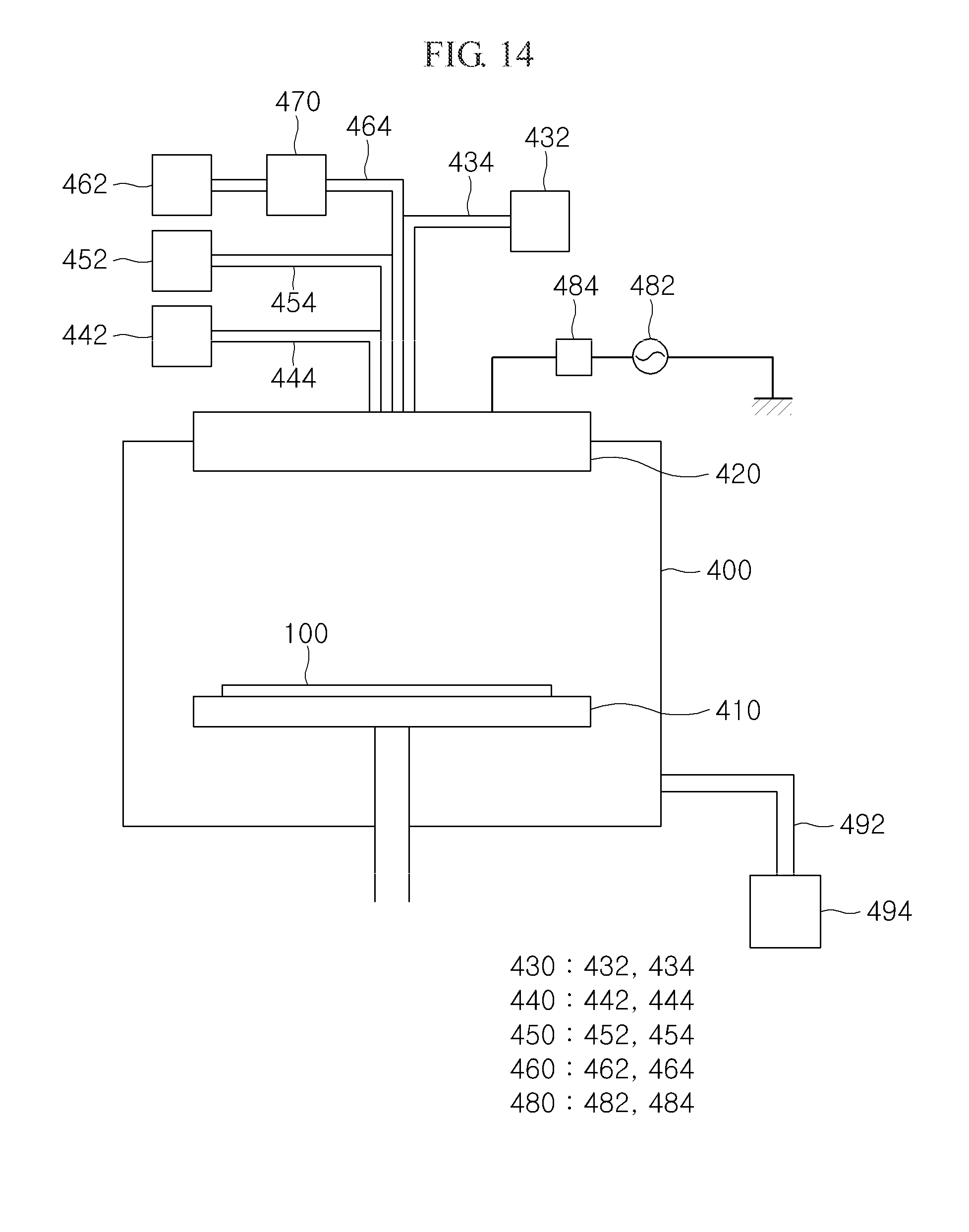
This application claims priority to Korean Patent Application Nos. 10-2010-0139190 filed on Dec. 30, 2010, 10-2011-0082199 filed on Aug. 18, 2011 and 10-2011-0122412 filed on Nov. 22, 2011 and all the benefits accruing therefrom under 35 U.S.C. §119, the contents of which are incorporated by reference in their entirety. The present disclosure relates to a thin film transistor and method of manufacturing the same, and more particularly, to a thin film transistor using a metal oxide semiconductor thin layer as an active layer, and a method of manufacturing the same. A thin film transistor (TFT) is used as a circuit for independently driving each pixel in a liquid crystal display (LCD), an organic electro luminescence (EL) device, etc. The TFT is formed on a substrate together with a gate line and a data line. That is, the TFT includes a gate electrode, a gate dielectric, an active layer, a source electrode and a drain electrode. The gate electrode is formed from the gate line and the source and drain electrodes are formed from the data line. Meanwhile, the active layer of the TFT functions as a channel between the gate electrode and the source/drain electrode, and is formed by using amorphous silicon or crystalline silicon. However, since a thin film transistor substrate using silicon should use a glass substrate, the thin film transistor substrate is heavy and not flexible and thus has a limitation that it cannot be used for a flexible display. To address this limitation, researches on metal oxide have been frequently performed in recent years. Especially, research on a zinc oxide (ZnO) thin film is being actively performed. It is known that the ZnO thin layer has a characteristic in that crystal is easily grown even at a low temperature and ZnO thin layer is a superior material in securing high charge concentration and mobility. However, ZnO thin layer is unstable in terms of film quality when exposed to the atmosphere and thus has a disadvantage in that it deteriorates the stability of a thin film transistor. Also, ZnO thin layer may cause a problem in that off current is elevated or threshold voltage is changed due to excess carriers generated by oxygen defect. To improve the film quality of the ZnO thin layer, indium gallium zinc oxide (hereinafter, referred to as ‘IGZO’) thin layer obtained by doping indium (in) and gallium (Ga) into ZnO thin layer has been proposed. IGZO thin layer is typically formed by sputtering using an IGZO target. In the case IGZO thin layer is formed by using a sputtering, and the composition of the IGZO thin layer is changed as the deposition of the IGZO thin layer progresses, so that the film quality of the IGZO thin layer formed sequentially may be not uniform. That is, since the crystal structure and grains of the IGZO target are irregular, the composition of the IGZO thin layer is changed as the deposition of the IGZO thin layer is progressed, so that the film quality is not uniform. Thus, thin film transistors which are manufactured in the same chamber and the same process have different characteristics, and thus the reliability of the thin film transistors is lowered. Also, the active layer may be formed in a plurality of layers each having a different composition if necessary. However, since the IGZO target is manufactured only in one composition, it is difficult to form an active layer having a multi-layer structure. That is, a multi-layered active layer each layer having a different composition cannot be formed by sputtering using the IGZO target. The present disclosure provides a thin film transistor that can enhance stability by improving the film quality of an IGZO thin layer, and a method of manufacturing the same. The present disclosure also provides a thin film transistor that can enhance reliability by allowing the composition of an IGZO thin layer not to be changed while a deposition process of the IGZO thin layer is progressed, and a method of manufacturing the same. The present disclosure also provides a thin film transistor in which an IGZO thin layer may be formed in a multilayer structure and a composition ratio of each layer in the multilayer-structured IGZO thin layer may be controlled differently, and a method of manufacturing the same. The present disclosure also provides a thin film transistor in which an IGZO thin layer used as an active layer in the thin film transistor is formed by a chemical vapor deposition such as an atomic layer deposition or the like, and a method of manufacturing the same. In accordance with an exemplary embodiment, a thin film transistor includes: a gate electrode; source and drain electrodes spaced apart in a rip and down direction from the gate electrode and in a horizontal direction from each other a gate dielectric formed between the gate electrode and the source electrode and between the gate electrode and the drain electrode; and an active layer formed between the gate dielectric and the source electrode and between the gate dielectric and the drain electrode, wherein the active layer is formed of at least two zinc oxide thin layers doped with an element. The doped element may be a Group III or IV element, and may be at least one of gallium, indium and tin. The doped at least two zinc oxide thin layers may include at least one of an IGZO thin layer and an ITZO thin layer having a multilayer structure comprising at least two layers stacked. The doped at least two zinc oxide thin layers may include a first zinc oxide thin layer formed by an ALD process, and a remaining zinc oxide thin layer other than the first zinc oxide thin layer formed by at least one of a pseudo ALD process, a cyclic CND process and a CND process. The first zinc oxide thin layer may be formed at a side close to the gate electrode. The doped at least two zinc oxide thin layers may be different in composition ratio. The first zinc oxide thin layer may be higher in mobility and conductivity than the remaining zinc oxide thin layer, and the first zinc oxide thin layer may be larger in amount of the doped element than the remaining zinc oxide thin layer. The above thin film transistor may further include a passivation layer formed on the active layer between the source electrode and the drain electrode. The passivation layer may be formed in a single layer structure or in at least a two-layer structure, and at least some of the passivation layer may be formed by a chemical vapor deposition process which does not use plasma. The passivation layer may include: a first passivation layer which is formed on the active layer by the chemical vapor deposition which does not the plasma; and a second passivation layer which is formed on the first passivation layer by the chemical vapor deposition which uses plasma. In accordance with another exemplary embodiment, a method of manufacturing a thin film transistor includes: providing a substrate; forming a gate electrode on the substrate and forming a gate dielectric on the substrate including the gate electrode; forming an active layer on the gate dielectric; and forming source electrode and drain electrode on the active layer, wherein the active layer is formed of a doped ZnO thin layer and the doped ZnO thin layer is formed in at least a two-layer structure by a chemical vapor deposition process. The above method may further include forming a passivation layer on the active layer to pattern the passivation layer such that the passivation layer is left between the source electrode and the drain electrode. The ZnO thin layer may be doped with at least one of gallium, indium and tin. The doped ZnO thin layer may include at least one of an IGZO thin layer and an ITZO thin layer having a multilayer structure comprising at least two layers stacked. The doped at least two ZnO thin layers may include a first zinc oxide thin layer formed by an ALD process, and a remaining layer formed by at least one of a pseudo A/D process, a cyclic CVD process and a CVD process. The first zinc oxide thin layer of the doped at least two ZnO thin layer may be formed by the ALD process and a second layer may be formed by the CVD process. The first zinc oxide thin layer of the doped at least two ZnO thin layers may be formed by the ALD process and a second layer may be formed by the cyclic CVD process. The first zinc oxide thin layer of the doped at least two ZnO thin layers may be formed by the ALD process; a second layer may be formed by the pseudo ALD process; and a third layer is formed by the CND process. The first zinc oxide thin layer of the doped at least two ZnO thin layer may be formed by the ALD process, a second layer may be formed by the cyclic CVD process, and a third layer may be formed by the CVD process. The doped at least two ZnO thin layers may be formed with different composition ratios by controlling an introduced amount of a deposition source. The first zinc oxide thin layer may be larger in amount of the doped element than the remaining layer, and the first zinc oxide thin layer may be higher in mobility and conductivity than the remaining layer. The passivation layer may be formed in a single layer structure or in at east a two-layer structure. The passivation layer may include a first passivation layer contacting the active layer, and a remaining second passivation layer, and the first passivation layer may be formed by the chemical vapor deposition which does not plasma, and the second passivation layer may be formed by a chemical vapor deposition which uses plasma. The first passivation layer may be formed by using a silicon source and a first reaction source, and the second passivation layer may be formed by using the silicon source and a second reaction source. The silicon source may include TEOS and SiH4, the first reaction source may include O3, and the second reaction source may include O2, N2O, and NH3. The first passivation layer may be formed by using TEOS and O3. The second passivation layer may be formed by using TEOS or SiH4 and O2, N2O or NH3. The above method may, at least one of before and after the forming of the passivation layer, further include performing an annealing process. The forming of the gate dielectric, the forming of the active layer and the forming of the passivation layer and the annealing may be performed in-situ. Exemplary embodiments can be understood in more detail from the following description taken in conjunction with the accompanying drawings, in which: Hereinafter, specific embodiments will be described in detail with reference to the accompanying drawings. The present invention may, however, be embodied in different forms and should not be construed as limited to the embodiments set forth herein. Rather, these embodiments are provided so that this disclosure will be thorough and complete, and will fully convey the scope of the present invention to those skilled in the art. In figures, the dimensions of layers and regions are exaggerated for clarity of illustration. Like reference numerals refer to like elements throughout. It will also be understood that when a layer, a film, a region or a plate is referred to as being ‘on’ another one, it can be directly on the other one, or one or more intervening layers, films, regions or plates may also be present. Referring to The substrate 100 may be a transparent substrate, such as a silicon substrate, a glass substrate or a plastic substrate (e.g., PE, PES, PET, PEN, etc.) for a flexible display. Alternatively, the substrate 100 may be a reflective substrate, such as a metal substrate. The metal substrate may be formed of stainless steel, titanium (Ti), molybdenum (Mo), or alloys thereof. Meanwhile, in the case where the substrate 100 is a metal substrate, an insulation layer may be formed on the metal substrate. The forming of the insulation layer is to prevent the metal substrate from being shorted with the gate electrode 110 and also to prevent metal atoms from being diffused from the metal substrate. The insulation layer may be formed of a material including at least one of silicon oxide (SiO2), silicon nitride (SiN), alumina (Al2O3), and compounds thereof. In addition, a diffusion stop layer may be formed of an inorganic material including at least one of titanium nitride (TiN), titanium aluminum nitride (TiAlN), silicon carbide (SiC), and compounds thereof under the insulation layer. The gate electrode 110 may be formed of a conductive material, for example, aluminum (Al), neodymium (Nd), silver (Ag), chromium (Cr), titanium (Ti), tantalum (Ta), molybdenum (Mo), copper (Cu), or alloys thereof. Also, the gate electrode 110 may be formed in a multilayer structure having a plurality of metal layers as well as a single layer structure. For example, the gate electrode 110 may be formed in a two-layer structure comprised of a metal layer of Cr, Ti, Ta, Mo, or the like having superior physical and chemical characteristics, and another Al-based, Ag-based, or Cu-based metal layer having a low resistivity. The gate dielectric 120 is formed at least on the gate electrode 110. That is, the gate dielectric 120 may be formed on the substrate 100 including an upper surface and side surfaces of the gate electrode 110. The gate dielectric 120 may be formed of one of inorganic dielectrics having superior adhesivity to a metallic material and including silicon oxide (SiO2), silicon nitride (SiN), alumina (Al2O3), zirconia (ZrO2), or the like, or a dielectric other than the foregoing inorganic dielectrics. The active layer 130 is formed on the gate dielectric 120 such that at least some of the active layer 130 overlaps the gate electrode 110. The active layer 130 may be induced into an amorphous ZnO thin layer so as to improve the film quality of the ZnO thin layer by doping a Group III or IV element, for example, at least one of indium (In), gallium (Ga), and tin (Sn), into a ZnO thin layer, thereby improving the stability of the thin film transistor. For example, the active layer 130 may be formed of an IGZO thin layer obtained by doping In and Ga into a ZnO thin layer, or formed of an ITZO thin layer obtained by doping In and Sn into a ZnO thin layer. The following embodiments will be described with an example of the IGZO thin layer. Also, in the active layer 130 formed of IGZO thin layer, the active layer of a thickness is formed by an ALD process, and the IGZO thin layer of the remaining thickness is formed by a chemical vapor deposition (CVD) process, a cyclic CVD process, or the like. For example, the active layer 130 may be formed at least in a two-layer structure, in which a first IGZO thin layer 132 adjacent to the gate dielectric 120 is formed by an ALD process and a second IGZO thin layer 134 is formed on the first IGZO thin layer 132 by a CVD process or a cyclic CVD process. Herein, the ALD process is performed by repeating the supplying of a raw material source and purging and the supplying of an oxidation source and purging, and the CVD process is performed by simultaneously supplying a raw material source and an oxidation source. In the case of the raw material source, a process is performed a raw material gas supplying a raw material, and in the case of the oxidation source, a process is performed with a reaction gas that may react with a raw material gas to form a desired thin layer. Also, the cyclic CVD process is performed by repeating supply and stop of a raw material source and continuously supplying an oxidation source. Also, the cyclic CVD process is performed by repeating supply and stop of a raw material source and continuously supplying an oxidation source. Therefore, the CND process may enhance the process speed, and the cyclic CND process may allow the film quality to be dense since a raw material source and an oxidation source are simultaneously supplied so that a simultaneous deposition is performed, and an oxidation source supplied later reacts with the raw material source. A process in which supply and stop of a raw material source are repeated and an oxidation source is continuously supplied is continuously performed for one period, and then a process including a step of stopping supply of the oxidation source for a few seconds is performed. There is a difference between the cyclic CVD process and the ALD process. In the ALD process, a purge step is performed after supply of a raw material source or oxidation source is stopped, whereas in the cyclic CVD process, a separate purge step is not performed while a process is performed, and a process in which a cycle is repeated several times is performed. Meanwhile, the first and second IGZO thin layers 132 and 134 may be formed using an indium source, a gallium source, a zinc source, and an oxidation source. For example, Tirmethyl Indium (In(CH3)3; TMIn), Diethylamino propyl Dimethyl indium (DADI), or the like may be used as the indium source, Trimethyl Gallium (Ga(CH3)3; TMGa) or the like may be used as the gallium source, and Diethyl Zinc (Zn(C2H5)2; DEZ), Dimethyl Zinc (Zn(CH3)2; DMZ) or the like may be used as the zinc source. Also, an oxygen-containing material, for example, at least one of oxygen (O2), ozone (O3), vapor (H2O), N2O, CO2, and the like may be used as the oxidation source. In the active layer 130, the first IGZO thin layer 132 adjacent to the gate dielectric 120 may be formed by an ALD process and used as a front channel. Since the first IGZO thin layer 132 formed by the ALD process is superior in film quality and interfacial characteristic, the first IGZO thin layer 132 may be used as a front channel which is important in forming a channel. That is, when a voltage is applied to the gate electrode 110, negative (−) charges are accumulated in a portion of the active layer 130 on the gate dielectric 120 to form a front channel. As current flows well through the front channel, the mobility is superior. Therefore, it is preferable that the front channel region should be formed of a material having superior mobility. Since the first IGZO thin layer 132 formed by the ALD process is superior in film quality and interfacial characteristic, the mobility is superior too. Then, since the ALD process lowers productivity due to slow speed thereof, the second IGZO thin layer 134 on the first IGZO thin layer 132 is formed by a CVD process or cyclic CVD process. Since the CVD process or cyclic CVD process makes it possible to deposit a film at a high speed, productivity can be enhanced. Meanwhile, while an oxygen-containing material may be used as the oxidation source of the ALD process, when oxygen (O2) is used as a reaction gas, TMGa has low reactivity. Thus, it is preferable to use ozone (O3) as the oxidation source. In the case that oxygen (O2) is used as the oxidation source, oxygen is excited into a plasma state. In addition to oxygen (O2), N2O and CO2 may be also excited into a plasma state and used. Also, oxygen, ozone, a mixture of vapor and oxygen, a mixture of vapor and ozone, oxygen plasma or the like may be used as the oxidation source of the CVD process or cyclic CVD process, and preferably, the mixture of vapor and oxygen, or the mixture of vapor and ozone is used. Meanwhile, the second IGZO thin layer 134 may be formed with a composition ratio different from that of the first IGZO thin layer 132 to be used as the back channel. That is, when a negative (−) voltage is applied to the gate electrode 110, negative (−) charges are accumulated in a portion of the active layer 130 under the source electrode 140 The source electrode 140 As described above, in the case of the thin film transistor according to an exemplary embodiment of the disclosure, the active layer 130 is formed of a metal oxide semiconductor, particularly an IGZO thin layer, in a stack structure having the first IGZO thin layer 132 and the second IGZO thin layer 134 formed by the ALD process and the CVD process or the ALD process and the cyclic CVD process. At this time, since it is possible to control the compositions of the first and second IGZO thin layers 132 and 134 through control of the introduced amount of source, the multilayer structured active layer 130 each layer having a different composition can be formed. Also, since the first IGZO thin layer 132 may be formed by the ALD process capable of Obtaining superior film quality and used as a front channel, a high speed device having superior mobility and electrical conductivity can be realized, and since the second IGZO thin layer 134 may be formed by the CND process or cyclic CVD process capable of performing a high speed deposition and used as a front channel, productivity reduction, which is a disadvantage of the ALD process can be compensated. That is, in the case the IGZO thin layer is formed only by the ALD process which is slow in process speed, productivity is lowered, and in the case the IGZO thin layer is formed only by the CVD process which is fast in process speed, the film quality of the IGZO thin layer is lowered and thus device operation reliability cannot be guaranteed. However, since the ALD process and the CND process or the ALD process and the cyclic CVD process are used, the foregoing problem can be solved. Referring to The active layer 130 is formed by stacking a first IGZO thin layer 132, a second IGZO thin layer 134 and a third IGZO thin layer 136. For example, the first IGZO thin layer 132 may be formed by an ALD process, the second IGZO thin layer 134 may be formed by a pseudo ALD process, and the third IGZO thin layer 136 may be formed by a CVD process. Also, the first IGZO thin layer 132 may be formed by an ALD process, the second IGZO thin layer 134 may be formed by a cyclic CVD process, and the third IGZO thin layer 136 may be formed by a CVD process. That is, the first and third IGZO thin layers 132 and 136 may be formed by an ALD process and a CVD process, respectively, and the second IGZO thin layer 134 may be formed by a pseudo ALD process or a cyclic CVD process. Herein, the pseudo ALD process forms a thin layer having a predetermined thickness by repeating the introduction of a raw material source and introduction of an oxidation source. That is, while the ALD process forms a thin layer by repeating the introduction and purge of a raw material source and the introduction and purge of an oxidation source, the pseudo ALB process forms a thin layer by repeating introduction of a raw material source and introduction of an oxidation source without a purge process. Also, the pseudo ALD process may use the oxidation source used in the ALD process as an oxidation source. That is, an oxygen-containing material, preferably ozone (O3), may be used as the oxidation source, and oxygen (O2), N2O and CO2 may be also used after being excited to a plasma state. When the active layer 130 is formed in the three-layer structure as above, the film quality of the active layer 130 can be further improved compared with the IGZO thin layer formed in the two-layer structure by the ALD process and the CVD process because the second IGZO thin layer 134 formed by the pseudo ALD process or cyclic CVD process has a film quality similar to the first IGZO thin layer 132 formed by the ALD process and can be deposited at a higher speed than the second IGZO thin layer formed by the ALD. Meanwhile, the first IGZO thin layer 132 may be formed with a thickness ranging from approximately 10 Å to approximately 50 Å, the second IGZO thin layer 134 may be formed with a thickness ranging from approximately 50 Å to approximately 100 Å, and the third IGZO thin layer 136 may be formed with a thickness ranging from approximately 150 Å to approximately 250 Å. Meanwhile, if the active layer 130 formed of an IGZO thin layer is exposed to the atmosphere when the source electrode 140 Referring to The passivation layer 150 is formed so as to function as an etch stop layer in an etch process for ung the source electrode 140 Also, the passivation layer 150 may be formed in a multilayer structure, for example, in a two-layer structure having a first passivation layer 150 That is, the IGZO formed by the ALD process is superior in its characteristics but is slow in deposition rate, so that productivity is low, whereas the IGZO thin layer formed by the cyclic CVD process or the CVD process is fast in deposition rate but has unfavorable characteristics. However, in the case of forming a first IGZO thin layer by an ALD process and then forming a second IGZO thin layer by a cyclic CVD process, or in the case of forming a third IGZO thin layer on the second IGZO thin layer by a CVD process, a difference in film quality at interfaces between the thin layers is not great and thus the IGZO thin layer quality is not lowered. That is, the IGZO thin layer formed in a multilayer structure by different processes may have a superior film quality which is a characteristic of the ALD process and a fast deposition rate which is a characteristic of the cyclic CVD or CVD process. Therefore, productivity can be enhanced and the operation characteristic can be maintained. As illustrated in Also, as illustrated in To form an IGZO thin layer by an AM process using the foregoing deposition apparatus, as illustrated in To form an IGZO thin layer by a pseudo ALD process using the foregoing deposition apparatus, as illustrated in To form an IGZO thin layer by a cyclic CVD process using the foregoing deposition apparatus, as illustrated iii Also, to form an IGZO thin layer by a CVD process using the foregoing deposition apparatus, an indium source, a gallium source and a zinc source are supplied into the reaction chamber 300 through the first, second and third source supply parts 330, 340 and 350 and at the same time an oxidation source is supplied into the reaction chamber 300 through the fourth source supply part 360. Meanwhile, to form IGZO thin layer in accordance with the present disclosure in at least a two-layer structure by other deposition processes, various deposition apparatuses as well as the foregoing deposition apparatus may be used. For example, an IGZO thin layer having at least a two-layer structure may be formed in-situ by an ALD process, a CVD process and a pseudo ALD process by mounting a plurality of substrates 100 on a susceptor 310 and by using a rotational injection unit including a plurality of rotatable injectors and a unit rotating the susceptor 310. Of course, the IGZO thin layer having at least a two-layer structure may be formed ex-situ in another reaction chamber. Also, as illustrated in By using the passivation layer deposition apparatus, a passivation layer having a single layer structure or multilayer structure may be formed. For example, a passivation layer having a single layer structure may be formed by forming a silicon oxide layer by a CVD process using TEOS and O3 without applying RF power. Also, a first silicon oxide layer may be formed by a CVD process using TEOS and O3 without applying RF power, and then a second silicon oxide layer may be formed by a PECVD process using TEOS and O2 while applying RF power. Further, a silicon oxide layer may be formed by a CVD process using TEOS and O3 without applying RIP power, and then a silicon oxynitride layer may be formed by a PECVD process using N2O or NH3. That is, while the passivation layer is formed in a single layer structure or a multilayer structure, a portion contacting the active layer 130 may be formed of silicon oxide by a CVD process, and the remaining portion may be formed of silicon oxide, silicon nitride or silicon oxynitride by a PECVD process. Referring to Referring to Referring to Referring to Also, the active layer 130 may be formed in a stack structure having three layers of first to third IGZO thin layers formed by three different deposition processes. That is, the first IGZO thin layer may be formed by an ALD process having the process cycle illustrated in Meanwhile, the passivation layer 150 may be formed in a two-layer structure and an annealing may be performed at least one time before and after the passivation layer 150 is formed. An embodiment regarding the two-layer structure of the passivation layer 150 will now be described with reference to Referring to Referring to Referring to Referring to In the above embodiment, the first conductive layer for the gate electrode 110, the gate dielectric 120, and the second conductive layer for the source and drain electrodes 140 Meanwhile, in addition to the IGZO thin layer, an indium zinc oxide (ITZO) thin layer may be used. That is, the ITZO thin layer may be formed in a multilayer structure having at least two or more layers by using an ALD process and a cyclic CVD process. For example, a first ITZO thin layer may be formed by an ALD process and a second ITZO thin layer may be formed by a CVD process or cyclic CVD process. Also, a first ITZO thin layer may be formed by an ALD process, a second ITZO thin layer may be formed by a pseudo ALD process or cyclic CVD process, and a third ITZO thin layer may be formed by a CVD process. To form an ITZO thin layer as above, the cluster apparatus illustrated in Also, an IGZO thin layer and an ITZO thin layer may be stacked. In the case of this stack structure, an ALD process and a cyclic CVD process are also used. For example, the IGZO thin layer may be formed by an ALD process and then the ITZO thin layer may be formed by a cyclic CVD process. Alternatively, a first IGZO thin layer may be formed by an ALD process, a second IGZO thin layer may be formed by a pseudo ALD process or cyclic CVD process, and an ITZO thin layer may be formed by a CVD process. Further, the IGZO thin layer may be formed by an ALD process and then the ITZO thin layer may be formed by a CVD process or cyclic CVD process. That is, while an IGZO thin layer and an ITZO thin layer may be stacked and formed regardless of stack sequence by an ALD process, a CVD process, a pseudo ALD process or a cyclic CVD process, the lowermost layer is formed by the ALD process. Thus, in the case of simultaneously using both of the IGZO thin layer and the ITZO thin layer, the deposition apparatus of The thin film transistors in accordance with the embodiments of the present disclosure may be used as driving units for driving pixels in displays such as a liquid crystal display, an organic EL display, etc. That is, in a display panel including a plurality of pixels arranged in a matrix configuration, a thin film transistor is formed in each pixel, a pixel is selected through the thin film transistor and data for image display is transferred to the selected pixel. In embodiments of the present disclosure, at least two-layer-structured IGZO thin layer is formed by using different chemical vapor deposition processes including an atomic layer deposition (ALD) process, and the at least two-layer-structured IGZO thin layer formed is used as an active layer of a thin film transistor. That is, in a total thickness of the IGZO thin layer, the IGZO thin layer of a partial thickness is formed by an ALD process, and the IGZO thin layer of the remaining thickness is formed by using at least one of a chemical vapor deposition (CVD) process, a pseudo ALD process, and a cyclic CVD process. Also, the IGZO thin layer may be formed in a multilayer structure in which each layer has a different composition. According to the present disclosure, by forming the IGZO thin layer used as an active layer by using a chemical vapor deposition process, the low reliability problem of when the IGZO thin layer is formed by using a related art sputtering, and the problem that the characteristics of the IGZO thin layer are changed as the sputtering progresses can be solved. That is, since the introduced amount of a source can be maintained at a constant rate, the composition of the IGZO thin layer is not changed while the deposition process is progressed, so that the reliability of the IGZO thin layer can be prevented from being lowered. Also, since the active layer adjacent to a gate dielectric can be formed of IGZO thin layer having superior film quality and interfacial characteristics by using an ALD process and is also used as a front channel, the operation speed of the thin film transistor can be enhanced. Further, the IGZO thin layer may be formed in a multilayer structure where each layer has a different composition, and thus may be used as a front channel or back channel. That is, composition of indium (In) and gallium (Ga) in a first IGZO thin layer may be made higher than composition of In and Ga in a second IGZO thin layer so that mobility and conductivity of the first IGZO thin layer are higher than the mobility and conductivity of the second IGZO thin layer. Thereby, it is also possible to use the first IGZO thin layer as a front channel and the second IGZO thin layer as a back channel. In addition, by forming the IGZO thin layer having at least a two-layer structure by using a plurality of processes which are different from each other and including an ALD process, productivity can be enhanced and operation reliability can be guaranteed. That is, in the case where only the ALD process is used, the process speed is slow and thus productivity is low, and in the case where only the CND process is used, the film quality is not dense and thus normal operation is impossible. However, in the case where the ALD process and the CVD process are all used, it is possible to enhance the productivity and guarantee operational reliability. Meanwhile, by forming a passivation layer on the IGZO thin layer, etching damage of the active layer and a low film quality can be prevented, and by forming at least some of the passivation layer by using a CVD process, damage of the active layer can be prevented. That is, by forming at least some of the passivation layer contacting the active layer by using a CVD or ALD process, damage of the active layer due to plasma can be prevented, and by forming the remaining portion of the passivation layer by using a PECVD process, the film quality and deposition rate of the passivation layer can be enhanced. Meanwhile, the technical idea of the present disclosure has been specifically described with respect to the preferred embodiments, but it should be noted that the foregoing embodiments are provided only for illustration and not for purposes of limitation. Also, it will be understood by those of ordinary skill in the art that various embodiments may be possible within the scope of technical spirit of the present invention.CROSS-REFERENCE TO RELATED APPLICATION
BACKGROUND
SUMMARY
BRIEF DESCRIPTION OF THE DRAWINGS
DETAILED DESCRIPTION OF EMBODIMENTS