заявка
№ US 20130228572
МПК B60K15/03

FUEL TANK MADE OF THERMOPLASTIC MATERIAL

Авторы:
Raimund Helmig
Правообладатель:
Номер заявки
13821308
Дата подачи заявки
29.08.2011
Опубликовано
05.09.2013
Страна
US
Дата приоритета
14.12.2025
Номер приоритета
Страна приоритета
Как управлять
интеллектуальной собственностью
Чертежи 
2
Реферат

[0000]

The invention concerns a fuel tank made of thermoplastic material with at least one sheet-like stiffening element (1) which is connected to the tank wall, consists of material that has a higher modulus of elasticity than the base material of the fuel tank and which is connected to the fuel tank with interlocking engagement on the outer side thereof, the stiffening element (1) not being completely enclosed by the base material of the outer tank wall.

[00000]

Формула изобретения

1. Fuel tank made of thermoplastic material with at least one sheet-like stiffening element which is connected to the tank wall, consists of material that has a higher modulus of elasticity than the base material of the fuel tank and which is connected to the fuel tank with interlocking engagement on the outer side thereof, the stiffening element consisting of a fibre composite material, a metal mesh or a perforated plate or combinations thereof.

2. Fuel tank according to claim 1, characterized in that the stiffening element has at least one through-opening, which is penetrated, and preferably engaged behind, by the base material of the tank wall.

3. Fuel tank according to claim 1, characterized in that the stiffening element comprises a fibre material in a thermosetting polymer matrix.

4. Fuel tank according to claim 3, characterized in that a heat-curable plastic, preferably based on epoxy resin, is provided as the thermosetting plastic.

5. Fuel tank according to claim 1, characterized in that the stiffening element comprises a fibre material in a thermoplastic polymer matrix.

6. Fuel tank according to claim 1, characterized in that an expanded metal mesh is provided as the stiffening element.

7. Fuel tank according to claim 1, characterized in that multiple sheet-like stiffening elements are provided on the outer tank wall in the region of likely tensile stresses and/or flexural stresses in the tank wall.

8. Fuel tank according to claim 1, characterized in that the stiffening element is not completely enclosed by the base material of the outer tank wall.

Описание

[0001]

The invention concerns a fuel tank made of thermoplastic material.

[0002]

Known plastic fuel tanks for motor vehicles are formed as fuel tanks based on polyethylene (HDPE). These usually have a multilayered wall structure with barrier layers for hydrocarbons. Plastic fuel tanks have the advantage over metal fuel tanks that they can be produced with a spatially relatively complex design and have sufficient shape retention and stability. Plastic fuel tanks undergo standardized drop tests, in which filled tanks are dropped from a height of several metres at relatively low ambient temperatures. Short-term deformations of the fuel tanks in the event of a crash or in the case of such drop tests do not generally lead to any permanent changes in contour of the tanks. Even when the internal pressure is increased for a short time, fuel tanks made of plastic retain their shape to the greatest extent, at least such that they resume their original shape when the pressure subsides.

[0003]

Fuel tanks that are designed at least predominantly for use in motor vehicles with internal combustion engines are usually connected to the surroundings through the venting system by way of an active carbon filter, so that the fuel tank is pressureless in all the operating states of the motor vehicle.

[0004]

In the case of motor vehicles that can be driven not only by an internal combustion engine but also by battery-operated electric motors, pressureless operation of the fuel tank is not feasible, since the internal combustion engine of the motor vehicle is not operated for relatively long periods of time. The fuel vapour filter by which the fuel tank communicates with the surroundings is usually backflushed while the internal combustion engine of the motor vehicle is in operation, in that the air required for the engine is taken in via the fuel vapour filter during the operating phases of the engine. The adsorption capacity of the fuel vapour filter is designed correspondingly.

[0005]

In the case of modern hybrid vehicles, on the other hand, the number of operating cycles and the operating time of the internal combustion engine are greatly reduced. Consequently, the number and duration of the possible backflushing cycles of the fuel vapour filter are likewise restricted. This requires corresponding dimensioning of the fuel vapour filter, which is often subject to limits owing to installation space. For this reason, fuel tanks for hybrid vehicles are often sealed off from the atmosphere in such a way that pressure fluctuations with respect to the atmosphere of approximately +400 mbar to −150 mbar can occur in the fuel tank. It is intended that this pressure difference with respect to the atmosphere can be maintained as far as possible over relatively long periods of time. In this connection, the stabilization of fuel tanks based on polyethylene assumes particular importance. Polyethylene has the characteristic that, if subjected to sustained pressure and/or tension, it flows even at room temperatures, and so allowance must be made for this by a correspondingly stable/thick-walled design of the fuel tank.

[0006]

In the prior art there are known fuel tanks in which supporting elements are inserted in the tank in such a way that they mutually support the larger-area tank wall regions (wide sides) of the tank and fix them in relation to one another. Such supporting measures are less desirable, in particular because of the accompanying reduction in volume of the fuel tank. In addition, such reinforcing/supporting elements cannot be arranged in whatever manner desired inside the tank, since under some circumstances they may collide with necessary internals such as surge tanks, filling level sensors, suction jet pumps, aerating and venting valves or aerating and venting lines.

[0007]

Also known in principle are measures which stiffen the tank by the functional internals that have to be provided therein in any case, such as for example surge tanks or baffle rings. Experience shows that such stabilizing measures do not achieve satisfactory results under all circumstances, especially since they do not affect the tendency to creep of the plastic. In addition, stiffening of the overall system is less desirable in respect of accident-related collision loads.

[0008]

U.S. Pat. No. 5,020,687 discloses an extrusion blow-moulded fuel tank with fabric inserts moulded into the tank wall, with the intention of improving both the stiffness of the tank and the fire resistance of the same. An improvement in stiffness is intended to be obtained in a way conducive to reducing the wall thickness and lowering the weight. The porous fabric that is used is intended to enter into a material bond and/or interlocking connection with the tank and is integrated in the tank wall in such a way that it is not inserted in the tank wall in a projecting or obtrusive manner.

[0009]

Apart from the fact that the reinforcing fabric serves primarily for fire resistance, it contributes only moderately to increasing the internal pressure resistance of the tank.

[0010]

The invention is therefore based on the object of providing a fuel tank made of thermoplastic material that is effectively stabilized against increased internal pressure by relatively simple means. The object is achieved by a fuel tank made of thermoplastic material with at least one sheet-like stiffening element which is connected to the tank wall, consists of material that has a higher modulus of elasticity than the base material of the fuel tank and which is connected to the fuel tank with interlocking engagement on the outer side thereof, the stiffening element consisting of a fibre composite material, a metal mesh or a perforated plate. This means a significant gain in stability in comparison with wall-stiffening fibres or other reinforcing layers that are integrated completely in the tank wall.

[0011]

Depending on the expected tensile and/or flexural stressing in the fuel tank, one or more reinforcing elements may be provided. In the case of a preferred variant of the fuel tank according to the invention, the stiffening element has at least one through-opening, which is penetrated, and preferably engaged behind, by the base material of the tank wall.

[0012]

If the fuel tank according to the invention is produced by extrusion blow-moulding or a comparable process, the stiffening element may have already been placed in the cavity of the moulding tool before the preform is introduced into the moulding tool, and so the molten-hot polymer forming the tank wall passes through the through-opening or multiple through-openings of the stiffening element when the preform is introduced.

[0013]

The stiffening element expediently has multiple through-openings, which are passed through by the base material of the tank wall in such a way that individual fastening points of the stiffening element to the tank wall are formed in the manner of a riveted connection. At the same time, the stiffening element may have additionally undergone a material bond with the tank wall, either by using compatible materials or by using a bonding agent.

[0014]

Coming into consideration as fibre composite materials are, for example, so-called pre-preg fibre panels with, for example, continuous glass, carbon, aramid, thermoset or natural fibres. “Pre-pregs” (pre-impregnated fibres) are generally semifinished products consisting of continuous fibres in an uncured thermosetting polymer matrix. The continuous fibres may take the form of a pure unidirectional layer, a woven fabric or a laid structure. For example, such pre-pregs may be placed in the tool as webs of woven fabric and fixed there. These then bond with the base material of the preform in a suitable manner when the molten-hot preform is introduced into the tool.

[0015]

The stiffening element may, for example, consist of a fibre material in a thermosetting polymer matrix.

[0016]

The stiffening element may, however, also consist of a fibre material in a thermoplastic polymer matrix.

[0017]

A heat-curable plastic is used with particular preference as the thermosetting plastic, preferably a plastic based on epoxy resin. If the plastic tank according to the invention is produced by extrusion blow-moulding, it is preferred to use such pre-pregs with a matrix of a heat-curable thermosetting plastic that the stiffening element placed in the mould cures in contact with the molten-hot preform, the heat required for the curing being introduced into the stiffening element by contact heat transfer from the preform.

[0018]

Alternatively, an expanded metal mesh may be provided as a stiffening element. In this case, the stiffening element may, for example, have been fixed in the tool by means of magnetic holders or correspondingly formed extensions. Such expanded metal meshes that have directionally different tensile/compressive/flexural strength may be used, such that an appropriate orientation of the stiffening element or elements can be provided according to the likely loading of the tank wall.

[0019]

The stiffening element may alternatively be formed as a perforated plate, it being possible for an interlocking connection with the tank wall to be provided through one or more or all of the holes of the perforated plate.

[0020]

In the case of an expedient, preferred embodiment of the fuel tank according to the invention, multiple sheet-like stiffening elements are provided on the outer tank wall in regions of likely tensile and/or flexural stressing in the tank wall.

[0021]

In the case of a preferred variant of the fuel tank according to the invention, the stiffening element is not completely enclosed in the base material of the tank wall, and so, at least in certain regions, the stiffening element increases the thickness of the tank wall in the stabilized region of the tank.

[0022]

The invention is explained below on the basis of an exemplary embodiment that is represented in the drawings, in which:

[0023]

FIG. 1 shows a schematic sectional view through a blow-moulding tool, a stiffening element placed therein and part of a preform introduced into the blow-moulding tool, as an exploded view directly before the connection of the tank wall of the preform to the stiffening element and

[0024]

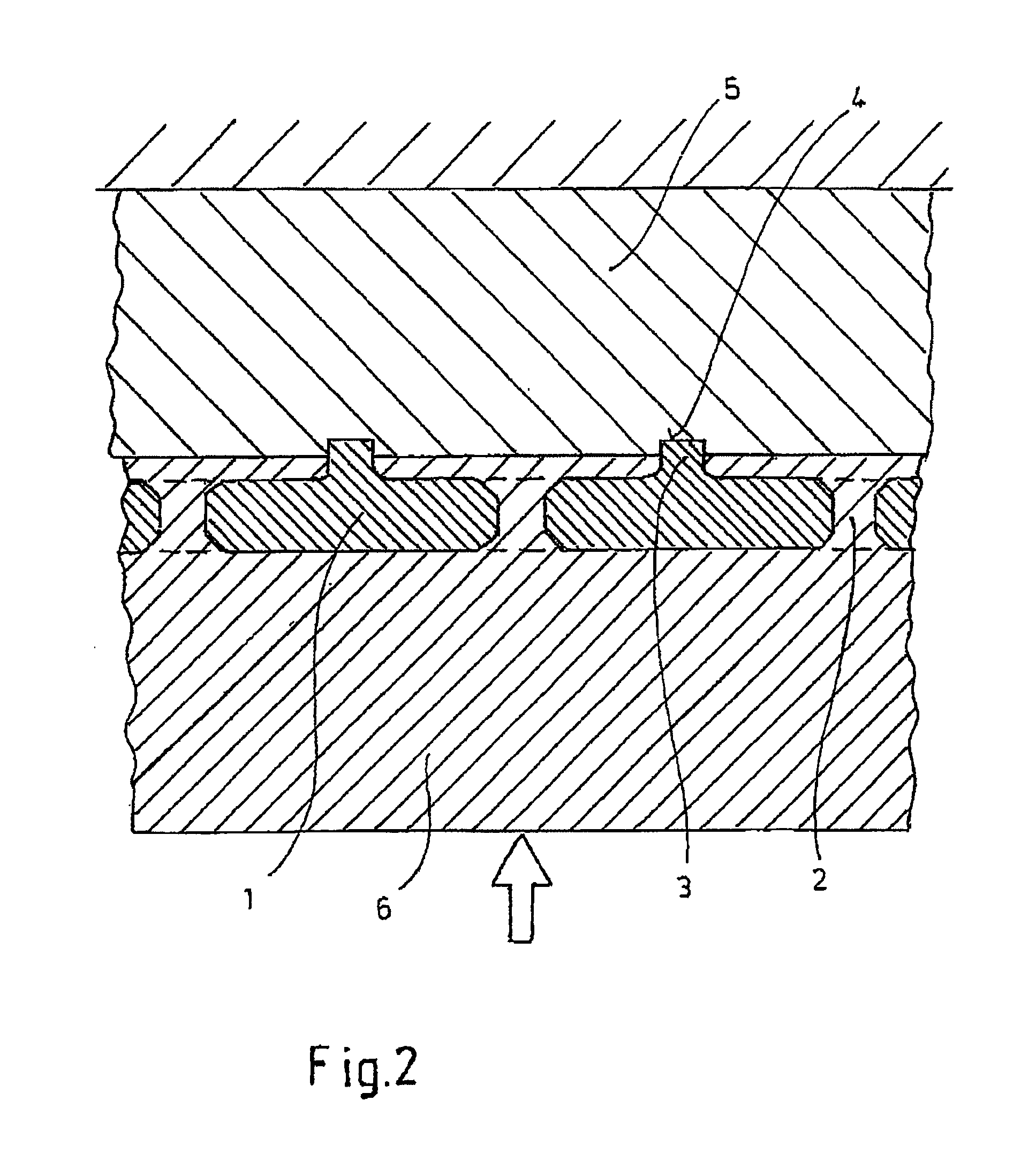
FIG. 2 shows a view corresponding to FIG. 1 with the at least partially moulded fuel tank, with the stiffening element connected to the tank wall still in the tool.

[0025]

For reasons of simplicity, the fuel tank according to the invention is not represented in the drawings. The finished fuel tank is formed in one piece from thermoplastic material and was preferably obtained by extrusion blow-moulding. For example, the fuel tank according to the invention may have been obtained by extruding a tubular, multilayered preform which has been divided at diametrically opposite points into two sheet-like semifinished products or from two extruded sheet-like preforms in web/strip form, which have been moulded into a closed hollow body in a multi-part, preferably three-part, blow-moulding tool in the first heat of the extrudate. During the production of the fuel tank from thermoplastic material, the required functional internals of the fuel tank may have been integrated in it during the moulding of the fuel tank. The fuel tank may have been produced from an altogether six-layered co-extrudate of thermoplastic material based on HDPE with at least one barrier layer for hydrocarbons.

[0026]

For the purposes of the invention, a pressure tank should be understood as meaning a fuel tank which can be hermetically sealed off from the atmosphere and is designed for pressure fluctuations of +400 mbar to −150 mbar internal pressure with respect to atmospheric pressure over a relatively long period of time.

[0027]

The production took place, for example, by introducing two sheet-like extrudates in web form as preforms into a three-part blow-moulding tool with two outer moulds and a central mould, the outer moulds forming the component parts of the tool that shape the finished article.

[0028]

The fuel tank according to the invention comprises one or more stiffening elements 1, which in the case of the exemplary embodiments described are formed as sheet-like perforated plates with through-openings 2.

[0029]

Stiffening elements 1 are provided on the outside of the tank wall of the finished fuel tank at all points at which increased material stresses in the material may occur as a result of pressure differences in the fuel tank.

[0030]

In the case of the exemplary embodiment represented, the stiffening element shown is formed as a perforated aluminium plate. This comprises in the region of a number of material webs between the through-openings 2 projections 3, which can be inserted into correspondingly formed depressions 4 in the tool 5. The depressions 4 in the tool 5 serve as positioning aids for the stiffening element 1. As an alternative to the depressions 4, it is possible to provide, for example, magnets or similar attaching elements, which interact with correspondingly magnetizable regions of the stiffening element 1 for the purpose of fixing the latter. However, the fixing of the stiffening elements 1 may also take place, for example, by means of a vacuum.

[0031]

The through-openings 2 in the stiffening element 1 are respectively widened on both sides in a funnel-shaped manner, in order to make it easier for the molten-hot polymer that forms the base material for the fuel tank to pass through, in such a way that the penetration of the molten-hot polymer through the through-openings 2 is facilitated and flowing behind the stiffening element 1 in the sense of an interlocking anchorage is achieved.

[0032]

In the case of the relatively large-area stiffening element 1, through-openings 2, such as are represented for example in FIGS. 1 and 2, may merely be provided in the edge regions or corner regions of the stiffening element 1.

[0033]

As intimated in the figures, first the stiffening element 1 is placed in the tool 5. Then a molten-hot preform 6 is introduced into the tool 5 and moulded by differential pressure within the tool 5 against the stiffening element placed in the tool 5. The warm-plastic material of the preform thereby penetrates and engages behind the through-openings 2 in the stiffening element in such a way that the stiffening element 1 is partially flowed behind. During the curing of the plastic of the preform 6, an interlocking engagement with the stiffening element 1 is established, formed in the region of the through-openings 2 in the manner of a riveted connection.

LIST OF DESIGNATIONS

[0034]

1 Stiffening element

2 Through-openings

3 Projections

4 Depressions

5 Tool

[0035]

6 Preform

Как компенсировать расходы
на инновационную разработку
Похожие патенты