заявка
№ US 20120257499
МПК H04W28/02

POLICY AND CHARGING RULES FUNCTION (PCRF) AND PERFORMANCE INTELLIGENCE CENTER (PIC) BASED CONGESTION CONTROL

Авторы:
Amit H. Chatterjee Philippe Besset Yusun Kim Riley
Все (15)
Номер заявки
13330086
Дата подачи заявки
19.12.2011
Опубликовано
11.10.2012
Страна
US
Дата приоритета
15.12.2025
Номер приоритета
Страна приоритета
Как управлять
интеллектуальной собственностью
Чертежи 
4
Реферат

A system for congestion control in a mobile communications network includes a monitoring module configured to monitor message traffic associated with a cell in a mobile communications network. The message traffic includes control plane and user plane messages. The monitoring module determines, based on the message traffic, whether a predetermined congestion threshold associated with the cell in the mobile communications network has been crossed. In response to the threshold being crossed, the monitoring module generates a cell congestion notification message that includes the identity of subscribers that are contributing to the congestion. A policy server receives the cell congestion notification message and generates a PCC rule that modifies the policy of the one or more identified subscribers and for communicating the PCC rule to a PCEF.

Формула изобретения

1. A system for congestion control in a mobile communications network, the system comprising:

a monitoring module configured to:

monitor message traffic associated with a cell in a communications network, wherein the message traffic includes control plane and user plane messages;

determine, based on the message traffic, whether a pre-determined congestion threshold associated with the cell has been crossed; and

in response to determining that the congestion threshold associated with the cell has been crossed, generate a cell congestion notification message that includes the identity of one or more subscribers that are contributing to the congestion; and

a policy server configured to:

receive the cell congestion notification message;

generate a policy and charging control (PCC) rule that modifies the policy of the one or more identified subscribers; and

communicate the PCC rule to a policy and charging enforcement function (PCEF).

2. The system of claim 1 wherein the monitoring module is configured to monitor message traffic on an interface of at least one radio network control device.

3. The system of claim 2 wherein the interface comprises an Iu interface and wherein the at least one radio network control device comprises at least one radio network controller (RNC).

4. The system of claim 1 wherein the cell congestion notification message includes generating a cell congestion notification message that includes at least one international mobile station identifier (IMSI) for the one or more identified subscribers.

5. The system of claim 1 wherein the monitoring module is configured to determine whether the congestion threshold has been crossed by computing a congestion indicator based on circuit switched call volume, packet switched data volume, radio bearer establishments, rate of radio bearer releases caused by congestion, total amount of bandwidth allocated for circuit switched calls, total amount of bandwidth allocated for packet switched sessions, total amount of bandwidth de-allocated because of circuit switched call terminations, and total amount of bandwidth de-allocated because of packet switched session terminations.

6. The system of claim 1 wherein the monitoring module is configured to determine whether the predetermined congestion threshold has been crossed by computing a congestion indicator value based on key performance indicator (KPI) feeds from radio access network equipment, transmission control protocol (TCP) retransmission rates, average TCP round trip times, and historical data collected over a period of time.

7. The system of claim 1 wherein the cell congestion notification message includes one of: network resource usage information, mobile device type, user application identifying information, and geo-location information associated with a subscriber.

8. The system of claim 1 wherein the cell congestion notification message includes at least one of: a cell identifier and cell location information.

9. The system of claim 1 wherein the cell congestion notification message includes a cell congestion level indicator value.

10. The system of claim 1 wherein the policy server comprises a policy and charging rules function (PCRF).

11. The system of claim 1 wherein the PCEF comprises one of: a gateway general packet radio service support node (GGSN), a packet data network (PDN) gateway, and a deep packet inspection (DPI) element.

12. A method for congestion control in a mobile communications network, the method comprising:

monitoring control and user plane traffic associated with a cell in a mobile communications network;

determining, based on the monitored message traffic, whether a congestion threshold associated with the cell has been crossed;

in response to determining that the congestion threshold associated with the cell has been crossed, generating a congestion notification message that includes the identity of the one or more subscribers that are contributing to the congestion;

receiving the congestion notification message at a policy server;

generating a policy control and charging rule that modifies the policy of the one or more subscribers; and

communicating the PCC rule to a policy and charging enforcement function (PCEF).

13. The method of claim 12 wherein monitoring the control and user plane traffic includes monitoring the control and user plane traffic on an interface of at least one radio network control device.

14. The method of claim 12 wherein the interface comprises an Iu interface and wherein the at least one radio network control device comprises at least one radio network controller (RNC).

15. The method of claim 12 wherein determining whether the congestion threshold has been crossed includes computing a congestion indicator based on circuit switched call volume, packet switched data volume, radio bearer establishments, rate of radio bearer releases caused by congestion, total amount of bandwidth allocated for circuit switched calls, total amount of bandwidth allocated for packet switched sessions, total amount of bandwidth de-allocated because of circuit switched call terminations, and total amount of bandwidth de-allocated because of packet switched session terminations.

16. The method of claim 12 wherein determining whether the predetermined congestion threshold has been crossed includes computing a congestion indicator value based on key performance indicator (KPI) feeds from radio access network equipment, transmission control protocol (TCP) retransmission rates, average TCP round trip times, and historical data collected over a period of time.

17. The method of claim 12 wherein generating the cell congestion notification message includes including international mobile subscriber identifiers (IMSIs) in the congestion notification message.

18. The method of claim 12 wherein generating the cell congestion notification message includes identifying network resource usage information, mobile device handset type, user application identifying information, and geo location information associated with a subscriber in the message.

19. The method of claim 12 wherein generating the cell congestion notification message includes including at least one of a cell identifier and cell location information in cell congestion notification message.

20. The method of claim 12 wherein generating the cell congestion notification message includes including a cell congestion level indicator value in the cell congestion notification message.

21. The method of claim 12 wherein the policy server comprises a policy and charging rules function (PCRF).

22. The method of claim 12 wherein the PCEF comprises one of a gateway general packet radio service support node (GGSN), a packet data network (PDN) gateway, and a deep packet inspection (DPI) element.

23. A non-transitory computer readable medium having stored thereon executable instructions that when executed by the processor of a computer control the computer to perform steps comprising:

monitoring control and user plane traffic associated with a cell in a mobile communications network;

determining, based on the monitored message traffic, whether a congestion threshold associated with the cell has been crossed;

in response to determining that the congestion threshold associated with the cell has been crossed, generating a congestion notification message that includes the identity of the one or more subscribers that are contributing to the congestion;

receiving the congestion notification message at a policy server;

generating a policy control and charging rule that modifies the policy of the one or more subscribers; and

communicating the PCC rule to a policy and charging enforcement function (PCEF).

Описание

PRIORITY CLAIM

[0001]

This application claims the benefit of U.S. Provisional Patent Application Ser. No. 61/424,603 filed Dec. 17, 2010; the disclosure of which is incorporated herein by reference in its entirety.

TECHNICAL FIELD

[0002]

The subject matter described herein relates to congestion control in mobile communications networks. More particularly, the subject matter described herein relates to PCRF and PIC based congestion control.

BACKGROUND

[0003]

Service providers are facing radio access network (RAN) congestion challenges as a result of the explosive growth in mobile data traffic. Current growth is being driven by increasing 3G and 4G penetration, widespread adoption of new smart phone devices, and increasing use of bandwidth intensive applications. Such growth has resulted in service degradation for mobile subscribers attached to congested cell sites and has created challenges in implementing fair usage policies to manage network congestion in the core network and in the RAN.

[0004]

The congestion in a cell is primarily caused by one or more of the following types of traffic:

    • 1. Circuit-Switched Traffic: Because circuit-switched calls are given higher priority compared to data sessions, excessive amounts of circuit-switched calls made by subscribers from a cell may contribute to cell congestion. Circuit-switched calls are allocated bandwidth resources during call setup, which is part of the total amount of resources available to the cell.
    • 2. Signaling Traffic: Excessive amounts of signaling messages exchanged between the mobile phones and the radio tower may contribute to cell congestion. Excessive signaling messages are exchanged because of a number of factors including mobile phones trying to conserve battery power, interference from other cells, etc.
    • 3. User Data Traffic: Excessive amounts of data usage by subscribers from smart phones and from 3G and 4G wireless cards (dongles) on their computers may contribute to cell congestion. Each data session is allocated a fixed amount of bandwidth during the session setup, which is a part of the total amount of bandwidth available to the cell.
      Each of these types of traffic individually and together contribute to cell congestion. It is desirable to find a way to fairly and efficiently control bandwidth usage in a cell. Accordingly, there exists a need for methods, systems, and computer readable media for PCRF and PIC based congestion control.

SUMMARY

[0008]

The subject matter described herein includes methods, systems, and computer readable media for PCRF and PIC based congestion control. According to one aspect, the subject matter described herein includes a system for congestion control in a mobile communications network. The system includes a monitoring module configured to monitor message traffic associated with a cell in a mobile communications network. The message traffic includes control plane and user plane messages. The monitoring module determines based on the message traffic, whether a predetermined congestion threshold associated with the cell in the mobile communications network has been crossed. In response to determining that the congestion threshold associated with the cell has been crossed, the monitoring module generates a cell congestion notification message that includes the identity of one or more subscribers that are contributing to the congestion. The system includes a policy server configured to receive the cell congestion notification message and to generate a policy and charging control (PCC) rule that modifies the policy of the one or more identified subscribers and for communicating the PCC rule to a policy and charging enforcement function (PCEF).

[0009]

As used herein, the term “cell” refers to a definable part of the access portion of a mobile communications network. For example, a cell may be an area served by a radio tower in a 3G, 4G, or subsequent generation mobile communications network. A cell may also be an area served by a wireless access point where Wi-Fi is used to access a mobile communications network.

[0010]

The subject matter described herein can be implemented using a non-transitory computer readable medium having stored thereon executable instructions that when executed by the processor of a computer control the computer to perform steps. Exemplary computer readable media suitable for implementing the subject matter described herein include chip memory devices, disk memory devices, programmable logic devices, and application specific integrated circuits. In addition, a computer readable medium that implements the subject matter described herein may be located on a single device or computing platform or maybe distributed across plural devices or computing platforms.

BRIEF DESCRIPTION OF THE DRAWINGS

[0011]

The subject matter described herein will now be explained with reference to the accompanying drawings of which:

[0012]

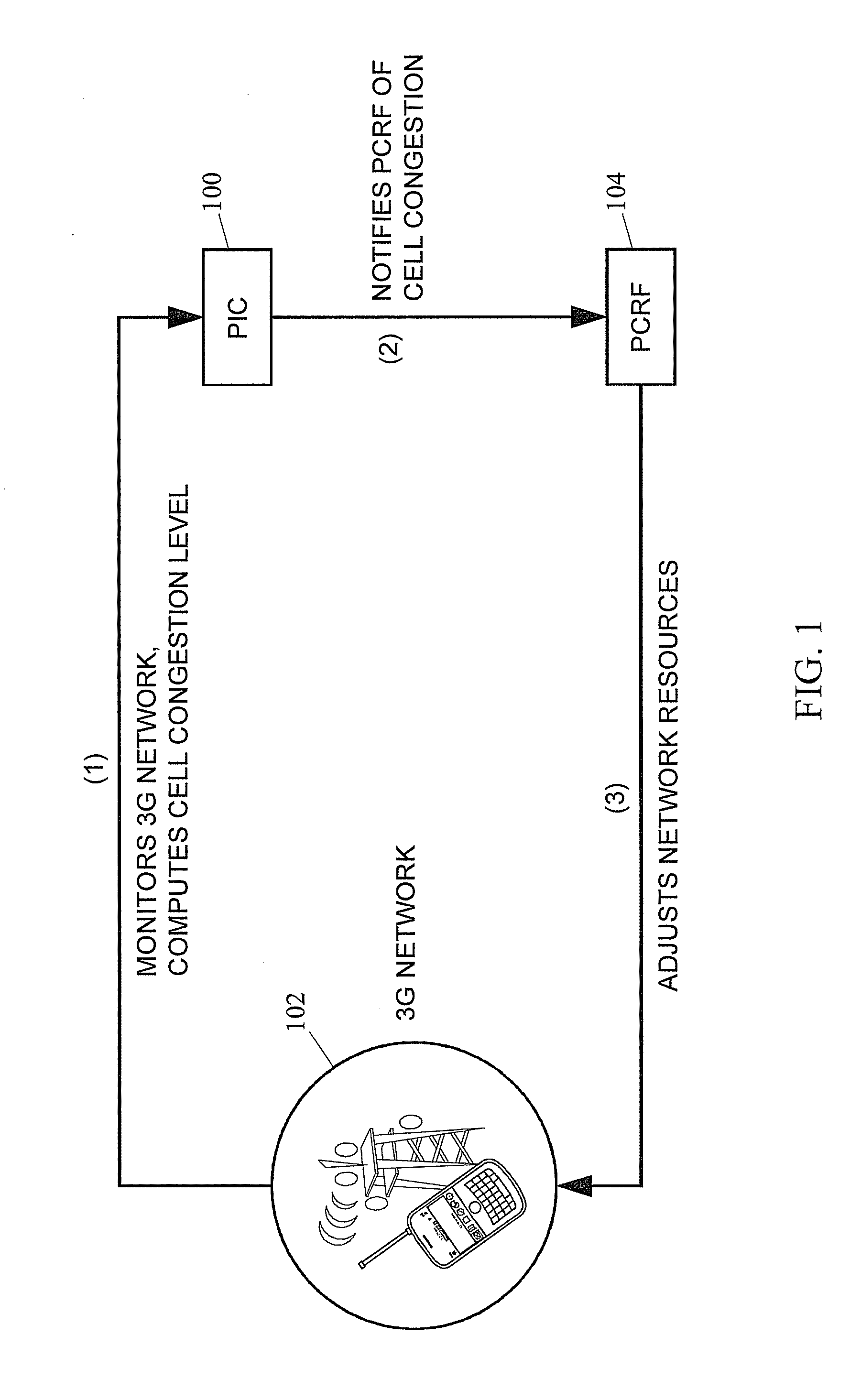
FIG. 1 is a network diagram illustrating exemplary network components for PIC and PCRF based congestion control according to an embodiment of the subject matter described herein;

[0013]

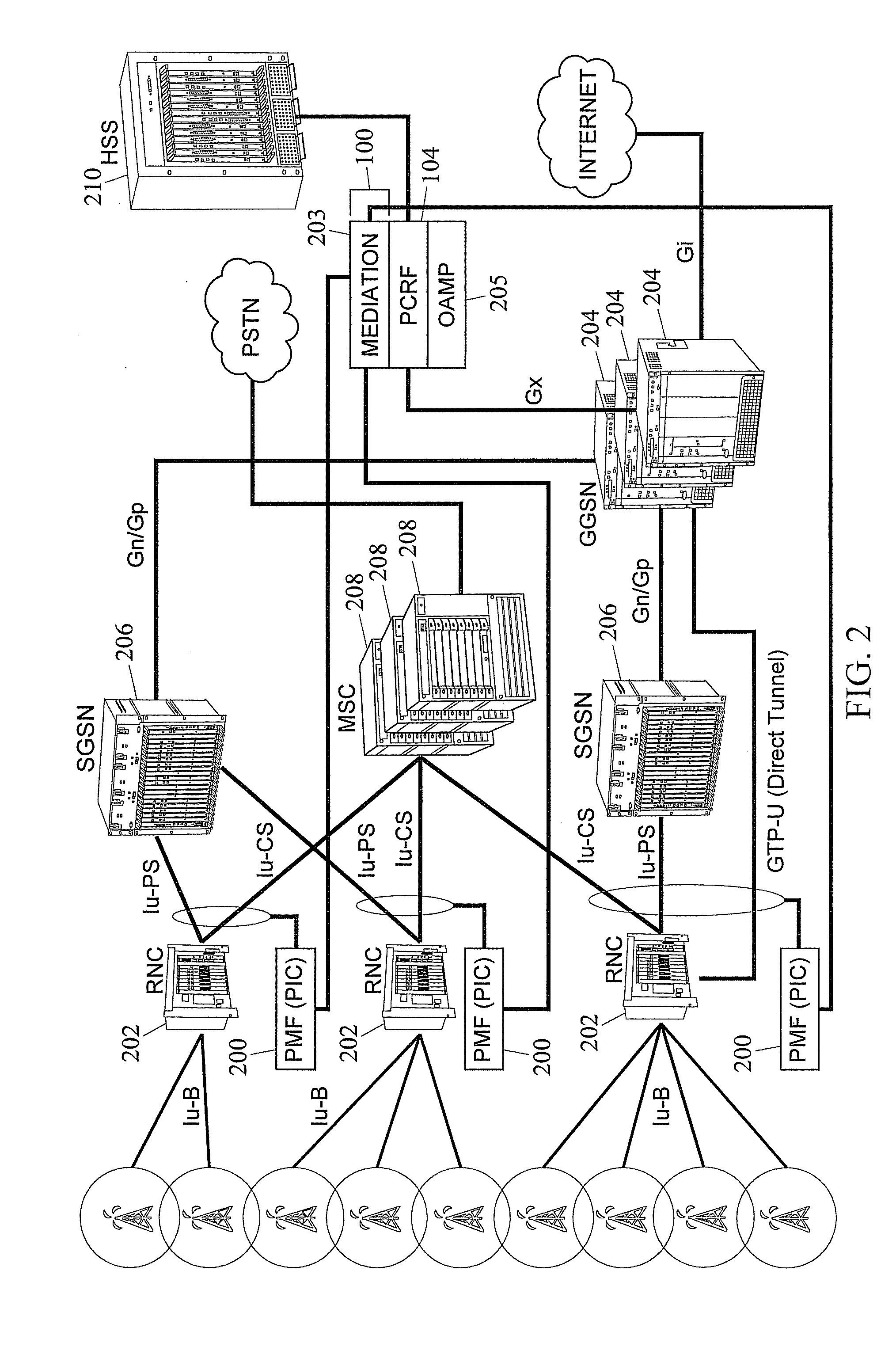
FIG. 2 is a network diagram illustrating an exemplary deployment of the components for PIC and PCRF based congestion control from FIG. 1 in a mobile communication according to an embodiment of the subject matter described herein;

[0014]

FIG. 3 is a network diagram illustrating additional details of the network components for PIC and PCRF based congestion from FIG. 1 control according to an embodiment of the subject matter described herein; and

[0015]

FIG. 4 is a flow chart illustrating an exemplary process for PIC and PCRF based congestion control according to an embodiment of the subject matter described herein.

DETAILED DESCRIPTION

[0016]

According to one aspect, the subject matter described herein includes a RAN congestion mitigation solution. The RAN congestion mitigation solution detects congestion in radio cells in near real -time by monitoring, measuring and interpreting signaling and data messages exchanged between network elements in a 3G, 4G, or NG network, where N is an integer greater than 4. On cells that are congested, the solution attempts to mitigate the effects of the congestion on the packet switched data traffic by applying bandwidth management policies. Examples of such policies include:

    • 1. Lowering the overall bandwidth utilization in the affected cell by lowering the bandwidth utilization of subscribers who are over-using network resources. The solution identifies subscribers who are consuming unusually high proportions of the bandwidth and lowers their quality of service. This enables the rest of the subscribers to get access to the additional amount of bandwidth that got freed up, thereby, improving their quality of experience.
    • 2. Redistributing the bandwidth proportionally based on managed subscriber tiers. This ensures that subscribers in the higher tiers are allocated more bandwidth compared to subscribers in the lower tiers.

[0019]

The solution also analyzes the collected data to produce reports that help the service provider plan and tune their radio network resources.

[0020]

One exemplary implementation of the subject matter described herein integrates two network elements:

[0021]

1. Performance Intelligence Center (PIC), generically referred to herein as the monitoring module.

[0022]

2. Policy and Charging Rules Function (PCRF), generically referred to herein as the policy server.

[0023]

The function of the PIC or monitoring module is to detect cell congestion and the severity of the congestion using control and/or user plane link probes that monitor, from the wireline side, communications to and from network elements that connect to a radio access network (e.g., GRAN, GERAN, UTRAN, Long Term Evolution, E-UTRAN, Wi-Fi access network, WiMax access network, etc.) and to notify the PCRF when congestion/decongestion conditions occur. The PIC or monitoring module may alternatively monitor messages on the wireless side of the RNC, i.e., between the RNC and the eNode B, without departing from the scope of the subject matter described herein.

[0024]

The function of the PCRF or policy server is to act on the cell congestion data provided by PIC and apply appropriate policies to mitigate the congestion. According to one aspect of the subject matter described herein, a PIC monitoring module and a PCRF work together to detect and mitigate cell congestion in a wireless or radio access network and exemplary architectures and operational scenarios are described in detail below.

[0025]

A new set of policies relating to RAN congestion is added in the PCRF. The policies can be provisioned by the service provider to define rules that are to be applied when congestion occurs. Exemplary rules include adjusting the quality of service (QoS) for subscribers in the congested cells and/or denying new context activations from mobile subscribers. A new messaging infrastructure is implemented for the PIC—PCRF communication.

Theory of Operation

High Level Functional Description

[0026]

As mentioned in the previous section, one exemplary implementation of the subject matter described herein includes a PIC and a PCRF, as shown in FIG. 1. In FIG. 1, PIC or monitoring module 100 monitors traffic associated with mobile subscribers in mobile communications network 102, computes a level of congestion in mobile communications network 102 and notifies PCRF or policy server 104 when a specified congestion level is exceeded. The computed level of congestion may be a level of congestion in the radio access network, the core network, or both. Included in the congestion information provided to the PCRF is information that identifies one or more mobile subscribers that may be associated with the identified RAN congestion event. PCRF or policy server 104 may communicate with a policy and charging enforcement function (PCEF) (not shown in FIG. 1) to adjust the policies of the identified mobile subscribers to mitigate the congestion.

[0027]

FIG. 2 illustrates an exemplary architecture of a mobile communications network including a system for PIC and PCRF based congestion control according to an embodiment of the subject matter described herein in more detail. In FIG. 2, PIC 100 is co-located with PCRF 104, PIC 100 includes link probes 200 that tap various interfaces and copy signaling messages, data traffic, and circuit switched traffic from those interfaces for network performance analysis purposes. The original signaling messages, data traffic, and circuit switched traffic continue to their original destinations. The copied signaling messages, data traffic, and circuit switched traffic are provided to one or more downstream applications for further processing, such as RAN congestion determination processing.

[0028]

In the illustrated example, probes 200 are co-located with RNCs 202. In an alternate example, probes 200 may be integrated within RNCs 202. The function of PIC 100 is to monitor the Iu packet switched (Iu-PS), Iu circuit switched (Iu-CS) interfaces and general packet radio service tunneling protocol (GTP) direct tunnels between RNC 202 and gateway GPRS support nodes (GGSNs) 204, servicing GPRS support nodes (SGSNs) 206, and mobile switching centers (MSCs) 208, measure network performance and detect congestion of cells. Probes 200 tap the above-mentioned interfaces and acquire all the PDUs being exchanged between RNCs 202 and SGSNs 206 and between RNCs 202 and GGSNs 204 (direct tunnel). PIC 100 uses the collected protocol data untis (PDUs) to compute bandwidth usage per cell site as well as other indications of congestion. PIC 100 notifies PCRF 104 when there is a change in the congestion level.

[0029]

FIG. 3 illustrates exemplary architecture for PIC 100 in more detail. In the illustrated example, PIC 100 includes the following sub-systems:

    • 1. Probe message feeder (PMF) servers 200 with IP probes for non-intrusively monitoring the Iu-PS, Iu-CS and direct tunnel interfaces. In FIG. 2, PMF servers 200 are illustrated using the “Probe” component 200.
    • 2. Integrated call or session detail record (XDR) processing (IXP) servers 203 for processing the information and detecting RAN congestion. IXP servers 203 may generate call and/or session details records and use information derived from these records to make congestion determinations. In FIG. 2, IXP servers 203 are illustrated as “Mediation” component 203.
    • 3. A network services platform (NSP) server 205 for system configuration and presenting the RAN congestion analytics. In FIG. 2, NSP server 205 is illustrated as the “OAMP” component 205.
      As shown in FIGS. 2 and 3, IXP 203 and NSP servers 205 are co-located with PCRF 104. The PIC system acts as an adjunct component to PCRF 104 that provides a window to activities occurring in the radio network.

[0033]

PCRF 104 system receives congestion/decongestion notification messages from the PIC monitoring module (IXP) and applies appropriate subscriber policy control actions. The subscriber policies may be communicated to GGSNs 204 using Diameter messages on the Gx interface. GGSNs 204 enforce the policy rules provisioned by PCRF 104. PCRF 104 may also access/utilize subscriber profile information (e.g., subscriber service level [e.g., Platinum, Gold, Silver], etc.) in the process of making policy decisions. Subscriber profile data may be stored, for example, in a subscriber profile repository (SPR), subscriber data management (SDM) module, a home location register (HLR), or a home subscriber server (HSS). In this example, PCRF 104 supports standard 3GPP-specified interfaces for retrieving subscriber information from HSS 210. In one embodiment, where PCRF 104 is configured to use HSS 210, HSS 210 can be provisioned as the subscriber data source. If HSS 210 is integrated with PCRF 104, PCRF 104 automatically merges information from HSS 210 when a Gx session for a particular IMSI or hardware ID is bound to the PCRF. In one embodiment, PCRF 104 automatically queries HSS 210 at the time of Gx attachment in order to retrieve information regarding the subscriber.

[0034]

In the example illustrated in FIG. 3, PCRF 104 includes the following sub-systems:

    • 1. Multimedia policy engine (MPE) servers 300 implement the policy charging and enforcement functions as specified by the 3GPP specifications.
    • 2. A CMP server 302 for policy configuration and monitoring.

PIC Functional Description

RAN Congestion Detection

[0037]

PIC 100 may monitor message traffic on a wired interface of a radio network control device. For example, PIC 100 may monitor the Iu interface of an RNC. However, all the data needed to compute data usage and detect congestion may not be available from the Iu interface. PIC 100 may not monitor the Iu-b interface (interface between the node B and the RNC) and therefore may not have a view into the radio resource control messages being exchanged between the node Bs and the RNC. Monitoring Iu-b messages in order to determine congestion requires too many probes and is not considered to be a viable approach by most service providers. The lack of Iu-b monitoring is compensated for by employing an approximation-based detection algorithm for identifying RAN congestion. In an exemplary LTE embodiment, a PIC monitoring module may monitor traffic associated with mobile subscribers on communication links associated with an S1-C and/or and S1-U interface between an eNode B and a Mobility Management Entity (MME). In another exemplary embodiment, in order to obtain mobile subscriber identifying information, a PIC monitoring module may monitor control plane traffic (e.g., Update Location Request/Answer, Cancel Location Request/Answer, etc.) associated with mobile subscribers on communication links associated with an S6 interface between an MME and an HSS. In another exemplary embodiment, in order to obtain mobile subscriber identifying information, a PIC monitoring module may monitor control plane traffic (e.g., MAP Update Location, MAP Insert Subscriber Data, MAP Cancel Location, etc.) associated with mobile subscribers on communication links associated with an MAP interface between an mobile switching center (MSC) and a home location register (HLR), and/or between a SGSN and HLR.

[0038]

In one implementation, a RAN congestion application residing in IXP 203 utilizes the following metrics per cell to assist in the identification of RAN congestion. This approach is the simplest to implement, and the solution scales up very well.

    • 1. Circuit switched call volume.
    • 2. Packet switched data volume.
    • 3. Radio bearer establishment/reestablishment allocated/granted rankings.
    • 4. Rate of radio bearer releases caused by congestion.
    • 5. Total amount of bandwidth allocated for circuit switched calls.
    • 6. Total amount of bandwidth allocated for packet switched sessions.
    • 7. Total amount of bandwidth de-allocated by the RNC because of circuit switched call terminations.
    • 8. Total amount of bandwidth de-allocated by the RNC because of packet switched session terminations.
      Optional additional metrics are also employed to enhance the accuracy of detection of RAN congestion, including but not limited to:
  • 1) Key performance indicator (KPI) feeds from the RAN equipment (measurements to be determined): This KPI may be able provide very good indications of cell congestion. Given that different RAN vendors have different KPI output and have different methods for extraction of the KPI, integration work is required at site to extract, transform and load the data into PIC in near real time.
  • 2) TCP Retransmission rate (number/s) and average TCP round-trip time (RTT): These parameters can be used to detect issues with the radio network.
  • 3) Historical data collected over a period of time.
    The RAN congestion application computes the above-mentioned measurements every 30 seconds (configurable) based on the data collected from the probes and computes a normalized congestion value (NCV) for a cell by comparing each of the measurements with preconfigured thresholds and applying a configurable weight factor for each of the measurements. The computation produces a NOV between 0 and 100. The configurable nature of the thresholds and weights allow the network operator to fine-tune the algorithm based on the characteristics of the network. The NOV may be a normalized value of a chosen congestion metric measured at the cell site, normalized over all cell sites. An example is percentage of bandwidth used up for user data in a cell site (this value is already normalized, being expressed as a 0-100 number). The reference load or threshold may be procured from operator configuration or based on hysteresis.

Congestion Level

[0050]

When a congestion condition is detected, the information is communicated to the PCRF by providing the location, congestion level and other useful information. In one exemplary implementation, PIC 100 supports the following three congestion levels:

  • 1) NORMAL: The site is not congested.
  • 2) WARNING: The site is moderately congested.
  • 3) SEVERE: The site has reached/exceeded its capacity.
    A normalized congestion value (NCV) computed by PIC 100 is compared with preconfigured threshold levels to determine the congestion level. PIC 100 sends a notification to PCRF 104 when the congestion level is different from the congestion level computed during the previous interval.

[0054]

To avoid jittery notifications, a hysteresis value is applied to the NCV. The value is configurable and has a default value of 2%. This value is used to temper the notification mechanism so that PCRF 104 does not receive notification messages when a threshold is crossed by a small factor.

PCRF Functional Description

[0055]

PCRF actions and algorithms will now be described. Initially, a new IP-CAN setup initializes a Gx session at the PCRF between PCRF and the PCEF. In one embodiment, the PCRF will, using any number of configured data sources, and procure the information for the attached session (using IMSI as a key, for example). In another embodiment, the PCRF receives a message from the PIC over an interface between the PIC and the PCRF listing the following information:

[0056]

(1) Cell global identifier (CGI)

[0057]

(2) Load indicator: WARNING or SEVERE

[0058]

(3) List of IMSIs in cell site

[0000]

A number of configurables on the PCRF may be needed for triggering action by the PCRF. Exemplary configurables are detailed below:

    • (1) Cell-site congestion status-based rules are to be configured, and an appropriate action(s) is/are to be configured. For example, one could configure a rule that is described as follows: “When the cell-site congestion status==WARNING, reduce the QoS to 100 kbps,” or “When the cell-site congestion status==SEVERE and user tier==BRONZE, reduce QoS to 10 kbps” etc.
    • (2) Un-re-QoSing intervals need to be configured. These intervals determine how long the re-QoSed flow will remain before the QoS will be restored back to original levels.

Interface Descriptions

[0061]

This section describes exemplary messaging interface between PIC 100 and PCRF 104. As mentioned in the previous section, PIC 100 sends a notification message to PCRF 104 when a congestion level is exceeded. In one embodiment, this is the only message that is exchanged between the two network elements, although other embodiments may involve additional messages. The following section describes a congestion notification message as well as the other messages that may be exchanged between PIC 100 and PCRF 104 according to an embodiment of the subject matter described herein.

[0062]

Congestion notification messages may be exchanged using a SOAP/HTTP/TCP/IP transport over an agreed upon port. The SOAP service may be served by the PCRF, and the PIC acts as the SOAP client. The message may be encrypted and there may be a BASIC authentication mechanism at the server end (PCRF) to authenticate the sender (PIC).

[0063]

The request message may be encoded as per SOAP rules. As with any SOAP message, the message consists of a request-response pair with a response timeout set to 30 seconds at the client level.

Congestion Notification Message

[0064]

This message may be sent by PIC 100 to notify PCRF 104 of changes to the congestion level. As mentioned earlier, the message may be sent to PCRF 104 if there is a change in the congestion level. The request message may include, but is not limited to, the following elements:

    • Location: Location of the cell including:
      • MCC (mobile country code)
      • MNC (mobile network code)
      • LAC (location area code)
      • CI/SAC/RAC (cell identity).
    • Congestion level: NORMAL, WARNING, SEVERE.
    • Subscriber List in the congested/decongested cell containing the following information:
      • IMSI
      • % Bandwidth usage
      • Handset type
      • Application
    • Direction indicator: UP or DOWN to indicate if the new level was an upward or a downward change.
      The response message is an acknowledgement with no parameters.

[0077]

FIG. 4 is a flow chart illustrating exemplary overall steps for PIC and PCRF based congestion control according to an embodiment of the subject matter described herein. Referring to FIG. 4, in step 400, a monitoring module monitors message traffic associated with a cell in a mobile communications networks. The message traffic includes control plane and user plane messages. For example, PIC 100 may monitor signaling messages, data traffic, and call related traffic associated with a cell using probes 200 illustrated in FIG. 2. In step 402, the monitoring module determines, based on the message traffic, whether a predetermined congestion threshold associated with a cell has been crossed. For example, PIC 100 may compare measured traffic levels for the cell with a reference traffic level for the cell to determine whether congestion exists. In step 404, in response to determining that the predetermined threshold associated with a cell has been crossed, the monitoring module generates a cell congestion notification message that includes the identity of one or more subscribers that are contributing to the congestion. For example, PIC 100 may generate the above described congestion notification message including parameters that identify the subscriber(s) contributing the congestion and parameters that identify the cell.

[0078]

In step 406, a policy server receives the congestion notification message. For example, PCRF 104 may receive the congestion notification message from PIC 100. In step 408, the policy server generates a policy and charging control (PCC) rule that modifies the policy of the one or more identified subscribers. For example, PCRF 104 may generate a PCC rule to reduce the QoS for the subscribers identified in the congestion notification message. In step 408, the policy server communicates the PCC rule to a policy and charging enforcement function. For example, PCRF 104 may communicate the PCC rule to a PDN gateway, a DPI, a gateway GPRS support node, or other node capable of enforcing the policy for the identified subscribers.

[0079]

It will be understood that various details of the subject matter described herein may be changed without departing from the scope of the subject matter described herein. Furthermore, the foregoing description is for the purpose of illustration only, and not for the purpose of limitation, as the subject matter described herein is defined by the claims as set forth hereinafter.

Как компенсировать расходы
на инновационную разработку
Похожие патенты