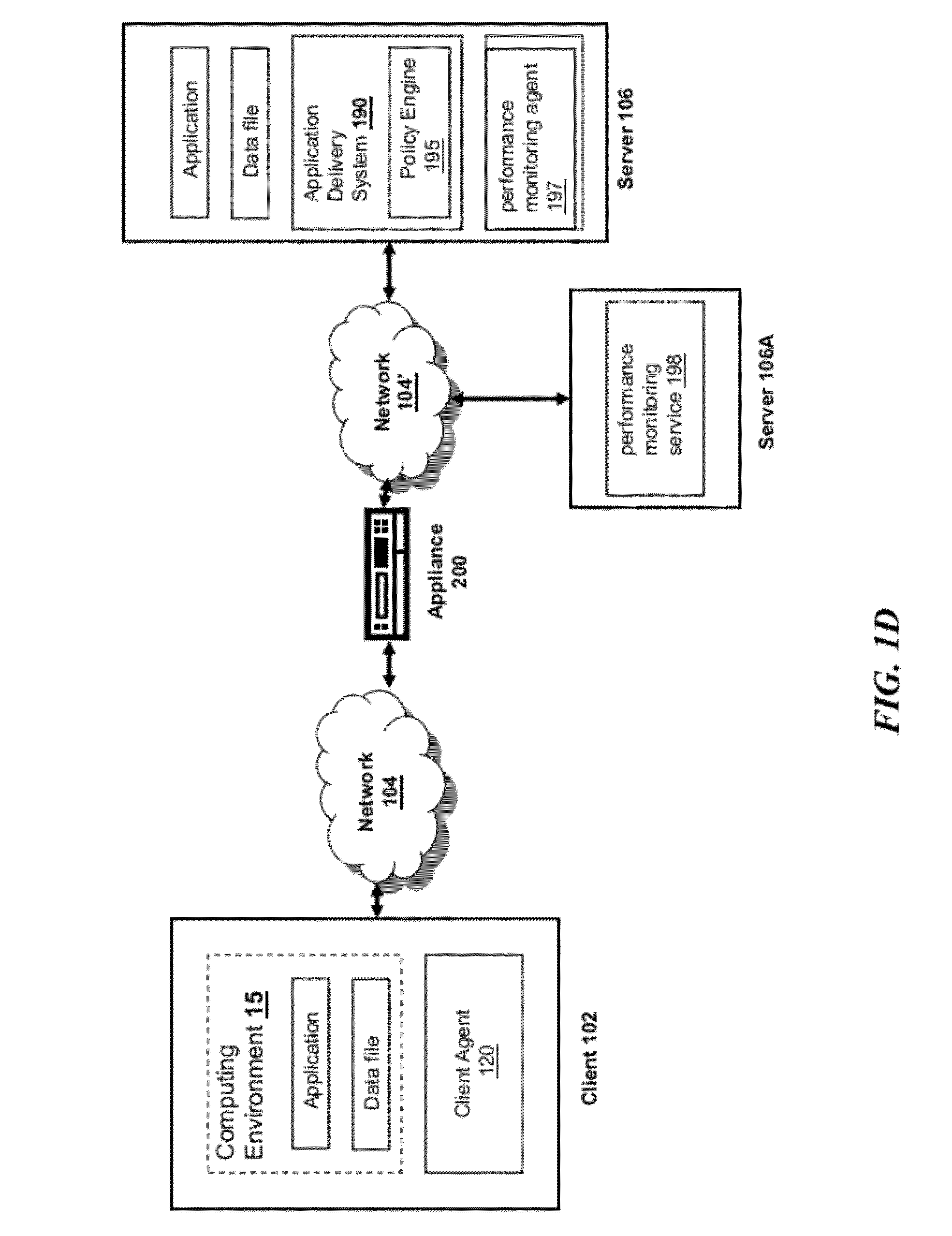
The present disclosure describes systems and methods for load balancing multiple application delivery controllers (ADCs) in multiple tiers. An upper layer of the tier comprises ADCs that load balance the plurality of ADCs of a lower layer of the tier. In order to appropriately share and maintain client IPs for transparent cache redirection scenarios, the transport layer (Transport Control Protocol (TCP)) port range is split among the ADCs of the lower tier. The lower tier ADCs would then create a connection only using a source port assigned to them. The response from the origin will then be sent to the upper level ADC which looks at the destination port and forward the packet to the correct lower tier ADC. Hence, the ADCs at two levels will work in conjunction to provide transparent cache direction.
1. A method for managing layers of intermediary devices providing cache redirection of client requests, the method comprising:
(a) receiving, by a first intermediary device of a first layer of one or more intermediary devices that load balance a plurality of intermediary devices of a second layer, a first request of a client to an origin server, each of the plurality of intermediary devices of the second layer configured to receive requests on a predetermined range of ports different than another intermediary device of the second layer; (b) forwarding, by the first intermediary device of the first layer to a second intermediary device of the plurality of intermediary devices of the second layer, the first request of the client responsive to load balancing the first request; (c) transmitting, by the second intermediary device of the second layer responsive to determining the first request is cacheable, the first request to a cache server; (d) transmitting, by the second intermediary device to the origin server, a second request sent from the cache server to the origin server responsive to a cache miss; and (e) transmitting, by the first intermediary device of the first layer, the response to the second request from the origin server to the second intermediary device of the second layer responsive to applying a policy-based route rule on a destination port identified via the response as corresponding to a port of the predetermined range of ports of the second intermediary device. 2. The method of 3. The method of 4. The method of 5. The method of 6. The method of 7. The method of 8. The method of 9. The method of 10. The method of 11. A system for managing tiers of intermediary devices providing cache redirection of client requests, the system comprising:
a first layer comprising one or more intermediary devices; a second layer comprising a plurality of intermediary devices in communication with and load balanced by the one or more intermediary devices of the first layer, each of the plurality of intermediary devices of the second layer configured to receive requests on a predetermined range of ports different than another intermediary device of the second layer; a first intermediary device of the one or more intermediary devices of the first layer receiving a first request of a client to an origin server and forwarding, responsive to load balancing, the first request to a second intermediary device of the plurality of intermediary devices of the second layer; wherein the second intermediary device of the second layer transmits the first request to a cache server responsive to determining the first request is cacheable and responsive to a cache miss forwards to the origin server a second request sent from the cache server to the origin server; and wherein the first intermediary device of the first layer transmits the response to the second request from the origin server to the second intermediary device of the second layer responsive to applying a policy-based route rule on a destination port identified via the response as corresponding to a port of the predetermined range of ports of the second intermediary device. 12. The system of 13. The system of 14. The system of 15. The system of 16. The system of 17. The system of 18. The system of 19. The system of 20. The system of
The present application claims priority to and is a continuation of U.S. Provisional Application No. 61/441,098, entitled “Systems and Methods For nTier Cache Redirection” and filed on Feb. 9, 2011, which is incorporated herein by reference in its entirety. A portion of the disclosure of this patent document contains material which is subject to copyright protection. The copyright owner has no objection to the facsimile reproduction by anyone of the patent document or the patent disclosure, as it appears in the file or records of the Patent and Trademark Office, but otherwise reserves all copyright rights whatsoever. The present application generally relates to data communication networks. In particular, the present application relates to systems and methods for cache redirection amongst a plurality of tiers of intermediary devices. In some environments, an intermediary device may be used to act as an application delivery controller. Such an intermediary device may perform traffic management of network traffic traversing the device. In Internet Service Provider (ISP) environments, the amount of traffic flowing via the network and such devices can be large. For example, 10s of gigabytes of traffic may flow through such a device. The large volume of traffic may cause challenges in performance and operations of the application delivery controller. The ADC can redirect cacheable requests to cache servers and send non-cacheable or dynamic requests to origin servers. Cache servers store frequently requested Web content and serve this content to a client on behalf of an origin server. This lightens the load on the origin server farm. In some cases, the large volume of traffic in ISP environments causes challenges with performance and operation for performing cache redirection by the application delivery controller or ADC. As a solution to these challenges, the present disclosure describes systems and methods for load balancing multiple ADCs in multiple tiers. An upper layer of the tier comprises ADCs that load balance the plurality of ADCs of a lower layer of the tier. In order to appropriately share and maintain client IPs for transparent cache redirection scenarios, the transport layer (Transport Control Protocol (TCP)) port range is split among the ADCs of the lower tier. The lower tier ADCs would then create a connection only using a source port assigned to them. The response from the origin will then be sent to the upper level ADC which looks at the destination port and forward the packet to the correct lower tier ADC. Hence, the ADCs at two levels will work in conjunction to provide transparent cache direction. In some aspects, the present solution is directed to a method for managing layers of intermediary devices providing cache redirection of client requests. The method includes receiving, by a first intermediary device of a first layer of one or more intermediary devices that load balance a plurality of intermediary devices of a second layer, a first request of a client to an origin server. Each of the plurality of intermediary devices of the second layer configured to receive requests on a predetermined range of ports different than another intermediary device of the second layer. The method may include forwarding, by the first intermediary device of the first layer to a second intermediary device of the plurality of intermediary devices of the second layer, the first request of the client responsive to load balancing the first request. Responsive to determining the first request is cacheable, the first request to a cache server, the second intermediary device may transmit the first request to a cache server. The method may further include transmitting, by the second intermediary device to the origin server, a second request sent from the cache server to the origin server responsive to a cache miss. The method may also include receiving and transmitting, by the first intermediary device of the first layer, the response to the second request from the origin server to the second intermediary device of the second layer responsive to applying a policy-based route rule on a destination port identified via the response as corresponding to a port of the predetermined range of ports of the second intermediary device. In some embodiments, the method includes allocating an available transport control protocol port range among each of the plurality of intermediary devices of the second layer. In some embodiments, the method includes identifying, by the first intermediary device, a source internet protocol (IP) address of the first request responsive to being configured in a mode to forward the source IP address without changing the source IP address. In some embodiments, the method includes forwarding, by the first intermediary device, the first request to the second intermediary device without changing the source IP address of the first request. In some embodiments, the method includes determining, by the second intermediary device, that the first request is cacheable responsive to applying an expression of a policy to content of the first request. In some embodiments, the method includes inserting, by the second intermediary device, the client's internet protocol address into the first request sent to the cache server. In some embodiments, the method includes receiving, by the second intermediary device from the cache server, the second request transmitted by the cache server using the destination IP address and destination port of the origin server and the source IP address and source port of the cache server. In some embodiments, the method includes modifying, by the second intermediary device, the second request to use the client's IP address as the source IP address and to use a source port selected from the predetermined range of ports allocated to the second intermediary device. In some embodiments, the method includes applying, by the first intermediary device, the policy-based routing rule based on matching the destination port of the response to the predetermined range of ports for the second intermediary device and identifying an IP address of the second intermediary device as a next hop. In some embodiments, the method includes transmitting, by the second intermediary device, the response to the first request of the first client based on the response of the origin server forwarded by the first intermediary device. In some aspects, the present solution is directed to a system for managing tiers of intermediary devices providing cache redirection of client requests. The system may include a first layer or tier comprising one or more intermediary devices and a second layer or tier comprising a plurality of intermediary devices in communication with and load balanced by the one or more intermediary devices of the first layer. Each of the plurality of intermediary devices of the second layer may be configured to receive requests on a predetermined range of ports different than another intermediary device of the second layer. A first intermediary device of the one or more intermediary devices of the first layer may receive a first request of a client to an origin server and forward, responsive to load balancing, the first request to a second intermediary device of the plurality of intermediary devices of the second layer. The second intermediary device of the second layer transmits the first request to a cache server responsive to determining the first request is cacheable and responsive to a cache miss forwards to the origin server a second request sent from the cache server to the origin server and intercepted by the second intermediary device. The first intermediary device of the first layer receives and transmits the response to the second request from the origin server to the second intermediary of the second layer responsive to applying a policy-based route rule on a destination port identified via the response as corresponding to a port of the predetermined range of ports of the second intermediary device. In some embodiments, each of the plurality of intermediary devices of the second layer is allocated a portion of an available transport control protocol port range. In some embodiments, the first intermediary device identifies a source internet protocol (IP) address of the first request responsive to being configured in a mode to forward the source IP address without changing the source IP address. In some embodiments, the first intermediary device transmits the first request to the second intermediary device without changing the source IP address of the first request. In some embodiments, the second intermediary device determines that the first request is cacheable responsive to applying an expression of a policy to content of the first request. In some embodiments, the second intermediary device inserts the client's internet protocol address into the first request sent to the cache server. In some embodiments, the second intermediary device from the cache server receives the second request transmitted by the cache server, the second request comprising the destination IP address and destination port of the origin server and the source IP address and source port of the cache server. In some embodiments, the second intermediary device modifies the second request to use the client's IP address as the source IP address and to use a source port selected from the predetermined range of ports allocated to the second intermediary device. In some embodiments, the first intermediary device applies the policy-based routing rule based on matching the destination port of the response to the predetermined range of ports for the second intermediary device and identifies an IP address of the second intermediary device as a next hop. In some embodiments, the second intermediary device transmits the response to the first request of the first client based on the response of the origin server forwarded by the first intermediary device. The details of various embodiments of the invention are set forth in the accompanying drawings and the description below. The foregoing and other objects, aspects, features, and advantages of the invention will become more apparent and better understood by referring to the following description taken in conjunction with the accompanying drawings, in which: The features and advantages of the present invention will become more apparent from the detailed description set forth below when taken in conjunction with the drawings, in which like reference characters identify corresponding elements throughout. In the drawings, like reference numbers generally indicate identical, functionally similar, and/or structurally similar elements. For purposes of reading the description of the various embodiments below, the following descriptions of the sections of the specification and their respective contents may be helpful:
Prior to discussing the specifics of embodiments of the systems and methods of an appliance and/or client, it may be helpful to discuss the network and computing environments in which such embodiments may be deployed. Referring now to Although The network 104 and/or 104′ be any type and/or form of network and may include any of the following: a point to point network, a broadcast network, a wide area network, a local area network, a telecommunications network, a data communication network, a computer network, an ATM (Asynchronous Transfer Mode) network, a SONET (Synchronous Optical Network) network, a SDH (Synchronous Digital Hierarchy) network, a wireless network and a wireline network. In some embodiments, the network 104 may comprise a wireless link, such as an infrared channel or satellite band. The topology of the network 104 and/or 104′ may be a bus, star, or ring network topology. The network 104 and/or 104′ and network topology may be of any such network or network topology as known to those ordinarily skilled in the art capable of supporting the operations described herein. As shown in In some embodiments, the appliance 200 comprises any of the network devices manufactured by Citrix Systems, Inc. of Ft. Lauderdale Fla., referred to as Citrix NetScaler devices. In other embodiments, the appliance 200 includes any of the product embodiments referred to as WebAccelerator and BigIP manufactured by F5 Networks, Inc. of Seattle, Wash. In another embodiment, the appliance 205 includes any of the DX acceleration device platforms and/or the SSL VPN series of devices, such as SA 700, SA 2000, SA 4000, and SA 6000 devices manufactured by Juniper Networks, Inc. of Sunnyvale, Calif. In yet another embodiment, the appliance 200 includes any application acceleration and/or security related appliances and/or software manufactured by Cisco Systems, Inc. of San Jose, Calif., such as the Cisco ACE Application Control Engine Module service software and network modules, and Cisco AVS Series Application Velocity System. In one embodiment, the system may include multiple, logically-grouped servers 106. In these embodiments, the logical group of servers may be referred to as a server farm 38. In some of these embodiments, the serves 106 may be geographically dispersed. In some cases, a farm 38 may be administered as a single entity. In other embodiments, the server farm 38 comprises a plurality of server farms 38. In one embodiment, the server farm executes one or more applications on behalf of one or more clients 102. The servers 106 within each farm 38 can be heterogeneous. One or more of the servers 106 can operate according to one type of operating system platform (e.g., WINDOWS NT, manufactured by Microsoft Corp. of Redmond, Wash.), while one or more of the other servers 106 can operate on according to another type of operating system platform (e.g., Unix or Linux). The servers 106 of each farm 38 do not need to be physically proximate to another server 106 in the same farm 38. Thus, the group of servers 106 logically grouped as a farm 38 may be interconnected using a wide-area network (WAN) connection or medium-area network (MAN) connection. For example, a farm 38 may include servers 106 physically located in different continents or different regions of a continent, country, state, city, campus, or room. Data transmission speeds between servers 106 in the farm 38 can be increased if the servers 106 are connected using a local-area network (LAN) connection or some form of direct connection. Servers 106 may be referred to as a file server, application server, web server, proxy server, or gateway server. In some embodiments, a server 106 may have the capacity to function as either an application server or as a master application server. In one embodiment, a server 106 may include an Active Directory. The clients 102 may also be referred to as client nodes or endpoints. In some embodiments, a client 102 has the capacity to function as both a client node seeking access to applications on a server and as an application server providing access to hosted applications for other clients 102 In some embodiments, a client 102 communicates with a server 106. In one embodiment, the client 102 communicates directly with one of the servers 106 in a farm 38. In another embodiment, the client 102 executes a program neighborhood application to communicate with a server 106 in a farm 38. In still another embodiment, the server 106 provides the functionality of a master node. In some embodiments, the client 102 communicates with the server 106 in the farm 38 through a network 104. Over the network 104, the client 102 can, for example, request execution of various applications hosted by the servers 106 In one embodiment, the server 106 provides functionality of a web server. In another embodiment, the server 106 Referring now to Referring now to In one embodiment, the appliance 205 is a device for accelerating, optimizing or otherwise improving the performance, operation, or quality of service of any type and form of network traffic, such as traffic to and/or from a WAN connection. In some embodiments, the appliance 205 is a performance enhancing proxy. In other embodiments, the appliance 205 is any type and form of WAN optimization or acceleration device, sometimes also referred to as a WAN optimization controller. In one embodiment, the appliance 205 is any of the product embodiments referred to as WANScaler manufactured by Citrix Systems, Inc. of Ft. Lauderdale, Fla. In other embodiments, the appliance 205 includes any of the product embodiments referred to as BIG-IP link controller and WANjet manufactured by F5 Networks, Inc. of Seattle, Wash. In another embodiment, the appliance 205 includes any of the WX and WXC WAN acceleration device platforms manufactured by Juniper Networks, Inc. of Sunnyvale, Calif. In some embodiments, the appliance 205 includes any of the steelhead line of WAN optimization appliances manufactured by Riverbed Technology of San Francisco, Calif. In other embodiments, the appliance 205 includes any of the WAN related devices manufactured by Expand Networks Inc. of Roseland, N.J. In one embodiment, the appliance 205 includes any of the WAN related appliances manufactured by Packeteer Inc. of Cupertino, Calif., such as the PacketShaper, iShared, and SkyX product embodiments provided by Packeteer. In yet another embodiment, the appliance 205 includes any WAN related appliances and/or software manufactured by Cisco Systems, Inc. of San Jose, Calif., such as the Cisco Wide Area Network Application Services software and network modules, and Wide Area Network engine appliances. In one embodiment, the appliance 205 provides application and data acceleration services for branch-office or remote offices. In one embodiment, the appliance 205 includes optimization of Wide Area File Services (WAFS). In another embodiment, the appliance 205 accelerates the delivery of files, such as via the Common Internet File System (CIFS) protocol. In other embodiments, the appliance 205 provides caching in memory and/or storage to accelerate delivery of applications and data. In one embodiment, the appliance 205 provides compression of network traffic at any level of the network stack or at any protocol or network layer. In another embodiment, the appliance 205 provides transport layer protocol optimizations, flow control, performance enhancements or modifications and/or management to accelerate delivery of applications and data over a WAN connection. For example, in one embodiment, the appliance 205 provides Transport Control Protocol (TCP) optimizations. In other embodiments, the appliance 205 provides optimizations, flow control, performance enhancements or modifications and/or management for any session or application layer protocol. In another embodiment, the appliance 205 encoded any type and form of data or information into custom or standard TCP and/or IP header fields or option fields of network packet to announce presence, functionality or capability to another appliance 205′. In another embodiment, an appliance 205′ may communicate with another appliance 205′ using data encoded in both TCP and/or IP header fields or options. For example, the appliance may use TCP option(s) or IP header fields or options to communicate one or more parameters to be used by the appliances 205, 205′ in performing functionality, such as WAN acceleration, or for working in conjunction with each other. In some embodiments, the appliance 200 preserves any of the information encoded in TCP and/or IP header and/or option fields communicated between appliances 205 and 205′. For example, the appliance 200 may terminate a transport layer connection traversing the appliance 200, such as a transport layer connection from between a client and a server traversing appliances 205 and 205′. In one embodiment, the appliance 200 identifies and preserves any encoded information in a transport layer packet transmitted by a first appliance 205 via a first transport layer connection and communicates a transport layer packet with the encoded information to a second appliance 205′ via a second transport layer connection. Referring now to In some embodiments, the appliance 200 accelerates delivery of a computing environment 15, or any portion thereof, to a client 102. In one embodiment, the appliance 200 accelerates the delivery of the computing environment 15 by the application delivery system 190. For example, the embodiments described herein may be used to accelerate delivery of a streaming application and data file processable by the application from a central corporate data center to a remote user location, such as a branch office of the company. In another embodiment, the appliance 200 accelerates transport layer traffic between a client 102 and a server 106. The appliance 200 may provide acceleration techniques for accelerating any transport layer payload from a server 106 to a client 102, such as: 1) transport layer connection pooling, 2) transport layer connection multiplexing, 3) transport control protocol buffering, 4) compression and 5) caching. In some embodiments, the appliance 200 provides load balancing of servers 106 in responding to requests from clients 102. In other embodiments, the appliance 200 acts as a proxy or access server to provide access to the one or more servers 106. In another embodiment, the appliance 200 provides a secure virtual private network connection from a first network 104 of the client 102 to the second network 104′ of the server 106, such as an SSL VPN connection. It yet other embodiments, the appliance 200 provides application firewall security, control and management of the connection and communications between a client 102 and a server 106. In some embodiments, the application delivery management system 190 provides application delivery techniques to deliver a computing environment to a desktop of a user, remote or otherwise, based on a plurality of execution methods and based on any authentication and authorization policies applied via a policy engine 195. With these techniques, a remote user may obtain a computing environment and access to server stored applications and data files from any network connected device 100. In one embodiment, the application delivery system 190 may reside or execute on a server 106. In another embodiment, the application delivery system 190 may reside or execute on a plurality of servers 106 The client 102 may include a computing environment 15 for executing an application that uses or processes a data file. The client 102 via networks 104, 104′ and appliance 200 may request an application and data file from the server 106. In one embodiment, the appliance 200 may forward a request from the client 102 to the server 106. For example, the client 102 may not have the application and data file stored or accessible locally. In response to the request, the application delivery system 190 and/or server 106 may deliver the application and data file to the client 102. For example, in one embodiment, the server 106 may transmit the application as an application stream to operate in computing environment 15 on client 102. In some embodiments, the application delivery system 190 comprises any portion of the Citrix Access Suite™ by Citrix Systems, Inc., such as the MetaFrame or Citrix Presentation Server™ and/or any of the Microsoft® Windows Terminal Services manufactured by the Microsoft Corporation. In one embodiment, the application delivery system 190 may deliver one or more applications to clients 102 or users via a remote-display protocol or otherwise via remote-based or server-based computing. In another embodiment, the application delivery system 190 may deliver one or more applications to clients or users via steaming of the application. In one embodiment, the application delivery system 190 includes a policy engine 195 for controlling and managing the access to, selection of application execution methods and the delivery of applications. In some embodiments, the policy engine 195 determines the one or more applications a user or client 102 may access. In another embodiment, the policy engine 195 determines how the application should be delivered to the user or client 102, e.g., the method of execution. In some embodiments, the application delivery system 190 provides a plurality of delivery techniques from which to select a method of application execution, such as a server-based computing, streaming or delivering the application locally to the client 120 for local execution. In one embodiment, a client 102 requests execution of an application program and the application delivery system 190 comprising a server 106 selects a method of executing the application program. In some embodiments, the server 106 receives credentials from the client 102. In another embodiment, the server 106 receives a request for an enumeration of available applications from the client 102. In one embodiment, in response to the request or receipt of credentials, the application delivery system 190 enumerates a plurality of application programs available to the client 102. The application delivery system 190 receives a request to execute an enumerated application. The application delivery system 190 selects one of a predetermined number of methods for executing the enumerated application, for example, responsive to a policy of a policy engine. The application delivery system 190 may select a method of execution of the application enabling the client 102 to receive application-output data generated by execution of the application program on a server 106. The application delivery system 190 may select a method of execution of the application enabling the local machine 10 to execute the application program locally after retrieving a plurality of application files comprising the application. In yet another embodiment, the application delivery system 190 may select a method of execution of the application to stream the application via the network 104 to the client 102. A client 102 may execute, operate or otherwise provide an application, which can be any type and/or form of software, program, or executable instructions such as any type and/or form of web browser, web-based client, client-server application, a thin-client computing client, an ActiveX control, or a Java applet, or any other type and/or form of executable instructions capable of executing on client 102. In some embodiments, the application may be a server-based or a remote-based application executed on behalf of the client 102 on a server 106. In one embodiments the server 106 may display output to the client 102 using any thin-client or remote-display protocol, such as the Independent Computing Architecture (ICA) protocol manufactured by Citrix Systems, Inc. of Ft. Lauderdale, Fla. or the Remote Desktop Protocol (RDP) manufactured by the Microsoft Corporation of Redmond, Wash. The application can use any type of protocol and it can be, for example, an HTTP client, an FTP client, an Oscar client, or a Telnet client. In other embodiments, the application comprises any type of software related to VoIP communications, such as a soft IP telephone. In further embodiments, the application comprises any application related to real-time data communications, such as applications for streaming video and/or audio. In some embodiments, the server 106 or a server farm 38 may be running one or more applications, such as an application providing a thin-client computing or remote display presentation application. In one embodiment, the server 106 or server farm 38 executes as an application, any portion of the Citrix Access Suite™ by Citrix Systems, Inc., such as the MetaFrame or Citrix Presentation Server™, and/or any of the Microsoft® Windows Terminal Services manufactured by the Microsoft Corporation. In one embodiment, the application is an ICA client, developed by Citrix Systems, Inc. of Fort Lauderdale, Fla. In other embodiments, the application includes a Remote Desktop (RDP) client, developed by Microsoft Corporation of Redmond, Wash. Also, the server 106 may run an application, which for example, may be an application server providing email services such as Microsoft Exchange manufactured by the Microsoft Corporation of Redmond, Wash., a web or Internet server, or a desktop sharing server, or a collaboration server. In some embodiments, any of the applications may comprise any type of hosted service or products, such as GoToMeeting™ provided by Citrix Online Division, Inc. of Santa Barbara, Calif., WebEx™ provided by WebEx, Inc. of Santa Clara, Calif., or Microsoft Office Live Meeting provided by Microsoft Corporation of Redmond, Wash. Still referring to In some embodiments, the monitoring agent 197 monitors, measures and collects data on a predetermined frequency. In other embodiments, the monitoring agent 197 monitors, measures and collects data based upon detection of any type and form of event. For example, the monitoring agent 197 may collect data upon detection of a request for a web page or receipt of an HTTP response. In another example, the monitoring agent 197 may collect data upon detection of any user input events, such as a mouse click. The monitoring agent 197 may report or provide any monitored, measured or collected data to the monitoring service 198. In one embodiment, the monitoring agent 197 transmits information to the monitoring service 198 according to a schedule or a predetermined frequency. In another embodiment, the monitoring agent 197 transmits information to the monitoring service 198 upon detection of an event. In some embodiments, the monitoring service 198 and/or monitoring agent 197 performs monitoring and performance measurement of any network resource or network infrastructure element, such as a client, server, server farm, appliance 200, appliance 205, or network connection. In one embodiment, the monitoring service 198 and/or monitoring agent 197 performs monitoring and performance measurement of any transport layer connection, such as a TCP or UDP connection. In another embodiment, the monitoring service 198 and/or monitoring agent 197 monitors and measures network latency. In yet one embodiment, the monitoring service 198 and/or monitoring agent 197 monitors and measures bandwidth utilization. In other embodiments, the monitoring service 198 and/or monitoring agent 197 monitors and measures end-user response times. In some embodiments, the monitoring service 198 performs monitoring and performance measurement of an application. In another embodiment, the monitoring service 198 and/or monitoring agent 197 performs monitoring and performance measurement of any session or connection to the application. In one embodiment, the monitoring service 198 and/or monitoring agent 197 monitors and measures performance of a browser. In another embodiment, the monitoring service 198 and/or monitoring agent 197 monitors and measures performance of HTTP based transactions. In some embodiments, the monitoring service 198 and/or monitoring agent 197 monitors and measures performance of a Voice over IP (VoIP) application or session. In other embodiments, the monitoring service 198 and/or monitoring agent 197 monitors and measures performance of a remote display protocol application, such as an ICA client or RDP client. In yet another embodiment, the monitoring service 198 and/or monitoring agent 197 monitors and measures performance of any type and form of streaming media. In still a further embodiment, the monitoring service 198 and/or monitoring agent 197 monitors and measures performance of a hosted application or a Software-As-A-Service (SaaS) delivery model. In some embodiments, the monitoring service 198 and/or monitoring agent 197 performs monitoring and performance measurement of one or more transactions, requests or responses related to application. In other embodiments, the monitoring service 198 and/or monitoring agent 197 monitors and measures any portion of an application layer stack, such as any .NET or J2EE calls. In one embodiment, the monitoring service 198 and/or monitoring agent 197 monitors and measures database or SQL transactions. In yet another embodiment, the monitoring service 198 and/or monitoring agent 197 monitors and measures any method, function or application programming interface (API) call. In one embodiment, the monitoring service 198 and/or monitoring agent 197 performs monitoring and performance measurement of a delivery of application and/or data from a server to a client via one or more appliances, such as appliance 200 and/or appliance 205. In some embodiments, the monitoring service 198 and/or monitoring agent 197 monitors and measures performance of delivery of a virtualized application. In other embodiments, the monitoring service 198 and/or monitoring agent 197 monitors and measures performance of delivery of a streaming application. In another embodiment, the monitoring service 198 and/or monitoring agent 197 monitors and measures performance of delivery of a desktop application to a client and/or the execution of the desktop application on the client. In another embodiment, the monitoring service 198 and/or monitoring agent 197 monitors and measures performance of a client/server application. In one embodiment, the monitoring service 198 and/or monitoring agent 197 is designed and constructed to provide application performance management for the application delivery system 190. For example, the monitoring service 198 and/or monitoring agent 197 may monitor, measure and manage the performance of the delivery of applications via the Citrix Presentation Server. In this example, the monitoring service 198 and/or monitoring agent 197 monitors individual ICA sessions. The monitoring service 198 and/or monitoring agent 197 may measure the total and per session system resource usage, as well as application and networking performance. The monitoring service 198 and/or monitoring agent 197 may identify the active servers for a given user and/or user session. In some embodiments, the monitoring service 198 and/or monitoring agent 197 monitors back-end connections between the application delivery system 190 and an application and/or database server. The monitoring service 198 and/or monitoring agent 197 may measure network latency, delay and volume per user-session or ICA session. In some embodiments, the monitoring service 198 and/or monitoring agent 197 measures and monitors memory usage for the application delivery system 190, such as total memory usage, per user session and/or per process. In other embodiments, the monitoring service 198 and/or monitoring agent 197 measures and monitors CPU usage the application delivery system 190, such as total CPU usage, per user session and/or per process. In another embodiments, the monitoring service 198 and/or monitoring agent 197 measures and monitors the time required to log-in to an application, a server, or the application delivery system, such as Citrix Presentation Server. In one embodiment, the monitoring service 198 and/or monitoring agent 197 measures and monitors the duration a user is logged into an application, a server, or the application delivery system 190. In some embodiments, the monitoring service 198 and/or monitoring agent 197 measures and monitors active and inactive session counts for an application, server or application delivery system session. In yet another embodiment, the monitoring service 198 and/or monitoring agent 197 measures and monitors user session latency. In yet further embodiments, the monitoring service 198 and/or monitoring agent 197 measures and monitors measures and monitors any type and form of server metrics. In one embodiment, the monitoring service 198 and/or monitoring agent 197 measures and monitors metrics related to system memory, CPU usage, and disk storage. In another embodiment, the monitoring service 198 and/or monitoring agent 197 measures and monitors metrics related to page faults, such as page faults per second. In other embodiments, the monitoring service 198 and/or monitoring agent 197 measures and monitors round-trip time metrics. In yet another embodiment, the monitoring service 198 and/or monitoring agent 197 measures and monitors metrics related to application crashes, errors and/or hangs. In some embodiments, the monitoring service 198 and monitoring agent 198 includes any of the product embodiments referred to as EdgeSight manufactured by Citrix Systems, Inc. of Ft. Lauderdale, Fla. In another embodiment, the performance monitoring service 198 and/or monitoring agent 198 includes any portion of the product embodiments referred to as the TrueView product suite manufactured by the Symphoniq Corporation of Palo Alto, Calif. In one embodiment, the performance monitoring service 198 and/or monitoring agent 198 includes any portion of the product embodiments referred to as the TeaLeaf CX product suite manufactured by the TeaLeaf Technology Inc. of San Francisco, Calif. In other embodiments, the performance monitoring service 198 and/or monitoring agent 198 includes any portion of the business service management products, such as the BMC Performance Manager and Patrol products, manufactured by BMC Software, Inc. of Houston, Tex. The client 102, server 106, and appliance 200 may be deployed as and/or executed on any type and form of computing device, such as a computer, network device or appliance capable of communicating on any type and form of network and performing the operations described herein. The central processing unit 101 is any logic circuitry that responds to and processes instructions fetched from the main memory unit 122. In many embodiments, the central processing unit is provided by a microprocessor unit, such as: those manufactured by Intel Corporation of Mountain View, Calif.; those manufactured by Motorola Corporation of Schaumburg, Ill.; those manufactured by Transmeta Corporation of Santa Clara, Calif.; the RS/6000 processor, those manufactured by International Business Machines of White Plains, N.Y.; or those manufactured by Advanced Micro Devices of Sunnyvale, Calif. The computing device 100 may be based on any of these processors, or any other processor capable of operating as described herein. Main memory unit 122 may be one or more memory chips capable of storing data and allowing any storage location to be directly accessed by the microprocessor 101, such as Static random access memory (SRAM), Burst SRAM or SynchBurst SRAM (BSRAM), Dynamic random access memory (DRAM), Fast Page Mode DRAM (FPM DRAM), Enhanced DRAM (EDRAM), Extended Data Output RAM (EDO RAM), Extended Data Output DRAM (EDO DRAM), Burst Extended Data Output DRAM (BEDO DRAM), Enhanced DRAM (EDRAM), synchronous DRAM (SDRAM), JEDEC SRAM, PC 100 SDRAM, Double Data Rate SDRAM (DDR SDRAM), Enhanced SDRAM (ESDRAM), SyncLink DRAM (SLDRAM), Direct Rambus DRAM (DRDRAM), or Ferroelectric RAM (FRAM). The main memory 122 may be based on any of the above described memory chips, or any other available memory chips capable of operating as described herein. In the embodiment shown in The computing device 100 may support any suitable installation device 116, such as a floppy disk drive for receiving floppy disks such as 3.5-inch, 5.25-inch disks or ZIP disks, a CD-ROM drive, a CD-R/RW drive, a DVD-ROM drive, tape drives of various formats, USB device, hard-drive or any other device suitable for installing software and programs such as any client agent 120, or portion thereof. The computing device 100 may further comprise a storage device 128, such as one or more hard disk drives or redundant arrays of independent disks, for storing an operating system and other related software, and for storing application software programs such as any program related to the client agent 120. Optionally, any of the installation devices 116 could also be used as the storage device 128. Additionally, the operating system and the software can be run from a bootable medium, for example, a bootable CD, such as KNOPPIX®, a bootable CD for GNU/Linux that is available as a GNU/Linux distribution from knoppix.net. Furthermore, the computing device 100 may include a network interface 118 to interface to a Local Area Network (LAN), Wide Area Network (WAN) or the Internet through a variety of connections including, but not limited to, standard telephone lines, LAN or WAN links (e.g., 802.11, T1, T3, 56 kb, X.25), broadband connections (e.g., ISDN, Frame Relay, ATM), wireless connections, or some combination of any or all of the above. The network interface 118 may comprise a built-in network adapter, network interface card, PCMCIA network card, card bus network adapter, wireless network adapter, USB network adapter, modem or any other device suitable for interfacing the computing device 100 to any type of network capable of communication and performing the operations described herein. A wide variety of I/O devices 130 In some embodiments, the computing device 100 may comprise or be connected to multiple display devices 124 In further embodiments, an I/O device 130 may be a bridge 170 between the system bus 150 and an external communication bus, such as a USB bus, an Apple Desktop Bus, an RS-232 serial connection, a SCSI bus, a FireWire bus, a FireWire 800 bus, an Ethernet bus, an AppleTalk bus, a Gigabit Ethernet bus, an Asynchronous Transfer Mode bus, a HIPPI bus, a Super HIPPI bus, a SerialPlus bus, a SCI/LAMP bus, a FibreChannel bus, or a Serial Attached small computer system interface bus. A computing device 100 of the sort depicted in In other embodiments, the computing device 100 may have different processors, operating systems, and input devices consistent with the device. For example, in one embodiment the computer 100 is a Treo 180, 270, 1060, 600 or 650 smart phone manufactured by Palm, Inc. In this embodiment, the Treo smart phone is operated under the control of the PalmOS operating system and includes a stylus input device as well as a five-way navigator device. Moreover, the computing device 100 can be any workstation, desktop computer, laptop or notebook computer, server, handheld computer, mobile telephone, any other computer, or other form of computing or telecommunications device that is capable of communication and that has sufficient processor power and memory capacity to perform the operations described herein. As shown in In some embodiments, the processors provide functionality for execution of a single instruction simultaneously on multiple pieces of data (SIMD). In other embodiments, the processors provide functionality for execution of multiple instructions simultaneously on multiple pieces of data (MIMD). In still other embodiments, the processor may use any combination of SIMD and MIMD cores in a single device. In some embodiments, the computing device 100 may comprise a graphics processing unit. In one of these embodiments, depicted in In some embodiments, a first computing device 100 Hardware layer 206 provides the hardware elements upon which programs and services within kernel space 204 and user space 202 are executed. Hardware layer 206 also provides the structures and elements which allow programs and services within kernel space 204 and user space 202 to communicate data both internally and externally with respect to appliance 200. As shown in Although the hardware layer 206 of appliance 200 is generally illustrated with an encryption processor 260, processor 260 may be a processor for performing functions related to any encryption protocol, such as the Secure Socket Layer (SSL) or Transport Layer Security (TLS) protocol. In some embodiments, the processor 260 may be a general purpose processor (GPP), and in further embodiments, may have executable instructions for performing processing of any security related protocol. Although the hardware layer 206 of appliance 200 is illustrated with certain elements in The operating system of appliance 200 allocates, manages, or otherwise segregates the available system memory into kernel space 204 and user space 204. In example software architecture 200, the operating system may be any type and/or form of Unix operating system although the invention is not so limited. As such, the appliance 200 can be running any operating system such as any of the versions of the Microsoft® Windows operating systems, the different releases of the Unix and Linux operating systems, any version of the Mac OS® for Macintosh computers, any embedded operating system, any network operating system, any real-time operating system, any open source operating system, any proprietary operating system, any operating systems for mobile computing devices or network devices, or any other operating system capable of running on the appliance 200 and performing the operations described herein. The kernel space 204 is reserved for running the kernel 230, including any device drivers, kernel extensions or other kernel related software. As known to those skilled in the art, the kernel 230 is the core of the operating system, and provides access, control, and management of resources and hardware-related elements of the application 104. In accordance with an embodiment of the appliance 200, the kernel space 204 also includes a number of network services or processes working in conjunction with a cache manager 232, sometimes also referred to as the integrated cache, the benefits of which are described in detail further herein. Additionally, the embodiment of the kernel 230 will depend on the embodiment of the operating system installed, configured, or otherwise used by the device 200. In one embodiment, the device 200 comprises one network stack 267, such as a TCP/IP based stack, for communicating with the client 102 and/or the server 106. In one embodiment, the network stack 267 is used to communicate with a first network, such as network 108, and a second network 110. In some embodiments, the device 200 terminates a first transport layer connection, such as a TCP connection of a client 102, and establishes a second transport layer connection to a server 106 for use by the client 102, e.g., the second transport layer connection is terminated at the appliance 200 and the server 106. The first and second transport layer connections may be established via a single network stack 267. In other embodiments, the device 200 may comprise multiple network stacks, for example 267 and 267′, and the first transport layer connection may be established or terminated at one network stack 267, and the second transport layer connection on the second network stack 267′. For example, one network stack may be for receiving and transmitting network packet on a first network, and another network stack for receiving and transmitting network packets on a second network. In one embodiment, the network stack 267 comprises a buffer 243 for queuing one or more network packets for transmission by the appliance 200. As shown in In some embodiments, any portion of the components 232, 240, 234, 236 and 238 may run or operate in the kernel space 204, while other portions of these components 232, 240, 234, 236 and 238 may run or operate in user space 202. In one embodiment, the appliance 200 uses a kernel-level data structure providing access to any portion of one or more network packets, for example, a network packet comprising a request from a client 102 or a response from a server 106. In some embodiments, the kernel-level data structure may be obtained by the packet engine 240 via a transport layer driver interface or filter to the network stack 267. The kernel-level data structure may comprise any interface and/or data accessible via the kernel space 204 related to the network stack 267, network traffic or packets received or transmitted by the network stack 267. In other embodiments, the kernel-level data structure may be used by any of the components or processes 232, 240, 234, 236 and 238 to perform the desired operation of the component or process. In one embodiment, a component 232, 240, 234, 236 and 238 is running in kernel mode 204 when using the kernel-level data structure, while in another embodiment, the component 232, 240, 234, 236 and 238 is running in user mode when using the kernel-level data structure. In some embodiments, the kernel-level data structure may be copied or passed to a second kernel-level data structure, or any desired user-level data structure. The cache manager 232 may comprise software, hardware or any combination of software and hardware to provide cache access, control and management of any type and form of content, such as objects or dynamically generated objects served by the originating servers 106. The data, objects or content processed and stored by the cache manager 232 may comprise data in any format, such as a markup language, or communicated via any protocol. In some embodiments, the cache manager 232 duplicates original data stored elsewhere or data previously computed, generated or transmitted, in which the original data may require longer access time to fetch, compute or otherwise obtain relative to reading a cache memory element. Once the data is stored in the cache memory element, future use can be made by accessing the cached copy rather than refetching or recomputing the original data, thereby reducing the access time. In some embodiments, the cache memory element may comprise a data object in memory 264 of device 200. In other embodiments, the cache memory element may comprise memory having a faster access time than memory 264. In another embodiment, the cache memory element may comprise any type and form of storage element of the device 200, such as a portion of a hard disk. In some embodiments, the processing unit 262 may provide cache memory for use by the cache manager 232. In yet further embodiments, the cache manager 232 may use any portion and combination of memory, storage, or the processing unit for caching data, objects, and other content. Furthermore, the cache manager 232 includes any logic, functions, rules, or operations to perform any embodiments of the techniques of the appliance 200 described herein. For example, the cache manager 232 includes logic or functionality to invalidate objects based on the expiration of an invalidation time period or upon receipt of an invalidation command from a client 102 or server 106. In some embodiments, the cache manager 232 may operate as a program, service, process or task executing in the kernel space 204, and in other embodiments, in the user space 202. In one embodiment, a first portion of the cache manager 232 executes in the user space 202 while a second portion executes in the kernel space 204. In some embodiments, the cache manager 232 can comprise any type of general purpose processor (GPP), or any other type of integrated circuit, such as a Field Programmable Gate Array (FPGA), Programmable Logic Device (PLD), or Application Specific Integrated Circuit (ASIC). The policy engine 236 may include, for example, an intelligent statistical engine or other programmable application(s). In one embodiment, the policy engine 236 provides a configuration mechanism to allow a user to identify, specify, define or configure a caching policy. Policy engine 236, in some embodiments, also has access to memory to support data structures such as lookup tables or hash tables to enable user-selected caching policy decisions. In other embodiments, the policy engine 236 may comprise any logic, rules, functions or operations to determine and provide access, control and management of objects, data or content being cached by the appliance 200 in addition to access, control and management of security, network traffic, network access, compression or any other function or operation performed by the appliance 200. Further examples of specific caching policies are further described herein. The encryption engine 234 comprises any logic, business rules, functions or operations for handling the processing of any security related protocol, such as SSL or TLS, or any function related thereto. For example, the encryption engine 234 encrypts and decrypts network packets, or any portion thereof, communicated via the appliance 200. The encryption engine 234 may also setup or establish SSL or TLS connections on behalf of the client 102 The multi-protocol compression engine 238 comprises any logic, business rules, function or operations for compressing one or more protocols of a network packet, such as any of the protocols used by the network stack 267 of the device 200. In one embodiment, multi-protocol compression engine 238 compresses bi-directionally between clients 102 As such, the multi-protocol compression engine 238 accelerates performance for users accessing applications via desktop clients, e.g., Microsoft Outlook and non-Web thin clients, such as any client launched by popular enterprise applications like Oracle, SAP and Siebel, and even mobile clients, such as the Pocket PC. In some embodiments, the multi-protocol compression engine 238 by executing in the kernel mode 204 and integrating with packet processing engine 240 accessing the network stack 267 is able to compress any of the protocols carried by the TCP/IP protocol, such as any application layer protocol. High speed layer 2-7 integrated packet engine 240, also generally referred to as a packet processing engine or packet engine, is responsible for managing the kernel-level processing of packets received and transmitted by appliance 200 via network ports 266. The high speed layer 2-7 integrated packet engine 240 may comprise a buffer for queuing one or more network packets during processing, such as for receipt of a network packet or transmission of a network packet. Additionally, the high speed layer 2-7 integrated packet engine 240 is in communication with one or more network stacks 267 to send and receive network packets via network ports 266. The high speed layer 2-7 integrated packet engine 240 works in conjunction with encryption engine 234, cache manager 232, policy engine 236 and multi-protocol compression logic 238. In particular, encryption engine 234 is configured to perform SSL processing of packets, policy engine 236 is configured to perform functions related to traffic management such as request-level content switching and request-level cache redirection, and multi-protocol compression logic 238 is configured to perform functions related to compression and decompression of data. The high speed layer 2-7 integrated packet engine 240 includes a packet processing timer 242. In one embodiment, the packet processing timer 242 provides one or more time intervals to trigger the processing of incoming, i.e., received, or outgoing, i.e., transmitted, network packets. In some embodiments, the high speed layer 2-7 integrated packet engine 240 processes network packets responsive to the timer 242. The packet processing timer 242 provides any type and form of signal to the packet engine 240 to notify, trigger, or communicate a time related event, interval or occurrence. In many embodiments, the packet processing timer 242 operates in the order of milliseconds, such as for example 100 ms, 50 ms or 25 ms. For example, in some embodiments, the packet processing timer 242 provides time intervals or otherwise causes a network packet to be processed by the high speed layer 2-7 integrated packet engine 240 at a 10 ms time interval, while in other embodiments, at a 5 ms time interval, and still yet in further embodiments, as short as a 3, 2, or 1 ms time interval. The high speed layer 2-7 integrated packet engine 240 may be interfaced, integrated or in communication with the encryption engine 234, cache manager 232, policy engine 236 and multi-protocol compression engine 238 during operation. As such, any of the logic, functions, or operations of the encryption engine 234, cache manager 232, policy engine 236 and multi-protocol compression logic 238 may be performed responsive to the packet processing timer 242 and/or the packet engine 240. Therefore, any of the logic, functions, or operations of the encryption engine 234, cache manager 232, policy engine 236 and multi-protocol compression logic 238 may be performed at the granularity of time intervals provided via the packet processing timer 242, for example, at a time interval of less than or equal to 10 ms. For example, in one embodiment, the cache manager 232 may perform invalidation of any cached objects responsive to the high speed layer 2-7 integrated packet engine 240 and/or the packet processing timer 242. In another embodiment, the expiry or invalidation time of a cached object can be set to the same order of granularity as the time interval of the packet processing timer 242, such as at every 10 ms. In contrast to kernel space 204, user space 202 is the memory area or portion of the operating system used by user mode applications or programs otherwise running in user mode. A user mode application may not access kernel space 204 directly and uses service calls in order to access kernel services. As shown in Health monitoring program 216 is used to monitor, check, report and ensure that network systems are functioning properly and that users are receiving requested content over a network. Health monitoring program 216 comprises one or more programs, services, tasks, processes or executable instructions to provide logic, rules, functions or operations for monitoring any activity of the appliance 200. In some embodiments, the health monitoring program 216 intercepts and inspects any network traffic passed via the appliance 200. In other embodiments, the health monitoring program 216 interfaces by any suitable means and/or mechanisms with one or more of the following: the encryption engine 234, cache manager 232, policy engine 236, multi-protocol compression logic 238, packet engine 240, daemon services 218, and shell services 214. As such, the health monitoring program 216 may call any application programming interface (API) to determine a state, status, or health of any portion of the appliance 200. For example, the health monitoring program 216 may ping or send a status inquiry on a periodic basis to check if a program, process, service or task is active and currently running. In another example, the health monitoring program 216 may check any status, error or history logs provided by any program, process, service or task to determine any condition, status or error with any portion of the appliance 200. Daemon services 218 are programs that run continuously or in the background and handle periodic service requests received by appliance 200. In some embodiments, a daemon service may forward the requests to other programs or processes, such as another daemon service 218 as appropriate. As known to those skilled in the art, a daemon service 218 may run unattended to perform continuous or periodic system wide functions, such as network control, or to perform any desired task. In some embodiments, one or more daemon services 218 run in the user space 202, while in other embodiments, one or more daemon services 218 run in the kernel space. Referring now to The vServer 275 may comprise software, hardware or any combination of software and hardware. The vServer 275 may comprise any type and form of program, service, task, process or executable instructions operating in user mode 202, kernel mode 204 or any combination thereof in the appliance 200. The vServer 275 includes any logic, functions, rules, or operations to perform any embodiments of the techniques described herein, such as SSL VPN 280, switching/load balancing 284, Domain Name Service resolution 286, acceleration 288 and an application firewall 290. In some embodiments, the vServer 275 establishes a connection to a service 270 of a server 106. The service 275 may comprise any program, application, process, task or set of executable instructions capable of connecting to and communicating to the appliance 200, client 102 or vServer 275. For example, the service 275 may comprise a web server, http server, ftp, email or database server. In some embodiments, the service 270 is a daemon process or network driver for listening, receiving and/or sending communications for an application, such as email, database or an enterprise application. In some embodiments, the service 270 may communicate on a specific IP address, or IP address and port. In some embodiments, the vServer 275 applies one or more policies of the policy engine 236 to network communications between the client 102 and server 106. In one embodiment, the policies are associated with a vServer 275. In another embodiment, the policies are based on a user, or a group of users. In yet another embodiment, a policy is global and applies to one or more vServers 275 In other embodiments, the appliance 200 communicates or interfaces with the policy engine 236 to determine authentication and/or authorization of a remote user or a remote client 102 to access the computing environment 15, application, and/or data file from a server 106. In another embodiment, the appliance 200 communicates or interfaces with the policy engine 236 to determine authentication and/or authorization of a remote user or a remote client 102 to have the application delivery system 190 deliver one or more of the computing environment 15, application, and/or data file. In yet another embodiment, the appliance 200 establishes a VPN or SSL VPN connection based on the policy engine's 236 authentication and/or authorization of a remote user or a remote client 102 In one embodiment, the appliance 200 controls the flow of network traffic and communication sessions based on policies of the policy engine 236. For example, the appliance 200 may control the access to a computing environment 15, application or data file based on the policy engine 236. In some embodiments, the vServer 275 establishes a transport layer connection, such as a TCP or UDP connection with a client 102 via the client agent 120. In one embodiment, the vServer 275 listens for and receives communications from the client 102. In other embodiments, the vServer 275 establishes a transport layer connection, such as a TCP or UDP connection with a client server 106. In one embodiment, the vServer 275 establishes the transport layer connection to an internet protocol address and port of a server 270 running on the server 106. In another embodiment, the vServer 275 associates a first transport layer connection to a client 102 with a second transport layer connection to the server 106. In some embodiments, a vServer 275 establishes a pool of transport layer connections to a server 106 and multiplexes client requests via the pooled transport layer connections. In some embodiments, the appliance 200 provides a SSL VPN connection 280 between a client 102 and a server 106. For example, a client 102 on a first network 102 requests to establish a connection to a server 106 on a second network 104′. In some embodiments, the second network 104′ is not routable from the first network 104. In other embodiments, the client 102 is on a public network 104 and the server 106 is on a private network 104′, such as a corporate network. In one embodiment, the client agent 120 intercepts communications of the client 102 on the first network 104, encrypts the communications, and transmits the communications via a first transport layer connection to the appliance 200. The appliance 200 associates the first transport layer connection on the first network 104 to a second transport layer connection to the server 106 on the second network 104. The appliance 200 receives the intercepted communication from the client agent 102, decrypts the communications, and transmits the communication to the server 106 on the second network 104 via the second transport layer connection. The second transport layer connection may be a pooled transport layer connection. As such, the appliance 200 provides an end-to-end secure transport layer connection for the client 102 between the two networks 104, 104′. In one embodiment, the appliance 200 hosts an intranet internet protocol or IntranetlP 282 address of the client 102 on the virtual private network 104. The client 102 has a local network identifier, such as an internet protocol (IP) address and/or host name on the first network 104. When connected to the second network 104′ via the appliance 200, the appliance 200 establishes, assigns or otherwise provides an IntranetIP address 282, which is a network identifier, such as IP address and/or host name, for the client 102 on the second network 104′. The appliance 200 listens for and receives on the second or private network 104′ for any communications directed towards the client 102 using the client's established IntranetIP 282. In one embodiment, the appliance 200 acts as or on behalf of the client 102 on the second private network 104. For example, in another embodiment, a vServer 275 listens for and responds to communications to the IntranetIP 282 of the client 102. In some embodiments, if a computing device 100 on the second network 104′ transmits a request, the appliance 200 processes the request as if it were the client 102. For example, the appliance 200 may respond to a ping to the client's IntranetIP 282. In another example, the appliance may establish a connection, such as a TCP or UDP connection, with computing device 100 on the second network 104 requesting a connection with the client's IntranetIP 282. In some embodiments, the appliance 200 provides one or more of the following acceleration techniques 288 to communications between the client 102 and server 106: 1) compression; 2) decompression; 3) Transmission Control Protocol pooling; 4) Transmission Control Protocol multiplexing; 5) Transmission Control Protocol buffering; and 6) caching. In one embodiment, the appliance 200 relieves servers 106 of much of the processing load caused by repeatedly opening and closing transport layers connections to clients 102 by opening one or more transport layer connections with each server 106 and maintaining these connections to allow repeated data accesses by clients via the Internet. This technique is referred to herein as “connection pooling”. In some embodiments, in order to seamlessly splice communications from a client 102 to a server 106 via a pooled transport layer connection, the appliance 200 translates or multiplexes communications by modifying sequence number and acknowledgment numbers at the transport layer protocol level. This is referred to as “connection multiplexing”. In some embodiments, no application layer protocol interaction is required. For example, in the case of an in-bound packet (that is, a packet received from a client 102), the source network address of the packet is changed to that of an output port of appliance 200, and the destination network address is changed to that of the intended server. In the case of an outbound packet (that is, one received from a server 106), the source network address is changed from that of the server 106 to that of an output port of appliance 200 and the destination address is changed from that of appliance 200 to that of the requesting client 102. The sequence numbers and acknowledgment numbers of the packet are also translated to sequence numbers and acknowledgement numbers expected by the client 102 on the appliance's 200 transport layer connection to the client 102. In some embodiments, the packet checksum of the transport layer protocol is recalculated to account for these translations. In another embodiment, the appliance 200 provides switching or load-balancing functionality 284 for communications between the client 102 and server 106. In some embodiments, the appliance 200 distributes traffic and directs client requests to a server 106 based on layer 4 or application-layer request data. In one embodiment, although the network layer or layer 2 of the network packet identifies a destination server 106, the appliance 200 determines the server 106 to distribute the network packet by application information and data carried as payload of the transport layer packet. In one embodiment, the health monitoring programs 216 of the appliance 200 monitor the health of servers to determine the server 106 for which to distribute a client's request. In some embodiments, if the appliance 200 detects a server 106 is not available or has a load over a predetermined threshold, the appliance 200 can direct or distribute client requests to another server 106. In some embodiments, the appliance 200 acts as a Domain Name Service (DNS) resolver or otherwise provides resolution of a DNS request from clients 102. In some embodiments, the appliance intercepts a DNS request transmitted by the client 102. In one embodiment, the appliance 200 responds to a client's DNS request with an IP address of or hosted by the appliance 200. In this embodiment, the client 102 transmits network communication for the domain name to the appliance 200. In another embodiment, the appliance 200 responds to a client's DNS request with an IP address of or hosted by a second appliance 200′. In some embodiments, the appliance 200 responds to a client's DNS request with an IP address of a server 106 determined by the appliance 200. In yet another embodiment, the appliance 200 provides application firewall functionality 290 for communications between the client 102 and server 106. In one embodiment, the policy engine 236 provides rules for detecting and blocking illegitimate requests. In some embodiments, the application firewall 290 protects against denial of service (DoS) attacks. In other embodiments, the appliance inspects the content of intercepted requests to identify and block application-based attacks. In some embodiments, the rules/policy engine 236 comprises one or more application firewall or security control policies for providing protections against various classes and types of web or Internet based vulnerabilities, such as one or more of the following: 1) buffer overflow, 2) CGI-BIN parameter manipulation, 3) form/hidden field manipulation, 4) forceful browsing, 5) cookie or session poisoning, 6) broken access control list (ACLs) or weak passwords, 7) cross-site scripting (XSS), 8) command injection, 9) SQL injection, 10) error triggering sensitive information leak, 11) insecure use of cryptography, 12) server misconfiguration, 13) back doors and debug options, 14) website defacement, 15) platform or operating systems vulnerabilities, and 16) zero-day exploits. In an embodiment, the application firewall 290 provides HTML form field protection in the form of inspecting or analyzing the network communication for one or more of the following: 1) required fields are returned, 2) no added field allowed, 3) read-only and hidden field enforcement, 4) drop-down list and radio button field conformance, and 5) form-field max-length enforcement. In some embodiments, the application firewall 290 ensures cookies are not modified. In other embodiments, the application firewall 290 protects against forceful browsing by enforcing legal URLs. In still yet other embodiments, the application firewall 290 protects any confidential information contained in the network communication. The application firewall 290 may inspect or analyze any network communication in accordance with the rules or polices of the engine 236 to identify any confidential information in any field of the network packet. In some embodiments, the application firewall 290 identifies in the network communication one or more occurrences of a credit card number, password, social security number, name, patient code, contact information, and age. The encoded portion of the network communication may comprise these occurrences or the confidential information. Based on these occurrences, in one embodiment, the application firewall 290 may take a policy action on the network communication, such as prevent transmission of the network communication. In another embodiment, the application firewall 290 may rewrite, remove or otherwise mask such identified occurrence or confidential information. Still referring to In other embodiments, the appliance 200 executes the monitoring agent 197. In one embodiment, the monitoring agent 197 measures and monitors the performance of any application, program, process, service, task or thread executing on the appliance 200. For example, the monitoring agent 197 may monitor and measure performance and operation of vServers 275A-275N. In another embodiment, the monitoring agent 197 measures and monitors the performance of any transport layer connections of the appliance 200. In some embodiments, the monitoring agent 197 measures and monitors the performance of any user sessions traversing the appliance 200. In one embodiment, the monitoring agent 197 measures and monitors the performance of any virtual private network connections and/or sessions traversing the appliance 200, such an SSL VPN session. In still further embodiments, the monitoring agent 197 measures and monitors the memory, CPU and disk usage and performance of the appliance 200. In yet another embodiment, the monitoring agent 197 measures and monitors the performance of any acceleration technique 288 performed by the appliance 200, such as SSL offloading, connection pooling and multiplexing, caching, and compression. In some embodiments, the monitoring agent 197 measures and monitors the performance of any load balancing and/or content switching 284 performed by the appliance 200. In other embodiments, the monitoring agent 197 measures and monitors the performance of application firewall 290 protection and processing performed by the appliance 200. Referring now to The network stack 310 of the client 102 may comprise any type and form of software, or hardware, or any combinations thereof, for providing connectivity to and communications with a network. In one embodiment, the network stack 310 comprises a software implementation for a network protocol suite. The network stack 310 may comprise one or more network layers, such as any networks layers of the Open Systems Interconnection (OSI) communications model as those skilled in the art recognize and appreciate. As such, the network stack 310 may comprise any type and form of protocols for any of the following layers of the OSI model: 1) physical link layer, 2) data link layer, 3) network layer, 4) transport layer, 5) session layer, 6) presentation layer, and 7) application layer. In one embodiment, the network stack 310 may comprise a transport control protocol (TCP) over the network layer protocol of the internet protocol (IP), generally referred to as TCP/IP. In some embodiments, the TCP/IP protocol may be carried over the Ethernet protocol, which may comprise any of the family of IEEE wide-area-network (WAN) or local-area-network (LAN) protocols, such as those protocols covered by the IEEE 802.3. In some embodiments, the network stack 310 comprises any type and form of a wireless protocol, such as IEEE 802.11 and/or mobile internet protocol. In view of a TCP/IP based network, any TCP/IP based protocol may be used, including Messaging Application Programming Interface (MAPI) (email), File Transfer Protocol (FTP), HyperText Transfer Protocol (HTTP), Common Internet File System (CIFS) protocol (file transfer), Independent Computing Architecture (ICA) protocol, Remote Desktop Protocol (RDP), Wireless Application Protocol (WAP), Mobile IP protocol, and Voice Over IP (VoIP) protocol. In another embodiment, the network stack 310 comprises any type and form of transport control protocol, such as a modified transport control protocol, for example a Transaction TCP (T/TCP), TCP with selection acknowledgements (TCP-SACK), TCP with large windows (TCP-LW), a congestion prediction protocol such as the TCP-Vegas protocol, and a TCP spoofing protocol. In other embodiments, any type and form of user datagram protocol (UDP), such as UDP over IP, may be used by the network stack 310, such as for voice communications or real-time data communications. Furthermore, the network stack 310 may include one or more network drivers supporting the one or more layers, such as a TCP driver or a network layer driver. The network drivers may be included as part of the operating system of the computing device 100 or as part of any network interface cards or other network access components of the computing device 100. In some embodiments, any of the network drivers of the network stack 310 may be customized, modified or adapted to provide a custom or modified portion of the network stack 310 in support of any of the techniques described herein. In other embodiments, the acceleration program 302 is designed and constructed to operate with or work in conjunction with the network stack 310 installed or otherwise provided by the operating system of the client 102. The network stack 310 comprises any type and form of interfaces for receiving, obtaining, providing or otherwise accessing any information and data related to network communications of the client 102. In one embodiment, an interface to the network stack 310 comprises an application programming interface (API). The interface may also comprise any function call, hooking or filtering mechanism, event or call back mechanism, or any type of interfacing technique. The network stack 310 via the interface may receive or provide any type and form of data structure, such as an object, related to functionality or operation of the network stack 310. For example, the data structure may comprise information and data related to a network packet or one or more network packets. In some embodiments, the data structure comprises a portion of the network packet processed at a protocol layer of the network stack 310, such as a network packet of the transport layer. In some embodiments, the data structure 325 comprises a kernel-level data structure, while in other embodiments, the data structure 325 comprises a user-mode data structure. A kernel-level data structure may comprise a data structure obtained or related to a portion of the network stack 310 operating in kernel-mode 302, or a network driver or other software running in kernel-mode 302, or any data structure obtained or received by a service, process, task, thread or other executable instructions running or operating in kernel-mode of the operating system. Additionally, some portions of the network stack 310 may execute or operate in kernel-mode 302, for example, the data link or network layer, while other portions execute or operate in user-mode 303, such as an application layer of the network stack 310. For example, a first portion 310 The interceptor 350 may comprise software, hardware, or any combination of software and hardware. In one embodiment, the interceptor 350 intercept a network communication at any point in the network stack 310, and redirects or transmits the network communication to a destination desired, managed or controlled by the interceptor 350 or client agent 120. For example, the interceptor 350 may intercept a network communication of a network stack 310 of a first network and transmit the network communication to the appliance 200 for transmission on a second network 104. In some embodiments, the interceptor 350 comprises any type interceptor 350 comprises a driver, such as a network driver constructed and designed to interface and work with the network stack 310. In some embodiments, the client agent 120 and/or interceptor 350 operates at one or more layers of the network stack 310, such as at the transport layer. In one embodiment, the interceptor 350 comprises a filter driver, hooking mechanism, or any form and type of suitable network driver interface that interfaces to the transport layer of the network stack, such as via the transport driver interface (TDI). In some embodiments, the interceptor 350 interfaces to a first protocol layer, such as the transport layer and another protocol layer, such as any layer above the transport protocol layer, for example, an application protocol layer. In one embodiment, the interceptor 350 may comprise a driver complying with the Network Driver Interface Specification (NDIS), or a NDIS driver. In another embodiment, the interceptor 350 may comprise a mini-filter or a mini-port driver. In one embodiment, the interceptor 350, or portion thereof, operates in kernel-mode 202. In another embodiment, the interceptor 350, or portion thereof, operates in user-mode 203. In some embodiments, a portion of the interceptor 350 operates in kernel-mode 202 while another portion of the interceptor 350 operates in user-mode 203. In other embodiments, the client agent 120 operates in user-mode 203 but interfaces via the interceptor 350 to a kernel-mode driver, process, service, task or portion of the operating system, such as to obtain a kernel-level data structure 225. In further embodiments, the interceptor 350 is a user-mode application or program, such as application. In one embodiment, the interceptor 350 intercepts any transport layer connection requests. In these embodiments, the interceptor 350 execute transport layer application programming interface (API) calls to set the destination information, such as destination IP address and/or port to a desired location for the location. In this manner, the interceptor 350 intercepts and redirects the transport layer connection to a IP address and port controlled or managed by the interceptor 350 or client agent 120. In one embodiment, the interceptor 350 sets the destination information for the connection to a local IP address and port of the client 102 on which the client agent 120 is listening. For example, the client agent 120 may comprise a proxy service listening on a local IP address and port for redirected transport layer communications. In some embodiments, the client agent 120 then communicates the redirected transport layer communication to the appliance 200. In some embodiments, the interceptor 350 intercepts a Domain Name Service (DNS) request. In one embodiment, the client agent 120 and/or interceptor 350 resolves the DNS request. In another embodiment, the interceptor transmits the intercepted DNS request to the appliance 200 for DNS resolution. In one embodiment, the appliance 200 resolves the DNS request and communicates the DNS response to the client agent 120. In some embodiments, the appliance 200 resolves the DNS request via another appliance 200′ or a DNS server 106. In yet another embodiment, the client agent 120 may comprise two agents 120 and 120′. In one embodiment, a first agent 120 may comprise an interceptor 350 operating at the network layer of the network stack 310. In some embodiments, the first agent 120 intercepts network layer requests such as Internet Control Message Protocol (ICMP) requests (e.g., ping and traceroute). In other embodiments, the second agent 120′ may operate at the transport layer and intercept transport layer communications. In some embodiments, the first agent 120 intercepts communications at one layer of the network stack 210 and interfaces with or communicates the intercepted communication to the second agent 120′. The client agent 120 and/or interceptor 350 may operate at or interface with a protocol layer in a manner transparent to any other protocol layer of the network stack 310. For example, in one embodiment, the interceptor 350 operates or interfaces with the transport layer of the network stack 310 transparently to any protocol layer below the transport layer, such as the network layer, and any protocol layer above the transport layer, such as the session, presentation or application layer protocols. This allows the other protocol layers of the network stack 310 to operate as desired and without modification for using the interceptor 350. As such, the client agent 120 and/or interceptor 350 can interface with the transport layer to secure, optimize, accelerate, route or load-balance any communications provided via any protocol carried by the transport layer, such as any application layer protocol over TCP/IP. Furthermore, the client agent 120 and/or interceptor may operate at or interface with the network stack 310 in a manner transparent to any application, a user of the client 102, and any other computing device, such as a server, in communications with the client 102. The client agent 120 and/or interceptor 350 may be installed and/or executed on the client 102 in a manner without modification of an application. In some embodiments, the user of the client 102 or a computing device in communications with the client 102 are not aware of the existence, execution or operation of the client agent 120 and/or interceptor 350. As such, in some embodiments, the client agent 120 and/or interceptor 350 is installed, executed, and/or operated transparently to an application, user of the client 102, another computing device, such as a server, or any of the protocol layers above and/or below the protocol layer interfaced to by the interceptor 350. The client agent 120 includes an acceleration program 302, a streaming client 306, a collection agent 304, and/or monitoring agent 197. In one embodiment, the client agent 120 comprises an Independent Computing Architecture (ICA) client, or any portion thereof, developed by Citrix Systems, Inc. of Fort Lauderdale, Fla., and is also referred to as an ICA client. In some embodiments, the client 120 comprises an application streaming client 306 for streaming an application from a server 106 to a client 102. In some embodiments, the client agent 120 comprises an acceleration program 302 for accelerating communications between client 102 and server 106. In another embodiment, the client agent 120 includes a collection agent 304 for performing end-point detection/scanning and collecting end-point information for the appliance 200 and/or server 106. In some embodiments, the acceleration program 302 comprises a client-side acceleration program for performing one or more acceleration techniques to accelerate, enhance or otherwise improve a client's communications with and/or access to a server 106, such as accessing an application provided by a server 106. The logic, functions, and/or operations of the executable instructions of the acceleration program 302 may perform one or more of the following acceleration techniques: 1) multi-protocol compression, 2) transport control protocol pooling, 3) transport control protocol multiplexing, 4) transport control protocol buffering, and 5) caching via a cache manager. Additionally, the acceleration program 302 may perform encryption and/or decryption of any communications received and/or transmitted by the client 102. In some embodiments, the acceleration program 302 performs one or more of the acceleration techniques in an integrated manner or fashion. Additionally, the acceleration program 302 can perform compression on any of the protocols, or multiple-protocols, carried as a payload of a network packet of the transport layer protocol. The streaming client 306 comprises an application, program, process, service, task or executable instructions for receiving and executing a streamed application from a server 106. A server 106 may stream one or more application data files to the streaming client 306 for playing, executing or otherwise causing to be executed the application on the client 102. In some embodiments, the server 106 transmits a set of compressed or packaged application data files to the streaming client 306. In some embodiments, the plurality of application files are compressed and stored on a file server within an archive file such as a CAB, ZIP, SIT, TAR, JAR or other archive. In one embodiment, the server 106 decompresses, unpackages or unarchives the application files and transmits the files to the client 102. In another embodiment, the client 102 decompresses, unpackages or unarchives the application files. The streaming client 306 dynamically installs the application, or portion thereof, and executes the application. In one embodiment, the streaming client 306 may be an executable program. In some embodiments, the streaming client 306 may be able to launch another executable program. The collection agent 304 comprises an application, program, process, service, task or executable instructions for identifying, obtaining and/or collecting information about the client 102. In some embodiments, the appliance 200 transmits the collection agent 304 to the client 102 or client agent 120. The collection agent 304 may be configured according to one or more policies of the policy engine 236 of the appliance. In other embodiments, the collection agent 304 transmits collected information on the client 102 to the appliance 200. In one embodiment, the policy engine 236 of the appliance 200 uses the collected information to determine and provide access, authentication and authorization control of the client's connection to a network 104. In one embodiment, the collection agent 304 comprises an end-point detection and scanning mechanism, which identifies and determines one or more attributes or characteristics of the client. For example, the collection agent 304 may identify and determine any one or more of the following client-side attributes: 1) the operating system an/or a version of an operating system, 2) a service pack of the operating system, 3) a running service, 4) a running process, and 5) a file. The collection agent 304 may also identify and determine the presence or versions of any one or more of the following on the client: 1) antivirus software, 2) personal firewall software, 3) anti-spam software, and 4) internet security software. The policy engine 236 may have one or more policies based on any one or more of the attributes or characteristics of the client or client-side attributes. In some embodiments, the client agent 120 includes a monitoring agent 197 as discussed in conjunction with The monitoring agent 197 may monitor and measure performance of any application of the client. In one embodiment, the monitoring agent 197 monitors and measures performance of a browser on the client 102. In some embodiments, the monitoring agent 197 monitors and measures performance of any application delivered via the client agent 120. In other embodiments, the monitoring agent 197 measures and monitors end user response times for an application, such as web-based or HTTP response times. The monitoring agent 197 may monitor and measure performance of an ICA or RDP client. In another embodiment, the monitoring agent 197 measures and monitors metrics for a user session or application session. In some embodiments, monitoring agent 197 measures and monitors an ICA or RDP session. In one embodiment, the monitoring agent 197 measures and monitors the performance of the appliance 200 in accelerating delivery of an application and/or data to the client 102. In some embodiments and still referring to Referring now to In greater detail, a hypervisor 401 may provide virtual resources to an operating system in any manner which simulates the operating system having access to a physical device. A hypervisor 401 may provide virtual resources to any number of guest operating systems 410 In some embodiments, a hypervisor 401 executes within an operating system executing on a computing device. In one of these embodiments, a computing device executing an operating system and a hypervisor 401 may be said to have a host operating system (the operating system executing on the computing device), and a guest operating system (an operating system executing within a computing resource partition provided by the hypervisor 401). In other embodiments, a hypervisor 401 interacts directly with hardware on a computing device, instead of executing on a host operating system. In one of these embodiments, the hypervisor 401 may be said to be executing on “bare metal,” referring to the hardware comprising the computing device. In some embodiments, a hypervisor 401 may create a virtual machine 406 In some embodiments, the hypervisor 401 controls processor scheduling and memory partitioning for a virtual machine 406 executing on the computing device 100. In one of these embodiments, the hypervisor 401 controls the execution of at least one virtual machine 406. In another of these embodiments, the hypervisor 401 presents at least one virtual machine 406 with an abstraction of at least one hardware resource provided by the computing device 100. In other embodiments, the hypervisor 401 controls whether and how physical processor capabilities are presented to the virtual machine 406. A control operating system 405 may execute at least one application for managing and configuring the guest operating systems. In one embodiment, the control operating system 405 may execute an administrative application, such as an application including a user interface providing administrators with access to functionality for managing the execution of a virtual machine, including functionality for executing a virtual machine, terminating an execution of a virtual machine, or identifying a type of physical resource for allocation to the virtual machine. In another embodiment, the hypervisor 401 executes the control operating system 405 within a virtual machine 406 created by the hypervisor 401. In still another embodiment, the control operating system 405 executes in a virtual machine 406 that is authorized to directly access physical resources on the computing device 100. In some embodiments, a control operating system 405 In one embodiment, the control operating system 405 executes in a virtual machine 406 that is authorized to interact with at least one guest operating system 410. In another embodiment, a guest operating system 410 communicates with the control operating system 405 via the hypervisor 401 in order to request access to a disk or a network. In still another embodiment, the guest operating system 410 and the control operating system 405 may communicate via a communication channel established by the hypervisor 401, such as, for example, via a plurality of shared memory pages made available by the hypervisor 401. In some embodiments, the control operating system 405 includes a network back-end driver for communicating directly with networking hardware provided by the computing device 100. In one of these embodiments, the network back-end driver processes at least one virtual machine request from at least one guest operating system 110. In other embodiments, the control operating system 405 includes a block back-end driver for communicating with a storage element on the computing device 100. In one of these embodiments, the block back-end driver reads and writes data from the storage element based upon at least one request received from a guest operating system 410. In one embodiment, the control operating system 405 includes a tools stack 404. In another embodiment, a tools stack 404 provides functionality for interacting with the hypervisor 401, communicating with other control operating systems 405 (for example, on a second computing device 100 In one embodiment, the hypervisor 401 executes a guest operating system 410 within a virtual machine 406 created by the hypervisor 401. In another embodiment, the guest operating system 410 provides a user of the computing device 100 with access to resources within a computing environment. In still another embodiment, a resource includes a program, an application, a document, a file, a plurality of applications, a plurality of files, an executable program file, a desktop environment, a computing environment, or other resource made available to a user of the computing device 100. In yet another embodiment, the resource may be delivered to the computing device 100 via a plurality of access methods including, but not limited to, conventional installation directly on the computing device 100, delivery to the computing device 100 via a method for application streaming, delivery to the computing device 100 of output data generated by an execution of the resource on a second computing device 100′ and communicated to the computing device 100 via a presentation layer protocol, delivery to the computing device 100 of output data generated by an execution of the resource via a virtual machine executing on a second computing device 100′, or execution from a removable storage device connected to the computing device 100, such as a USB device, or via a virtual machine executing on the computing device 100 and generating output data. In some embodiments, the computing device 100 transmits output data generated by the execution of the resource to another computing device 100′. In one embodiment, the guest operating system 410, in conjunction with the virtual machine on which it executes, forms a fully-virtualized virtual machine which is not aware that it is a virtual machine; such a machine may be referred to as a “Domain U HVM (Hardware Virtual Machine) virtual machine”. In another embodiment, a fully-virtualized machine includes software emulating a Basic Input/Output System (BIOS) in order to execute an operating system within the fully-virtualized machine. In still another embodiment, a fully-virtualized machine may include a driver that provides functionality by communicating with the hypervisor 401. In such an embodiment, the driver may be aware that it executes within a virtualized environment. In another embodiment, the guest operating system 410, in conjunction with the virtual machine on which it executes, forms a paravirtualized virtual machine, which is aware that it is a virtual machine; such a machine may be referred to as a “Domain U PV virtual machine”. In another embodiment, a paravirtualized machine includes additional drivers that a fully-virtualized machine does not include. In still another embodiment, the paravirtualized machine includes the network back-end driver and the block back-end driver included in a control operating system 405, as described above. Referring now to In greater detail, a physical disk 428 is provided by a computing device 100 and stores at least a portion of a virtual disk 442. In some embodiments, a virtual disk 442 is associated with a plurality of physical disks 428. In one of these embodiments, one or more computing devices 100 may exchange data with one or more of the other computing devices 100 regarding processors and other physical resources available in a pool of resources, allowing a hypervisor to manage a pool of resources distributed across a plurality of physical computing devices. In some embodiments, a computing device 100 on which a virtual machine 406 executes is referred to as a physical host 100 or as a host machine 100. The hypervisor executes on a processor on the computing device 100. The hypervisor allocates, to a virtual disk, an amount of access to the physical disk. In one embodiment, the hypervisor 401 allocates an amount of space on the physical disk. In another embodiment, the hypervisor 401 allocates a plurality of pages on the physical disk. In some embodiments, the hypervisor provisions the virtual disk 442 as part of a process of initializing and executing a virtual machine 450. In one embodiment, the management component 404 Referring now to Referring now to Any of the modules of the appliance 200 as described in connection with Still referring to In some embodiments, a server may execute multiple virtual machines 406 In accordance with Moore's Law, the number of transistors that may be placed on an integrated circuit may double approximately every two years. However, CPU speed increases may reach plateaus, for example CPU speed has been around 3.5-4 GHz range since 2005. In some cases, CPU manufacturers may not rely on CPU speed increases to gain additional performance. Some CPU manufacturers may add additional cores to their processors to provide additional performance. Products, such as those of software and networking vendors, that rely on CPUs for performance gains may improve their performance by leveraging these multi-core CPUs. The software designed and constructed for a single CPU may be redesigned and/or rewritten to take advantage of a multi-threaded, parallel architecture or otherwise a multi-core architecture. A multi-core architecture of the appliance 200, referred to as nCore or multi-core technology, allows the appliance in some embodiments to break the single core performance barrier and to leverage the power of multi-core CPUs. In the previous architecture described in connection with Illustrated in In further detail to In some embodiments, distributing work across the cores 505 according to functional parallelism 500, can comprise distributing network traffic according to a particular function such as network input/output management (NW I/O) 510A, secure sockets layer (SSL) encryption and decryption 510B and transmission control protocol (TCP) functions 510C. This may lead to a work, performance or computing load 515 based on a volume or level of functionality being used. In some embodiments, distributing work across the cores 505 according to data parallelism 540, can comprise distributing an amount of work 515 based on distributing data associated with a particular hardware or software component. In some embodiments, distributing work across the cores 505 according to flow-based data parallelism 520, can comprise distributing data based on a context or flow such that the amount of work 515A-N on each core may be similar, substantially equal or relatively evenly distributed. In the case of the functional parallelism approach, each core may be configured to run one or more functionalities of the plurality of functionalities provided by the packet engine or VIP of the appliance. For example, core 1 may perform network I/O processing for the appliance 200′ while core 2 performs TCP connection management for the appliance. Likewise, core 3 may perform SSL offloading while core 4 may perform layer 7 or application layer processing and traffic management. Each of the cores may perform the same function or different functions. Each of the cores may perform more than one function. Any of the cores may run any of the functionality or portions thereof identified and/or described in conjunction with In the case of the functional parallelism approach, each core may be configured to run one or more functionalities of the plurality of functionalities provided by the packet engine of the appliance. For example, core 1 may perform network I/O processing for the appliance 200′ while core 2 performs TCP connection management for the appliance. Likewise, core 3 may perform SSL offloading while core 4 may perform layer 7 or application layer processing and traffic management. Each of the cores may perform the same function or different functions. Each of the cores may perform more than one function. Any of the cores may run any of the functionality or portions thereof identified and/or described in conjunction with The functionality or tasks may be distributed in any arrangement and scheme. For example, While In other embodiments, work, load or network traffic may be distributed among cores 505 according to any type and form of data parallelism 540. In some embodiments, data parallelism may be achieved in a multi-core system by each core performing the same task or functionally on different pieces of distributed data. In some embodiments, a single execution thread or code controls operations on all pieces of data. In other embodiments, different threads or instructions control the operation, but may execute the same code. In some embodiments, data parallelism is achieved from the perspective of a packet engine, vServers (VIPs) 275A-C, network interface cards (NIC) 542D-E and/or any other networking hardware or software included on or associated with an appliance 200. For example, each core may run the same packet engine or VIP code or configuration but operate on different sets of distributed data. Each networking hardware or software construct can receive different, varying or substantially the same amount of data, and as a result may have varying, different or relatively the same amount of load 515. In the case of a data parallelism approach, the work may be divided up and distributed based on VIPs, NICs and/or data flows of the VIPs or NICs. In one of these approaches, the work of the multi-core system may be divided or distributed among the VIPs by having each VIP work on a distributed set of data. For example, each core may be configured to run one or more VIPs. Network traffic may be distributed to the core for each VIP handling that traffic. In another of these approaches, the work of the appliance may be divided or distributed among the cores based on which NIC receives the network traffic. For example, network traffic of a first NIC may be distributed to a first core while network traffic of a second NIC may be distributed to a second core. In some cases, a core may process data from multiple NICs. While Like vServers, NICs can also be associated with particular cores 505. In many embodiments, NICs can be connected to one or more cores 505 such that when a NIC receives or transmits data packets, a particular core 505 handles the processing involved with receiving and transmitting the data packets. In one embodiment, a single NIC can be associated with a single core 505, as is the case with NIC1542D and NIC2542E. In other embodiments, one or more NICs can be associated with a single core 505. In other embodiments, a single NIC can be associated with one or more cores 505. In these embodiments, load could be distributed amongst the one or more cores 505 such that each core 505 processes a substantially similar amount of load. A core 505 associated with a NIC may process all functions and/or data associated with that particular NIC. While distributing work across cores based on data of VIPs or NICs may have a level of independency, in some embodiments, this may lead to unbalanced use of cores as illustrated by the varying loads 515 of In some embodiments, load, work or network traffic can be distributed among cores 505 based on any type and form of data flow. In another of these approaches, the work may be divided or distributed among cores based on data flows. For example, network traffic between a client and a server traversing the appliance may be distributed to and processed by one core of the plurality of cores. In some cases, the core initially establishing the session or connection may be the core for which network traffic for that session or connection is distributed. In some embodiments, the data flow is based on any unit or portion of network traffic, such as a transaction, a request/response communication or traffic originating from an application on a client. In this manner and in some embodiments, data flows between clients and servers traversing the appliance 200′ may be distributed in a more balanced manner than the other approaches. In flow-based data parallelism 520, distribution of data is related to any type of flow of data, such as request/response pairings, transactions, sessions, connections or application communications. For example, network traffic between a client and a server traversing the appliance may be distributed to and processed by one core of the plurality of cores. In some cases, the core initially establishing the session or connection may be the core for which network traffic for that session or connection is distributed. The distribution of data flow may be such that each core 505 carries a substantially equal or relatively evenly distributed amount of load, data or network traffic. In some embodiments, the data flow is based on any unit or portion of network traffic, such as a transaction, a request/response communication or traffic originating from an application on a client. In this manner and in some embodiments, data flows between clients and servers traversing the appliance 200′ may be distributed in a more balanced manner than the other approached. In one embodiment, data flow can be distributed based on a transaction or a series of transactions. This transaction, in some embodiments, can be between a client and a server and can be characterized by an IP address or other packet identifier. For example, Core 1505A can be dedicated to transactions between a particular client and a particular server, therefore the load 515A on Core 1505A may be comprised of the network traffic associated with the transactions between the particular client and server. Allocating the network traffic to Core 1505A can be accomplished by routing all data packets originating from either the particular client or server to Core 1505A. While work or load can be distributed to the cores based in part on transactions, in other embodiments load or work can be allocated on a per packet basis. In these embodiments, the appliance 200 can intercept data packets and allocate them to a core 505 having the least amount of load. For example, the appliance 200 could allocate a first incoming data packet to Core 1505A because the load 515A on Core 1 is less than the load 515B-N on the rest of the cores 505B-N. Once the first data packet is allocated to Core 1505A, the amount of load 515A on Core 1505A is increased proportional to the amount of processing resources needed to process the first data packet. When the appliance 200 intercepts a second data packet, the appliance 200 will allocate the load to Core 4505D because Core 4505D has the second least amount of load. Allocating data packets to the core with the least amount of load can, in some embodiments, ensure that the load 515A-N distributed to each core 505 remains substantially equal. In other embodiments, load can be allocated on a per unit basis where a section of network traffic is allocated to a particular core 505. The above-mentioned example illustrates load balancing on a per/packet basis. In other embodiments, load can be allocated based on a number of packets such that every 10, 100 or 1000 packets are allocated to the core 505 having the least amount of load. The number of packets allocated to a core 505 can be a number determined by an application, user or administrator and can be any number greater than zero. In still other embodiments, load can be allocated based on a time metric such that packets are distributed to a particular core 505 for a predetermined amount of time. In these embodiments, packets can be distributed to a particular core 505 for five milliseconds or for any period of time determined by a user, program, system, administrator or otherwise. After the predetermined time period elapses, data packets are transmitted to a different core 505 for the predetermined period of time. Flow-based data parallelism methods for distributing work, load or network traffic among the one or more cores 505 can comprise any combination of the above-mentioned embodiments. These methods can be carried out by any part of the appliance 200, by an application or set of executable instructions executing on one of the cores 505, such as the packet engine, or by any application, program or agent executing on a computing device in communication with the appliance 200. The functional and data parallelism computing schemes illustrated in Illustrated in Further referring to The packet engine(s) 548A-N can, in some embodiments, be associated with a particular server, user, client or network. When a packet engine 548 becomes associated with a particular entity, that packet engine 548 can process data packets associated with that entity. For example, should a packet engine 548 be associated with a first user, that packet engine 548 will process and operate on packets generated by the first user, or packets having a destination address associated with the first user. Similarly, the packet engine 548 may choose not to be associated with a particular entity such that the packet engine 548 can process and otherwise operate on any data packets not generated by that entity or destined for that entity. In some instances, the packet engine(s) 548A-N can be configured to carry out the any of the functional and/or data parallelism schemes illustrated in Any of the packet engines running on the cores may run in user mode, kernel or any combination thereof. In some embodiments, the packet engine operates as an application or program running is user or application space. In these embodiments, the packet engine may use any type and form of interface to access any functionality provided by the kernel. In some embodiments, the packet engine operates in kernel mode or as part of the kernel. In some embodiments, a first portion of the packet engine operates in user mode while a second portion of the packet engine operates in kernel mode. In some embodiments, a first packet engine on a first core executes in kernel mode while a second packet engine on a second core executes in user mode. In some embodiments, the packet engine or any portions thereof operates on or in conjunction with the NIC or any drivers thereof. In some embodiments the memory bus 556 can be any type and form of memory or computer bus. While a single memory bus 556 is depicted in The NIC 552 can in some embodiments be any of the network interface cards or mechanisms described herein. The NIC 552 can have any number of ports. The NIC can be designed and constructed to connect to any type and form of network 104. While a single NIC 552 is illustrated, the system 545 can comprise any number of NICs 552. In some embodiments, each core 505A-N can be associated with one or more single NICs 552. Thus, each core 505 can be associated with a single NIC 552 dedicated to a particular core 505. The cores 505A-N can comprise any of the processors described herein. Further, the cores 505A-N can be configured according to any of the core 505 configurations described herein. Still further, the cores 505A-N can have any of the core 505 functionalities described herein. While A core may have or use memory that is allocated or assigned for use to that core. The memory may be considered private or local memory of that core and only accessible by that core. A core may have or use memory that is shared or assigned to multiple cores. The memory may be considered public or shared memory that is accessible by more than one core. A core may use any combination of private and public memory. With separate address spaces for each core, some level of coordination is eliminated from the case of using the same address space. With a separate address space, a core can perform work on information and data in the core's own address space without worrying about conflicts with other cores. Each packet engine may have a separate memory pool for TCP and/or SSL connections. Further referring to In one embodiment, the cores 505 may be any type and form of processor. In some embodiments, a core can function substantially similar to any processor or central processing unit described herein. In some embodiment, the cores 505 may comprise any portion of any processor described herein. While While each core 505 can comprise software for communicating with other cores, in some embodiments a core manager (not shown) can facilitate communication between each core 505. In some embodiments, the kernel may provide core management. The cores may interface or communicate with each other using a variety of interface mechanisms. In some embodiments, core to core messaging may be used to communicate between cores, such as a first core sending a message or data to a second core via a bus or subsystem connecting the cores. In some embodiments, cores may communicate via any type and form of shared memory interface. In one embodiment, there may be one or more memory locations shared among all the cores. In some embodiments, each core may have separate memory locations shared with each other core. For example, a first core may have a first shared memory with a second core and a second share memory with a third core. In some embodiments, cores may communicate via any type of programming or API, such as function calls via the kernel. In some embodiments, the operating system may recognize and support multiple core devices and provide interfaces and API for inter-core communications. The flow distributor 550 can be any application, program, library, script, task, service, process or any type and form of executable instructions executing on any type and form of hardware. In some embodiments, the flow distributor 550 may any design and construction of circuitry to perform any of the operations and functions described herein. In some embodiments, the flow distributor distribute, forwards, routes, controls and/ors manage the distribution of data packets among the cores 505 and/or packet engine or VIPs running on the cores. The flow distributor 550, in some embodiments, can be referred to as an interface master. In one embodiment, the flow distributor 550 comprises a set of executable instructions executing on a core or processor of the appliance 200. In another embodiment, the flow distributor 550 comprises a set of executable instructions executing on a computing machine in communication with the appliance 200. In some embodiments, the flow distributor 550 comprises a set of executable instructions executing on a NIC, such as firmware. In still other embodiments, the flow distributor 550 comprises any combination of software and hardware to distribute data packets among cores or processors. In one embodiment, the flow distributor 550 executes on at least one of the cores 505A-N, while in other embodiments a separate flow distributor 550 assigned to each core 505A-N executes on an associated core 505A-N. The flow distributor may use any type and form of statistical or probabilistic algorithms or decision making to balance the flows across the cores. The hardware of the appliance, such as a NIC, or the kernel may be designed and constructed to support sequential operations across the NICs and/or cores. In embodiments where the system 545 comprises one or more flow distributors 550, each flow distributor 550 can be associated with a processor 505 or a packet engine 548. The flow distributors 550 can comprise an interface mechanism that allows each flow distributor 550 to communicate with the other flow distributors 550 executing within the system 545. In one instance, the one or more flow distributors 550 can determine how to balance load by communicating with each other. This process can operate substantially similarly to the process described above for submitting votes to an arbiter which then determines which flow distributor 550 should receive the load. In other embodiments, a first flow distributor 550′ can identify the load on an associated core and determine whether to forward a first data packet to the associated core based on any of the following criteria: the load on the associated core is above a predetermined threshold; the load on the associated core is below a predetermined threshold; the load on the associated core is less than the load on the other cores; or any other metric that can be used to determine where to forward data packets based in part on the amount of load on a processor. The flow distributor 550 can distribute network traffic among the cores 505 according to a distribution, computing or load balancing scheme such as those described herein. In one embodiment, the flow distributor can distribute network traffic according to any one of a functional parallelism distribution scheme 550, a data parallelism load distribution scheme 540, a flow-based data parallelism distribution scheme 520, or any combination of these distribution scheme or any load balancing scheme for distributing load among multiple processors. The flow distributor 550 can therefore act as a load distributor by taking in data packets and distributing them across the processors according to an operative load balancing or distribution scheme. In one embodiment, the flow distributor 550 can comprise one or more operations, functions or logic to determine how to distribute packers, work or load accordingly. In still other embodiments, the flow distributor 550 can comprise one or more sub operations, functions or logic that can identify a source address and a destination address associated with a data packet, and distribute packets accordingly. In some embodiments, the flow distributor 550 can comprise a receive-side scaling (RSS) network driver, module 560 or any type and form of executable instructions which distribute data packets among the one or more cores 505. The RSS module 560 can comprise any combination of hardware and software, In some embodiments, the RSS module 560 works in conjunction with the flow distributor 550 to distribute data packets across the cores 505A-N or among multiple processors in a multi-processor network. The RSS module 560 can execute within the NIC 552 in some embodiments, and in other embodiments can execute on any one of the cores 505. In some embodiments, the RSS module 560 uses the MICROSOFT receive-side-scaling (RSS) scheme. In one embodiment, RSS is a Microsoft Scalable Networking initiative technology that enables receive processing to be balanced across multiple processors in the system while maintaining in-order delivery of the data. The RSS may use any type and form of hashing scheme to determine a core or processor for processing a network packet. The RSS module 560 can apply any type and form hash function such as the Toeplitz hash function. The hash function may be applied to the hash type or any the sequence of values. The hash function may be a secure hash of any security level or is otherwise cryptographically secure. The hash function may use a hash key. The size of the key is dependent upon the hash function. For the Toeplitz hash, the size may be 40 bytes for IPv6 and 16 bytes for IPv4. The hash function may be designed and constructed based on any one or more criteria or design goals. In some embodiments, a hash function may be used that provides an even distribution of hash result for different hash inputs and different hash types, including TCP/IPv4, TCP/IPv6, IPv4, and IPv6 headers. In some embodiments, a hash function may be used that provides a hash result that is evenly distributed when a small number of buckets are present (for example, two or four). In some embodiments, hash function may be used that provides a hash result that is randomly distributed when a large number of buckets were present (for example, 64 buckets). In some embodiments, the hash function is determined based on a level of computational or resource usage. In some embodiments, the hash function is determined based on ease or difficulty of implementing the hash in hardware. In some embodiments, the hash function is determined based on the ease or difficulty of a malicious remote host to send packets that would all hash to the same bucket. The RSS may generate hashes from any type and form of input, such as a sequence of values. This sequence of values can include any portion of the network packet, such as any header, field or payload of network packet, or portions thereof. In some embodiments, the input to the hash may be referred to as a hash type and include any tuples of information associated with a network packet or data flow, such as any of the following: a four tuple comprising at least two IP addresses and two ports; a four tuple comprising any four sets of values; a six tuple; a two tuple; and/or any other sequence of numbers or values. The following are example of hash types that may be used by RSS:
The hash result or any portion thereof may used to identify a core or entity, such as a packet engine or VIP, for distributing a network packet. In some embodiments, one or more hash bits or mask are applied to the hash result. The hash bit or mask may be any number of bits or bytes. A NIC may support any number of bits, such as seven bits. The network stack may set the actual number of bits to be used during initialization. The number will be between 1 and 7, inclusive. The hash result may be used to identify the core or entity via any type and form of table, such as a bucket table or indirection table. In some embodiments, the number of hash-result bits are used to index into the table. The range of the hash mask may effectively define the size of the indirection table. any portion of the hash result or the hast result itself may be used to index the indirection table. The values in the table may identify any of the cores or processor, such as by a core or processor identifier. In some embodiments, all of the cores of the multi-core system are identified in the table. In other embodiments, a port of the cores of the multi-core system are identified in the table. The indirection table may comprise any number of buckets for example 2 to 128 buckets that may be indexed by a hash mask. Each bucket may comprise a range of index values that identify a core or processor. In some embodiments, the flow controller and/or RSS module may rebalance the network rebalance the network load by changing the indirection table. In some embodiments, the multi-core system 575 does not include a RSS driver or RSS module 560. In some of these embodiments, a software steering module (not shown) or a software embodiment of the RSS module within the system can operate in conjunction with or as part of the flow distributor 550 to steer packets to cores 505 within the multi-core system 575. The flow distributor 550, in some embodiments, executes within any module or program on the appliance 200, on any one of the cores 505 and on any one of the devices or components included within the multi-core system 575. In some embodiments, the flow distributor 550′ can execute on the first core 505A, while in other embodiments the flow distributor 550″ can execute on the NIC 552. In still other embodiments, an instance of the flow distributor 550′ can execute on each core 505 included in the multi-core system 575. In this embodiment, each instance of the flow distributor 550′ can communicate with other instances of the flow distributor 550′ to forward packets back and forth across the cores 505. There exist situations where a response to a request packet may not be processed by the same core, i.e. the first core processes the request while the second core processes the response. In these situations, the instances of the flow distributor 550′ can intercept the packet and forward it to the desired or correct core 505, i.e. a flow distributor instance 550′ can forward the response to the first core. Multiple instances of the flow distributor 550′ can execute on any number of cores 505 and any combination of cores 505. The flow distributor may operate responsive to any one or more rules or policies. The rules may identify a core or packet processing engine to receive a network packet, data or data flow. The rules may identify any type and form of tuple information related to a network packet, such as a 4-tuple of source and destination IP address and source and destination ports. Based on a received packet matching the tuple specified by the rule, the flow distributor may forward the packet to a core or packet engine. In some embodiments, the packet is forwarded to a core via shared memory and/or core to core messaging. Although Illustrated in Further referring to Any portion of the memory of each of the cores may be allocated to or used for a global cache that is shared by the cores. In brief overview, a predetermined percentage or predetermined amount of each of the memory of each core may be used for the global cache. For example, 50% of each memory of each code may be dedicated or allocated to the shared global cache. That is, in the illustrated embodiment, 2 GB of each core excluding the control plane core or core 1 may be used to form a 28 GB shared global cache. The configuration of the control plane such as via the configuration services may determine the amount of memory used for the shared global cache. In some embodiments, each core may provide a different amount of memory for use by the global cache. In other embodiments, any one core may not provide any memory or use the global cache. In some embodiments, any of the cores may also have a local cache in memory not allocated to the global shared memory. Each of the cores may store any portion of network traffic to the global shared cache. Each of the cores may check the cache for any content to use in a request or response. Any of the cores may obtain content from the global shared cache to use in a data flow, request or response. The global cache 580 can be any type and form of memory or storage element, such as any memory or storage element described herein. In some embodiments, the cores 505 may have access to a predetermined amount of memory (i.e. 32 GB or any other memory amount commensurate with the system 575). The global cache 580 can be allocated from that predetermined amount of memory while the rest of the available memory can be allocated among the cores 505. In other embodiments, each core 505 can have a predetermined amount of memory. The global cache 580 can comprise an amount of the memory allocated to each core 505. This memory amount can be measured in bytes, or can be measured as a percentage of the memory allocated to each core 505. Thus, the global cache 580 can comprise 1 GB of memory from the memory associated with each core 505, or can comprise 20 percent or one-half of the memory associated with each core 505. In some embodiments, only a portion of the cores 505 provide memory to the global cache 580, while in other embodiments the global cache 580 can comprise memory not allocated to the cores 505. Each core 505 can use the global cache 580 to store network traffic or cache data. In some embodiments, the packet engines of the core use the global cache to cache and use data stored by the plurality of packet engines. For example, the cache manager of In some embodiments, the cores 505 can use the global cache 580 to store a port allocation table which can be used to determine data flow based in part on ports. In other embodiments, the cores 505 can use the global cache 580 to store an address lookup table or any other table or list that can be used by the flow distributor to determine where to direct incoming and outgoing data packets. The cores 505 can, in some embodiments read from and write to cache 580, while in other embodiments the cores 505 can only read from or write to cache 580. The cores may use the global cache to perform core to core communications. The global cache 580 may be sectioned into individual memory sections where each section can be dedicated to a particular core 505. In one embodiment, the control core 505A can receive a greater amount of available cache, while the other cores 505 can receiving varying amounts or access to the global cache 580. In some embodiments, the system 575 can comprise a control core 505A. While The control plane of the multi-core system may be the designation and configuration of a core as the dedicated management core or as a master core. This control plane core may provide control, management and coordination of operation and functionality the plurality of cores in the multi-core system. This control plane core may provide control, management and coordination of allocation and use of memory of the system among the plurality of cores in the multi-core system, including initialization and configuration of the same. In some embodiments, the control plane includes the flow distributor for controlling the assignment of data flows to cores and the distribution of network packets to cores based on data flows. In some embodiments, the control plane core runs a packet engine and in other embodiments, the control plane core is dedicated to management and control of the other cores of the system. The control core 505A can exercise a level of control over the other cores 505 such as determining how much memory should be allocated to each core 505 or determining which core 505 should be assigned to handle a particular function or hardware/software entity. The control core 505A, in some embodiments, can exercise control over those cores 505 within the control plan 570. Thus, there can exist processors outside of the control plane 570 which are not controlled by the control core 505A. Determining the boundaries of the control plane 570 can include maintaining, by the control core 505A or agent executing within the system 575, a list of those cores 505 controlled by the control core 505A. The control core 505A can control any of the following: initialization of a core; determining when a core is unavailable; re-distributing load to other cores 505 when one core fails; determining which distribution scheme to implement; determining which core should receive network traffic; determining how much cache should be allocated to each core; determining whether to assign a particular function or element to a particular core; determining whether to permit cores to communicate with one another; determining the size of the global cache 580; and any other determination of a function, configuration or operation of the cores within the system 575. F. Systems and Methods for nTier Cache Redirection In another aspect, the appliances may be deployed in a multiple tier (referred to as nTier) architecture to provide a scalable solution for transparent cache redirection. Cache servers store frequently requested content and serves the content to a client on behalf of an origin server. As such, the cache server reduces the load on the origin server or server farm. Embodiments of the appliance 200 include a cache redirection feature that sends requests for cacheable data to cache servers and sends non-cacheable requests and dynamic requests, such as dynamic HTTP requests, to origin servers. Cache redirection works with various protocols, such HTTP, HTTPS, and NTNP protocols. By way of illustration, the following embodiments of HTTP-based redirection are discussed. The appliance may redirect data, such as HTTP data, in the following ways:
The cache redirection feature of embodiments of the appliance may have multiple modes, such as transparent mode, reverse proxy mode and forward proxy mode. Any vServer 275 of the appliance may be configured to be a cache redirection vServer. For transparent mode, transparent caches may reside on a variety of points along a network backbone to alleviate traffic along the delivery route. In transparent mode, the cache redirection virtual server sends noncacheable requests directly to the origin server. For Reverse proxy mode, reverse proxy caches may sit in front of origin servers. In reverse proxy mode, the cache redirection virtual server may the request to either a load balancing virtual server for the origin or to a load balancing virtual server for the cache. The load balancing virtual server selects the destination server. For forward proxy mode, a forward proxy cache server resides on the edge of an enterprise LAN and faces the WAN. In forward proxy mode, the cache redirection virtual server sends noncacheable requests to a DNS load balancing virtual server, which selects the destination of the origin server. In embodiments of transparent mode, the appliance is configured to evaluate traffic to determine if the traffic, or portion thereof, is cacheable. Transparent mode may alleviate traffic along the delivery route, and may be used when the cache server resides on the backbone of an ISP or carrier. In transparent mode, the appliance, such as via a cache redirection vServer, evaluates a request against a policy. The appliance sends cacheable requests to a cache server and sends non-cacheable requests to the origin server. For example, if the appliance receives a request that is directed to a mail server, the appliance may compare the HTTP headers in the request with a set of policy expressions If the request does not match the policy, the appliance forwards the request to a cache server. If the response does match a policy, the appliance forwards the request, unchanged, to the mail server. In transparent mode, the appliance evaluates any request that it receives on a port, such as port 80, for cache redirection. The appliance may rely on a host domain name or IP address in the request's HOST header to determine the requested destination. If there is no HOST header in the request, the appliance may insert a HOST header using the destination IP address in the request. In transparent mode, a cache redirection virtual server of the appliance may be configured and associated with policies. The policies may allow the cache redirection virtual server to determine if the request is cacheable or noncacheable. The cache redirection virtual server may also be associated with a load balancing virtual server that is responsible for forwarding requests to the cache, depending on the outcome of the policy evaluation. Non-cacheable requests may be sent to the origin server. The following is an embodiment of a process overview for cache redirection using a transparent virtual server. A client sends a request. A cache redirection virtual server of an appliance 200 intercepts the request. The cache redirection virtual server may be a pass-through that does not itself have an IP address. Policies may be associated with this cache redirection virtual server and allow or enable the cache redirection virtual server to determine if the request is cacheable. If the request does not match any policy, it may be considered cacheable and the following occurs: the cache redirection virtual server forwards the request to a load balancing virtual server for the cache, the load balancing virtual server passes the request to an HTTP service, and the HTTP service forwards the request to a physical cache server. If the request does match a policy, the appliance forwards the request to the origin server that appears in the request. Referring now to For transparent cache redirection scenarios, the client's IP address may need to be maintained by a second layer appliance for establishing a connection to the origin server, such as on a cache miss. As any of the parallel deployed appliances of layer 2 may receive client requests from a layer 1 load balancing appliance, embodiments of the present solution provide a port range allocation technique to allow one of the appliances to maintain and use the client IP address. The port range allocation scheme provides a mechanism for layer 1 appliances to send appropriate traffic to the layer 2 appliance maintaining the client IP address. The layer 2 appliances may be each configured to receive traffic on a predetermined set of ports 602A-602N of a range of available ports 605 to be managed across all layer 2 appliances. For example, appliance NSB1 may allow or establish connections on a first range of ports 602A, while appliance NSB2 allows or establishes connections on a second range of ports 602B, appliance NSB3 allows or establishes connections on a third range of ports 602C, and so on. In further details, a router R1 may be any type and form of router. The router may be configured to route any network traffic from any client machine 102A-102N to layer 1 appliances, such as appliances NSA1 and NSA2. The router may be configured to direct network packets, such as HTTP packets, to layer 1 based on the source IP address of the packet. In some embodiments, the router may be configured to direct all network packets from clients to a layer 1 appliance. The first tier of the nTier deployment may comprise any number of appliances 200A-200B. Each of the layer 1 appliances may be deployed and/or configured to receive network traffic from the router. Each of the layer 1 appliances may be deployed and/or configured to receive network traffic from the client machines. The layer 1 appliances, such as vServers running on these appliances, may be configured to load balance the plurality of appliances comprising the second tier or layer 2 of the nTier deployment. Any type of load balancing scheme or algorithm may be used to load balance the second tier. The layer 1 appliances, such as vServers running on these appliances, may be configured to use policy base routing rules 610 to determine a next hop 615 for a request or response based on a destination port 612. The layer 1 appliances may be configured to support use source IP mode, referred to as USIP mode. Applications that use logging, such as web server logging may require or request that the original client IP addresses be recorded in the server logs. The appliance can forward the source IP address of the client to the server without masking the address, to ensure that the client IP address appears in the logs. The Use Source IP mode (USIP) mode accommodates such applications. If USIP mode is enabled, the appliance forwards each packet to the appropriate server without changing the source IP address. With USIP mode, the appliances in this cache redirection deployment may maintain and track the client's IP address and port information as requests and response are transmitted and received between the different entities in the deployment, such as from layer 1 appliance to layer 2 appliance to cache server back to layer appliance and layer 2 appliance, etc. The appliances may store the client's IP address and port information in connection with any records, data structures or objects used by the appliance to manage and track connections. The appliances may store the client's IP address and port information in connection or associated or mapped to any IP addresses and/or ports used by the appliance in place of or instead of the client's IP and port information. The appliance can lookup this client information in connection with receipt of any request or responses from a cache server or origin server. The appliance can lookup this client information in connection with any IP addresses and/or ports used by the appliance in place of or instead of the client's IP and port information. In some embodiments, the layer 1 appliances may be configured for Direct Server Return (DSR) mode. To function in DSR mode, the destination IP in the client request remains unchanged. Instead, the appliance changes the destination MAC to that of the selected server. This setting enables the server to determine the client MAC address for forwarding requests to the client while bypassing the server. In a high-data volume environment, sending server traffic directly to the client in DSR mode may increase the overall packet handling capacity of the appliance because the packets do not flow through the appliance. The layer 1 appliances may be configured with one or more policy based routes (PBRs) 610. A policy engine of the appliance may be configured with, use or apply one or more PBRs to packets traversing the appliance, such as a packet intercepted or received by the appliance. The PBRs may be designed and/or configured to route traffic to the layer 2 appliances based on policy. Policy based routing bases routing decisions on specified criteria. A policy based route (PBR) specifies criteria for selecting packets and a next hop 615 to which to send the selected packets. For example, the appliance may be configured to route outgoing packets from a specific IP address or range to a particular next hop router. Each packet is matched against each configured PBR, in the order determined by any specified priorities, until a match is found. If no match is found, or if the matching PBR specifies a DENY action, the appliance applies the routing table for normal destination-based routing. A PBR routing decisions for the data packets may be based on parameters, such as source IP address, source port, destination IP address, destination port, protocol, and source MAC address. A PBR defines the conditions that a packet must satisfy for the appliances to route the packet. These actions are known as “processing modes.” The processing modes are: ALLOW—the appliance sends the packet to the designated next-hop router and DENY—the appliance applies the routing table for normal destination-based routing. A PBR policy may specify a routing action to take. The PBR policy may specify a routing action to take based on one or more parameters. The PBR policy may specify an action and a rule. The rule may identify or specify a set of conditions for which the specification action of the policy is to be taken. The set of conditions for the rule may be based on matching or evaluation one or more parameters of the policy against corresponding characteristics 645 of a packet. The policy may use an expression or policy language to configure parameters for the PBR policy and/or evaluate parameters in a logical expression. The parameters may include, but are not limited to, a grammar or language construct to identify any one or more parameters for the following characteristics:
The PBR policy may allow or deny a packet access via a next hop. The PBR policy may specify a predetermined next hop for the routing action. The PBR policy may specify an enumerated list of next hops for which the appliance may select one to which to forward the packet. In some embodiments, the enumerated list may be in a prioritized order. In some embodiments, the PBR policy may specify a predetermined ISP thru which to take the routing action. In some embodiments, the PBR policy may specify a predetermined appliance, device or IP address thru which to take the routing action. In some embodiments, the PBR policy may specify a load balancing scheme, algorithm or type for load balancing a plurality of next hops, such as a next hop for the routing action. The PBRs may be designed and configured to select the next hop 615 corresponding to one of the second layer appliances that has an allocation port range containing or identify the destination port 612 of the communication, such as a response or request. For each of the appliances of layer two or the second tier, a PBR may be configured or specified to identify the IP address of the appliance as a next hop if the destination port of the communication falls within the allocation port range for that appliance. The destination port may be a port hosted by the secondary appliance for managing communications between the appliance and an origin server or cache server. The next hop may be one of the IP addresses hosted by the appliance or by which the appliance is addressable or routable. The PBR may comprise or specify any type and form of expression, including an object-oriented expression which may be applied to the content of the packet, including headers and fields. In some embodiments, an expression of the PBR is used to identify the TCP port from a TCP packet. In some embodiments, an expression of the PBR is used to identify a port from a payload of a packet. In some embodiments, an expression of the PBR is used to identify a port from application layer content of a packet, such as HTTP content. In some embodiments, the following example configuration models may be used for configuring any of the layer 1 appliances, upper layer appliances or appliances that load balance a lower layer of appliances. The following command may add a load balancing vServer 275 to intercept all traffic coming from the client and load-balance these across the lower level appliances. In some embodiments, to reduce the memory load on the appliance, the load balancing may be sessionless. As shown in the above configuration, appliance NSB1 of layer 2 is allocated the TCP port range of 1025-4000 to be the next hop while NSB2 of layer 2 is allocated the TCP port range of 4001 to 8000 for the next hop. The appliance may also be configured as a packet forward device by enabling L3 mode. With L3 mode enabled, the appliance forwards any received unicast packets that are destined for an IP address that the appliance does not have internally configured, if there is a route to the destination. The appliance can also route packets between VLANs Any TCP port range allocation scheme may be used to direct traffic from the layer 1 appliances to the layer 2 appliances, such as via configured PBR rules. An available port range 605 may include any of the ports useable for transport layer communications, such as any TCP or UDP port. The available port range may include well-known, registered and/or reserved ports, or any combination thereof. The available port range may include official ports that registered with the Internet Assigned Numbers Authority (IANA). The available port range may include unofficial ports not registered with the IANA. The available port range may include multiple use ports for use by multiple applications. The available port range may include a selection of ports from the well-known, registered and/or reserved ports. The available port range may exclude certain ports, such as registered ports, well-known ports and/or unofficial ports. In some embodiments, the available TCP port range 605 may be allocated evenly among the number of layer 2 appliances (e.g., total number of ports in the port range divided by the total number of appliances in layer 2). In some embodiments, available TCP port range may be allocated unevenly in which one appliance has more TCP ports allocated than another appliance in layer 2. In some embodiments, the available TCP port range is allocated sequentially among the appliances, such that a first appliance is allocated a first sequence in the range followed by a second appliance being allocated a second sequence in the range, and so on. In some embodiments, the available TCP port range is allocated non-sequentially such that there are gaps in port ranges allocated among a number of the appliances. In some embodiments, an appliance may be allocated to be a catch-all for any ports not allocated to other appliances. Although at times the port ranges may be discussed in terms of TCP port numbers, the port allocation and communications techniques are applicable to any type of port numbers, such as the list of Internet socket port numbers used by protocols of the Transport Layer of the Internet Protocol Suite for the establishment of host-to-host communications. Such port numbers may include any type and form of transport layer ports, such as UDP, Stream Control Transmission Protocol (SCTP) and Datagram Congestion Control Protocol (DCCP) ports, that may be used for establishing host-to-host communications. The second tier of the nTier deployment may comprise any number of appliances 200C-200N. Each of the layer 2 appliances may be deployed and/or configured to receive network traffic from or be load balanced by the layer 1 appliances. The appliance of the layer 2 may be the same type or different types than the appliances of layer 1. The layer 2 appliances may be configured to load balance via a plurality of load balancing (lb) vServers the plurality of cache servers 106A-106N, using any load balancing scheme or algorithm. The load balancing scheme to load balance the cache servers may be the same or different from the load balancing scheme load balancing the layer 1 appliances. The layer 2 appliances may execute one or more vServers configured to be or established as cache redirection vServers. These cache redirection vServers may be configured to operate in transparent mode. In redirecting to otherwise communicating with the cache servers, the layer 2 appliances use a mapped IP address or MIPs for server-side connections. When the appliance receives a packet, the appliance may replace the source IP address with a MIP before sending the packet to the server. The server sends packets to the MIP address hosted by the appliance. The layer 2 appliance may use a MIP that maps an IP address hosted by the appliance to the client IP or source address received from client request via the layer 1 appliance. The layer 2 appliance may insert the Client IP as a header into the request. In case of a cache miss, the Client-IP may be extracted from the request from the cache, and used for the connection to the origin server. A source IP expression, referred to as srcIPExp, may be configured for the cache redirection vServer to identify the portion of the request from which to extract the inserted client-IP address. The source IP expression may comprise any type and form of logic or expression, such as an object-oriented expression that identifies a header, field or data portion of a packet from which to find or obtain an source IP address. In some embodiments, the source IP expression is an expression configured to identify the client IP address in a predetermined field of a request, such as a header named ClientIP in an HTTP request. Since the Client IP may be used while contacting the origin server, on the vServer “OriginUSIP” parameter may be enabled. The originUSIP is a parameter that determines whether or not to use the source IP address when directing or sending requests to the origin server. If the originUSIP is enabled, the cache redirection vServer uses the source IP address, in this case, the client IP address and sending requests to the origin server. Furthermore, the cache redirection vServer may be configured for MAC (Media Access Control) mode in which the destination IP address does not change for connections to the cache servers. The MAC address is changed to select the cache server from the plurality of cache servers. The MAC mode is used in conjunction with the DSR mode to provide direct server return. For requests going to the origin server, each layer 2 appliance will use an exclusive set of source ports. These ports are specified by setting the “OriginSrcPort” parameter on the vServer. This configuration of ports is in tandem with the PBRs set on the upper level appliances. The source ports of each layer 2 appliance is configured to correspond to the destination ports of the PBR configured in the layer 1 appliances for that layer 2 appliance. In some embodiments, the following example configuration models may be used for configuring any of the layer 2 appliances or lower layer appliances. The following command may add a load balancing vServer 275 to intercept all traffic coming from layer 1 and load-balance these across the cache servers. The command (e.g., -cip enabled) also enables the insertion of the client address in the client request and identifies the name of Client IP address header addition to be used to insert the client IP address. The -m MAC option enables MAC-based forwarding for DST mode, in which the appliance does not change the destination IP in the client request but modifies the destination MAC to the MAC address of the selected load-balanced server. Referring now to Referring now to Referring now to Referring to For a cache hit scenario, at step 725, the second tier appliance receives the client request from load balancing by the first tier appliance and determines that the request is cacheable. Responsive to this determination, at step 730, the second tier appliance transmits the client's request to the cache server instead of the origin server. The second tier appliance may insert the client's IP and port information (source IP and port of client's request) in the request sent to the cache server. At step 735, the tier 2 appliance receives the response from the cache server and sends a response back to the client based on content received from the cache server. For a cache bypass scenario, at step 760, the second tier appliance receives the client request from load balancing by the first tier appliance and determines that the request is not cacheable. Responsive to this determination, at step 765, the second tier appliance transmits the client's request to the origin server. The second tier appliance may insert the client's IP and port information (source IP and port of client's request) in the request sent to the origin server. At step 770, a tier 1 appliance receives the response from the origin server and responsive to a PBR rule based on port allocation technique, sends the response back to the second tier appliance who forwarded the request to the origin server. At step 775, the tier 2 appliance receives the response and sends a response back to the client based on content received from the origin server. For a cache miss scenario, at step 725, the second tier appliance receives the client request from load balancing by the first tier appliance and determines that the request is cacheable. Responsive to this determination, at step 730, the second tier appliance transmits the client's request to the cache server instead of the origin server. The second tier appliance may insert the client's IP and port information (source IP and port of client's request) in the request sent to the cache server. At step 750, responsive to a cache miss, the cache server sends a second request to the original server. The second tier appliance receives this request and sends to origin server. At step 770, a tier 1 appliance receives the response from the origin server and responsive to a PBR rule based on the port allocation technique, the tier 1 appliance sends the response back to the second tier appliance who forwarded the request to the origin server. At step 775, the tier 2 appliance receives the response and sends a response back to the client based on content received from the origin server. In further details, at step 705, any ports or all of the ports of the available port range 605 may be allocated among a plurality of intermediary devices, such as appliances 200, targeted or intended to make up or comprise a lower layer/tier in a multi-layer/tier deployment. The available port range 605 may be TCP port numbers available for use by one or more of the appliances. The port numbers from the port range 605 may be allocated using any allocation scheme. In some embodiments, each layer 2/tier 2 appliance receives an even allocation or distribution of non-overlapping port numbers from the available port range 605. In some embodiments, each layer 2/tier 2 appliance receives an uneven allocation from the available port range 605 in which one appliance in layer 2 has more ports allocated than another appliance in layer 2. In some embodiments, each layer 2/tier 2 appliance receives a sequential allocation among the appliances, such that a first appliance is allocated a first sequence in the range followed by a second appliance being allocated a second sequence in the range, and so on. In some embodiments, first appliances receives their respective allocation non-sequentially such that there are gaps in port ranges allocated among a number of the appliances. In some embodiments, one of the layer 2 appliances may be designated as a catch-all and be allocated any ports not allocated to other appliances. At step 710, the second tier/layer 2 appliances are configured according to their respective port allocation as may be determined from step 705. Each appliance for the second tier or layer may be configured to listen on and/or accept connections only to the ports allocated to that appliance. An appliance may have configured and execute one or more vServers. Each of the vServers may listen on and/or accept connections on ports in the appliance's allocations of ports. In some embodiments, one vServer listens on and/or accepts connections from any port in the allocated port range. In some embodiments, a plurality of vServers listen on and/or accept connections from any port in the allocated port range. In some embodiments, one vServer on the appliance listens on and/or accepts connections from a first subset of ports in the allocated port range while another vServer on the appliance listens on and/or accepts connections from a second and different subset of ports in the allocated port range. The second tier/layer 2 appliances may also be configured to perform cache redirection services, such as any of the cache redirection operations described herein. One or more cache redirection vServers 275 or vServers configured or constructed to perform cache redirection service may be executed on each of the second tier appliances. The cache redirection vServers may include logic or policies to determine or identify whether or not a request for content is for cacheable or not cacheable content. These policies may include any type and form of expressions, including object oriented expressions, to identify content or portions of the request and based on the values or content in those portions take an action of making a request to a cache server or bypassing the cache server and forwarding the request to the origin server. The cache redirection vServer may have modes for using the source IP address of the client's request in communications to the origin server. The cache redirection vServer may have a policy expression to identify in which portion of a packet to insert a client IP and/or port information to maintain client information during the cache redirection flow of network traffic among the appliances or to/from the cache servers. The cache redirection vServer may establish connections with one or more cache servers. The cache redirection vServer may load balance requests sent to a pool, cluster or set of cache servers. In some embodiments, the cache redirection vServer may use MAC ID or layer 2 switching to communicate to the cache servers, such as to maintain the destination information (IP and port) of the request as identifying the origin server. The second tier appliances may also include a vServer for load balancing client request among a plurality of services, such as a plurality of origin servers to which the client's request may be forwarded. In some embodiments, the second tier appliance may include a vServer or vServers for performing cache redirection to the cache servers as well as load balancing the requests to the back-end origin servers. At step 715, the first tier/layer 1 appliances are configured according to the number and configuration of the second tier appliances. Each of the first tier appliances may be configured with load balancing vServers to load balance client requests among the plurality of second tier appliances. In some embodiments, the vServer is configured to manage the services of the second tier appliances. As such, in some embodiments, the vServer identifies the IP address and port information for each second tier appliance as a service to be load balanced. Each of the first tier appliances may also include a plurality of PBR rules configured based on the respective port allocation of each of the second tier appliances. A PBR rule may be configured on each appliance of the first tier that matches a destination port of a communication to the IP address of a second tier appliance as a next hop. At step 720, a first tier appliance may receive a client request to a server, such as to retrieve content or an object from the server. The first tier appliance, such as via a vServer, may load balance the request among the plurality of second tier appliances, such as by load balancing the services configured on the first tier appliance for the second tier appliances. The load balancing vServer may use any load balancing scheme, such as round robin to load balance the lower layer of appliances. Upon selection of the lower layer appliance/service responsive to the load balancing decision, the first tier appliance forwards the client's request to the selected appliance of the second tier. If the source IP is to be maintained, such via a selected mode or configuration, the first tier appliance forwards the client request without changing the source IP address and/or port. In some embodiments, the first tier appliance changes the source IP address and/or port to a IP address and/or port hosted by or managed by the first tier appliance. At the second tier appliance processing level, any one of the cache redirection scenarios illustrated in In the cases of a cache hit or cache miss, at step 725, the second tier appliance receiving the client request from the first tier appliance may determine that the request is cacheable. A vServer of the second tier appliance may comprise one or more policies that identify whether or not a request or the content request thereof if cacheable. The policies may include expressions, such as object oriented expressions, that identify or match any portion of the request. Based on the result of evaluation of the expression of the policy, the vServer may determine whether or not to send the request to a cache server. At step 730, the second tier appliance may determine responsive to the policy to forward or transmit the client's request to a cache server. The vServer of the second tier appliance may load balance the request among a plurality of cache servers. The vServer may modify the request sent to the cache server to use a hosted or mapped IP address and port of the second tier appliance as the source IP and address of the request. The second tier appliance may modify the request to include the client's IP address and/or port information, such as in an application layer content. For example, the second tier appliance may modify the request to include the client's IP address and/or port information in an HTTP header or field, or in the body of HTTP content. The second tier appliance may modify the request to include the client's IP address and/or port information based on a policy that identified via an expression or otherwise the location in the packet to include such information. The second tier appliance may use layer 2 switching, The second tier appliance modify the destination MAC ID of the request to identify the MAC ID of a cache server or the selected cache server. The second tier appliance may maintain in the request the destination IP address and/or destination port of the origin server. In the cases of a cache hit, at step 735, the second tier appliance, such as via a vServer of the second tier appliance, may receive a response from the cache server that includes content from a cache hit by the cache server. The cache server may send the response to the second tier appliance using the mapped IP address and/or port from the source IP address and port of the modified request. The vServer of the second tier appliance may process the response from the cache server to form, provide and transmit to the client a response to the client's request. In some embodiments, with DSR mode, the second tier appliance sends the response to the client via clients IP address and port bypassing the first layer appliances. In the cases of a cache hit, at step 750, the second tier appliance receives or intercepts a request from the cache server back to the origin server to retrieve the content or response to the client's request. Responsive to a cache miss, the cache server may use the client's IP information in the request received from and modified by the second tier appliance to generate a second request to send to the origin server which identifies the client's IP and port information as the source IP address and source port. The cache server may be designed and configured to identify or extract the client's IP address and port information in a predetermined location of the request, such as in the HTTP header. This location may correspond to the policy or expression of the policy that instructs or identifies to the cache redirection (CR) vServer of the second tier appliance in what location in the request to the cache server to include or maintain the client's IP address and port information. The second tier appliance may forward the request to the origin server. A load balancing vServer of the second tier appliance may forward the request to one origin server of a plurality of origin servers that the second tier is load balancing. In some embodiments, the second tier appliance may use the client's IP address and port as the source IP address and port for the request sent to the origin server. In some embodiments, the second tier appliance may use an IP address and port hosted by the second tier appliance as the source IP address and port for the request sent to the origin server. In some embodiments, the second tier appliance may modify the request to the origin server to include the client's IP and port information in a location in the packet specified by policy in a similar manner as when sending to the cache server described above. The origin server may send a response to the request back to the destination IP address and port of the second tier appliance. In some embodiments, at step 770, when the origin server sends a response to the request back to the client a tier 1 or layer appliance may receive the response. Based on applying one or more PBRs to this response, the first tier appliance may identify the second tier appliance which performed cache redirection on the response or otherwise was the second tier appliance processing and/or managing communications to the origin server in connection with the response. Based on applying one or more PBRs to the response, the first tier appliance may identify that the destination port of the response corresponds to or matches a next hop of the PBR—this next hop corresponds to or identifies the IP address of the second tier appliance that sent the request to the origin server causing the response. The destination port of the response matches or corresponds to the allocated port range 602A-N of the second tier appliance that send the request to the origin server. Responsive to a PBR, the first tier appliance forwards or transmits the response to the next hop IP address of the second tier appliance. At step 775, the second tier 2 appliance receives the response of the origin server from the first tier appliance. The second tier 2 appliance, such as a vServer of the second tier appliance, may process the response from the origin server forwarded by the first tier appliance to form, provide and transmit to the client a response to the client's request. In some embodiments, with DSR mode, the second tier appliance sends the response to the client via clients IP address and port bypassing the first layer appliances. Further details of a cache bypass scenario, at step 760, the second tier appliance receives the client request from load balancing by the first tier appliance. Via one or more cache redirection policies not matching the request, the second tier appliance may determine that the request is not cacheable or the content requested thereof is not cacheable or that the request is otherwise not to be sent to the cache server. Via one or more policies matching the request, the second tier appliance may determine that the request is to be sent to the origin server only. Via one or more policies matching the request, the second tier appliance may determine that the cache server is to be bypassed. Responsive to the determination of step 760, at step 765, the second tier appliance transmits the client's request to the origin server. A load balancing vServer of the second tier appliance may load balance the request among a plurality of origin servers. The second tier appliance may modify the request sent to the origin server. The second tier appliance may use an IP address and port hosted by the appliance as the source IP address and port of the request. In some embodiments, the second tier appliance may insert the client's IP and port information (source IP and port of client's request) in the request sent to the origin server, such as in a location specified by a policy. The cache bypass scenario may follow any of the embodiments of steps 770 and 775 previously described above in connection with the cache miss scenario. As described in step 770 for the cache miss scenario, a first tier appliance receives the response from the origin server and responsive to a PBR rule based on the port allocation technique described herein, the first tier appliance sends the response back to the second tier appliance who forwarded the request to the origin server. As described in step 775 for the cache miss scenario, the tier 2 appliance receives the response and sends a response back to the client based on content received from the origin server.RELATED APPLICATION
FIELD OF THE INVENTION
BACKGROUND OF THE INVENTION
SUMMARY OF THE INVENTION
BRIEF DESCRIPTION OF THE FIGURES
DETAILED DESCRIPTION OF THE INVENTION
A. Network and Computing Environment
B. Appliance Architecture
C. Client Agent
D. Systems and Methods for Providing Virtualized Application Delivery Controller
E. Systems and Methods for Providing a Multi-Core Architecture
# Create services for each of the lower layer NS add service NSB1_svc <nsb1_ip> ANY 80 add service NSB2_svc <nsb2_ip> ANY 80 ... # Add lb vserver which will intercept all the incoming requests and send it to the lower layer appliances add lb vserver super-vip ANY * 80 -persistenceType SOURCEIP -lbMethod ROUNDROBIN -m MAC -sessionless ENABLED -cltTimeout 1 bind lb vserver super-vip NSB1_svc bind lb vserver super-vip NSB2_svc
To send the response to the appropriate lower level appliances, PBRs will be setup and configured based on the destination port using the port allocation technique described herein.
# Enable L3 mode and add routes to send traffic based on the destination port range to the appropriate lower layer appliances enable ns mode l3 add ns pbr a allow -srcPort 80 -destPort 1025-4000 -nexthop <nsb1_ip> add ns pbr b allow -srcPort 80 -destPort 4001-8000 -nexthop <nsb2_ip> ... # Config for the Cache LB vserver add service svc_cache1 <cacheip1> http 80 -cip enabled “ClientIP” add service svc_cache2 <cacheip2> http 80 -cip enabled “ClientIP” ... add lb vserver cache_lb http -m MAC bind lb vserver cache_lb svc_cache1 bind lb vserver cache_lb svc_cache2 # Config for the CR vserver add cr vserver cr1 http * 80 -srcIPExpr “HTTP.REQ.HEADER(\“ClientIP\”)” - originusip ON -originSrcPort 1025-4000 -cacheVserver cache_lb