In accordance with the present invention there are provided herein asynchronous reconfigurable logic fabrics for integrated circuits and methods for designing asynchronous circuits to be implemented in the asynchronous reconfigurable logic fabrics.
1. An apparatus, comprising:
an asynchronous memory block having an asynchronous input and an asynchronous output; a pair of asynchronous reconfigurable logic blocks, one of the pair coupled to the asynchronous input and the other one of the pair coupled to the asynchronous output; and a pair of input/output (I/O) blocks coupled to corresponding ones of the pair of asynchronous reconfigurable logic blocks, the pair of I/O blocks selectably configurable to provide synchronous I/O banks and/or asynchronous I/O banks. 2. The apparatus of 3. The apparatus of 4. The apparatus of 5. The apparatus of 6. The apparatus of 7. The apparatus of a programmable asynchronous multiplier block coupled to the asynchronous memory block. 8. The apparatus of an interconnecting grid; and a programmable interconnect element to couple the asynchronous memory block to the interconnecting grid. 9. The apparatus of 10. The apparatus of 11. The apparatus of 12. The apparatus of 13. The apparatus of 14. The apparatus of 15. The apparatus of 16. The apparatus of 17. The apparatus of 18. A method, comprising:
synchronously communicating information with at least one of a pair of input/output (I/O) blocks, a first one of the pair of I/O blocks coupled to a first one of a pair of asynchronous reconfigurable logic blocks, and a second one of the pair of I/O blocks coupled to a second one of the pair of asynchronous reconfigurable logic blocks, the pair of I/O blocks selectably configurable to provide synchronous I/O banks and/or asynchronous I/O banks; and asynchronously accessing a memory to store the information in an asynchronous memory block coupled to the pair of asynchronous reconfigurable logic blocks. 19. The method of operating at least a portion of the asynchronous memory block as a circular buffer. 20. The method of generating tokens, from sources within the memory, to supply unused inputs in logic clusters forming part of at least one of the pair of asynchronous reconfigurable logic blocks.
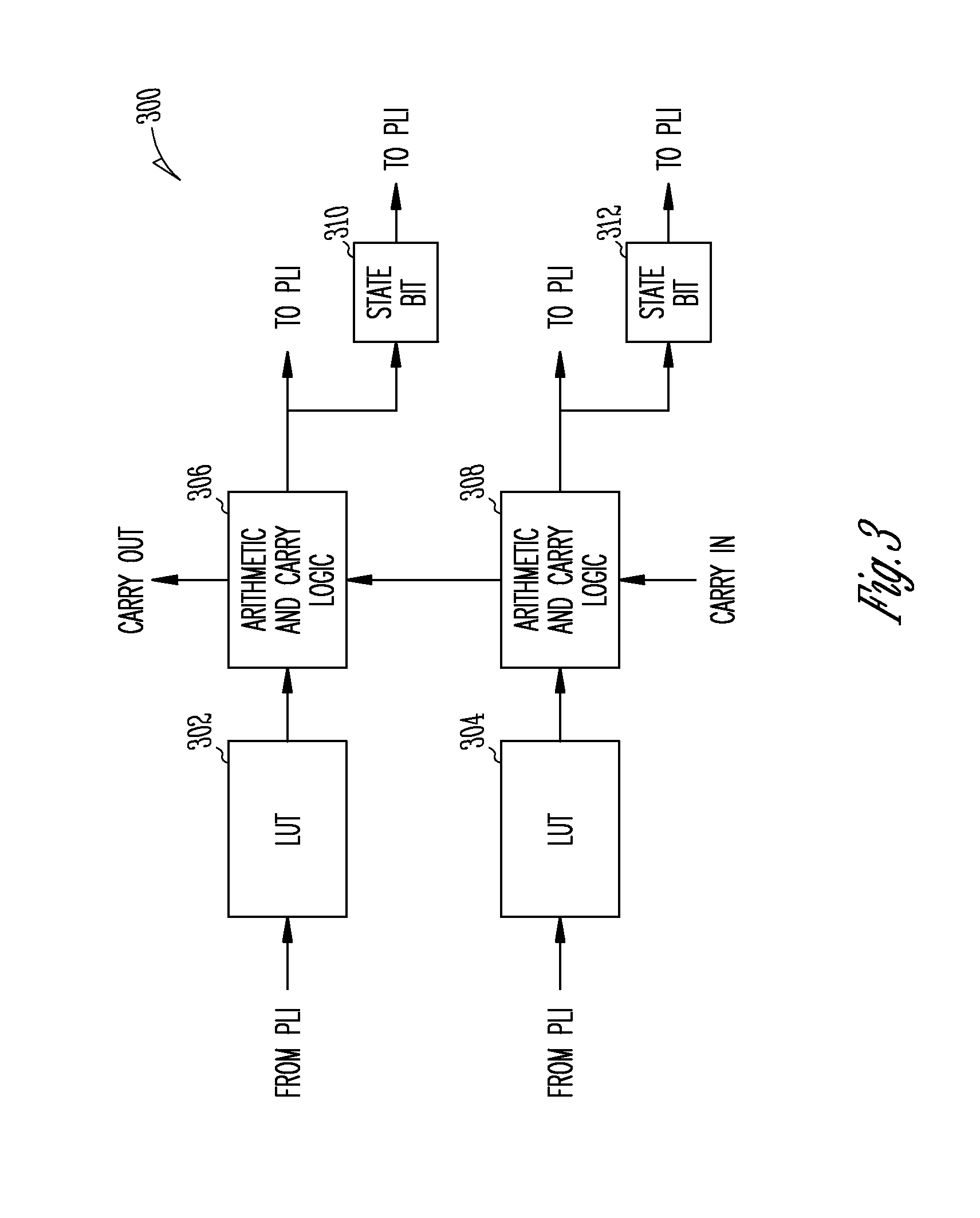
This application is a continuation of U.S. patent application Ser. No. 13/007,933, filed Jan. 17, 2011, which is a continuation of U.S. patent application Ser. No. 12/304,694, filed Dec. 12, 2008, now issued as U.S. Pat. No. 7,880,499, which is a U.S. National Stage Filing under 35 U.S.C. 371 from International Application No. PCT/US2007/072300, filed Jun. 27, 2007 and published in English as WO 2008/008629 A2 on Jan. 17, 2008, which claims the benefit of priority under 35 U.S.C. 119(e) to provisional application Ser. No. 60/817,552 filed on Jun. 28, 2006, which applications and publication are incorporated herein by reference in their entireties. The present invention relates to integrated circuits comprising reconfigurable logic fabrics and more specifically to a high performance reconfigurable logic fabric for deployment in integrated circuits including for example, field programmable gate arrays (FPGAs), application specific integrated circuits (ASICs) and other programmable logic devices where computational speed is a consideration in circuit design. The invention also relates to methods and apparatus for configuring high performance reconfigurable logic fabrics. Conventional reconfigurable logic fabrics rely on sequential arrangements of synchronous circuits embedded within the fabric. The presence of synchronous circuits arranged in sequence within the fabric limits the speed at which a logic fabric can perform logical operations. Each circuit in the sequence chain must wait at least one clock cycle to receive the results of the computation of the previous circuit in the chain. This delay limits the speed at which conventional reconfigurable logic fabrics can operate. The present inventors have recognized the need for reconfigurable logic fabrics capable of operating at faster speeds than can be obtained using conventional synchronous logic fabrics. Configuring conventional reconfigurable logic fabrics to comprise specific hardware circuit implementations is accomplished using off-line electronic design automation (EDA) tools. These tools presume the presence of synchronous circuits in the reconfigurable fabric. The present inventors have recognized the need for a reconfigurable logic fabric that is not only capable of faster computational speeds, but is also amenable to design using available EDA design tools. The invention provides reconfigurable logic fabrics and methods and systems for configuring reconfigurable logic fabrics. These and other objects, features and advantages of the invention will be apparent from a consideration of the following detailed description of the invention considered in conjunction with the drawing figures, in which: In accordance with the present invention there are provided herein asynchronous reconfigurable logic fabrics for integrated circuits and methods for designing asynchronous circuits to be implemented in the asynchronous reconfigurable logic fabrics. For example, a copy operation 102 describes an operation whereby a node of a circuit duplicates a token at its token input and sends it to a plurality of receivers. A function 104 computes an arbitrary function of a plurality of input variables and provides the result at an output. According to embodiments of the invention a function does not complete until tokens arrive on all of its inputs. A merge operation 106 is represented as a node comprising a plurality of inputs, a control input (ctrl), and a single output. The merge operation 106 reads a control token from the control input. The control token indicates the input from which the merge will read a token to provide on the output channel. A split 108 performs the opposite function of a merge. Split 108 has one input and a plurality of outputs. The value of the control token indicates the output to which the split will write the token read from the input channel. A sink 110 consumes tokens unconditionally. A source 112 generates data tokens with a constant value. A source 112 does not produce a new token until its previous token is consumed. An initializer 114 begins with a data token on its input when a device, for example an FPGA, resets. After reset, initialize 114 behaves as a copy. The operations described above as illustrated in The reconfigurable asynchronous logic fabric of the invention provides at least two benefits. First, the circuits comprising the fabric are capable of faster operation due to clock independent operation. Second, a representation of asynchronous circuits that will comprise fabrics of the invention is readily implemented using available design tools. Thus the embodiments of the invention optimize performance of circuits carrying out the dataflow operations described above. In one embodiment of the invention each of the elements comprising logic fabric 201 of the invention is asynchronous, that is, capable of performing logic operations independent of a clock signal. Consequently, logic fabric 201 is capable of carrying out logical operations at higher speeds than can be achieved by conventional fabrics which rely on synchronous logic elements. In one embodiment of the invention logic fabric 201 of the invention carries out logical operations at speeds comparable to clock speeds of at least 1 GHz. According to one embodiment of the invention a commercially available complementary metal-oxide semiconductor (CMOS) process is employed to embed elements within logic fabric 201. Programmable logic fabric 201, configured in accordance with embodiments of the invention described herein provides reprogrammable logic circuits for deployment in electronics equipment operating in high speed environments. In one embodiment of the invention programmable logic fabric 201 provides a scalable fabric floor plan, i.e., architecture, comprising at least one array 210 of logic fabric elements. The programmable fabric 201 of the invention is deployable in a wide variety of semiconductor devices including, but not limited to, systems-on-chip (SoCs), application specific integrated circuits (ASICs), field programmable gate arrays (FPGAs), systems-in-a-package (SiPs), and application specific standard purpose (ASSP) devices. Embodiments of fabric 201 are implementable by commercially available asynchronous logic families. Other embodiments of the invention are implemented using a combination of logic families. Examples of suitable logic families include quasi delay-insensitive circuits, self-timed circuits, speed independent circuits, bundled data circuits, micropipelines, asP, asP*, and GasP, as well as single track full buffer circuits, self-resetting/pulse-mode logic, or other circuits that use asynchronous techniques. SMBs 206 are memory elements. According to one embodiment of the invention SMBs 206 comprise dual-port Static Random Access Memory (SRAM) modules. At least one SMB 206 is embedded in an array 210 of programmable logic fabric 201. An SMB 206 is accessible by RLBs 208 and AMBs 207. An SMB 206 is configurable to comprise at least one of a plurality of memory arrangements. Example memory arrangements for SMBs 206 include: 32 K×I-bit; 16 K×2-bit; 8 K×4-bit; 4 K×8-bit; 4 K ×9-bit; 2 K ×16-bit; 2 K×18-bit; 1 K×32-bit; 1 K×36-bit; 512×64-bit; 512×72-bit. The 9-, 18-, 36-, and 72-bit memory configurations of SMB 206 provide an extra bit for every byte of memory. According to some embodiments of the invention the extra bit is usable for parity checking An SMB 206 is coupled to an interconnecting grid (not illustrated in Asynchronous multiplier blocks (AMBs) An AMB 207 comprises an asynchronous reconfigurable multiplier. AMB 207 is coupled to at least one SMB 206. Each SMB 206 has a neighboring AMB 207. A neighboring AMB 207 is configurable to perform signed multiplication at various widths. AMB 207 is programmable for a variety of multiplier configurations including, but not limited to: a single 72×72-bit multiplier; four 36×36-bit multipliers; eight 18×18-bit multipliers; sixteen 9×9-bit multipliers. AMB 207 as described herein provides higher density and lower power consumption for integrated circuit 200 compared to multipliers constructed from RLBs. AMB 207 is configurable to write to and read from the interconnecting grid (not shown) by programming its associated interconnect element CB 204. An AMB 207 is also configured for communication directly with its adjacent SMB 206. This configuration of AMB and CB enables efficient programmable configuration of circuits, for example, multiply-accumulate circuits. In one embodiment of the invention multiply accumulate circuits are formed by configuring an RLB 208 as an accumulator and by configuring AMB 207 as a multiplier and employing an SMB 206 for storage. This arrangement of SMB, AMB and RLB is usable to implement a wide variety of digital signal processing (DSP) functions such as fast Fourier transform (FFT), finite impulse response (FIR) filters, and discrete cosine transform (DCT). Accordingly RLB of the invention are configurable to implement multipliers for applications demanding multiplication resources that would be inefficient to provide by an AMB 207 alone. Logic fabric 201 comprises a plurality of channel boxes (CB) 220 and a plurality of switch boxes (SB) 205. Each RLB 208, SMB 206 and AMB 207 is coupled to a corresponding portion of an interconnecting grid of fabric 201 via a corresponding channel box CB 220. Switch boxes (SB) 205 are provided at intersecting portions of the pipelined interconnecting grid. SB 205 is programmable to couple elements of fabric 201 across interconnecting grid portions. Configuration of array 210 is accomplished by coupling fabric elements to the interconnecting grid by programming of channel boxes 206 and switch boxes 205 to execute dataflow operations such as those described with respect to In one embodiment of the invention reprogrammable logic blocks (RLBs) 208 comprise logic circuits. Logic circuits carry out logical operations on signals provided at logic circuit inputs to provide an operation result at a logic circuit output. In one embodiment of the invention each RLB of logic fabric 201 comprises only asynchronous logic circuits. Thus, the invention is a departure from conventional logic circuits and fabrics. Conventional programmable logic fabrics comprise synchronous circuits through the fabric. Thus, conventional fabrics require a clock to synchronize computation operations. In contrast, fabric 201 of the invention does not rely on a clock to synchronize computation operations. Because RLBs 208 comprise asynchronous logic circuits, fabric 201 does not require a clock distribution network. In one embodiment of the invention an RLB 208 comprises an arrangement of logic clusters LCs 400. Each LC unit 400 comprises circuitry for dedicated early-out carry chains, which can be used with the PXOR 408 to efficiently implement ripple-carry adders. The carry mux (CMUX) 410 is programmable to use the output of LUT 402 resulting from an operation implemented by LUT 402 and a carry-in token 401 to determine the correct carry-out token 403. If the carry-in token 401 is not required for determining the carry-out token 403 (for example, if the values of both inputs to a one-bit adder are zero, the carry out will be zero). In that case CMUX 410 generates a carry-out token at 403 before the carry-in token arrives at 401. Each LC unit 400 can therefore be configured as two bits of a full adder, with the carry chain going from bottom to top. The carry-chain circuitry also contains the programmable AND unit (PAND), which can be used for implementing multipliers. According to one embodiment of the invention arithmetic and carry logic 306 and 308 are configured to provide early-out carry chains. In this configuration an RLB is capable of generating a result of a logic operation as soon as the output can be determined. The RLB generates the result without waiting for all the inputs to be ready. By concatenating arithmetic and carry logic blocks 306 and 308 in the manner shown in In addition to logic clusters, RLBs 208 according to embodiments of the invention further comprise token sources and sinks, two way conditional units, four way conditional units, and eight way conditional units. RLBs configured in accordance with embodiments of the invention allow efficient mapping of logic operations to architecture of fabric 201. Each RLB sends and receives data tokens to and from the pipelined interconnect by using its adjacent CBs, as shown in Programmable I/O blocks 202 (illustrated in One example embodiment of the invention comprises an FPGA implemented using two types of I/Os. In one embodiment of the invention the types are selectable. The first type comprises synchronous I/O banks (SIGs), which comprise a combination of standard synchronous I/O blocks as well as configurable synchronous blocks [e.g. According to some embodiments of the invention programmable I/O blocks are configured in accordance with a technical standard that specifies electrical input output unit characteristics. Examples electrical standards with which embodiments of I/O blocks of the invention conform include, but are not limited to GPIO, PCI, PCI-X, LVDS, LDT, SSTL, and HSTL. Accordingly signals coupled through I/O blocks will comprise a variety of voltages and drive strengths depending on the specific application in which the invention described herein is implemented. According to embodiments of the invention integrated circuit 200 includes I/O banks 202. I/O banks 202 enable asynchronous fabric 210 to interface with synchronous logic circuits. In one embodiment of the invention I/O banks 202 are arranged about the perimeter of programmable logic fabric 201. I/O banks 202 provide high-throughput communication between two asynchronous ICs 200, for example two FPGAs. According to embodiments of the invention such communication is accomplished without the drawback of synchronous conversion. I/O banks 202 are configurable for two types of asynchronous communication. The first type is a standard asynchronous handshake protocol using a bundled-data interface. The second type is a high-speed serial link enabling, for example, FPGA-to-FPGA communication. The bundled-data interface uses a set of I/O pins for data, plus a pair of request/acknowledge pins to implement a standard bundled data asynchronous handshake protocol. I/O banks 203 are configurable to implement at least one of a four-phase handshake and a transition-signaling two-phase protocol. I/O band 203 is configurable to implement sender initiated and receiver initiated protocols. The protocol is implementable using a selectable number of I/O pins up to a limit comprising the number of portions of I/O block 202 comprising asynchronous I/O banks. The physical signaling for the protocol is selectable by a programmable signaling block. A serial link protocol that allows multi-Gbps throughput for high-speed FPGA-to-FPGA communication is also implementable using I/O blocks 202. This serial link provides high-bandwidth and low latency asynchronous communication without any re-synchronization overhead. In one embodiment of the invention asynchronous to synchronous conversion is effected by Electronic Design Automation (EDA) tools. EDA tools are usable to define an I/O as providing a synchronous output during design of IC 200. EDA tools provide converters comprising programmable clock generators. According to embodiments of the invention EDA converters are used to specify the frequency of the programmable I/O blocks 202. Fabric 201 of the invention permits use of EDA converters. Reconfigurable fabric 201 is configurable for operation at frequencies specified by the clock generator of the EDA tool. Thus the invention enables use of EDA tools and consequently, the use of synchronous-to-asynchronous converters provided by EDA tools. The use of EDA converters also provides a delay-locked loop to enable a synchronous output of IC 200 to be valid at a fixed delay offset from a clock edge. EDA tools provide a second class of converters that enable synchronous output with a valid bit for IC 200. In that case an operation result is produced whenever fabric 201 generates a new data output. The physical signaling for a protocol is selectable from a programmable signaling block according to some embodiments of the invention. The asynchronous architecture of fabric 201 supports synchronous troubleshooting integrated circuit 200. In one embodiment of the invention IC 200 comprises asynchronous to synchronous converters 288 that can be activated in a user-specified manner. Key registers or wires are specified as “debug” signals. These will automatically be connected to on-chip debug registers of IC 200. A debug register can be scanned and loaded, with the clock used to step through the execution in a sequential manner similar to a synchronous flow. An entire set of debug registers and I/Os can be scanned or loaded via the Joint Test Action Group (JTAG) interface. As is known in the art, JTAG refers to the IEEE 1149.1 standard, Standard Test Access Port and Boundary-Scan Architecture for test access ports used for testing printed circuit boards using boundary scan. With reference particularly to By combining the techniques used to create wide AND and OR operations, a user can efficiently implement very wide sum-of-product (SOP) operations. The programmable OR circuit is pipelined, and the POR can generate its output before all its inputs are ready. For example, if one of the input tokens is “1” then the output of the POR is known even though all the other inputs are not ready as yet. The POR produces an early-out “I” value that allows the rest of the circuit to proceed even though all the inputs may not be ready. Alternative designs can vary the number of inputs supported by the POR. First and second PLIs 701 and 702 of RLB 700 comprise circuits configured by implement split operations indicated at 751,752 and 753 and merge operations indicated at 761,762 and 763. These operations are usable to implement 5-, 6- or 7-input functions for logic clusters 707 and 711. Each RLB 700 includes a plurality of sources and sinks. The sources create data tokens that go to and from PLI 701 and 702. These can be used as inputs for the LCs (as LUT inputs or as carry-in values). A third configuration for a condition unit is as a deterministic MUX, which corresponds to a merge block that always receives tokens on all its inputs but only selects one of them for output. An alternative way to configure large input functions using an RLB is to not use a split and merge tree as shown in While the invention has been shown and described with respect to particular embodiments, it is not thus limited. Numerous modifications, changes and enhancements will now be apparent to the reader.CROSS REFERENCE TO RELATED APPLICATIONS
FIELD OF THE INVENTION
BACKGROUND OF THE INVENTION
SUMMARY OF THE INVENTION
DESCRIPTION OF THE DRAWING FIGURES
DETAILED DESCRIPTION OF THE INVENTION
FIG. 1
FIG. 2
SRAM Memory Blocks (SMBs)
Channel Boxes (CB) 220 and Switch Boxes (SB 205)
Reconfigurable Logic Blocks (RLB) 208
Logic Cluster 400
Logic Cluster Pair 300
Programmable I/O Blocks 202
Synchronous I/O (SIO) Banks
FIG. 5 Reconfigurable Logic Blocks (AND Configuration)
FIG. 6 Reconfigurable Logic Blocks (OR Configuration)
FIG. 7
FIG. 8 Low Latency Loops
FIGS. 9A, 9B and 9C