A semiconductor device has a TSV semiconductor wafer with a cavity formed in a first surface of the wafer. A second cavity can be formed in a second surface of the wafer. A plurality of semiconductor die is mounted within the cavities. The semiconductor die can be mounted side-by-side and/or stacked within the cavity. Conductive TSV can be formed through the die. An encapsulant is deposited within the cavity over the die. A CTE of the die is similar to a CTE of the encapsulant. A first interconnect structure is formed over a first surface of the encapsulant and wafer. A second interconnect structure is formed over a second surface of the encapsulant and wafer. The first and second interconnect structure are electrically connected to the TSV wafer. A second semiconductor die can be mounted over the first interconnect structure with encapsulant deposited over the second die.
1. A method of making a semiconductor device, comprising:
providing a semiconductor wafer having a plurality of conductive through silicon vias (TSV) formed through the semiconductor wafer; mounting the semiconductor wafer to a carrier; forming a cavity in the semiconductor wafer between the conductive TSV; mounting a plurality of semiconductor die within the cavity of the semiconductor wafer; depositing an encapsulant within the cavity over the semiconductor die; forming a first interconnect structure over a first surface of the encapsulant and semiconductor wafer; removing the carrier; and forming a second interconnect structure over a second surface of the encapsulant and semiconductor wafer opposite the first surface, the first and second interconnect structures being electrically connected to the conductive TSV. 2. The method of 3. The method of 4. The method of 5. The method of 6. The method of 7. The method of stacking a plurality of the semiconductor devices; and electrically connecting the stacked semiconductor devices through the first and second interconnect structures and conductive TSV. 8. A method of making a semiconductor device, comprising:
providing a semiconductor wafer; forming a first cavity in a first surface of the semiconductor wafer; mounting a first semiconductor die within the first cavity of the semiconductor wafer; depositing a first encapsulant within the first cavity over the first semiconductor die; forming a first interconnect structure over a first surface of the first encapsulant and semiconductor wafer; and forming a second interconnect structure over a second surface of the first encapsulant and semiconductor wafer opposite the first surface of the first encapsulant. 9. The method of 10. The method of 11. The method of forming a second cavity in a second surface of the semiconductor wafer opposite the first surface of the semiconductor wafer; mounting a second semiconductor die within the second cavity of the semiconductor wafer; and depositing a second encapsulant within the second cavity over the second semiconductor die. 12. The method of 13. The method of mounting a second semiconductor die over the first interconnect structure; and depositing a second encapsulant over the second semiconductor die and first interconnect structure. 14. A method of making a semiconductor device, comprising:
providing a substrate having a plurality of conductive through silicon vias (TSV) formed through the substrate; forming a first cavity in a first surface of the substrate; mounting a first semiconductor die within the first cavity of the substrate; depositing a first encapsulant within the first cavity over the first semiconductor die; and forming a first interconnect structure over a first surface of the first encapsulant and substrate, the first interconnect structure being electrically connected to the conductive TSV. 15. The method of 16. The method of 17. The method of forming a second cavity in a second surface of the substrate opposite the first surface of the substrate; mounting a second semiconductor die within the second cavity of the substrate; and depositing a second encapsulant within the second cavity over the second semiconductor die. 18. The method of 19. The method of 20. The method of mounting a second semiconductor die over the first interconnect structure; and depositing a second encapsulant over the second semiconductor die and first interconnect structure. 21. A semiconductor device, comprising:
a semiconductor wafer including a plurality of conductive through silicon vias (TSV) formed through the semiconductor wafer and a first cavity formed in a first surface of the semiconductor wafer; a first semiconductor die mounted within the first cavity of the semiconductor wafer; an encapsulant deposited within the first cavity over the first semiconductor die; a first interconnect structure formed over a first surface of the encapsulant and semiconductor wafer; and a second interconnect structure formed over a second surface of the encapsulant and semiconductor wafer opposite the first surface of the encapsulant and semiconductor wafer, the first and second interconnect structures being electrically connected to the conductive TSV. 22. The semiconductor device of 23. The semiconductor device of 24. The semiconductor device of 25. The semiconductor device of
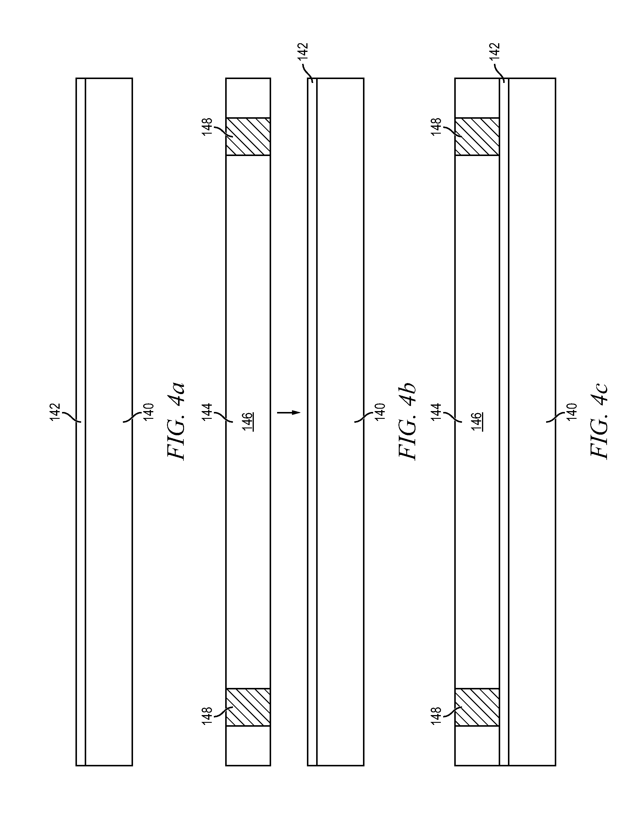
The present invention relates in general to semiconductor devices and, more particularly, to a semiconductor device and method of forming a TSV semiconductor wafer with side-by-side and/or stacked semiconductor die embedded within a cavity. Semiconductor devices are commonly found in modern electronic products. Semiconductor devices vary in the number and density of electrical components. Discrete semiconductor devices generally contain one type of electrical component, e.g., light emitting diode (LED), small signal transistor, resistor, capacitor, inductor, and power metal oxide semiconductor field effect transistor (MOSFET). Integrated semiconductor devices typically contain hundreds to millions of electrical components. Examples of integrated semiconductor devices include microcontrollers, microprocessors, charged-coupled devices (CCDs), solar cells, and digital micro-mirror devices (DMDs). Semiconductor devices perform a wide range of functions such as signal processing, high-speed calculations, transmitting and receiving electromagnetic signals, controlling electronic devices, transforming sunlight to electricity, and creating visual projections for television displays. Semiconductor devices are found in the fields of entertainment, communications, power conversion, networks, computers, and consumer products. Semiconductor devices are also found in military applications, aviation, automotive, industrial controllers, and office equipment. Semiconductor devices exploit the electrical properties of semiconductor materials. The atomic structure of semiconductor material allows its electrical conductivity to be manipulated by the application of an electric field or base current or through the process of doping. Doping introduces impurities into the semiconductor material to manipulate and control the conductivity of the semiconductor device. A semiconductor device contains active and passive electrical structures. Active structures, including bipolar and field effect transistors, control the flow of electrical current. By varying levels of doping and application of an electric field or base current, the transistor either promotes or restricts the flow of electrical current. Passive structures, including resistors, capacitors, and inductors, create a relationship between voltage and current necessary to perform a variety of electrical functions. The passive and active structures are electrically connected to form circuits, which enable the semiconductor device to perform high-speed calculations and other useful functions. Semiconductor devices are generally manufactured using two complex manufacturing processes, i.e., front-end manufacturing, and back-end manufacturing, each involving potentially hundreds of steps. Front-end manufacturing involves the formation of a plurality of die on the surface of a semiconductor wafer. Each die is typically identical and contains circuits formed by electrically connecting active and passive components. Back-end manufacturing involves singulating individual die from the finished wafer and packaging the die to provide structural support and environmental isolation. One goal of semiconductor manufacturing is to produce smaller semiconductor devices. Smaller devices typically consume less power, have higher performance, and can be produced more efficiently. In addition, smaller semiconductor devices have a smaller footprint, which is desirable for smaller end products. A smaller die size may be achieved by improvements in the front-end process resulting in die with smaller, higher density active and passive components. Back-end processes may result in semiconductor device packages with a smaller footprint by improvements in electrical interconnection and packaging materials. In a conventional fan-out wafer level chip scale package (Fo-WLCSP), semiconductor die are commonly embedded in an encapsulant over a temporary carrier, known as a reconfigured wafer. A mismatch between the coefficient of thermal expansion (CTE) of the encapsulant and carrier can cause warpage in the reconfigured wafer. A CTE difference between the encapsulant and semiconductor die can cause delamination due to the thermal stress. A need exists to provide a Fo-WLCSP with embedded semiconductor die without inducing warpage or delamination. Accordingly, in one embodiment, the present invention is a method of making a semiconductor device comprising the steps of providing a semiconductor wafer having a plurality of conductive TSV formed through the semiconductor wafer, mounting the semiconductor wafer to a carrier, forming a cavity in the semiconductor wafer between the conductive TSV, mounting a plurality of semiconductor die within the cavity of the semiconductor wafer, depositing an encapsulant within the cavity over the semiconductor die, forming a first interconnect structure over a first surface of the encapsulant and semiconductor wafer, removing the carrier, and forming a second interconnect structure over a second surface of the encapsulant and semiconductor wafer opposite the first surface. The first and second interconnect structures are electrically connected to the conductive TSV. In another embodiment, the present invention is a method of making a semiconductor device comprising the steps of providing a semiconductor wafer, forming a first cavity in a first surface of the semiconductor wafer, mounting a first semiconductor die within the first cavity of the semiconductor wafer, depositing a first encapsulant within the first cavity over the first semiconductor die, forming a first interconnect structure over a first surface of the first encapsulant and semiconductor wafer, and forming a second interconnect structure over a second surface of the first encapsulant and semiconductor wafer opposite the first surface of the first encapsulant. In another embodiment, the present invention is a method of making a semiconductor device comprising the steps of providing a substrate having a plurality of conductive TSV formed through the substrate, forming a first cavity in a first surface of the substrate, mounting a first semiconductor die within the first cavity of the substrate, depositing a first encapsulant within the first cavity over the first semiconductor die, and forming a first interconnect structure over a first surface of the first encapsulant and substrate. The first interconnect structure is electrically connected to the conductive TSV. In another embodiment, the present invention is a semiconductor device comprising a semiconductor wafer including a plurality of conductive TSV formed through the semiconductor wafer and a first cavity formed in a first surface of the semiconductor wafer. A first semiconductor die is mounted within the first cavity of the semiconductor wafer. An encapsulant is deposited within the first cavity over the first semiconductor die. A first interconnect structure is formed over a first surface of the encapsulant and semiconductor wafer. A second interconnect structure is formed over a second surface of the encapsulant and semiconductor wafer opposite the first surface of the encapsulant and semiconductor wafer. The first and second interconnect structures are electrically connected to the conductive TSV. The present invention is described in one or more embodiments in the following description with reference to the figures, in which like numerals represent the same or similar elements. While the invention is described in terms of the best mode for achieving the invention's objectives, it will be appreciated by those skilled in the art that it is intended to cover alternatives, modifications, and equivalents as may be included within the spirit and scope of the invention as defined by the appended claims and their equivalents as supported by the following disclosure and drawings. Semiconductor devices are generally manufactured using two complex manufacturing processes: front-end manufacturing and back-end manufacturing. Front-end manufacturing involves the formation of a plurality of die on the surface of a semiconductor wafer. Each die on the wafer contains active and passive electrical components, which are electrically connected to form functional electrical circuits. Active electrical components, such as transistors and diodes, have the ability to control the flow of electrical current. Passive electrical components, such as capacitors, inductors, resistors, and transformers, create a relationship between voltage and current necessary to perform electrical circuit functions. Passive and active components are formed over the surface of the semiconductor wafer by a series of process steps including doping, deposition, photolithography, etching, and planarization. Doping introduces impurities into the semiconductor material by techniques such as ion implantation or thermal diffusion. The doping process modifies the electrical conductivity of semiconductor material in active devices, transforming the semiconductor material into an insulator, conductor, or dynamically changing the semiconductor material conductivity in response to an electric field or base current. Transistors contain regions of varying types and degrees of doping arranged as necessary to enable the transistor to promote or restrict the flow of electrical current upon the application of the electric field or base current. Active and passive components are formed by layers of materials with different electrical properties. The layers can be formed by a variety of deposition techniques determined in part by the type of material being deposited. For example, thin film deposition may involve chemical vapor deposition (CVD), physical vapor deposition (PVD), electrolytic plating, and electroless plating processes. Each layer is generally patterned to form portions of active components, passive components, or electrical connections between components. The layers can be patterned using photolithography, which involves the deposition of light sensitive material, e.g., photoresist, over the layer to be patterned. A pattern is transferred from a photomask to the photoresist using light. The portion of the photoresist pattern subjected to light is removed using a solvent, exposing portions of the underlying layer to be patterned. The remainder of the photoresist is removed, leaving behind a patterned layer. Alternatively, some types of materials are patterned by directly depositing the material into the areas or voids formed by a previous deposition/etch process using techniques such as electroless and electrolytic plating. Depositing a thin film of material over an existing pattern can exaggerate the underlying pattern and create a non-uniformly flat surface. A uniformly flat surface is required to produce smaller and more densely packed active and passive components. Planarization can be used to remove material from the surface of the wafer and produce a uniformly flat surface. Planarization involves polishing the surface of the wafer with a polishing pad. An abrasive material and corrosive chemical are added to the surface of the wafer during polishing. The combined mechanical action of the abrasive and corrosive action of the chemical removes any irregular topography, resulting in a uniformly flat surface. Back-end manufacturing refers to cutting or singulating the finished wafer into the individual die and then packaging the die for structural support and environmental isolation. To singulate the die, the wafer is scored and broken along non-functional regions of the wafer called saw streets or scribes. The wafer is singulated using a laser cutting tool or saw blade. After singulation, the individual die are mounted to a package substrate that includes pins or contact pads for interconnection with other system components. Contact pads formed over the semiconductor die are then connected to contact pads within the package. The electrical connections can be made with solder bumps, stud bumps, conductive paste, or wirebonds. An encapsulant or other molding material is deposited over the package to provide physical support and electrical isolation. The finished package is then inserted into an electrical system and the functionality of the semiconductor device is made available to the other system components. Electronic device 50 may be a stand-alone system that uses the semiconductor packages to perform one or more electrical functions. Alternatively, electronic device 50 may be a subcomponent of a larger system. For example, electronic device 50 may be part of a cellular phone, personal digital assistant (PDA), digital video camera (DVC), or other electronic communication device. Alternatively, electronic device 50 can be a graphics card, network interface card, or other signal processing card that can be inserted into a computer. The semiconductor package can include microprocessors, memories, application specific integrated circuits (ASIC), logic circuits, analog circuits, RF circuits, discrete devices, or other semiconductor die or electrical components. The miniaturization and the weight reduction are essential for these products to be accepted by the market. The distance between semiconductor devices must be decreased to achieve higher density. In In some embodiments, a semiconductor device has two packaging levels. First level packaging is a technique for mechanically and electrically attaching the semiconductor die to an intermediate carrier. Second level packaging involves mechanically and electrically attaching the intermediate carrier to the PCB. In other embodiments, a semiconductor device may only have the first level packaging where the die is mechanically and electrically mounted directly to the PCB. For the purpose of illustration, several types of first level packaging, including wire bond package 56 and flip chip 58, are shown on PCB 52. Additionally, several types of second level packaging, including ball grid array (BGA) 60, bump chip carrier (BCC) 62, dual in-line package (DIP) 64, land grid array (LGA) 66, multi-chip module (MCM) 68, quad flat non-leaded package (QFN) 70, and quad flat package 72, are shown mounted on PCB 52. Depending upon the system requirements, any combination of semiconductor packages, configured with any combination of first and second level packaging styles, as well as other electronic components, can be connected to PCB 52. In some embodiments, electronic device 50 includes a single attached semiconductor package, while other embodiments call for multiple interconnected packages. By combining one or more semiconductor packages over a single substrate, manufacturers can incorporate pre-made components into electronic devices and systems. Because the semiconductor packages include sophisticated functionality, electronic devices can be manufactured using cheaper components and a streamlined manufacturing process. The resulting devices are less likely to fail and less expensive to manufacture resulting in a lower cost for consumers. In BGA 60 is electrically and mechanically connected to PCB 52 with a BGA style second level packaging using bumps 112. Semiconductor die 58 is electrically connected to conductive signal traces 54 in PCB 52 through bumps 110, signal lines 114, and bumps 112. A molding compound or encapsulant 116 is deposited over semiconductor die 58 and carrier 106 to provide physical support and electrical isolation for the device. The flip chip semiconductor device provides a short electrical conduction path from the active devices on semiconductor die 58 to conduction tracks on PCB 52 in order to reduce signal propagation distance, lower capacitance, and improve overall circuit performance. In another embodiment, the semiconductor die 58 can be mechanically and electrically connected directly to PCB 52 using flip chip style first level packaging without intermediate carrier 106. An electrically conductive layer 132 is formed over active surface 130 using PVD, CVD, electrolytic plating, electroless plating process, or other suitable metal deposition process. Conductive layer 132 can be one or more layers of Al, Cu, Sn, Ni, Au, Ag, or other suitable electrically conductive material. Conductive layer 132 operates as contact pads electrically connected to the circuits on active surface 130. In A plurality of vias is formed in semiconductor wafer 144 using laser drilling, mechanical drilling, or deep reactive ion etching (DRIE). The vias are filled with Al, Cu, Sn, Ni, Au, Ag, titanium (Ti), tungsten (W), poly-silicon, or other suitable electrically conductive material using electrolytic plating, electroless plating process, or other suitable metal deposition process to form z-direction vertical interconnect conductive through silicon vias (TSV) 148. Semiconductor wafer 144 is mounted to interface layer 142 over carrier 140, as shown in In In Semiconductor die 124 In In An electrically conductive layer or redistribution layer (RDL) 158 is formed over contact pads 132 of semiconductor die 124 An insulating or passivation layer 160 is formed over insulating layer 156 and conductive layer 158 using PVD, CVD, printing, spin coating, spray coating, sintering or thermal oxidation. The insulating layer 160 contains one or more layers of SiO2, Si3N4, SiON, Ta2O5, Al2O3, or other material having similar insulating and structural properties. A portion of insulating layer 160 is removed by an etching process to expose conductive layer 158 for additional electrical interconnect. The insulating layers 156 and 160 and conductive layer 158 constitute build-up interconnect structure 161. In In An electrically conductive layer or RDL 164 is formed over contact pads 132 of semiconductor die 124 An insulating or passivation layer 166 is formed over insulating layer 162 and conductive layer 164 using PVD, CVD, printing, spin coating, spray coating, sintering or thermal oxidation. The insulating layer 166 contains one or more layers of SiO2, Si3N4, SiON, Ta2O5, Al2O3, or other material having similar insulating and structural properties. A portion of insulating layer 166 is removed by an etching process to expose conductive layer 164. An electrically conductive bump material is deposited over conductive layer 164 using an evaporation, electrolytic plating, electroless plating, ball drop, or screen printing process. The bump material can be Al, Sn, Ni, Au, Ag, Pb, Bi, Cu, solder, and combinations thereof, with an optional flux solution. For example, the bump material can be eutectic Sn/Pb, high-lead solder, or lead-free solder. The bump material is bonded to conductive layer 164 using a suitable attachment or bonding process. In one embodiment, the bump material is reflowed by heating the material above its melting point to form spherical balls or bumps 168. In some applications, bumps 168 are reflowed a second time to improve electrical contact to conductive layer 164. The bumps can also be compression bonded to conductive layer 164. The insulating layers 162 and 166, conductive layer 164, and bumps 168 constitute build-up interconnect structure 170. The interconnect structure can also use bond wires, conductive paste, stud bump, micro bump, or other electrical interconnect. The structure of An encapsulant or molding compound 224 is deposited over semiconductor die 216 and build-up interconnect structure 161 using a paste printing, compressive molding, transfer molding, liquid encapsulant molding, vacuum lamination, spin coating, or other suitable applicator. Encapsulant 224 can be polymer composite material, such as epoxy resin with filler, epoxy acrylate with filler, or polymer with proper filler. Encapsulant 224 is non-conductive and environmentally protects the semiconductor device from external elements and contaminants. A plurality of vias is formed through encapsulant 224 around or adjacent to semiconductor die 216 using laser drilling, mechanical drilling, or DRIE. The vias are filled with Al, Cu, Sn, Ni, Au, Ag, Ti, W, poly-silicon, or other suitable electrically conductive material using electrolytic plating, electroless plating process, or other suitable metal deposition process to form conductive TMV 226. Conductive TMV 178 provide z-direction vertical electrical interconnect to conductive layer 158 in build-up interconnect structure 161. Semiconductor die 124 are mounted within cavities 232 and 234. In particular, semiconductor die 124 An encapsulant or molding compound 238 is deposited within cavities 232 and 234 around semiconductor die 124 An insulating or passivation layer 240 is formed over semiconductor die 124 An electrically conductive layer or RDL 242 is formed over contact pads 132 of semiconductor die 124 An insulating or passivation layer 244 is formed over insulating layer 240 and conductive layer 242 using PVD, CVD, printing, spin coating, spray coating, sintering or thermal oxidation. The insulating layer 244 contains one or more layers of SiO2, Si3N4, SiON, Ta2O5, Al2O3, or other material having similar insulating and structural properties. A portion of insulating layer 244 is removed by an etching process to expose conductive layer 242 for additional electrical interconnect. The insulating layers 240 and 244 and conductive layer 242 constitute an interconnect structure 246. An insulating or passivation layer 248 is formed over semiconductor die 124 An electrically conductive layer or RDL 250 is formed over contact pads 132 of semiconductor die 124 An insulating or passivation layer 252 is formed over insulating layer 248 and conductive layer 250 using PVD, CVD, printing, spin coating, spray coating, sintering or thermal oxidation. The insulating layer 252 contains one or more layers of SiO2, Si3N4, SiON, Ta2O5, Al2O3, or other material having similar insulating and structural properties. A portion of insulating layer 252 is removed by an etching process to expose conductive layer 250. An electrically conductive bump material is deposited over conductive layer 250 using an evaporation, electrolytic plating, electroless plating, ball drop, or screen printing process. The bump material can be Al, Sn, Ni, Au, Ag, Pb, Bi, Cu, solder, and combinations thereof, with an optional flux solution. For example, the bump material can be eutectic Sn/Pb, high-lead solder, or lead-free solder. The bump material is bonded to conductive layer 250 using a suitable attachment or bonding process. In one embodiment, the bump material is reflowed by heating the material above its melting point to form spherical balls or bumps 254. In some applications, bumps 254 are reflowed a second time to improve electrical contact to conductive layer 250. The bumps can also be compression bonded to conductive layer 250. The insulating layers 248 and 252, conductive layer 250, and bumps 254 constitute build-up interconnect structure 256. The interconnect structure can also use bond wires, conductive paste, stud bump, micro bump, or other electrical interconnect. Fo-WLCSP 230 represents a reconfigured wafer. Semiconductor die 124 While one or more embodiments of the present invention have been illustrated in detail, the skilled artisan will appreciate that modifications and adaptations to those embodiments may be made without departing from the scope of the present invention as set forth in the following claims.FIELD OF THE INVENTION
BACKGROUND OF THE INVENTION
SUMMARY OF THE INVENTION
BRIEF DESCRIPTION OF THE DRAWINGS
DETAILED DESCRIPTION OF THE DRAWINGS