An electro-optic display device includes a display matrix of display pixels. Each display pixel may include two or more first sub-pixels and a second sub-pixel. Each first sub-pixel may have two or more display states and a color filter. The second sub-pixel may have two or more display states and a white filter. The first sub-pixels may be arranged in rows and columns in a repeating pattern, and each first sub-pixel may be horizontally adjacent and vertically adjacent to one or more second sub-pixels. In addition, a display controller may include a data switch, a color correction module, an image filtering module, a color linearization module, an image dithering module, and a saturation adjustment module. The modules may be configured to perform operations at first and second pixel resolutions.
1. An electro-optic display device having a display matrix of display pixels, each display pixel comprising:
two or more first sub-pixels, each first sub-pixel having two or more display states and a color filter; and a second sub-pixel, each second sub-pixel having two or more display states and a white filter, wherein the first sub-pixels are arranged in rows and columns in a repeating pattern, and each first sub-pixel is horizontally adjacent and vertically adjacent to one or more second sub-pixels. 2. The display device of 3. The display device of 4. The display device of 5. A method for preparing a color image for display on an electro-optic display device, comprising:
(a) receiving the color image defined by data pixels in a first pixel resolution, the first pixel resolution corresponding with each data pixel having a 5-bit red component, a 6-bit green component, and a 5-bit blue component; (b) performing a color correcting operation on the color image in the first pixel resolution; (c) performing an image sharpening operation on the color image in the first pixel resolution; (d) performing a color linearization operation on the color image in the first pixel resolution; (e) performing an image dithering operation on the color image in the first pixel resolution, the image dithering operation outputting the color image in a second pixel resolution, the second pixel resolution corresponding with each data pixel having a 4-bit red component, a 4-bit green component, and a 4-bit blue component; and (f) performing a saturation adjustment operation on the color image in one of the first and second pixel resolutions. 6. The method of 7. The method of 8. The method of 9. The method of two or more first sub-pixels, each first sub-pixel having two or more display states and a color filter; and a second sub-pixel, each second sub-pixel having two or more display states and a white filter, wherein the first sub-pixels are arranged in rows and columns in a repeating pattern, and each first sub-pixel is horizontally adjacent and vertically adjacent to one or more second sub-pixels. 10. The method of 11. The method of 12. A display controller, comprising:
a data switch having an input to receive a color image defined by data pixels in a first pixel resolution, the first pixel resolution corresponding with each data pixel having a 5-bit red component, a 6-bit green component, and a 5-bit blue component; a color correction module to perform a color correcting operation on the color image in the first pixel resolution; an image filtering module to perform an image sharpening operation on the color image in the first pixel resolution; a color linearization module to perform a color linearization operation on the color image in the first pixel resolution; an image dithering module to perform an image dithering operation on the color image in the first pixel resolution, the image dithering operation outputting the color image in a second pixel resolution, the second pixel resolution corresponding with each data pixel having a 4-bit red component, a 4-bit green component, and a 4-bit blue component; and a saturation adjustment module to perform a saturation adjustment operation on the color image in one of the first and second pixel resolutions. 13. The display controller of two or more first sub-pixels, each first sub-pixel having two or more display states and a color filter; and a second sub-pixel, each second sub-pixel having two or more display states and a white filter, wherein the first sub-pixels are arranged in rows and columns in a repeating pattern, and each first sub-pixel is horizontally adjacent and vertically adjacent to one or more second sub-pixels. 14. The display controller of
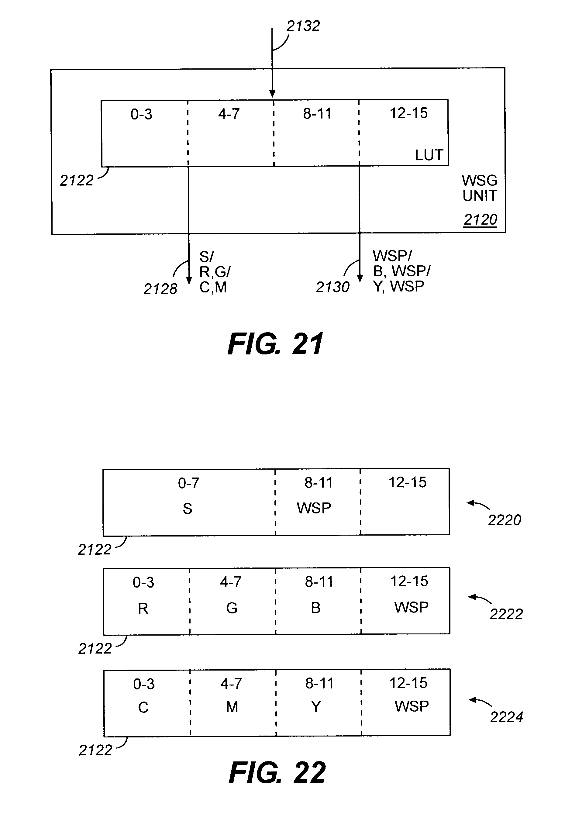
The present application claims the benefit under 35 USC Section 119(e) of U.S. Provisional Patent Application Ser. No. 61/347,263, filed May 21, 2010. The present application is based on and claims priority from the provisional application, the disclosure of which is hereby expressly incorporated herein by reference in its entirety. The field of the present invention relates generally to digital image processing for display devices. A digital image is comprised of a multitude of small picture elements or pixels. When a color digital image is rendered on a display device, a single pixel may be formed from red, green, and blue (RGB) sub-pixels. The sub-pixels in some RGB display devices may include either a red, green, or blue filter. The sub-pixels in a display device are spatially close and, for this reason, human vision perceives the red, green, and blue sub-pixels as a single-colored pixel. By modulating the colors of the individual sub-pixels, a range of colors can be generated for each pixel. A color filter array (CFA) describes the arrangement of sub-pixels in color image sensors and in color display devices. A variety of CFAs are known. The Bayer CFA is one well-known example. Red, green, and blue sub-pixels are arranged in a square gird in the Bayer CFA. There are as many green sub-pixels as blue and red sub-pixels combined, with a green sub-pixel at every other position in both the horizontal and vertical directions, and the remaining positions being populated with blue and red sub-pixels. In the Bayer CFA, a single pixel includes two green and one each of blue and red sub-pixels. Conventionally, the data for a color pixel define how much color each sub-pixel adds to the perceived color of the pixel. The data for each sub-pixel can vary within a range depending on the number of data bits allocated in the display system for sub-pixel values. For example, for 24-bit RGB color, 8 bits are allocated per sub-pixel, providing a range of 256 possible values for each color channel. If the data values for all components of an RGB pixel are zero, the pixel theoretically appears black. On the other hand, if all three sub-pixel values are at their maximum value, the pixel theoretically appears white. RGB pixel data expressed using 24-bits (8:8:8) provides for a color palette of 16,777,216 colors. Color pixel data, however, need not be expressed using 24-bits. RGB pixel data may be represented using as few as one bit per channel (1:1:1), providing a color palette of eight colors. An electro-optic material has at least two “display states,” the states differing in at least one optical property. An electro-optic material may be changed from one state to another by applying an electric field across the material. The optical property may or may not be perceptible to the human eye, and may include optical transmission, reflectance, or luminescence. For example, the optical property may be a perceptible color or shade of gray. Electro-optic displays include the rotating bichromal member, electrochromic medium, electro-wetting, and particle-based electrophoretic types. Electrophoretic display devices (“EPD”), sometimes referred to as “electronic paper” devices, may employ one of several different types of electro-optic technologies. Particle-based electrophoretic media include a fluid, which may be either a liquid, or a gaseous fluid. Various types of particle-based EPD devices include those using encapsulated electrophoretic, polymer-dispersed electrophoretic, and microcellular media. Another electro-optic display type similar to EPDs is the dielectrophoretic display. An electro-optic display device may have display pixels or sub-pixels that have multiple stable display states. Display devices in this category are capable of displaying (a) two or more display states, and (b) the display states are considered stable. The display pixels or sub-pixels of a bistable display may have first and second stable display states. The first and second display states differ in at least one optical property, such as a perceptible color or shade of gray. For example, in the first display state, the display pixel may appear black and in the second display state, the display pixel may appear white. The display pixels or sub-pixels of a display device having multiple stable display states may have three or more stable display states, each of the display states differing in at least one optical property, e.g., light, medium, and dark shades of a particular color. For example, the display pixels or sub-pixels may display states corresponding with 4, 8, 16, 32, or 64 different shades of gray. With respect to capability (b), the display states may be considered to be stable, according to one definition, if the persistence of the display state with respect to display pixel drive time is sufficiently large. An exemplary electro-optic display pixel or sub-pixel may include a layer of electro-optic material situated between a common electrode and a pixel electrode. The display state of the display pixel or sub-pixel may be changed by driving a drive pulse (typically a voltage pulse) on one of the electrodes until the desired appearance is obtained. Alternatively, the display state of a display pixel or sub-pixel may be changed by driving a series of pulses on the electrode. In either case, the display pixel or sub-pixel exhibits a new display state at the conclusion of the drive time. If the new display state persists for at least several times the duration of the drive time, the new display state may be considered stable. Generally, in the art, the display states of display pixels of liquid crystal displays (“LCD”) and CRTs are not considered to be stable, whereas electrophoretic displays, for example, are considered stable. The level of reflectance of an electro-optic pixel or sub-pixel may be less than one hundred percent. Consequently, when a color image is rendered on an electro-optic display device, colors may tend to lack brightness. One technique for increasing brightness involves reducing the size to color filters associated with a display pixel. However, one problem with this technique is that it tends to reduce color saturation. A digital image may be defined using more display states than an electro-optic display device may be capable of rendering. Thus, in order to render a digital image on an electro-optic display device, it may be necessary to reduce the bit-per-pixel resolution of the digital image. A color processing algorithm may pro-process a digital image before the image is to be rendered on an electro-optic display device. If the color processing algorithm processes the digital image in its native or original resolution, the algorithm may provide precision that will not be fully observable when the image is rendered on the electro-optic display device. Consequently, a color processing algorithm that only operates on image data in its native resolution may be wasteful of power and processing time. An embodiment is directed to an electro-optic display device having a display matrix of display pixels. Each display pixel may include two or more first sub-pixels and a second sub-pixel. Each first sub-pixel may have two or more display states and a color filter. The second sub-pixel may have two or more display states and a white filter. The first sub-pixels may be arranged in rows and columns in a repeating pattern, and each first sub-pixel may be horizontally adjacent and vertically adjacent to one or more second sub-pixels. In one embodiment, the display device is an electrophoretic display device. An embodiment is directed to a method for preparing a color image for display on an electro-optic display device. The method may include: (a) receiving the color image defined by data pixels in a first pixel resolution, the first pixel resolution corresponding with each data pixel having a 5-bit red component, a 6-bit green component, and a 5-bit blue component; (b) performing a color correcting operation on the color image in the first pixel resolution; (c) performing an image sharpening operation on the color image in the first pixel resolution; (d) performing a color linearization operation on the color image in the first pixel resolution; (e) performing an image dithering operation on the color image in the first pixel resolution, the image dithering operation outputting the color image in a second pixel resolution, the second pixel resolution corresponding with each data pixel having a 4-bit red component, a 4-bit green component, and a 4-bit blue component; and (f) performing a saturation adjustment operation on the color image in one of the first and second pixel resolutions. In one embodiment, the operations (b), (c), (d), (e), and (f) are performed in the order: (b), (c), (d), (e), (f). In one embodiment, the operations (b), (c), (d), (e), and (f) are performed in the order: (b), (c), (e), (f), (d). An embodiment is directed to a display controller. The display controller may include a data switch having an input to receive a color image defined by data pixels in a first pixel resolution, the first pixel resolution corresponding with each data pixel having a 5-bit red component, a 6-bit green component, and a 5-bit blue component. In addition, the display controller may include a color correction module to perform a color correcting operation on the color image in the first pixel resolution, an image filtering module to perform an image sharpening operation on the color image in the first pixel resolution, a color linearization module to perform a color linearization operation on the color image in the first pixel resolution, an image dithering module to perform an image dithering operation on the color image in the first pixel resolution, the image dithering operation outputting the color image in a second pixel resolution, the second pixel resolution corresponding with each data pixel having a 4-bit red component, a 4-bit green component, and a 4-bit blue component, and a saturation adjustment module to perform a saturation adjustment operation on the color image in one of the first and second pixel resolutions. In one embodiment, the display controller performs the operations (b), (c), (d), (e), and (f) in the order: (b), (c), (d), (e), (f). In one embodiment, the display controller performs the operations (b), (c), (d), (e), and (f) in the order: (b), (c), (e), (f), (d). This detailed description and the drawings illustrate exemplary embodiments. In the drawings, like referenced-numerals may identify like units, components, operations, or elements. In addition to the embodiments specifically described, other embodiments may be implemented and changes may be made to the described embodiments without departing from the spirit or scope of the subject matter presented herein. This detailed description and drawings are not to be taken in a limiting sense; the scopes of the inventions described herein are defined by the claims. The host 122 may be a general purpose microprocessor, digital signal processor, controller, computer, or any other type of device, circuit, or logic that executes instructions of any computer-readable type to perform operations. Any type of device that can function as a host or master is contemplated as being within the scope of the embodiments. The host 122 may be a “system-on-a-chip,” having functional units for performing functions other than traditional host or processor functions. For example, the host 122 may include a transceiver or a display controller. The system memory 130 may be may be an SRAM, VRAM, SGRAM, DDRDRAM, SDRAM, DRAM, flash, hard disk, or any other suitable volatile or non-volatile memory. The system memory may store instructions that the host 122 may read and execute to perform operations. The system memory may also store data. The display device 124 may have display pixels that may be arranged in rows and columns forming a matrix (“display matrix”) 126. A display pixel may be a single element or may include two or more sub-pixels. The display device 124 may be an electro-optic display device with display pixels having multiple stable display states in which individual display pixels may be driven from a current display state to a new display state by series of two or more drive pulses. In one alternative, the display device 124 may be an electro-optic display device with display pixels having multiple stable display states in which individual display pixels may be driven from a current display state to a new display state by a single drive pulse. The display device 124 may be an active-matrix display device. In one embodiment, the display device 124 may be an active-matrix, particle-based electrophoretic display device having display pixels that include one or more types of electrically-charged particles suspended in a fluid, the optical appearance of the display pixels being changeable by applying an electric field across the display pixel causing particle movement through the fluid. The display device 124 may be coupled with the display controller 128 via one or more buses 142, 149 that the display controller uses to provide pixel data and control signals to the display. The display device 124 may be a gray-scale display or a color display. In one embodiment, the display controller 128 may receive as input and provide as output either gray-scale or color images. The display state of a display pixel is defined by one or more bits of data, which may be referred to as a “data pixel.” An image is defined by data pixels and may be referred to as a “frame.” In one embodiment, the display controller 128 may be disposed on an integrated circuit (“IC”) separate from other elements of the system 120. In an alternative embodiment, the display controller 128 need not be embodied on a separate IC. In one embodiment, the display controller 128 may be integrated into one or more other elements of the system 120. For example, the display controller 128 may integrated with the host 122 on a singe IC. The display memory 150 may be internal or external to the display controller 128, or may be divided with one or more components internal to the display controller, and one or more components external to the display controller. The display memory 150 may be an SRAM, VRAM, SGRAM, DDRDRAM, SDRAM, DRAM, flash, hard disk, or any other suitable volatile or non-volatile memory. The display memory 150 may store data or instructions. The waveform memory 134 may be a flash memory, EPROM, EEPROM, or any other suitable non-volatile memory. The waveform memory 134 may store one or more different drive schemes, each drive scheme including one or more waveforms used for driving a display pixel to a new display state. The waveform memory 134 may include a different set of waveforms for one or more update modes. The waveform memory 134 may include waveforms suitable for use at one or more temperatures. The waveform memory 134 may be coupled with the display controller 128 via a serial or parallel bus. In one embodiment, the waveform memory 134 may store data or instructions. The temperature sensor 136 may be provided to determine ambient temperature. The drive pulse (or more typically, the series of drive pulses) required to change the display state of a display pixel to a new display state may depend, in part, on temperature. The temperature sensor 136 may be mounted in any location suitable for obtaining temperature measurements that approximate the actual temperatures of the display pixels of the display device 124. The temperature sensor 136 may be coupled with the display controller 128 in order to provide temperature data that may be used in selecting a drive scheme. The power module 137 may be coupled with the display controller 128 and the display device 124. The power module 137 may receive signals from the display controller 128 and generate appropriate voltages (or currents) to drive selected display pixels of the display device 124. In one embodiment, the power module 137 may generate voltages of +15V, −15V, or 0V. The image sensor 118 may include a charge-coupled device (CCD) or complementary metal-oxide semiconductor (CMOS) type image sensor that converts light into electronic signals that represent the level of light at each pixel. Other image sensing devices that are known or may become known that are capable of converting an image formed by light impinging onto a surface into electronic signals representative of the image may also be used. The image sensor 118 may also includes circuits for converting the electronic signals into image data and interfacing with other components of the system. The display engine 154 may perform a display update operation. The display engine 154 may include a pixel processor (not shown) and an update pipe sequencer (not shown). A display update operation may include updating display pixels of a display matrix of an electro-optic display device. In particular, a display update operation may include: (a) a pixel synthesis operation; and (b) a display output operation. A display update operation may be performed with respect to all of the display pixels of the display matrix 126 (an “entire” display update). Alternatively, a display update operation may be performed with respect to less than all of the display pixels of the display matrix 126 (a “regional” display update). In addition, two or more regional display updates may be performed in parallel. For example, a regional display update of a first region of the display matrix 126 may operate in parallel with a regional display update of a second region, provided the first and second regions do not include any of the same display pixels or sub-pixels. As described below, the image to be rendered on a display device may include two or more images, and each sub-image or region may be processed using a different color processing algorithm. Because the pixel synthesis and display output operations are performed after color processing, and because the pixel synthesis and display output operations may be performed independently on distinct regions of the display matrix 126, it will be appreciated that simultaneous display updates may be update display pixels that were processed using different color processing algorithms. A color processing algorithm for a particular type of display device may include: (a) color correction; (b) color linearization (sometimes referred to as gamma correction); (c) luma scaling; (d) filtering; (e) color saturation adjustment; (f) dithering; and (g) other functions. An apparatus for implementing a color processing algorithm that has the capability to include a variety of different functions would be desirable. In general, the effect of applying two or more functions in succession is additive. In other words, the final appearance of an image after performing two different functions is affected by the order in which the functions are applied. An apparatus for implementing a color processing algorithm that has the capability to perform desired functions in any order would be desirable. For purposes of illustration, assume that the inputs of each of the multiplexers M0 to M6 are numbered 0 to 6 from top to bottom. As one example, all of the modules may be bypassed by selecting the 0 input of multiplexer 0. As a second example, to select modules in the order (1) linearize color 328, (2) filter 326, (3) color correct 324, (4) adjust saturation 330, and (5) dither 334, excluding the luma scaling module 332, the inputs of the multiplexers should be selected as follows: (a) multiplexer M0—select input 4, (b) multiplexer M1—select input 2, (c) multiplexer M2—select input 3, (d) multiplexer M3—select input 0, (e) multiplexer M4—select input 5, and (f) multiplexer M5—select input 1. Turning now to exemplary modules in that may be included in the flexible data path 320 of where R0, G0, and B0are input RGB values. The R′, G′, and B′ are color corrected values. The respective RGB “inoff” and “outoff” are offset values. The “K” values of the 3×3 kernel matrix may be programmable coefficients. In addition to changing pixel intensity or brightness, the color correction module 324 may be used to perform a color space conversion in addition to its use for correcting color. For example, RGB may be converted to YCrCb, YCrCb may be converted to RGB, or YCrCb may be converted to CMY using the above expression. In a color space conversion configuration, different input, output, and offset variables may be substituted. For example, the RGB input values R0, G0, and B0in the above expression may be replaced with Y0, Cr0, and Cb0, and the corrected values R′, G′, and B′ may be replaced with either Y′Cr′Cb′ or C′M′Y′. Moreover, the color correction module 324 may be used to implement a scaling function with or without an offset. For example, the color correction module 324 may be used to adjust color saturation of an image defined in YCrCb space. This may be accomplished by programming the K values of the kernel matrix as shown in the expression below: where S is a saturation adjustment factor. The filtering module 326 may be used as part of a color processing algorithm for a particular type of display device to sharpen, blur, or value-scale an image. In addition, the filtering module 326 may be used for other purposes, such as bump mapping and line detection. The filtering module 326 may include a separate filter for each color channel. In one embodiment, the filters may be 3×3 filters. For example: The R0, G0, and B0are original color values, the R′, G′, and B′ are filtered color values, and the programmable kernel values “K” define the filter. It is not critical that the filtering module 326 process RGB pixel data. The filtering module 326 may process pixel data in any desired format, e.g., YCrCb. In one embodiment, the type of filtering that is performed may be different on each color channel. For example, the filter on a Y channel may be a sharpening filter while the filters on Cr and Cb channels may perform blurring or saturation adjustment. The color linearization module 328 may be used as part of a color processing algorithm for a particular type of display device to generate pixels that are compensated for the non-linearity of the response of the display device to input pixel values. In an EPD or other display device, the brightness of a pixel generated in response to a signal may not be a linear function of the signal. In one embodiment, the color linearization module 328 may include three 256 entry look-up tables (LUT), one for each color channel, each LUT defining a function to compensate for non-linearity of display device response. More specifically, the color linearization module 328 may implement a compensation function on each of three color channels. For example, the color linearization module 328 may implement the following: The R′, G′, and B′ are linearized color values. The color linearization LUTs may store entries of any suitable precision. For example, the color linearization LUTs may be 8 or 6 bits wide. In one alternative, the color linearization LUTs may be 4 bits wide. The color saturation adjustment module 330 may be used as part of a color processing algorithm for a particular type of display device to adjust levels of saturation in color pixels. The color saturation adjustment module 330 may make independent adjustments to each color component of a pixel. The color saturation adjustment module 330 may accept input data in any desired color format. For example, the color saturation adjustment module 330 may accept input data in RGB, YCrCb, HSL, CMY, etc. However, input image data is typically provided in RGB format. One known way to adjust the color saturation of an RGB image is to convert the image to the YCbCr color space, multiply the Cb and Cr values of each YCbCr pixel by adjustment factor S, and then convert the YCbCr image back to the RGB color space. The two color space conversion operations, however, make this method inefficient. In one embodiment, the color saturation adjustment module 330 adjusts the color saturation of an RGB image by first determining the Y component for each pixel of the RGB image. The Y component is determined according to the following equation: where R0, G0, and B0are color components of an original or input RGB image pixel. Second, the Y component is individually subtracted from each of the RGB components. The difference is then multiplied by an adjustment factor S. Finally, the products produced in the second operation are added to the Y component. The respective sums are the saturation adjusted RGB components. Equations for the saturation adjusted components R′, G′, and B′ are presented below: One adjustment factor S may be used for all three RGB components. Alternatively, three unique adjustment factors S may be used for each of the respective RGB components. In addition, the adjustment factor S may be uniquely defined for each combination of RGB input image component values. In other words, in one embodiment, S=f(R,G,B). Alternatively, the adjustment factor S may be uniquely defined for each combination of YCrCb input image component values. In one embodiment, the saturation factor S may be a constant. where RGB′ is a saturation-adjusted R0G0B0pixel, S is the saturation factor value, and Y is the luma value of the input pixel R0G0B0. The luma value Y may be calculated using second calculating module 530, which may evaluate the equation: In one embodiment, the saturation adjustment module 518 and the saturation adjustment module 330 may be the same. Referring again to The R0, G0, and B0are original color values and the R′, G′, and B′ are luma scaled color values. A scale factor is P and a scale offset is C. In one alternative, the luma scaling module 332 may be used as part of a color processing algorithm for a particular type of display device to adjust the brightness or saturation of pixels in the luma, chroma-blue, chroma-red (YCrCb) color space. That is, original colors values Y0, Cr0, and Cb0may be substituted for R0, G0, and B0in the above equations. The dithering module 334 may be used as part of a color processing algorithm for a particular type of display device. The number of brightness or intensity levels for sub-pixels that is available in some display devices may be less than 256. For example, an EPD pixel may include sub-pixels having 16 intensity levels. In this case for example, a 12-bit RGB data value (4:4:4) may be used to define all possible pixel colors. The gamut of colors that corresponds with 12-bit RGB data is a relatively small 4,096. The dithering module 334 may be included in the color processing algorithm to increase the apparent color gamut of a display device The dithering module 334 may employ an error-diffusion scheme, an ordered-diffusion scheme, or any other diffusion suitable scheme. In one embodiment, the dithering module 334 may employ an error-diffusion scheme. In an exemplary error-diffusion scheme, pixels of an input image are processed in raster order. The bit-depth of the input pixels may be greater than the bit-depth of the output pixels. For example, the input pixels may be 24-bit RGB data (8:8:8), whereas the output pixels may be 12-bit RGB data (4:4:4). A quantization error may be calculated for each input data pixel according to the following equation: where P(i, j) is a pixel of an input image in the native bit-depth, e.g., 24-bit per pixel, P′(i, j) is the pixel of an input image in the bit-depth that will be provided as an output of the dithering process (the “quantized” pixel value), e.g., 12-bit per pixel, and i and j are column and row indices. In one embodiment, a quantization error may be calculated for each input data sub-pixel. As shown in The α, β, γ, δ coefficients used by the dithering module 334 may be programmed or configured to suit a color processing algorithm for a particular type of display device. In addition, the particular neighbor pixels that are used in the error term calculation may be programmed to suit a particular color processing algorithm. For example, dithering module 334 may be configured to include only the two neighbor pixels, such as only the horizontally and vertically adjacent pixels. To facilitate calculation of a current pixel, the dithering module 334 may include a buffer to store error terms for one line of pixel data (e.g., line j−1) plus the pixel value on the same line (e.g., line j) and to the left of the currently processed pixel. The range of pixel color values for which dithering is enabled may be programmed or configured for a particular color processing algorithm. For example, consider an input image defined by 6-bit RGB data (6:6:6) that includes both a color photograph, and black and white text. In this example, a pixel having the maximum value of 32d:32d:32d may appear white, while a pixel having the minimum value of 0d:0d:0d may appear black. The range of pixel color values may be set to exclude dithering of the textual portion of the image, while at the same time to include dithering of the color photograph portion of the image by setting, for example, a range having a maximum of 30d:30d:30d and a minimum of 2d:2d:2d. In this example, the 6.25% whitest and the 6.25% blackest pixels are excluded from dithering. Any desired or suitable range of values to exclude from dithering may be selected. The capability to configure a color processing algorithm may be desirable because dithering textual image data can reduce the quality of the rendered image of the text. In an alternative embodiment, as described below, the dithering module 334 may be programmed or configured to operate at sub-pixel resolution. Referring again to In one embodiment, the LUT 826 may be employed to store saturation factor values S that may be used by a color saturation module, e.g., module 330. The saturation factor values S may be stored in the LUT 826 by a user. The saturation factor values S stored in the LUT 826 may be user determined values based on the image rendering properties of a particular display device. By storing saturation factor values S in the LUT 826, a color processing algorithm may include a non-linear saturation factor in a color saturation adjustment function. A non-linear saturation function may provide an advantage over a linear saturation function in that it provides increased control of the color gamut that may be rendered on an EPD. Saturation factor values S may be retrieved from the LUT 826 using different arguments or indices. The retrieval index may be determined by appropriately configuring path selectors 830 and 834, and color space converter 836. In one configuration, a pixel value received at input 820 may be used as an index to the LUT 826. For example, a down-sampled RGB or YCrCb pixel value may be used as an index for retrieving a stored saturation factor value S. As another example, an RGB pixel may be received on input 820 and converted to a YCrCb pixel, which may then be used as an index. In another configuration, a single component of a color pixel may be used as an index to the LUT 826. For example, the R value of a received RGB pixel, or the Y value of YCrCb pixel may be used as an index for retrieving a stored saturation factor value S. In the latter example, the Y value of the YCrCb pixel may determined from a YCrCb pixel received on input 820, or the Y value may be received from the color space converter 836 following conversion of a received RGB pixel. In yet another configuration, a constant saturation factor value S may be stored in the LUT 826, providing a constant value for S. The color processing algorithm for a particular type of display device may include adding a fourth sub-pixel “WSP” to three-component pixel data. For example, a white sub-pixel may be added to each RGB triplet to create RGBW pixels, or a white sub-pixel may be added to each CMY triplet to create CMYW pixels. The fourth sub-pixel may be added to pixels of any color model and the fourth sub-pixel need not be white. The fourth sub-pixel may be any suitable color or may be no color. For instance, a fourth sub-pixel may be yellow or black, e.g., RGBY, CMYB, or CMYK pixels may be generated. In addition, in one embodiment, a fourth sub-pixel for inclusion with an RGB pixel may be a duplicate of the green sub-pixel of the RGB triplet. In other words, the resultant pixel is RGBG, where the G values are identical. The G value of an RGB pixel may be passed from input 820 to output 824 using data path 846. The WSG unit 818 may provide several options for determining fourth sub-pixel values. The choices may include calculating options and lookup table options. The first input/output path selector 830 may be configured to choose an option for determining a fourth sub-pixel. Depending on the option, different parameters are required. The parameters may be taken directly from, or may be derived from, the input pixel value received on input 820. The color space converter 836 may color space convert an input pixel, and the third output path selector 834 may be configured to include or exclude the color space converter 836. In a first option, the LUT 828 may be employed to store fourth sub-pixel data. The WSG unit 818 may allow retrieval of a fourth sub-pixel from the LUT 828 using a pixel value as an index to the LUT. For example, a down-sampled RGB or YCrCb pixel value may be used as an index for retrieving a fourth sub-pixel. The fourth sub-pixel values may be stored in the LUT 828 by a user. The fourth sub-pixel values stored in the LUT 828 may be user-determined values based on the image rendering properties of a particular display device. In various alternative options, the fourth sub-pixel may be calculated. In one embodiment, the fourth sub-pixel may be calculated using a calculating unit 838, which evaluates the expression: where “W1” is the calculated fourth sub-pixel and is set to the minimum of the R, G, and B sub-pixel values. When the calculating unit 838 is used for determining fourth sub-pixel values, the path selectors 830 and 834 are configured to provide RGB pixel values to the input of calculating unit 838. In another option, the fourth sub-pixel may be calculated using calculating unit 840, which evaluates the expression: where the fourth sub-pixel “W2” is a weighted average of the RGB sub-pixel values. When this option is desired, the path selectors 830 and 834 are configured to provide RGB pixel values to the input of calculating unit 840. The coefficients α, β, and λ, may be selected by a user by writing appropriate values to configuration and status registers 70. In yet another option, the path selectors 830 and 834 are configured to provide YCrCb pixel values to the input of calculating unit 840, but a fourth path selector 842 is configured so that the calculating unit 840 is bypassed. In this option, W2 is set equal to luma, i.e., W2=Y. In still another option, the fourth sub-pixel may be calculated using calculating unit 844, which evaluates the expression: where W1 and W2 are determined using one of the methods described above. The weighting factor A may be selected to weight one of W1 or W2 more heavily, or both may be weighted equally, in the determination of the fourth sub-pixel “W3.” A user may select a desired value for A by writing an appropriate value to configuration and status registers 236. Alternatively, the weighting factor A may be varied as function of input pixel value. In this alternative, a user may store a set of weighting factors A in the LUT 828. The WSG units 230 and 818 may include a saturation factor latency buffer 846 that may be used to buffer the S output 822, and a fourth sub-pixel latency buffer 848 that may be used to buffer the WSP output 824. The latency buffers 846 and 848, and the input latency buffer 240, may be used individually or in combination to synchronize aspects of the respective operations of the CSP unit 228 and the WSG unit 818 (or WSG unit 230), which operate in parallel. In particular, it may be necessary to synchronize the outputting of a saturation factor S by the WSG unit 818 to the saturation adjustment module 330 (or unit 518) of a CSP unit. In addition, it may be necessary to synchronize the outputting of pixel data by CSP and WSG units to the CFA mapping and post-processing unit 232. The latency buffers 846, 848, and 240 may be variable depth FIFOs. A method for determining how latency buffers may be according to one embodiment set is next described. In a first step, the processing modules to be used and the order in which the modules are use for a color processing algorithm are determined. Once the modules to be used and the order of operations are determined, a second step includes calculating the latency through a CSP unit up to completion of a saturation adjustment operation, and calculating the total latency through the CSP unit. In a third step, latencies of the WSP unit for determining saturation factor S and determining a fourth sub-pixel, if applicable, are calculated. In a fourth step, the latencies calculated for the CSP and WSP data paths are compared. If the total latency through the CSP unit is less than the latency for determining a fourth sub-pixel by the WSG unit, the input latency buffer 240 may be set to the difference between the two latency values. On the other hand, if the total latency through the CSP unit is greater than the latency for determining a fourth sub-pixel by the WSG unit, the fourth sub-pixel latency buffer may be set to the difference between the two latency values. Finally, if the latency through the CSP unit up to completion of the saturation adjustment operation is greater than the latency for determining a saturation factor by the WSG unit, the saturation factor latency buffer is set to the difference between the two latency values. In one embodiment, a table containing all possible configurations for the CSP and WSG units may be provided. The table may additionally contain latency values corresponding with each configuration. The second and third steps may be automatically performed by looking up latency values in the table once configurations are set. A comparing circuit may then compare latency values from the table to determine appropriate latency buffer settings. The comparing circuit may automatically establish the latency buffer settings. The table may be stored in a memory. In one embodiment, the PPU 232 may accept as input pixel data having four color components, e.g., RGBW, CMYW. In alternative embodiments, the PPU 232 may accept pixel data defined by any number of components. The selecting unit 234 may be configured to obtain three color components from a CSP unit and a fourth color component from a WSG unit, or to obtain four color components from a WSG unit. After processing by the PPU 232, the sub-pixel data may be stored in the processed color image buffer 222. The PPU 232 writes sub-pixel data to the processed color image buffer 222 so that it is arranged in the buffer 222 for fetching by the display engine 154 in raster order. In the sub-pixel mode of operation of PPU 232, each pixel of an input image is mapped to one sub-pixel of a display device. Consequently, sub-pixel mode requires that the resolution of the input image be higher than the resolution of the display device. For example, each pixel of a 1,200×1,600 pixel color input image may be mapped to one sub-pixel of a 600×800 sub-pixel display device that has four sub-pixels per display pixel. In addition, just one color component of each pixel of the input image may be sampled in the mapping process. The sampled color component may be assigned to a mapped display sub-pixel. Alternatively, the value assigned to a mapped display sub-pixel may be determined based, at least in part, on a corresponding pixel's color components. For example, a mapped display sub-pixel may be assigned the value of a fourth sub-pixel, where the fourth sub-pixel is determined based on the RGB or CMY values of the corresponding input pixel. An advantage of the sub-pixel mode of mapping of the PPU 232 is that it may produce better color appearance than the pixel mode of operation. Use of the sub-pixel mode of mapping may result in image artifacts, however. For example, in an image with a high gradient, gray-scaled edges may become colored. Empirical testing indicates that image artifacts resulting from processing an input image in sub-pixel mode may be reduced by processing the input pixels with a convolution operation, which implements a blurring function. The convolution operation is preferably performed before a sub-pixel mapping operation. The convolution operation may be performed by convolution module 922. A user may configure the selecting unit 930 to include or bypass the convolution module 922, as desired for a particular color processing algorithm. In the pixel mode of operation of PPU 232, each pixel of an input image is mapped to one pixel of a display device. For example, each pixel of a 600×800 pixel input image is mapped to one pixel of a 600×800 pixel display. If each display pixel includes four sub-pixels, each input pixel is mapped to four sub-pixels in the display. When mapping is performed in pixel mode, the line buffer 924 may be used to store one line of the input image. The input image may be received by the PPU unit 232 in raster order. In addition, the color components of each pixel may appear adjacent one another in the input data stream. For example, if pixels of the input image are in an RGBW format, the four color components of each input pixel may arrive in parallel at the input 920. The sub-pixels of an RGBW pixel may not, however, appear adjacent one another in an output data stream, i.e., the order in which sub-pixel data are written to the processed color image buffer 222. Instead, the sub-pixels of a particular input pixel may appear on different lines in the output data stream, as illustrated in a portion of an image 1120 and a portion of a display device 1122 shown in According to one embodiment, the PPU 232 may provide for flexible CFA mapping, i.e., the PPU 232 may be configured to output sub-pixel data in a user-defined CFA format. Different display devices may employ different CFAs. Consequently, it may be desirable to have a capability to map sub-pixels to a variety of different CFAs. CFAs may be viewed as arranging sub-pixels in columns and rows. Different CFAs may have different numbers of columns and rows. While sub-pixels may be square, this is not critical. Sub-pixels may be any desired shape, rectangular, polygonal, circular, etc. In an alternative embodiment, referring again to In a pixel mode of CFA mapping, quantization error may be diffused to adjacent pixels and a user may specify locations A0, B0, C00, and D00of the map of In sub-pixel mode of CFA mapping, quantization error may be diffused to adjacent sub-pixels having the same color as the current sub-pixel. The particular mapping will depend on the particular CFA of the display device 124. To change the display state of a sub-pixel, the common electrode 1520 may be placed at ground or some other suitable voltage, and a suitable voltage is placed on a sub-pixel electrode 1522. As a result, an electric field is established across the microcapsule(s) 1526 associated with the sub-pixel. When the electric field is positive, the white particles 1528 may move toward the common electrode 1520, which results in the display pixel becoming whiter or more reflective in appearance. On the other hand, when the electric field is negative, the black particles 1530 may move toward the common electrode 1520, which results in the display pixel becoming blacker or less reflective in appearance. In In one embodiment, sub-pixels having color filters may be arranged in rows and columns in a repeating pattern, e.g., a Bayer pattern. In addition, each sub-pixel having a color filter may be horizontally adjacent or vertically adjacent to one or more white sub-pixels (or both horizontally adjacent and vertically adjacent). In this regard, a color filter for a colored sub-pixel, e.g., green, and a color filter for a white sub-pixel, e.g., transparent, may be horizontally or vertically adjacent one another. In one alternative, the color filter for the colored sub-pixel may horizontally or vertically contact or adjoin a white sub-pixel. In this context, vertical and horizontal refer to the front view of a CFA. For example, the green sub-pixel 1720 shown in the CFA 1732 of The white sub-pixel 1722 shown in the CFA 1732 of With regard to the display 1718 and CFA 1732, it is not critical that the white color filters 1722 be white; they may be any desired color, e.g., yellow. The white filter 1722 may be a transparent structure; alternatively, a white filter may be omitted or absent from the location between the microcapsules 1526 associated with a particular sub-pixel and the common electrode 1520. In addition, while the CFA 1732 may be used with an RGBW color model. Any desired set of color filters may be substituted for the primary colors RGB, e.g., CMY. While the colored and white sub-pixels of the CFA 1732 are shown as being of the same size and shape, this is not critical. It may be desirable to reduce the size of the color processor 152. This may be desirable, for example, where a color processor is implemented in an integrated circuit or other hardware. Reducing the size of a hardware-implemented color processor may correspond with a reduced number of logic gates as compared with the color processor 152. Because the color processor 152 may be configured in many different ways, the color processor 152 may be used to evaluate many different color processing algorithms for EPDs. Empirical testing of the color processor 152 with a variety of color processing algorithms indicates that color processing algorithms suitable for color EPDs can still be implemented even though certain functions available in the color processor 152 are eliminated, or even though some of the options associated with a particular function are eliminated. In addition, empirical testing of the color processor 152 with a variety of color processing algorithms indicates that color processing algorithms suitable for color EPDs can still be implemented even though the order of performing color processing functions is restricted. A color processing algorithm that only operates on image data in its native resolution may be wasteful of power and processing time. On the other hand, use of a color processing algorithm to pro-processes a digital image at the bit-per-pixel resolution of the electro-optic display device may result in a rendered image having a sub-optimal appearance. The inventor has recognized that one reason that the appearance of the rendered image may be less than sub-optimal may be that performing the color processing algorithm at a higher degree precision than the electro-optic display is capable of rendering results in an improved selection of available display states or colors. For example, experiments by the inventor showed better color appearance of rendered images when a color processing algorithm performed its operations on 5:6:5 pixel data than when the same operations were performed on 4:4:4 pixel data. On the other hand, the color appearance of rendered images did not exhibit further improvement when the color processing algorithm performed its operations on 8:8:8 pixel data as compared with performing same operations using pixel data in the 5:6:5 resolution. In addition, as further described below, a color processing algorithm may include two or more operations and it may be desirable to perform certain of those operations at different pixel resolutions. The CSP circuit 1920 reflects empirical testing with a variety of color processing algorithms for color EPDs. Testing indicated that if color correction is necessary, it is advantageous to perform this process first. Further, it was determined that it is not critical to include RGB to YCrCb conversion in the color correction module 1924. Accordingly, color correction module 1924 does not include this color space conversion capability. In one embodiment, the color correction module 1924 implements the following expression: In addition, the color correction module 1924 includes one or more predetermined sets of kernel coefficients and RGB offset values. Instead of selecting individual values for the color correction variables, a user may choose a predetermined setting. Examples of predetermined settings include (a) mild color enhance; (b) color enhance; (c) strong color enhance; (d) gray scale; (e) mild white warm; (f) mild daylight; and (g) mild illuminant. Alternatively, the user may choose to select individual values for the color correction variables. A user may select a predetermined setting or a custom setting by writing appropriate values to configuration and status registers 236. Testing indicated that it is often desirable to include some type of filtering operation in a color processing algorithm. In addition, testing indicated that performing filtering after color correction and before color linearization produces good results. The filtering module 1926 is sized to process 5:6:5 pixel data. The filtering module 1926 includes one or more predetermined sets of filter coefficients. Instead of selecting individual values for the filter coefficients, a user may choose a predetermined setting. Examples of predetermined settings include: five levels of sharpening, plus (a) blur; (b) edge detect; (c) sketch; (d) sepia; (e) edge enhance; (f) emboss; (g) gray scale; and (h) bump mapping. Alternatively, the user may choose to select individual values for the filter coefficients. A user may select a predetermined setting or a custom setting by writing appropriate values to configuration and status registers 236. Testing related to color linearization indicated that color linearization is commonly required. In one embodiment, the color linearization module 1928 may be the same as the color linearization module 328. Testing revealed that an important pre-processing function is dithering. To reduce the effects of CSP functions on accuracy of dithering algorithm, the dithering module 1930 may be placed so that it is performed after the color correction and image sharpening functions. In one embodiment, the dithering module 1930 may be the same as the dithering module 334. CFAs that include white sub-pixels have decreased color saturation in comparison with CFAs that omit white sup-pixels. Testing identified color saturation adjustment as an important function for inclusion in many color processing algorithms, especially those color processing algorithms for displays having CFAs that include white sub-pixels. Testing indicated that performing color saturation adjustment after performing a dithering operation produced visually pleasing results. The color saturation adjustment module 1932 implements the following equations: The portion of the color saturation adjustment module 1932 that determines R′G′B′ uses only 3 multipliers and 6 adders. The portion of the color saturation adjustment module 85 that determines Y uses only 2 adders. Consequently, the color saturation adjustment module 1932 is smaller and more efficient that color saturation adjustment module 330. Testing indicated that the luma scaling module 332 may be omitted without significantly reducing the flexibility of the CSP circuit 1920. The circuit 1920 accepts 16-bit pixel data (5:6:5). Bit depth of an input image may be reduced to 16-bits by truncating the least significant bits of each sub-pixel. Alternatively, input pixels may have their bit depth reduced by rounding or using the floor function. For example: where X is the 8-bit data value of an input image sub-pixel and Y is the 5-bit value of the corresponding bit-depth reduced pixel. Empirical testing with a variety of color processing algorithms for color EPDs sought to identify an appropriate level of calculation accuracy for each of the processing modules. Testing indicated that the color correction module 1924 and filtering module 1926 of the circuit 1920 may perform their respective operations at 16-bit pixel depth (5:6:5). Further, testing indicated that the color linearization module 1928 may accept as input 16-bit (5:6:5) pixel data and output 18-bit (6:6:6) pixel data, or alternatively, the color linearization module 1928 may accept as input 12-bit (4:4:4) pixel data and output 12-bit (4:4:4) pixel data. To handle both cases, the color linearization LUTs are of a size that accommodates 6-bits per pixel. In addition, testing indicated that the dithering module 1930 may accept as input 18-bit (6:6:6) pixel data (or 16-bit (5:6:5) pixel data) and output 12-bit (4:4:4) pixel data. Additionally, testing indicated that the color saturation adjustment module 1932 may accepts as input and outputs 12-bit (4:4:4) pixel data. The color saturation adjustment module 1932 may perform its calculations at 4-bits per sub-pixel. The LUT 2122 may be used to implement two or more configurations. Accordingly, it should be appreciated that the concepts disclosed in this specification can be used to develop and modify color processing algorithms for existing and future-developed color EPDs in a flexible manner. In many cases, the most desirable color processing algorithm for a particular EPD will depend on ambient lighting conditions and the type of image being rendered. The determination of a color processing algorithm for a particular EPD is a complex process involving many variables. If an assumption is made that the EPD will be viewed in bright light, less upward adjustment of luma and saturation will likely be called for than in cases where it is assumed that the EPD will be viewed in relatively dim light. Similarly, different luma and saturation adjustments may be deemed optimum for viewing black and white text as compared with those desired for color photographs of human faces or natural landscapes. In one embodiment, parameters for programming or configuring first, second, third, and fourth color processing algorithms may be stored in either system memory 130 or display controller memory 150. For example, the first color processing algorithm may be determined to be optimum for viewing a particular EPD rendering a text image in bright, natural ambient lighting conditions, e.g., sunlight. The second color processing algorithm may be determined to be optimum for viewing the particular EPD rendering a photographic image of a human face in bright, natural ambient lighting conditions. The third color processing algorithm may be determined to be optimum for viewing the particular EPD rendering the text image in low, artificial ambient lighting conditions, e.g., a tungsten light source in a darkened room. The third color processing algorithm may boost luma and saturation as compared with the first color processing algorithm. The fourth color processing algorithm may be determined to be optimum for viewing the particular EPD rendering the photographic image of a human face in low, artificial ambient lighting conditions. The fourth color processing algorithm may boost luma and saturation in a manner similar to the third algorithm and may additionally adjust color to correct for color distortion caused by the tungsten light source. The storing of two or more color processing algorithms in a memory allows selection and used of a color processing algorithm best suited for viewing conditions and image type. The determination of current viewing conditions may be made explicitly by an end user of the display system, or automatically through the use of the image sensor 118. The end user may select a current viewing condition by choosing one of two or more predetermined options from a menu, e.g., sunlight, overcast outdoor light, bright indoor light, bright indoor light, tungsten light, fluorescent light, etc. The image sensor 118 may determine both the ambient light level and the spectral components of the ambient light source. Similarly, the determination of image type may be made explicitly by an end user of the display system, or automatically. The end user may select a current viewing condition by choosing one of two or more predetermined options from a menu, e.g., black and white text, black and white text including fewer than five highly saturated colors, color photograph of human face, color photograph of landscape, cartoon, etc. The determination of image type may be performed automatically by pre-coding the image file with image type, or by use of one or more known automatic image analysis techniques. As one example of an automatic image analysis technique, software or hardware may be used to prepare a color histogram of an image. Using the histogram, mages may be categorized by color content. For example, a text image may be recognized as having characteristic color content. As another example, a facial image may be recognized as having one or more characteristic color contents. Once the foregoing determinations have been made, the most suitable color processing algorithm for the determined viewing conditions and image type may be retrieved from memory and used to program or configure the display system. When viewing conditions and image type change, the display system may be reconfigured, either automatically or explicitly by the user, to use a more suitable algorithm. In one embodiment, parameters for configuring multiple color processing algorithms may be stored in a memory, and the image to be rendered on a display device includes two or more images. For example, the image to be rendered includes a text image and a color photograph. The storing of two or more color processing algorithms in a memory allows selection and use of a color processing algorithm suited for the type of sub-image. Where there are two image types to be rendered simultaneously, a different color processing algorithm may be selected for each sub-image. Selection of a suitable color processing algorithm for each sub-image may be automatic using a known automatic image analysis technique, or may be explicitly made by an end user. While the concepts disclosed in this specification have been described in terms of a display system having a display controller and a display device, it should be appreciated that the disclosed embodiments are exemplary. The disclosed concepts may be used with other types of display device, including reflective and self-illuminating types. Moreover, the disclosed concepts may be used in any application, e.g., printing or projecting an image, where it is desired to modify the color characteristics of a digital image. In one embodiment, some or all of the operations and methods described in this description may be performed by hardware, software, or by a combination of hardware and software. In one embodiment, some or all of the operations and methods described in this description may be performed by executing instructions that are stored in or on a non-transitory computer-readable medium. The term “computer-readable medium” may include, but is not limited to, non-volatile memories, such as EPROMs, EEPROMs, ROMs, floppy disks, hard disks, flash memory, and optical media such as CD-ROMs and DVDs. The instructions may be executed by any suitable apparatus, e.g., the host 122 or the display controller 128. When the instructions are executed, the apparatus performs physical machine operations. In this description, references may be made to “one embodiment” or “an embodiment.” These references mean that a particular feature, structure, or characteristic described in connection with the embodiment is included in at least one embodiment of the claimed inventions. Thus, the phrases “in one embodiment” or “an embodiment” in various places are not necessarily all referring to the same embodiment. Furthermore, particular features, structures, or characteristics may be combined in one or more embodiments. Although embodiments have been described in some detail for purposes of clarity of understanding, it will be apparent that certain changes and modifications may be practiced within the scope of the appended claims. Accordingly, the described embodiments are to be considered as illustrative and not restrictive, and the claimed inventions are not to be limited to the details given herein, but may be modified within the scope and equivalents of the appended claims. Further, the terms and expressions which have been employed in the foregoing specification are used as terms of description and not of limitation, and there is no intention in the use of such terms and expressions to exclude equivalents of the features shown and described or portions thereof, it being recognized that the scope of the inventions are defined and limited only by the claims which follow.CROSS REFERENCE TO RELATED APPLICATIONS
FIELD
BACKGROUND
SUMMARY
BRIEF DESCRIPTION OF THE DRAWINGS
DETAILED DESCRIPTION
err(
α+β+λ+δ=1
where