The invention provides a method of reducing the damage done by reactive oxygen species (ROS) in an animal. The invention also provides a method of reducing the concentration of a metal in an animal. These methods comprise administering to the animal an effective amount of a metal-binding compound as further described in the application. The invention further provides a method of reducing the damage done by ROS to a cell, a tissue or an organ that has been removed from an animal. This method comprising contacting the cell, tissue or organ with a solution or medium containing an effective amount of a metal-binding compound of the invention. The invention further provides novel metal-binding compounds, pharmaceutical compositions comprising the metal-binding compounds, and kits comprising a container holding a metal-binding compound of the invention.
1.-418. (canceled) 419. A method of reducing the concentration of a transition metal in an animal in need thereof comprising administering to the animal an effective amount of a metal-binding peptide which does not have a metal ion bound to it or of a physiologically-acceptable salt of the peptide, the sequence of the peptide being:
wherein:
P1is:
Xaa1Xaa2His or Xaa1Xaa2His Xaa3, the P1portion of the peptide being linear;
Xaa1is the N-terminal amino acid of the peptide, the only substituents on the α-amino group of Xaa1are hydrogen, and Xaa1is glycine, alanine, valine, leucine, isoleucine, serine, threonine, aspartic acid, asparagine, glutamic acid, glutamine, lysine, hydroxylysine, histidine, arginine, ornithine, phenylalanine, tyrosine, tryptophan, cysteine, methionine, or α-hydroxymethylserine; Xaa2is alanine, β-alanine, valine, leucine, isoleucine, serine, threonine, aspartic acid, asparagine, glutamic acid, glutamine, lysine, hydroxylysine, histidine, arginine, ornithine, phenylalanine, tyrosine, tryptophan, cysteine, methionine, or α-hydroxymethylserine; Xaa3is glycine, alanine, valine, lysine, arginine, ornithine, aspartic acid, glutamic acid, asparagine, glutamine or tryptophan; and P2is an amino acid sequence which comprises the sequence of a binding site for a transition metal ion, and P2contains no more than 10 amino acids. 420. The method of Xaa1is glycine, alanine, valine, leucine, isoleucine, serine, threonine, aspartic acid, glutamic acid, lysine, hydroxylysine, histidine, arginine, or α-hydroxymethylserine, and Xaa2is alanine, valine, leucine, isoleucine, threonine, serine, asparagine, glutamine, cysteine, methionine, lysine, hydroxylysine, histidine, arginine, or α-hydroxymethylserine. 421. The method of 422. The method of 423. The method of 424. The method of Xaa1is aspartic acid, glutamic acid, arginine, lysine, threonine, serine or α-hydroxymethylserine, Xaa2is alanine, valine, leucine, isoleucine, threonine, serine, asparagine, methionine, histidine or α-hydroxymethylserine, and Xaa3, when present, is lysine. 425. The method of 426. The method of 427. The method of 428. The method of 429. The method of 430. The method of 431. The method of any one of 432. The method of 433. The method of wherein Xaa4is any amino acid. 434. The method of 435. The method of 436. The method of 437. The method of 438. The method of 439. The method of 440. The method of 441. The method of 442. The method of
P1-P2,Met Xaa4 Met, Met Xaa4 Xaa4 Met, Cys Cys, Cys Xaa4 Cys, Cys Xaa4 Xaa4 Cys, Met Xaa4 Cys Xaa4 Xaa4 Cys, Gly Met Xaa4 Cys Xaa4 Xaa4 Cys, [SEQ ID NO: 7] Gly Met Thr Cys Xaa4 Xaa4 Cys, [SEQ ID NO: 8] Gly Met Thr Cys Ala Asn Cys, [SEQ ID NO: 9] or γ-Glu Cys Gly;
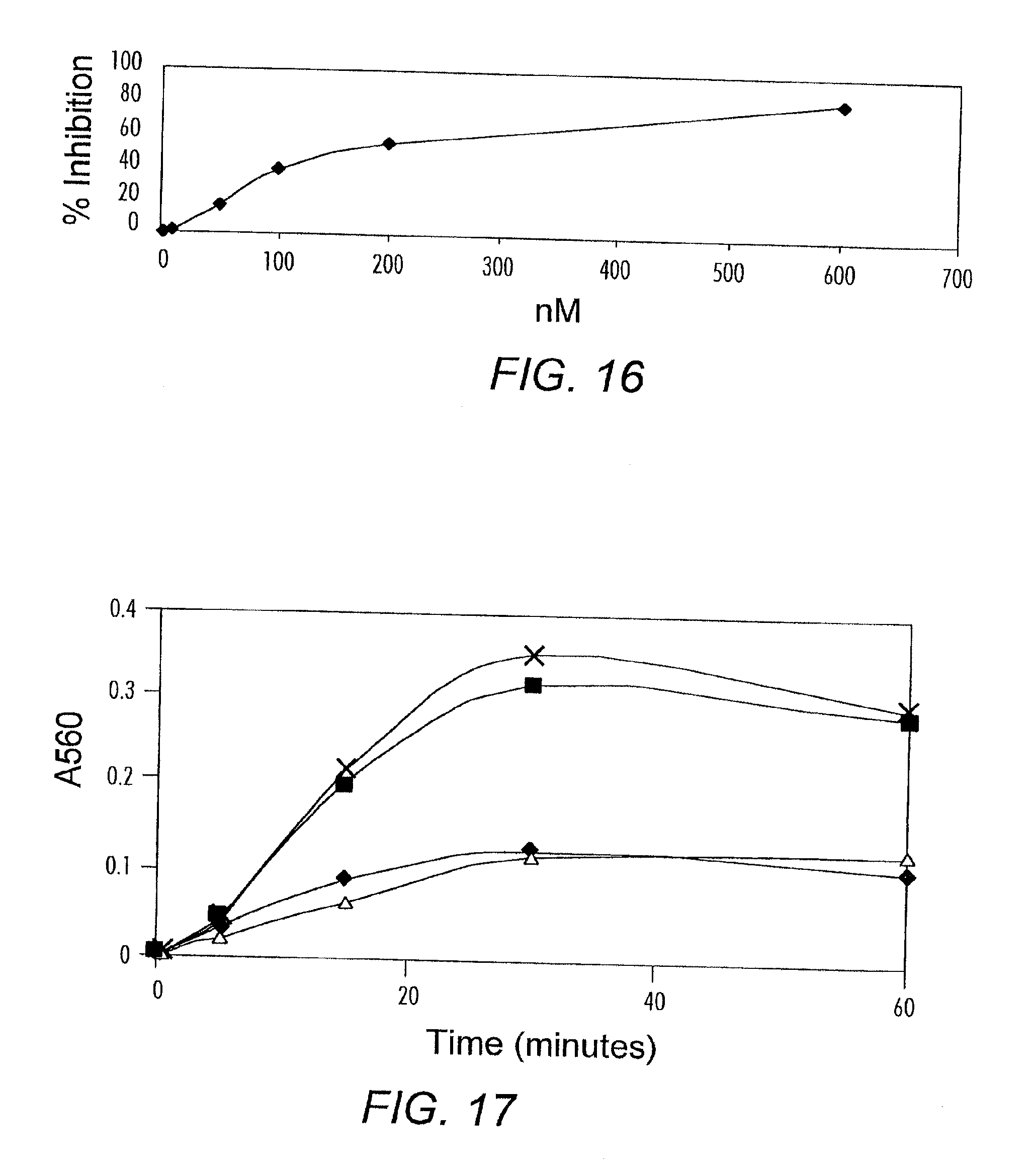
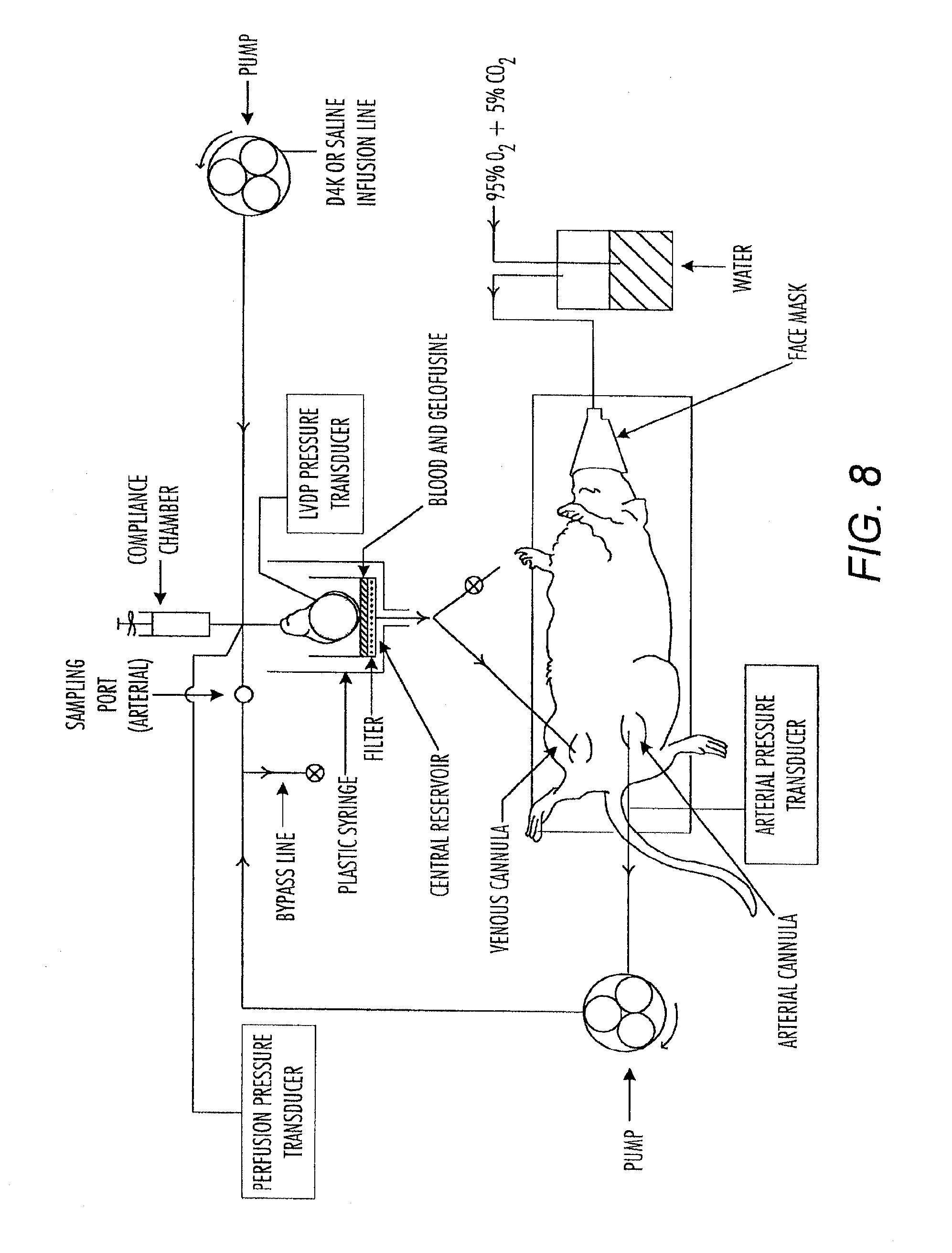
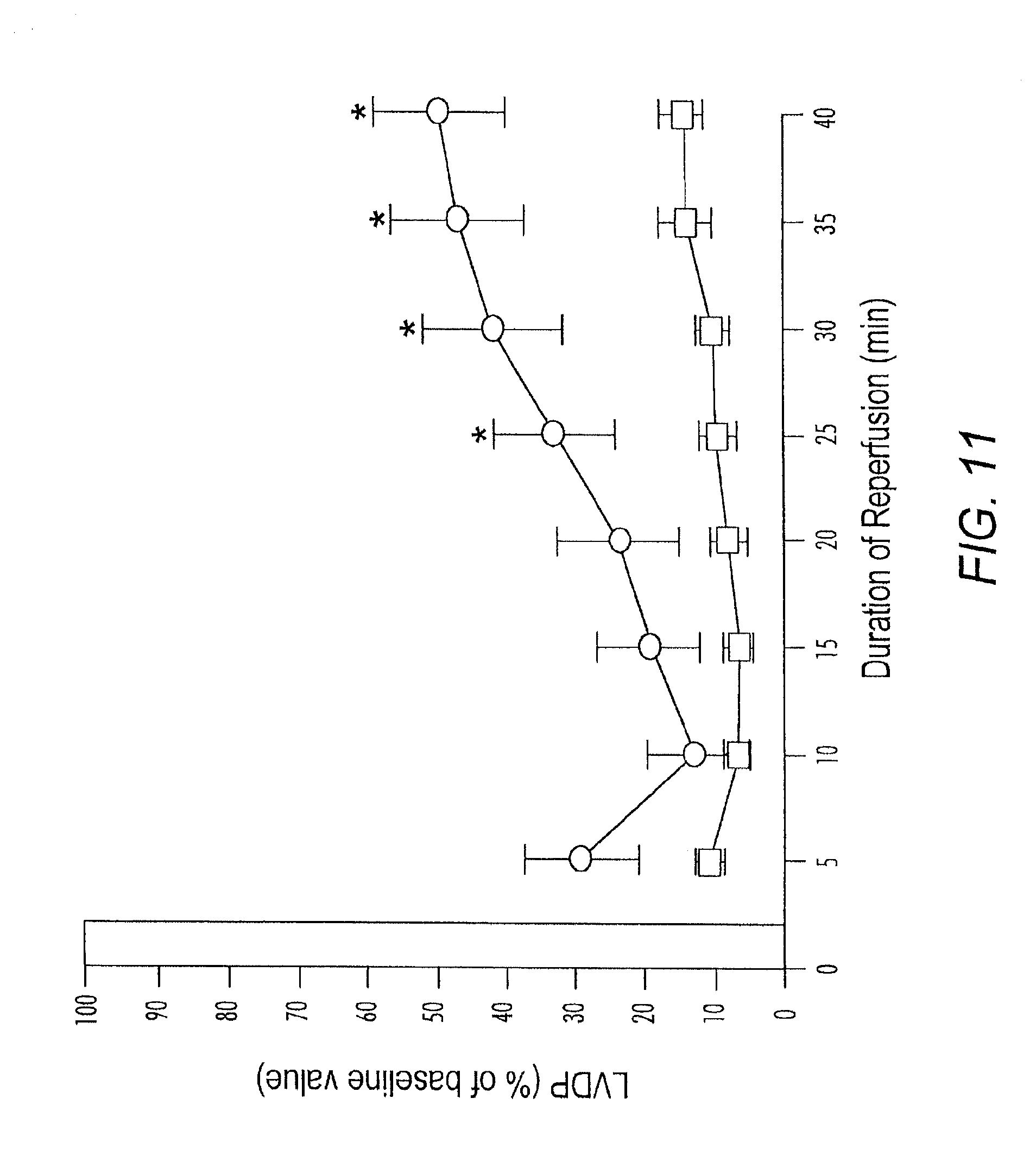
This application is a continuation-in-part of pending application Ser. No. 09/678,202, filed Sep. 29, 2000. This application also claims benefit of provisional applications 60/283,507, filed Apr. 11, 2001, 60/281,648, filed Apr. 4, 2001, 60/______, (originally given application Ser. No. 09/816,679), filed Mar. 22, 2001, 60/157,404, filed Oct. 1, 1999, 60/211,078, filed Jun. 13, 2000, and 60/268,558, filed Feb. 13, 2001. The entire disclosure of the aforementioned applications is considered to be part of the disclosure of this application and is hereby incorporated by reference. The invention relates to a method of reducing the molecular, cellular and tissue damage done by reactive oxygen species (ROS). The invention also relates to certain compounds, especially certain peptides and peptide derivatives, that bind metal ions, particularly Cu(II). The binding of metal ions by the compounds of the invention inhibits the formation and/or accumulation of ROS and/or targets the damage done by ROS to the compounds themselves (i.e., the compounds of the invention may act as sacrificial antioxidants). The compounds of the invention can also be used to reduce the concentration of a metal in an animal in need thereof. Reactive oxygen species (ROS) include free radicals (e.g., superoxide anion and hydroxyl, peroxyl, and alkoxyl radicals) and non-radical species (e.g., singlet oxygen and hydrogen peroxide). ROS are capable of causing extensive cellular and tissue damage, and they have been reported to play a major role in a variety of diseases and conditions. Indeed, ROS have been implicated in over 100 diseases and pathogenic conditions, and it has been speculated that ROS may constitute a common pathogenic mechanism involved in all human diseases. Stohs, Ischemia/reperfusion is the leading cause of illness and disability in the world. Cardiovascular ischemia, in which the body's capacity to provide oxygen to the heart is diminished, is the leading cause of illness and death in the United States. Cerebral ischemia is a precursor to cerebrovascular accident (stroke), which is the third leading cause of death in the United States. Ischemia also occurs in other organs (e.g., kidney, liver, lung, and the intestinal tract), in harvested organs (e.g., organs harvested for transplantation or for research (e.g., perfused organ models)), and as a result of surgery where blood flow is interrupted (e.g., open heart surgery and coronary bypass surgery). Ischemia need not be limited to one organ; it can also be more generalized (e.g., in hemorrhagic shock). Cellular and tissue damage occur during ischemia as result of oxygen deficiency. However, the damage that occurs during ischemia is generally light compared to the severe damage that occurs upon reperfusion of ischemic tissues and organs. See, e.g., Manso, Metal ions, primarily transition metal ions, can cause the production and accumulation of ROS. In particular, copper and iron ions released from storage sites are one of the main causes of the production of ROS following injury, including ischemia/reperfusion injury and injury due to heat, cold, trauma, excess exercise, toxins, radiation, and infection. Roth, Albumin has been characterized as an extracellular antioxidant. See, e.g., Halliwell and Gutteridge, Despite the foregoing, attempts to use albumin as a treatment for cerebral ischemia have shown mixed results. It has been reported that albumin is, and is not, neuroprotective in animal models of cerebral ischemia. Compare Huh et al., Mixed results have also been obtained using albumin in cardioplegia solutions for the preservation of excised hearts. As reported in Dunphy et al., Finally, although albumin has been characterized as an antioxidant, it has also been reported to enhance superoxide anion production by microglia (Si et al., As noted above, the N-terminal metal-binding sites of several albumins exhibit high-affinity for Cu(II) and Ni(II). These sites have been studied extensively, and a general amino terminal Cu(II)- and Ni(II)-binding (ATCUN) motif has been identified. See, e.g., Harford and Sarkar, The ATCUN motif has been found in other naturally-occurring proteins besides albumins, and non-naturally-occurring peptides and proteins comprising the ATCUN motif have been synthesized. See, e.g., Harford and Sarkar, The invention provides a method of reducing the damage done by reactive oxygen species (ROS) in an animal. The method comprises administering to the animal an effective amount of a metal-binding peptide having the formula P1-P2or a physiologically-acceptable salt thereof. The invention further provides a method of reducing the damage done by ROS to a cell, a tissue or an organ that has been removed from an animal. This method comprises contacting the cell, tissue or organ with a solution containing an effective amount of the peptide P1-P2or a physiologically-acceptable salt thereof. The invention also provides a method of reducing the concentration of a metal in an animal in need thereof. The method comprises administering to the animal an effective amount of a metal-binding peptide having the formula P1-P2or a physiologically-acceptable salt thereof. The invention also provides a pharmaceutical composition comprising a pharmaceutically-acceptable carrier and the peptide P1-P2or a physiologically-acceptable salt thereof. In addition, the invention provides a kit for reducing the damage done by ROS to a cell, a tissue or an organ that has been removed from an animal. The kit comprises a container holding the peptide P1-P2. In the formula P1-P2:
Xaa1is glycine (Gly), alanine (Ala), valine (Val), leucine (Leu), isoleucine (Ile), serine (Ser), threonine (Thr), aspartic acid (Asp), asparagine (Asn), glutamic acid (Glu), glutamine (Gln), lysine (Lys), hydroxylysine (Hylys), histidine (His), arginine (Arg), ornithine (Orn), phenylalanine (Phe), tyrosine (Tyr), tryptophan (Trp), cysteine (Cys), methionine (Met) or α-hydroxymethylserine (HMS). In addition, Xaa1can be an amino acid which comprises a δ-amino group (e.g., Orn, Lys) having another amino acid or a peptide attached to it (e.g., Gly (δ)-Orn). Xaa1is preferably Asp, Glu, Arg, Thr, or HMS. More preferably, Xaa1is Asp or Glu. Most preferably Xaa1is Asp. Xaa2is Gly, Ala, β-Ala, Val, Len, Ile, Ser, Thr, Asp, Asn, Glu, Gln, Lys, Hylys, His, Arg, Orn, Phe, Tyr, Trp, Cys, Met or HMS. Xaa2is preferably Gly, Ala, Val, Leu, Ile, Thr, Ser, Asn, Met, His or HMS. More preferably Xaa2is Ala, Val, Thr, Ser, Leu, or HMS. Even more preferably Xaa2is Ala, Thr, Leu, or HMS. Most preferably Xaa2is Ala. Xaa3is Gly, Ala, Val, Lys, Arg, Orn, Asp, Glu, Asn, Gln, or Trp, preferably Lys. Xaa4is any amino acid. Finally, n is 0-100, preferably 0-10, more preferably 0-5, and most preferably 0. In a preferred embodiment, at least one of the amino acids of P1, other than β-Ala when it is present, is a D-amino acid. Preferably, the D-amino acid is Xaa1, His, or both. Most preferably all of the amino acids of P1, other than β-Ala when it is present, are D-amino acids. In another preferred embodiment, at least one of the amino acids of P1, other than β-Ala when it is present, is a D-amino acid, and at least 50% of the amino acids of P2are also D-amino acids. Most preferably all of the amino acids of P2are D-amino acids. In another preferred embodiment, at least one amino acid of P1and/or P2is substituted with (a) a substituent that increases the lipophilicity of the peptide without altering the ability of P1to bind metal ions, (b) a substituent that protects the peptide from proteolytic enzymes without altering the ability of P1to bind metal ions, or (c) a substituent which is a non-peptide, metal-binding functional group that improves the ability of the peptide to bind metal ions. The invention provides another method of reducing the damage done by ROS in an animal. The method comprises administering to the animal an effective amount of a metal-binding peptide (MBP) having attached thereto a non-peptide, metal-binding functional group. The metal-binding peptide MBP may be any metal-binding peptide, not just P1-P2. The invention further provides another method of reducing the damage done by ROS to a cell, a tissue or an organ that has been removed from an animal. This method comprises contacting the cell, tissue or organ with a solution containing an effective amount of a metal-binding peptide MBP having attached thereto a non-peptide, metal-binding functional group. The invention provides another method of reducing the concentration of a metal in an animal in need thereof. The method comprises administering to the animal an effective amount of a metal-binding peptide MBP having attached thereto a non-peptide, metal-binding functional group. The invention also provides a pharmaceutical composition comprising a pharmaceutically-acceptable carrier and a metal-binding peptide MBP having attached thereto a non-peptide, metal-binding functional group. The invention also provides a kit for reducing the damage done by ROS to a cell, a tissue or an organ that has been removed from an animal. The kit comprises a container holding a metal-binding peptide MBP having attached thereto a non-peptide, metal-binding functional group. The invention provides yet another method of reducing the damage done by reactive oxygen species (ROS) in an animal. The method comprises administering to the animal an effective amount of a metal-binding peptide dimer of the formula P3-L-P3, wherein each P3may be the same or different and is a peptide which is capable of binding a metal ion, and L is a chemical group which connects the two P3peptides through their C-terminal amino acids. In a preferred embodiment, one or both of the two P3peptides is P1. The invention further provides a method of reducing the damage done by ROS to a cell, a tissue or an organ that has been removed from an animal. This method comprises contacting the cell, tissue or organ with a solution containing an effective amount of the metal-binding peptide dimer of the formula P3-L-P3. The invention also provides a method of reducing the concentration of a metal in an animal in need thereof. The method comprises administering to the animal an effective amount of the metal-binding peptide dimer of the formula P3-L-P3. The invention also provides a pharmaceutical composition comprising a pharmaceutically-acceptable carrier and the metal-binding peptide dimer of the formula P3-L-P3. In addition, the invention provides a kit for reducing the damage done by ROS to a cell, a tissue or an organ that has been removed from an animal. The kit comprises a container holding the metal-binding peptide dimer of the formula P3-L-P3. In addition, the invention provides a peptide having the formula P1-P2, or a physiologically-acceptable salt thereof, wherein at least one amino acid of P1, other than β-Ala when it is present, is a D-amino acid. Further provided by the invention is a peptide having the formula P1-P2, or a physiologically-acceptable salt thereof, wherein at least one amino acid of P1and/or P2is substituted with (a) a substituent that increases the lipophilicity of the peptide without altering the ability of P1to bind metal ions, (b) a substituent that protects the peptide from proteolytic enzymes without altering the ability of P1to bind metal ions, or (c) a substituent which is a non-peptide, metal-binding functional group that improves the ability of the peptide to bind metal ions. In addition, the invention provides a peptide having the formula P1-P2, wherein P1is defined above, and P2is a peptide sequence which comprises the sequence of a metal-binding site. The invention also provides a metal-binding peptide MBP having attached thereto a non-peptide, metal-binding functional group. Finally, the invention provides the metal-binding peptide dimer of the formula P3-L-P3. The invention provides a peptide of the formula P1-P2. P1is Xaa1Xaa2His or is Xaa1Xaa2His Xaa3, wherein Xaa1, Xaa2, and Xaa3are defined above. P1is a metal-binding peptide sequence that binds transition metal ions of Groups 1b-7b or 8 of the Periodic Table of elements (including V, Co, Cr, Mo, Mn, Ba, Zn, Hg, Cd, Au, Ag, Co, Fe, Ni, and Cu) and other metal ions (including As, Sb and Pb). The binding of metal ions by P1inhibits (i.e., reduces or prevents) the production of ROS and/or the accumulation of ROS by these metal ions and/or targets the damage done by ROS that may still be produced by the bound metal ions to the peptide itself. As a result, the damage that can be caused by ROS in the absence of the binding of the metal ions to P1is reduced. In particular, P1binds Cu(II), Ni(II), Co(II), and Mn(II) with high affinity. It should, therefore, be particularly effective in reducing the damage caused by the production and accumulation of ROS by copper and nickel. In P1, Xaa1is most preferably Asp, Xaa2is most preferably Ala, and Xaa3is most preferably Lys (see above). Thus, the preferred sequences of P1are Asp Ala His and Asp Ala His Lys [SEQ ID NO:1]. Most preferably the sequence of P1is Asp Ala His Lys [SEQ ID NO:1]. Asp Ala His is the minimum sequence of the N-terminal metal-binding site of human serum albumin necessary for the high-affinity binding of Cu(II) and Ni(II), and Lys has been reported to contribute to the binding of these metal ions to this site. Also, Asp Ala His Lys [SEQ ID NO:1] has been found by mass spectometry to bind Fe(II) and to pass through a model of the blood brain barrier. Other preferred sequences for P1include Thr Leu His (the N-terminal sequence of human α-fetoprotein), Arg Thr His (the N-terminal sequence of human sperm protamin HP2) and HMS HMS His (a synthetic peptide reported to form extremely stable complexes with copper; see Mlynarz et al., P2is (Xaa4)n, wherein Xaa4is any amino acid and n is 0-100. When n is large (n>about 20), the peptides will reduce the damage done by ROS extracellularly. Smaller peptides are better able to enter cells, and smaller peptides can, therefore, be used to reduce the damage done by ROS both intracellularly and extracellularly. Smaller peptides are also less subject to proteolysis. Therefore, in P2, preferably n is 0-10, more preferably n is 0-5, and most preferably n is 0. Although P2may have any sequence, P2preferably comprises a sequence which (1) binds a transition metal, (2) enhances the ability of the peptide to penetrate cell membranes and/or reach target tissues (e.g., to be able to cross the blood brain barrier), or (3) otherwise stabilizes or enhances the performance of the peptide. P2together with P1may also be the N-terminal sequence of a protein having an N-terminal metal-binding site with high affinity for copper and nickel, such as human, rat or bovine serum albumin. In the case where n=100, the peptide would have the sequence of approximately domain 1 of these albumins. The sequences of many peptides which comprise a binding site for transition metal ions are known. See, e.g., U.S. Pat. Nos. 4,022,888, 4,461,724, 4,665,054, 4,760,051, 4,767,753, 4,810,693, 4,877,770, 5,023,237, 5,059,588, 5,102,990, 5,118,665, 5,120,831, 5,135,913, 5,145,838, 5,164,367, 5,591,711, 5,177,061, 5,214,032, 5,252,559, 5,348,943, 5,443,816, 5,538,945, 5,550,183, 5,591,711, 5,690,905, 5,759,515, 5,861,139, 5,891,418, 5,928,955, and 6,017,888, PCT applications WO 94/26295, WO 99/57262 and WO 99/67284, European Patent application 327263, Lappin et al., When P2comprises a metal-binding site, it preferably has a sequence which includes a short spacer sequence between P1and the metal binding site of P2, so that the metal-binding sites of P1and P2may potentially cooperatively bind metal ions (similar to a 2:1 peptide:metal complex; see Example 10). Preferably, the spacer sequence is composed of 1-5, preferably 1-3, neutral amino acids. Thus, the spacer sequence may be Gly, Gly Gly, Gly Ala Gly, Pro, Gly Pro Gly, etc. In particular, when P2comprises a metal-binding site, it preferably comprises one of the following sequences: (Xaa4)mXaa5Xaa2His Xaa3or (Xaa4)mXaa5Xaa2His. Xaa2, Xaa3and Xaa4are defined above, and m is 0-5, preferably 1-3. The Xaa4amino acid(s), if present, form(s) a short spacer sequence between P1and the metal binding site of P2so that the metal-binding sites of P1and P2may cooperatively bind metal ions, and Xaa4is preferably a neutral amino acid (see the previous paragraph). Xaa5is an amino acid which comprises a δ-amino group (preferably Orn or Lys, more preferably Orn) having the Xaa4amino acid(s), if present, or P1attached to it by means of the δ-amino group. See Harford and Sarkar, In addition, P2may comprise one of the following sequences: [(Xaa4)mXaa5Xaa2His Xaa3]r, [(Xaa4)mXaa5Xaa2His]r, [(Xaa4)mXaa5Xaa2His Xaa3(Xaa4)mXaa5Xaa2His]r, and [(Xaa4)mXaa5Xaa2His(Xaa4)mXaa5Xaa2His Xaa3]r, wherein Xaa2, Xaa3, Xaa4, Xaa5and m are defined and described above, and r is 2-100. In this manner metal-binding polymers may be formed. In another preferred embodiment, P2comprises a peptide sequence that can bind Cu(I). As discussed in more detail below, Cu(II) is converted to Cu(I) in the presence of ascorbic acid or other reducing agents, and the Cu(I) reacts with oxygen to produce ROS (see equations in Examples 10 and 11). P1can bind Cu(II) tightly (see above) and is very effective by itself in inhibiting the production of ROS by copper (see Examples 7-11). However, as can be seen from the equations in Examples 10 and 11, it would be desirable to also employ a P2which could bind Cu(I). Peptide sequences which can bind Cu(I) are known in the art. See, e.g, Pickering et al., To enhance the ability of the P1-P2peptide to penetrate cell membranes and/or reach target tissues, P2is preferably hydrophobic or an arginine oligomer (see Rouhi, The amino acids of the peptide may be L-amino acids, D-amino acids, or a combination thereof. Preferably, at least one of the amino acids of P1is a D-amino acid (preferably Xaa1and/or His), except for β-Ala, when present. Most preferably, all of the amino acids of P1, other than β-Ala, when present, are D-amino acids. Also, preferably about 50% of the amino acids of P2are D-amino acids, and most preferably all of the amino acids of P2are D-amino acids. D-amino acids are preferred because peptides containing D-amino acids are resistant to proteolytic enzymes, such as those that would be encountered upon administration of the peptide to an animal (including humans) or would be present in an excised organ perfused with a solution containing the peptide. Also, the use of D-amino acids would not alter the ability of the peptide to bind metal ions, including the ability of the peptide to bind copper with high affinity. The peptides of the invention may be made by methods well known in the art. For instance, the peptides, whether containing L-amino acids, D-amino acids, or a combination of L- and D-amino acids, may be synthesized by standard solid-phase peptide synthesis methods. Suitable techniques are well known in the art, and include those described in Merrifield, in The invention further comprises derivatives of the peptide P1-P2, whether composed of L-amino acids, D-amino acids, or a combination of L- and D-amino acids, which are more resistant to proteolytic enzymes, more lipid soluble (to allow the peptides to more readily penetrate cell membranes and/or reach target organs, such as the brain), or both. As illustrated in R1can be a straight-chain or branched-chain alkyl containing from 1 to 16 carbon atoms, and the term “alkyl” includes the R and S isomers. R1can also be an aryl or heteroaryl containing 1 or 2 rings. The term “aryl” means a compound containing at least one aromatic ring (e.g., phenyl, naphthyl, and diphenyl). The term “heteroaryl” means an aryl wherein at least one of the rings contains one or more atoms of S, N or O. These substitutions do not substantially decrease the ability of P1to bind metal ions. In particular, the ability of P1to bind copper with high affinity is not decreased by these substitutions. For instance, some of the substituents, such as a n-butyl attached to carbon 2 (see As noted above, methods of synthesizing peptides by solid phase synthesis are well known. These methods can be modified to prepare the derivatives shown in In addition, the derivative of P1illustrated in R2can be —NH2, —NHR1, —N(R1)2, —OR1, or R1(see In addition, P1and P2can be substituted with non-peptide functional groups that bind metal ions. These metal-binding functional groups can be attached to one or more pendent groups of the peptide, and the resulting peptide derivatives will possess one or more sites that are capable of binding metal ions, in addition to the binding site provided by P1and, optionally, the binding site provided by P2. As a consequence, the ability of such peptide derivatives to bind metal ions is improved as compared to the corresponding unmodified peptide. For instance, the peptide derivative can bind two of the same type of metal ion instead of one (e.g., two Cu(II)), the peptide derivative can bind two different metal ions instead of one type of metal ion (e.g., one Cu(II) and one Fe(III)), or the peptide derivative can bind one metal ion better (e.g., with greater affinity) than the corresponding unmodified peptide. Metal-binding functional groups include polyamines (e.g., diamines, triamines, etc.). Suitable diamines include 1,2-alkyldiamines, preferably alkyl diamines wherein the alkyl contains 2-10 carbon atoms (e.g., H2N—(CH2)—NH2, wherein n=2-10). Suitable diamines also include 1,2-aryldiamines, preferably benzene diamines (e.g., 1,2-diaminobenzene). Suitable diamines further include 1,2-cyclic alkane diamines. “Cyclic alkanes” are compounds containing 1-3 rings, each containing 5-7 carbon atoms. Preferably the cyclic alkane diamine is 1,2-diaminocylcohexane (cyclohexane diamine). A particularly preferred diamine is 1,2-diaminocyclohexane ( Cyclohexane diamine derivatives of the peptides of the invention can be prepared by two distinct routes. The first involves initial condensation with an aldehyde followed by reduction (see Additional suitable polyamines and polyamine derivatives and methods of attaching them to peptides are described in U.S. Pat. Nos. 5,101,041 and 5,650,134, the complete disclosures of which are incorporated herein by reference. Other polyamine chelators suitable for attachment to peptides are known. See, e.g., U.S. Pat. Nos. 5,422,096, 5,527,522, 5,628,982, 5,874,573, and 5,906,996 and PCT applications WO 97/44313, WO 97/49409, and WO 99/39706. It is well known that vicinal diacids bind to metal ions, and the affinity for copper is particularly high. It is therefore envisaged that a peptide having a vicinal diacid functional group will be extremely effective in metal binding. Suitable vicinal diacids include any 1,2-alkyldiacid, such as diacetic acid (succinic acid), and any 1,2-aryldiacid. The amino groups of the peptide can be reacted with diacetic acid to produce a diacid derivative (see Polyaminopolycarboxylic acids are known to bind metals, such as copper and iron. Suitable polyaminopolycarboxylic acids for making derivatives of the peptides of the invention and methods of attaching them to peptides are described in U.S. Pat. Nos. 5,807,535 and 5,650,134, and PCT application WO 93/23425, the complete disclosures of which are incorporated herein by reference. See also, U.S. Pat. No. 5,739,395. Vicinal polyhydroxyl derivatives are also included in the invention. Suitable vicinal polyhydroxyls include monosaccharides and polysaccharides (i.e., disaccharide, trisaccharide, etc.). Presently preferred are monosaccharides. See Bispyridylethylamine derivatives are known to form strong complexes with divalent metal ions. When attached to the peptide, this functional group would provide additional chelating sites for metal ions, including copper. The bispyridylethyl derivative of the tetrapeptide Asp Ala His Lys [SEQ ID NO:1] is shown in Phenanthroline is another heterocyclic compound capable of binding divalent metal ions. Phenanthroline derivatives of the peptides can be synthesized in the same manner as for the bispyridylethylamine derivatives. Porphyrins are a group of compounds found in all living matter and contain a tetrapyrrolic macrocycle capable of binding to metals. Heme, chlorophyll and corrins are prime examples of this class of compounds containing iron, magnesium and cobalt, respectively. Mesoporphyrin IX ( To prepare the porphyrin-peptide derivative shown in Other suitable porphyrins and macrocyclic chelators and methods of attaching them to peptides are described in U.S. Pat. Nos. 5,994,339 and 5,087,696, the complete disclosures of which are incorporated herein by reference. Other porphyrins and macrocyclic chelators that could be attached to peptides are known. See, e.g., U.S. Pat. Nos. 5,422,096, 5,527,522, 5,628,982, 5,637,311, 5,874,573, and 6,004,953, PCT applications WO 97/44313 and WO 99/39706. A variety of additional metal chelators and methods of attaching them to proteins are described in U.S. Pat. No. 5,683,907, the complete disclosure of which is incorporated herein by reference. Dithiocarbamates are known to bind metals, including iron. Suitable dithiocarbamates for making derivatives of the peptides of the invention are described in U.S. Pat. Nos. 5,380,747 and 5,922,761, the complete disclosures of which are incorporated herein by reference. Hydroxypyridones are also known to be iron chelators. Suitable hydroxypyridones for making derivatives of the peptides of the invention are described in U.S. Pat. Nos. 4,912,118 and 5,104,865 and PCT application WO 98/54138, the complete disclosures of which are incorporated herein by reference. Additional non-peptide metal chelators are known in the art or will be developed. Methods of attaching chemical compounds to proteins and peptides are well known in the art, and attaching non-peptide metal chelators to the peptides of the invention is within the skill in the art. See, e.g., those patents cited above describing such attachment methods. As can be appreciated, the non-peptide, metal-binding functional groups could be attached to another metal-binding peptide (MBP) in the same manner as they are to peptide P1-P2. The resulting peptide derivatives would contain one or more metal-binding functional groups in addition to the metal-binding site of MBP. Preferably, MBP contains from 2-10, more preferably 3-5, amino acids. Preferably MBP contains one or more D-amino acids; most preferably all of the amino acids of MBP are D-amino acids. As described above, the sequences of many metal-binding peptides are known. These peptides and peptides comprising the metal-binding sites of these peptides can be prepared in the same ways as described above for peptide P1-P2. Derivatives of these peptides having one or more metal-binding functional group attached to the peptide can be prepared in the same ways as described above for derivatives of peptide P1-P2. The invention also provides metal-binding peptide dimers of the formula: P3is any peptide capable of binding a metal ion, and each P3may be the same or different. Each P3preferably contains 2-10, more preferably 3-5, amino acids. As described above, metal-binding peptides are known, and each P3may comprise the sequence of one or more of the metal-binding sites of these peptides. Although each P3may be substituted as described above for P1and P2, including with a non-peptide, metal-binding functional group, both P3peptides are preferably unsubstituted. P3may also comprise any amino acid sequence substituted with a non-peptide, metal-binding functional group as described above to provide the metal-binding capability of P3. Preferably, each P3is an unsubstituted metal-binding peptide (i.e., an unsubstituted peptide comprising a peptide sequence which binds metal ions). Most preferably, one or both of the P3groups is P1(i.e., the dimers have the sequence P3-L-P1, P1-L-P3or, most preferably, P1-L-P1). P1is defined above. L is a linker which is attached to the C-terminal amino acid of each P3. L may be any physiologically-acceptable chemical group which can connect the two P3peptides through their C-terminal amino acids. By “physiologically-acceptable” is meant that a peptide dimer containing the linker L is not toxic to an animal (including a human) or an organ to which the peptide dimer is administered as a result of the inclusion of the linker L in the peptide dimer. Preferably, L links the two P3groups so that they can cooperatively bind metal ions (similar to a 2:1 peptide:metal complex; see Example 10). L is also preferably neutral. Most preferably, L is a straight-chain or branched-chain alkane or alkene residue containing from 1-18, preferably from 2-8, carbon atoms (e.g., —CH2—, —CH2CH2—, —CH2CH2CH2—, —CH2CH2(CH3)CH2—, —CHCH—, etc.) or a cyclic alkane or alkene residue containing from 3-8, preferably from 5-6, carbon atoms (see Methods of synthesizing the peptide dimers are illustrated in For instance, a peptide dimer, where each peptide has the sequence Asp Ala His Lys, [SEQ ID NO:1] can be synthesized by coupling protected lysines to a free diamine functional group, either as an acid chloride or by using standard coupling agents used in peptide synthesis (see For instance, the lysine dimer 2 ( Another peptide dimer, where each peptide has the sequence Asp Ala His Lys [SEQ ID NO:1], can be synthesized as follows. First, a different protected lysine dimer 4 is synthesized by acylating the two amino centers of a piperazine 5 (see Peptide dimers, where each peptide has the sequence Asp Ala His Lys [SEQ ID NO:1] and where L is a glyceryl ester, can be synthesized as follows. The 3-substituted propane-1,2-diols of formula 7 in The physiologically-acceptable salts of the metal-binding compounds are also included in the invention. Physiologically-acceptable salts include conventional non-toxic salts, such as salts derived from inorganic acids (such as hydrochloric, hydrobromic, sulfuric, phosphoric, nitric, and the like), organic acids (such as acetic, propionic, succinic, glycolic, stearic, lactic, malic, tartaric, citric, glutamic, benzoic, salicylic, and the like) or bases (such as the hydroxide, carbonate or bicarbonate of a pharmaceutically-acceptable metal cation). The salts are prepared in a conventional manner, e.g., by neutralizing the free base form of the compound with an acid. A metal-binding compound of the invention can be used to reduce the damage done by ROS or to reduce the metal ion concentration in an animal in need thereof. To do so, a metal-binding compound of the invention is administered to the animal. Preferably, the animal is a mammal, such as a rabbit, goat, dog, cat, horse or human. Effective dosage forms, modes of administration and dosage amounts for the various compounds of the invention may be determined empirically, and making such determinations is within the skill of the art. It has been found that an effective dosage is from about 2 to about 200 mg/kg, preferably from about 10 to about 40 mg/kg, most preferably about 20 mg/kg. However, it is understood by those skilled in the art that the dosage amount will vary with the particular metal-binding compound employed, the disease or condition to be treated, the severity of the disease or condition, the route(s) of administration, the rate of excretion of the compound, the duration of the treatment, the identify of any other drugs being administered to the animal, the age, size and species of the animal, and like factors known in the medical and veterinary arts. In general, a suitable daily dose of a compound of the present invention will be that amount of the compound which is the lowest dose effective to produce a therapeutic effect. However, the daily dosage will be determined by an attending physician or veterinarian within the scope of sound medical judgment. If desired, the effective daily dose may be administered as two, three, four, five, six or more sub-doses, administered separately at appropriate intervals throughout the day. Administration of the compound should be continued until an acceptable response is achieved. The compounds of the present invention may be administered to an animal patient for therapy by any suitable route of administration, including orally, nasally, rectally, vaginally, parenterally (e.g., intravenously, intraspinally, intraperitoneally, subcutaneously, or intramuscularly), intracisternally, transdermally, transmucosally, intracranially, intracerebrally, and topically (including buccally and sublingually). The preferred routes of administration are orally, intravenously, and topically. While it is possible for a metal-binding compound of the present invention to be administered alone, it is preferable to administer the compound as a pharmaceutical formulation (composition). The pharmaceutical compositions of the invention comprise a metal-binding compound or compounds of the invention as an active ingredient in admixture with one or more pharmaceutically-acceptable carriers and, optionally, with one or more other compounds, drugs or other materials. Each carrier must be “acceptable” in the sense of being compatible with the other ingredients of the formulation and not injurious to the animal. Pharmaceutically-acceptable carriers are well known in the art. Regardless of the route of administration selected, the compounds of the present invention are formulated into pharmaceutically-acceptable dosage forms by conventional methods known to those of skill in the art. See, e.g., Formulations of the invention suitable for oral administration may be in the form of capsules, cachets, pills, tablets, powders, granules or as a solution or a suspension in an aqueous or non-aqueous liquid, or an oil-in-water or water-in-oil liquid emulsions, or as an elixir or syrup, or as pastilles (using an inert base, such as gelatin and glycerin, or sucrose and acacia), and the like, each containing a predetermined amount of a compound or compounds of the present invention as an active ingredient. A compound or compounds of the present invention may also be administered as bolus, electuary or paste. In solid dosage forms of the invention for oral administration (capsules, tablets, pills, dragees, powders, granules and the like), the active ingredient is mixed with one or more pharmaceutically acceptable carriers, such as sodium citrate or dicalcium phosphate, and/or any of the following: (1) fillers or extenders, such as starches, lactose, sucrose, glucose, mannitol, and/or silicic acid; (2) binders, such as, for example, carboxymethylcellulose, alginates, gelatin, polyvinyl pyrrolidone, sucrose and/or acacia; (3) humectants, such as glycerol; (4) disintegrating agents, such as agar-agar, calcium carbonate, potato or tapioca starch, alginic acid, certain silicates, and sodium carbonate; (5) solution retarding agents, such as paraffin; (6) absorption accelerators, such as quaternary ammonium compounds; (7) wetting agents, such as, for example, cetyl alcohol and glycerol monosterate; (8) absorbents, such as kaolin and bentonite clay; (9) lubricants, such as talc, calcium stearate, magnesium stearate, solid polyethylene glycols, sodium lauryl sulfate, and mixtures thereof; and (10) coloring agents. In the case of capsules, tablets and pills, the pharmaceutical compositions may also comprise buffering agents. Solid compositions of a similar type may be employed as fillers in soft and hard-filled gelatin capsules using such excipients as lactose or milk sugars, as well as high molecular weight polyethylene glycols and the like. A tablet may be made by compression or molding optionally with one or more accessory ingredients. Compressed tablets may be prepared using binder (for example, gelatin or hydroxypropylmethyl cellulose), lubricant, inert diluent, preservative, disintegrant (for example, sodium starch glycolate or cross-linked sodium carboxymethyl cellulose), surface-active or dispersing agent. Molded tablets may be made by molding in a suitable machine a mixture of the powdered compound moistened with an inert liquid diluent. The tablets, and other solid dosage forms of the pharmaceutical compositions of the present invention, such as dragees, capsules, pills and granules, may optionally be scored or prepared with coatings and shells, such as enteric coatings and other coatings well known in the pharmaceutical-formulating art. They may also be formulated so as to provide slow or controlled release of the active ingredient therein using, for example, hydroxypropylmethyl cellulose in varying proportions to provide the desired release profile, other polymer matrices, liposomes and/or microspheres. They may be sterilized by, for example, filtration through a bacteria-retaining filter. These compositions may also optionally contain opacifying agents and may be of a composition that they release the active ingredient only, or preferentially, in a certain portion of the gastrointestinal tract, optionally, in a delayed manner. Examples of embedding compositions which can be used include polymeric substances and waxes. The active ingredient can also be in microencapsulated form. Liquid dosage forms for oral administration of the compounds of the invention include pharmaceutically-acceptable emulsions, microemulsions, solutions, suspensions, syrups and elixirs. In addition to the active ingredient, the liquid dosage forms may contain inert diluents commonly used in the art, such as, for example, water or other solvents, solubilizing agents and emulsifiers, such as ethyl alcohol, isopropyl alcohol, ethyl carbonate, ethyl acetate, benzyl alcohol, benzyl benzoate, propylene glycol, 1,3-butylene glycol, oils (in particular, cottonseed, groundnut, corn, germ, olive, castor and sesame oils), glycerol, tetrahydrofuryl alcohol, polyethylene glycols and fatty acid esters of sorbitan, and mixtures thereof. Besides inert diluents, the oral compositions can also include adjuvants such as wetting agents, emulsifying and suspending agents, sweetening, flavoring, coloring, perfuming and preservative agents. Suspensions, in addition to the active compound(s), may contain suspending agents as, for example, ethoxylated isostearyl alcohols, polyoxyethylene sorbitol and sorbitan esters, microcrystalline cellulose, aluminum metahydroxide, bentonite, agar-agar and tragacanth, and mixtures thereof. Formulations of the pharmaceutical compositions of the invention for rectal or vaginal administration may be presented as a suppository, which may be prepared by mixing one or more compounds of the invention with one or more suitable nonirritating excipients or carriers comprising, for example, cocoa butter, polyethylene glycol, a suppository wax or salicylate, and which is solid at room temperature, but liquid at body temperature and, therefore, will melt in the rectum or vaginal cavity and release the active compound. Formulations of the present invention which are suitable for vaginal administration also include pessaries, tampons, creams, gels, pastes, foams or spray formulations containing such carriers as are known in the art to be appropriate. Dosage forms for the topical, transdermal or transmucosal administration of a compound of this invention include powders, sprays, ointments, pastes, creams, lotions, gels, solutions, patches, drops and inhalants. The active compound(s) may be mixed under sterile conditions with a pharmaceutically-acceptable carrier, and with any buffers, or propellants which may be required. The ointments, pastes, creams and gels may contain, in addition to a compound or compound(s) of this invention, excipients, such as animal and vegetable fats, oils, waxes, paraffins, starch, tragacanth, cellulose derivatives, polyethylene glycols, silicones, bentonites, silicic acid, talc and zinc oxide, or mixtures thereof. Powders and sprays can contain, in addition to a compound or compounds of this invention, excipients such as lactose, talc, silicic acid, aluminum hydroxide, calcium silicates and polyamide powder or mixtures of these substances. Sprays can additionally contain customary propellants such as chlorofluorohydrocarbons and volatile unsubstituted hydrocarbons, such as butane and propane. The active ingredient (i.e., a metal-binding compound or compounds of the invention) may also be delivered through the skin using conventional transdermal drug delivery systems, i.e., transdermal patches, wherein the active ingredient is typically contained within a laminated structure that serves as a drug delivery device to be affixed to the skin. In such a structure, the active ingredient is typically contained in a layer, or “reservoir,” underlying an upper backing layer. The laminated device may contain a single reservoir, or it may contain multiple reservoirs. In one embodiment, the reservoir comprises a polymeric matrix of a pharmaceutically acceptable contact adhesive material that serves to affix the system to the skin during drug delivery. Examples of suitable skin contact adhesive materials include, but are not limited to, polyethylenes, polysiloxanes, polyisobutylenes, polyacrylates, polyurethanes, and the like. Alternatively, the drug-containing reservoir and skin contact adhesive are present as separate and distinct layers, with the adhesive underlying the reservoir which, in this case, may be either a polymeric matrix as described above, or it may be a liquid or hydrogel reservoir, or may take some other form. The backing layer in these laminates, which serves as the upper surface of the device, functions as the primary structural element of the laminated structure and provides the device with much of its flexibility. The material selected for the backing material should be selected so that it is substantially impermeable to the active ingredient and any other materials that are present. The backing layer may be either occlusive or nonocclusive, depending on whether it is desired that the skin become hydrated during drug delivery. The backing is preferably made of a sheet or film of a preferably flexible elastomeric material. Examples of polymers that are suitable for the backing layer include polyethylene, polypropylene, polyesters, and the like. During storage and prior to use, the laminated structure includes a release liner. Immediately prior to use, this layer is removed from the device to expose the basal surface thereof, either the drug reservoir or a separate contact adhesive layer, so that the system may be affixed to the skin. The release liner should be made from a drug/vehicle impermeable material. Transdermal drug delivery devices may be fabricated using conventional techniques, known in the art, for example by casting a fluid admixture of adhesive, active ingredient and vehicle onto the backing layer, followed by lamination of the release liner. Similarly, the adhesive mixture may be cast onto the release liner, followed by lamination of the backing layer. Alternatively, the drug reservoir may be prepared in the absence of active ingredient or excipient, and then loaded by “soaking” in a drug/vehicle mixture. The laminated transdermal drug delivery systems may, in addition, contain a skin permeation enhancer. That is, because the inherent permeability of the skin to some active ingredients may be too low to allow therapeutic levels of the drug to pass through a reasonably sized area of unbroken skin, it is necessary to coadminister a skin permeation enhancer with such drugs. Suitable enhancers are well known in the art. The pharmaceutical compositions of the invention may also be administered by nasal aerosol or inhalation. Such compositions are prepared according to techniques well-known in the art of pharmaceutical formulation and may be prepared as solutions in saline, employing benzyl alcohol or other suitable preservatives, absorption promoters to enhance bioavailability, propellants such as fluorocarbons or nitrogen, and/or other conventional solubilizing or dispersing agents. Preferred formulations for topical drug delivery are ointments and creams. Ointments are semisolid preparations which are typically based on petrolatum or other petroleum derivatives. Creams containing the selected active agent, are, as known in the art, viscous liquid or semisolid emulsions, either oil-in-water or water-in-oil. Cream bases are water-washable, and contain an oil phase, an emulsifier and an aqueous phase. The oil phase, also sometimes called the “internal” phase, is generally comprised of petrolatum and a fatty alcohol such as cetyl or stearyl alcohol; the aqueous phase usually, although not necessarily, exceeds the oil phase in volume, and generally contains a humectant. The emulsifier in a cream formulation is generally a nonionic, anionic, cationic or amphoteric surfactant. The specific ointment or cream base to be used, as will be appreciated by those skilled in the art, is one that will provide for optimum drug delivery. As with other carriers or vehicles, an ointment base should be inert, stable, nonirritating and nonsensitizing. Formulations for buccal administration include tablets, lozenges, gels and the like. Alternatively, buccal administration can be effected using a transmucosal delivery system as known to those skilled in the art. Pharmaceutical compositions of this invention suitable for parenteral administrations comprise one or more compounds of the invention in combination with one or more pharmaceutically-acceptable sterile isotonic aqueous or non-aqueous solutions, dispersions, suspensions or emulsions, or sterile powders which may be reconstituted into sterile injectable solutions or dispersions just prior to use, which may contain antioxidants, buffers, solutes which render the formulation isotonic with the blood of the intended recipient or suspending or thickening agents. Examples of suitable aqueous and nonaqueous carriers which may be employed in the pharmaceutical compositions of the invention include water, ethanol, polyols (such as glycerol, propylene glycol, polyethylene glycol, and the like), and suitable mixtures thereof, vegetable oils, such as olive oil, and injectable organic esters, such as ethyl oleate. Proper fluidity can be maintained, for example, by the use of coating materials, such as lecithin, by the maintenance of the required particle size in the case of dispersions, and by the use of surfactants. These compositions may also contain adjuvants such as wetting agents, emulsifying agents and dispersing agents. It may also be desirable to include isotonic agents, such as sugars, sodium chloride, and the like in the compositions. In addition, prolonged absorption of the injectable pharmaceutical form may be brought about by the inclusion of agents which delay absorption such as aluminum monosterate and gelatin. In some cases, in order to prolong the effect of a drug, it is desirable to slow the absorption of the drug from subcutaneous or intramuscular injection. This may be accomplished by the use of a liquid suspension of crystalline or amorphous material having poor water solubility. The rate of absorption of the drug then depends upon its rate of dissolution which, in turn, may depend upon crystal size and crystalline form. Alternatively, delayed absorption of a parenterally-administered drug is accomplished by dissolving or suspending the drug in an oil vehicle. Injectable depot forms are made by forming microencapsule matrices of the drug in biodegradable polymers such as polylactide-polyglycolide. Depending on the ratio of drug to polymer, and the nature of the particular polymer employed, the rate of drug release can be controlled. Examples of other biodegradable polymers include poly(orthoesters) and poly(anhydrides). Depot injectable formulations are also prepared by entrapping the drug in liposomes or microemulsions which are compatible with body tissue. The injectable materials can be sterilized for example, by filtration through a bacterial-retaining filter. The formulations may be presented in unit-dose or multi-dose sealed containers, for example, ampules and vials, and may be stored in a lyophilized condition requiring only the addition of the sterile liquid carrier, for example water for injection, immediately prior to use. Extemporaneous injection solutions and suspensions may be prepared from sterile powders, granules and tablets of the type described above. As noted above, ROS have been reported to play a major role in a variety of diseases and conditions. See Manso, Specific diseases and conditions that are treatable with the metal-binding compounds of the invention include adult respiratory distress syndrome, aging, AIDS, angiogenic diseases, artherosclerosis (hypertension, senility and impotence), arthritis, asthma, autoimmune diseases, cancer (e.g., kidney, liver, colon, breast, gastrointestinal and brain), carcinogenesis, cellular damage caused by ionizing radiation (e.g., radiation of tumors), chronic granulomatous disease, cirrhosis, colitis, Crohn's disease, cystic fibrosis, degenerative diseases of aging, diabetes (diabetic retinopathy, renal disease, impotence and peripheral vascular disease), eye diseases (e.g., cataracts, central artery occlusion, benign monoclonal gammopathy, and macular degeneration), emphysema, head injury and traumatic brain injury, hepatitis C, infertility (copper present in seminal fluid can damage or kill sperm and/or lower sperm motility), inflammation, inflammatory bowel disease, metastasis, ischemia, neoplastic diseases, neurological diseases, neurological trauma, neurodegenerative diseases (e.g., Alzheimer's disease, amyotropic lateral sclerosis, Huntington's chorea, Parkinson's disease, multiple sclerosis, and senile dementia), pancreatitis, peripheral vascular disease, prion disease (transmissible spongiosiform encephalomyopathy), pulmonary embolism, renal disease (dialysis patients), reperfusion, scleroderma, sepsis, shock, tissue damage occurring upon administration of chemotherapeutics, tissue damage after surgery (e.g., transplantation surgery, open heart surgery, and any surgery where the blood supply to a tissue is cut off, and surgical ischemia of the limbs (tourniquet injury)), toxic reactions (e.g, herbicide poisoning, transition metal (copper, cobalt, and nickel) poisoning, carbon monoxide poisoning, and antibiotic toxicity), traumatic crush injury, and Wilson's disease (congenital high levels of copper). Specific ischemic conditions and diseases treatable with the metal-binding compounds of the invention include: Central nervous system ischemia—
Cardiac ischemia—
Ischemic bowel disease Placental ischemia and fetal distress Pulmonary embolism Surgery where the blood supply to a tissue or organ is cut off—
Surgical ischemia of the limbs (tourniquet injury). An angiogenic disease or condition is a disease or condition involving, caused by, exacerbated by, or dependent on angiogenesis. Angiogenesis is the process of new blood vessel formation in the body. Copper is required for angiogenesis. See PCT application WO 00/21941 and “The Role Of Copper In The Angiogenesis Process (http://www.cancerprotocol.com/role_of_copper.html, Jan. 28, 2002), and references cited in both of them. In particular, copper is involved in the activation of growth factors (such as the dimerization of b-FGF and serum Cu2+-GHK), activation of angiogenic factors (such as Cu2+-(K)GHK derived from SPARC), cross-linking of the transitional matrix (e.g., collagens VIII and I by Cu2+-dependent lysyl oxidase), and formation of basement membrane (e.g., collagens IV and elastin by Cu2+-dependent lysyl oxidase). Specific angiogenic diseases and conditions treatable with the metal-binding compounds of the invention include neoplastic diseases (e.g., tumors (e.g., tumors of the bladder, brain, breast, cervix, colon, rectum, kidney, lung, ovary, pancreas, prostate, stomach and uterus) and tumor metastasis), benign tumors (e.g., hemangiomas, acoustic neuromas, neurofibromas, trachomas, and pyrogenic granulomas), hypertrophy (e.g., cardiac hypertrophy induced by thyroid hormone), connective tissue disorders (e.g., rheumatoid arthritis and atherosclerosis), psoriasis, ocular angiogenic diseases (e.g., diabetic retinopathy, retinopathy of prematurity, macular degeneration, corneal graft rejection, neovascular glaucoma, retrolental fibroplasia, and rubeosis), cardiovascular diseases, cerebral vascular diseases, endometriosis, polyposis, obesity, diabetes-associated diseases, hemophiliac joints, and immune disorders (e.g., chronic inflammation and autoimmunity). The metal-binding compounds of the invention can also be used to inhibit the vascularization required for embryo implantation, thereby providing a method of birth control. High copper levels have been found in the serum and tumors of patients with many types of progressive tumors. As noted above, copper plays a major role in angiogenesis, thereby contributing to tumor growth and metastasis. Also, metals, particularly copper and nickel, have been reported to be carcinogens. Thus, the metal-binding compounds of the invention may be used to reduce copper levels in cancer patients. The metal-binding compounds of the invention may also be used to inhibit (reduce or prevent) carcinogenesis in individuals at risk (e.g., metal-exposed individuals, such as welders, machinists, autobody repairmen, etc.). Specific inflammatory diseases and conditions treatable with the metal-binding compounds of the invention include acute respiratory distress syndrome, allergies, arthritis, asthma, autoimmune diseases, bronchitis, cancer, Crohn's disease, cystic fibrosis, emphysema, endocarditis, gastritis, inflammatory bowel disease, ischemia reperfusion, multiple organ dysfunction syndrome, nephritis, pancreatitis, respiratory viral infections, sepsis, shock, ulcerative colitis and other inflammatory disorders. Acidosis is present in, or plays a role in, a number of diseases and conditions, including hypoventilation, hypoxia, ischemia, prolonged lack of oxygen, severe dehydration, diarrhea, vomiting, starvation, AIDS, sepsis, kidney disease, liver disease, metabolic diseases (e.g., advanced stages of diabetes mellitus), and neurodegenerative diseases (e.g., Alzheimer's). Acidosis is also caused by certain medications (e.g., large amounts of aspirin and oral medications used to treat diabetes), and instances of mild acidosis have been reported to increase with age (Knight, “Metal Heads,” New Scientist, Aug. 26, 2000, http://www.purdeyenvironment.com/Full%20New%20scientist001.htm). Under normal conditions, copper is bound to plasma proteins and peptides, primarily ceruloplasmin and albumin. In acidotic conditions, copper is released from the proteins to which it is normally bound. It is estimated that 40-70% of weakly bound copper is released at pH 6.0. Free copper can participate in reactions that lead to the formation of ROS and causes a number of other deleterious effects, such as interfering with metabolism and energy ultilization. Thus, the metal-binding compounds of the invention may be used to treat diseases or conditions involving acidosis to prevent damage due to ROS, to prevent other deleterious effects of free copper, or both. Sepsis can also be treated using the metal-binding compounds of the invention. Sepsis is a systemic inflammatory response to infection. Sepsis is also characterized by ischemia (caused by coagulopathy and suppressed fibrinolysis) and acidosis. A compound of the invention is preferably administered prophylactically. For instance, a compound of the invention is preferably administered prior to and/or simultaneously with reperfusion of an ischemic tissue or organ (e.g., prior to and/or simultaneously with angioplasty or treatment with clot dissolving drugs, such as tissue plasminogen activators). Of course administration of a compound of the invention should be continued for a period of time after reperfusion has been achieved. Similarly, a compound of the invention should be administered prior to and/or during surgery (e.g., open-heart surgery or surgery to transplant an organ into an animal), and administration of the compound should be continued for a period of time after the surgery. As another example of prophylactic administration, a compound of the invention can be administered to a patient presenting symptoms of a serious condition (e.g., cerebrovascular ischemia or cardiovascular ischemia) while the patient is tested to diagnose the condition. In this way, the patient will be protected during the time it takes to diagnose such conditions, and treatment with the metal-binding compounds of the invention may also prolong the time during which other therapies (e.g., administration of tissue plasminogen activator for cerebrovascular ischemia) can be administered. As yet a further example, a compound of the invention can be administered at the time a patient is to undergo radiation therapy (e.g., radiation for a tumor or prior to a bone marrow transplant). A compound of the invention can also be used to treat patients who have suffered blunt trauma. In particular, a compound of the present invention may be very beneficial in treating patients suffering from multiple blunt trauma who have a low albumin level, since it has been found that a low albumin level is a predictor of mortality in such patients. More specifically, 34 patients suffering from multiple blunt trauma were studied. These patients were admitted to the intensive care unit of Swedish Hospital, Denver, Colo. in 1998. Two groups of patients were matched by a trauma surgeon by age, injury severity score (ISS), and type and area of injury without knowledge of the albumin levels of the patients. One group was composed of the patients who died, and the other group was composed of survivors. Following the match, the admission albumin levels were retrieved from the medical records by an independent observer, and the albumin levels of the two groups were compared. For the 17 survivors, the mean albumin level was 3.50±1.00 g/dl. For the 17 patients who died, the mean albumin level was 2.52±0.73 g/dl. The % variance was 28.6 and 28.9, respectively, and the p-value was 0.0026 (95% confidence interval 0.3462-0.4771). The compounds of the invention may be given alone to reduce the damage done by ROS. Alternatively, the compounds of the invention can be given in combination with “free radical scavengers.” “Free radical scavengers” include superoxide dismutase, catalase, glutathione peroxidase, ebselen, glutathione, cysteine, N-acetyl cysteine, penicillamine, allopurinol, oxypurinol, ascorbic acid, α-tocopherol, Trolox (water-soluble α-tocopherol), β-carotene, fatty-acid binding protein, fenozan, probucol, cyanidanol-3, dimercaptopropanol, indapamide, emoxipine, dimethyl sulfoxide, and others. See, e.g., Das et al., The metal-binding compounds of the invention can also be used to reduce the damage done by ROS to a cell, a tissue or organ that has been removed from an animal. To reduce the damage done by ROS to a tissue or an organ, the tissue or organ is contacted with a solution containing an effective amount of a metal-binding compound of the invention. Many suitable solutions are known. See, e.g., Dunphy et al., Cells isolated from an animal can be stored or cultured in a medium containing an effective amount of a metal-binding compound of the invention. Many suitable media are known. Effective amounts of the metal-binding compound to include in the medium can be determined empirically, and doing so is within the skill in the art. The cells may be administered to a recipient in need thereof (e.g., for cellular immunotherapy or gene therapy) or may be used for research purposes. In addition, media containing an effective amount of a metal-binding compound of the invention can be used in in vitro fertilization (IVF) procedures for reducing the damage done by ROS to gametes (sperm and/or ova), zygotes, and blastocysts during collection, storage and/or culture. In particular, seminal fluid is known to contain substantial amounts of copper and fructose, conditions suitable for the production of ROS. Many suitable media for use in IVF procedures are known (e.g., Gardner media G1, G2, etc.). Effective amounts of the metal-binding compound to include in the media can be determined empirically, and doing so is within the skill in the art. The invention further provides a kit for reducing the damage done by ROS to a cell, a tissue or organ that has been removed from an animal. The kit is a packaged combination of one or more containers holding reagents and other items useful for preserving harvested cells, tissues or organs. The kit comprises a container holding a metal-binding compound of the invention. Suitable containers include bottles, bags, vials, test tubes, syringes, and other containers known in the art The kit may also contain other items which are known in the art and which may be desirable from a commercial and user standpoint, such as a container for the cells, tissue or organ, diluents, buffers, empty syringes, tubing, gauze pads, disinfectant solution, etc. It is to be noted that “a” or “an” entity refers to one or more of that entity. For example, “a cell” refers to one or more cells. This example describes the synthesis of the tetrapeptide Asp Ala His Lys [SEQ ID NO:1] composed of all L-amino acids using standard solid-phase synthesis techniques. First, 9-fluorenylmethyloxycarbonyl (Fmoc)-protected Asp (ν COO— ester; Tolsulfonyl) on Wang resin (0.6 mmole; Nova Biochem) was suspended in a solution of piperidine/dimethylformamide (DMF) (40% v/v; 3 ml) for 30 min with occasional agitation. At the end of this period, the solvent was drained, and the resin was washed sequentially with DMF and dichloromethane (DCM; 5×3 ml). A ninhydrin test was used to monitor the reaction. The resin was swollen with DMF (˜1 ml). The C-protected t-benzyloxycarbonyl (Boc) ester of alanine in DMF was added, followed by a mixture of diisopropylamine (8 equivalent) and 2-(1H-benzotriazole-1-yl)-1,2,3,3-tetramethyluroniumtetrafluoroborate (TBTU-) (4 equivalents). The resin was shaken for about 24 hours, and the reaction was monitored by the ninhydrin test. At the end of this period, DMF was drained, and the resin was washed with DMF and DCM. The solution was drained, and the beads were washed with DCM (3×2 ml). The protecting group of the dipeptide-resin was removed, and the beads were suspended in DMF. Amino protected (benzyloxy) derivative of histidine (4 mmole) was added, followed by mixture of diisopropylamine (8 equivalent) and TBTU-(4 equivalent). The resin was shaken for about 24 hours, and the reaction monitored by ninhydrin test. At the end of this period, DMF was drained, and the resin was washed with DMF and DCM. The tripeptide-resin was briefly dried in a gentle stream of nitrogen and suspended in nitrogen-saturated DMF. Protected lysine was added, followed by a mixture of diisopropylamine (8 equivalent) and TBTU-(4 equivalent). The resin was shaken for about 24 hours, and the reaction monitored by the ninhydrin test. At the end of this period, DMF was drained and the resin was washed with DMF and DCM. The Boc protecting group was carefully removed to give the tetrapeptide bound to the resin, with a typical loading of 5 mmole/g. The resin bound tetrapeptide (0.25 gm; 5 mmolar) was treated with trifluoroacetic acid (TFA) and was shaken for 24 hours. At the end of this period, the ninhydrin test gave a blue color, indicating the release of the tetrapeptide from the resin. In some circumstances, addition of 5% (V/V) of DMF to TFA accelerated the rate of release of the peptide from the resin. Removal of TFA at reduced pressure gave the tetrapeptide (all D) as TFA salt and was dried under vacuum at 5° C. for 24 hours. The residue was a white powder and was characterized by spectrometric methods. A number of enantiomers of the tetrapeptide can be prepared in this manner. For example, use of D-amino acids in the peptide synthesis forms the tetrapeptide containing all D-amino acids. Also, combinations of L-amino acids and D-amino acids can be used. Trans-diaminocyclohexane was prepared by resolving cis/trans 1,2-diaminocyclohexane (Aldrich-Sigma) as the tartaric acid salt. The R-trans isomer melts at 75° C. and the S-trans isomer melts between 43-45° C. (Ph.D. Thesis, P. D. Newman, University College, Cardiff, U.K., 1994). The trans-diaminocyclohexane (10 gm) was then suspended in anhydrous toluene (30 mL) and cooled to 5° C. in an ice bath, and bromoacetic acid (8 gm) in toluene (25 mL) was added dropwise. At the end of the addition, the reaction temperature was raised to 30° C. and kept at that temperature for a further 5 hours. Toluene was evaporated, and the R-trans 1,2-diaminocyclohexane diacetic acid was crystallized from hexane/toluene to give a white solid (yield 70%). The product was characterized by spectroscopic methods. The resin-bound tetrapeptide prepared in Example 1 (20 mg) was suspended in DMF (5 mL) and was treated with the R-trans 1,2-diaminocyclohexanediacetic acid (20 mg) followed by addition of a mixture of diisopropylamine (8 equivalent) and TBTU-(4 equivalent). The resin was shaken for about 24 h on a roller. Then, the resin was washed with DMF followed by DCM (5×3 mL) and partially dried. Hydrolysis of the resin linkage was effected by treating the resin-bound reaction product with TFA (5 mL; 5 hr). The resin was separated and washed with DCM. The washings were combined with TFA and concentrated under vacuum. The residue (cyclohexanediamine tetrapeptide; formula given in The resin-bound tetrapeptide prepared in Example 1 (20 mg) was suspended in DMF (5 mL) and treated with excess (10-fold) chloroacetic acid. The resin was shaken at room temperature for 48 hours, followed by heating to 60° C. for a further hour. DMF was removed by filtration, and the resin was washed with DMF followed by DCM (5×3 mL). Partially dried resin was used without further treatment in the next stage. Hydrolysis of the resin linkage was effected by treating the resin-bound reaction product with TFA (5 mL; 5 hr). The resin was separated and washed with DCM. The washings were combined with TFA and concentrated under vacuum (yield 30%). The product (formula given in The resin-bound tetrapeptide prepared in Example 1 (20 mg) was suspended in DMF (5 mL) and treated with mesoporphyrin IX dicarboxylic acid (10 μmole; formula given in This procedure can be used to synthesize other porphyrin-peptides, such as mesoporphyrin I and related molecules. The resin-bound tetrapeptide prepared in Example 1 (20 mg) was suspended in DMF (5 mL) and treated with bromoethylpyridine (20 μmole). This was followed by the addition of pyridine (0.5 mL). The resin was shaken for about 48 hours on a roller. The resin was washed with DMF, followed by DCM (5×3 mL) to remove all of the unreacted monomers, and then dried under vacuum for 30 minutes. Hydrolysis of the resin linkage was effected by treating the resin-bound reaction product with TFA (5 mL; 5 hr). The resin was separated and washed with DCM/TFA mixture (1:1.5 mL). The washings were combined and concentrated under vacuum. The pyridylethyl tetrapeptide derivative (formula given in This procedure can be applied to other heterocycles, such as phenanthroline and related molecules. A derivative having the formula shown in By The Tetrapeptide Asp Ala His Lys [SEQ ID NO:1] A tetrapeptide having the sequence L-Asp L-Ala L-His L-Lys [SEQ ID NO:1] (the L-tetrapeptide) was obtained from one or more companies that provide custom synthesis of peptides, including Ansynth Services, QCB, Genosys and Bowman Research. The peptide was prepared by standard solid phase synthesis methods (see also Example 1). The ability of the L-tetrapeptide to inhibit the generation of ROS was tested as described in Gutteridge and Wilkins, The assay was performed with and without the L-tetrapeptide. The results are summarized in Table 1. As can be seen from Table 1, when the L-tetrapeptide was present at Cu(II):tetrapeptide ratios of 1:1.2 and 1:2, the degradation of 2-deoxy-D-ribose was inhibited by 38% and 73%, respectively. Clearly, the L-tetrapeptide inhibited the degradation of 2-deoxy-D-ribose by hydroxyl radicals. A similar assay was also performed using a tetrapeptide having the sequence Asp Ala His Lys composed of all D-amino acids (D-tetrapeptide). The D-tetrapeptide was obtained from one or more companies that provide custom synthesis of peptides, including Ansynth Services and QCB. The peptide was prepared by standard solid phase synthesis methods (see Example 1) The ability of the D-tetrapeptide to inhibit the generation of ROS was tested as described by Zhao and Jung, Establishing optimal Cu(II) and ascorbic acid concentrations was the first step in developing this protocol. First, a constant Cup concentration of 10 μM was used based on this level being the physiological concentration found in the body (bound and unbound Cu(II)). The ascorbic acid concentrations were varied in order to establish a linear range. The ascorbic acid concentration chosen was 500 μM since it gave the most absorbance at 532 nm and still fell in the linear range. Interestingly, at ascorbic acid concentrations greater than 500 μM, there was a steady decrease in hydroxyl radicals presumably due to ascorbic acid's dual effect as a hydroxyl radical generator at low concentrations and an antioxidant at high concentrations. Using the aforementioned concentrations for Cu(II) and ascorbic acid, a titration curve was established for the D-tetrapeptide. Briefly, the D-tetrapeptide was pre-incubated with Cu(II) for 15 minutes at room temperature prior to adding ascorbic acid. This was done to permit the D-tetrapeptide to bind with the Cu(II) and therefore inhibit ROS generation. As can be seen from the table, when the Cu(II):D-tetrapeptide ratio was between 4:1 to 4:7, there was little to no inhibition of hydroxyl radical generation. When the ratio was 1:2 or higher, there was total inhibition of hydroxyl radical production. In A Langendorff Reperfusion Model Blood-perfused hearts were prepared essentially as in previous studies (Galiñanes et al., Male Wistar rats, obtained from Bantin and Kingman Universal, UK, were used. All animals received humane care in compliance with the “ Support rats (300-400 g) were anesthetized with sodium pentobarbitone (60 mg/kg, intraperitoneally) and anticoagulated with heparin (1000 IU/kg intravenously). The right femoral vein and left femoral artery were exposed by blunt dissection and cannulated (18G and 22G Abbocath-T catheters respectively) for the return and supply of blood to the perfused heart. An extracorporeal circuit was established, primed with Gelofusine® plasma substitute (B. Braun Medical Ltd., Aylesbury, UK) and was maintained for 15 minutes (min) before connection to the isolated heart. This period was to ensure that the priming solution was adequately mixed with the blood of the support rat and that the entire preparation was stable. Each 500 ml of Gelofusine® contains 20.00 g succinated gelatin (average molecular weight 30,000), 3.65 g. sodium chloride, water for injection to 500 ml (electrolytes mmol/500 ml: cations Na 77, anions Cl 62.5, pH 7.4). Prior to perfusing the donor heart, an additional 7-8 ml of blood from a rat of the same strain was added to the central reservoir. This was to ensure that the support rat had an adequate supply of blood during the experiment when blood was not recirculated but instead collected for a 2 min period. A peristaltic pump (Gilson Minipuls 3) was located on the arterial outflow of the support rat and flow through the extracorporeal circuit was increased gradually over 10 min to a value of 2.5 ml/min. This gradual increase prevented the drop in arterial pressure that would have occurred if a flow rate of 2.5 ml/min had been established immediately. The blood was pumped through a cannula (to which the aorta of the perfused heart would subsequently be attached) and returned, by gravity, via a reservoir and filter to the venous inflow line of the support animal. An air-filled syringe above the perfusion cannula acted as a compliance chamber, which served to dampen oscillations in perfusion pressure which occurred as a consequence of the contraction of the isolated heart and the peristaltic action of the pump. The support animal was allowed to breathe a mixture of 95% O2+5% CO2through a 35% Venturi face mask. The flow rate was adjusted to maintain blood pO2and pCO2within the physiological range. Body temperature was stabilized at 37.0 (±0.5)° C. by means of a thermostatically-controlled heating pad and was monitored by a rectal thermometer. Blood pressure was monitored by means of a pressure transducer attached to the arterial line. All pressure transducers were connected to a MacLab (ADInstruments, Australia), which was run continuously through the experiment. Blood gas (pO2, pCO2, pH), hematocrit, glucose and electrolyte levels (Na+, K+, Ca+) of the support rat were monitored before the donor heart was attached to the extracorporeal circuit and at the end of each experiment. During the course of the experiment, minimum amounts of donor blood (from another at of the same strain) were transfused as required so as to maintain the volume and stability of the preparation. Additional heparin and pentobarbitone were administered into the central reservoir as required. To isolate hearts, each rat (270-350 g) was anesthetized with diethyl ether and anticoagulated with heparin (1000 IU/kg intravenously). The heart was then immediately excised and immersed in cold (4° C.) Gelofusine®. The aorta was rapidly cannulated and perfused in the Langendorff mode, (Langendorff, Excised hearts were randomly assigned to two treatment groups (see The drug, whose identity was unknown to the researchers performing the experiments, was the tetrapeptide D-Asp D-Ala D-His D-Lys. The tetrapeptide was supplied to the researchers by Bowman Research, UK, dissolved in saline at a concentration of 16.7 mg/mL. It was infused as supplied without any dilution or modification. Physiological saline was supplied by Baxter, UK and used in controls. Fresh solutions of saline and the drug were used daily. Drug or vehicle was infused into a sidearm of the aortic cannula by means of a peristaltic pump (Gilson Minipuls 3), set at a constant flow of 0.25 ml/min. Since blood flow through the aortic cannula was 2.5 ml/min, and drug infusion was 0.25 ml/min, the final concentration of drug delivered to the heart was 1/11th of that supplied by Bowman Research. During the 2 min period of pre-ischemic vehicle or drug infusion and at the time points indicated in Predefined exclusion criteria stated that: (i) support animals would be excluded from the study if they did not attain a stable systolic blood pressure ≧80 mm Hg before cannulation of the donor heart, (ii) donor hearts would be excluded from the study if, at the 20 min baseline pre-intervention reading, LVDP≦100 mm Hg or (iii) blood chemistry values were outside the normal range. Results are expressed as mean±SEM. All recovery values are expressed as a percent of the pre-intervention baseline value (measured 20 min after the onset of the experiment) for each individual heart. The two-tailed unpaired Student's t test was used for the comparison of two means between groups. A difference was considered statistically significant when p <0.05. For reasons of quality control and to allow application of predefined exclusion criteria, the stability and reproducibility of the system were monitored by measuring the blood chemistry (pH, pO2, pCO2, haematocrit, Na+, K+ and Ca2+, glucose) and baseline contractile function of each support animal (immediately before perfusing a donor heart and at the end of each experiment) and each perfused heart. Table 3 reveals that there were only minor changes in each index measured, confirming that similar perfusion conditions applied in both study groups and that all values were within the acceptable physiological range. The systolic pressure and heart rate of the support rats are shown in Table 4. As can be seen, there were no significant differences between the two study groups at the 15 min baseline reading. Table 5 shows that there were no significant differences between groups at the end of the 20 min aerobic perfusion period (i.e. just prior to the infusion of drug or vehicle) in LVDP, heart rate and perfusion pressure. Thus, for LVDP, the primary endpoint in the study, the mean values were 177.3±10.6 mmHg and 177.2±5.6 mmHg for the groups that were to become saline control and drug treated. As expected, myocardial ischemia caused cessation of myocardial contraction, with cardiac arrest initially in the diastolic state. However, as ischemic injury developed with time an increase in diastolic state occurred as the heart went into ischemic contracture. The temporal profiles for the development of ischemic contracture in each of the study groups is shown in A comparison of the heart rates obtained in the saline control group and drug, as shown in As shown in The results of this pilot study indicate that, in the isolated blood-perfused rat heart, Asp Ala His Lys appears to have significant and substantial protective properties as assessed by an approximately three and a half (3.5) fold (15.3±3.2% to 50.5±9.3%) enhancement of post-ischemic functional recovery. The magnitude of protection is equal to some of the most powerful interventions studied. Focal ischemic infarcts were made in mature male Wistar rats (270-300 g, Charles River Laboratories) as described previously (Koizumi et al, For ischemia surgery, the right common carotid artery was exposed at its bifurcation. A 4-0 nylon suture, with its tip rounded by heating over a flame, was then advanced 18.5-19.5 mm (depending on the animal's weight) from the external into the internal carotid artery and then through the intracranial carotid artery until the tip occluded the origin of the middle cerebral artery (MCA). Animals were then allowed to awaken from anesthesia. At 2 hours after MCA occlusion, they were re-anaesthetized, and intra-arterial sutures were withdrawn into the external carotid artery. Beginning one minute prior to occlusion, animals received an intravenous infusion of vehicle alone (control) or drug (D-Asp D-Ala D-His D-Lys) in vehicle over one minute. The identity of the drug was unknown to the researchers performing the experiments. It was supplied to the researchers as a concentrated stock (16.67 mg/ml) in phosphate buffered saline, pH 7.4, and was stored it at −80° C. The drug was determined to be biologically active prior to use by determining its ability to reduce free radical formation in vitro as described in Example 7. The stock solution was thawed just prior to use, and a sufficient quantity was administered to give a dose of 20 mg/kg. At the end of the intravenous administration of the drug or vehicle, the nylon suture was immediately advanced to occlude the MCA. Following the 2 hours of occlusion of the MCA, the animals received a repeat intravenous infusion of drug or vehicle over one minute. At the end of the second infusion, the nylon suture was immediately pulled back from occluding the MCA to allow for reperfusion. Also, after the second infusion, the animals were re-anesthetized, and the cannulae were removed. The animals were returned to their home cages, where they were allowed free access to food and water. Animals were weighed before ischemia and before sacrifice. A neurological examination, as described in Zea Longa et al., Twenty-four hours after MCA occlusion, animals were anesthetized with ketamine (44 mg/kg) and xylazine (13 mg/kg), both given intramuscularly, and perfused transcardially with heparinized saline, followed by 10% buffered formalin. The brains were removed and cut into 2-mm coronal slices using a rat brain matrix (Activational System, Inc., Warren, Mich.; a total of 7 slices). The slices were then embedded in paraffin, and 6-mm sections were cut from the anterior surface of each slice and stained with hematoxylin and eosin (H and E). Infarct volume was determined using a computer-interfaced image analysis system (Global Lab Image system, Data Translation, Marlboro, Mass.), using the “indirect” method (Swanson et al., The results are presented in Tables 7-10 below. Some of the data are expressed as mean±S.E.M. Continuous data were analyzed by repeated measures ANOVA and paired or unpaired two-tailed t-tests with Bonferroni correction where appropriate. Non-continuous behavior date were analyzed by the Mann-Shitney U-test. The ability of the tetrapeptide L-Asp L-Ala L-His L-Lys [SEQ ID NO:1] and other peptides and compounds to inhibit the production of ROS was tested. The other peptides tested were: L-Asp L-Ala L-His L-Lys L-Ser L-Glu L-Val L-Ala L-His L-Arg L-Phe L-Lys [SEQ ID NO:3]; L-Ala L-His L-Lys L-Ser L-Glu L-Val L-Ala L-His L-Arg L-Phe L-Lys [SEQ ID NO:4]; L-His L-Lys L-Ser L-Glu L-Val L-Ala L-His L-Arg L-Phe L-Lys [SEQ ID NO:5]; and Acetylated-L-Asp L-Ala L-His L-Lys L-Ser L-Glu L-Val L-Ala L-His L-Arg L-Phe L-Lys [SEQ ID NO:6]. The peptides were obtained from one or more companies that provide custom synthesis of peptides, including Ansynth Services, QCB, Genosys and Bowman Research. The other compounds tested were histidine (Sigma Chemical Co.), catalase (Sigma Chemical Co.), and superoxide dismutase (Sigma Chemical Co.). 1. Inhibition of Hydroxyl Radical Production The hydroxyl radical is probably the most reactive oxygen-derived species. The hydroxyl free radical is very energetic, short-lived and toxic. Some researchers suggest that the toxicity of hydrogen peroxide and superoxide radical may be due to their conversion to the hydroxyl free radical. The superoxide radical can be directly converted to the hydroxyl radical via the Haber-Weiss reaction. Alternatively, it can be converted to hydrogen peroxide which, in turn, is converted into the hydroxyl radical via the Fenton reaction. Both pathways require a transition metal, such as copper (Acworth and Bailey, It is also known that copper, in the presence of ascorbate, produces hydroxyl radicals. The following reaction scheme has been suggested: Biaglow et al., The ability of the compounds listed above to inhibit the generation of hydroxyl radicals was tested as described in Gutteridge and Wilkins, To perform the assay, CuCl2in buffer (20 mM KH2PO4buffer, pH 7.4) and either one of the test compounds in buffer or buffer alone were added to test tubes (final concentration of CuCl2was 10 μM). The test tubes were incubated for 15 minutes at room temperature. Then, 0.5 mM ascorbic acid in buffer and 1.9 mM 2-deoxy-D-ribose in buffer were added to each test tube, and the test tubes were incubated for 1 hour at 37° C. Finally, 1 ml of 1% (w/v) TBA in 50 mM NaOH and 1 ml of concentrated acetic acid were added to each test tube, and the test tubes were incubated in boiling water for 15 minutes. After the test tubes had cooled for 15 minutes, the absorbance at 532 nm was read. It was found that the tetrapeptide L-Asp L-Ala L-His L-Lys [SEQ ID NO:1] caused complete inhibition of the formation of hydroxyl radicals in this assay at tetrapeptide/copper ratios of 2:1 or higher. Tetrapeptide/copper ratios less than 2:1 were ineffective. The results of a time course are presented in When the tetrapeptide at a tetrapeptide/copper ratio of 2:1 was incubated for longer periods of time, its ability to prevent the formation of TBA-reactive substances slowly eroded. See The effect of pH on the inhibition of hydroxyl radical formation by the tetrapeptide was tested at a tetrapeptide/copper ratio of 2:1. At this ratio, the tetrapeptide gave >95% inhibition of the formation of TBA-reactive species at pH 7.0-8.5. These are physiological pH levels and pH levels that would be expected during ischemia (acidosis occurs in ischemic tissues). At pH 6.0, the tetrapeptide was ineffective at preventing the formation of TBA-reactive species, possibly due to the reduced ability of the histidine to bind copper. The nitrogen atom on the imidazole ring of histidine participates in binding copper with a pKa of 6.0. Therefore, at a pH of 6.0, histidine is only able to bind 50% of the copper. The other 50% of the copper would be unbound or loosely bound to the tetrapeptide by the other amino acids and would, therefore, be able to participate in the production of TBA-reactive species. Histidine and several peptides with histidine in different positions were tested at 1:1 and 2:1 peptide:copper ratios for their ability to inhibit the production of hydroxyl radicals. Also, a peptide having an acetylated aspartic acid (Ac-Asp) as the N-terminal amino acid was also tested. The results are presented in Table 11. In Table 11, the % inhibition is the percent decrease in absorbance compared to buffer alone divided by the absorbance of the buffer alone. As can be seen from the results in Table 11, the peptides with histidine in the second and third positions gave >95% inhibition at a 2:1 peptide:copper ratio, while these peptides at a 1:1 peptide:copper ratio were ineffective. Interestingly, at a 2:1 peptide:copper ratio, the peptide with histidine in the first position and the peptide with acetylated aspartic acid as the N-terminal amino acid provided some protection (about 47% and about 28% inhibition, respectively), although this protection might be attributable to the histidine in the seventh and ninth positions, respectively, of these peptides. Histidine alone at a 2:1 histidine:copper ratio provided some protection (about 20% inhibition). Catalase has been shown to prevent hydroxyl radical formation. Gutteridge and Wilkins, B. Assay For Superoxide Dismutase (SOD) Activity The enzyme superoxide dismutase (SOD) is a naturally-occurring enzyme which is responsible for the breakdown in the body of superoxide to hydrogen peroxide (similar to Equation 3). Hydrogen peroxide can then be detoxified by catalase. SOD was assayed for activity in the assay described in the previous section and was found to have none (data not shown). This result is not surprising since SOD actually converts superoxide radical into hydrogen peroxide. Hydrogen peroxide can then be converted into the hydroxyl radical by reduced copper. There are reports in the literature that copper complexes have SOD activity. Athar et al., The SOD activity of copper complexes of the tetrapeptide L-Asp L-Ala L-His L-Lys [SEQ ID NO: 1] was assayed. Superoxide radicals were produced using the xanthine oxidase assay of Beauchamp and Fridovich, To perform the assay for SOD activity, 0.1 mM xanthine (Sigma Chemical Co.), 25 μM NBT (Sigma Chemical Co.), 50 mM sodium carbonate, and 1.2 μM EDTA (Sigma Chemical Co.), were mixed in a cuvette (all final concentrations, final pH 10.2). The reaction was started by the addition of various amounts of a tetrapeptide-copper complex (tetrapeptide/copper ratios of 1:1 and 2:1) and 20 nM xanthine oxidase (Sigma Chemical Co.). The tetrapeptide-copper complex was prepared by mixing the tetrapeptide and copper (as CuCl2) and allowing the mixture to incubate for 15 minutes at room temperature immediately before addition to the cuvette. The samples were read at time 0 and every 60 seconds for five minutes at 560 nm. The complex of the tetrapeptide with copper at a ratio of 1:1 was shown to have SOD activity, as evidenced by inhibition of NBT reduction (see To verify that the 1:1 tetrapeptide-copper complex did not interfere with xanthine oxidase activity, uric acid production was measured at 295 nm. Athar et al., Superoxide radical production was measured in solutions containing the 1:1 or 2:1 tetrapeptide-copper complexes. The assay combined techniques from the TBA assay and the xanthine oxidase assay. NBT was added to all test tubes in order to quantitate its reduction by superoxide radical. The samples also contained ascorbate and copper and were incubated at 37° C. At 5, 15, 30 and 60 minutes, the samples were removed from the incubator and read at 560 nm. The results are shown in The likely sequence of events that occurs in the production of hydroxyl radicals is as follows: It has already been shown that the 1:1 tetrapeptide-copper complex can convert superoxide radical (O2•−) into hydrogen peroxide (H2O2). This is the SOD activity of the complex. The 2:1 tetrapeptide-copper complex cannot facilitate this conversion since the two molecules of the tetrapeptide fill all six coordination bonds of copper. This explains why the 2:1 tetrapeptide-copper complex is so effective because it inhibits the formation of hydrogen peroxide, which could in turn react with reduced copper to produce hydroxyl radicals via the Fenton reaction. The 1:1 tetrapeptide-copper complex also provides a valuable service by eliminating the superoxide radical. Even though it produces hydrogen peroxide, most compartments of the human body have sufficient quantities of the enzyme catalase that can eliminate hydrogen peroxide. In the brain, however, catalase activity is reported to be minimal. Halliwell et al., C. Protection of DNA DNA strand breaks were measured according to the method of Asaumi et al., The results showed that the tetrapeptide was very effective at preventing the formation of DNA strand breaks. See ROS damages DNA by causing strand breaks, base modifications, point mutations, altered methylation patterns, and DNA-protein cross linking (Marnett, Telomeres, which are repeats of the hexanucleotide TTAGGG, exist at the ends of DNA to form a “protective cap” against degradation, chromosomal rearrangement, and allow the replication of DNA without the loss of genetic information (Reddel, In this study, the ability of Asp Ala His Lys [SEQ ID NO:1] to protect DNA and telomeres from ROS damage induced by copper coupled with ascorbic acid was examined. A. Materials and Methods Reagents: The synthetic D-analog of Asp Ala His Lys (D-Asp Ala His Lys) was obtained from Bowman Research Ltd. (Newport, Wales, UK). TeloTAGG Telomere Length Assay and X-ray film were purchased from Roche Molecular Biochemicals (Mannheim, Germany). DNeasy genomic isolation kits were purchased from Qiagen (Valencia, Calif.). Hybond-N+nylon membrane was ordered from Amersham Pharmacia Biotech (Piscataway, N.J.). All other chemicals were obtained from Sigma (St. Louis, Mo.). DNA treatments: DNA strand breaks were measured using a modified method of Asaumi (Asaumi et al., Cell treatments: Raji cells were washed with PBS (10 mM phosphate buffered saline; 138 mM NaCl; 2.7 mM KCl pH 7.4). Then, 1.5×106cells were put into 5 ml PBS containing CuCl2, ascorbic acid, and/or D-Asp Ala His Lys. Final concentrations were as follows: CuCl2=10 μM, 25 μM, and 50 μM; ascorbic acid=100 μM, 250 μM, and 500 μM; D-Asp Ala His Lys=50 μM, 100 μM, and 200 μM. The cells were then incubated at 37° C. for 2 hours. Following the incubation, genomic DNA was isolated using DNeasy columns. DNA damage was visualized by 0.5% TAE agarose gel electrophoresis. Telomere Length Assay: To examine telomere damage, the TeloTAGG Telomere Length Assay (Roche) was used according to manufacturer's recommendations: digesting 1 μg of genomic DNA per reaction using HinfI and RSA I. Samples were then run on a 0.8% TAE agarose gel at 70V for 2 hours. Southern blots were performed and probed using a digoxigenin (DIG) labeled telomere specific oligonucleotide. For cell treated samples, genomic DNA was used as described above. For DNA treated samples, reactions were setup as above, brought to 200 μl with PBS, and isolated using DNeasy columns prior to restriction digestions. B. Results and Discussion Copper ions, an essential part of chromatin (Dijkwel et al., 1) 2 Cu22++ascorbate→2 Cu++dehydroascorbate+2H+ 2) Cu++O2→O2•−+Cu2+ 3) Cu++O2•−+2H+→Cu2++H2O2 4) Cu++H2O2→OH−+OH•+Cu2+ While iron is found at higher concentrations physiologically, oxidation by copper and H2O2is 50 times faster than iron (Stoewe et al., As expected, the results of the above-described experiments showed that copper and ascorbic acid alone were unable to cause strand breaks. When CuCl2and ascorbic acid were combined, a dose dependent accumulation of lower molecular weight DNA fragments was seen, the result of double strand breaks. These double strand breaks were attenuated by D-Asp Ala His Lys in a dose dependent manner ( Prior reports suggest that oxidative DNA damage may be directed at G-C rich areas, including telomeres. Rodriguez, et. al., reported that copper induced ROS damage primarily targeted DNA guanine (Rodriguez et al., Examination of the telomere in the genomic DNA samples in the present study showed double strand breaks in response to oxidative stress. DNA samples examined by Southern blot showed severely depleted and shortened telomere sequences ( In addition to the double strand breaks detected in the experiments, other DNA lesions may be involved in ROS disease processes. Some cations, including copper, bound loosely to the phosphate backbone have been implicated in strand breaks while those coordinated in the helix cause base modifications (Marnett, C. Summary Both DNA and the telomeric sequence are susceptible to copper-mediated ROS damage, particularly damage attributed to hydroxyl radicals. In this study, ROS-induced DNA double strand breaks and telomere shortening were produced by exposure to copper and ascorbic acid. D-Asp-Ala-His-Lys, a copper chelating tetrapeptide D-analog of the N-terminus of human albumin, attenuated DNA strand breaks in a dose dependent manner. The D-tetrapeptide, at a ratio of 4:1 (peptide:Cu), provided complete protection of isolated DNA and, at a ratio of 2:1 (peptide:Cu), completely protected Raji Burkitt cells' DNA exposed to copper/ascorbate. Southern blots of DNA treated with copper/ascorbate showed severe depletion and shortening of telomeres with some conservation of telomere sequences. The D-tetrapeptide provided complete telomere length protection at a ratio of 2:1 (peptide:Cu). While the exact mechanisms for ROS DNA damage have yet to be fully elucidated, D-Asp Ala His Lys inhibited copper-induced DNA double-strand breaks by ROS in both genomic DNA and in the telomere sequence. SPF research-grade fertilized eggs were obtained from Charles River Laboratories (800-772-3721). The eggs were candled to determine the position of the yolk and to mark the air cell with a pencil. Under sterile conditions, a small hole was drilled in the shell using a micro hand drill. The eggs were divided randomly into four groups, six eggs per group: A—no injection; B—100 μl of 7.0 mg/ml the peptide Asp Ala His Lys [SEQ ID NO:1] injected; C—100 μl of 3.5 mg/ml the peptide Asp Ala His Lys [SEQ ID NO:1] injected; and D—100 μl of water injected. Injections were made into the yolk using a 0.5 ml syringe. The eggs were labeled at the time of injection with their group designations using a pencil. The holes in the injected eggs were sealed with candle wax, and the eggs were incubated in a Hova-Bator incubator (obtained from G.Q.F. Mfg. Co., Savannah, Ga.) set to 38° C. and 60-70% humidity (monitored by hygrometer inside incubator) for seven days. The eggs were incubated in trays with the small side down at a 30° angle. The eggs were turned six times per day to allow proper development. The eggs were candled every day for no more than 30 minutes total time out of the incubator, and any vascular development was noted. At the end of the seven-day incubation period, a window was opened in the shell above the air cell using the following technique. The shell was cracked gently above the air cell using forceps. A few flakes of shell were removed with the forceps. The shell above the contents of the egg was removed using a pair of scissors. A drop of saline was placed on the opaque inner membrane. A morphometric analysis of angiogenesis in the chorioallantoic membranes was carried out, and the results are summarized in Table 12 below and were documented by digital photography. Interleukin 8 (IL-8) is a pro-inflammatory cytokine and a potent chemoattractant and activator of neutrophils. It has also been reported to be a chemoattractant and activator of T-lymphocytes and eosinophils. IL-8 is produced by immune cells (including lymphocytes, neutrophils, monocytes and macrophages), fibroblasts and epithelial cells. Reports indicate an important role for IL-8 in the pathogenesis of respiratory viral infections, asthma, bronchitis, emphysema, cystic fibrosis, acute respiratory distress syndrome, sepsis, multiple organ dysfunction syndrome, and other inflammatory disorders. The IL-8 release by Jurkat cells (American Type Culture Collection (ATCC), Rockville, Md.) exposed to copper and ascorbic acid (to produce ROS—see Examples 7, 10 and 11) was investigated. To do so, 1×106Jurkat cells were incubated at 37° C. and 5% CO2in 0.5 ml IMDM medium (ATCC) (serum-free) with insulin transferin selenite solution (ITSS; Sigma) for 24 hours with the following additives. Experiment 1:
Experiment 2:
Experiment 3:
After the 24-hour incubation, supernatants were collected and the concentration of IL-8 in each supernatant was determined by an ELISA using human IL-8 matched pair antibodies (Endogen, Cambridge, Mass.). The ELISA was performed using an ELISA kit from Endogen, Cambridge, Mass. according to the manufacturer's instructions with the following exceptions: (1) coating antibody at 1 μg/ml; (2) detecting antibody 30 ng/ml; StrepAvidin HRP diluted 1:32,000. The results are presented in Coenzyme A (CoA) is essential for acetylation reactions in the body and, as a consequence, plays a critical role in the metabolism of carbohydrates and fatty acids. CoA can be oxidized to a disulfide which cannot participate in acetylation reactions. As a result, metabolism and energy utilization are inhibited. In this example, it was investigated whether Cu(II) could oxidize CoA and, if so, whether the tetrapeptide Asp Ala His Lys [SEQ ID NO:1] (Bowman Research, Inc., United Kingdom) could protect CoA (Sigma) from oxidation by Cu(II). The experimental setup and results are presented in Table 13 below. All of the ingredients were added simultaneously and, after a 15-minute incubation, absorbance at 412 nm (A412) was measured. Free thiol groups were measured using DTNB. DTNB is dithionitrobenzoic acid (Sigma). As can be seen from Table 13, Cu(II) oxidized CoA. As can also be seen, the tetrapeptide at a 1:1 tetrapeptide:Cu(II) ratio provided some protection of CoA, and the tetrapeptide at a 2:1 tetrapeptide:Cu(II) ratio provided 100% protection.CROSS REFERENCE TO RELATED APPLICATIONS
FIELD OF THE INVENTION
BACKGROUND
SUMMARY OF THE INVENTION
BRIEF DESCRIPTION OF THE DRAWINGS
DETAILED DESCRIPTION OF THE PRESENTLY-PREFERRED EMBODIMENTS
Met Xaa4 Met, Met Xaa4 Xaa4 Met, Cys Cys, Cys Xaa4 Cys, Cys Xaa4 Xaa4 Cys, Met Xaa4 Cys Xaa4 Xaa4 Cys, Gly Met Xaa4 Cys Xaa4 Xaa4 Cys, [SEQ ID NO: 7] Gly Met Thr Cys Xaa4 Xaa4 Cys, [SEQ ID NO: 8] and Gly Met Thr Cys Ala Asn Cys, [SEQ ID NO: 9]
wherein Xaa4is defined above. Glutathione (γ-Glu Cys Gly) is also known to bind Cu(I). Additional Cu(I)-binding peptide sequences can be identified using a metallopeptide combinatorial library as described in, e.g., PCT application WO 00/36136. Preferably, the Cu(I)-binding peptide comprises the sequence Cys Xaa4Xaa4Cys (e.g., Gly Met Xaa4Cys Xaa4Xaa4Cys [SEQ ID NO:7], more preferably Gly Met Thr Cys Xaa4Xaa4Cys [SEQ ID NO:8], most preferably Gly Met Thr Cys Ala Asn Cys [SEQ ID NO:9]).
P3-L-P3.EXAMPLES
Example 1
Synthesis of Tetrapeptide Asp Ala His Lys [SEQ ID NO:1]
Example 2
Preparation of Cyclohexanediamine
Derivative of Asp Ala His Lys [SEQ ID NO:1]
Example 3
Preparation of Tetrapeptide Tetracetic Acid
Example 4
Preparation of Mesoporphyrin IX Tetrapeptide
Example 5
Preparation of Tetrabispiridylethyl Tetrapeptide
Example 6
Preparation of Aryl Derivative of Asp Ala His Lys [SEQ ID NO:1]
Example 7
Inhibition of the Generation of ROS
Control 0.1 2.0 0.0 0.124 Tetrapeptide 0.1 2.0 0.12 0.077 38 Control 0.1 2.0 0.0 0.175 Tetrapeptide 0.1 2.0 0.2 0.048 73 1:0 10 500 0 0.767 4:1 10 500 2.5 0.751 2:1 10 500 5 0.743 1:1 10 500 10 0.751 4:5 10 500 12.5 0.789 2:3 10 500 15 0.774 4:7 10 500 17.5 0.737 1:2 10 500 20 0.029 96.2 1:4 10 500 40 0.016 97.9 Example 8
Testing of Asp Ala His Lys D-Tetrapeptide
Composition of the blood perfusing the isolated donor hearts Value prior to attaching donor heart End of experiment Index Saline Control Drug* Saline Control Drug* pH 7.29 ± 0.01 7.26 ± 0.01 7.33 ± 0.02 7.31 ± 0.02 pCO2(mmHg) 60.0 ± 3.2 67.7 ± 2.2 57.6 ± 4.9 65.6 ± 4.7 pO2(mmHg) 230.6 ± 14.8 281.7 ± 23.2 241.0 ± 37.2 252.3 ± 33.9 Haematocrit 27.5 ± 0.9 27.3 ± 1.8 26.8 ± 1.7 27.0 ± 1.5 (%) Na*(mmol/L) 146.7 ± 0.3 146.2 ± 0.6 145.7 ± 0.2 146.2 ± 0.5 K*(mmol/L) 3.3 ± 0.1 3.2 ± 0.1 4.2 ± 0.2 4.2 ± 0.1 Ca2+ 1.2 ± 0.1 1.2 ± 0.1 1.4 ± 0.1 1.4 ± 0.1 (mmol/L) Glucose 8.9 ± 0.6 10.2 ± 0.3 10.2 ± 0.5 10.2 ± 0.7 (mmol/L) % oxygen 99.6 ± 0.1 99.8 ± 0.1 98.7 ± 1.2 99.7 ± 0.1 saturation There were 4-6 support animals per group. All values are expressed as mean ± SEM. *Drug was D-Asp D-Ala D-His D-Lys. Baseline systolic pressure and heart rate in the support blood-perfused rat Subsequent Treatment Control values (t = 15 min aerobic perfusion) Group Systolic Pressure (mmHg) Heart Rate (bpm) Saline Control 96.4 ± 2.6 296.6 ± 9.8 Drug* 98.1 ± 3.8 297.6 ± 8.7 All values are expressed as mean ± SEM. There were 6 support animals per group. *Drug was D-Asp D-Ala D-His D-Lys. Baseline left ventricular developed pressure (LVDP), heart rate and perfusion pressure in isolated blood- perfused rat hearts before various interventions Control values (t = 20 min aerobic perfusion) Subsequent Heart Rate Perfusion Pressure Treatment Group LVDP (mmHg) (bpm) (mmHg) Saline Control 177.3 ± 10.6 236.6 ± 17.9 94.6 ± 7.5 Drug* 177.2 ± 5.6 257.3 ± 29.7 99.6 ± 7.3 All values are expressed as mean ± SEM. There were 6 support animals per group. *Drug was D-Asp D-Ala D-His D-Lys. Ischemic contracture during 30 min of global, zero flow ischaemia Contracture Initiation Time-to-50% Peak Time-to-peak Group (min) (min) (mmHg) (min) Saline Control 9.2 ± 1.6 15.1 ± 0.5 93.7 ± 3.0 19.8 ± 0.6 Drug* 11.9 ± 1.7 16.5 ± 0.9 89.5 ± 3.0 21.7 ± 1.2 All values are expressed as the mean ± SEM. There were 6 hearts per group. *Drug was D-Asp D-Ala D-His D-Lys. Example 9
Testing of Asp Ala His Lys In A Brain Ischemia Model
Infarct Volume Treated* Control Infarct Volume Infarct Volume Animal (mm3) Animal (mm3) #1 11.5 #2 44.5 #3 14.7 #4 32.3 #5 43.3 #6 39.4 #7 10.9 #8 22.2 Mean 20.1 Mean 34.6 S.E.M. 7.7 S.E.M. 4.8 *Treated with D-Asp D-Ala D-His D-Lys Neurological Scale Treated* Control Animal Day 0a Day 1b Animal Day 0a Day 1b #1 2 1 #2 2 2 #3 2 1 #4 2 2 #5 2 2 #6 2 2 #7 2 1 #8 2 2 aDay of ischemia surgery bOne day after ischemia surgery *Treated with D-Asp D-Ala D-His D-Lys Body Weight Treated* Control Animal Day 0a Day 1b Animal Day 0a Day 1b #1 300 272 #2 300 251 #3 300 266 #4 300 256 #5 295 256 #6 278 230 #7 295 255 #8 300 250 *Treated with D-Asp D-Ala D-His D-Lys aDay of ischemia surgery bOne day after ischemia surgery Blood Gases And Blood Pressure Animal pH pCO2 pO2 BPc 10 minutes before MCA occlusion #1 7.437 38.5 117.1 96 #3 7.430 38.3 110.5 89 #5 7.518 38.5 147.0 98 #7 7.423 33.4 97.4 86 #2 7.401 35.5 120.1 90 #4 7.440 38.5 121.1 93 #6 7.425 35.9 110.0 88 #8 7.417 39.5 120.7 90 10 minutes after MCA occlusion #1 7.422 40.2 130.1 106 #3 7.423 40.1 130.1 98 #5 7.471 36.5 105.3 92 #7 7.433 34.0 139.9 89 #2 7.423 40.1 130.1 103 #4 7.421 39.5 129.3 101 #6 7.453 36.2 105.3 92 #8 7.428 36.9 111.0 93 Example 10
Inhibition of the Generation of ROS
Ascorbate+2Cu2+→2Cu++dehydroascorbate+2H+ (Eq. 1)
Cu++O2→O2•−+Cu2+ (Eq. 2)
Cu++O2•−+2H+→Cu2++H2O2 (Eq. 3)
Cu++H2O2→OH−+OH•+Cu2+ (Eq. 4)Copper only 0.767* 0.954 0 (buffer control) Histindine/copper (2:1) 0.760 20.3 His Lys Ser Glu Val 0.716 24.9 Ala His Arg Phe Lysb/copper (1:1) His Lys Ser Glu Val 0.509 46.6 Ala His Arg Phe Lysb/copper (2:1) Ala His Lys Ser Glu 0.843 11.6 Val Ala His Arg Phe Lysc/copper (1:1) Ala His Lys Ser Glu 0.047 95.1 Val Ala His Arg Phe Lysc/copper (2:1) Asp Ala His Lys Ser 0.645 13.2 Glu Val Ala His Arg Phe Lysd/copper (1:1) Asp Ala His Lys Ser 0.040 95.8 Glu Val Ala His kg Phe Lysd/copper (2:1) Ac-Asp Ala His Lys 0.633 16.9 Ser Glu Val Ala His Arg Phe Lyse/copper (1:1) Ac-Asp Ala His Lys 0.692 27.5 Ser Glu Val Ala His Arg Phe Lyse/copper (2:1) Asp Ala His Lysf/copper 0.751* 1.3 (1:1) Asp Ala His Lysf/copper 0.029* 96.2 (2:1) aAll amino acids are L-amino acids. bSEQ ID NO: 5 aSEQ ID NO: 4 dSEQ ID NO: 3 eSEQ ID NO: 6 fSEQ ID NO: 1 *Data taken from Table 2 in Example 7.
O2→O2•−→H2O2→OH• (Eq. 5).Example 11
Reduction of the Damage Done to DNA by ROS
Cu++H2O2→Cu+OOH+H+Example 12
Inhibition of Angiogenesis
A 6 4 B 6 2 C 6 1 D 6 5
Nine of the twelve eggs injected with the peptide (groups B and C) did not develop a vascular system, whereas only three of twelve control eggs (groups A and D) failed to develop a vascular system. Statistical analysis of control eggs (groups A and D) versus treated eggs (groups B and C) showed that the difference in vascular development was statistically significant.
Example 13
Inhibition of IL-8 Release
Example 14
Inhibition of Oxidation of CoA
Asp Ala 50 μl 50 μl 50 μl 50 μl 50 μl His Lys (190 μM) (190 μM) (190 μM) (190 μM) (190 μM) (2 mM) CoA 50 μl 50 μl 50 μl 50 μl 50 μl (2 mM) (190 μM) (190 μM) (190 μM) (190 μM) (190 μM) CuCl2 100 μl 100 μl 100 μl 50 μl (1 mM) (190 μM) (190 μM) (190 μM) (85 μM) Tris 200 μl 300 μl 250 μl 350 μl 350 μl 250 μl 250 μl buffer, 50 mM, pH 8.0 DTNB 125 μl 125 μl 125 μl 125 μl 125 μl 125 μl 125 μl (3 mM) A412 0.279 1.119 0.127 0.888 0.142 0.113 1.111