заявка
№ US 20110027071
МПК F04D29/22

MULTI-STAGE INDUCER FOR CENTRIFUGAL PUMPS

Авторы:
Christopher D. Finley
Правообладатель:
Номер заявки
12849729
Дата подачи заявки
03.08.2010
Опубликовано
03.02.2011
Страна
US
Как управлять
интеллектуальной собственностью
Чертежи 
3
Реферат

[0000]

An inducer assembly comprising at least two sets of rotating and non-rotating helical inducer vanes. As the fluid enters the inducer, the fluid moves up through a first set of rotating vanes, and gains rotational momentum. The fluid then enters a second set of non-rotating vanes that use the rotational momentum of the fluid to progress the fluid forward while removing the rotation and consequently decreasing the net positive suction head required. The inducer is positioned at the inlet of a cryogenic centrifugal pump. Embodiments of the cryogenic centrifugal pump use a vertical rotational axis and include a thrust equalizing mechanism device to balance hydraulic thrust.

[00000]

Формула изобретения

1. An inducer assembly for use on a pump inlet of a cryogenic centrifugal pump operating within a vessel containing a cryogenic fluid, comprising:

a housing including an inlet, an outlet and an exterior housing having an interior wall;

a shaft with a vertical rotational axis, having an outer surface, and having a thrust load balanced by a thrust equalizing mechanism device;

at least two rotating helical blades affixed to the shaft that spiral in a first direction about the vertical rotational axis of the shaft, the at least two rotating helical blades occupying at least two first annular spaces formed between the interior wall and the outer surface, the at least two rotating helical blades rotating within the interior wall; and

at least two non-rotating helical blades in axial alignment with the shaft that spiral in a second direction that is in counter rotation to the first direction, the at least two non-rotating helical blades occupying at least two second annular spaces formed between the interior wall and the outer surface, the at least two non-rotating helical blades affixed to the interior wall, wherein interaction between the at least two rotating helical blades and the at least two non-rotating helical blades lowers a net positive suction head required of the cryogenic centrifugal pump and allows more of the cryogenic fluid to be removed from the vessel without allowing cavitation to occur within the pump.

2. The inducer assembly as recited in claim 1, wherein a first rotating helical blade among the at least two rotating helical blades is affixed to the shaft near the inlet, and a first non-rotating helical blade among the at least two non-rotating helical blades is positioned along the vertical rotational axis next to the first rotating helical blade.

3. The inducer assembly as recited in claim 1, wherein the at least two rotating helical blades and the at least two non-rotating helical blades alternate axial positions within the housing.

4. The inducer assembly as recited in claim 1, wherein the at least two rotating helical blades have a first rotating blade pitch and the at least two non-rotating helical blades have a first non-rotating blade pitch, the first rotating blade pitch being dissimilar to the first non-rotating blade pitch.

5. The inducer assembly as recited in claim 1, wherein the at least two rotating helical blades have a first rotating blade width and the at least two non-rotating helical blades have a first non-rotating blade width, the first rotating blade width being dissimilar to the first non-rotating blade width.

6. The inducer assembly as recited in claim 1, wherein the at least two rotating helical blades have a first number of rotating blades and the at least two non-rotating helical blades have a first number of non-rotating blades, the first number of rotating blades being dissimilar to the first number of non-rotating blades.

7. The inducer assembly as recited in claim 1, wherein a rotating helical blade of the at least two rotating helical blades and a non-rotating helical blade of the at least two non-rotating helical blades form a stage, and wherein a plurality of stages are positioned between the inlet and the outlet.

8. The inducer assembly as recited in claim 1, wherein the at least two non-rotating helical blades are positioned around but are not affixed to the shaft.

9. The inducer assembly as recited in claim 1, wherein the at least two non-rotating helical blades are formed from the interior wall.

10. A cryogenic centrifugal pump with a vertical rotational axis operating within a vessel containing a cryogenic fluid, comprising:

a motor shaft mounted on one or more first bearings in a motor housing, the motor shaft supporting a motor and rotating around the vertical rotational axis;

a pump shaft mounted on one or more second bearings in a pump housing, the pump shaft rotating around the vertical rotational axis, the motor shaft driving the pump shaft;

a thrust equalizing mechanism device balancing a thrust load of the pump shaft;

an impeller transferring a rotational energy from the pump shaft to the cryogenic fluid flowing through the cryogenic centrifugal pump; and

an inducer assembly positioned at a pump inlet lowering a net positive suction head required of the cryogenic centrifugal pump and allowing more of the cryogenic fluid to be removed from the vessel without allowing cavitation to occur within the cryogenic centrifugal pump, the inducer assembly including

an inducer housing including an inlet, an outlet and an exterior inducer housing having an interior wall,

at least two rotating helical blades affixed to the pump shaft that spiral in a first direction about the vertical rotational axis of the pump shaft, the at least two rotating helical blades occupying at least two first annular spaces formed between the interior wall and an outer surface of the pump shaft, the at least two rotating helical blades rotating within the interior wall, and

at least two non-rotating helical blades in axial alignment with the pump shaft that spiral in a second direction that is in counter rotation to the first direction, the at least two non-rotating helical blades occupying at least two second annular spaces formed between the interior wall and the outer surface, the at least two non-rotating helical blades affixed to the interior wall.

11. The cryogenic centrifugal pump as recited in claim 10, further comprising a magnetic coupling with two matching rotating parts, a first rotating part mounted on the motor shaft and a second rotating part mounted on the pump shaft next to each other and separated by a non-rotating membrane, the motor shaft rotating the first rotating part and transferring rotational power to the second rotating part through the magnetic coupling.

12. The cryogenic centrifugal pump as recited in claim 10, wherein a first rotating helical blade among the at least two rotating helical blades is affixed to the pump shaft near the inlet, and a first non-rotating helical blade among the at least two non-rotating helical blades is positioned along the vertical rotational axis next to the first rotating helical blade.

13. The cryogenic centrifugal pump as recited in claim 10, wherein the at least two rotating helical blades and the at least two non-rotating helical blades alternate axial positions within the inducer housing.

14. The cryogenic centrifugal pump as recited in claim 10, wherein the at least two rotating helical blades have a first rotating blade pitch and the at least two non-rotating helical blades have a first non-rotating blade pitch, the first rotating blade pitch being dissimilar to the first non-rotating blade pitch.

15. The cryogenic centrifugal pump as recited in claim 10, wherein the at least two rotating helical blades have a first rotating blade width and the at least two non-rotating helical blades have a first non-rotating blade width, the first rotating blade width being dissimilar to the first non-rotating blade width.

16. The cryogenic centrifugal pump as recited in claim 10, wherein the at least two rotating helical blades have a first number of rotating blades and the at least two non-rotating helical blades have a first number of non-rotating blades, the first number of rotating blades being dissimilar to the first number of non-rotating blades.

17. The cryogenic centrifugal pump as recited in claim 10, wherein a rotating helical blade of the at least two rotating helical blades and a non-rotating helical blade of the at least two non-rotating helical blades form a stage, and wherein a plurality of stages are positioned between the inlet and the outlet.

18. The cryogenic centrifugal pump as recited in claim 10, wherein the at least two non-rotating helical blades are positioned around but are not affixed to the pump shaft.

19. The cryogenic centrifugal pump as recited in claim 10, wherein the at least two non-rotating helical blades are formed from the interior wall.

Описание

CROSS-REFERENCES TO RELATED APPLICATIONS

[0001]

This application claims priority from provisional patent application Ser. No. 61/273,377, filed Aug. 3, 2009, which is hereby incorporated herein by reference in its entirety to be considered part of this specification.

BRIEF DESCRIPTION OF THE INVENTION

[0002]

An inducer comprising at least two sets of rotating and non-rotating helical inducer vanes. As the fluid enters the inducer, the fluid moves up through a first set of rotating vanes, and gains rotational momentum. The fluid then enters a second set of non-rotating vanes that use the rotational momentum of the fluid to progress the fluid forward while removing the rotation, which consequently decreases the net positive suction head required. The inducer is positioned at the inlet of a cryogenic centrifugal pump. Embodiments of the cryogenic centrifugal pump use a vertical rotational axis and include a thrust equalizing mechanism device to balance hydraulic thrust.

STATEMENTS AS TO THE RIGHTS TO INVENTIONS MADE UNDER FEDERALLY SPONSORED RESEARCH OR DEVELOPMENT

[0003]

Not applicable.

REFERENCE TO A “SEQUENCE LISTING,” A TABLE, OR A COMPUTER PROGRAM LISTING APPENDIX SUBMITTED ON A COMPACT DISK.

[0004]

Not applicable.

BACKGROUND OF THE INVENTION

[0005]

A common problem with spiral inducers used within centrifugal pumps and similar devices is that the fluid in the tank in which the centrifugal pump is installed will begin to rotate in the same direction as, and along with, the inducer blades. When this occurs, the fluid does not move up through the inducer as efficiently. This phenomenon can also result in a change in pressure near the inlet of the inducer and increase the amount of net positive suction head (NPSH) required to make the pump continue to work efficiently or properly.

[0006]

When the pressure of a liquid, such as a cryogenic fluid, falls below the vapor pressure, vapor bubbles will form in the fluid. As this liquid-vapor fluid combination is pumped through a machine, such as an inducer, impeller or pump, the fluid pressure increases. If the fluid pressure increases above the vapor pressure, the vapor bubbles in the fluid will collapse, which is called “cavitation.” It is desirable to prevent cavitation in devices because the collapsing bubbles can generate shock waves that are strong enough to damage moving parts around them. In addition, cavitation causes noise, vibration, and erosion of material from the device. Thus, the service life of a pump can be shortened due to cavitation.

[0007]

However, it is desirable, when pumping cryogenic fluid from a tank to get the fluid pressure as close to the vapor pressure as possible, in order to pump more fluid from the tank. In other words, it is desirable for the net positive suction head available (NPSHA) in the tank to be greater than the net positive suction head required (NPSHR) of the pump. NPSHA is a function of the system in which the pump operates, such as the pressure of the fluid within a containment vessel, such as a tank, before it enters the inducer at the inlet of the pump, and the liquid depth of the vessel or tank housing the pump, among other factors.

[0008]

Inducers are used in cryogenic systems, including storage tanks, rocket fuel pump feed systems, and other similar uses. Inducers are used in such systems to prevent the fluid being moved from cavitating in the impeller or pump, which can occur when there is not enough pressure to keep the liquid from vaporizing. Non-cavitating inducers are used to pressurize the flow of the fluid sufficient to enable the devices to which the inducer is attached to operate efficiently. An excellent discussion of the fluid dynamic properties of inducers is provided by B. Lakshminarayana, Fluid Dynamics of Inducers—A Review, Transactions of the ASME Journal of Fluids Engineering, December 1982, Vol. 104, Pages 411-427, which is incorporated herein by reference.

[0009]

The techniques used to improve pump performance relative to the operation of inducers vary significantly. For example, Nguyen Duc et al., U.S. Pat. No. 6,220,816, issued Apr. 24, 2001, describes a device for transferring fluid between two different stages of a centrifugal pump through use of a stator assembly that slows down fluid leaving one impeller before entering a second impeller. A different technique is used in Morrison et al., U.S. Pat. No. 6,116,338, issued Sep. 12, 2000, which discloses a design for an inducer that is used to push highly viscous fluids into a centrifugal pump. In Morrison et al., an attempt is made to resolve the problem of fluids rotating with the inducer blades by creating a very tight clearance between the blades of the auger of the inducer and the inducer housing, and configuring the auger blades in such a way as to increase pressure as fluid moves through the device to the pump.

[0010]

While grooves have been used in inducer designs in the past, they have not been used to help efficiently move the fluid through the inducer. For example, in Knopfel et al., U.S. Pat. No. 4,019,829, issued Apr. 26, 1977, an inducer is illustrated that has a circumferential groove around a hub at the front of the inducer. This design causes turbulence to develop within the grooves of the inducer hub rather than in the fluid outside of the grooves, thereby reducing the tendency of the fluid to pulsate and generate noise.

[0011]

Grooves are also illustrated and described in Okamura et al., An Improvement of Performance-Curve Instability in a Mixed-Flow Pump by J-Grooves, Proceedings of 2001 ASME Fluids Engineering Division, Summer meeting (FEDSM '01), May 29-Jun. 1, 2001, New Orleans, La. In Okamura et al., a series of annular grooves are formed on the inner casing wall of a mixed-flow water pump to suppress inlet flow swirl and therefore passively control the stability performance of the pump. In particular, the J-grooves of Okamura et al. reduce the onset of back flow vortex cavitation and rotating cavitation that can be induced by the flow swirl at the inlet of the inducer.

[0012]

Okamura et al. acknowledge, however, that increasing the specific speed of mixed-flow pumps has a tendency to make their performance curves unstable and to cause a big hump at low capacities, thus it is stated that it is doubtful that the illustrated technique would be effective for higher specific-speed (i.e., higher flow rate) pumps.

[0013]

Contra-rotating blade rows on or around a horizontal shaft have been used for marine applications, specifically for propulsion of marine vessels. The goal in marine vessels is to improve aerodynamics and power generation. Most importantly, marine vessels generate and use high thrust forces in order to drive the marine vessels. Thus, maximizing thrust forces allows for faster and more powerful marine vessels.

BRIEF DESCRIPTION OF THE SEVERAL VIEWS OF THE DRAWING

[0014]

FIG. 1 is a partially broken, cross-sectional, perspective view of a multi-stage inducer in accordance with an embodiment;

[0015]

FIG. 2 is a partially broken, cross-sectional view of the multi-stage inducer from the perspective of the bottom of the inducer in accordance with an embodiment; and

[0016]

FIG. 3 is a cross-sectional view of a cryogenic centrifugal pump with a vertical rotational axis and including a multi-stage inducer in accordance with an embodiment.

DETAILED DESCRIPTION OF THE INVENTION

[0017]

An embodiment is directed to inducers, and more particularly to an inducer that incorporates sets of rotating helical inducer vanes and sets of non-rotating helical inducer vanes. A first set of rotating vanes move the fluid up along the vanes. The sets of helical vanes are set in alternating stages, with a rotating inducer vane stage followed by a non-rotating inducer vane stage, and so on. The number of stages used before the fluid leaves the inducer and enters the impeller, or some other structure, can be varied depending upon the fluid and the process conditions, such as the structure size, but should include at least two sets. Embodiments of the multi-state inducer can be positioned at the inlet of a cryogenic centrifugal pump. Alternative embodiments can be positioned at the inlet of a cryogenic centrifugal pump with a vertical rotational axis and a thrust equalizing mechanism device.

[0018]

The fluid gains rotational momentum as a result of passing through the rotating vanes. Such rotational momentum can be detrimental to the net positive suction head (NPSH) if the fluid fails to actually move up through the inducer due to its rotation momentum. A set of non-rotating vanes is used to counter the rotational momentum gained by the fluid. The non-rotating vanes use the rotational momentum of the fluid to progress the fluid forward while removing the rotational momentum of the fluid, thereby increasing the NPSH. Embodiments of the present invention keep the NPSHR of the pump lower and provide a smooth and constant increase in fluid pressure, which makes the pump more efficient because it is capable of removing more fluid from the tank.

[0019]

FIG. 1 is an embodiment of an inducer assembly 10 including rotating blades or vanes 12 and non-rotating blades or vanes 14 within the space formed within the inducer assembly 10. The rotating blades 12 are mounted on a shaft 16 and rotate within the interior space formed by the outer inducer housing 18. The non-rotating blades 14 are in axial alignment with the shaft 16 and can slide up a shaft sleeve (not shown) of the shaft 16 and then be fixed to a circular interior wall 20 of the outer inducer housing 18 to keep the non-rotating blades from rotating as the shaft 16 rotates. In an alternative embodiment, the non-rotating 14 blades are in axial alignment with the shaft, but are machined or formed into the circular interior wall 20, rather than sliding onto the shaft 16 or onto the shaft sleeve.

[0020]

The substantially bell-shaped inlet 22 to the inducer 10 is raised off of the bottom surface of a tank or other structure (not shown) by the feet 24 so fluid (not shown) in the tank or structure can enter and be funneled toward the inducer 10 and be moved up into another device mounted above the inducer 10, such as an impeller.

[0021]

The rotating blades 12 of FIG. 1 are helical structures that spiral in a first direction, in this case around the vertical rotational axis of the shaft 14, and occupy a first annular space within a first portion of the inducer housing between the outer surface of the shaft 16 and the interior wall 20 of the outer inducer housing 18. The non-rotating blades 14 are helical structures that spiral in a second direction that is counter rotation to the first direction of the rotating blades 12, and occupy a second annular space along a second portion of the inducer housing. FIG. 1 illustrates a first stage consisting of rotating blades 12 that spiral in the first direction. The second stage consists of non-rotating blades 14 spiraling in the second direction. The third stage consists of rotating blades 12 spiraling in the first direction, occupying a third annular space along a third portion of the inducer housing, followed by the last stage of non-rotating blades 14 spiraling in the second direction, etc.

[0022]

Alternative embodiments may have a different number of stages. For example, a first embodiment may consist of two stages: a rotating blade 12 stage near the inlet, and a non-rotating blade 14 stage on top of the rotating blade 12 stage, near the impeller or other structure. A second embodiment may consist of three stages: a rotating blade 12 stage near the inlet, a non-rotating blade 14 stage on top of the rotating blade 12 stage, and a second rotating blade 12 stage on top of the non-rotating blade 14 stage. Any other number of two or more rotating and non-rotating stages may also be used. Ideally the rotating and non-rotating stages alternate, enabling the non-rotating blade 14 stages to remove the rotational momentum of the fluid. However, as has been described above, a multi-stage inducer 10 may have either a rotating blade 12 stage or a non-rotating blade 14 stage as the last stage before the fluid leaves the inducer 10.

[0023]

The width of the rotating blades 12 and the width of the non-rotating blades 14 can be different, with the difference depending upon the fluid or structure and the process conditions. For example, the first stage may consist of rotating blades 12 with a first width, followed by non-rotating blades 14 with a second width. The blade width of rotating blades 12 can also vary across stages. For example, if there are a total of four stages, consisting of two rotating blade 12 stages and two non-rotating blade 14 stages, then the first rotating blade 12 stage may have blades with a different width than the second rotating blade 12 stage. Similarly, the first non-rotating blade 14 stage may have blades with a different width than the second non-rotating blade 14 stage.

[0024]

An alternative embodiment has a rotating blade 12 that has a different pitch from the pitch of the non-rotating blade 14. The blade pitch across rotating blade 12 stages can also be varied depending upon the fluid and the process conditions. For example, the blade pitch of a first rotating blade 12 stage can be different than blade pitch of a second rotating blade 12 stage. Similarly, the blade pitch across non-rotating blade 14 stages can be varied. Alternative embodiments may also design the rotating blades 12 differently than the non-rotating blades 14, such as using a different number of blades or having different blade lengths.

[0025]

Accordingly, as noted above, the number of stages used can range from using at least two sets of rotating blade stages followed by non-rotating blade stages, to as many sets and stages as are necessary to produce an NPSHR of the pump that is less than the NPSHA of the tank or structure, which may vary based on the type of fluid being held by the tank, the liquid depth of the tank housing the pump, among other factors. In particular, the non-rotating blades 14 move fluid that is not being propagated up through the inducer 10 by the rotating blades 12 because the fluid is rotating with the blades 12. More efficiently moving the fluid up through the inducer increases the NPSH (head) so, for example, a pump attached to the inducer 10 can pump the fluid to a lower level within the tank or structure and thus increase the capability and efficiency of the pump. The lowest fluid level a tank or structure can be pumped to is related to the point at which NPSHA is equal to or greater than the NPSHR. However, when NPSHA and NPSHR are close to equal, it is likely that vapor bubbles will form, which can lead to cavitation as pressure is increased within the inducer. Stopping vapor bubbles from forming in the fluid, a focus of other inducers, is not a purpose of the combination of the rotating blades 12 and the non-rotating blades 14 described herein, since vapor bubbles can form in any tank when the level of the fluid is pumped to the point where there is not sufficient NPSHA. Rather, embodiments disclosed herein seek to lower the NPSHR of the pump and to increase the efficiency of the pump, or other structure, so that the fluid in the tank or structure can be pumped to a lower level. Embodiments also keep the NPSHR of the pump lower and provide a smooth and constant increase in fluid pressure, which prevents cavitation and makes the pump more efficient because it is capable of removing more fluid from the tank.

[0026]

The stages of the alternating rotating blades 12 and non-rotating blades 14 can extend all of the way into the outlet 26 of the inducer 10. FIG. 2 illustrates a different view of an inducer assembly 40, looking from the bottom of the inducer assembly 40 towards an impeller 28. The inducer assembly 40 is similar to the inducer assembly 10 from FIG. 1, except that inducer assembly 40 illustrates an embodiment with three stages of alternating rotating blades 12 and non-rotating blades 14 instead of four stages. The three stages are a rotating blades 12 stage, followed by a non-rotating blades 14 stage, and ending with a second rotating blades 12 stage. As the fluid leaves the last set of rotating blades 12 and leaves the inducer 40, the fluid enters the impeller 28.

[0027]

Embodiments of at least two rotating blades 12 and at least two non-rotating blades 14 provide a lower suction head than is possible with a single set of alternating rotating blades 12 and non-rotating blades 14. However, using at least two sets of rotating blades 12 and non-rotating blades 14 increases the design complexity and the complexity of assembly. It also significantly increases the possibility for the pump to be damaged if any torque or other motion of the shaft of the pump causes a set of rotating blades to contact a set of non-rotation blades.

[0028]

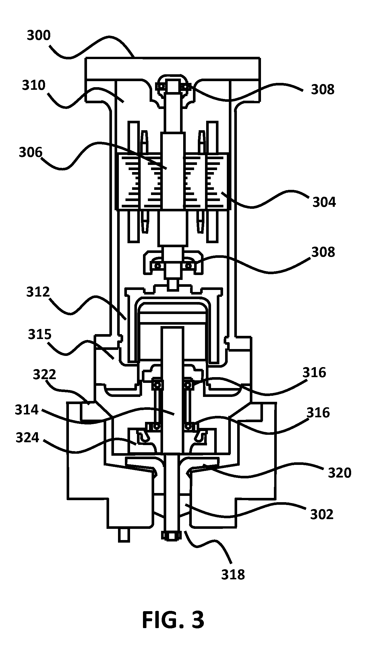
FIG. 3 illustrates a submerged, magnetically coupled cryogenic centrifugal pump 300, with the pump 300 including an inducer 302 with alternating stages of rotating blades and non-rotating blades in accordance with an embodiment. Embodiments of the inducer 302 decrease the net positive suction head required of the pump 300. In contrast to other types of centrifugal pumps with a horizontal rotational axis, the pump 300 is an example of a cryogenic centrifugal pump with a vertical rotational axis, which is important relative to the management and control of the movement of the shaft, as described below.

[0029]

The pump 300 includes a motor 304 mounted on a motor shaft 306. The motor shaft 306 is supported by dry side ball bearings 308. The pump embodiment illustrated in FIG. 3 has the motor housing 310 purged with nitrogen to remove all oxygen, to keep the spaces on the motor housing 310 inert and free from moisture, and to maintain the proper pressure balance on both sides of the magnetic coupling 312. Other mostly inert gases or fluids can also be used instead of nitrogen. The motor 304 causes the motor shaft 306 to turn. The turning of the motor shaft 306 causes a magnetic difference in the magnetic coupling 312, with the magnetic coupling 312 transferring the power from the motor shaft 306 to the pump shaft 314. The pump shaft 314 is housed within a pump housing 315 and is supported by wet side ball bearings 316. Fluid enters the pump 300 through the inlet flow 318 at the bottom of the pump 300. The fluid then goes through the various stages of inducer 302 and impeller 320.

[0030]

The pump shaft 314 transfers the rotational power to the inducer 302 and the impeller 320. The impeller 320 increases the pressure and flow of the fluid being pumped. After the fluid goes through the impeller 320, the fluid exits through the discharge flow path 322.

[0031]

The magnetic coupling 312 consists of two matching rotating parts, one rotating part mounted on the motor shaft 306 and one rotating part mounted on the pump shaft 314 next to each other and separated by a non-rotating membrane mounted to the motor housing 310. In alternative embodiments, the non-rotating membrane can be mounted to the pump housing 315. The operation of a magnetic coupling is known in the art.

[0032]

While the pump 300 is illustrated having a magnetic coupling 312, embodiments are not limited to pumps with a magnetic coupling 312. Other means for transferring the rotational energy from the motor shaft 306 to the pump shaft 314 are within the scope of embodiments. Similarly, embodiments are not limited to pumps with a motor shaft 306 and a pump shaft 314. Alternative embodiments can consist of a pump with a single shaft or with more than two shafts.

[0033]

The pump 300 uses a Thrust Equalizing Mechanism (TEM) device 324 for balancing hydraulic thrust. The TEM device 324 ensures that the wet side ball bearings 316 are not subjected to axial loads within the normal operating range of the pump 300. The wet side ball bearings 316 are lubricated with the fluid being pumped. When using the fluid being pumped for lubrication, it is imperative that the axial thrust loads are balanced to prevent vaporization of the fluid in the bearings, thereby ensuring reliability. Axial force along the pump shaft is produced by unbalanced pressure, dead-weight and liquid directional change. Self adjustment by the TEM device 324 allows the wet side (product-lubricated) ball bearings 316 to operate at near-zero thrust load over the entire usable capacity range for expanding. This consequently increases the reliability of the bearings. The TEM device 324 also prevents damage to the alternating rotating blades 12 and non-rotating blades 14 due to unbalanced thrust loads. Unbalanced thrust loads can cause the rotating blades 12 to collide against the non-rotating blades 14, causing severe damage to the multi-stage inducer and the pump. Thus, the TEM device 324 increases the reliability of the various components of the pump, including the multi-state inducer, and reduces equipment maintenance requirements. Alternative embodiments of cryogenic pumps may not include the TEM device 324.

[0034]

Embodiments of the multi-state inducer described herein improve on common centrifugal pumps and the use of contra-rotating blade rows in marine vessels in a number of ways. First, embodiments of the multi-stage inducer are directed to cryogenic applications, where the goal is to maintain fluid flow and prevent the cryogenic fluid being pumped from cavitating. Cavitation is prevented or reduced by having a low NPSHR. Reducing cavitation and lower NPSHR in a cryogenic centrifugal pump and maximizing thrust forces to drive a marine vessel are completely different hydraulic goals. In fact, embodiments of cryogenic centrifugal pumps that use the herein disclosed multi-stage inducer balance and counteract high thrust forces rather than maximizing them. Balancing thrust forces is important in embodiments because thrust forces can damage components of the pump and the vessel housing the pump. As discussed above, the TEM device balances the up-thrust generated by the pump impeller by counteracting the unbalanced pressure and resultant axial force across the impeller. Thus, rather than maximizing thrust loads as is typical of marine applications, embodiments of cryogenic pumps equipped with the TEM device balance thrust loads to prevent damage to the pump. Embodiments of cryogenic centrifugal pumps equipped with the multi-stage inducer also use a vertical rotational axis rather than the horizontal axis. It is more difficult to balance and manage thrust loads along a horizontal axis.

[0035]

While a number of embodiments have been illustrated and described herein, along with several alternatives and combinations of various elements, for use in an inducer to a pump, impeller, or some other structure, it is to be understood that the embodiments described herein are not limited to inducers only used with pumps and impellers and can have a multitude of additional uses and applications. Accordingly, the embodiments should not be limited to just the particular descriptions, variations and drawing figures contained in this specification, which merely illustrate a preferred embodiment and several alternative embodiments.

Как компенсировать расходы
на инновационную разработку
Похожие патенты