заявка
№ US 20110021918
МПК A61B8/14

ORGANIC PIEZOELECTRIC MATERIAL FILM, METHOD FOR PRODUCTION OF ORGANIC PIEZOELECTRIC MATERIAL FILM, METHOD FOR PRODUCTION OF ULTRASONIC OSCILLATOR, AND ULTRASONIC MEDICAL IMAGING INSTRUMENT

Авторы:
Kiyokazu Morita
Правообладатель:
Номер заявки
12933866
Дата подачи заявки
03.03.2009
Опубликовано
27.01.2011
Страна
US
Дата приоритета
15.12.2025
Номер приоритета
Страна приоритета
Как управлять
интеллектуальной собственностью
Чертежи 
3
Реферат

[0000]

Disclosed is an organic piezoelectric material film which has little contaminants and has excellent piezoelectric properties. The organic piezoelectric material film is produced by casting a solution of an organic piezoelectric material in an organic solvent and subsequently drying the resulting product. The organic piezoelectric material film has a moisture content of 0.1 mass % or less.

[00000]

Формула изобретения

1. An organic piezoelectric material film produced by a method comprising the step of:

casting a solution of an organic piezoelectric material dissolved in an organic solvent with a solution casting method; and

drying the cast solution,

wherein a content of water contained in the organic piezoelectric material film is 0.1% by mass or less.

2. The organic piezoelectric material film of claim 1, having an electromechanical coupling coefficient of 0.3 or more.

3. A method for producing an ultrasonic oscillator using the organic piezoelectric material film of claim 1, comprising the step of:

applying a polarization treatment to the organic piezoelectric material at one of the moments of:

before providing two electrodes on both surfaces of the organic piezoelectric material;

after providing one of the two electrodes on one of the surfaces of the organic piezoelectric material; and

after providing the two electrodes on the both surfaces of the organic piezoelectric material.

4. The method for producing an ultrasonic oscillator of claim 3, wherein the polarization treatment is a voltage applying treatment or a corona discharge treatment.

5. An ultrasonic medical diagnostic imaging device comprising:

an electric signal generating means;

an ultrasonic probe provided with a plurality of oscillators which emit an ultrasonic wave to a tested subject after receiving the electric signal, and produce a received signal corresponding to a reflected wave from the tested subject; and

an image processing means which produces an image of the tested subject by using the received signal produced by the ultrasonic probe,

wherein the ultrasonic probe is provided with an ultrasonic transmitting oscillator and an ultrasonic receiving oscillator, and at least one of the ultrasonic transmitting oscillator and the ultrasonic receiving oscillator is produced by the method for producing an ultrasonic oscillator of claim 3.

6. A method for producing the organic piezoelectric material film of claim 1 with a solution casting method, comprising the steps of:

casting a solution of an organic piezoelectric material dissolved in an organic solvent; and

drying the cast solution,

wherein a content of water contained in the organic piezoelectric material film is 0.1% by mass or less.

7. A method for producing the organic piezoelectric material film with a solution casting method, comprising the steps of:

preparing a solution of an organic piezoelectric material;

filtering the prepared solution;

forming a film using the filtered solution; and

drying the film,

wherein the drying step is done under an inert gas atmosphere with recovering the solvent which is evaporated.

8. A method for producing an ultrasonic oscillator using the organic piezoelectric material film of claim 2, comprising the step of:

applying a polarization treatment to the organic piezoelectric material at one of the moments of:

before providing two electrodes on both surfaces of the organic piezoelectric material;

after providing one of the two electrodes on one of the surfaces of the organic piezoelectric material; and

after providing the two electrodes on the both surfaces of the organic piezoelectric material.

9. The method for producing an ultrasonic oscillator of claim 8, wherein the polarization treatment is a voltage applying treatment or a corona discharge treatment.

10. An ultrasonic medical diagnostic imaging device comprising:

an electric signal generating means;

an ultrasonic probe provided with a plurality of oscillators which emit an ultrasonic wave to a tested subject after receiving the electric signal, and produce a received signal corresponding to a reflected wave from the tested subject; and

an image processing means which produces an image of the tested subject by using the received signal produced by the ultrasonic probe,

wherein the ultrasonic probe is provided with an ultrasonic transmitting oscillator and an ultrasonic receiving oscillator, and at least one of the ultrasonic transmitting oscillator and the ultrasonic receiving oscillator is produced by the method for producing an ultrasonic oscillator of claim 4.

11. An ultrasonic medical diagnostic imaging device comprising:

an electric signal generating means;

an ultrasonic probe provided with a plurality of oscillators which emit an ultrasonic wave to a tested subject after receiving the electric signal, and produce a received signal corresponding to a reflected wave from the tested subject; and

an image processing means which produces an image of the tested subject by using the received signal produced by the ultrasonic probe,

wherein the ultrasonic probe is provided with an ultrasonic transmitting oscillator and an ultrasonic receiving oscillator, and at least one of the ultrasonic transmitting oscillator and the ultrasonic receiving oscillator is produced by the method for producing an ultrasonic oscillator of claim 8.

12. An ultrasonic medical diagnostic imaging device comprising:

an electric signal generating means;

an ultrasonic probe provided with a plurality of oscillators which emit an ultrasonic wave to a tested subject after receiving the electric signal, and produce a received signal corresponding to a reflected wave from the tested subject; and

an image processing means which produces an image of the tested subject by using the received signal produced by the ultrasonic probe,

wherein the ultrasonic probe is provided with an ultrasonic transmitting oscillator and an ultrasonic receiving oscillator, and at least one of the ultrasonic transmitting oscillator and the ultrasonic receiving oscillator is produced by the method for producing an ultrasonic oscillator of claim 9.

13. A method for producing the organic piezoelectric material film of claim 2 with a solution casting method, comprising the steps of:

casting a solution of an organic piezoelectric material dissolved in an organic solvent; and

drying the cast solution,

wherein a content of water contained in the organic piezoelectric material film is 0.1% by mass or less.

Описание

TECHNICAL FIELD

[0001]

The present invention relates to an organic piezoelectric material film, method for producing the same, and an ultrasonic oscillator and an ultrasonic probe using the same. Specifically, present invention relates to an ultrasonic oscillator suitable for a high frequency and a broadband range, a method for producing the ultrasonic oscillator, an ultrasonic probe and an ultrasonic medical diagnostic imaging device using the same.

BACKGROUND

[0002]

Usually, ultrasonic waves are collectively referred to as sound waves of at least 16,000 Hz and can inspect the interior nondestructively and harmlessly, having thereby been applied to various fields such as defect inspection and disease diagnosis. One of these is an ultrasonic diagnostic system in which the interior of a tested subject is scanned with an ultrasonic wave, and then based on a received signal generated from a reflective wave (echo) of the ultrasonic wave from the interior of the tested subject, an image of the interior state in the tested subject is formed.

[0003]

In such an ultrasonic diagnostic system, an ultrasonic probe to transmit and receive an ultrasonic wave with respect to a tested subject is used. As this ultrasonic probe, an ultrasonic transmitting and receiving element constituted of a oscillator is used in which an ultrasonic wave is generated via mechanical vibration based on a transmitting signal, and a received signal is generated by receiving a reflective signal of the ultrasonic wave generated based on the difference in acoustic impedance within a tested subject.

[0004]

In recent years, a harmonic imaging technology has been studied and developed to form an image of the interior state within a tested subject, not based on a frequency (basic frequency) component of an ultrasonic wave having been transmitted into the tested subject interior from an ultrasonic probe, but based on its harmonic frequency component.

[0005]

Such a harmonic imaging technology has various advantages as follows: (1) the sidelobe level is smaller than the level of a basic frequency component and the S/N ratio (signal to noise ratio) is improved, whereby contrast resolution is enhanced; (2) higher frequency is realized and then beam width becomes narrowed, whereby lateral resolution is enhanced; (3) in a close range, sound pressure is small and also sound pressure variation is minimal, whereby multiple reflection is inhibited; and (4) the attenuation beyond the focus is comparable to that of a basic wave and a larger deep velocity is realized compared with the case of use of a high frequency as the basic wave.

[0006]

For an ultrasonic probe used in such harmonic imaging, a broad frequency band is required ranging from the frequency of a basic wave to the frequency of a harmonic. The frequency range of the low frequency side is used for transmission to transmit the basic wave.

[0007]

In contrast, the frequency range of the high frequency side is used for reception to receive the harmonic (for example, refer to Patent Document 1).

[0008]

The ultrasonic probe disclosed in Patent Document 1 is an ultrasonic probe which is applied to a tested subject to transmit ultrasonic waves into the tested subject and to receive the ultrasonic waves having been returned via reflection within the tested subject. This ultrasonic probe has a first piezoelectric layer containing a plurality of arranged first piezoelectric elements with a predetermined first acoustic impedance to transmit a basic wave having ultrasonic waves of a predetermined central frequency toward the interior of a tested subject and to receive the basic wave among the ultrasonic waves having been returned via reflection within the tested subject.

[0009]

And further it has a second piezoelectric layer containing a plurality of arranged piezoelectric elements with a second acoustic impedance, which is smaller than the first acoustic impedance, to receive a harmonic among the ultrasonic waves having been returned via reflection within the tested subject. Herein, the second piezoelectric layer is entirely layered on the first piezoelectric layer on the side in which this ultrasonic probe is applied to the tested subject. Therefore, the ultrasonic probe can transmit and receive ultrasonic waves in a broad frequency band with such a constitution. For a basic wave in harmonic imaging, a sound wave having as narrow a band width as possible is preferable.

[0010]

As a piezoelectric body playing such a role, a single crystal such as crystal, LiNbO3, LiTaO3, or KNbO3; a thin film such as ZnO or AlN; and a so-called inorganic piezoelectric material obtained by polarization treatment of a fired body such as a Pb(Zr,Ti)O3 based body are widely used.

[0011]

These piezoelectric materials of inorganic materials have features such as high elasticity stiffness and mechanical loss coefficient, as well as high density and dielectric constant. On the other hand, for a piezoelectric element to detect received waves of the high frequency side, sensitivity is required in a broader band width. Therefore, these inorganic materials are unsuitable.

[0012]

As a piezoelectric element suitable in the high frequency and broadband range, an organic piezoelectric material employing an organic polymer substance is known. There have been developed organic piezoelectric materials such as, for example, polyvinylidene fluoride (hereinafter referred to as “PVDF”), polyvinylidene cyanide (hereinafter referred to as “PVDCN”), and a polyurea resin containing a ureine group obtained from a diisocyanate compound such as 4,4′-diphenylmethane diisocyanate (MCI) and a diamine compound such as 4,4′-diaminodiphenylmethane (MDA) (refer to Patent Documents 2-4).

[0013]

These organic piezoelectric materials exhibit excellent processability such as thinner layer formation and larger area formation, being able to produce any appropriate shape and configuration. These materials have features such as small elastic modulus and dielectric constant, producing whereby features enabling high sensitivity detection in view of use as a sensor.

[0014]

However, an organic piezoelectric material has a property of high affinity to water. Therefore, an organic piezoelectric material tends to contain water, and when a content of water contained in the solvent used at the time of production is high, a high content of water will be remained in the produced organic piezoelectric material. The water remained in organic piezoelectric material will affect the properties of organic piezoelectric material. It will cause the problems such as: to give insufficient piezoelectricity because a sufficient electric field cannot be applied at the time of subjecting a polarization treatment to the organic piezoelectric material; and to result in insufficient adhesion property with the electrode formed on the organic piezoelectric material.

[0015]

On the other hand, when an organic piezoelectric material using an organic solvent, it becomes environmentally important to recover the used solvent and to recycle the recovered solvent. However, during the recovery of the solvent, the content of water in the solvent will be increased. This becomes a major problem, with a solvent having a high boiling point and high solubility to water, for example, such as methyl ethyl ketone (MEK), dimethylformamide, N-methylpyrrolidone (NMP) and dimethyl sulfoxide (DMSO).

[0016]

Patent Document 1: Unexamined Japanese Patent Application Publication (hereinafter referred to as JP-A) No. 11-276478

[0017]

Patent Document 2: JP-A No. 6-216422

[0018]

Patent Document 3: JP-A No. 2-284485

[0019]

Patent Document 4: JP-A No. 5-311399

DISCLOSURE OF THE INVENTION

Problems to be Solved by the Invention

[0020]

By the means of the present invention described above, it is possible to provide an organic piezoelectric material film excellent in piezoelectric properties and excellent in thermal resistance. Further it is possible to provide an ultrasonic oscillator and an ultrasonic probe for an ultrasonic medial diagnostic imaging device which can receive high frequency waves with high sensitivity and suitable for harmonic imaging technology by forming an ultrasonic probe employing the aforesaid organic piezoelectric material film.

Means to Solve the Problems

[0021]

The present invention was discovered through investigation about the foreign materials. The followings were found. An organic piezoelectric material film produced by a solution casting method will have a highly deteriorated adhesion property during forming an electrode when the organic piezoelectric material film contains a large amount of water, or a polarization treatment could not fully be performed and sufficient piezoelectric property cannot be achieved. It was found out that the adhesion property of an electrode was improved by controlling a content of water in the film to a fixed amount or less and the piezoelectric ability was also improved.

[0022]

The above-described problems relating to the present invention are resolved by the following means.

  • 1. An organic piezoelectric material film produced by a method comprising the step of:
    • casting a solution of an organic piezoelectric material dissolved in an organic solvent; and drying the cast solution,
    • wherein a content of water contained in the organic piezoelectric material film is 0.1% by mass or less.
  • 2. The organic piezoelectric material film of the foregoing item 1, having an electromechanical coupling coefficient of 0.3 or more.
  • 3. A method for producing an ultrasonic oscillator using the organic piezoelectric material film of the foregoing items 1 or 2, comprising the step of:
    • applying a polarization treatment to the organic piezoelectiic material at one of the moments of:
    • before providing two electrodes on both surfaces of the organic piezoelectric material;
    • after providing one of the two electrodes on one of the surfaces of the organic piezoelectric material; and
    • after providing the two electrodes on the both surfaces of the organic piezoelectric material.
  • 4. The method for producing an ultrasonic oscillator of the foregoing item 3, wherein the polarization treatment is a voltage applying treatment or a corona discharge treatment.
  • 5. An ultrasonic medical diagnostic imaging device comprising:
    • an electric signal generating means;
    • an ultrasonic probe provided with a plurality of oscillators which emit an ultrasonic wave to a tested subject after receiving the electric signal, and produce a received signal corresponding to a reflected wave from the tested subject; and
    • an image processing means which produces an image of the tested subject by using the received signal produced by the ultrasonic probe,
    • wherein the ultrasonic probe is provided with an ultrasonic transmitting oscillator and an ultrasonic receiving oscillator, and at least one of the ultrasonic transmitting oscillator and the ultrasonic receiving oscillator is produced by the method for producing an ultrasonic oscillator of the foregoing items 3 or 4.
  • 6. A method for producing the organic piezoelectric material film of the foregoing items 1 or 2, comprising the steps of:
    • casting a solution of an organic piezoelectric material dissolved in an organic solvent with a solution casting method; and
    • drying the cast solution,
    • wherein a content of water contained in the organic piezoelectric material film is 0.1% by mass or less.
  • 7. A method for producing the organic piezoelectric material film with a solution casting method, comprising the steps of:
    • preparing a solution of an organic piezoelectric material;
    • filtering the prepared solution;
    • forming a film using the filtered solution; and
    • drying the film,
    • wherein the drying step is done under an inert gas atmosphere with recovering the solvent which is evaporated.

Effects of the Invention

[0048]

By the means of the present invention described above, it is possible to provide an organic piezoelectric material film having only a small amount of water in the film, excellent in adhesiveness and excellent in piezoelectric properties, and it is possible to provide a method for producing such film. Further it is possible to provide an ultrasonic oscillator and an ultrasonic probe for an ultrasonic medial diagnostic imaging device which can receive high frequency waves with high sensitivity and suitable for harmonic imaging technology by forming an ultrasonic probe employing the aforesaid organic piezoelectric material film.

BRIEF DESCRIPTION OF THE DRAWINGS

[0049]

FIG. 1 is a process chart showing one example of a production apparatus for the organic piezoelectric material of the present invention;

[0050]

FIG. 2 is a schematic view showing the constitution of the main section of an ultrasonic medial diagnostic imaging device; and

[0051]

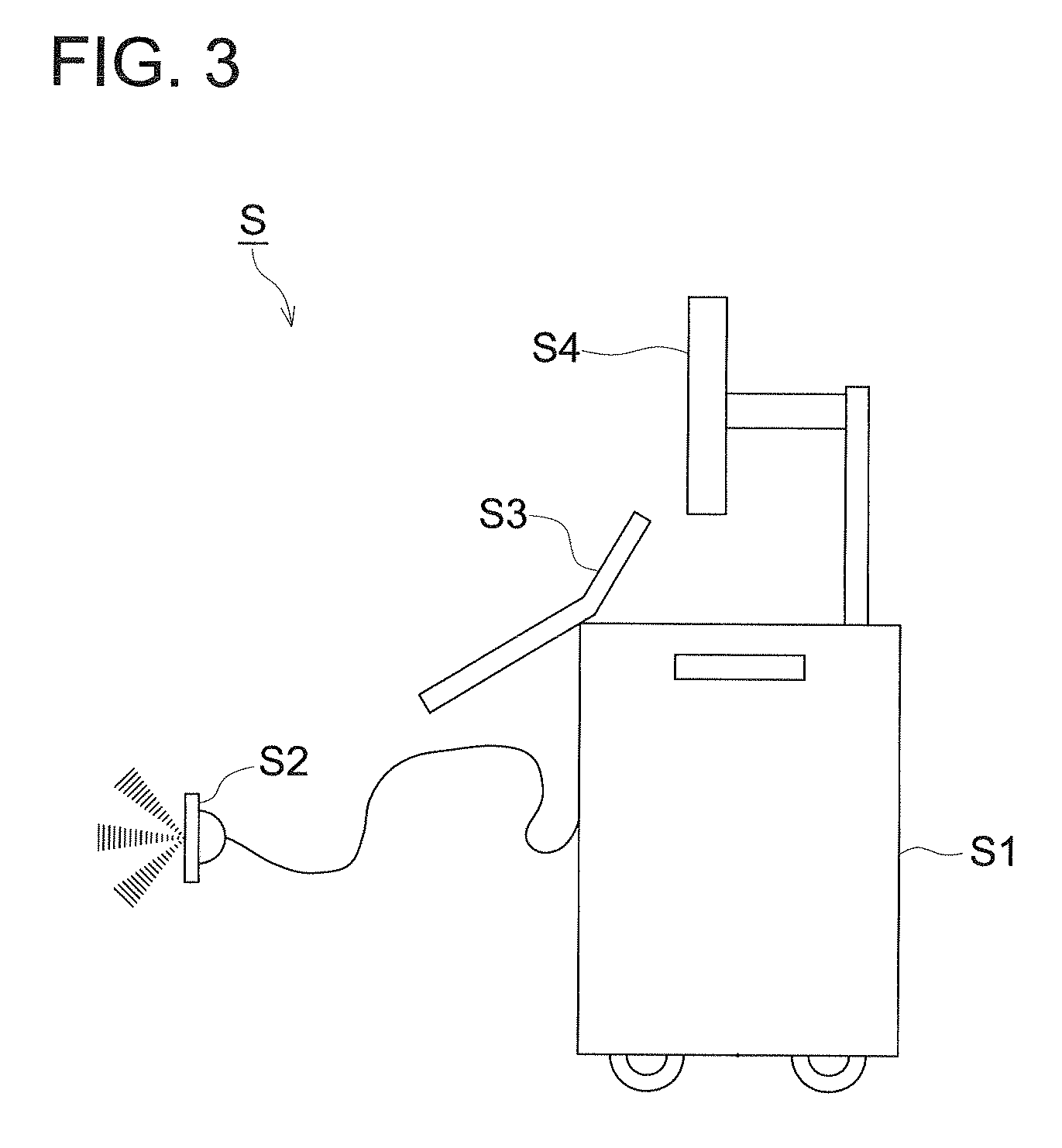
FIG. 3 is an external constitutional view of an ultrasonic medial diagnostic imaging device.

DESCRIPTION OF SYMBOLS

[0052]

1: organic piezoelectric material liquid tank

[0053]

1a: organic piezoelectric material liquid

[0054]

2: particle added liquid tank

[0055]

2a: particle added liquid

[0056]

3: additive liquid tank

[0057]

3a: additive liquid

[0058]

4a, 4b, 4c, and 4d: pumps

[0059]

5a and 5b: in-line mixers

[0060]

6: slit die

[0061]

7: drum

[0062]

8: casting belt

[0063]

9: roller

[0064]

10: organic piezoelectiic material

[0065]

P1: receiving piezoelectric material (film)

[0066]

P2: support

[0067]

P3: transmitting piezoelectric material (film)

[0068]

P4: backing layer

[0069]

P5: electrode

[0070]

P6: acoustic lens

[0071]

S: ultrasonic medial diagnostic imaging device

[0072]

S1: ultrasonic medial diagnostic imaging device body

[0073]

S2: ultrasonic probe

[0074]

S3: operation input section

[0075]

S4: display section

BEST EMBODIMENTS TO CARRY OUT THE INVENTION

[0076]

The organic piezoelectric material of the present invention is produced so that the moisture content contained therein might become 0.1% by mass or less. The produced organic piezoelectric material is characterized by being formed by a solution casting method. The above-mentioned distinctive feature is a technical feature common to the invention in connection with the scope of claims 1 to 7.

[0077]

In addition, the solution casting method is a method comprising the following steps of casting a solution prepared by dissolving an organic piezoelectric material in a solvent (a dope) on a drum (a casting drum) or a flat and smooth belt made of stainless steel which is excellent in flatness so as to adhere to it; passing the cast dope through the heating and drying process to evaporate the solvent to result in shaping the organic piezoelectric material. A physical pressure is not applied in this method, as a result, an orientation of a polymer does not occur. The produced material will have features such as not exhibiting directional properties of physical properties (for example, elastic modulus), electrical properties (for example, piezoelectric property), or optical properties (for example, refractive index) and having a high accurate thickness. It is preferable as a formation method of an organic piezoelectric material. Moreover, since the manufacturing process of filtering a solution can be installed, a foreign matter (a limp of resin=a fisheye) is not generated, and a scratch will not be easily attached. As a result, an organic piezoelectric material excellent in piezoelectric property can be produced.

[0078]

The organic piezoelectric material of the present invention is produced by a solution casting method as described above. It is preferable that a content of water contained in the used solvent for this method is 0.1% by mass or less, and more preferably it is 0.05% by mass. By applying such solvent, the moisture content in the produced organic piezoelectric material can be controlled to be 0.1% by mass or less.

[0079]

On the other hand, it is preferable to recover and recycle the used solvent by considering the effect to the environment. In order to recover and recycle the used solvent, the air flow used to dry the cast solution is made to condense by allowing it pass in a condensing device, and the solvent is recovered as a liquid. It is preferable that the drying is done under an inert gas such as nitrogen and an air current having a dew point of 10° C. or less to reduce a moisture content. Furthermore, it is more preferable to purify the recovered organic solvent by distilling to reduce a moisture content.

[0080]

As for applying polarization treatment, the preferred embodiments are a production method in which polarization treatment is performed at one of the moments of: before providing two electrodes on both surfaces of the organic piezoelectric material; after providing one of the two electrodes on one of the surfaces of the organic piezoelectric material; and after providing the two electrodes on the both surfaces of the organic piezoelectric material. Moreover, it is preferable that the aforesaid polarization treatment is a voltage applying treatment.

[0081]

In addition, as an embodiment of the present invention, it is preferable that the above-mentioned organic piezoelectric material is subjected to a stretching film formation from a viewpoint of piezoelectric property.

[0082]

The present invention, constituent elements thereof, and the preferred embodiment to carry out the present invention will now be detailed.

(Organic Piezoelectric Materials)

[0083]

The organic piezoelectric material of the present invention is characterized by being formed by simultaneously laminating films of at least 2 layers. An organic polymer material can suitably be employed for such an organic piezoelectric material. Further, when the organic polymer material is used to form an organic piezoelectric material, particles and appropriate other materials also can be mixed for the intended purpose.

(Particles)

[0084]

As particles according to the present invention, inorganic compounds or organic compounds can be cited. As such inorganic compounds, preferable are silicon-containing compounds, silicon dioxide, aluminum oxide, zirconium oxide, calcium carbonate, talc, clay, fired kaolin, fired calcium silicate, hydrated calcium silicate, aluminum silicate, magnesium silicate, and calcium phosphate. Of these, silicon-containing inorganic compounds and zirconium oxide are more preferable.

[0085]

As particles of silicon dioxide according to the present invention, usable are commercially available products with trade names such as AEROSIL R972, R974, R812, 200, 300, R202, OX50, and TT600 (all produced by Nihon Aerosil Co., Ltd.); MEK-ST (produced by Nissan Chemical Industries, Ltd.); and OSCAL (produced by Catalists & Chemicals Ind. Co., Ltd.). Further, smectite, LUCENTITE SWN, SAN, STN, SEN, and SPN (produced by Co-op Chemical Co,. Ltd.) are cited. And, as bentonite, ESBEN C, E, W, WX, N-400, NX, NX80, NZ, NZ70, NE, NEZ, NO12S, and NO12, as well as ORGANITE D and T (all produced by Hojun Co,. Ltd.) can be cited. As particles of zirconium oxide according to the present invention, commercially available products with trade names such as AEROSIL R976 and R811 (produced by Nihon Aerosil Co., Ltd.) and QUEEN TITANIC (produced by Catalists & Chemicals Ind. Co., Ltd.) are usable.

[0086]

As organic compounds, polymers such as, for example, acrylic resins, urethane resins, silicone resins, or fluorine resins are preferable. Of these, acrylic resins and silicone resins can preferably be used. Of the acrylic resins and silicone resins, those having a three-dimensional network structure are preferable. For example, as resin particles of the acrylic resins, usable are commercially available products with trade names such as MG-151, MG-152, MG-153, MG-154, MG-251, S-1200, S-0597, S-1500, S-4100, and 4000 (produced by Nippon Paint Co,. Ltd.) and LIOSPHERE (produced by Toyo Ink Mfg. Co,. Ltd). As the silicone resins, commercially available products with trade names such as TOSPAL103, 105, 108, 120, 145, 3120, and 240 (all produced by Toshiba Silicones Co., Ltd.) are usable.

[0087]

The primary average particle diameter of such particles is preferably at most 1 μm from the viewpoint of controlling the surface shape, more preferably at most 500 nm, specifically preferably at most 200 nm. Determination of the primary average particle diameter of the particles was conducted as follows: particles were observed using a transmission electron microscope (magnification: 500,000-2,000,000 times) and of these, 100 particles were examined and then the average value was designated as the primary particle diameter. The apparent specific gravity of the particles is preferably at least 70 g/liter, more preferably 90-200 g/liter, specifically preferably 100-200 g/liter. Larger apparent specific gravity is preferable, whereby a highly concentrated dispersion can be prepared and aggregates are reduced, and then polarization operability is enhanced and piezoelectric properties are improved.

[0088]

Silicon dioxide particles featuring a primary average particle diameter of at most 200 nm and an apparent specific gravity of at least 70 g/liter can be obtained, for example, by burning those obtained by mixing vaporized silicon tetrachloride and hydrogen at 1000-1200° C. in air.

[0089]

These silicon dioxide particles are commercially available under trade names such as AEROSIL200V and AEROSIL R972V (produced by Nihon Aerosil Co., Ltd.) and any of these is usable. In the present invention, the above apparent specific gravity was calculated using the following expression, in which a certain amount of silicon dioxide particles was placed in a measuring cylinder and the weight was measured at this time.

[0000]


Apparent specific gravity (g/liter)=silicon dioxide mass (g)/silicon dioxide volume (liter)

(Preparation Method A)

[0090]

A solvent and particles are stirred and mixed and then dispersed using a homogenizer. The resulting product is designated as a particle dispersion. The particle dispersion is added to an organic piezoelectric material liquid and the resulting mixture is stirred.

(Preparation Method B)

[0091]

A solvent and particles are stirred and mixed and then dispersed using a homogenizer. The resulting product is designated as a particle dispersion. Separately, a small amount of an organic piezoelectric material (for example, PVDF, polyurea resin, or polythiourea resin) is added to a solvent and the resulting mixture was dissolved with stirring. The above particle dispersion is added to the resulting product, followed by stirring. The resulting liquid is designated as a fine particle added liquid. The fine particle added liquid is sufficiently mixed with the organic piezoelectric material liquid using an in-line mixer.

(Preparation Method C)

[0092]

A small amount of an organic piezoelectric material (for example, PVDF, polyurea resin, or polythiourea resin) is added to a solvent and the resulting mixture was dissolved with stirring. Particles are added to the resulting product and dispersed using a homogenizer. The resulting liquid is designated as a fine particle added liquid. The fine particle added liquid is sufficiently mixed with the organic piezoelectric material liquid using an in-line mixer.

[0093]

Preparation method A exhibits excellent fine particle dispersibility and preparation method C is excellent in view of no tendency of re-aggregation of particles. Preparation method B is excellent in view of both fine particle dispersibility and no tendency of re-aggregation of particles, resulting in a preferable preparation method which is excellent in both respects.

(Dispersion Method)

[0094]

When particles are mixed with a solvent and then dispersed, the concentration of the particles is preferably 5-30% by mass (weight %), more preferably 10-25% by mass, most preferably 15-20% by mass. Larger dispersion concentration is preferable, since liquid turbidity tends to be decreased with respect to the added amount and aggregates are reduced.

[0095]

As a solvent used, there is usable any of alcohols such as methyl alcohol or ethyl alcohol, ketones such as acetone or methyl ethyl ketone, aromatic hydrocarbons such as benzene, toluene, or xylene, dimethylformamide, dimethylacetamide, dimethyl sulfoxide, and N-methylpyrrolidone. Any of these solvents is preferably usable. However, of these, preferable is a solvent which dissolves an organic piezoelectric material to be used (for example, PVDF or a polyurea resin) at a concentration of 5% by mass or more.

[0096]

Particles are preferably added to an organic piezoelectric material at 0.01-10% by mass based on 100% by mass of the organic piezoelectric material, more preferably 0.05-3% by mass.

[0097]

As the homogenizer, a common homogenizer can be used. The homogenizer is roughly divided into a media homogenizer and a medialess homogenizer. The medialess homogenizer is preferably used for dispersion of silicon dioxide particles since aggregates can be minimized.

[0098]

The media homogenizer includes a ball mill, a sand mill, and a Dyno mill. The medialess homogenizer includes an ultrasonic type, a centrifugal type, and a high pressure type. Of these, in the present invention, a high pressure homogenizer is preferable.

[0099]

The high pressure homogenizer is an apparatus creating special conditions such as a high shear or high pressure state passing a composition prepared by mixing fine particle with a solvent through a narrow tube at high speed. In the case of treatment using such a high pressure homogenizer, for example, the maximum pressure condition within the apparatus is preferably at least 9.81×106 Pa (100 kgf/cm2) in a narrow tube of a tube diameter of 1-2,000 μm, more preferably at least 1.96×107 Pa (200 kgf/cm2).

[0100]

Further, in this case, those attaining a maximum attainable late of at least 100 m/second and a heat transfer rate of at least 100 kcal/hour are preferable.

[0101]

Homogenizers as described above include an ultrahigh-pressure homogenizer (trade name: Microfluidizer, produced by Microfluidics Corp.) and Nanomizer (produced by Nanomizer Inc.), as well as Manton Gaulin-type high pressure homogenizers such as a homogenizer produced by Izumi Food Machinery Co,. Ltd. and UHN-01 (produced by Sanwa Machinery Co,. Ltd.).

<Organic Polymer Material Constituting an Organic Piezoelectric Material>

[0102]

As an organic polymer material (hereinafter also referred to as a “polymer material”) serving as a constituent material of the organic piezoelectric material of the present invention, various organic polymer materials, having been conventionally used as a piezoelectric material, can be used.

[0103]

For example, as a typical material, an organic polymer material containing vinylidene fluoride as a main component is usable from the viewpoint of excellent piezoelectric characteristics and easy availability.

[0104]

Specifically, a homopolymer of polyvinylidene fluoride or a copolymer having vinylidene fluoride as a main component, which has a CF2 group with a large dipole moment, is preferable.

[0105]

Incidentally, as a second component of a copolymer, tetrafluoroethylene, trifluoroethylene, hexafluoropropane, or chlorofluoroethylene is usable.

[0106]

For example, in the case of a vinylidene fluoride/trifluoroethylene copolymer, the electromechanical coupling coefficient of the thickness direction varies with the copolymerization ratio. Therefore, the copolymerization ratio of the former is preferably 60-99 mol %, more preferably 70-95 mol %.

[0107]

Herein, a polymer formed from 70-95 mol % of vinylidene fluoride and 5-30 mol % of perfluoroalkyl vinyl ether, perfluoroalkoxyetylene, or perfluorohexaethylene can inhibit a transmitting basic wave and increase the sensitivity of harmonic reception in combination of a transmitting inorganic piezoelectric element with a receiving organic piezoelectric element.

[0108]

The above polymer piezoelectric material is characterized by being formed into a thin film compared with an inorganic piezoelectric material formed of ceramics, being whereby able to be formed as a oscillator responding to transmission and reception of high-frequency waves.

[0109]

In the present invention, other than the above polymer materials, various organic polymer materials can be used. Of these, preferable is an organic polymer material formed from a polymerizable compound having an electron attracting group acting to increase the dipole moment amount of the organic polymer material. Such an organic polymer material acts to increase the dipole moment amount, whereby in the case of use as an organic piezoelectric material (film), excellent piezoelectric characteristics can be realized.

[0110]

In the present invention, “an electron withdrawing group” designates a group having a Hammett constant (σp) of 0.10 or more. A Hammett constant is a value indicating the degree of electron withdrawing property. Here, the values of Hammett constant σp are preferably taken from the values described in the reports by Hansch, C. Leo, et al., (for example, J. Med. Chem., 16, 1207 (1973); and ibd. 20, 304 (1977)).

[0111]

Examples of a group or an atom having the σp value of 0.10 or more are: a halogen atom (a fluorine atom, a chlorine atom, a bromine atom and iodine atoms), a carboxyl group, a cyano group, a nitro group, a halogenated alkyl group (for example, trichloromethyl, trifluoromethyl, chloromethyl, trifluoromethylthiomethyl, trifluoromethanesulfonylmethyl and perfluorobutyl), an aliphatic, aromatic, or aromatic heterocyclic acyl group (for example, formyl, acetyl and benzoyl), an aliphatic, aromatic, or aromatic heterocyclic sulfonyl group (for example, trifluoromethanesulfonyl, methanesulfonyl and benzenesulfonyl), a carbamoyl group (for example, carbamoyl, methylcarbamoyl, phenylcarbamoyl and 2-chloro-phenylcarbamoyl), an alkoxycarbonyl group (for example, methoxycarbonyl, ethoxycarbonyl and diphenylmethylcarbonyl), a substituted aryl group (for example, pentachlorophenyl, pentafluorophenyl, 2,4-dimethanesulfonyl phenyl and 2-trifluoromethylphenyl), an aromatic heterocyclic group (for example, 2-benzoxazolyl, 2-benzthiazolyl, 1-phenyl-2-benzimidazolyl and 1-tetrazolyl), an azo group(for example, phenylazo), a ditrifluoromethylamino group, a trifluoromethoxy group, an alkylsulfonyloxy group (for example, methanesulfonyloxy), an acyloxy group (for example, acyloxy and benzoyloxy), an arylsulfonyloxy group (for example, benzenesulfonyloxy), a phosphoryl group (for example, dimethoxyphosphoryl, diphenylphosphoryl), and a sulfamoyl group (for example, N-ethyl sulfamoyl, N,N-dipropyl sulfamoyl, N-(2-dodecyloxyethyl)sulfamoyl, N-ethyl-N-dodecyl sulfamoyl and N,N-diethyl sulfamoyl).

[0112]

As specific examples of the compound which can be used for the present invention, the following compounds or their derivatives can be cited. However, the examples are not limited to these. For example, a compound containing a urea bond which is formed by the reaction of a diamine compound described later with a diisocyanate compound containing a isocyanate group, and a compound containing a thiourea bond which is formed by the reaction of a diamine compound described later with a dithiocyanate compound containing a thioisocyanate group are cite.

[0113]

Examples of a diamine compound are: 4,4′-diaminodiphenylmethane (MDA), 4,4′-methylenebis(2-methylaniline), 4,4′-methylenebis(2,6-dimethylaniline), 4,4′-methylenebis(2-ethyl-6-methylaniline), 4,4′-methylenebis(2,6-diethylaniline), 4,4′-methylenebis(2,6-di-t-butylaniline), 4,4′-methylenebis(2,6-dicyclohexyl aniline), 4,4′-methylenebis(2-ethylaniline), 4,4′-methylenebis(2-t-butylaniline), 4,4′-methylenebis(2-cyclohexylaniline), 4,4′-methylenebis(3,5-dimethylaniline), 4,4′-methylenebis(2,3-dimethylaniline), 4,4′-methylenebis(2,5-dimethylaniline), 2,2-bis(4-aminophenyl)hexafluoropropane, 2,2-bis(4-aminophenyl)propane, 1,1-bis(4-aminophenyl)cyclohexane, α,α-bis(4-aminophenyl)toluene, 4,4′-methylenebis(2-chloroaniline), 4,4′-methylenebis(2,6-dichloroaniline), 4,4′-methylenebis(2,3-dibromoaniline), 3,4′-diaminodiphenyl ether, 4,4′-diaminooctafluorodiphenyl ether, 4,4′-diaminodiphenyl sulfide, 4,4′-diaminodiphenyl disulfide, bis(4-aminophenyl)sulfone, bis(3-aminophenyl)sulfone, bis(3-amino-4 hydroxyphenyl)sulfone, bis(4-aminophenyl)sulfoxide, 1,4-bis(4-aminophenoxy)benzene, 1,3-bis(4-aminophenoxy)benzene, 1,3-bis(3-aminophenoxy)benzene, 2,2-bis[(4-(4-aminophenoxy)phenyl)]propane, 2,2-bis[(4-(4-aminophenoxy)phenyl)]hexafluoropropane, 2,5-bis(4-aminophenyl)-1,3,4-oxadiazole, neopentyl glycol bis(4-aminophenyl) ether, 4,4′-diaminostilbene, α,α′-bis-(4-aminophenyl)-1,4-diisopropylbenzene, 1,2-phenylenediamine, 1,3-phenylenediamine, 1,4-phenylenediamine, benzidine, 4,4′-diaminooctafluoro biphenyl, 3,3′-diaminobenzidine, 3,3′-dimethylbenzidine, 2,2′-bis(trifluoromethyl)benzidine, 3,3′,5,5′-tetramethylbenzidine, 3,3′-dihydroxybenzidine, 3,3′-dimethylbenzidine, 3,3′-dihydroxy-5,5′-dimethylbenzidine, 4,4″-diamino-p-terphenyl, 1,5-diaminonaphthalene, 1,8-diaminonaphthalene, 2,3-diaminonaphthalene, 2,6-diaminonaphthalene, 2,7-diaminonaphthalene, 3,3′-dimethylnaphthidine, 2,7-diaminocarbazole, 3,6-diaminocarbazole, 3,4-diaminobenzoic acid, 3,5-diaminobenzoic acid, 1,5-diaminopentane, 1,6-diaminohexane, 1,7-diaminoheptane, 1,8-diaminooctane, 1,9-diaminononane, 1,5-dimethylhexylamine, 1,3-bis(aminomethyl)cyclohexane, 1,4-bis(aminomethyl)cyclohexane, 1-1:4,4′-diaminobenzophenone, 4,4′-dimethylamino-3,3′-dichlorobenzophenone, 4,4′-diamino-5,5′-diethyl-3,3′-difluorobenzophenone, 4,4′-diamino-3,3′,5,5′-tetrafluorobenzophenone, 2,2-bis(4-aminophenyl)propane, 2,2-bis(4-amino-3,5-dichlorophenyl)propane, 2,2-bis(4-aminophenyl)hexafluoropropane, 2,2-bis(4-amino-3-fluorophenyl)hexafluoropropane, 4,4-diaminodiphenyl ether (ODA), 4,4′-diamino-3,3′,5,5′-tetrachlorodiphenyl ether, 4,4′-diaminodiphenyl sulfide, 4,4′-diamino-3,3′-dibromodiphenyl sulfide, 4,4′-diaminodiphenyl disulfide, 4,4′-diamino-3,3′,5,5′-tetrafluorodiphenyl disulfide, bis(4-aminophenyl)sulfone, bis(4-amino-3-chloro-5-methylphenyl)sulfone, bis(4-aminophenyl)sulfoxide, bis(4-amino-3-bromophenyl)sulfoxide, 1,1-bis(4-aminophenyl)cyclopropane, 1,1-bis(4-aminophenyl)cyclooctane, 1,1-bis(4-aminophenyl)cyclohexane, 1,1-bis(4-amino-3,5-difluorophenyl)cyclohexane, 4,4′-(cyclohexylmethylene)dianiline, 4,4′-(cyclohexylmethylene)bis(2,6-dichloroaniline), 2,2-bis(4-aminophenyl)diethyl malonate, 2,2-bis(4-amino-3-chlorophenyl)diethyl malonate, 4-(di p-aminophenyl methyl)pyridine, 1-(di-p-aminophenylmethyl)-1H-pyrrole, 1-(di-p-aminophenylmethyl)-1H-imidazole and 2-(di-p-aminophenylmethyl)oxazole, and derivatives thereof.

[0114]

Further, examples of a diisocyanate compound are: 4,4′-diphenylmethanediisocyanate (MDI), 4,4′-methylenebis(2,6-dimethylphenylisocyanate), 4,4′-methylenebis(2,6-diethylphenylisocyanate), 4,4′-methylenebis(2,6-di-t-butylphenylisocyanate), 4,4′-methylenebis(2,6-dicyclohexylphenylisocyanate), 4,4′-methylenebis(2-methylphenylisocyanate), 4,4′-methylenebis(2-ethylphenylisocyanate), 4,4′-methylenebis(2-t-butylphenylisocyanate), 4,4′-methylenebis(2-cyclohexylphenylisocyanate), 4,4′-methylenebis(3,5-dimethylphenylisocyanate), 4,4-methylenebis(2,3-dimethylphenylisocyanate), 4,4′-methylenebis(2,5-dimethylphenylisocyanate), 2,2-bis(4-isocyanatophenyl)hexafluoropropane, 2,2-bis(4-isocyanatophenyl)propane, 1,1-bis(4-isocyanatophenyl)cyclohexane, α,α-bis(4-isocyanatophenyl)toluene, 4,4′-methylenebis(2,6-dichlorophenylisocyanate), 4,4′-methylenebis(2-chlorophenylisocyanate), 4,4′-methylenebis(2,3-dibromophenylisocyanate), m-xylylene diisocyanate, 4,4′-diisocyanato-3,3′-dimethylbiphenyl, 1,5-diisocyanatonaphthalene, 1,3-phenylene diisocyanate, 1,4-phenylene diisocyanate, 2,4-toluene diisocyanate (24-TDI), 2,6-toluene diisocyanate (2,6-TDI), 1,3-bis(2-isocyanato-2-propyl)benzene, 1,3-bis(isocyanatomethyl)cyclohexane, dicyclohexylmethane-4,4′-diisocyanate, isophorone diisocyanate, hexamethylene diisocyanate, trimethyl hexamethylene diisocyanate, 2,7-fluorene diisocyanate, benzophenone-4,4′-diisocyanic acid, 3,3′-dichlorobenzophenone-44′-diisocyanic acid, 5,5′-diethyl-3,3′-difluorobenzophenone 4,4′-diisocyanic acid, 2,2-bis(4-isocyanatophenyl)propane, 2,2-bis(3,5-dichloro-4-isocyanatophenyl)propane, 2,2-bis(4-isocyanatophenyl)hexafluoropropane, 2,2-bis(3-fluoro-4-isocyanatophenyl)hexafluoropropane, bis(4-isocyanatophenyl)ether, bis(3,5-difluoro-4-isocyanatophenyl)ether, bis(4-isocyanatophenyl)sulfide, bis(3,5-dibromo-4-isocyanatophenyl)sulfide, bis(4-isocyanatophenyl)disulfide, bis(4-isocyanatophenyl)sulfone, bis(4-isocyanatophenyl)sulfoxide, bis(3,5-difluoro-4-isocyanatophenyl)sulfoxide, 1,1-bis(4-isocyanatophenyl)cyclopropane, 1,1-bis(4-isocyanatophenyl)cyclooctane, 1,1-bis(4-isocyanatophenyl)cyclohexane, 1,1-bis(3,5-dichloro-4-isocyanatophenyl)cyclohexane, 4,4′-(cyclohexylmethylene)bis(isocyanatobenzene), 4,4′-(cyclohexylmethylene)bis(1-isocyanato-2-chlorobenzene), 2,2-bis(4-isocyanatophenyl)diethyl malonate, 2,2-bis(3-chloro-4-isocyanatophenyl)diethyl malonate, 4-(di-p-isocyanatophenylmethyl)pyridine, 1-(di p-isocyanatophenylmethyl)-1H-pyrrole, 1-(di-p-isocyanatophenylmethyl)-1H-imidazole, 2-(di-p-isocyanatophenylmethyl)oxazole, and derivatives thereof.

[0115]

Examples of a diisothiocyanate are: 4,4′-diphenylmethane diisothiocyanate, 4,4′-methylenebis(2,6-diethylphenylisothiocyanate), 4,4′-methylenebis(2,6-di-t-butylphenylisothiocyanate, 1,3-bis(isothiocyanatomethyl)cyclohexane, benzophenone-4,4′-diisothiocyanic acid, 3,3′-difluorobenzophenone 4,4′-diisothiocyanic acid, 2,2-bis(3,5-dichloro-4-isothiocyanatophenyl)propane, bis(4-isothiocyanatophenyl) ether, bis(4-isothiocyanatophenyl)sulfone, bis(4-isothiocyanatophenyl)sulfoxide, bis(3,5-difluoro-4-isothiocyanatophenyl)sulfoxide, 1,1-bis(4-isothiocyanatophenyl)cyclopropane, 1,1-bis(4-isothiocyanatophenyl)cyclooctane, 4,4′-(cyclohexylmethylene)bis(isothiocyanatobenzene), 2,2-bis(4-isothiocyanatophenyl)diethyl malonate, 1-(di-p-isothiocyanatophenylmethyl)-1H-pyrrole, 2-(di-p-isothiocyanatophenylmethyl)oxazole, and derivatives thereof.

[0116]

Hereafter, organic polymer materials which can be used in the present invention will be described in more detail.

[0117]

In the present invention, it is preferable that the organic polymer material which constitutes the organic piezoelectric material contains the compound which has a urea bond or a thiourea bond as a composition ingredient. The aforesaid compound is preferably formed by the compound represented by the following Formulas (1) to (3) or the derivative thereof as a raw material.

[0000]

[0118]

(In Formula, R11 and R12 each independently represents a hydrogen atom, an alkyl group, a 3 to 10 membered non-aromatic cyclic group, an aryl group or a heteroaryl group, these groups may further have a substituent; and R21 to R26 each independently represents a hydrogen atom, an alkyl group, or an electron withdrawing group.)

[0000]

[0119]

(In Formula, R13 each independently represents a carboxyl group, a hydroxyl group, a mercapto group, or an amino group, provided that an active hydrogen atom in these groups may be further substituted with an alkyl group, a 3 to 10 membered non-aromatic cyclic group, an aryl group, or a heteroaryl group, moreover, R13 represents a carbonyl group, a sulfonyl group, a thiocarbonyl group, or a sulfonyl group, and these groups are bonded to a hydrogen atom, an aryl group, or a heteroaryl group; R21 to R26 each independently represents the same group as represented by R21 to R26 in the above-described Formula (5).)

[0000]

[0120]

(In Formula, Y each independently represents a keto group, an oxime group, or a substituted vinylidene group; and R21 to R26 each independently represents the same group as represented by R21 to R26 in the above-described Formula (1).)

[0121]

Preferable examples are the compounds represented by the aforesaid Formulas (1) to (3), or the derivatives thereof.

<<Compounds Represented by Formula (1)>>

[0122]

Examples of a compounds represented by Formula (1) are: 2,7-diaminofluorene, 2,7-diamino-4,5-dinitrofluorene, 2,7-diamino-3,4,5,6-tetrachlorofluorene, 2,7-diamino-3,6-difluorofluorene, 2,7-diamino-9-(n-hexyl)fluorene, 9,9-dimethyl-2,7-diaminofluorene, 2,7-diamino-9-benzylfluorene, 9,9-bisphenyl-2,7-diaminofluorene, 2,7-diamino-9-methylfluorene, 9,9-bis(3,4-dichlorophenyl)-2,7-diaminofluorene, 9,9-bis(3-methyl-4-chlorophenyl)-2,7-diaminofluorene, 9,9-bis(methyloxyethyl)-2,7-diaminofluorene and 2,7-diamino-3,6-dimethyl-9-aminomethylfluorene. However, the examples are not limited to the above-cited compounds.

<<Compounds Represented by Formula (2)>>

[0123]

Examples of a compound represented by Formula (2) are: 2,7-diamino-9-fluorene carboxylic acid, 2,7-diamino-9-fluorene carboxyaldehyde, 2,7-diamino-9-hydroxyfluorene, 2,7-diamino-3,6-difluoro-9-hydroxyfluorene, 2,7-diamino-4,5-dibromo-9-mercaptofluorene, 2,7,9-triaminofluorene, 2,7-diamino-9-hydroxymethylfluorene, 2,7-diamino-9-(methyloxy) fluorene, 2,7-diamino-9-acetoxyfluorene, 2,7-diamino-3,6-diethyl-9-(perfluorophenyloxy)fluorene, 2,7-diamino-4,5-difluoro-9-(acetamide)fluorene, 2,7-diamino-isopropylfluorene-9-carboxyamide and 2,7-diamino-4,5-dibromo-9-methylsulfinylfluorene. However, the examples are not limited to the above-cited compounds.

<<Compounds Represented by Formula (3)>>

[0124]

Examples of a compound represented by Formula (3) are: 9,9-dimethyl-2,7-diaminofluorenone, 2,7-diamino-9-benzyl fluorenone, 9,9-bisphenyl-2,7-diaminofluorenone, 2,7-diamino-9-methylfluorenone, 9,9-bis(3,4-dichlorophenyl)-2,7-diaminofluorenone, 9,9-bis(3-methyl-4-chlorophenyl)-2,7-diaminofluorenone, 9-hexylidene-2,7-diamino-4,5-dichlorofluorene, 1-(2,7-diamino-9-fluorenylidene)-2-phenylhydrazine and 2-(2,7-diamino-1,8-dimethyl-9-fluorenylidene)(methyl)pyridine. However, the examples are not limited to the above-cited compounds.

[0125]

In the present invention, for example, after the aforesaid fluorenone compounds are allowed to react with a diol, a diamine, a diisocyanate, or a dithiocyanate in an aliphatic or an aromatic compound to prepare a polyurea or a polyurethane structure, the prepared compounds may be mixed with a compound represented by the following Formulas (4) to (6) or a high molecular weight compound derived therefrom so as to prepare a complex material.

[0000]

[0126]

(In Formula, Ra each independently represents a hydrogen atom, an alkyl group, an aryl group, an alkyl group containing an electron withdrawing group, an aryl group or a heteroaryl group containing an electron withdrawing group; X represents an atom which can be bonded, except for a carbon atom, or a single bond; and n represents an integer of not more than a value of an atomic valence of X minus 1.)

[0127]

Examples of a compound represented by Formula (4) are: p-acetoxystyrene, p-acetylstyrene, p-benzoylstyrene, p-trifluoroacetylstyrene, p-monochloroacetylstyrene, p-(perfluorobutyryloxy)styrene, p-(perfluorobenzoyloxy)styrene, S-4-vinylphenylpyridine-2-carbothioate and N-(4-vinylphenyl)picolinamide. However, the examples are not limited to the above-cited compounds.

[0000]

[0128]

(In Formula, Rb each independently represents an alkyl group containing an electron withdrawing group, an aryl group or a heteroaryl group containing an electron withdrawing group; X represents an atom which can be bonded, except for a carbon atom, or a single bond; and n represents an integer of not more than a value of an atomic valence of X minus 1.)

[0129]

Examples of a compound represented by Formula (5) are: p-trifluoromethylstyrene, p-dibromomethylstyrene, p-trifluoromethylstyrene, p-perfluorophenoxystyrene, p-bis(trifluoromethyl)aminostyrene and p-(1H-imidazolyloxy)styrene. However, the examples are not limited to the above-cited compounds.

[0000]

[0130]

(In Formula, Rc each independently represents an alkyl group containing an electron withdrawing group, an aryl group or a heteroaryl group containing an electron withdrawing group; X represents an atom which can be bonded, except for a carbon atom, or a single bond; and n represents an integer of not more than a value of an atomic valence of X minus 1.)

[0131]

Examples of a compound represented by Formula (6) are: p-(methanesulfonyloxy)styrene, p-(trifluoromethanesulfonyloxy)styrene, p-tosylstyrene, p-(perfluoropropylsulfonyloxy)styrene, p-(perfluorobenzenesulfonyloxy)styrene and (4-vinylphenyl)bis(trifluoromethane sulfonyl)amide. However, the examples are not limited to the above-cited compounds.

[0132]

Moreover, in the present invention, there can be used an alcohol compound such as ethylene glycol, glycerol, triethylene glycol, polyethylene glycol, polyvinyl alcohol, 4,4-methylenebisphenol, and further, there can be used an amino alcohol or an amino phenol having both an amino group and a hydroxyl group such as ethanolamine, aminobutyl phenol and 4-(4-aminobenzyl)phenol (ABP).

<<Macromonomer>>

[0133]

In the present invention, one of the preferable embodiments is a compound having the aforesaid urea bond or thiourea bond which is produced from a macromonomer having a molecular weight of 400 to 10,000 as a raw material.

[0134]

In the present invention, “a macromonomer” is a compound having the following structure: it has an isocyanate group, a group having an active hydrogen atom, or a polymerizable functional group such as a vinyl group at least at one portion of the molecular chain terminals; and it has two or more bonds selected from the group consisting of a urea bond (—NR1CONR2—), a thiourea bond (—NR3CSNR4—), a urethane bond (—OCOCR1—), an amide bond (—CONR1—), an ether bond (—O—), ester bond (—CO2—) and a carbonate bond (—OCO2—).

[0135]

Moreover, in the present invention, R1 in the urethane bond represents a hydrogen atom or an alkyl group having 1 to 10 carbon atoms (for example, a methyl group, an ethyl group, a propyl group, an isopropyl group, a tert-butyl group, a pentyl group, a hexyl group and a cyclohexyl group). Preferably, it is a hydrogen atom or an alkyl group having 5 carbon atoms or less, and more preferably, it is a hydrogen atom or a methyl group. Further, R1 in the amide bond represents a hydrogen atom or an alkyl group having 1 to 10 carbon atoms (for example, a methyl group, an ethyl group, a propyl group, an isopropyl group, a tert-butyl group, a pentyl group, a hexyl group and a cyclohexyl group). Preferably, it is a hydrogen atom or an alkyl group having 5 carbon atoms or less, and more preferably, it is a hydrogen atom or a methyl group.

[0136]

The macromonomer according to the present invention preferably contains a urea bond or a thiourea bond which exhibits a dipole moment. That is, since the macromonomer according to the present invention can be introduced a plurality of bonds or linking groups which have a dipole moment by allowing to condense successively the monomers which have a reactive group. As a results, controlling of the solubility or stiffness of the resin composition, which have been difficult to achieve, can be realized by selecting raw materials.

[0137]

In addition, a urea bond is represented by Formula: —NR1CONR2— and a thiourea bond is represented by Formula: —NR3CSNR4—.

[0138]

Here, R1 and R2, as well as R3 and R4 each independently represents a hydrogen atom or an alkyl group having 1 to 10 carbon atoms (for example, a methyl group, an ethyl group, a propyl group, an isopropyl group, a tert-butyl group, a pentyl group, a hexyl group and a cyclohexyl group). Preferably, they are a hydrogen atom or an alkyl group having 5 carbon atoms or less, and more preferably, they are a hydrogen atom or a methyl group.

[0139]

Although a urea bond or a thiourea bond may be formed using any means, it can be obtained by the reaction of an isocyanate with an amine, or by the reaction of an isothiocyanate with an amine. Or it may be obtained by a macromonomer which is prepared by a urea compound having a hydroxyl group or an amino group at a terminal position such as: 1,3-bis(2-aminoethyl)urea, 1,3-bis(2-hydroxyethyl)urea, 1,3-bis(2-hydroxypropyl)urea, 1,3-bis(2-hydroxymethyl)thiourea, 1,3-bis(2-hydroxyethyl)thiourea and 1,3-bis(2-hydroxypropyl) thiourea.

[0140]

Although an isocyanate used as a raw material is not specifically limited as long as it is a polyisocyanate having at least two isocyanate groups in the molecule. An alkyl polyisocyanate or an aromatic polyisocyanate is preferable, and an alkyl diisocyanate or an aromatic diisocyanate is still more preferable. Moreover, it may be used together an unsymmetrical diisocyanate (for example, p-isocyanatobenzyl isocyanate) as a raw material.

[0141]

An alkyl polyisocyanate is a compound in which all of a plurality of isocyanate groups exist through an alkyl chain. Examples thereof are: 1,3-bis(isocyanatomethyl)cyclohexane, isophorone diisocyanate, trimethylene diisocyanate, tetramethylene diisocyanate, pentamethylene diisocyanate, hexamethylene diisocyanate and 1,3-cyclopentane diisocyanate.

[0142]

An aromatic polyisocyanate is a compound in which all of a plurality of isocyanate groups is directly bonded with an aromatic ring. Examples thereof are: 9H-fluorene-2,7-diisocyanate, 9H-fluorene-9-one-2,7-diisocyanate, 4,4′-diphenylmethane diisocyanate, 1,3-phenylene diisocyanate, trilene-2,4-diisocyanate, trilene-2,6-diisocyanate, 1,3-bis(isocyanatomethyl)cyclohexane, 2,2-bis(4-isocyanatophenyl)hexafluoropropane and 1,5-diisocyanatonaphthalene.

[0143]

As an amine used for a raw material, a polyamine having two or more amino groups in the molecule is preferred, and a diamine is most preferred. Examples of a polyamine include: 2,7-diamino-9H-fluorene, 3,6-diaminoacridine, acriflavine, acridine yellow, 2,2-bis(4-aminophenyl)hexafluoropropane, 4,4′-diaminobenzophenone, bis(4-aminophenyl)sulfone, 4,4′-diaminodiphenyl ether, bis(4-aminophenyl)sulfide, 1,1-bis(4-aminophenyl)cyclohexane, 4,4′-diaminodiphenylmethane, 3,3′-diaminodiphenylmethane, 3,3′-diaminobenzophenone, 4,4′-diamino-3,3′-dimethyldiphenylmethane, 4-(phenyldiazenyl)benzene-1,3-diamine, 1,5-diaminonaphthalene, 1,3-phenylenediamine, 2,4-diaminotoluene, 2,6-diaminotoluene, 1,8-diaminonaphthalene, 1,3-diaminopropane, 1,3-diaminopentane, 2,2-dimethyl-1,3-propanediamine, 1,5-diaminopentane, 2-methyl-1,5-diaminopentane, 1,7-diaminoheptane, N,N-bis(3-aminopropyl)methylamine, 1,3-diamino-2-propanol, diethylene glycol bis(3-aminopropyl) ether, m-xylylenediamine, tetraethylenepentamine, 1,3-bis(aminomethyl)cyclohexane, benzoguanamine, 2,4-diamino-1,3,5-triazine, 2,4-diamino-6-methyl-1,3,5-triazine, 6-chloro-2,4-diaminopyrimidine and 2-chloro-4,6-diamino-1,3,5-triazine. These polyamines may be allowed to react with phosgene, triphosgene, or thiophosgene to prepare a polyisocyanate or a polyisothiocyanate (hereafter, they are called as polyiso(thio)cyanate). They can be used as a raw material for preparing a macromonomer. These polyamines may be used as a chain extending agent.

[0144]

When a macromonomer is prepared, a highly ordered macromonomer can be prepared by using the difference of the reactivity between an amino group and a hydroxyl group. For this reason, it is preferable that a macromonomer has at least one urethane bond. A urethane bond can be obtained by the reaction of a hydroxyl group and an isocyanate group. Examples of a compound having a hydroxyl group are: a polyol, an amino alcohol, an amino phenol and an alkylamino phenol. Preferable compounds are a polyol and an amino alcohol, and more preferred compound is an amino alcohol.

[0145]

A polyol is a compound having two or more hydroxyl groups in the molecule. A diol is preferably used. Examples of a polyol are: ethylene glycol, propylene glycol, 1,4-butanediol, 1,5-pentanediol, 1,6-hexanediol, neopentyl glycol, polyethylene glycol, polytetramethylene glycol, 1,4-cyclohexanedimethanol, pentaerythritol, 3-methyl-1,5-pentanediol, poly(ethylene adipate), poly(diethylene adipate), poly(propylene adipate), poly(tetramethylene adipate), poly(hexamethylene adipate) and poly(neopentylene adipate).

[0146]

An amino alcohol is a compound having both an amino group and a hydroxyl group in the molecule. Examples of an amino alcohol are: aminoethanol, 3-amino-1-propanol, 2-(2-aminoethoxy)ethanol, 2-amino-1,3-propanediol, 2-amino-2-methyl-1,3-propanediol and 1,3-diamino-2-propanol. In addition, these compounds having a hydroxyl group may be used as a chain extending agent.

[0147]

The macromonomer may contain an amide bond or a carbonate bond other than a urea bond, a thiourea bond, a urethane bond, an ester bond or an ether bond.

[0148]

Although the macromonomer has a molecular weight of 400 to 10,000, it may have a molecular weight distribution since it will contains a dimer or a trimer produced during the consecutive preparation steps. Here, the molecular weight designates a weight average molecular weight determined by a gel permuation chromatography (hereafter, it is called as “GPC”). The molecular weight is preferably 400 to 5,000, and more preferably it is 400 to 3,000. The molecular weight distribution is preferably 1.0 to 6.0, more preferably, it is 1.0 to 4.0, and still more preferably, it is 1.0 to 3.0.

[0149]

The measurements of the molecular weight and the molecular weight distribution can be done in accordance with the following method and conditions.

[0150]

Solvent: 30 mM LiBr in N-methylpyrrolidone

[0151]

Apparatus: HLC-8220 GPC (made by Tosoh Co., Ltd.)

[0152]

Column: TSK-Gel Super AWM-H×2 (made by Tosoh Co., Ltd.)

[0153]

Column temperature: 40° C.

[0154]

Concentration of sample: 1.0 g/L

[0155]

Injection amount: 40 μl

[0156]

Flow rate: 0.5 ml/min

[0157]

Calibration curve: using calibration curve prepared by 9 samples of Standard polystyrene (PS-1, made by Polymer Laboratories) having Mw of 580 to 2,560,000.

[0158]

In the present invention, since a resin composition having a piezoelectric property can be produced by polymerizing a macromonomer, it is preferable that at least one of terminal groups of the macromonomer is an isocyanate group, a group having an active hydrogen atom, a vinyl group, an acryloyl group, or a meth acryloyl group. As a group which has an active hydrogen atom, although an amino group, a hydroxyl group, a carboxyl group, an imino group, or a thiol group is cited, a preferable group is an amino group, a hydroxyl group, or a carboxyl group, and more preferable group is an amino group or a hydroxyl group.

[0159]

In order to increase the orientation property of the macromonomer or the prepared resin composition, it is preferable to polymerize together with a compound having a large dipole moment in the molecule such as a compound represented by the aforesaid Formulas (4) to (6).

[0160]

In order to improve an orientation property of a macromonomer or a polymerized resin composition, it is preferable that a macromonomer contains at least one condensed aromatic cyclic structure as a partial structure of a macromonomer. Examples of a condensed aromatic cyclic structure include: a naphthalene structure, a quinoline structure, an anthracene structure, a phenanthrene structure, a pyrene structure, a triphenylene structure, a perylene structure, a fluoranthene structure, an indacene structure, an acenaphthylene structure, a fluorene structure, a fluorene-9-one structure, a carbazole structure, a tetraphenylene structure and a structure further condensed with these structures (for example, an acridine structure, a benzanthracene structure, a benzopyrene structure, a pentacene structure, a coronene structure and a chrysene structure.)

[0161]

Examples of a preferable condensed aromatic cyclic structure are represented by Formulas (ACR1) to (ACR4) as described below.

[0000]

[0162]

In Formula (ACR1), R11 and R12 each independently represents a hydrogen atom, or a substituent. Examples of the substituent are: an alkyl group having 1 to 25 carbon atoms (for example, a methyl group, an ethyl group, a propyl group, an isopropyl group, and a tert-butyl group, a pentyl group, a hexyl group and a cyclohexyl group), a cycloalkyl group (for example, a cyclohexyl group and a cyclopentyl group), an aryl group (for example, a phenyl group), a heterocyclic group (for example, a pyridyl group, a thiazolyl group, an oxazolyl group, an imidazolyl group, a furyl group, a pyrrolyl group, a pyrazinyl group, a pyrimidinyl group, a pyridazinyl group, a selenazolyl group, a sulfolanyl group, a piperidinyl group, a pyrazolyl group and a tetrazolyl group), an alkoxy group (for example, a methoxy group, an ethoxy group, a propyloxy group, a pentyloxy group, a cyclopentyloxy group, a hexyloxy group and a cyclohexyloxy group), an aryloxy group (for example, a phenoxy group), an acyloxy group (for example, an acetyloxy group and a propionyloxy group), an alkoxycarbonyl group (for example, a methyloxycarbonyl group, an ethyloxycarbonyl group and a butyloxycarbonyl group), an aryloxycarbonyl groups (for example, a phenyloxycarbonyl group), a sulfonamide group (for example, a methanesulfonamide group, an ethanesulfonamide group, a butanesulfonamide group, a hexanesulfonamide group, a cyclohexanesulfonamide group and a benzenesulfonamide group), a carbamoyl group (for example, an aminocarbonyl group, a methylaminocarbonyl group, a dimethylaminocarbonyl group, a propylaminocarbonyl group, a pentylaminocarbonyl group, a cyclohexylaminocarbonyl group, a phenylaminocarbonyl group and 2-pyridylaminocarbonyl group), a carboxyl group and a hydroxyl group. Preferable groups are: a hydrogen atom, a hydroxyl group, a carboxyl group, an alkoxy group, an acyloxy group and an alkyl group. More preferable groups are: a hydrogen atom, an alkyl group, a hydroxyl group and an acyloxy group. Specifically preferable groups are a hydrogen atom and an alkyl group.

[0163]

In addition, the asterisk (*) indicates the bonding position.

[0164]

In Formulas (ACR2), X2 represents an oxygen atom, N—R23, or C—R24. R23 represents a hydrogen atom, a hydroxyl group, an alkoxy group, an alkyl group, or an amino group, preferably R23 represents a hydroxyl group or an alkoxy group. R24 represents an alkyl group, an aryl group, or a heterocyclic group. Preferably, R24 represents an alkyl group or an aryl group, and more preferably, R24 represents an alkyl group.

[0165]

In addition, the asterisk (*) indicates the bonding position.

[0166]

In Formulas (ACR3), X3 represents a nitrogen atom, or N(+)—R33. R33 represents an alkyl group or an aryl group. When X3 represents N(+), it may contain a counter ion to neutralize the charge. As a counter ion, for example, Cl, Br, I and BF4 can be cited.

[0167]

In addition, the asterisk (*) indicates the bonding position.

[0168]

In Formulas (ACR4), the asterisk (*) indicates the bonding position.

[0169]

These condensed aromatic cyclic structures may contain a substituent. Examples of the substituent are: an alkyl group having 1 to 25 carbon atoms (for example, a methyl group, an ethyl group, a propyl group, an isopropyl group, and a tert-butyl group, a pentyl group, a hexyl group and a cyclohexyl group), a halogenated alkyl group (for example, a trifluoromethyl group and a perfluorooctyl group), a cycloalkyl group (for example, a cyclohexyl group and a cyclopentyl group), an alkynyl group (for example, a propargyl group), a glycidyl group, an acrylate group, a methacrylate group, an aryl group (for example, a phenyl group), a heterocyclic group (for example, a pyridyl group, a thiazolyl group, an oxazolyl group, an imidazolyl group, a furyl group, a pyrrolyl group, a pyrazinyl group, a pyrimidinyl group, a pyridazinyl group, a selenazolyl group, a sulfolanyl group, a piperidinyl group, a pyrazolyl group and a tetrazolyl group), a halogen atom (for example, a chlorine atom, a bromine atom, iodine atoms and a fluorine atom), an alkoxy group (for example, a methoxy group, an ethoxy group, a propyloxy group, a pentyloxy group, a cyclopentyloxy group, a hexyloxy group and a cyclohexyloxy group), an aryloxy group (for example, a phenoxy group), an alkoxycarbonyl group (for example, a methyloxycarbonyl group, an ethyloxycarbonyl group and a butyloxycarbonyl group), an aryloxycarbonyl groups (for example, a phenyloxycarbonyl group), a sulfonamide group (for example, a methanesulfonamide group, an ethanesulfonamide group, a butanesulfonamide group, a hexanesulfonamide group, a cyclohexanesulfonamide group and a benzenesulfonamide group), a sulfamoyl group (for example, an aminosulfonyl group, amethylaminosulfonyl group, a dimethylaminosulfonyl group, a butylaminosulfonyl group, a hexylaminosulfonyl group, a cyclohexylaminosulfonyl group, a phenylaminosulfonyl group and 2-pyridyl amino sulfonyl group, etc.), a urethane group (for example, a methylureido group, an ethylureido group, a pentylureido group, a cyclohexylureido group, a phenylureido group and 2-pyridyl ureido group), an acyl group (for example, an acetyl group, an propionyl group, a butanoly group, a hexanoly group, a cyclohexanoly group, a benzoyl group and a pyridinoyl group), a carbamoyl group (for example, an aminocarbonyl group, a methylaminocarbonyl group, a dimethylaminocarbonyl group, a propylaminocarbonyl group, a pentylaminocarbonyl group, a cyclohexylaminocarbonyl group, a phenylaminocarbonyl group and 2-pyridylaminocarbonyl group), an amide group (for example, an acetamide group, a propionamide group, a butaneamide group, a hexanamide group and a benzamide group), a sulfonyl group (for example, a methylsulfonyl group, an ethylsulfonyl group, a butylsulfonyl group, a cyclohexylsulfonyl group, a phenylslufonyl group and 2-pyridyl sulfonyl group), an amino group (for example, an amino group, an ethylamino group, a dimethylamino group, a butylamino group, a cyclopentylamino group, an anilino group and 2-pyridyl amino group), a cyano group, a carboxyl group and a hydroxyl group. In addition, these groups may be further substituted with these groups. Moreover, when there are two or more substituents, they may be the same or different with each other, and they may be jointed with each other to form a condensed cyclic structure. Preferable groups are: a hydrogen atom, a halogen atom, an amide group, an alkyl group and an aryl group. More preferable groups are: a hydrogen atom, a halogen atom, an amide group and an alkyl group. Specifically preferable groups are a hydrogen atom, a halogen atom and an alkyl group.

[0170]

Examples of a preferable condensed aromatic cyclic structure are shown below, however, the present invention is not limited to them.

[0171]

Examples of a Condensed Aromatic Cyclic Structure

[0000]

<<Synthesis of Macromonomer>>

[0172]

A macromonomer can be synthesized by a method in which an active hydrogen-containing compound is allowed to serve as a starting material and then polyiso(thio)cyanate and the active hydrogen-containing compound are alternately condensed; or a method in which polyiso(thio)cyanate is allowed to serve as a starting material and then an active hydrogen-containing compound and the polyiso(thio)cyanate are alternately condensed.

[0173]

As the active hydrogen-containing compound, the above-cited urea compounds substituted with an alkyl group having a hydroxyl group or an amino group at a terminal, polyamines, polyols, aminoalcohols, aminophenols, and alkylaminophenols are cited. As the starting material, urea compounds substituted with an alkyl group having a hydroxyl group or an amino group at a terminal or polyamines are preferable. Of these, polyamines having an aromatic condensed ring structure are more preferable. In the case of use in an alternate condensation process, aminoalcohols or polyols are preferable.

[0174]

In the case of use of polyiso(thio)cyanate as a starting material, as the starting material, polyiso(thio)cyanate having an aromatic condensed ring structure is preferable. Via condensation with an active hydrogen-containing compound, a compound having active hydrogen at a terminal may be synthesized, or a diamine may be formed using the method described in JP-A No. 5-115841.

[0175]

Further, a macromonomer having active hydrogen at a terminal is allowed to react with 3-chloro-1-butene, allyl chloride, acryloyl chloride, or methacryloyl chloride, whereby a macromonomer having a vinyl group, an acryloyl group, or a methacryloyl group at a terminal can be synthesized.

[0176]

In reaction of polyiso(thio)cyanate with an active hydrogen-containing compound, when at least one terminal is allowed to be an isocyanate group, the used amount of the polyiso(thio)cyanate is preferably 1-10-fold mol based on the active hydrogen-containing compound, more preferably 1-5-fold mol, still more preferably 1-3-fold mol.

[0177]

In reaction of polyiso(thio)cyanate with an active hydrogen-containing compound, when at least one terminal is allowed to be active hydrogen, the used amount of the active hydrogen-containing compound is preferably 1-10-fold mol based on the polyiso(thio)cyanate, more preferably 1-5-fold mol, still more preferably 1-3-fold mol.

[0178]

Condensation reaction temperature is preferably as low as possible, being −40-60° C., preferably −20-30° C., more preferably −10-10° C. Further, the reaction temperature may be kept at a constant temperature from the reaction initiation to the termination. It is possible to employ a low temperate initially and thereafter to raise the temperature.

[0179]

As a solvent used in the reaction, a highly-polar solvent needs to be used, since the targeted resin composition has high polarity and polymerization is required to proceed efficiently. A highly-polar aprotic solvent such as DMF (N,N-dimethylformamide), DMAc (N,N-dimethylacetamide), DMSO(dimethyl sulfoxide), or NMP (N-methylpyrrolidone) is preferably selected. However, if a reactive substance and a targeted substance are well dissolved, there may be used solvents including an aliphatic hydrocarbon such as cyclohexane, pentane, or hexane; an aromatic hydrocarbon such as benzene, toluene, or chlorobenzene; an ether such as THF (tetrahydrofuran), diethyl ether, or ethylene glycol diethyl ether; a ketone such as acetone, methyl ethyl ketone, or 4-methyl-2-pentanone; or an ester such as methyl propionate, ethyl acetate, or butyl acetate. These solvents may be used as a mixture.

[0180]

To efficiently accelerate urethane-bond formation, usable is a well-known urethane-bond formation catalyst including a tertiary alkyl amine such as N,N,N′,N′-tetramethyl-1,3-butanediamine, triethylamine, or tributylamine; a condensed ring amine such as 1,4-diazabicyclo[2.2.2]octane or 1,8-diazabicyclo[5.4.0]unde-7-ene; or an alkyl tin such as DBTL, tetrabutyltin, or tributyltin acetate.

[0181]

In view of efficient reaction and reaction procedures, the used amount of such a catalyst is preferably 0.1-30 mol % based on a monomer substance.

[0182]

A macromonomer may be isolated at each condensation process or synthesized in one pot, being, however, preferably isolated and purified on formation of a compound having active hydrogen at a terminal.

[0183]

For purification of a macromonomer, any appropriate method may be used. However, purification via reprecipitation is preferable. The reprecipitation method is not specifically limited. But, a method is preferable in which a macromonomer is dissolved in a good solvent and then the resulting solution is dripped into a poor solvent for precipitation.

[0184]

The “good solvent” referred to herein may be any solvent as long as the solvent dissolves such a macromonomer. A polar solvent is preferable. A highly-polar aprotic solvent such as DMF (N,N-dimethylformamide), DMAc (N,N-dimethylacetamide), DMSO(dimethyl sulfoxide), or NMP (N-methylpyrrolidone) can specifically be cited.

[0185]

Further, the “poor solvent” may be any solvent unless the solvent dissolves the macromonomer. There can be cited an aliphatic hydrocarbon such as cyclohexane, pentane, or hexane; an aromatic hydrocarbon such as benzene, toluene, or chlorobenzene; an ether such as diethyl ether or ethylene glycol diethyl ether; an ester such as methyl propionate, ethyl acetate, or butyl acetate; and an alcohol such as methanol, ethanol, or propanol.

[0186]

Specific examples of the macromonomer will now be listed that by no means limit the scope of the present invention.

[0000]

<<Solvent>>

[0187]

As a solvent usable during polymerization in the present invention, a solvent which is commonly used in polymer material synthesis can be used, including tetrahydrofuran, acetone, methyl ethyl ketone, ethyl acetate, methylene chloride, chloroform, toluene, and hexane with no limitation.

[0188]

(Production Method of an Organic Piezoelectric Material)

[0189]

The organic piezoelectric material of the present invention can be produced using any of the various well-known methods in the technological field. In the present invention, preferable is a production method of embodiment in which an organic piezoelectric material liquid A containing particles and an organic piezoelectric material liquid B not containing the particles are subjected to co-casting and also such casting is carried out so that the organic piezoelectric material liquid A is brought into direct contact to the casting support.

[0190]

A method employing such casting will now be described.

(Production Process)

[0191]

A production method of the organic piezoelectric material of the present invention will now be described with reference to the process chart shown in FIG. 1.

[0192]

FIG. 1 is a process chart showing one example of a production apparatus for the organic piezoelectric material of the present invention. An organic piezoelectric material liquid 1a has been poured into the organic piezoelectric liquid tank 1 to prepare such an organic piezoelectric material liquid and also a fine particle added liquid 2a has been poured into the fine particle added liquid tank 2 The organic piezoelectric material liquid 1a is sent to the in-line mixers 5a and 5b by the pumps 4b and 4c. The fine particle added liquid 2a is sent to the in-line mixer 5a by the pump 4a. Using the in-line mixer 5a, the organic piezoelectric material liquid 1a and the fine particle added liquid 2a are well mixed to be sent to the slit of the slit die 6.

[0193]

Similarly, using the in-line mixer 5b, the organic piezoelectric material liquid 1a and an additive liquid 3a are well mixed to be sent to the slit of the slit die 6. The upper and lower surface layers are constituted of a mixed liquid of the organic dielectric material liquid 1a and the fine particle added liquid 2a flowing from the slit die 6 and the middle layer is co-cast from the casting opening in the state of a mixed liquid of the organic piezoelectric material liquid 1a and the additive liquid 3a. Then, casting is carried out from the drum 7 onto the casting belt 8 which continuously moves. An organic piezoelectric material liquid layer containing the thus-cast 3 layers is dried and thereafter peeled from the casting belt by the roller 9 as an organic piezoelectric material laminated film 10.

[0194]

Herein, in production of such an organic piezoelectric material, 3 layers may be “co-cast” as described above, or casting of a single layer may be employable using only the in-line mixer 5a into which particles are added.

[0195]

A co-casting method according to the production method of an organic piezoelectric material will now further be detailed.

[0196]

“Co-casting” may be any of a successive multi-layer casting method in which a 2-layer or 3-layer constitution is formed via different dies; a simultaneous multi-layer casting method in which a 2-layer or 3-layer constitution is formed via confluence in a die having 2 or 3 slits; and a multi-layer casting method in which successive multi-layer casting and simultaneous multi-layer casting are combined.

[0197]

In the present invention, a “liquid in which an organic piezoelectric material is dissolved” represents the state where an organic piezoelectric material is dissolved in a dissolving medium (a solvent). Any appropriate additives such as a hardener, a plasticizer, and an antioxidant may be added to the organic piezoelectric material liquid. Of course, other additives may also be added as appropriate. The solid concentration in the organic piezoelectric material liquid is preferably 5-30% by mass, more preferably 10-25% by mass.

(Organic Solvent)

[0198]

An organic solvent used for the present invention contains water in an amount of 0.1% by mass or less, and preferably, 0.05% by mass or less. The organic solvents used in the present invention may be used individually or in combination. However, mixed use of a good solvent and a poor solvent is preferable from the viewpoint of production efficiency. With regard to a more preferable mixed ratio of the good solvent and the poor solvent, the good solvent is 70-99% by mass and the poor solvent is 30-1% by mass. As to the “good solvent” and the “poor solvent” used in the present invention, a solvent dissolving a used organic piezoelectric material on its own is defined as a good solvent and in contrast, a solvent swelling or not dissolving such a material on its own is defined as a poor solvent. Therefore, the good solvent and the poor solvent are changed depending on the type and structure of an organic piezoelectric material. For example, when methyl ethyl ketone is used as a solvent, the solvent serves as a good solvent for PVDF and in contrast, results in serving as a poor solvent for a polyurea resin constituted of a diisocyanate compound such as 4,4′-diphenylmethane diisocyanate (MDI) and a diamine compound such as 4,4′-diaminodiphenylmethane (MDA).

[0199]

As a good solvent used in the present invention, a solvent such as methyl ethyl ketone, and dimethylformamide, dimethylacetamide, dimethylformamide, and N-methylpyrrolidone are cited.

[0200]

Further, as a poor solvent used in the present invention, for example, methanol, ethanol, n-butanol, cyclohexane, or cyclohexanone is preferably used.

(Dissolving Method)

[0201]

When an organic piezoelectric material liquid is prepared, as a dissolving method of an organic piezoelectric material, any common method can be used. However, as a preferable method, a method is preferably employed in which an organic piezoelectric material is mixed with a poor solvent to be wetted or swollen and then mixed with a good solvent. In this case, to prevent occurrence of aggregated insoluble substances called gel or aggregated powdery mass, a method may be used in which heating is carried out for dissolution with stirring under pressure at the boiling point or more of a solvent at room temperature and also in a temperature range where the solvent does not boil.

[0202]

Pressurization may be carried out by a method in which an inert gas such as nitrogen gas is injected or by increasing the vapor pressure of the solvent via heating. Heating is preferably carried out from the outside. For example, those of jacket types are preferable for easier temperature control.

[0203]

Heating temperature after solvent addition is preferably at least the boiling point a used solvent and also in a temperature range where the solvent does not boil. The temperature is preferably set at 40° C. or more and also in the range of 50-100° C. Further, pressure is controlled at a set temperature so as for the solvent not to boil.

[0204]

After dissolution, removal from the container is carried out while cooling or extraction from the container is performed by a pump, followed by cooling using a heat exchanger for film formation. At this moment, the cooling temperature may be lowered to room temperature. However, cooling is more preferably carried out down to a temperature which is 5-10° C. lower than the boiling point to reduce the viscosity of an organic piezoelectric material liquid.

[0205]

For example, in production of an organic piezoelectric material of at least 2 layers, an organic piezoelectric material of at least 2 layers can also be obtained as follows: an organic piezoelectric material liquid A prepared by mixing and dispersing, using an in-line mixer, an organic piezoelectric material liquid in which an organic piezoelectric material is dissolved in a solvent, particles, and a solution in which a small amount of the organic piezoelectric material is dissolved and an organic piezoelectric material liquid B in which the organic piezoelectric material is dissolved (other additives such as a cross-linking agent are separately added if appropriate) are co-cast (i.e. the casting step) using a die slit with a plurality of slits so that the organic piezoelectric material liquid A containing particles is cast directly on the casting belt; then a part of the solvent is removed by heating (i.e. the drying step on the casting belt); and thereafter peeling from the casting belt is carried out and the thus-peeled film is dried (i.e. the film drying step).

[0206]

As the support in the casting step, a support in which belt- or drum-shaped stainless steel is mirror-finished is preferably used. The temperature of such a support in the casting step is in a common temperature range, and namely at a temperature of 0° C.− less than the solvent boiling point, casting can be carried out. However, casting onto the support of 0-60° C. is preferable to gel the dope and to extend the peeling limit duration. Casting onto the support of 5-40° C. is more preferable. The peeling limit duration is duration in which in the casting speed limit under which a transparent film exhibiting excellent flatness can be obtained continuously, a cast organic piezoelectric material liquid remains on the support. A sorter peeling limit duration is preferable for enhanced productivity.

[0207]

The surface temperature of the support of the casting side is 10-80° C. and the temperature of the solution is 15-60° C. Further, the temperature of the solvent is preferably higher than that of the support by at least 0° C., and such setting is more preferably made at 5° C. or more. Higher solvent temperature and support temperature are preferable to increase the drying speed of the solvent. However, excessively higher temperatures may cause foam formation or flatness degradation.

[0208]

A more preferable range of the temperature of the support is 20-40° C. and a more preferable range of the solution temperature is 35-45° C.

[0209]

The support temperature during peeling is allowed to be preferably 10-40° C., more preferably 15-30° C., whereby the adhesion force between the organic piezoelectric material and the support can be reduced. To allow an organic piezoelectric material during production to exhibit excellent flatness, the residual solvent amount during peeling from the support is preferably 1-80%, more preferably 3-40%, specifically preferably 5-30%.

[0210]

In the present invention, the residual solvent amount is defined by the following expression.

[0000]


Residual solvent amount=(mass prior to heating treatment−mass after heating treatment)/(mass after heating treatment)×100%

[0211]

Herein, heating treatment in determination of the residual solvent amount refers to 1-hour heating treatment for an organic piezoelectric material at a certain temperature ranging from 100-200° C.

[0212]

The peeling tension during peeling of an organic piezoelectric material from the support is commonly 20-25 kg/m for peeling. However, the organic piezoelectric material of the present invention is a thin film.

[0213]

The organic piezoelectric material of the present invention tends to be wrinkled during peeling. Therefore, peeling is preferably carried out in the range of the minimum peelable tension −17 kg/m, more preferably the minimum tension −14 kg/m. Further, in the drying step of an organic piezoelectric material, the organic piezoelectric material having been peeled from the support is further dried, whereby the residual solvent amount therein is allowed to be preferably at most 3% by mass, more preferably at most 0.1% by mass.

[0214]

In the drying step, a system is commonly employed in which an organic piezoelectric material is dried while conveyed using a roll suspension system or a pin tenter system. The organic piezoelectric material is preferably dried while the width thereof is maintained using the pin tenter system to enhance dimensional stability. Especially, immediately after peeling from the support, while the residual solvent amount is large, such width maintenance is specifically preferably carried out, whereby dimensional stability enhancement effects are further expressed. The member for drying is not specifically limited, and hot air, infrared radiation, a heating roll, or microwaves are commonly employed. In view of simplicity, hot air is preferably employed. The drying temperature is preferably divided into temperatures of 3-5 stages in the range of 30-200° C. and gradually raised. Drying in the range of 50-140 ° is more preferable to improve the dimensional stability.

[0215]

In the present invention, in order to improve the recovering efficiency of a solvent and to avoid the danger of a fire of the solvent which is used for coating, a coating process and a drying process are set under an inert gas atmosphere. An inert gas is a gas which does not have a deteriorate effect on a coated article under the condition of normal temperature and ordinary pressure, there are cited: a nitrogen gas, a carbon dioxide gas and a helium gas. Among them, a nitrogen gas is most preferable.

[0216]

In the drying process of the present invention, the inert gas used for drying has a purity of 99% by mass. Preferably, it is 99.5% by mass or more, and more preferably, it is 99.9% by mass or more.

[0217]

As impurities contained in the inert gas of the present invention, oxygen and water are cited. It is preferable that a content of oxygen is 0.2% mass or less and a content of water is 0.1% by mass or less.

[0218]

In the present invention, an average oxygen concentration in a drying process is adjusted to 2% by mass or less, and preferably to 1% by mass or less using the inert gas of the above-mentioned purity. Here, an average oxygen concentration is a concentration which is equalized a concentration distribution of oxygen in the manufacturing process, and it can be obtained by calculation from the quantity of the uptake air and the quantity of the uptake inert gas.

[0219]

Generally, since an inert gas is used in order to prevent ignition explosion of a solvent, it can be said that oxygen concentration is sufficiently taken into consideration here. The present inventors also found out with respect to the surface quality of the organic piezoelectric material, that is, the surface quality is influenced very much by the water concentration during the drying of an organic piezoelectric material in addition to the blowoff of the inert gas to the surface of the material. Therefore, during the processes from the casting to the drying in which the solvent is reduced to an extent of the remaining solvent being of at least 40% by mass, the surface of the organic piezoelectric material is preferably dried with an inert gas having a water content of 0.5% by mass or less, more preferably 0.2% by mass or less, and still more preferably 0.1% by mass or less.

[0220]

Furthermore, it is preferable that the solution preparation containers (preparation vessels) are separated physically under a sealed state and to make each into an inert gas atmosphere, and to make it as a part of an apparatus to collect the coating solvent which is discharged in the manufacturing process. By this, an inert gas circulates through a solution preparation part and a drying process, and there is no loss of an inert gas, and a solvent gas can be contacted to a cooling surface. As a result, condensation to liquid can be carried out to recover the solvent. Then, by making the inert gas after being recovered the solvent to circulate again in the production line, it can be possible to achieve a drying apparatus having a completely sealed recovering circulating system.

[0221]

By adopting the above-mentioned method, it can effectively circulate the inert gas containing the solvent, with sending the inert gas containing the solvent into the interior of the solution preparation container and subsequently in the drying process where the solvent concentration is increased gradually. At the moment of a highest solvent concentration, the inert gas is contacted to a cooling surface. As a result, it is possible to collect solvent efficiently and it can be achieved a “Zero emission system” enabling to avoid evacuation of a solvent from the inside of a factory.

[0222]

The inert gas which is circulated in each manufacturing process is discharged from the inert gas outlet attached to each manufacturing process. Although it may move even to the next manufacturing process in part, since exhaust equipment is independently formed also in the next manufacturing process, recovering efficiency does not fall. However, when the manufacturing process is stopped and the inert gas containing a low-concentration solvent is generated, it is preferable to use together a solvent recovery method of making it adsorbing to active carbon because only a usual recovery method by air exhaust will result in insufficient recovery efficiency

(Organic Piezoelectric Film)

[0223]

An organic piezoelectric film according to the present invention can be produced using the above piezoelectric material by any of the conventionally known methods such as a melting method and a casting method.

[0224]

In the present invention, as the production method of such an organic piezoelectric film, employable is a method for forming a polymer film basically using a method in which a solution of the polymer material is coated onto a substrate and dried or a well-known solution polymerization coating method in which a raw material of the polymer material is used.

[0225]

A specific method and condition of the solution polymerization coating method can be based On any of the well-known methods. For example, it is preferable to employ a method in which a mixed solution of raw materials is coated onto a substrate and dried to some extent under reduced pressure (the solvent is removed), and then heating and thermal polymerization are carried out. Thereafter or at the same time, polarization treatment is performed to form an organic piezoelectric film.

[0226]

Herein, to enhance piezoelectric characteristics, it is useful to apply treatment to uniform the molecular arrangement. Such a method includes stretching film formation and polarization treatment.

[0227]

As the stretching film formation method, various well-known methods are employable. For example, a liquid in which the above organic polymer material is dissolved in an organic solvent such as ethyl methyl ketone (MEK) is cast onto a substrate such as a glass plate and the solvent is dried at room temperature to obtain a film of a desired thickness. Then, this film is stretched to a length of a predetermined factor at room temperature. With regard to this stretching, stretching can he carried out in the uniaxial or biaxial direction to the extent that an organic piezoelectric film having a predetermined shape is not broken. The stretching factor is 2-10 times, preferably 2-6 times.

(Polarization Treatment)

[0228]

As the polarization treatment method in polarization treatment according to the resent invention, a well-known method such as direct voltage application treatment, alternating voltage application treatment, or corona discharge treatment is applicable.

[0229]

For example, in the case of the corona discharge treatment method, corona discharge treatment can be carried out using an apparatus incorporating a commercially available high voltage power source and electrodes.

[0230]

Discharge conditions depend on the equipment and the treatment ambience. Therefore, such conditions are preferably selected appropriately. The voltage of the high voltage power source is preferably −1-20 kV, and the current and the electrode distance are preferably 1-80 mA and 1-10 cm, respectively. The applied voltage is preferably 0.5-2.0 MV/m.

[0231]

As the electrodes, preferable are acicular electrodes, linear electrodes (wire electrodes), or net-shaped electrodes having been conventionally used. However, the present invention is not limited thereto.

[0232]

When the organic piezoelectric material of the present invention is polarized by corona discharge, it is preferable that a flat surface electrode is placed so as to be brought into contact on a first surface of the organic piezoelectric material and also a columnar corona discharge electrode is placed on the second surface side opposed to the first surface to carry out polarization treatment by corona discharge.

[0233]

The polarization treatment is preferably carried out via an embodiment in which the treatment is performed in the flow of nitrogen or a rare gas (helium or argon) under an ambience of a mass absolute humidity of at most 0.004 in order to prevent oxidation of the material surface caused by water and oxygen and in order not to impair piezoelectric properties. The treatment in the flow of nitrogen is specifically preferable.

[0234]

Further, it is preferable that corona discharge is carried out while at least one of an organic piezoelectric material having a flat surface electrode placed so as to be in contact on the first surface and a columnar corona discharge electrode placed on the second surface side is moved at a certain rate.

[0235]

Herein, in the present invention, the “mass absolute humidity” refers to the ratio SH (specific humidity) defined by the following expression, provided that the mass of dry air is mDA [kg] and the mass of water vapor contained in humid air is mW [kg]. The unit is represented by [kg/kg(DA)] (DA stands for dry air). However, in the present invention, expressions are made without this unit.

[0000]


SH=MW/MDA [kg/kg(DA)]  (Expression):

[0236]

Herein, air containing water vapor is referred to as “humid air” and air in which water vapor is eliminated from the humid air is referred to as “dry air.”

[0237]

Incidentally, the definition of the mass absolute humidity in the flow of nitrogen or a rare gas (helium or argon) is based on the above case of air and referred to as the ratio SH defined based on the above expression, provided that the mass of a dry gas is mDG, [kg] and the mass of water vapor contained in a humid gas is mW [kg]. The unit is represented by [kg/kg(DG)] (DG stands for dry gas). However, in the present invention, expressions are made without this unit.

[0238]

Further, “placement” means that an existing electrode having been previously produced separately is placed on the surface of an organic piezoelectric material so as to be brought into contact therewith, or that an electrode constituent material is bonded to the surface of an organic piezoelectric material by a deposition method to form an electrode on this surface.

[0239]

Herein, it is preferable to form, under an electrical field in the formation process, an organic piezoelectric film which is formed using the organic piezoelectric material of the present invention, namely to carry out polarization treatment in the formation process. In this case, a magnetic field may be used in combination.

[0240]

In a corona discharge treatment method according to the present invention, such treatment can be carried out using an apparatus incorporating a commercially available high voltage power source and electrodes.

[0241]

Discharge conditions depend on the equipment and the treatment ambience. Therefore, such conditions are preferably selected appropriately. With regard to the voltage of the high voltage power source, the positive and the negative voltage are preferably 1-20 kV, and the current and the electrode distance are preferably 1-80 mA and 0.5-10 cm, respectively. The applied electrical field is preferably 0.5-2.0 MV/m. An organic piezoelectric material or an organic piezoelectric film in the polarization treatment is preferably kept in a temperature of 50-250° C., more preferably 70-180° C.

[0242]

As an electrode used in corona discharge, a columnar electrode as described above needs to be used to carry out uniform polarization treatment.

[0243]

Herein, in the present invention, the diameter of the circle of such a columnar electrode is preferably 0.1 mm-2 cm. The length of the column is preferably allowed to be an appropriate one depending on the size of an organic piezoelectric material to be polarized. For example, in general, from the viewpoint of uniform polarization treatment, the length is preferably at most 5 cm.

[0244]

These electrodes are preferably in the stretched state at the portion where corona discharge is carried out, and such stretching can be realized by a method in which a certain load is applied to both end thereof or fixation is made in the state of applying a certain load. Further, as a constituent material of these electrodes, a common metal material is usable. However, gold, silver, and copper are specifically preferable.

[0245]

A flat surface electrode placed so as to be in contact on the first surface is preferably kept in uniformly close contact with an organic piezoelectric material to carry out uniform polarization treatment Namely, it is preferable to form an organic polymer film or an organic piezoelectric film on a substrate on which a flat surface electrode has been placed and thereafter to carry out corona discharge.

[0246]

Herein, as a method for producing an ultrasonic oscillator according to the present invention, a production method of an embodiment is preferable in which polarization treatment is carried out prior to formation of electrodes placed on both sides of an organic piezoelectric (body) film, after electrode formation on one side, or after electrode formation on both sides. Further, the polarization treatment is preferably a voltage application treatment.

(Substrate)

[0247]

With regard to the substrate, a substrate is selected depending on the intended purpose and usage of an organic piezoelectric body film according to the present invention. In the present invention, usable is a plastic plate or a film such as polyimide, polyamide, polyimideamide, polyethylene terephthalate (PET), polyethylene naphthalate (PEN), polymethyl methacrylate (PMMA), a polycarbonate resin, or a cycloolefin polymer. Further, those obtained by covering the surface of any of these materials with aluminum, gold, copper, magnesium, or silicon may be used. Still further, a plate or a film of an aluminum, gold, copper, magnesium, or silicon single body, or a single crystal of a rare earth halide. And, the substrate itself is not used in some cases.

(Ultrasonic Oscillator)

[0248]

An ultrasonic oscillator according to the present invention is characterized by using an organic piezoelectric film formed using the organic piezoelectric material of the present invention. The ultrasonic oscillator is preferably allowed to be an ultrasonic receiving oscillator used in an ultrasonic medical diagnostic imaging device probe provided with an ultrasonic transmitting oscillator and an ultrasonic transmitting oscillator.

[0249]

Incidentally, an ultrasonic oscillator is usually constituted by arranging a pair of electrodes so as to sandwich a layer (or a film) formed of a film-shaped piezoelectric material (a “piezoelectric film,” a “piezoelectric body film,” or a “piezoelectric body layer”), and then an ultrasonic probe is constituted for example, via one-dimensional arrangement of a plurality of such oscillators.

[0250]

A predetermined number of such oscillators of the long axis direction arranged with a plurality of the oscillators are set as an aperture, and thereby a function is performed in which a plurality of the oscillators belonging to the aperture are driven; an ultrasonic beam is focused on and irradiated to a measurement portion in a tested subject; and also an ultrasonic reflective echo emitted from the tested subject is received by a plurality of the oscillators belonging to the aperture for conversion into an electrical signal.

[0251]

An ultrasonic receiving oscillator and an ultrasonic transmitting oscillator according to the present invention will now be detailed.

<Ultrasonic Receiving Oscillator>

[0252]

An ultrasonic receiving oscillator according to the present invention is a oscillator having an ultrasonic receiving piezoelectric material used for an ultrasonic medical diagnostic imaging device probe. A piezoelectric material constituting the oscillator is preferably an embodiment employing an organic piezoelectric film formed using the organic piezoelectric material of the present invention.

[0253]

Herein, an organic piezoelectric material or an organic piezoelectric film used in an ultrasonic receiving oscillator preferably has a specific dielectric constant of 10-50 in the thickness resonance frequency. Adjustment of the specific dielectric constant can be carried out via adjustment of the number of the above substituent R possessed by a compound constituting the organic piezoelectric material or a polar functional group such as a CF2 group or CN group, the composition, and the degree of polymerization, as well as via the above polarization treatment.

[0254]

Further, an organic piezoelectric body film constituting e receiving oscillator of the present invention can be constituted by laminating a plurality of polymer materials. In this case, as such laminated polymer materials, other than the above polymer materials, the following polymer materials having relatively small specific dielectric constant can be combined.

[0255]

Herein, in the following examples, each number in a parenthesis represents the specific dielectric constant of a polymer material (resin).

[0256]

For example, usable is a methyl methacrylate resin (3.0), an acrylonitrile resin (4.0), an acetate resin (3.4), an aniline resin (3.5), an aniline formaldehyde resin (4.0), an aminoalkyl resin (4.0), an alkyd resin (5.0), nylon-6-6 (3.4), an ethylene resin (2.2), an epoxy resin (2.5), a vinyl chloride resin (3.3), a vinylidene chloride resin (3.0), a urea formaldehyde resin (7.0), a polyacetal resin (3.6), polyurethane (5.0), a polyester resin (2.8), polyethylene (low-pressure) (2.3), polyethylene terephthalate (2.9), a polycarbonate resin (2.9), a melamine resin (5.1), a melamine formaldehyde resin (8.0), cellulose acetate (3.2), a vinyl acetate resin (2.7), a styrene resin (2.3), styrene butadiene rubber (3.0), a styrol resin (2.4), or an ethylene fluoride resin (2.0).

[0257]

Herein, the polymer materials having relatively small specific dielectric constant are preferably selected depending on the intended purposes to adjust piezoelectric characteristics or to provide physical strength for an organic piezoelectric body film.

<Ultrasonic Transmitting Oscillator>

[0258]

An ultrasonic transmitting oscillator according to the present invention is preferably constituted of a piezoelectric body material having an appropriate specific dielectric constant in view of the relationship with a oscillator incorporating the above receiving piezoelectric material. Further, a piezoelectric material exhibiting excellent heat resistance and voltage resistance is preferably used.

[0259]

As an ultrasonic transmitting oscillator constituent material, various well-known organic piezoelectric materials and inorganic piezoelectric materials can be used.

[0260]

As such an organic piezoelectric material, a polymer material similar to the above ultrasonic receiving oscillator constituent organic piezoelectric material can be used.

[0261]

As such an inorganic material, usable is crystal, lithium niobate (LiNbO3), potassium niobate tantalate [K(Ta, Nb]O3], barium titanate (BaTiO3), lithium tantalate (LiTaO3), lead titanate zirconate (PZT), strontium titanate (SrTiO3), or barium strontium titanate (BST).

[0262]

Herein, PZT is preferably Pb(Zr1-nTin)O3 (0.47≦n≦1).

<Electrode>

[0263]

A piezoelectric (body) oscillator according to the present invention is produced in such a manner that an electrode is formed on both sides or one side of a piezoelectric body film (layer) and the piezoelectric body film is polarized. When an ultrasonic receiving oscillator employing an organic piezoelectric material is produced, the above first surface electrode having been used in polarization treatment can be used as such. The electrode is formed using an electrode material mainly containing gold (Au), platinum (Pt), silver (Ag), palladium (Pd), copper (Cu), nickel (Ni), Tin (Sri), or aluminum (Al).

[0264]

In formation of an electrode, initially, a base metal such as titanium (Ti) or chromium (Cr) is formed into a thickness of 0.02-1.0 μm by a sputtering method, and thereafter a metal mainly containing the above metal element and a metal material containing an alloy thereof, as well as partially an insulating material if appropriate are formed into a thickness of 1-10 μm using a sputtering method, a deposition method, or another appropriate method. Such electrode formation can be carried out, other than the sputtering method, via screen printing a dipping method, or a spraying method using an electrically conductive paste prepared by mixing fine-powdered metal powder with low-boiling point glass.

[0265]

Further, a predetermined voltage is supplied between the electrodes formed on both sides of a piezoelectric body film and thereby the piezoelectric body film is polarized to obtain a piezoelectric element.

(Ultrasonic Probe)

[0266]

An ultrasonic probe according to the present invention is an ultrasonic medical diagnostic imaging device probe provided with an ultrasonic transmitting oscillator and an ultrasonic receiving oscillator, and has such a feature that the ultrasonic receiving oscillator of the present invention is used as a receiving oscillator.

[0267]

In the present invention, only a single oscillator may play a role for both transmission and reception of ultrasonic waves. However, more preferably, oscillators for transmission and reception are separately constituted in a probe.

[0268]

As a piezoelectric material constituting a receiving oscillator, a well-known ceramics inorganic piezoelectric material or organic piezoelectric material can be used.

[0269]

In an ultrasonic probe according to the present invention, the ultrasonic receiving oscillator of the present invention can be arranged on or in parallel to a transmitting oscillator.

[0270]

As a more preferred embodiment, a constitution is preferable in which the ultrasonic receiving oscillator of the present invention is laminated on an ultrasonic transmitting oscillator. In this case, the ultrasonic receiving oscillator of the present invention may be laminated on a transmitting oscillator via attachment on another polymer material (the above polymer (resin) film of relatively small specific dielectric constant serving as a support, for example, polyester film). In such a case, the thickness of the receiving oscillator and such another polymer material in total preferably corresponds to a preferable receiving frequency band from the viewpoint of probe designing. In view of a practical ultrasonic medical diagnostic imaging device and an actual frequency hand for living body information gathering, the thickness is preferably 40-150 μm.

[0271]

Incidentally, a backing layer, an acoustic matching layer, and an acoustic lens may be arranged for the probe. Further, a probe may be formed in which oscillators having a large number of piezoelectric materials are arranged two-dimensionally. A constitution as a scanner may be employed to sequentially scan a plurality of two-dimensionally-arranged probes for imaging.

(Ultrasonic Medical Diagnostic Imaging Device)

[0272]

The ultrasonic probe of the present invention can be used for ultrasonic diagnostic systems of various embodiments, being preferably able to be used, for example, in the ultrasonic medial diagnostic imaging devices shown in FIG. 2 and FIG. 3.

[0273]

FIG. 2 is a schematic view showing the constitution of the main section of an ultrasonic medial diagnostic imaging device of the embodiment of the present invention. This ultrasonic medical diagnostic imaging device is provided with an ultrasonic probe arranged with piezoelectric body oscillators to transmit an ultrasonic wave to a tested subject such as a patient and to receive the ultrasonic wave having been reflected from the tested subject as an echo signal. Further, provided are a transmitting and receiving circuit to generate an ultrasonic wave by supplying an electrical signal to the ultrasonic probe and also to receive an echo signal having been received by each piezoelectric body oscillator of the ultrasonic probe; and a transmitting and receiving control circuit to carry out transmitting and receiving control of the transmitting and receiving circuit

[0274]

Further, an image data conversion circuit to convert an echo signal received by the transmitting and receiving circuit into ultrasonic image data of the tested subject is provided. Still further, a display control circuit to carry out displaying by controlling the monitor using ultrasonic image data converted by the image data conversion circuit and a control circuit to control the entire ultrasonic medical diagnostic imaging device are provided.

[0275]

The control circuit is connected to the transmitting and receiving control circuit, the image data conversion circuit, and the display control circuit, and the control circuit controls the behavior of each section. An electrical signal is applied to each piezoelectric body oscillator of an ultrasonic probe and thereby an ultrasonic wave is transmitted to the tested subject. Thereafter, a reflective wave generated via acoustic impedance mismatching is received by the ultrasonic probe.

[0276]

Herein, the above transmitting and receiving circuit corresponds to a “member to generate an electrical signal” and the image data conversion circuit corresponds to an “image processing member.”

[0277]

According to the ultrasonic diagnostic system described above, an ultrasonic image having enhanced image quality, as well as enhanced reproducibility and stability thereof can be obtained compared with the prior art, utilizing the feature of the ultrasonic receiving oscillator of the present invention having excellent piezoelectric characteristics and heat resistance and being suitable for a high frequency/broad band.

Examples

[0278]

The present invention will now specifically be described with reference to examples, however, the present invention will not be limited to them.

Example 1

(Preparation of Organic Piezoelectric Material Liquid A)

[0279]

One hundred mass parts of PVDF-3FE powder which had been sufficiently dried in a vacuum drier at 50° C. for 3 hours and 400 mass parts of methyl ethyl ketone were placed into a sealed container. The resulting mixture was completely dissolved while heated at 50° C. with stirring. The prepared solution was filtered with a filter paper (Azumi Filter Paper No. 244, made by Azumi Filter Paper Co., Ltd.). The filtrate was further filtered employing Finemet NM having an absolute filter accuracy 10 μm (made by Nihon Seisen Co., Ltd.) to prepare pure organic piezoelectric material liquid A.

[0280]

Herein, with regard to the molecular weight of the used PVDF-3FE, the weight average molecular weight was 250,000 and Mn/Mw was 2.6 as the results of GPC determination under the following conditions.

[0281]

Solvent: 30 mM of LiBr in N-methylpyrrolidone

[0282]

Apparatus: HCL-8220GPC (made by Tosoh Co., Ltd.)

[0283]

Column: TSKgel Super AWM-H×2 (made by Tosoh Co., Ltd.)

[0284]

Column temperature: 40° C.

[0285]

Sample concentration: 1.0 g/L

[0286]

Injection amount: 40 μl

[0287]

Flow rate: 0.5 ml/minute

[0288]

Calibration curve: using a calibration curve prepared based on 9 samples of Standard polystyrene (PS-1, made by Polymer Laboratories Co., Ltd.) having Mw of 580 to 2,560,000.

[0289]

Herein, a content of water in the used methyl ethyl ketone was determined to be 0.08% by mass measured with coulometric titration by Karl Fisher method.

[0290]

Test reagent: Karl Fisher SS-Z (made by Mitsubishi Chemical Co., Ltd.), dehydration solvent for ketone KTX 25-50 ml:

[0291]

Amount of sample: 2 g;

[0292]

Measuring apparatus: KF-200 (made by DATA Instrument Co., Ltd.)

(Preparation of Organic Piezoelectric Material Liquid B)

[0293]

Under nitrogen ambience, 61 mass parts of macromonomer M-3I was dissolved in 240 mass parts of N-methylpyrrolidone (NMP) at room temperature. To this solution was added a solution of 39 mass parts of macromonomer M-35 dissolved in 160 mass parts of N-methylpyrrolidone. Then, the reaction solution was heated up to 80° C. and stirred for 3 hours. Thus-obtained reaction solution was filtered to prepare pure organic piezoelectric material liquid B.

[0294]

Herein, the molecular weight was determined using GPC under the above conditions, whereby the weight average molecular weight was 34,000 and Mw/Mn was 4.3. A content of water in the used solvent was 0.09% by mass when it was measured as above with coulometric titration by Karl Fisher method.

(Preparation of Particle Dispersion)

[0295]

[0000]

AEROSIL 200V (produced by Nihon Aerosil Co., Ltd.)10 mass parts
(Average diameter of primary particles: 12 nm)
Dimethylformamide90 mass parts

[0296]

The above composition was stirred and mixed for 30 minutes using a dissolver and then dispersed using a Manton-Gaulin homogenizer. The liquid turbidity after dispersion was 93 ppm. The liquid turbidity was determined using T-2600DA (produced by Tokyo Denshoku Co., Ltd.).

(Preparation of Added Liquid A)

[0297]

Six mass parts of PVDF-3FE used in preparation of the pure organic piezoelectric material liquid A as an organic piezoelectric material and 140 mass parts of methyl ethyl ketone were placed into a sealed container, and the resulting mixture was completely dissolved while heated and stirred and then filtered. To this was added ten mass parts of the prepared particle dispersion with stirring, followed by stirring for 30 minutes and the solution was filtered to prepare added liquid A.

(Preparation of Organic Piezoelectric Material)

[0298]

To 100 mass parts of pure organic piezoelectric material liquid A was added the added liquid A with a ratio as shown in Table 1. The resulting mixture was sufficiently mixed using an in-line mixer (static in-line mixer Hi-Mixer, SWJ, produced by Toray Industries, Inc.) and filtered. Subsequently, using a belt casting apparatus, confluence was made in a die having slits. Then, a casting liquid was uniformly cast at 33° C. to have a width of 1,000 mm on a stainless steel casting belt to form a dried thickness of 40 μm. The cast liquid was exposed to an air flow having a wind velocity of 15 m/second and a temperature of 50 to 90° C. in a direction of 45° with respect to the direction of the casting direction for 1 minute. Then, the solvent was evaporated until the residual solvent amount reached 25% on the stainless steel casting belt, and the formed material was peeled off from the casting belt at a peeling tension of 13 kg/m. The peeled organic piezoelectric material was slit to a width of 700 mm, and residual organic piezoelectric material A-1 was obtained as a remaining material after been slit. Subsequently, drying was terminated while conveyed in the drying zone with a roll followed by carrying out slitting to a width of 500 mm. Thus organic piezoelectric material No. 1, and Nos. 4-7 were obtained.

[0299]

Organic piezoelectric material sample No. 3 was produced in the same manner as preparation of organic piezoelectric material sample No. 1 except that methyl ethyl ketone used for preparation of the organic piezoelectric material liquid A was changed to the solvent recovered during the drying process. Moreover, organic piezoelectric material samples No. 10 and No. 11 each were respectively produced in the same manner as preparation of organic piezoelectric material sample No. 4 except that methyl ethyl ketone having adjusted a water content to be 0.3% by mass was used, and the ratio of added liquid was changed as shown in Table A.

[0300]

Organic piezoelectric material sample No. 12 was produced in the same manner as preparation of organic piezoelectric material sample No. 1 except that methyl ethyl ketone having adjusted a water content to be 0.2% by mass was used,

[0301]

Organic piezoelectric material sample No. 2 was produced in the same manner as preparation of organic piezoelectric material No. 1 except that pure organic piezoelectric material liquid B was used.

[0302]

Pure organic piezoelectric material liquid B was prepared by using N-methylpyrrolidone (NMP) having being adjusted a water content to be 0.3% by mass a solvent. To 70 mass parts of this pure organic piezoelectric material liquid B was used the aforesaid added liquid A. In the same manner as above, solution casting, slitting, roll transporting and drying were carried out to produce organic piezoelectric material sample No. 8.

[0303]

Pure organic piezoelectric material liquid C was prepared in the same manner as preparation of pure organic piezoelectric material liquid B, except that macromonomer M-31 was replaced with an equimolar amount of benzophenone-4,4′-diisothiacyanic acid, and macromonomer M-35 was replaced with an equimolar amount of 2,2′-bis(4-aminophenyl)hexafluoropropane, and further, the solvent was changed to dimethyl sulfoxide (DMSO). In the same manner as preparation of organic piezoelectric material sample No. 8, organic piezoelectric material sample No. 9 was prepared using the prepared pure organic piezoelectric material liquid C.

[0304]

Further, there was prepared Sample No. 13 which has a polyvinylidene fluoride (PVDF) film (thickness of 40 μm) as an organic piezoelectric material.

Example 2

[0305]

Al was vapor deposition-coated on both sides of a sample obtained in Example 1 at a surface resistance of at most 1Ω using vacuum deposition apparatus JEF-420 (produced by JOEL Datum Co.) to obtain a sample having surface electrodes. Subsequently, polarization treatment was carried out while an alternating voltage of 0.1 Hz was applied to these electrodes at room temperature. This polarization treatment was performed from the low voltage side and the voltage was gradually applied until the electrical field between the electrodes finally reached 50 MV/m. Thus, a sample of the organic piezoelectric material of the present invention was obtained. It was confirmed that the organic piezoelectric material film of the present invention exhibited an electromechanical coupling coefficient of 0.3 or more. In addition, the sample containing a large amount of water showed insulation breakdown before reaching 50 MV/mm and polarization was difficult to occur. As a result, polarization treatment was done at a maximum value of electrical filed between the electrodes under which insulation breakdown did not occur.

<Water Content>

[0306]

A water content in the organic piezoelectric material sample was determined with a volume titration method (water evaporation method) by Karl Fisher method at 125° C. using the following apparatus.

[0307]

Test reagent: 150-180 ml of AQUAMICRON™ AX and 10 ml of AQUAMICRON™ AX (made by Mitsubish Chemical Co., Ltd.)

[0308]

Amount of sample: 2 g,

[0309]

Measuring apparatus: KF-200 (made by DATA Instrument Co., Ltd.)

<Adhesion Properties>

[0310]

After vapor deposition coating, the sample was left stand at 23° C. under a humidity of 55% for 24 hours, and then adhesion of the surface electrode thereof was examined by a grid tape peeling test based on JIS D0202-1988. A cellophane tape (“CT24” produced by Nichiban Co., Ltd.) was allowed to adhere to a film using the ball of a finger, followed by peeling. Judgment was conducted by the number of grids having not been peeled among 100 grids. The case of no peeling was expressed as 100/100 and in contrast, the case of complete peeling was expressed as 0/100.

<Piezoelectricity>

[0311]

Lead wires were attached to electrodes of both sides of the thus-obtained organic piezoelectric material sample to which the electrodes have been attached. Then, with regard to the sample under an ambience of 25° C. and having been heated up to 100° C., using impedance analyzer 4294A (produced by Agilent Technologies), evaluation was conducted on piezoelectric property using thickness resonance wavelength. The results are listed in Table 1. Herein, the piezoelectric property is expressed as a relative value in which the value of a comparative PVDF film determined at room temperature is designated as 100%.

[0312]

The method to determine the piezoelectric constant using thickness resonance wavelength with an impedance analyzer was based on item 4.2.6 with respect to the thickness vertical vibration of a disc oscillator described in Standard JEITA EM-4501 (formerly EMAS-6100) (set by Japan Electronics & Information Technology Industries Association) concerning the electrical testing method of a piezoelectric ceramic oscillator.

[0313]

The evaluation results are shown in Table 1.

[0000]

1A0.08%1000.01%100/100 145Present invention
2B0.09%1000.05%100/100 156Present invention
3ARecovered solvent1000.02%91/100148Present invention
0.05%
4A0.08%95Added Liquid A0.02%89/100145Present invention
 5% by mass
5A0.08%90Added Liquid A0.03%83/100153Present invention
10% by mass
6A0.08%80Added Liquid A0.03%91/100164Present invention
20% by mass
7A0.08%70Added Liquid A0.04%93/100163Present invention
30% by mass
8B0.03%70Added Liquid A0.01%100/100 145Present invention
30% by mass
9C0.09%70Added Liquid A0.01%100/100 165Present invention
30% by mass
10A0.03%30Added Liquid A0.02%98/100150Present invention
70% by mass
11A0.03%25Added Liquid A0.01%99/100145Present invention
75% by mass
12A0.20%1000.13%45/100111Comparison
13PVDF1000.05% 0/100100Comparison

Example 3

(Preparation and Evaluation of an Ultrasonic Probe)

<Preparation of Transmitting Piezoelectric Material>

[0314]

CaCO3, La2O3, Bi2O3, and TiO2 as component raw materials and MnO as an auxiliary component raw material were prepared. The component raw materials were weighed to allow the final component composition to be (Ca0.97La0.03)Bi4.01Ti4O15. Subsequently, pure water was added thereto and the resulting mixture was mixed for 8 hours using a ball mill containing zirconia media in pure water, followed by being sufficiently dried to obtain mixed powder. The thus-obtained mixed powder was tentatively shaped, followed by being tentatively fired in air at 800° C. for 2 hours to produce a tentatively fired substance. Thereafter, pure water was added to the thus-obtained tentatively fired substance, followed by fine pulverization using a ball mill containing zirconia media in pure water and by drying to produce piezoelectric ceramics raw material powder. In such fine pulverization, the duration for fine pulverization and fine pulverization conditions were varied, whereby piezoelectric ceramics raw material powders each having a particle diameter of 100 nm were obtained. Pure water serving as a binder was added to each of the piezoelectric ceramics raw material powders of different particle diameter at 6% by mass and the resulting mixture was press-shaped to give a plate-like tentatively shaped body of a thickness of 100 μm. This plate-like tentatively shaped body was vacuum-packed and then shaped using a press by applying a pressure of 235 MPa. Subsequently, the above shaped body was fired. Thus, a fired body having a thickness of 20 μm as the final fired body was obtained. Herein, each firing temperature was 1100° C. Then, polarization treatment was carried out by applying an electrical field of at least 1.5×Ec (MV/m).

(Preparation of Receiving Laminated Oscillator)

[0315]

Using the organic piezoelectric material of No. 1 produced in Example 2, a receiving laminated oscillator was laminated on the above transmitting piezoelectric material based on a common method, and also a backing layer and an acoustic coupling layer were placed to experimentally produce an ultrasonic probe.

[0316]

Incidentally, a probe was produced as a comparative example in the same manner as preparation of the above ultrasonic probe except that instead of using the receiving laminated oscillator as describe above, a receiving laminated oscillator only employing a polyvinylidene fluoride film having a thickness of 40 μm (an organic piezoelectric body film), which was prepared with a uniaxial stretching after dissolving, was laminated on the receiving laminated oscillator. Subsequently, the receiving sensitivity and the insulation breakdown strength of 2 types of the ultrasonic probes were determined for evaluation.

[0317]

Herein, with regard to the receiving sensitivity, the basic frequency f1 of 5 MHz was transmitted and then relative receiving sensitivity was determined at 10 MHz as the receiving secondary harmonic f2, at 15 MHz as the tertiary harmonic, and at 20 MHz as the quaternary harmonic. The relative receiving sensitivity was determined using acoustic strength measurement system Model 805 (1-50 MHz) (produced by Sonora Medical System, Inc., 2021 Miller Drive, Longmont, Colo. (0501, USA)). In determination of the insulation breakdown strength, load power P was increased fivefold and 10-hour testing was conducted. Then, the load power was returned to the reference to evaluate the relative receiving sensitivity.

[0318]

The above evaluation confirmed that the probe provided with a receiving piezoelectric (body) laminated oscillator according to the present invention had the relative receiving sensitivity of 1.2 times of the comparative example, and also exhibited excellent insulation breakdown strength. Namely, the ultrasonic receiving oscillator of the present invention was confirmed to be suitably employed for a probe used in an ultrasonic medical diagnostic imaging device as described in FIG. 1.

Как компенсировать расходы
на инновационную разработку
Похожие патенты