заявка
№ US 20110000571
МПК F16L9/14

AUTOMOTIVE FUEL HOSE

Авторы:
Koji Mizutani
Правообладатель:
Номер заявки
12919078
Дата подачи заявки
29.10.2009
Опубликовано
06.01.2011
Страна
US
Дата приоритета
14.12.2025
Номер приоритета
Страна приоритета
Как управлять
интеллектуальной собственностью
Чертежи 
1
Реферат

[0000]

An automotive fuel hose is disclosed including an inner layer, a lower fuel permeability layer and an outer layer provided in this order on an outer peripheral surface of an innermost layer of a fluororesin. The inner layer and the outer layer each include of an amine-modified polyamide resin, where the lower fuel permeability layer is a resin composition including the following components: (A) a polyphenylenesulfide resin as a major component; (B) an acid-modified polyolefin resin; (C) an unmodified polyolefin resin; and (D) an epoxy resin. The proportion of the component (B) in the resin composition is 4 to 12 wt % and the proportion of the component (C) in the resin composition is 4 to 12 wt %, wherein the proportion of the component (D) in the resin composition is 1.5 to 5 wt %.

[00000]

Формула изобретения

1. An automotive fuel hose, comprising:

a tubular innermost layer of a fluororesin;

an inner layer provided on an outer peripheral surface of the innermost layer;

a lower fuel permeability layer provided on the inner layer; and

an outer layer provided on the lower fuel permeability layer,

wherein the inner layer and the outer layer are each composed of an amine-modified polyamide resin,

wherein the lower fuel permeability layer is composed of a resin composition including:

(A) a polyphenylenesulfide resin;

(B) 4 to 12 wt % of an acid-modified polyolefin resin;

(C) 4 to 12 wt % of an unmodified polyolefin resin; and

(D) 1.5 to 5 wt % of an epoxy resin,

wherein the acid-modified polyolefin resin (B) and the unmodified polyolefin resin (C) are present in a total proportion of 12 to 24 wt % in a weight ratio of (B)/(C)=3/1 to 1/3 in the resin composition, and

wherein the lower fuel permeability layer is bonded to the inner layer and the outer layer through a chemical reaction.

2. The automotive fuel hose as set forth in claim 1, wherein the acid-modified polyolefin resin (B) is at least one of an ethylene-α-olefin copolymer modified with maleic anhydride and an ethylene-α-olefin copolymer modified with maleic acid.

3. The automotive fuel hose as set forth in claim 1, wherein the unmodified polyolefin resin (C) is an ethylene-α-olefin copolymer.

4. The automotive fuel hose as set forth in claim 1, wherein the epoxy resin (D) is an o-cresol novolak epoxy resin.

5. The automotive fuel hose as set forth in claim 1, wherein the fluororesin for the innermost layer is a fluororesin having a functional group.

6. The automotive fuel hose as set forth in claim 1, wherein the inner layer, the lower fuel permeability layer and the outer layer are formed by coextrusion.

Описание

TECHNICAL FIELD

[0001]

The present invention relates to an automotive fuel hose and, more specifically, to an automotive fuel hose to be used for transporting an automotive fuel such as gasoline, alcohol-containing gasoline or diesel gasoline.

BACKGROUND ART

[0002]

With growing worldwide awareness of environmental issues, the control of the amount of hydrocarbon vapor emission from an automotive fuel hose or the like has been enhanced. Particularly in the United States, stringent regulations against vapor emission have recently come into effect. To cope with hydrocarbon vapor emission control in this situation, multilayer hoses have been proposed which include a lower fuel permeability layer composed of a fluororesin.

[0003]

Such a multilayer hose employing the fluororesin is excellent in fuel permeation resistance to gasoline containing alcohol such as methanol and ethanol. To satisfy a stricter fuel permeation resistance requirement, the thickness of the fluororesin layer should be increased, resulting in correspondingly higher costs of the hose.

[0004]

Polyphenylenesulfide (PPS) resins, which are better in fuel permeation resistance than the fluororesin, are attractive. Such a PPS resin has excellent fuel permeation resistance and, therefore, a layer composed of the PPS resin has satisfactory permeation resistance even if having a relatively small thickness. Accordingly, a hose including a lower fuel permeability layer composed of the PPS resin is more advantageous in costs than a hose including the lower fuel permeability layer of the fluororesin. As an example of the hose including the lower fuel permeability layer of the PPS resin, a fuel hose has been proposed which includes a lower fuel permeability layer of a PPS resin and a layer of a non-PPS thermoplastic resin (polyamide resin or the like) provided on an outer peripheral surface of the lower fuel permeability layer (for example, PLT1).

CITATION LIST

Patent Literature

[0005]

PLT1: JP-A-2008-111063

SUMMARY OF INVENTION

Technical Problem

[0006]

In the fuel hose disclosed in PLT1, an adhesive layer composed of a composition containing a PPS resin, a polyamide resin, a thermoplastic resin having a functional group and an uncrosslinked elastomer is provided between the layer of the PPS resin composition (PPS resin layer) and the layer of the polyamide resin composition (polyamide resin layer) to bond the PPS resin layer and the polyamide layer. However, interlayer adhesiveness between the PPS resin layer and the polyamide resin layer is disadvantageously poor, because the PPS resin layer and the polyamide resin layer of the fuel hose are merely bonded to each other due to the affinity of the PPS resin layer for the PPS resin in the adhesive layer and the affinity of the polyamide resin layer for the polyamide resin in the adhesive layer. Further, the PPS is excellent in fuel permeation resistance, but poor in flexibility. Therefore, the fuel hose disclosed in PLT1 is disadvantageously poor in flexibility, because the PPS resin layer is provided as the lower fuel permeability layer and, in addition, the adhesive layer contains the PPS.

[0007]

In view of the foregoing, it is an object of the present invention to provide an automotive fuel hose excellent in interlayer adhesiveness and flexibility.

Solution to Problem

[0008]

An automotive fuel hose according to the present invention to achieve the aforesaid object includes an inner layer, a lower fuel permeability layer and an outer layer provided in this order on an outer peripheral surface of an innermost layer of a fluororesin, wherein the inner layer and the outer layer are each composed of an amine-modified polyamide resin, wherein the lower fuel permeability layer is composed of a resin composition comprising the following components (A) to (D):

[0000]

(A) a polyphenylene sulfide resin as a major component;
(B) an acid-modified polyolefin resin;
(C) an unmodified polyolefin resin; and
(D) an epoxy resin,
wherein the proportion of the component (B) in the resin composition is 4 to 12 wt % and the proportion of the component (C) in the resin composition is 4 to 12 wt %, wherein the proportion of the component (D) in the resin composition is 1.5 to 5 wt %, wherein the total proportion of the components (B) and (C) is 12 to 24 wt % and the mixing weight ratio of the components (B) and (C) is (B)/(C)=3/1 to 1/3, wherein the lower fuel permeability layer is bonded to the inner layer and the outer layer through a chemical reaction.

[0009]

The inventors of the present invention conducted intensive studies to provide an automotive fuel hose excellent in interlayer adhesiveness and flexibility. The inventors found that, where a hose including a lower fuel permeability layer formed by using a specific resin composition containing a polyphenylenesulfide (PPS) resin, an acid-modified polyolefin resin, an unmodified polyolefin resin and an epoxy resin in predetermined proportions and having a sandwich structure with the lower fuel permeability layer being held between an inner layer and an outer layer each composed of an amine-modified polyamide resin is produced by forming the three layers by coextrusion, the aforesaid object can be achieved, thereby attaining the present invention. More specifically, a functional group of the epoxy resin or a functional group of the acid-modified polyolefin resin in the lower fuel permeability layer chemically reacts with a terminal group of the amine-modified polyamide resin in the inner layer due to heat applied during the coextrusion in the production of the hose, so that the lower fuel permeability layer is firmly bonded to the inner layer. This improves interlayer adhesiveness between the lower fuel permeability layer and the inner layer in contact with the lower fuel permeability layer (inner layer/lower fuel permeability layer adhesiveness). Further, a terminal group of the amine-modified polyamide resin in the outer layer chemically reacts with the functional group of the epoxy resin or the functional group of the acid-modified polyolefin resin in the lower fuel permeability layer due to the heat applied during the coextrusion, so that the outer layer is firmly bonded to the lower fuel permeability layer. This improves interlayer adhesiveness between the lower fuel permeability layer and the outer layer in contact with the lower fuel permeability layer (lower fuel permeability layer/outer layer adhesiveness). In the present invention, the flexibility of the hose is also improved, because the unmodified polyolefin resin is used in addition to the acid-modified polyolefin resin for the specific resin composition for the lower fuel permeability layer.

ADVANTAGEOUS EFFECTS OF INVENTION

[0010]

The inventive automotive fuel hose has improved interlayer adhesiveness between the lower fuel permeability layer and the inner layer in contact with the lower fuel permeability layer (inner layer/lower fuel permeability layer adhesiveness), because the lower fuel permeability layer and the inner layer are firmly bonded to each other through the chemical reaction of the functional group of the epoxy resin or the functional group of the acid-modified polyolefin resin in the lower fuel permeability layer with the terminal group of the amine-modified polyamide resin in the inner layer due to the heat applied during the coextrusion. Further, the inventive automotive fuel hose has improved interlayer adhesiveness between the lower fuel permeability layer and the outer layer in contact with the lower fuel permeability layer (lower fuel permeability layer/outer layer adhesiveness), because the lower fuel permeability layer and the outer layer are firmly bonded to each other through the chemical reaction of the terminal group of the amine-modified polyamide resin in the outer layer with the functional group of the epoxy resin or the functional group of the acid-modified polyolefin resin in the lower fuel permeability layer due to the heat applied during the coextrusion. Therefore, the inventive automotive fuel hose is simpler in layered structure and less costly without the need for provision of an adhesive layer. Further, the inventive automotive fuel hose has improved flexibility, because the unmodified polyolefin resin is used in addition to the acid-modified polyolefin resin for the specific resin composition for the lower fuel permeability layer. In the inventive automotive fuel hose, the innermost layer and the inner layer are provided on an inner peripheral surface of the lower fuel permeability layer composed of the specific resin composition. Without the possibility that the PPS resin directly contacts sour gasoline, the inventive automotive fuel hose has excellent sour-gasoline resistance, while maintaining fuel permeation resistance intrinsic to the PPS resin. Further, the inventive automotive fuel hose is excellent in shock resistance, because the automotive fuel hose has a sandwich structure such that the lower fuel permeability layer composed of the specific resin composition is held between the inner layer and the outer layer.

[0011]

Where the acid-modified polyolefin resin (B) is at least one of an ethylene-α-olefin copolymer modified with maleic anhydride and an ethylene-α-olefin copolymer modified with maleic acid, the interlayer adhesiveness is further improved.

[0012]

Where the unmodified polyolefin resin (C) is an ethylene-α-olefin copolymer, the flexibility is further improved.

[0013]

Where the epoxy resin (D) is an o-cresol novolak epoxy resin, the interlayer adhesiveness is further improved.

[0014]

Where the fluororesin for the innermost layer is a fluororesin having a functional group, interlayer adhesiveness between the innermost layer and the inner layer composed of the amine-modified polyamide resin is further improved.

[0015]

Where the inner layer, the lower fuel permeability layer and the outer layer are formed by coextrusion, the chemical reaction is promoted by the heat applied during the coextrusion, thereby further improving the interlayer adhesiveness.

BRIEF DESCRIPTION OF DRAWING

[0016]

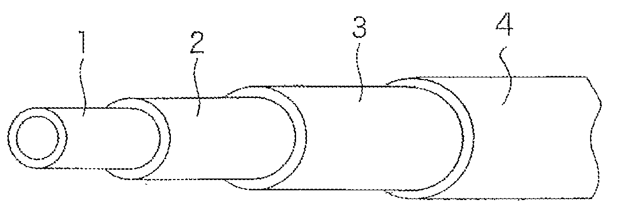
FIG. 1 is a structural diagram showing an exemplary automotive fuel hose according to the present invention.

DESCRIPTION OF EMBODIMENTS

[0017]

Embodiments of the present invention will next be described in detail.

[0018]

As shown in FIG. 1, an automotive fuel hose according to the present invention includes an inner layer 2, a lower fuel permeability layer 3 and an outer layer 4 provided in this order on an outer peripheral surface of a tubular innermost layer 1 in which fuel flows.

[0019]

In the present invention, the inner layer 2 and the outer layer 4 are each composed of an amine-modified polyamide resin, and the lower fuel permeability layer 3 is composed of a resin composition containing the following components (A) to (D):

[0000]

(A) a polyphenylenesulfide resin as a major component;
(B) an acid-modified polyolefin resin;
(C) an unmodified polyolefin resin; and
(D) an epoxy resin. The proportion of the component (B) in the resin composition is 4 to 12 wt %, and the proportion of the component (C) in the resin composition is 4 to 12 wt %. The proportion of the component (D) in the resin composition is 1.5 to 5 wt %. The total proportion of the components (B) and (C) is 12 to 24 wt %, and the mixing weight ratio of the components (B) and (C) is (B)/(C)=3/1 to 1/3. The lower fuel permeability layer is bonded to the inner layer and the outer layer through a chemical reaction. This is a dominant feature of the present invention.

[0020]

A fluororesin is used as a material (innermost layer material) for the innermost layer 1 of the inventive automotive fuel hose. Examples of the fluororesin include ethylene-tetrafluoroethylene copolymers (ETFE), vinylidene fluoride-tetrafluoroethylene-hexafluoropropylene copolymers (THV), polyvinyl fluorides (PVF), polyvinylidene fluorides (PVDF), tetrafluoroethylene-hexafluoropropylene copolymers (FEP), tetrafluoroethylene-perfluoroalkylvinyl ether copolymers (PFA), polychlorotrifluoroethylenes (CTFE), ethylene-chlorotrifluoroethylene copolymers (ECTFE), vinylidene fluoride-hexafluoropropylene copolymers, hexafluoropropylene-perfluoroalkylvinyl ether copolymers, vinylidene fluoride-perfluoroalkylvinyl ether copolymers, tetrafluoroethylene-hexafluoropropylene-perfluoroalkylvinyl ether copolymers, ethylene-tetrafluoroethylene-hexafluoropropylene copolymers, vinylidene fluoride-tetrafluoroethylene-perfluoroalkylvinyl ether copolymers, vinylidene fluoride-hexafluoropropylene-perfluoroalkylvinyl ether copolymers, vinylidene fluoride-tetra fluoroethylene-hexafluoropropylene-perfluoroalkylvinyl ether copolymers, ethylene-tetrafluoroethylene-perfluoroalkylvinyl ether copolymers, ethylene-hexafluoropropylene-perfluoroalkylvinyl ether copolymers, ethylene-tetrafluoroethylene-hexafluoropropylene-perfluoroalkylvinyl ether copolymers, vinylidene fluoride-chlorotrifluoroethylene copolymers and vinylidene fluoride-tetrafluoroethylene copolymers, which may be used either alone or in combination. Among these, ETFE is preferred in terms of workability.

[0021]

For adhesiveness between the innermost layer 1 and the inner layer 2, a fluororesin having a functional group is preferably used as the innermost layer material in the present invention. The functional group is preferably a reactive functional group which reacts directly with a functional group of the amine-modified polyamide resin in the inner layer 2, and examples of the reactive functional group include a carboxylic anhydride residue and a carboxylic group.

[0022]

The fluororesin having the functional group may be prepared, for example, by grafting a compound having the functional group to a fluororesin, or by copolymerizing a compound having the functional group with a fluororesin to bond the compound to a main chain or a terminal of the fluororesin.

[0023]

The innermost layer material may contain an electrically conductive agent, as required, in addition to the fluororesin.

[0024]

Examples of the electrically conductive agent include carbon blacks, carbon nano-tubes, metal fibers, metal powders and metal oxide powders, which may be used either alone or in combination.

[0025]

The amine-modified polyamide resin is used as a material (inner layer material) for the inner layer 2 to be formed on the outer peripheral surface of the innermost layer 1. Examples of the amine-modified polyamide resin include polyamide resins modified with aliphatic diamines such as 1,6-hexamethylenediamine, trimethylhexamethylenediamine, 1,4-diaminobutane, 1,3-diaminopropane, ethylenediamine and polyether diamines, aliphatic diamine carbamates such as hexamethylenediamine carbamate and ethylenediamine carbamate, aliphatic polyamines such as diethylenetriamine, triethylenetetramine, tetraethylenepentamine, pentaethylenehexamine, ethylaminoethylamine, methylaminopropylamine, 2-hydroxyethylaminopropylamine, aminoethylethanolamine, 1,2-bis(3-aminopropoxy)-2,2-dimethylpropane, 1,3,6-trisaminomethylhexane, iminobispropylamine, methyliminobispropylamine and bis(hexamethylene)triamine, alicyclic polyamines such as menthanediamine, N-aminoethylpiperazine, 1,3-diaminocyclohexane, isophoronediamine and bis(4-amino-3-methylcyclohexyl)methane, aliphatic polyamines having an aromatic ring such as m-xylylenediamine and tetrachloro-p-xylylenediamine, aromatic amines such as m-phenylenediamine, diaminodiphenyl ether, 4,4′-methylenedianiline, diaminodiphenyl sulfone, benzidine, 4,4′-bis(o-toluidine), 4,4′-thiodianiline, o-phenylenediamine, dianisidine, methylene bis(o-chloroaniline), 2,4-toluenediamine, bis(3,4-diaminophenyl)sulfone, diaminoditolyl sulfone, 4-chloro-o-phenylenediamine, 4-methoxy-6-methyl-m-phenylenediamine and m-aminobenzylamine, silicon-containing polyamines such as 1,3-bis(γ-aminopropyl)-1,1,3,3-tetramethyldisiloxane, amine-modified silicone oil, butadiene-acrylonitrile copolymers having a terminal functional group of amine, tertiary amine compounds such as N,N,N′,N′-tetramethylhexamethylenediamine and N,N,N′,N″,N″-pentamethyldiethyltriamine, ethylene copolymers containing an ethylene unit and an N,N-dialkylaminoalkyl α,β-unsaturated carboxylate unit (e.g., copolymers of ethylene and N,N-dimethylaminomethyl methacrylate), ethylene copolymers containing an ethylene unit and an N,N-dialkylaminoalkyl α,β-unsaturated carboxylamide unit (e.g., copolymers of ethylene and N,N-dimethylaminopropylacrylamide), dihydrazide compounds such as succinic dihydrazide, adipic dihydrazide, isophthalic dihydrazide and eicosanedioic dihydrazide, and polymer compounds such as of diaminomaleonitrile and melamine. These may be used either alone or in combination.

[0026]

Examples of the polyamide resins to be modified with the amines include polyamide 46 (PA46), polyamide 6 (PA6), polyamide 66 (PA66), polyamide 99 (PA99), polyamide 1010 (PA1010), polyamide 610 (PA610), polyamide 612 (PA612), polyamide 11 (PA11), polyamide 912 (PA912), polyamide 12 (PA6), copolymers of polyamide 6 and polyamide 66 (PA6/PA66), copolymers of polyamide 6 and polyamide 12 (PA6/PA12), and aromatic polyamide resins such as polyhexamethylenediamine terephthalamides, polyhexamethylene isophthalamides and xylene-containing polyamides, which may be used either alone or in combination.

[0027]

Among the amine-modified polyamide resins described above, the amine-modified PA12 is preferred for adhesion to the lower fuel permeability layer 3.

[0028]

The specific resin composition as a material (lower permeability layer material) for the lower fuel permeability layer 3 to be formed on the outer peripheral surface of the inner layer 2 contains the polyphenylenesulfide resin (A) as the major component, the acid-modified polyolefin resin (B), the unmodified polyolefin resin (C) and the epoxy resin (D).

[0029]

The polyphenylenesulfide (PPS) resin (A) as the major component of the specific resin composition has a structural unit, for example, represented by the following general formula (1):

[0000]

[0000]

wherein n is a positive number.

[0030]

The PPS resin (A) preferably contains the structural unit represented by the above general formula (1) in a proportion of not less than 70 mol %, particularly preferably not less than 90 mol %, for heat resistance.

[0031]

The PPS resin (A) may have a functional group in the molecular structure (at a terminal of the molecule). Examples of the functional group include an epoxy group, a hydroxyl group, a carboxylic anhydride residue, a carboxylic group, an acrylate group, a carbonate group and an amino group.

[0032]

Usable as the acid-modified polyolefin resin (B) is, for example, a polyolefin resin modified with an acid functional group such as a carboxyl group or a salt thereof, a carboxylate group or an acid anhydride group.

[0033]

The polyolefin resin to be acid-modified is preferably an α-olefin copolymer. Examples of the α-olefin copolymer include copolymers of ethylene or propylene and an α-olefin such as ethylene, propylene, 1-butene, 1-pentene, 1-hexene, 1-heptene, 1-octene, 1-nonene and 1-decene. More specifically, ethylene-α-olefin copolymers are preferred.

[0034]

Among the acid-modified polyolefin resins (B) described above, ethylene-α-olefin copolymers modified with maleic anhydride and ethylene-α-olefin copolymers modified with maleic acid are preferred for interlayer adhesiveness.

[0035]

The unmodified polyolefin resin (C) is preferably, for example, an α-olefin copolymer. Examples of the α-olefin copolymer include those described for the acid-modified polyolefin resin (B).

[0036]

The epoxy resin (D) is preferably a multifunctional epoxy resin. The multifunctional epoxy resin herein means an epoxy resin having a total of two or more epoxy groups in its molecule. Examples of the multifunctional epoxy resin include glycidylamine epoxy resins, triphenylglycidylmethane epoxy resins, tetraphenylglycidylmethane epoxy resins, aminophenol epoxy resins, diamidodiphenylmethane epoxy resins, phenol novolak epoxy resins, o-cresol novolak epoxy resins, bisphenol-A novolak epoxy resins and glycidyl ether epoxy resins, which may be used either alone or in combination. Among these, the o-cresol novolak epoxy resins are preferred for interlayer adhesiveness.

[0037]

In the present invention, the proportions of the acid-modified polyolefin resin (B), the unmodified polyolefin resin (C) and the epoxy resin (D) in the specific resin composition are 4 to 12 wt %, 4 to 12 wt % and 1.5 to 5 wt %, respectively. Particularly, it is preferred that the proportions of the acid-modified polyolefin resin (B), the unmodified polyolefin resin (C) and the epoxy resin (D) are 6 to 10 wt %, 6 to 10 wt % and 2 to 4 wt %, respectively. If the proportion of the acid-modified polyolefin resin (B) is too small, the interlayer adhesiveness is deteriorated. On the other hand, if the proportion of the acid-modified polyolefin resin (B) is too great, the resulting hose is harder and less flexible. If the proportion of the unmodified polyolefin resin (C) is too small, the unmodified polyolefin resin (C) fails to serve as a compatibilizer, resulting in poorer flexibility of the hose. On the other hand, if the proportion of the unmodified polyolefin resin (C) is too great, the interlayer adhesiveness is deteriorated. Further, if the proportion of the epoxy resin (D) is too small, the interlayer adhesiveness is deteriorated. On the other hand, if the proportion of the epoxy resin (D) is too great, an unreacted portion of the epoxy resin is liable to remain as an inclusion, leading to cracking of the hose.

[0038]

In the present invention, the total proportion of the acid-modified polyolefin resin (B) and the unmodified polyolefin resin (C) is 12 to 24 wt %, preferably 14 to 20 wt %. If the total proportion of the components (B) and (C) is too small, the flexibility is poorer. On the other hand, if the total proportion of the components (B) and (C) is too great, the fuel permeation resistance (fuel barrier property) is poorer.

[0039]

In the present invention, the mixing ratio (mixing weight ratio) of the acid-modified polyolefin resin (B) and the unmodified polyolefin resin (C) is (B)/(C)=3/1 to 1/3, preferably (B)/(C)=2/1 to 1/2. If the mixing ratio of the component (B) is too great (the mixing ratio of the component (C) is too small), the flexibility is poorer. On the other hand, if the mixing ratio of the component (B) is too small (the mixing ratio of the component (C) is too great), the interlayer adhesiveness is poorer.

[0040]

In the present invention, the proportion of the polyphenylenesulfide resin (A) as the major component is determined by subtracting the proportions of the acid-modified polyolefin resin (B), the unmodified polyolefin resin (C) and the epoxy resin (D) from the specific resin composition. Where the specific resin composition contains other components in addition to the components (A) to (D), the proportion of polyphenylenesulfide resin (A) is determined by subtracting the proportions of the components (B) to (D) and the other components from the specific resin composition.

[0041]

As required, a plasticizer, a crystal nucleating agent, a heat stabilizer, a lubricant, a colorant, a flame retarder, a foaming agent, a release agent and the like may be added to the components (A) to (D) of the specific resin composition.

[0042]

Any of the amine-modified polyamide resins for the inner layer material is used as a material (outer layer material) for the outer layer 4 to be formed on the outer peripheral surface of the lower fuel permeability layer 3.

[0043]

Among the amine-modified polyamide resins described above, the amine-modified PA12 is preferred for adhesiveness to the lower fuel permeability layer 3.

[0044]

The inventive automotive fuel hose shown in FIG. 1 is produced, for example, in the following manner. The innermost layer material, the inner layer material, the lower fuel permeability layer material and the outer layer material described above are prepared. These materials are respectively extruded from an innermost layer extruder, an inner layer extruder, a lower fuel permeability layer extruder and an outer layer extruder into a single die for coextrusion, and a melt tube resulting from the coextrusion is passed through a sizing die, whereby the automotive fuel hose is produced as having a four layer structure including the inner layer 2 provided on the outer peripheral surface of the tubular innermost layer 1, the lower fuel permeability layer 3 provided on the outer peripheral surface of the inner layer 2 and the outer layer 4 provided on the outer peripheral surface of the lower fuel permeability layer 3 (see FIG. 1). The coextrusion further improves the interlayer adhesiveness, because heat applied during the coextrusion promotes the chemical reaction. Where the hose is formed into a bellows shape, the melt tube resulting from the coextrusion is passed through a corrugating machine to be thereby imparted with the bellows shape as having predetermined dimensions.

[0045]

The resulting hose may be put in a thermal aging vessel, and subjected to an annealing process (heat treatment) under predetermined conditions (e.g., at 130° C. for 1 hour). The annealing process is preferred, because the annealing process increases the crystallinity of the PPS resin to improve the fuel permeation resistance.

[0046]

The inventive automotive fuel hose preferably has a hose inner diameter of 2 to 40 mm, particularly preferably 2.5 to 36 mm, and a hose outer diameter of 3 to 44 mm, particularly preferably 4 to 40 mm. The innermost layer 1 typically has a thickness of 0.01 to 1.0 mm, preferably 0.05 to 0.6 mm. The inner layer 2 typically has a thickness of 0.02 to 1.0 mm, preferably 0.05 to 0.6 mm. The lower fuel permeability layer 3 preferably has a thickness of 0.02 to 0.8 mm, particularly preferably 0.05 to 0.6 mm. The outer layer 4 typically has a thickness of 0.2 to 1.5 mm, preferably 0.05 to 0.6 mm.

[0047]

The layered structure of the inventive automotive fuel hose is not limited to the four layer structure shown in FIG. 1, but may be a five layer structure such that an outermost layer is further provided on an outer peripheral surface of the outer layer 4.

[0048]

Examples of a material (outermost layer material) for the outermost layer include polyamide resins and polyolefin resins, which may be used either alone or in combination.

[0049]

The inventive automotive fuel hose is advantageously used as a hose for transporting an automotive fuel such as gasoline, alcohol-containing gasoline, diesel fuel, biodiesel fuel, CNG (compressed natural gas) or LPG (liquefied petroleum gas), but not limited thereto. The inventive hose may be used as a hose for transporting methanol, hydrogen, dimethyl ether (DME) or other automotive fuel, or as a hose such as an air conditioner hose for transporting a coolant.

[0050]

In the inventive automotive fuel hose, the interlayer adhesive strength between the inner layer 2 and the lower fuel permeability layer 3 in contact with the inner layer 2 (inner layer/lower fuel permeability layer adhesive strength) and the interlayer adhesive strength between the lower fuel permeability layer 3 and the outer layer 4 in contact with the lower fuel permeability layer 3 (lower fuel permeability layer/outer layer adhesive strength) are preferably not less than 40 N/cm. With interlayer adhesive strengths of not less than 40 N/cm, the inner layer/lower fuel permeability layer adhesiveness and the lower fuel permeability layer/outer layer adhesiveness are improved. Without the use of an adhesive layer, the inventive automotive fuel hose is simpler in layered structure, and less costly.

[0051]

The interlayer adhesive strengths are measured, for example, in the following manner. The fuel hose is longitudinally cut into four strips. By using one of the strips, the inner layer 2 and the lower fuel permeability layer 3 are separated from each other at their interface for the measurement of the interlayer adhesive strength (inner layer/lower fuel permeability layer adhesive strength). Similarly, the lower fuel permeability layer 3 and the outer layer 4 are separated from each other at their interface for the measurement of the interlayer adhesive strength (lower fuel permeability layer/outer layer adhesive strength).

[0052]

The inventive automotive fuel hose preferably has a flexural stress of not greater than 45 N. With a flexural stress of not greater than 45 N, the hose is flexible and, therefore, easily bendable.

[0053]

The flexural stress is determined, for example, in conformity with a three-point bending test specified by JIS K7171. In the test, a stress required to warp the hose by 10 mm is measured at a testing rate of 100 mm/min with a support point distance of 100 mm.

EXAMPLES

[0054]

Next, inventive examples will be described in conjunction with comparative examples. However, the present invention is not limited to these inventive examples.

[0055]

Prior to the inventive examples and the comparative examples, the following materials were prepared.

Innermost Layer Material

[0056]

An ETFE modified with a carboxylic anhydride (FLUON AH-2000 Available from Asahi Glass Co., Ltd.)

[0057]

An electrically conductive ETFE modified with a carboxylic anhydride (FLUON AH-3000 available from Asahi Glass Co., Ltd.)

Inner Layer Material and Outer Layer Material

[0058]

An amine-modified PA 12 (GRILAMIDE L25A available from EMS Chemie AG)

Inner Layer Material and Outer Layer Material (for Comparative Examples)

[0059]

A PA 12 (GRILAMIDE L25 available from EMS Chemie AG)

Lower Fuel Permeability Layer Material: PPS (A)

[0060]

FORTRON KSP W214A available from Polyplastics Co., Ltd.

Lower Fuel Permeability Layer Material: Acid-Modified Polyolefin Resin (B)

[0061]

An ethylene-α-olefin copolymer modified with maleic anhydride (TOUGHMER MH7020 available from Mitsui Chemicals, Inc.)

Lower Fuel Permeability Layer Material: Unmodified Polyolefin Resin (C)

[0062]

An ethylene-α-olefin copolymer (TOUGHMER A4085S available from Mitsui Chemicals, Inc.)

Lower Fuel Permeability Layer Material: Epoxy Resin (D)

[0063]

An o-cresol novolak epoxy resin (EOCN-1045 available from Nippon Kayaku Co., Ltd.)

Example 1

Preparation of Lower Fuel Permeability Layer Material

[0064]

First, 6 parts by weight (hereinafter referred to simply as “parts”) of the acid-modified polyolefin resin (B), 6 parts of the unmodified polyolefin resin (C) and 3 parts of the epoxy resin (D) were added to 85 parts of the PPS (A), and thoroughly mixed together. Then, the resulting mixture was melt and kneaded at a temperature of 290° C. to 320° C. by means of a twin screw extruder. Thus, a lower fuel permeability material was prepared (in a pellet form).

Production of Fuel Hose

[0065]

The materials were respectively extruded from an innermost layer extruder, an inner layer extruder, a lower fuel permeability extruder and an outer layer extruder into a single die, and the resulting product was passed through a sizing die, whereby a fuel hose including an innermost layer, an inner layer, a lower fuel permeability layer and an outer layer stacked in this order (and having an inner diameter of 6 mm and an outer diameter of 8 mm) was produced. Thereafter, the resulting hose was put in a thermal aging vessel, and subjected to an annealing process at 130° C. for 1 hour.

Examples 2 to 10 and Comparative Examples 1 to 9

[0066]

Fuel hoses were each produced in substantially the same manner as in Example 1, except that the combination of the lower fuel permeability layer material, the inner layer material and the outer layer material was changed as shown in Tables 1 to 3.

[0000]

(parts by weight)
Example
1234567
Innermost layer*1*1*1*1*1*1*1
Inner layer*2*2*2*2*2*2*2
Lower fuel permeability layer
PPS (A)85837582.5818179
Acid-modified polyolefin resin (B)67128888
Unmodified polyolefin resin (C)67128888
Epoxy resin (D)3331.5235
(B) + (C)12142416161616
(B)/(C) (weight ratio)1/11/11/11/11/11/11/1
Outer layer*2*2*2*2*2*2*2
Thickness (μm)
Innermost layer100100100100100100100
Inner layer100100100100100100100
Lower fuel permeability layer200200200200200200200
Outer layer600600600600600600600
Gasoline permeability (mg/m/day)<0.1<0.1<0.1<0.1<0.1<0.1<0.1
Interlayer adhesive strength (N/cm)
Inner layer/lower fuel permeability layer42435541425560
Lower fuel permeability layer/outer layer43445742445661
Flexural stress (N)45454344434343
*1: ETFE modified with carboxylic anhydride
*2: Amine-modified PA12

[0000]

(parts by weight)
ExampleComparative Example
89101234
Innermost layer*3*1*1*1*1*1*1
Inner layer*2*2*2*2*2*2*2
Lower fuel permeability layer
PPS (A)81818187678378.5
Acid-modified polyolefin resin (B)812451488
Unmodified polyolefin resin (C)841251488
Epoxy resin (D)3333315.5
(B) + (C)16161610281616
(B)/(C) (weight ratio)1/13/11/31/11/11/11/1
Outer layer*2*2*2*2*2*2*2
Thickness (μm)
Innermost layer100100100100100100100
Inner layer100100100100100100100
Lower fuel permeability layer200200200200200200200
Outer layer600600600600600600600
Gasoline permeability (mg/m/day)<0.1<0.1<0.1<0.10.15<0.10.2
Interlayer adhesive strength (N/cm)
Inner layer/lower fuel permeability layer55484230601053
Lower fuel permeability layer/outer layer56494332621355
Flexural stress (N)43454346424345
*1: ETFE modified with carboxylic anhydride
*2: Amine-modified PA12
*3: Electrically conductive ETFE modified with carboxylic anhydride

[0000]

(parts by weight)
Comparative Example
56789
Innermost layer*1*1*1*1*1
Inner layer*2*2PA12*2*2
Lower fuel permeability layer
PPS (A)8181818282
Acid-modified polyolefin resin (B)168123
Unmodified polyolefin resin (C)168312
Epoxy resin (D)33333
(B) + (C)1616161515
(B)/(C) (weight ratio)16/00/161/14/11/4
Outer layer*2*2PA12*2*2
Thickness (μm)
Innermost layer100100100100100
Inner layer100100100100100
Lower fuel permeability layer200200200200200
Outer layer600600600600600
Gasoline permeability (mg/m/day)<0.1<0.1<0.1<0.1<0.1
Interlayer adhesive strength (N/cm)
Inner layer/lower fuel permeability5539104638
layer
Lower fuel permeability5639114839
layer/outer layer
Flexural stress (N)4841434743
*1: ETFE modified with carboxylic anhydride
*2: Amine-modified PA12

[0067]

The fuel hoses of the inventive examples and the comparative examples thus produced were evaluated for various properties based on the following criteria. The results are also shown in Tables 1 to 3.

Gasoline Permeability

[0068]

Opposite end portions of a 10 meter long fuel hose (having an inner diameter of 6 mm) were each expanded to an inner diameter of 10 mm by means of a cone-shaped jig. Then, two metal pipes were prepared which each had an outer diameter of 8 mm and had end portions each having a rounded outer periphery (and two bulged portions each having an outer diameter of 10 mm). These metal pipes were respectively press-fitted into the opposite end portions of the fuel hose. A blind cap was threadingly attached to one of the metal pipes, and a metal valve was attached to the other metal pipe. Thereafter, Indolene gasoline containing 10 vol % of ethanol was supplied into the fuel hose through the metal pipe provided with the metal valve, and the fuel hose was sealed. The fuel hose was allowed to stand at 40° C. for 3000 hours (the Indolene gasoline containing 10 vol % of ethanol was changed every week). Then, fuel permeation was measured for three days on the basis of a DBL pattern by the CARB SHED method. Fuel permeation per meter of the fuel hose was determined on a day when the maximum fuel permeation was detected. The notation “<0.1” indicates that the measured fuel permeation was lower than 0.1 mg/m/day which is the measurement limitation of the aforesaid measurement method.

Interlayer Adhesive Strength

[0069]

The fuel hoses were each longitudinally cut into four strips. By using one of the strips, the inner layer and the lower fuel permeability layer were separated from each other at their interface for measurement of interlayer adhesive strength (inner layer/lower fuel permeability layer adhesive strength) (N/cm). Similarly, the lower fuel permeability layer and the outer layer were separated from each other at their interface for measurement of interlayer adhesive strength (lower fuel permeability layer/outer layer adhesive strength). A fuel hose having interlayer adhesive strengths of not less than 40 N/cm was regarded as having excellent interlayer adhesiveness.

Flexural Stress

[0070]

In conformity with a three-point bending test specified by JIS K7171, a stress required to warp each of the fuel hoses by 10 mm was measured at a testing rate of 100 mm/min with a support point distance of 100 mm. The flexural stress is an index of bending workability. A fuel hose having a smaller flexural stress is more flexible and, therefore, more easily bendable. A fuel hose having a flexural stress of not greater than 45 N was regarded as having excellent flexibility.

[0071]

The results shown in Tables 1 to 3 indicate that the fuel hoses of the inventive examples were superior in gasoline permeation resistance and interlayer adhesiveness, and excellent in flexibility with lower flexural stresses.

[0072]

In contrast, the fuel hose of Comparative Example 1, in which the total proportion of the acid-modified polyolefin resin (B) and the unmodified polyolefin resin (C) was 10 parts which was too small, was poorer in interlayer adhesiveness and flexibility. The fuel hose of Comparative Example 2, in which the proportions of the acid-modified polyolefin resin (B) and the unmodified polyolefin resin (C) was too great, was poorer in gasoline permeation resistance. The fuel hose of Comparative Example 3, in which the proportion of the epoxy resin (D) was too small, was poorer in interlayer adhesiveness. The fuel hose of Comparative Example 4, in which the proportion of the epoxy resin (D) was too great, was poorer in gasoline permeation resistance. The fuel hose of Comparative Example 5, in which the proportion of the acid-modified polyolefin resin (B) was too great and no unmodified polyolefin resin (C) was blended, was poorer in flexibility. The fuel hose of Comparative Example 6, in which the proportion of the unmodified polyolefin resin (C) was too great and no acid-modified polyolefin resin (B) was blended, was poorer in interlayer adhesiveness. The fuel hose of Comparative Example 7, in which the inner layer and the outer layer were each formed of the unmodified PA12, was poorer in interlayer adhesiveness with the inner layer/lower fuel permeability layer adhesive strength and the lower fuel permeability layer/outer layer adhesive strength being lower. The fuel hose of Comparative Example 8, in which the proportion of the flexible unmodified polyolefin resin (C) was smaller with the mixing weight ratio of the acid-modified polyolefin resin (B) to the unmodified polyolefin resin (C) being (B)/(C)=4/1, was poorer in flexibility. The fuel hose of Comparative Example 9, in which the proportion of the acid-modified polyolefin resin (B) effective for imparting the hose with adhesiveness was smaller with the mixing weight ratio of the acid-modified polyolefin resin (B) to the unmodified polyolefin resin (C) being (B)/(C)=1/4, was poorer in interlayer adhesiveness.

INDUSTRIAL APPLICABILITY

[0073]

The inventive automotive fuel hose is advantageously used as a hose for transporting an automotive fuel such as gasoline, alcohol-containing gasoline, diesel fuel, biodiesel fuel, CNG (compressed natural gas) or LPG (liquefied petroleum gas).

REFERENCE SIGNS LIST

[0000]

  • 1 Innermost layer
  • 2 Inner layer
  • 3 Lower fuel permeability layer
  • 4 Outer layer

Как компенсировать расходы
на инновационную разработку
Похожие патенты