A hot rolled steel strip made by the steps including assembling a twin roll caster, forming a casting pool of molten steel of such composition that the cast strip produced comprises by weight, greater than 0.25% and up to 1.1% carbon, between 0.40 and 2.0% manganese, between 0.05 and 0.50% silicon, less than 0.01% aluminum, counter rotating the casting rolls to solidify metal shells and forming a steel strip, hot rolling the steel strip such that mechanical properties at 10% and 35% reduction are within 10% for yield strength, tensile strength and total elongation, and coiling the hot rolled steel strip at a temperature between 550 and 750° C. to provide a majority of the microstructure comprising pearlite, along with bainite and acicular ferrite. The steel may have a free oxygen content between 5 and 50 ppm or between 25 and 45 ppm.
1. A hot rolled steel strip made by the steps comprising:
assembling an internally cooled roll caster having laterally positioned casting rolls forming a nip between them, and forming a casting pool of molten steel supported on the casting rolls above the nip and confined adjacent the ends of the casting rolls by side dams, the molten steel of such composition that hot rolled thin cast strip produced has a composition comprising by weight, greater than 0.25% and up to 1.1% carbon, between 0.5 and 2.0% manganese, between 0.05 and 0.50% silicon, less than 0.01% aluminum, counter rotating the casting rolls to solidify metal shells on the casting rolls as the casting rolls move through the casting pool, and forming from the metal shells downwardly through the nip between the casting rolls a steel strip, hot rolling the steel strip such that mechanical properties at 10% and 35% reduction are within 10% for yield strength, tensile strength and total elongation; and coiling the hot rolled steel strip at a temperature between 550 and 750° C. to provide a majority of the microstructure comprising pearlite, along with bainite and acicular ferrite in the microstructure. 2. The hot rolled steel strip as claimed in 3. The hot rolled steel strip as claimed in 4. The hot rolled steel strip as claimed in 5. The hot rolled steel strip as claimed in 6. The hot rolled steel strip as claimed in 7. The hot rolled steel strip as claimed in 8. The hot rolled steel strip as claimed in 9. The hot rolled steel strip as claimed in hot dip coating the hot rolled steel strip to provide a coating of zinc or a zinc alloy. 10. The hot rolled steel strip as claimed in 11. A hot rolled steel strip made by the steps comprising:
assembling an internally cooled roll caster having laterally positioned casting rolls forming a nip between them, and forming a casting pool of molten steel supported on the casting rolls above the nip and confined adjacent the ends of the casting rolls by side dams, the molten steel of such composition that hot rolled thin cast strip produced has a composition comprising by weight, greater than 0.25% and up to 1.1% carbon, between 0.5 and 2.0% manganese, between 0.05 and 0.50% silicon, less than 0.01% aluminum, counter rotating the casting rolls to solidify metal shells on the casting rolls as the casting rolls move through the casting pool, and forming from the metal shells downwardly through the nip between the casting rolls a steel strip, hot rolling the steel strip such that mechanical properties at 10% and 35% reduction are within 10% for yield strength, tensile strength and total elongation; and coiling the hot rolled steel strip at a temperature between 200 and 550° C. to provide a majority of the microstructure comprising bainite, martensite, and acicular ferrite, and having less than 5% polygonal ferrite in the microstructure. 12. The hot rolled steel strip as claimed in 13. The hot rolled steel strip as claimed in 14. The hot rolled steel strip as claimed in 15. The hot rolled steel strip as claimed in 16. The hot rolled steel strip as claimed in 17. The hot rolled steel strip as claimed in 18. The hot rolled steel strip as claimed in 19. The hot rolled steel strip as claimed in hot dip coating the hot rolled steel strip to provide a coating of zinc or a zinc alloy. 20. The hot rolled steel strip as claimed in 21. The hot rolled steel strip as claimed in 22. The hot rolled steel strip as claimed in 23. A method of making hot rolled steel strip, the steps comprising:
assembling an internally cooled roll caster having laterally positioned casting rolls forming a nip between them, and forming a casting pool of molten steel supported on the casting rolls above the nip and confined adjacent the ends of the casting rolls by side dams, the molten steel of such composition that hot rolled thin cast strip produced has a composition comprising by weight, greater than 0.25% and up to 1.1% carbon, between 0.5 and 2.0% manganese, between 0.05 and 0.50% silicon, less than 0.01% aluminum, counter rotating the casting rolls to solidify metal shells on the casting rolls as the casting rolls move through the casting pool, and forming from the metal shells downwardly through the nip between the casting rolls a steel strip, hot rolling the steel strip such that mechanical properties at 10% and 35% reduction are within 10% for yield strength, tensile strength and total elongation; and coiling the hot rolled steel strip at a temperature between 550 and 750° C. to provide a majority of the microstructure comprising pearlite, along with bainite and acicular ferrite in the microstructure. 24. The method of making hot rolled steel strip as claimed in 25. The method of making hot rolled steel strip as claimed in 26. The method of making hot rolled steel strip as claimed in 27. The method of making hot rolled steel strip as claimed in 28. The method of making hot rolled steel strip as claimed in 29. The method of making hot rolled steel strip as claimed in 30. The method of making hot rolled steel strip as claimed in 31. The method of making hot rolled steel strip as claimed in hot dip coating the hot rolled steel strip to provide a coating of zinc or a zinc alloy. 32. The method of making hot rolled steel strip as claimed in 33. A method of making hot rolled steel strip, the steps comprising:
assembling an internally cooled roll caster having laterally positioned casting rolls forming a nip between them, and forming a casting pool of molten steel supported on the casting rolls above the nip and confined adjacent the ends of the casting rolls by side dams, the molten steel of such composition that hot rolled thin cast strip produced has a composition comprising by weight, greater than 0.25% and up to 1.1% carbon, between 0.5 and 2.0% manganese, between 0.05 and 0.50% silicon, less than 0.01% aluminum, counter rotating the casting rolls to solidify metal shells on the casting rolls as the casting rolls move through the casting pool, and forming from the metal shells downwardly through the nip between the casting rolls a steel strip, hot rolling the steel strip such that mechanical properties at 10% and 35% reduction are within 10% for yield strength, tensile strength and total elongation; and coiling the hot rolled steel strip at a temperature between 200 and 550° C. to provide a majority of the microstructure comprising bainite, martensite, and acicular ferrite, and having less than 5% polygonal ferrite in the microstructure. 34. The method of making hot rolled steel strip as claimed in 35. The method of making hot rolled steel strip as claimed in 36. The method of making hot rolled steel strip as claimed in 37. The method of making hot rolled steel strip as claimed in 38. The method of making hot rolled steel strip as claimed in 39. The method of making hot rolled steel strip as claimed in 40. The method of making hot rolled steel strip as claimed in 41. The method of making hot rolled steel strip as claimed in hot dip coating the hot rolled steel strip to provide a coating of zinc or a zinc alloy. 42. The method of making hot rolled steel strip as claimed in 43. The method of making hot rolled steel strip as claimed in 44. The method of making hot rolled steel strip as claimed in
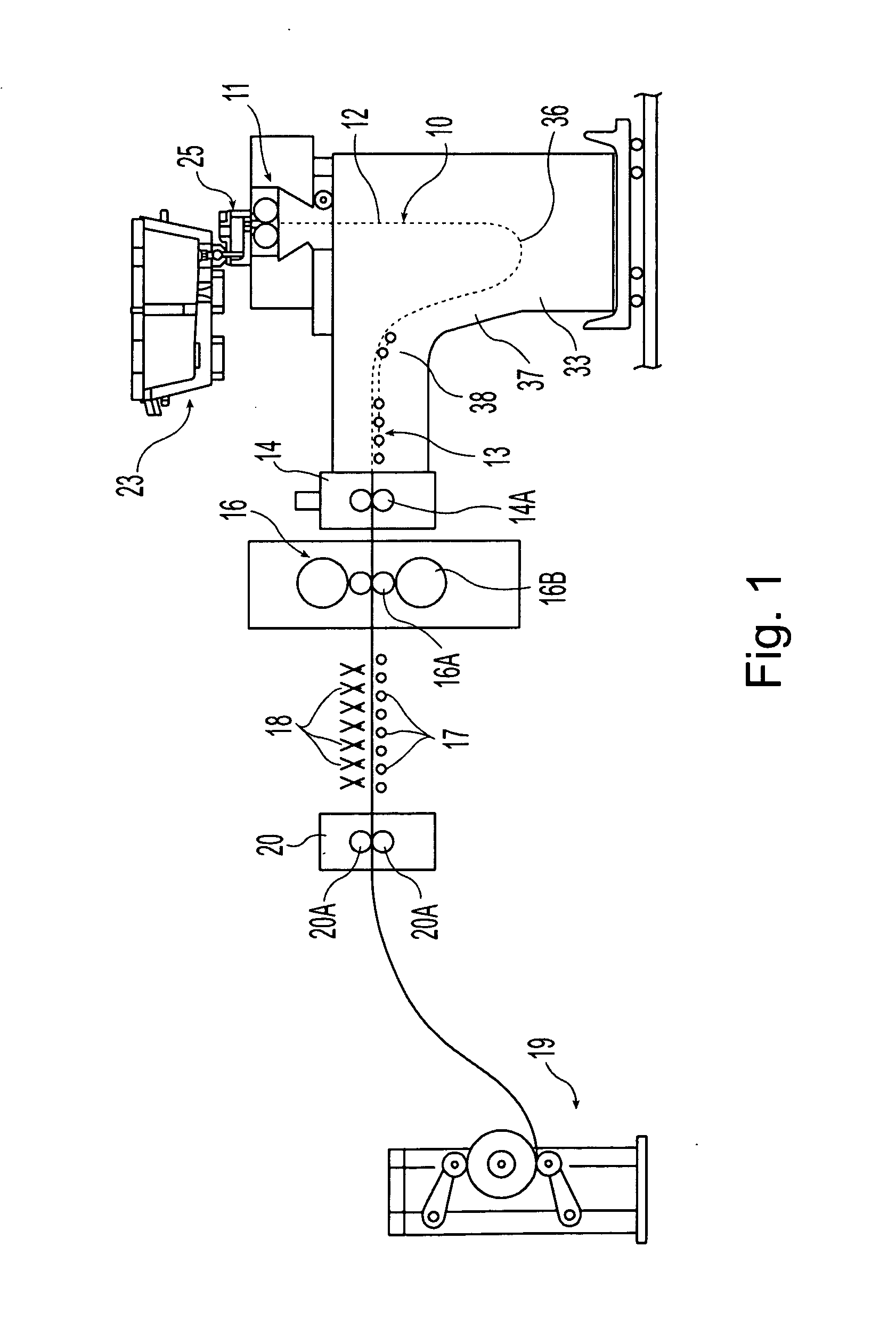
This application claims priority to and the benefit of U.S. Patent Application 61/154,248, filed on Feb. 20, 2009, which is incorporated herein by reference. In a twin roll caster, molten metal is introduced between a pair of counter-rotated, internally cooled casting rolls so that metal shells solidify on the moving roll surfaces, and are brought together at the nip between them to produce a solidified strip product, delivered downwardly from the nip between the casting rolls. The term “nip” is used herein to refer to the general region at which the casting rolls are closest together. The molten metal is poured from a ladle through a metal delivery system comprising a tundish and a core nozzle located above the nip to form a casting pool of molten metal, supported on the casting surfaces of the rolls above the nip and extending along the length of the nip. This casting pool is usually confined between refractory side plates or dams held in sliding engagement with the end surfaces of the rolls so as to dam the two ends of the casting pool against outflow. The cast strip is typically directed to a hot rolling mill where the strip is hot reduced by 10% or more. In certain steel applications, medium and high carbon pearlitic steels have been desired, such as for banding or strapping, and certain applications such as wall-ties for construction needing high strength and controlled toughness. Pearlite typically offers increased strength with reduced impact toughness. In the past, pearlitic microstructures were obtained by hot rolling and slow cooling medium and high carbon steel strip having thicknesses greater than about 3.0 millimeter. Obtaining thinner strip such as 1.0 to 1.5 millimeter required multiple rounds of cold rolling and annealing that coarsened if not eliminated the pearlite, reducing the strength of the steel. A hot rolled steel strip is disclosed made by the steps comprising:
Alternatively, the step of hot rolling may be such that mechanical properties at 15% and 35% reduction are within 10% for yield strength, tensile strength and total elongation. In another alternative, the mechanical properties are within 10% throughout the range from 15% to 35% reduction for yield strength, tensile strength and total elongation. Alternatively, mechanical properties may be within 10% throughout the range from 10% to 35% reduction for yield strength, tensile strength and total elongation. The molten steel cast may have a free oxygen content between 5 and 50 ppm or content between 25 and 45 ppm. The total oxygen content may be more than 20 and typically less than 100 ppm. The molten steel may have a composition such that the manganese content of the composition of the hot rolled steel strip is between 0.9 and 1.3% by weight. Alternatively or in addition, the molten steel may have a composition such that the niobium content of the composition of the hot rolled steel strip is between about 0.01% and 0.2%. Alternatively or in addition, he composition of molten steel may be such that the composition of the hot rolled steel strip may have a composition comprising at least one element selected from the group consisting of molybdenum between about 0.05% and about 0.50%, vanadium between about 0.01% and about 0.20%, and a mixture thereof. The hot rolled steel strip may have a tensile strength of at least 800 MPa after hot rolling reductions of 15% and 35%. The steps of making the hot rolled steel strip may include hot dip coating the hot rolled steel strip to provide a coating of zinc or a zinc alloy. Alternatively, a hot rolled steel strip may be made by the steps comprising:
Alternatively, the step of hot rolling may be such that mechanical properties at 15% and 35% reduction are within 10% for yield strength, tensile strength and total elongation. In yet another alternative, the mechanical properties are within 10% throughout the range from 15% to 35% reduction for yield strength, tensile strength and total elongation. Alternatively, mechanical properties may be within 10% throughout the range from 10% to 35% reduction for yield strength, tensile strength and total elongation. The molten steel cast may have a free oxygen content between 5 and 50 ppm or content between 25 and 45 ppm. The total oxygen content may be more than 20 and typically less than 100 ppm. The molten steel may have a composition such that the manganese content of the composition of the hot rolled steel strip is between 0.9 and 1.3% by weight. Alternatively or in addition, the molten steel may have a composition such that the niobium content of the composition of the hot rolled steel strip is between about 0.01% and 0.2%. Alternatively or in addition, he composition of molten steel may be such that the composition of the hot rolled steel strip may have a composition comprising at least one element selected from the group consisting of molybdenum between about 0.05% and about 0.50%, vanadium between about 0.01% and about 0.20%, and a mixture thereof. The hot rolled steel strip may have a tensile strength of at least 1100 MPa after hot rolling reductions of 15% and 35%. Alternatively, the hot rolled steel strip may have a tensile strength between about 1100 and 1700 MPa after hot rolling reductions of 15% and 35%. The steps of making the hot rolled steel strip may include hot dip coating the hot rolled steel strip to provide a coating of zinc or a zinc alloy. As shown in The twin roll caster may be of the kind that is illustrated and described in some detail in U.S. Pat. Nos. 5,184,668 and 5,277,243 or U.S. Pat. No. 5,488,988, or U.S. patent application Ser. No. 12/050,987. Reference may be made to those patents for appropriate construction details of a twin roll caster appropriate for use in an embodiment of the present invention. The composition of the hot rolled steel strip has greater than 0.25% carbon and up to about 1.1% carbon to provide desired strength and microstructure having a thickness less than 3.0 mm, and may be less than 2.5 mm. Alternatively, the steel strip may be in the thickness range of 0.9 to 2.0 mm, and may be in the range of 1.0-1.5 mm. Carbon levels may be in the range of 0.30-0.60% in certain applications for steel strip. These high carbon steel strip products are achieved without multiple annealing and cold rolling required in past steel compositions to achieve the same properties, although for the present steel further processing may be desired for certain applications. We have found that greater than 0.25% carbon steels exhibit a broader temperature range for the mushy zone of liquid in solid shells in casting the thin strip than is the case in plain low carbon steels. The broader range of mushy zone temperatures may require casting roll modifications for increasing the heat transfer as well as to the shape of the roll. The composition of the heats studied can be seen in TABLE 1. The composition of Steel K had a free oxygen content of 35.2 ppm, and was within the ranges of 5 to 50 ppm or of 25 and 45 ppm. The total oxygen was more than 20 ppm and typically less than 100 ppm. The comparative 0.19% carbon steel had a free oxygen content of 37.6 ppm. The composition of the comparative 0.19% carbon steel is given in TABLE 1. The microstructures obtained in the 0.19% carbon comparison steel were complex and are shown for comparison in By contrast, the tensile properties of the 0.46% carbon steel of the present hot rolled steel strip are presented in TABLE 2, with strength as cast (1.81 mm thick) and as rolled (1.26 mm thick). The tensile strengths recorded were over 800 MPa. Some examples of the microstructure obtained in the as-hot rolled condition are shown in The microstructures, shown in The hot rolled steel strip may be coiled at a temperature between about 550 and 750° C. to provide a majority of the microstructure comprising pearlite, along with bainite and acicular ferrite in the microstructure. Alternatively, the hot rolled steel strip may be coiled at a temperature between about 200 and 550° C. to provide a majority of the microstructure comprising bainite, martensite, and acicular ferrite, with less than 5% polygonal ferrite in the microstructure. The hot rolled steel composition may comprise, by weight, greater than 0.25% and up to 1.1% carbon, between 0.4 and 2.0% manganese, between 0.05 and 0.50% silicon, less than 0.01% aluminum. The manganese content may be between 0.4 and 2.0% by weight, or between 0.4 and 0.7%, or between 0.6 and 0.9%, or between 0.7 and 1.0% by weight. Additionally, the molten steel cast may have a free oxygen content between 5 and 50 ppm or between 25 and 45 ppm. Total oxygen content may be more than 20 ppm and typically less than 100 ppm. Samples of the present steel were prepared with coiling temperatures between about 640 and 710° C. and carbon amount between about 0.3% and 0.4%, shown in The effect of hot reduction on yield strength, tensile strength, and total elongation in the present high carbon steels results in a steel properties where the tensile strength, yield strength and total elongation are relatively stable with different levels of hot reduction, as shown in As shown in The molten steel may have a composition such that the composition of the hot rolled steel composition comprises a niobium content between about 0.01% and 0.2%. The composition may alternatively or in addition comprise at least one element selected from the group consisting of molybdenum between about 0.05% and about 0.50%, vanadium between about 0.01% and about 0.20%, and a mixture thereof. While the invention has been illustrated and described in detail in the foregoing drawings and description, the same is to be considered as illustrative and not restrictive in character, it being understood that only illustrative embodiments thereof have been shown and described, and that all changes and modifications that come within the spirit of the invention described by the following claims are desired to be protected. Additional features of the invention will become apparent to those skilled in the art upon consideration of the description. Modifications may be made without departing from the spirit and scope of the invention.BACKGROUND AND SUMMARY
BRIEF DESCRIPTION OF THE DRAWINGS
DETAILED DESCRIPTION OF THE DRAWINGS
Base 0.02-0.05 0.7-0.9 0.15-0.30 <0.003 <0.003 35-90 C—Mn Com- 0.19 0.94 0.21 <0.003 <0.003 85 parative K 0.46 0.89 0.20 <0.003 <0.003 95 0.46% C 1.81 596.9 835.5 7.3 0.46% C 1.26 587.1 874.8 13.8