A system for injecting a patient, includes a container enclosing a hazardous pharmaceutical; a first pump to deliver a hazardous pharmaceutical to a patient and a fluid path operably connected to the first pump, the container, and the patient. The system further includes a hazardous material containment suitable to confine the hazardous pharmaceutical during connection of the hazardous pharmaceutical container to the fluid path.
1. An assembly for connection to an injector comprising a retention mechanism to retain the assembly and a pressurizing mechanism to pressurize one or more fluids within the assembly for delivery to a patient, the assembly comprising:
at least a first compartment defining an enclosure adapted to enclose a hazardous pharmaceutical container enclosing a hazardous pharmaceutical, the first compartment being adapted to prevent hazardous materials from escaping from the first compartment into the surrounding environment; the at least a first compartment including a first connector to establish a fluid connection with the hazardous pharmaceutical vessel; and at least a first outlet in fluid connection with the first connector. 2. The assembly of 3. A container comprising a flexible sealing member that cooperates with a connector to create a biohazard seal during connection of the container to the connector. 4. The container of 5. The container of 6. A connector comprising a first member and a second member, at least one of the first member or the second member comprising a biohazard seal adapted to contain biohazardous material during connection of the first member and the second member. 7. A container for a biohazardous material, the container including a first septum sealing a port into the container and a second septum sealing the port, the second septum being spaced from the first septum. 8. A system for delivering a hazardous fluid to a patient comprising:
a container suitable for holding a hazardous fluid and comprising a hazardous enclosure to shield against harmful effects of the hazardous fluid; and a pump device capable of pumping the hazardous fluid from the container and delivering the hazardous fluid to the patient; wherein the container is adapted to be removably attachable to the pump device. 9. The system of 10. The system of 11. The system of 12. The system of 13. The system of 14. The system of 15. The system of 16. The system of 17. The system of 18. The system of
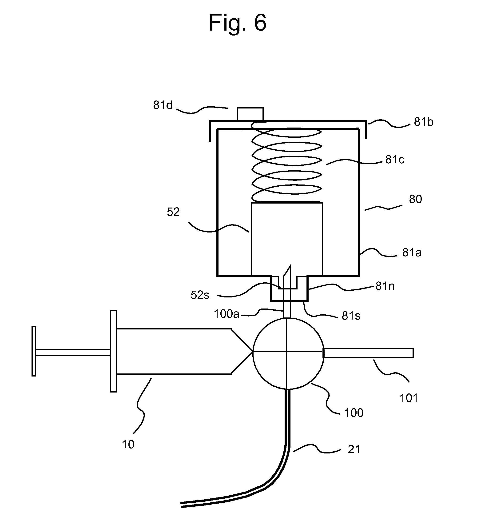
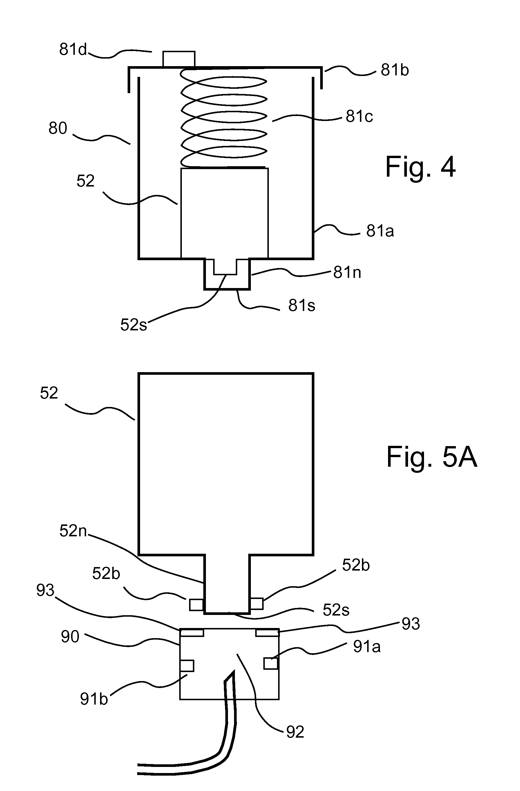
This application is a divisional of U.S. patent application Ser. No. 10/821,210, filed Apr. 8, 2004, now patented, and claims the benefit of U.S. Provisional Patent Application Ser. No. 60/461,152, filed Apr. 8, 2003, the disclosures of which are incorporated herein by reference. The present invention relates generally to fluid delivery systems, to fluid delivery devices and to methods of fluid delivery, and, especially, to fluid delivery systems of hazardous medical fluids, devices for use therein and to methods of delivering hazardous medical fluids to a patient. Current angiographic practice uses X-ray imaging to visualize the inside of the body. Physicians deftly maneuver catheters to a desired blood vessel. X-ray absorbing contrast is injected so that the vessel and downstream vessels can be clearly seen on the X-ray display or film. Using the resultant image, a physician makes a diagnosis and determines appropriate treatment. In interventional procedures, treatment is performed using injection catheters, atherectomy devices, stents, or any one of many interventional devices. Often the interventional treatment is performed during the angiographic procedure, although sometimes treatment is performed at a later time. During normal angiographic procedures, in addition to contrast it is common to inject saline to flush contrast from the catheter, to keep the catheter lumen open (unclotted), and/or to act as a fluid path for measuring blood pressure. Often the doctor performs the injections by hand, particularly for coronary injections. In some cases, saline is gravity fed. For peripheral injections, and sometimes for coronary injections, powered injectors are used to inject the contrast because of its high viscosity and the high pressures required to drive contrast through small catheter diameters. Powered injectors can, for example, develop pressures up to 1200 psi in such injections. The pressure range used in such injections is well above the pressure a person can practically develop via hand injection. U.S. Pat. Nos. 5,494,036, 6,339,718, 5,843,037, 5,840,026, 5,806,519, 5,739,508, and 5,569,181, assigned to the assignee of the present invention, which are incorporated herein by reference, disclose the use of powered injector systems that are capable of injecting contrast, saline, and other fluids, either at the same time or in sequence. In thrombolytic therapy, a doctor places a catheter to study a blockage of a vessel. The doctor then uses a plain catheter or one of many special thrombolytic catheters to inject a thrombolytic agent into the clot. Sometimes the injection is performed using periodically pulsed high-pressure injections to drive the thrombolytic agent into the clot and speed its breakdown. Examples of injectors suitable for use in thrombolytic procedures include the Pulse*Spray Injector Model PSI-1 available from AngioDynamics of Queensbury, N.Y. and the Pulse Thrombolytic Pump PTP1 available from Linet Compact s.r.o. of the Czech Republic. A difficulty with such currently available injection devices is the requirement that the doctor manipulate the fluid path, sometimes having to disconnect the manual contrast injection syringe and connect the thrombolytic injector. This manipulation takes time, and carries some risk of operator error, including inadvertent biological contamination. Another interventional procedure under development involves the injection of gene therapies. The goal of one type of gene therapy is to cause the heart muscle to express a gene that causes growth of new blood vessels to nourish heart muscle in which supply arteries have become significantly narrowed by disease. In one type of such gene therapy, the gene therapy DNA is contained in a non-replicating virus. When injected into the body, this virus transfects cells with the contained DNA. As the virus does not contain the DNA required for replicating the virus, it does not multiply and cause disease. These viruses can transfect any cells that they contact with the gene therapy DNA. For this reason, it is important to ensure that the vector viruses are delivered to target tissues only, and to make sure that the hospital personnel are sufficiently protected from contact with the vector virus. Another application of gene therapy is to block angiogenesis as a way to reduce tumor growth. In this application it is also important that the gene therapy be delivered to the target tissue and that delivery to healthy tissue and health care workers be minimized There are also many other gene therapy applications under study, for example treating cystic fibrosis and muscular dystrophy. In a representative procedure using an adenovirus gene therapy product, practitioners perform the following steps: (1) storing frozen vials in the pharmacy; (2) in a pharmacy hood, using gloves and proper technique, thawing the bottle with the gene therapy drug in the hand, avoiding agitation; (3) using a needle, pulling a few ml of drug into a hand syringe, for example a 10 ml syringe; (4) adding a few ml of saline to dilute the drug; (5) placing the hand syringe in a syringe holder for transport to the interventional suite to preserve the sterility of the outside of the syringe (the thawed drug has to be used within several hours); (6) for use in the interventional suite, donning goggles and masks (doctors, nurses, technicians) with M-95 filters to protect against infection from airborne viruses; (7) purging the fluid lines of air; (8) diluting the drug further if needed; (9) positioning the catheter in the desired vessel using normal angiographic equipment (manifolds, catheters, guidewires) and technique (normally this is a deep subselective placement to avoid any reflux of contrast or drug into the aorta, where it would be distributed systemically); (10) verifying the placement of the catheter with a contrast injection; (11) optionally flushing the manifold and/or catheter with saline by removing the contrast syringe and attaching the saline syringe; (12) disconnecting the saline syringe; (13) connecting the gene therapy syringe; (14) injecting by hand approximately 1 to 5 milliliters of the gene therapy drug over 1 to 2 minutes; (15) disconnecting the gene therapy syringe; (16) connecting the saline syringe; (17) injecting a few ml of saline over the same time period (e.g., 1 to 2 minutes) to flush the gene therapy drug out of the fluid path and into the patient; (18) disconnecting the saline syringe; (19) reconnecting the contrast syringe; (20) injecting contrast to confirm that the catheter has not moved; (21) repositioning the catheter for the next injection; (22) repeating prior steps until all vessels are injected; and (23) disposing of the disposable parts of the systems (as biohazardous material). There are a number of drawbacks or unmet needs with the current systems and processes for gene therapy delivery. For example, an enclosed preparation hood is required. Furthermore, disconnecting and reconnecting multiple syringes for delivering contrast, saline, and drugs is time consuming and increases the risk that some of the drug may be spilled or aerosolized and thus infect the operator and/or the patient in an undesired fashion, or that the drug may be contaminated. Moreover, it is very difficult for a human to inject a fluid at a steady rate, especially for slow rates (ml/min) extending more than a minute. Motion at a slow rate suffers from stick-slip friction in the syringe, and it takes significant concentration to do it for two 1-2 minute periods up to five times in a procedure. There is significant risk of accidental jerking or bolus injection that either wastes drug or causes it to reflux into the aorta and travel elsewhere in the body. Also, as syringes are connected and disconnected, the plunger can be unintentionally bumped and a bolus of drug injected into the patient or expelled into the environment. Additionally, the changeover time from drug syringe to saline syringe causes an uncontrolled break in therapy injection. As the drug is susceptible to clump formation if agitated, manually connecting and disconnecting the syringe provides opportunities for agitation and clumping. As mentioned, deep sub-selective catheter placement is needed to avoid drug reflux into the aorta. However, such catheter placement introduces the risk of reducing blood flow through that artery and increases the possibly of causing dissections. Moreover, deep sub-selective catheter placement is more difficult technically to achieve. Multiple manual manipulations of syringes and the manifold connected to the catheter in the patient increases the risk that the catheter position will be accidentally shifted from optimum placement. Multiple manual manipulations also increases the risk of errors, such as injecting saline first, and then the drug, and thus having the drug in the catheter being injected into the aorta when it is being moved from one vessel to another. All procedures that provide access to a patient's blood vessels require that a sterile field be created and maintained to protect the patient against infections. Operators with sterile gloves cannot touch anything that is not sterile, and operators with non-sterile gloves cannot touch anything that goes into the sterile field. In addition, anything that touches the patient, and especially anything that touches bodily fluids, such as blood, has to be disposed of as a biohazardous material. And, as mentioned above, the gene therapy drug itself, even when uncontaminated, poses a biohazard. Similarly, aerosolization or spillage of chemotherapy agents during preparation or delivery can create hazardous conditions for health care workers or nearby people. Preparation of chemotherapy agents is generally done in a pharmacy in a hood, to protect the pharmacy workers. Chemotherapy agents can be administered intra-arterially into the vessels supplying nourishment to tumors. This has the benefit of giving the tumor a very high dose while keeping the total systemic dose (and thus tissue damage and side effects) to a minimum. It has the downside of requiring the occupation of the expensive facilities of a catheterization or special procedures suite. More commonly, chemotherapy drugs are administered through peripheral intravenous catheters, PICC lines, central venous catheters, or infusion ports. The drug in injected with a hand syringe or an infusion pump, often into a side port of an infusion line connected to one of the venous access devices mentioned above. It is commonly done in the patient's room, an outpatient clinic, or more recently in the patient's home. The making and breaking of connections provides the opportunity for drug spillage or aerosolization and thus transmission to nearby personnel. In chemotherapy administration masks and goggles are not routinely used. With intra-arterial administration of chemotherapy, the tumor receives the drug directly. With intra-venous administration, many chemotherapy agents damage the veins in which they are injected. This causes local reactions and pain, and it makes it difficult for health care workers to subsequently be able to insert a catheter into the vein. A third situation which can involve the delivery to a patient of potentially hazardous drugs with associated concern about exposure of other personnel are intramuscular and subcutaneous injections. There are many clinical trails and much research being focused on intramuscular injection of gene therapies and biologics. The needle of a hand syringe is inserted through the skin into the target muscle. Then a controlled amount of drug is injected. Each time the needle is removed from one site and moved to another there is the opportunity for aerosolization and/or spillage since the drug is present at the needle tip. While it is not yet widely done for gene therapies, inhalation of drugs is a common practice for asthma drugs, is being studied for other drugs, and is another application in which nearby personnel can inadvertently be contaminated by the drug being administered to a patient. As more potent drugs are administered this way, the effects of accidental exposure will become more prevalent. In this case, the drug is intentionally delivered as an aerosol of a liquid or a power, so the problem is particularly severe. All of the aerosol that is put into the air conduits and the patient's airways is not deposited in the patient's body. Thus there is a significant amount of aerosol that could be accidentally released. It is desirable to develop systems, devices and methods of delivering or administering hazardous pharmaceuticals to patient that reduce and/or eliminate one or more of the problems with current systems, devices and methods described above as well as other problems. In one aspect, the present invention provides a system for injecting a patient including a container enclosing a hazardous pharmaceutical; a first pump to deliver a hazardous pharmaceutical to the patient and a fluid path operably connected to the first pump, the container, and the patient. The system further includes a hazardous material containment suitable to confine the hazardous pharmaceutical during connection of the hazardous pharmaceutical container to the fluid path. The hazardous materials containment can, for example, include a sealable opening adapted to enable placement of the container in the hazardous materials containment prior to connecting the container to the fluid path. The hazardous materials containment can also include a connector in fluid connection with a conduit passing through the hazardous materials containment in a sealed manner. In that embodiment, the connector is adapted to make a fluid connection with the container. The conduit is adapted to be connected to the fluid path. The system can include at least second pump operably connected to the fluid path to deliver at least one nonhazardous fluid to the patient. The nonhazardous fluid can, for example, be a fluid suitable to flush the medication out of the fluid path and into the body or a fluid suitable to dilute the hazardous pharmaceutical. The nonhazardous fluid can, for example, be saline. The system can further include a third pump operably connected to the fluid path, which is in fluid connection with a source of a third fluid (for example, a contrast fluid). The system can also include a waste container in fluid connection with the fluid path. Preferably, the waste container is suitable to contain a hazardous pharmaceutical. The system can further include at least one valve to control flow through the fluid path. The system can also include a controller to control the operation of at least the first pump and the second pump. A user interface can be in operative connection with the controller. In one embodiment, the hazardous material containment includes a temperature regulator to control the temperature of the hazardous material container. The hazardous material containment can include a flexible barrier to surround the hazardous pharmaceutical container. The hazardous material containment can also include a container having a removable lid to enable placement of the hazardous pharmaceutical container within the hazardous material containment. In this embodiment, the hazardous material containment further includes a sealing bather through which a fluid path element can pass to be placed in fluid connection with the hazardous pharmaceutical container. The sealing barrier is suitable to prevent passage of the hazardous pharmaceutical to the environment outside of the hazardous material containment. The hazardous material containment can also include at least one sealing member which forms a seal with the hazardous pharmaceutical container. The first pump and other pump(s) of the system can be included in a single injector. In one embodiment, each of the pumps is energized. The term “energized” or “apparatus energized” refers to the application of energy (for example, mechanical energy or thermal energy), other than by direct manual manipulation. Typically, electrical energy or stored mechanical energy is used in energizing the devices of the present invention. The system can further include a measurement apparatus that detects a physiological signal of the patient and a controller that controls fluid delivery from at least one of the first pump and the second pump based upon the physiological signal to control (for example, synchronize) fluid delivery in relation to an organ function. In one embodiment of the system of the present invention, the container is a vessel in which the hazardous pharmaceutical is distributed by a manufacturer. The container can enclose sufficient hazardous pharmaceutical for delivery to multiple patients. In another embodiment, the container is filled with the hazardous pharmaceutical using a loading device that maintains biohazardous materials containment. Once again, the filled container can enclose sufficient hazardous pharmaceutical for delivery to multiple patients. The fluid path of the system can include a catheter which is adapted to terminate in a blood vessel of the patient. In one embodiment, the catheter includes two lumens arranged such that flow from the outer lumen substantially surrounds flow from the inner lumen. A catheter can be connected to the fluid path of the system by a connector that provides biohazard containment during connection. In one embodiment of the system of the present invention the fluid path comprises at least two fluid path elements that are connected by at least one connector that provides biohazard containment during connection. In an embodiment of the system of the present invention including a controller, the controller can change flow rate over time. For example, the controller can changes the flow such that there are periods of time during which flow rate is increased. In another aspect, the present invention provides an assembly for connection to an injector. The injector includes a retention mechanism to retain the assembly and a pressurizing mechanism to pressurize one or more fluids within the assembly for delivery to a patient. The assembly includes at least a first compartment defining an enclosure adapted to enclose a hazardous pharmaceutical container enclosing a hazardous pharmaceutical. The first compartment is adapted to prevent hazardous materials from escaping from the first compartment into the surrounding environment. The first compartment includes a first connector to establish a fluid connection with the hazardous pharmaceutical vessel and at least a first outlet in fluid connection with the first connector. The assembly can further include at least a second compartment adapted to contain a fluid other than the hazardous pharmaceutical, the second compartment being in fluid connection with the first outlet. In another aspect, the present invention provides a system for injecting a pharmaceutical into a local circulation associated with an organ of a patient. The system includes a first pump for injecting the biohazardous pharmaceutical into the local circulation; a fluid path operably connected to the first pump and disposed between the first pump and the patient; a second pump operably connected to the fluid path for injecting a fluid sufficient to flush the pharmaceutical out of the fluid path and into the patient; a measurement apparatus that detects a physiological signal of the patient; and a controller that controls fluid delivery from at least one of the first pump and the second pump based upon the physiological signal to control (for example, synchronize) fluid delivery in relation to an organ function. In one embodiment, the physiological signal is related to heart phase. The synchronization relative to heart phase can, for example, prevent reflux of the pharmaceutical from a local circulation into a system circulation of the patient. In another embodiment, the physiological signal is related to respiration phase. In a further aspect, the present invention provides a system for injecting a patient, including: a first pump for delivering a hazardous pharmaceutical to a patient and a fluid path operably connected to the first pump and disposed between the first pump and the patient. The first fluid path includes at least one fluid path element. The system further includes a second pump operably connected to the fluid path for injecting a fluid sufficient to flush the hazardous pharmaceutical out of the fluid path and into the patient. The system also includes a hazardous material containment to confine hazardous materials during at least one of establishment, modification, and disposal of fluid path elements. In another aspect, the present invention provides a method of administering a hazardous pharmaceutical to a patient, including: operably connecting a container in which the hazardous pharmaceutical is distributed to a fluid path in operative connection with a pump. The pump is adapted to administer the hazardous pharmaceutical to the patient. The method can further include placing the container in a hazardous materials containment suitable to confine the hazardous pharmaceutical prior to and during connection of the container to the fluid path. The hazardous materials containment can include a sealing septum through with connection with the container is made. In another aspect, the present invention provides a catheter including an outer conduit, and an inner conduit positioned within the outer conduit and having a diameter smaller than the outer conduit. The volume between the outer conduit and the inner conduit defines a first lumen adapted to deliver fluid to the patient. The inside diameter of the inner conduit defines a second lumen adapted to deliver a fluid to the patient. In one embodiment, the inner conduit ends rearward of the outer conduit. The flow from the inner conduit can be substantially circumferentially surrounded by the flow from the outer conduct. In a further aspect, the present invention provides a container including a flexible sealing member that cooperates with a connector to create a biohazard seal during connection of the container to the connector. The flexible sealing member can, for example, be circumferential. The flexible sealing member can also be axially compressed during connection. In another aspect, the present invention provides a connector including a first member and a second member. At least one of the first member or the second member includes a biohazard seal adapted to contain biohazardous material during connection of the first member and the second member. In another aspect, the present invention provides a container for a biohazardous material including a first septum sealing a port into the container and a second septum sealing the port. The second septum is spaced from the first septum. In an another aspect, the present invention provides a system for transferring a pharmaceutical, including: a first container enclosing a hazardous pharmaceutical; a second container to receive the hazardous pharmaceutical; a first pump to deliver a hazardous pharmaceutical from the first container to the second container; a fluid path operably connected to the first pump, the first container, and the second container; and a hazardous material containment suitable to confine the hazardous pharmaceutical during connection of the first container to the fluid path. In a further aspect, the present invention provides a syringe loading device including at least a first compartment adapted to removably receive a first syringe. The first syringe includes a plunger slidably disposed therein. The first compartment includes a syringe connector adapted to make a fluid connection with the first syringe. The syringe loading device further includes a first container dock adapted to form a sealed engagement with a first fluid container which contains a hazardous pharmaceutical. The first container dock includes a first container connector adapted to make a fluid connection with the first container. The first container connector is in fluid connection with the syringe connector. The syringe loading device further includes an actuator adapted to apply force to the first syringe plunger to draw fluid from the first container into the first syringe. The syringe loading device of can further include at least a second container dock adapted to form an engagement with a second fluid container. The second container dock includes a second container connector adapted to make a fluid connection with the second container. The second container connector is in fluid connection with the syringe connector. The syringe loading can further include a switch to control whether the fluid is drawn into the syringe from the first container or the second container. In still a further aspect, the present invention provides an injector including a first compartment adapted to receive a first syringe. The first syringe has a hazardous pharmaceutical within a barrel thereof and includes a plunger slidable disposed within the syringe. The injector further includes a first plunger drive in operative connection with the first compartment; an energy storage mechanism adapted to store mechanical energy applied manually to the first plunger drive and a second compartment adapted to receive a second syringe. The second syringe also includes a plunger slidably disposed within the syringe. The injector further includes a second plunger drive in operative connection with the second compartment; an energy storage mechanism adapted to store mechanical energy applied manually to the second plunger drive; and at least one control to regulate the application of stored mechanical energy to the plunger of the first syringe and to the plunger of the second syringe. The present invention provides a number of improvements over current methods for delivery of hazardous pharmaceutical to patients, For example, the present invention provides enclosures sufficient to protect the operator and patient during preparation and loading of the drug. Certain embodiments of the present invention incorporate an integrated fluid path, preferably a closed path, for both sterility and the safety for operators. The present invention likewise provides energized pumps or regulators to provide consistent, steady flow rates over time frames not practical for humans. The systems of the present invention can, for example, incorporate diagnostic information (flow rate to reflux) to set therapeutic parameters. An integrated multi-fluid controller/sequencer can also be incorporated in the systems of the present invention to make procedures easier for the operator, and more consistent and safer for the patient. The present invention can also provide, a record of the fluid administration parameters. The systems, devices and methods of the present invention can be used with X-ray, MR, CT, ultrasound or other medical imaging modalities, and can beneficially inject many fluids and types of fluids in addition to gene therapy drugs. Other aspects of the invention and their advantages will be discerned from the following detailed description when read in connection with the accompanying drawings, in which: A system currently used for the injection of a gene therapy drug is illustrated in Manifold 30 has several valves, typically three or four, which in the system of Pump 42 delivers the gene therapy drug or other drug. In this embodiment, the drug remains in its container 52 and is pumped from the container by a peristaltic pump 42. The drug flows though tubing 24 A biohazard containment or enclosure 70 enables spiking and withdrawal of the gene therapy drug from drug container 52 outside of the pharmacy and, indeed, outside of a hood. One end of fluid path element 24 Another embodiment of a biohazard enclosure 80 of the present invention is shown in It may be advantageous if the drug bottle is distributed with an integral biohazard enclosure such as illustrated in An alternative embodiment that provides some indication of the efficacy or patency of the sealed enclosure can be formed by connecting filtered vent 81 Another embodiment of a biohazard enclosure is illustrated in By eliminating or preventing the opening of the liquid connection, a significant source of aerosol generation is removed by the system of An alternative to a tightly sealed enclosure is a less tightly sealed, passive enclosure that includes germicidal, viruscidal, or chemical destroying agents, devices or substances. Examples of germicidal, viruscidal, or chemical destroying agents, devices or substances include, but are not limited to, ultraviolet light, hydrogen peroxide vapor, activated charcoal, and ozone gas. In some circumstances, surfaces such as those coated or impregnated with silver, platinum, enzymes, activated charcoal, or Triclosan can be used. As shown in Pump 42 can provide steady consistent flow over extended periods of time (for example, over minutes) much better than a human pushing a syringe plunger. The consistent flow provided by pump 42 reduces the risk associated with operator fatigue and/or mistakes. Also, by making the connection in a protected way, and then throwing away, as a unit, fluid path 24, containers 51 and 52, enclosure 70, and other fluid path elements, there is no opening of the fluid path that could allow the biohazardous material to escape into the environment. Saline, other flushing fluid or another non-hazardous drug can be stored in container 51. Flow is driven or caused by pump 41. The flushing fluid flows through tubing 24 Pumps 41 and 42 can be one of many commercially available pumps. For example, a suitable pump is the CONTINUUM™ pump available from Medrad, Inc. of Indianola, Pa. The PEGASUS™ series of pumps available from Instech Laboratories, Inc. of Plymouth Meeting, Pa., can also be used in some applications. Depending upon the details of the procedure and the number of fluids to be used, multiple hazardous fluid pumps with containment chambers and or multiple non-hazardous fluid pumps can be used. Where fluid lines 24 With the systems of the present invention, the operator can inject and flush the gene therapy drug much more consistently and conveniently than by current hand operated procedures. The sequence, volumes, flow rates, and durations of various injections can be effected in the same manner as those currently effected by hand, or can be much more flexible, sophisticated, or complex than is possible with separate syringes and hand injections. Another feature of the systems of the present invention that can increase ease of use and safety is waste container 55 illustrated in Dashed lines 60, 61, 62, 63, 64, 65, 66, 67, and 68 in Lines 60, 61, and 62 communicate with system pumps 40, 41, and 42, respectively. Line 63 communicates with manifold 30 so that the proper fluid path is open at the proper time. Lines 65 and 66 can operate valves 24 There are many varieties of communication paths. For example, communication paths can be hard-wired using the presence or absence of a voltage to activate a relay, or using a standard such as RS-232. The control lines can be electrical, hydraulic, pneumatic, mechanical, or any other advantageous communications lines. Alternatively, the communication paths can be wireless using any one of many standard protocols. The communication paths can also utilize IR data transmission methods. Additionally, one type of transmission method/protocol can be used for one communication path and another type used for a different communication path. In addition to the benefits of fluid delivery synchronization, centralized control, and common user interface, the systems of the present invention provide the ability to overcome the need for deep subselective catheter placement to avoid reflux. In that regard, during diastole, the heart muscle is relaxing and the chambers are filling with blood. At the same time, pressurized blood is stored in the aorta and is flowing into the coronary blood vessels. During systole, the heart muscle contracts, expelling blood from the inside of the heart. During this cycle the blood in the coronary arteries undergoes a reversal in flow direction. This is termed reflux. It is not normally a problem, and is not a problem during regular angiography. Some of the contrast is simply carried back into the aorta and out into the systemic circulation. However, for gene therapy drugs or other toxic, hazardous or strong treatments, it is desirable to have no reflux of the hazardous substance into the systemic circulation or nearby vessels. In the current gene therapy practice, reflux is avoided by placing the catheter deep into the coronary vessels. An alternative to deep placement is to synchronize the injection of the drug with the heart beat of the patient, so that the drug flow is stopped sufficiently in advance such that the reflux of blood does not bring any drug into the aorta and thence into the systemic circulation. If pump 42 cannot start and stop fast enough to deliver the necessary flow pulses, passive valve 24 In certain situations, it may be an advantage to have pump 42 or the active valve actually draw back a few microliters of fluid when the flow stops. This action draws a little blood into the catheter and thereby ensures that as blood refluxes back from the artery into the aorta, no drug can diffuse from the catheter and get into the aorta. While the above has been described with respect to liquids in the blood vessels, and in particular the coronary arteries, similar benefits of efficient drug delivery and minimization of undesired drug migration can be achieved by synchronizing aerosol drug delivery via the lungs. The drug is provided into the air stream as air is inhaled. Drug delivery is stopped before inhalation ceases, so that all of the drug is carried deep into the lungs. Thus there is much less or no exhalation of drug. An alternative to reflux prevention through injection synchronization is to employ occluding balloons to stop flow for a period of time while the drug is infused. The balloon inflation can be done manually or automatically. The balloon inflation device is preferably in communication with the control unit 69 A two balloon occlusive system could be employed, with the drug injected into the space between the two balloons. This procedure allows treatment of a selected section of a blood vessel and can, for example, be useful to pretreat or post treat arterial segments that are being stented. The fluid path of the system shown in Table 1 sets froth a brief description of the system set-up and drug delivery steps for the current practice and for the present invention and illustrates the improvements evident in a comparison of the required steps. Communications and control in the systems of the present invention can have various levels of sophistication based upon design, verification, economic, and usability considerations. A simple level involves centralized start/stop timing or synchronization between two or more devices. A next level can, for example, be centralized programming of one or more pumps to improve operator or user convenience. A next level can, for example, involve a common programming interface for all pumps. A next level can, for example, include standard protocols involving various synchronization strategies and allowing the operator to save and recall customized protocols. The systems of the present invention provide great flexibility for designers to meet user needs. Communications and control functions are shown schematically as coordinated by control unit 69 It certain situations, it can be advantageous to have contrast injector or pump 40, similar to that described in U.S. patent application Ser. No. 09/982,518, filed on Oct. 18, 2001, assigned to the assignee of the present invention, the disclosure of which is incorporated herein by reference, be the primary controller, performing many of the functions of control unit 69 To check for proper fluid line purging, air detectors such as those available from Introtech of Edgewood, N.Y., can be included at various places along the fluid path. While the embodiments of the present invention described above include pumps that can be applied for the delivery of all the fluids related to a procedure, for either cost or historic preference, perception, or feelings of wanting to be in control, some of the pumping functions can be performed manually while others are performed mechanically. Specifically, many doctors prefer the manual “feel and control” of conducting the contrast injection. In this case only pumps 41 and 42 are used. Alternatively, mechanical delivery can be used and tactile feedback provided to the doctor to simulate the “feel and control” of manual operation. Tactile feedback is discussed in U.S. Pat. No. 5,840,026 and in U.S. patent application Ser. Nos. 09/982,518 and 10/237,139, assigned to the assignee of the present invention, the disclosure of which are incorporated herein by reference. It is also possible to select the properties of a fluid path element, for example tubing 24 Thus it is evident that any one, several, all, or none of the fluids can be advantageously injected by pump and the remaining can be injected by hand if the user so desires. If there is a reason for the doctor or operator to prefer a hand injection of the drug, then the device of To fill syringe 350 with a mixture of drug and saline, the user pushes the two vials completely into device 200. Then with the lever 250 connected to saline, the user pulls in sufficient saline to purge all air from the lines into the syringe. Then the user pushes the air and some of the saline back into the saline container until the desired amount of saline remains in the syringe. The user observes the syringe through the clear shroud 222. Now the user switches lever 250, which can, for example, be in operative connection with a valve 252 (see Upon operation of pump 400, one or more of the fluids from chambers 510, 520 and 530 is transmitted to the patient via tubing 560 with is in fluid connection with a catheter (not shown). A second tubing line 570 can be provided to connect to a waste container 515 (similar in operation to waste container 55 of Pump 400 further includes a release latch 420 to enable disconnection of multi-chamber container 500 from pump 400. Pump 400 can further include controls 430 positioned upon the housing of pump 400 to control the operation thereof. Additionally or alternatively, a control unit remote from pump 400 can be provided. Although containers or reservoirs 510 and 520 and enclosure 530 are formed integrally in the embodiment of The system of Syringe 800 As used herein in connection with several of the various embodiments of the present invention, the term “pump” includes all means of causing a controlled fluid flow, including controlled pumps or pressure sources and regulators, for example peristaltic pumps, gear pumps, syringe pumps, electrokinetic pumps, gravity, compressed gas, controlled gas evolving devices, spring pumps, centripetal pumps or any system which does not require continuing human exertion of motive force when the fluid is flowing. A number of the aspects of the present invention can also be advantageously applied to hand activated pumps as well. Especially in cardiac studies, it is anticipated that more than one drug will beneficially be injected. Examples of additional drugs are cardiac stress agents, thrombolytic drugs, or drugs to decrease the chance of restenosis after angioplasty or stenting. As clear to one skilled in the art, injection of such additional substances can be accommodated by adding additional pumps, fluid reservoirs, and optionally communications lines to the systems described herein. Non-viral gene therapy approaches can also benefit from the features of the systems of the present invention. While not as hazardous, non-viral genes still may pose hazards to healthcare workers. Minis Corp. of Madison, Wis., has, for example, published animal results in which they inject DNA not contained in a virus into the limb arteries using higher flow rates and volumes than discussed above in connection with DNA transfected via a viral vector. At high flow rates and volumes (over 100 ml), a fluid delivery system using mechanical pumps is especially beneficial. There are also studies that discuss the injection of drugs or enzymes before injection of a gene therapy drug or other therapeutic agent. These pretreatment drugs can, for example, promote the migration or transfer of DNA from the blood vessel into the tissue. An example of such a pretreatment drug is an enzyme that breaks down collagen to make the blood vessels more porous to the gene's DNA. The systems of the present invention can be used to inject such pretreatment drugs. The fluid delivery system of the present invention can also be used to deliver gene therapy drugs for direct injection into the heart or other tissue. In The fluid delivery system of this invention can also be used to deliver the fluid in connection with other gene uptake augmentation schemes, for example sonoporation, electroporation, or optically activated drug delivery strategies. The fluid delivery systems, devices and methods of the present invention have been generally described above using representative examples of injection of gene therapy drugs or agents. However, the systems, devices and methods of the present invention are not limited to gene therapy applications. The systems, devices and methods of the present invention can be used in many other drug delivery and therapeutic procedures. In general, the systems, devices and methods of the present invention are particularly suited for use in connection with any hazardous pharmaceutical or substance to be injected into a patient (human or animal). As used herein, the term “pharmaceutical” refers to any substance or drug to be injected or otherwise delivered into the body (either human or animal) in a medical procedure and includes, but is not limited to, substances used in imaging procedures (for example, contrast media), diagnostic, and therapeutic substances. As described above in connection with gene therapy agents, a number of such pharmaceutical substances pose a danger to both the patient and to the personnel administering the substance if not handled and/or injected properly. Examples of hazardous pharmaceuticals include, but are not limited to, radiopharmaceuticals, biological pharmaceuticals, proteins, cells (for example stem cells or myogenic cells), chemotherapeutic pharmaceuticals and gene therapeutic pharmaceuticals. Examplary methods of administering hazardous pharmaceuticals include intraarterial, intravenously, intramuscularly, subcutaneously, by respiration into the lungs, and transdermally. Even pharmaceuticals that are not considered to be extremely hazardous can be beneficially administered via this system and provide hospital personnel additional protection against adverse effects. The systems of the present invention can, for example, be applied to radiotherapy drugs or pharmaceuticals wherein the drug or pharmaceutical itself is radioactive. As clear to one skilled in the art, maintaining complete containment of radiotherapy pharmaceuticals promotes safety. If the drug or pharmaceutical is radioactive, the use of radiation absorbing or leaded Plexiglas shielding will help protect the operator and patient from unnecessary radiation dose. Designers skilled in the art of radiation shielding can readily specify the thicknesses needed. Containment of radiotherapy pharmaceutical is discussed in U.S. Patent Application Publication No. 2003-0004463. When used in connection with thrombolytic pharmaceuticals, the systems of the present invention provide, for example, the benefit of integrated control and the ability to inject the thrombolytic pharmaceutical, to inject saline, and to periodically inject contrast to verify continued correct placement of the catheter. Likewise, the systems of the present invention can be advantageously applied to tumor and other chemotherapy in which the chemotherapy pharmaceutical is supplied to the vessels supplying a tumor or other region of interest. In the case of chemotherapy pharmaceuticals, the fluid volumes can be quite small and an occlusion balloon can be beneficial to slow or prevent the wash out of the chemotherapy from, for example, tumor tissue. The pharmaceuticals or drugs mentioned above, or other pharmaceuticals or drugs can be included in or associated with ultrasound bubbles. The system of the present invention can deliver the bubbles to the region of interest and then ultrasound energy can be used to destroy the bubbles and promote the delivery of the drug to the tissue. The uses of ultrasound bubbles to deliver and release a pharmaceutical to a region of interest is disclosed in U.S. Pat. No. 6,397,098, assigned to the assignee of the present invention, the disclosure of which is incorporated herein by reference. The procedure of this invention has generally been described with liquid drugs, and can also apply to powdered drugs with either a liquid or gaseous vehicle, or gaseous drugs that are to be delivered to a recipient. A number of the hazardous pharmaceuticals for use in connection with the systems, devices and methods of the present invention can cause significant damage to the vessels into which they are injected. Certain antitumor chemotherapy pharmaceuticals, for example, are known to cause vessel damage when delivered through a peripheral venous catheter. This flow sequence of saline and drug delivery can be continuous, until all the drug is delivered, or if desired, it can be repeated over time to spread out the drug delivery and give the patient's system an opportunity to accommodate itself to the drug, minimizing the side effects. This periodic pulsed delivery has several other advantages. For example, it is easier for an extravasation detection system to operate. Extravasation detector 1100 (represented schematically in The systems, devices and methods of the present invention have been described generally in connection with treatment of a human. However, the systems, devices and methods of the present invention can also be used to treat any animal or living system in which it is desirable to provide the benefits of convenience, consistency, and safety to the application of hazardous (for example, biohazardous or chemically hazardous) pharmaceuticals. An additional embodiment of the present invention is shown in By turning valve 1243 and operating syringes 1212 and 1211, hazardous drug and saline can be injected in sequence, as directed by the operator. While this embodiment does not have all the automatic features and safeguards of some of the other embodiments, it has the benefits of being totally disposable and having an initial lower cost than some of the devices that have reusable system components. Because syringe 1212 can be refilled in a safe manner from the drug container in the enclosure 1270, syringe 1212 can have a smaller volume and thus have a smaller diameter, which makes hand injections more accurate. Alternatively, the module 1200 can be adapted to fit onto a reusable motive device 1300, which could for example move the two syringe pistons and turn the valves so that operation is automated. For example, the module 1200 could be attached to the front of a device similar in operation to device 700 illustrated in The connectors of Second member 1475 includes a penetrating member 1480. Penetrating member 1480 comprises a generally cylindrical penetrating element 1482 extending from a first end thereof. A passage 1484 is formed through penetrating element 1482 and the remainder of penetrating member 1480. The second end of penetrating member 1480 forms an extending member 1486 in fluid connection with passage 1482 to which a conduit or connector (not shown) such as flexible tubing or a luer connection can be attached. Second member 1480 also includes a swivel member 1490 rotatably connected to penetrating member 1480 as described above. Swivel member 1490 further includes threading 1492 on an interior surface thereof to cooperate with threading 1470 on first member 1455. Second member 1475 also includes opposing wing elements 1494 extending radially outward therefrom to facilitate rotation of second member 1475 relative to first member 1455 to form a threaded connection of first member 1455 and second member 1475. The cooperation of first member 4155 and second member 1475 to form an aseptic connection is illustrated, for example, in As the connector of U.S. Pat. No. 6,440,107 B1 is assembled, the air and thence aerosols or spillage in the space 1500 (see In the embodiment of The sealing members could be incorporated into the threads themselves, by being elastomeric so that a tight fit is achieved or hollow so that they can flex sufficiently. In addition, instead of many full rotations as shown in An alternative to incorporating a vent is to arrange for the air to enter the fluid path as the connector is brought together. Another alternative is to have sealing elements 1510 or 1520 incorporate open celled foam or other micro porous material such as Tyvek®, preferably incorporating activated charcoal as well, so that the air can vent through or at the seal, but drug material cannot escape. Because positioning the angiographic catheter 31 of Although the present invention has been described in detail in connection with the above embodiments and/or examples, it should be understood that such detail is illustrative and not restrictive, and that those skilled in the art can make variations without departing from the invention. The scope of the invention is indicated by the following claims rather than by the foregoing description. All changes and variations that come within the meaning and range of equivalency of the claims are to be embraced within their scope.CROSS-REFERENCE TO RELATED APPLICATION
BACKGROUND OF THE INVENTION
SUMMARY OF THE INVENTION
BRIEF DESCRIPTION OF THE DRAWINGS
DETAILED DESCRIPTION OF THE INVENTION
1. Store frozen vials in the pharmacy. a. Store frozen vials in the pharmacy 2. In a pharmacy hood, using gloves and proper b. Transport the drug bottle to the suite, install in technique, thaw the bottle with the gene therapy the biohazard enclosure and thaw. (Or, install in drug in the hand, avoiding agitation. biohazard enclosure in pharmacy and transport therein.) 3. Using a needle, pull a few ml of drug into a 10 ml syringe. 4. Add a few ml of saline to dilute it. 5. Place the 10 ml syringe in a 20 ml syringe holder for transport to the interventional suite to preserve the sterility of the outside of the syringe. (Thawed drug has to be used in several hours.) 6. Operating personnel put on and wear goggles and masks with M-95 filters to protect against infection from airborne virus. 7. All the fluid lines are purged of air. The c. Purge air from all fluid lines, ensuring that any operators can dilute the drug further if there are biohazard material is delivered into the waste more than 4 coronary arteries to inject. container 55. Connect the patient ECG to the control unit 69a. 8. The catheter is positioned in the desired vessel d. The catheter is positioned in the desired vessel using normal angiographic equipment and using normal angiographic equipment (manifolds, technique. Deep subselective placement can be catheters, guidewires) and technique. used avoid any reflux of contrast or drug into Deep subselective placement is not needed. the aorta. 9. The placement is verified with a contrast e. The placement is verified with a contrast injection. injection. 10. The manifold and/or catheter are optionally f. The operator programs the pumps to deliver the flushed with saline by removing the contrast proper amount with the proper timing. syringe and attaching the saline syringe. 11. The saline syringe is disconnected, the gene therapy syringe is connected and 1 to 5 milliliters is injected by hand over 1 to 2 minutes. 12. The gene therapy syringe is disconnected and the saline syringe is connected to inject a few ml of saline over the same time period to flush the gene therapy drug out of the fluid path and into the patient. 13. The saline syringe is disconnected and the g. The drug and flush fluids are delivered as contrast syringe is reconnected to inject programmed. contrast to confirm that the catheter had not moved. 14. The catheter is then repositioned for the next h. The catheter is then repositioned for the next injections and steps 8-12 are repeated until all injections and steps d-g are repeated until all vessels are injected vessels are injected 15. The disposable parts of the system are disposed i. The disposable parts of the system are disposed of as biohazard material. of as biohazard material.