A rotating mechanism is used for a portable electronic device including a housing body and a display. The rotating mechanism includes a primary plate, a subsidiary plate and the connecting plate. The primary plate is pivotally connected to the housing body. The subsidiary plate is pivotally connected to the primary plate. The connecting plate is rotatably connected to the subsidiary plate. The connecting plate is fixed to the display allowing the display to hold a variety of positions relative to the housing body.
1. A rotating mechanism for a portable electronic device including a housing body and a display, the rotating mechanism comprising:
a primary plate pivotally connected to the housing body; a subsidiary plate pivotally connected the primary plate; and a connecting plate rotatably connected to the subsidiary plate, the connecting plate fixed to the display allowing the display to hold a variety of positions relative to the housing body. 2. The rotating mechanism as claimed in 3. The rotating mechanism as claimed in 4. The rotating mechanism as claimed in 5. The rotating mechanism as claimed in 6. The rotating mechanism as claimed in 7. A portable communication device comprising:
a housing body defining a cavity; a display defining a recess; a rotating mechanism comprising:
a primary plate pivotally connected to the cavity; a subsidiary plate pivotally connected the primary plate; and a connecting plate rotatably connected to the subsidiary plate, the connecting plate fixed to the recess allowing the display to hold a variety of positions relative to the housing body. 8. The portable communication device as claimed in 9. The portable communication device as claimed in 10. The portable communication device as claimed in 11. The portable communication device as claimed in 12. The portable communication device as claimed in
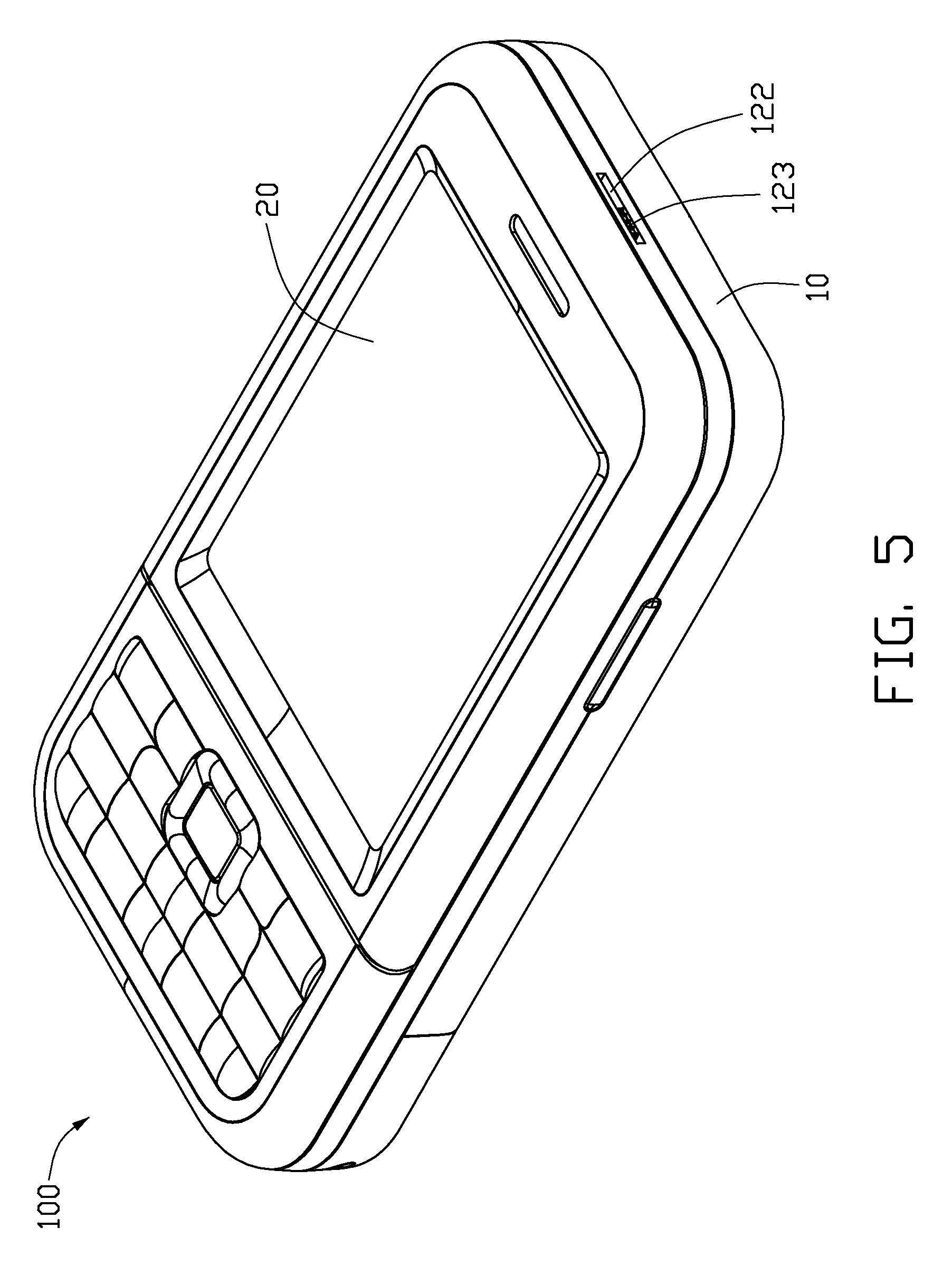
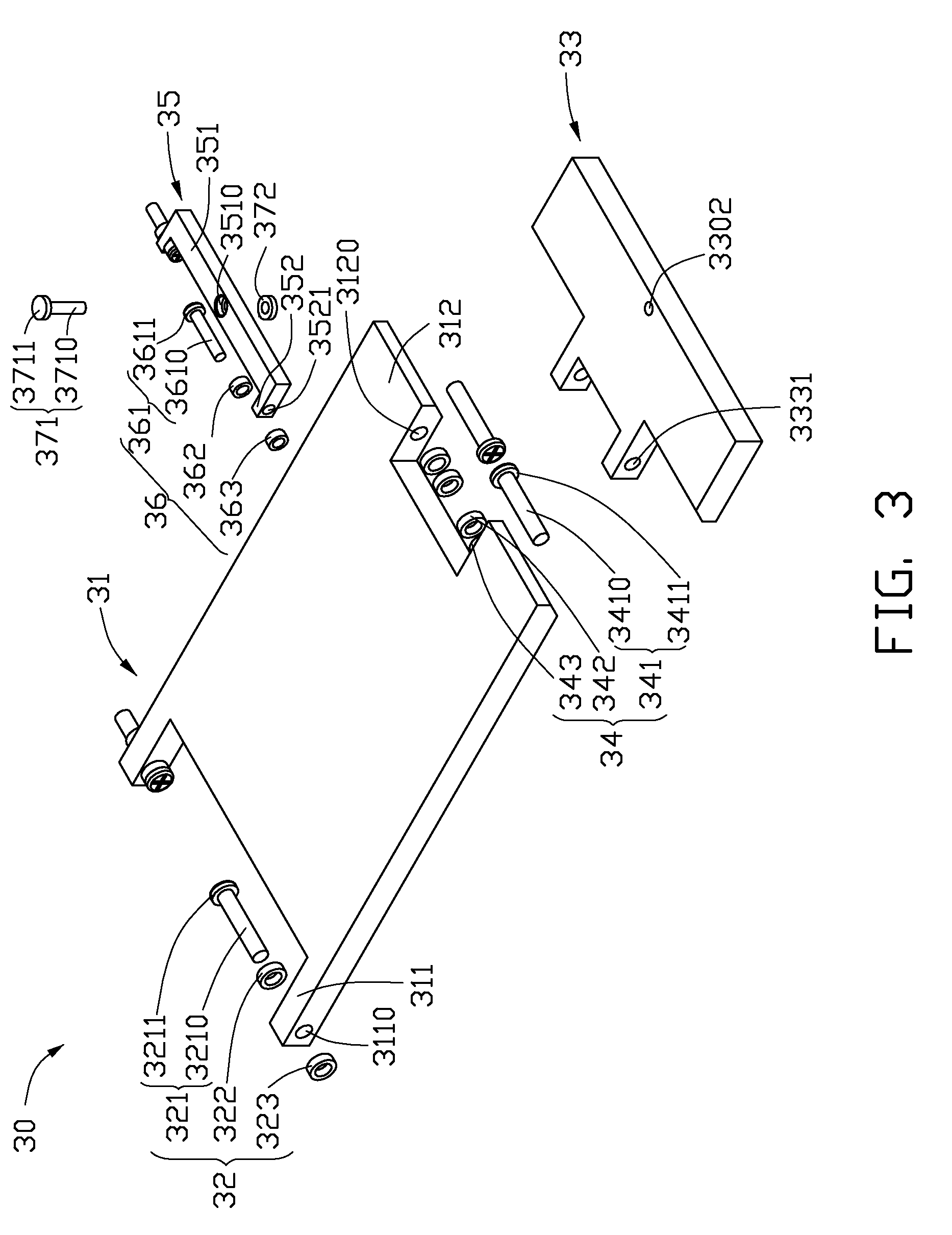
1. Technical Field The present disclosure relates to rotating mechanisms, and more particularly to a rotating mechanism for a portable electronic device (e.g., mobile phones). 2. Description of Related Art A conventional mobile phone includes a phone body and a cover. The phone body and the cover are rotatably connected together by a hinge. The cover includes a display facing the phone body. During functioning of the phone, alphabet, numbers, and images are shown on the display when a user opens the cover from the phone body by pivoting. However, since the mobile phone can only be opened to preset angles, the display cannot realize wider angles of adjustment relative to the phone body. Therefore, there is room for improvement within the art. Many aspects of the embodiments can be better understood with references to the following drawings. The components in the drawings are not necessarily drawn to scale, the emphasis instead being placed upon clearly illustrating the principles of the present rotating mechanism for portable electronic device. Moreover, in the drawings, like reference numerals designate corresponding parts throughout the several views, in which: The mobile phone 100 includes a housing body 10 and a display 20. The display 20 is attached to the housing body 10. The housing body 10 includes a supporting portion 101 and a keypad 102. The supporting portion 101 defines a rectangular cavity 11 with two sidewalls 111. Each sidewall 111 defines a pin hole 112 at one end thereof. One end of the supporting portion 101 forms a latching portion 12 for releasable latching the display 20. The latching portion 12 includes a slot 121, and a latching hole 122 respectively defined two substantially perpendicular surfaces. A block 123 is slidably received in the latching hole 122. The display 20 includes a screen 201 and an inner surface 202. The inner surface 202 defines a recess 21 at a middle portion thereof and a hook 22 at an end thereof. The recess 21 corresponds to the cavity 11 and includes two end walls 210. Each end wall 210 defines a latching hole 211. Each hook 22 is substantially L-shape, and is used for latching the block 123 of the housing body 10. Referring to The subsidiary plate 33 forms two opposite extending portions 333 for being positioned between the knuckle portions 312. Each extending portion 333 longitudinally defines a connecting hole 3331 corresponding to the shaft hole 3120. The subsidiary plate 33 traversely defines a circular notch 3302 away from the extending portions 333. Two second hinge assemblies 34 are used for connecting the subsidiary plate 33 to the primary plate 31. Each second hinge assembly 34 is similar to each first hinge assembly 32, also includes a rod 341 and two washers 342, 343. Each rod 341 includes a rod portion 3410 and a head portion 3411. The washers 342, 343 are made of elastic material such as rubber or nylon. Each rod 341 passes through the washer 342, the shaft hole 3120, the washer 343, and the connecting hole 3331, in the order written, for pivotally connecting the subsidiary plate 33 to the primary plate 31. The two washers 342, 343 are respectively positioned between the extending portion 333 and the knuckle portions 312 for providing friction to allow the subsidiary plate 33 to be held at any angle relative to the primary plate 10. The connecting plate 35 is narrow, substantially rectangular, and has a size that corresponds to the recess 210. The connecting plate 35 forms two opposite pivotal portions 352 extending at two sides thereof. Each pivotal portion 352 longitudinally defines a pivotal hole 3521. Two third hinge assemblies 36 are fixedly connected the connecting plate 35 to the display 20. Each third hinge assembly 36 is similar to each second hinge assembly 34, and includes a rod 361 and two washers 362, 363. Each rod 361 includes a rod portion 3610 and a head portion 3611. The washers 362, 363 are made of elastic material such as rubber. Each rod 361 passes through the pivotal hole 3521, and is fixedly connected to the latching hole 211 for connecting the connecting plate 35 to the display 20. The connecting plate 35 traversely defines a stepped hole 3510 at a middle thereof. A pin 371 and a washer 372 are used for connecting the stepped hole 3510 and the notch 3302 allowing the connecting plate 35 to pivotally connect the subsidiary plate 33. The pin 371 includes a flange portion 3711 and a pin portion 3710. Referring to Referring to Then, the display 20 with the connecting plate 35 can be rotated 90 degrees along the pin 371 relative to the subsidiary plate 33. After that, the subsidiary plate 33 is rotated to a co-planner state with the primary plate 31 along the second hinge assemblies 34. Thus, the subsidiary plate 33 and the primary plate 31 together support the display 20 to keep the display at a tilted state. The rotating mechanism 30 allows the display 20 to be rotated a suitable angle such as a 90 degree. The screen 201 of the display 20 may have a wide area to show the information. It is believed that the present embodiments and their advantages will be understood from the foregoing description, and it will be apparent that different changes may be made thereto without departing from the spirit and scope of the invention or sacrificing all of its material advantages, the examples hereinbefore described merely being preferred or exemplary embodiments of the invention.BACKGROUND
BRIEF DESCRIPTION OF THE DRAWINGS
DETAILED DESCRIPTION