Embodiments of the present invention provide mesoscale or microscale three-dimensional devices, structures, instruments, and the like. In particular, instruments that are useable in minimally invasive surgery are described that include multiple tools that are deployable from a distal end of one or more housings or retractable into a distal end of one or more housings via the applying of tension to either end of one or more chain or chain-like elements that extend from the proximal end of the one or more housings.
1. An micro-scale or mesoscale instrument containing multiple independently deployable tools comprising:
a. a first tool having a first functionality; b. a second tool having a second functionality; c. at least one housing, having at least one proximal end and at least one distal end, for holding the first and second tools when in a retracted state a housing; and d. at least one mechanism extending from the proximal end of the at least one housing to which a tensional force may be exerted to cause deployment of at least one of the first or second tool from the at least one housing. 2. The instrument of 3. The instrument of e. at least one mechanism capable of retracting at least one of the first or second tools back into the at least one housing. 4. The instrument of 5. The instrument of 6. The instrument of 7. The instrument of 8. The instrument of 9. The instrument of 10. The instrument of 11. The instrument of 12. A micro-scale or mesoscale surgical instrument containing multiple independently deployable tools comprising:
a. a first module comprising a first housing and a first tool having a first functionality which is deployable from the first housing; and b. a second module comprising a second housing and a second tool having a second functionality which is deployable form the second housing, wherein the first module and second module are stacked and fixed together. 13. The instrument of 14. A micro-scale or mesoscale instrument, comprising:
a. a module comprising a housing and a tool having a first functionality which is deployable from a distal end of the housing; and b. a bidirectional chain connected to the tool within the housing and having two ends that extend from the housing, wherein pulling on a first end of the chain causes a retracted tool to be deployed from the housing; and wherein pulling on a second end of the chain, which is different from the first end, causes a deployed tool to be retracted into the housing. 15. The instrument of claim Error! Reference source not found.which is a minimally invasive surgical instrument. 16. A micro-scale or mesoscale instrument, comprising:
a. a module comprising a housing and a tool having a first functionality which is deployable from a distal end of the housing; and b. a mechanism for deploying the tool from the housing, wherein the tool is deployable from the housing along a non-pivoting path. 17. The instrument of
This application claims benefit of U.S. Provisional Patent Application No. 60/686,496, filed May 31, 2005 and is a continuation-in-part of U.S. patent application Ser. No. 10/697,598, filed Oct. 29, 2003, which in turn claims benefit of U.S. Provisional Patent Application No. 60/422,007, filed Oct. 29, 2002. Each of these applications is hereby incorporated herein by reference as if set forth in full herein. Certain embodiments of the present invention relate to the field of electrochemical fabrication and the associated formation of three-dimensional structures, instruments, or devices formed a from a plurality of adhered layers with each layer formed from at least one structural material and at least one sacrificial material (e.g. microscale or mesoscale structures). Particular embodiments relate to microscale or mesoscale structures, instruments, or devices that may be useable in surgical procedures and in particular to minimally invasive surgical procedures. A technique for forming three-dimensional structures (e.g. parts, components, devices, and the like) from a plurality of adhered layers was invented by Adam L. Cohen and is known as Electrochemical Fabrication. It is being commercially pursued by Microfabrica® Inc. (formerly MEMGen® Corporation) of Burbank, Calif. under the name EFAB®. Certain variations of this technique were described in U.S. Pat. No. 6,027,630, issued on Feb. 22, 2000. The disclosed electrochemical deposition techniques allow the selective deposition of a material using a unique masking technique that involves the use of a mask that includes patterned conformable material on a support structure that is independent of the substrate onto which plating will occur. When desiring to perform an electrodeposition using the mask, the conformable portion of the mask is brought into contact with a substrate while in the presence of a plating solution such that the contact of the conformable portion of the mask to the substrate inhibits deposition at selected locations. For convenience, these masks might be generically called conformable contact masks; the masking technique may be generically called a conformable contact mask plating process. More specifically, in the terminology of Microfabrica Inc. (formerly MEMGen® Corporation) of Burbank, Calif. such masks have come to be known as INSTANT MASKS™ and the process known as INSTANT MASKING™ or INSTANT MASKT™ plating. Selective depositions using conformable contact mask plating may be used to form single layers of material or may be used to form multi-layer structures. The teachings of the '630 patent are hereby incorporated herein by reference as if set forth in full herein. Since the filing of the patent application that led to the above noted patent, various papers about conformable contact mask plating (i.e. INSTANT MASKING) and electrochemical fabrication have been published:
The disclosures of these nine publications are hereby incorporated herein by reference as if set forth in full herein. The electrochemical deposition process may be carried out in a number of different ways as set forth in the above patent and publications. In one form, this process involves the execution of three separate operations during the formation of each layer of the structure that is to be formed:
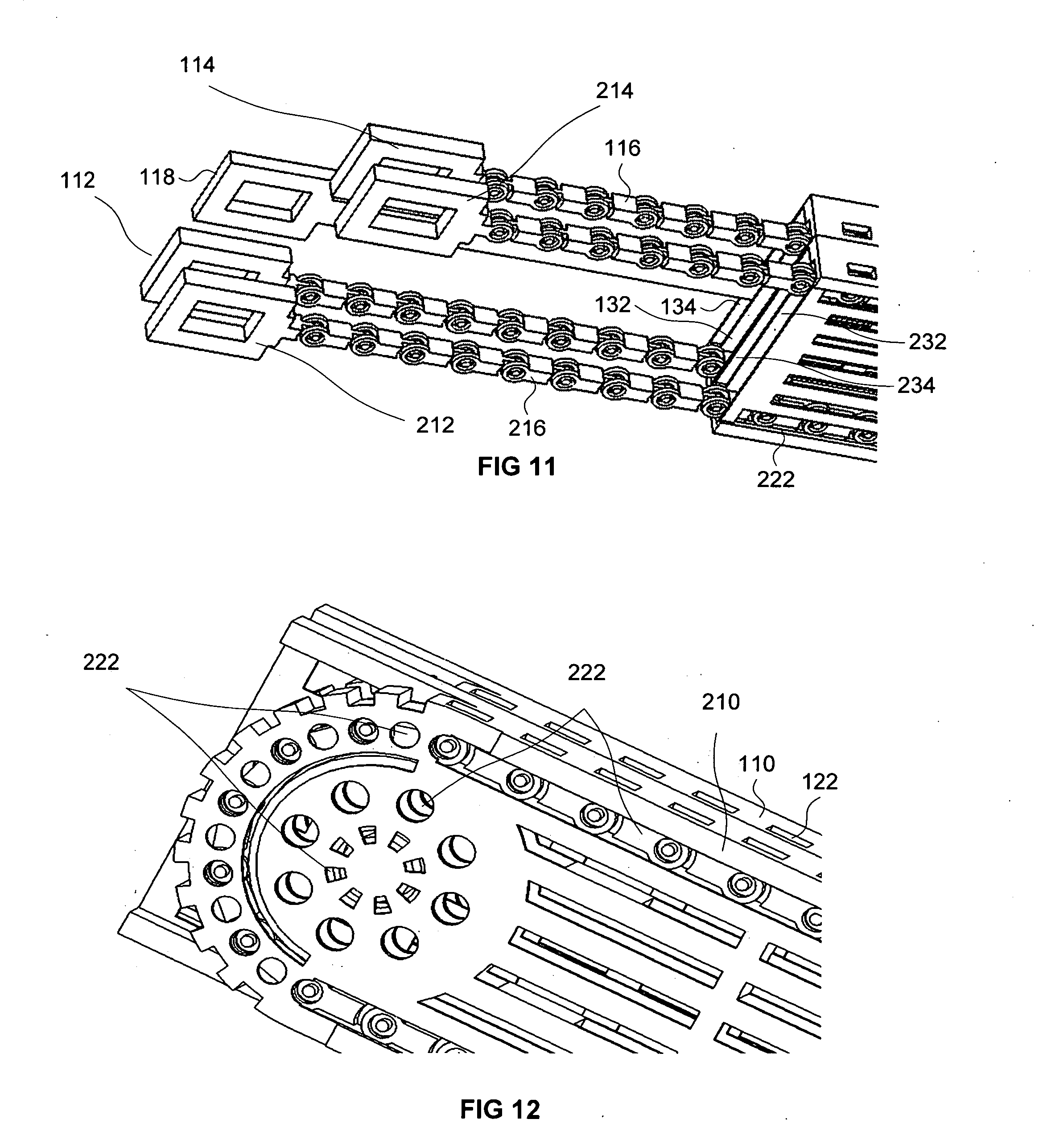
After formation of the first layer, one or more additional layers may be formed adjacent to the immediately preceding layer and adhered to the smoothed surface of that preceding layer. These additional layers are formed by repeating the first through third operations one or more times wherein the formation of each subsequent layer treats the previously formed layers and the initial substrate as a new and thickening substrate. Once the formation of all layers has been completed, at least a portion of at least one of the materials deposited is generally removed by an etching process to expose or release the three-dimensional structure that was intended to be formed. The preferred method of performing the selective electrodeposition involved in the first operation is by conformable contact mask plating. In this type of plating, one or more conformable contact (CC) masks are first formed. The CC masks include a support structure onto which a patterned conformable dielectric material is adhered or formed. The conformable material for each mask is shaped in accordance with a particular cross-section of material to be plated. At least one CC mask is needed for each unique cross-sectional pattern that is to be plated. The support for a CC mask is typically a plate-like structure formed of a metal that is to be selectively electroplated and from which material to be plated will be dissolved. In this typical approach, the support will act as an anode in an electroplating process. In an alternative approach, the support may instead be a porous or otherwise perforated material through which deposition material will pass during an electroplating operation on its way from a distal anode to a deposition surface. In either approach, it is possible for CC masks to share a common support, i.e. the patterns of conformable dielectric material for plating multiple layers of material may be located in different areas of a single support structure. When a single support structure contains multiple plating patterns, the entire structure is referred to as the CC mask while the individual plating masks may be referred to as “submasks”. In the present application such a distinction will be made only when relevant to a specific point being made. In preparation for performing the selective deposition of the first operation, the conformable portion of the CC mask is placed in registration with and pressed against a selected portion of the substrate (or onto a previously formed layer or onto a previously deposited portion of a layer) on which deposition is to occur. The pressing together of the CC mask and substrate occur in such a way that all openings, in the conformable portions of the CC mask contain plating solution. The conformable material of the CC mask that contacts the substrate acts as a barrier to electrodeposition while the openings in the CC mask that are filled with electroplating solution act as pathways for transferring material from an anode (e.g. the CC mask support) to the non-contacted portions of the substrate (which act as a cathode during the plating operation) when an appropriate potential and/or current are supplied. An example of a CC mask and CC mask plating are shown in Another example of a CC mask and CC mask plating is shown in Unlike through-mask plating, CC mask plating allows CC masks to be formed completely separate from the fabrication of the substrate on which plating is to occur (e.g. separate from a three-dimensional (3D) structure that is being formed). CC masks may be formed in a variety of ways, for example, a photolithographic process may be used. All masks can be generated simultaneously, e.g. prior to structure fabrication rather than during it. This separation makes possible a simple, low-cost, automated, self-contained, and internally-clean “desktop factory” that can be installed almost anywhere to fabricate 3D structures, leaving any required clean room processes, such as photolithography to be performed by service bureaus or the like. An example of the electrochemical fabrication process discussed above is illustrated in Various components of an exemplary manual electrochemical fabrication system 32 are shown in The CC mask subsystem 36 shown in the lower portion of The blanket deposition subsystem 38 is shown in the lower portion of The planarization subsystem 40 is shown in the lower portion of In addition to teaching the use of CC masks for electrodeposition purposes, the '630 patent also teaches that the CC masks may be placed against a substrate with the polarity of the voltage reversed and material may thereby be selectively removed from the substrate. It indicates that such removal processes can be used to selectively etch, engrave, and polish a substrate, e.g., a plaque. The '630 patent further indicates that the electroplating methods and articles disclosed therein allow fabrication of devices from thin layers of materials such as, e.g., metals, polymers, ceramics, and semiconductor materials. It further indicates that although the electroplating embodiments described therein have been described with respect to the use of two metals, a variety of materials, e.g., polymers, ceramics and semiconductor materials, and any number of metals can be deposited either by the electroplating methods therein, or in separate processes that occur throughout the electroplating method. It indicates that a thin plating base can be deposited, e.g., by sputtering, over a deposit that is insufficiently conductive (e.g., an insulating layer) so as to enable subsequent electroplating. It also indicates that multiple support materials (i.e. sacrificial materials) can be included in the electroplated element allowing selective removal of the support materials. The '630 patent additionally teaches that the electroplating methods disclosed therein can be used to manufacture elements having complex microstructure and close tolerances between parts. An example is given with the aid of Another method for forming microstructures from electroplated metals (i.e. using electrochemical fabrication techniques) is taught in U.S. Pat. No. 5,190,637 to Henry Guckel, entitled “Formation of Microstructures by Multiple Level Deep X-ray Lithography with Sacrificial Metal layers”. This patent teaches the formation of metal structure utilizing mask exposures. A first layer of a primary metal is electroplated onto an exposed plating base to fill a void in a photoresist, the photoresist is then removed and a secondary metal is electroplated over the first layer and over the plating base. The exposed surface of the secondary metal is then machined down to a height which exposes the first metal to produce a flat uniform surface extending across the both the primary and secondary metals. Formation of a second layer may then begin by applying a photoresist layer over the first layer and then repeating the process used to produce the first layer. The process is then repeated until the entire structure is formed and the secondary metal is removed by etching. The photoresist is formed over the plating base or previous layer by casting and the voids in the photoresist are formed by exposure of the photoresist through a patterned mask via X-rays or UV radiation. The '637 patent teaches the locating of a plating base onto a substrate in preparation for electroplating materials onto the substrate. The plating base is indicated as typically involving the use of a sputtered film of an adhesive metal, such as chromium or titanium, and then a sputtered film of the metal that is to be plated. It is also taught that the plating base may be applied over an initial sacrificial layer of material on the substrate so that the structure and substrate may be detached if desired. In such cases after formation of the structure the plating base may be patterned and removed from around the structure and then the sacrificial layer under the plating base may be dissolved to free the structure. Substrate materials mentioned in the '637 patent include silicon, glass, metals, and silicon with protected processed semiconductor devices. A specific example of a plating base includes about 150 angstroms of titanium and about 300 angstroms of nickel, both of which are sputtered at a temperature of 160° C. In another example it is indicated that the plating base may consist of 150 angstroms of titanium and 150 angstroms of nickel where both are applied by sputtering. It is an object of some aspects of the invention to provide improved micro or mesoscale tools or instruments. It is an object of some aspects of the invention to provide improved micro or mesoscale multi-functional tools or instruments. It is an object of some aspects of the invention to provide improved micro or mesoscale tools or instruments for minimally invasive surgery. It is an object of some aspects of the invention to provide improved micro or mesoscale multi-functional tools or instruments for minimally invasive surgery. It is an object of some aspects of the invention to provide micro or mesoscale tools or instruments for minimally invasive surgery where interactive portions of the tool or instrument is extended from a distal end of a housing by exerting tension on a proximal end of a sheath (e.g. a catheter) that extends from a distal end of an instrument housing. It is an object of other aspects of the invention to provide methods for fabricating tools or instruments that provide the above noted objects of the invention as well as tools or instruments that meet other objects of the invention. Other objects and advantages of various embodiments of the invention will be apparent to those of skill in the art upon review of the teachings herein. The various embodiments of the invention, set forth explicitly herein or otherwise ascertained from the teachings herein, may address one or more of the above objects alone or in combination, or alternatively they may address some other object of the invention that may be ascertained from the teachings herein. It is not intended that all objects be addressed by any single aspect of the invention even though that may be the case with regard to some aspects. In a first aspect of the invention a micro-scale or mesoscale instrument containing multiple independently deployable tools including: a first tool having a first functionality; a second tool having a second functionality; at least one housing, having at least one proximal end and at least one distal end, for holding the first and second tools when in a retracted state a housing; at least one mechanism extending from the proximal end of the at least one housing to which a tensional force may be exerted to cause deployment of at least one of the first or second tool from the at least one housing. In a second aspect of the invention a micro-scale or mesoscale surgical instrument containing multiple independently deployable tools including: a first module including a first housing and a first tool having a first functionality which is deployable from the first housing; a second module including a second housing and a second tool having a second functionality which is deployable form the second housing, wherein the first module and second module are stacked and fixed together. In a third aspect of the invention a micro-scale or mesoscale instrument, including: a module including a housing and a tool having a first functionality which is deployable from a distal end of the housing; a bidirectional chain connected to the tool within the housing and having two ends that extend from the housing, wherein pulling on a first end of the chain causes a retracted tool to be deployed from the housing; wherein pulling on a second end of the chain, which is different from the first end, causes a deployed tool to be retracted into the housing. In a fourth aspect of the invention a micro-scale or mesoscale instrument, including: a module including a housing and a tool having a first functionality which is deployable from a distal end of the housing; a mechanism for deploying the tool from the housing, wherein the tool is deployable from the housing along a non-pivoting path. Further aspects of the invention will be understood by those of skill in the art upon reviewing the teachings herein. Other aspects of the invention may involve combinations of the above noted aspects of the invention. These other aspects of the invention may provide various combinations of the aspects, embodiments, and associated alternatives explicitly set forth herein as well as provide other configurations, structures, functional relationships, and processes that have not been specifically set forth above. Various embodiments of various aspects of the invention are directed to formation of three-dimensional structures from materials some of which may be electrodeposited or electroless deposited. Some of these structures may be formed form a single layer of one or more deposited material while others are formed from a plurality of layers each including at least two materials (e.g. two or more layers, more preferably five or more layers, and most preferably ten or more layers). In some embodiments microscale structures are produced that have features positioned with micron or near micron-level precision and with minimum features size on the order of microns to tens of microns. In other embodiments mesoscale structures with less precise feature placement (tens to hundreds of microns) and/or larger minimum features (tens to hundreds of microns) may be formed. In some embodiments microscale structures may have overall dimensions on the order of millimeters or even centimeters while in other embodiments the microstructures may have smaller overall dimensions. In some embodiments, mesoscale structures may have overall dimensions on the order of millimeters to centimeters while in other embodiments they may be smaller. In still other embodiments, microscale structures may have higher precision and smaller minimum feature sizes. The various embodiments, alternatives, and techniques disclosed herein may form multi-layer structures using a single patterning technique on all layers or using different patterning techniques on different layers. For example, Various embodiments of the invention may perform selective patterning operations using conformable contact masks and masking operations (i.e. operations that use masks which are contacted to but not adhered to a substrate), proximity masks and masking operations (i.e. operations that use masks that at least partially selectively shield a substrate by their proximity to the substrate even if contact is not made), non-conformable masks and masking operations (i.e. masks and operations based on masks whose contact surfaces are not significantly conformable), and/or adhered masks and masking operations (masks and operations that use masks that are adhered to a substrate onto which selective deposition or etching is to occur as opposed to only being contacted to it). Adhered mask may be formed in a number of ways including (1) by application of a photoresist, selective exposure of the photoresist, and then development of the photoresist, (2) selective transfer of pre-patterned masking material, and/or (3) direct formation of masks from computer controlled depositions of material. Patterning operations may be used in selectively depositing material and/or may be used in the selective etching of material. Selectively etched regions may be selectively filled in or filled in via blanket deposition, or the like, with a different desired material. In some embodiments, the layer-by-layer build up may involve the simultaneous formation of portions of multiple layers. In some embodiments, depositions made in association with some layer levels may result in depositions to regions associated with other layer levels. Such use of selective etching and interlaced material deposited in association with multiple layers is described in U.S. patent application Ser. No. 10/434,519, by Smalley, and entitled “Methods of and Apparatus for Electrochemically Fabricating Structures Via Interlaced Layers or Via Selective Etching and Filling of Voids” which is hereby incorporated herein by reference as if set forth in full. Various embodiments of the invention relate to modular, multi-functional microfabricated instruments that have application, inter alia, in minimally-invasive surgery (MIS) and in other domains (e.g. inspection and repair of components in tubes or other hard to access locations. An feature of some embodiments of the invention is, in effect, to provide a ‘Swiss army knife’-type instrument in which multiple tools (e.g. as many as required for a particular surgery or portion of a surgery to be performed) are enclosed within a single or multiple component housing and can be independently exposed, extended, or deployed from their housing(s) and then enclosed again (e.g. retracted into) by the housing(s). For MIS applications, remote actuation of the instrument by a surgeon is typical. Since it is possible to pass cables, wires, or chains through a catheter and apply tension to these from outside the body, a preferred embodiment of the invention provides extension, retraction, and actuation of each tool using tension alone. In such embodiments, a tool housing or head may be located at a distal end of the catheter while the proximal end extends from the body of the patient. As needed, tools or instruments (e.g. clamps, hooks, knifes, scissors, needles, sensors, sample extractors, cameras, various sensors, and the like) may be deployed from the housing(s) or drawn back into the housing by exerting tension on cables, chains, wires, or the like that extend from the proximal end of the catheter. In some embodiments, the instrument may be fixed at the end of the catheter while in other embodiments, it may be extended to the end of the catheter via a flexible but not compressive lead wire or the like which is attached or otherwise abuts the proximal end of the instrument housing. Since an MIS application (e.g., in a catheter or blood vessel) may not offer enough space for tools to swing out on pivots as in a Swiss army knife, in some embodiments of the invention (as illustrated herein with aid of In In particular In some embodiments different pull tabs from those shown in In the figures, an instrument 100 with two stacked modules is shown. In other embodiments, additional modules may be stacked, thus more complex instruments with greater functionality can be made. For example, an instrument consisting of four stacked modules can be fabricated that is ˜1 mm wide (X) and <1 mm in height (Z), since each module can be (and in this design, is) on the order of 200 μm tall. Of course in other embodiments other heights and width as well as height and width ratios may be implemented. Other ways of combing modules other than stacking can be used. Multiple modules may be combined and built as a single monolithic unit without assembly, or built separately and then assembled. The process of assembly may, for example, include using one or more of (1) fold over, (21) built-in alignment features, and/or (3) retention elements, such as clips, slide in mounts, adhesives, solder bonding, or the like. In some embodiments, final positioning may locate modules at angles relative to one another (i.e. non-parallel orientations). In When the chain ends are first pulled, the chain stretches slightly while eliminating the clearance between the pin and one side of the hole. In alternative configurations, the pin may be attached to the two outer arms while a single central ring structure attaches a next link. Other chain configurations are possible in other embodiments including chain configurations with multiple male and female connecting elements that join links together. In some alternative embodiments, the number of actuation chains/cables, may be reduced by providing a spring that pulls the tools back into the housings (or alternatively, extends them if already in) once the chain is released. This could be a linearly-acting spring or perhaps a clock-type spring attached to the end of the spring or to the pulley (this would require a no-slip condition between chain and pulley: e.g. the pulley could have a sprocket and the chain could be modified to accept the sprocket teeth). In some embodiments, multiple housing modules may be used to actuate a single tool (e.g. part of a tool may be extended from one module while another portion of the tool may extend from another module) The techniques disclosed explicitly herein may benefit by combining them with the techniques disclosed in U.S. patent application Ser. No. 10/841,272 filed May 7, 2004 by Adam Cohen et al. and entitled “Methods and Apparatus for Forming Multi-Layer Structures Using Adhered Masks”. This referenced application is incorporated herein by reference as if set forth in full herein. This referenced application teaches various electrochemical fabrication methods and apparatus for producing multi-layer structures from a plurality of layers of deposited materials where adhered masks are used in selective patterning operations. The techniques disclosed explicitly herein may benefit by combining them with the techniques disclosed in U.S. patent application Ser. No. 10/697,597 filed on Oct. 29, 2003 by Michael S. Lockard et al. and entitled “EFAB Methods and Apparatus Including Spray Metal or Powder Coating Processes”. This referenced application is incorporated herein by reference as if set forth in full herein. This referenced application teaches various techniques for forming structures via a combined electrochemical fabrication process and a thermal spraying process or powder deposition processes. In some embodiments, selective deposition occurs via masking processes (e.g. a contact masking process or adhered mask process) and thermal spraying or powder deposition is used in blanket deposition processes to fill in voids left by the selective deposition processes. In other embodiments, after selective deposition of a first material, a second material is blanket deposited to fill in the voids, the two depositions are planarized to a common level and then a portion of the first or second materials is removed (e.g. by etching) and a third material is sprayed into the voids left by the etching operation. In both types of embodiments the resulting depositions are planarized to a desired layer thickness in preparation for adding additional layers. The techniques disclosed explicitly herein may benefit by combining them with various elements of the dielectric substrate on and/or dielectric incorporation techniques disclosed in the following patent applications (1) U.S. Patent Application Ser. Nos. 60/534,184 filed Dec. 31, 2003 and 11/029,216 filed Jan. 3, 2005 both by Adam L. Cohen et al and entitled “Electrochemical Fabrication Methods Using Dielectric Substrates and/or Incorporating Dielectric Materials”; (2) U.S. Patent Application Ser. No. 60/533,932 filed Dec. 31, 2003 by Adam L. Cohen et al. and entitled “Electrochemical Fabrication Methods Using Dielectric Substrates and/or Incorporating Dielectric Materials”; (3) U.S. Patent Application Ser. No. 60/534,157, which is entitled “Electrochemical Fabrication Methods Incorporating Dielectric Materials”, filed Dec. 31, 2003 by Lockard et al; and (4) U.S. Patent Application Ser. No. 60/533,895 filed Dec. 31, 2003 by Lembrikov et al, and entitled “Electrochemical Fabrication Method for Producing Multi-layer Three-Dimensional Structures on a Porous Dielectric”. These applications are hereby incorporated herein by reference as if set forth in full. The patent applications and patents set forth below are hereby incorporated by reference herein as if set forth in full. The teachings in these incorporated applications can be combined with the teachings of the instant application in many ways: For example, enhanced methods of producing structures may be derived from some combinations of teachings, enhanced structures may be obtainable, enhanced instruments or apparatus may be derived, and the like.
Various other embodiments of the present invention exist. Some of these embodiments may be based on a combination of the teachings herein with various teachings incorporated herein by reference. Some embodiments may not use any blanket deposition process and/or they may not use a planarization process. Some embodiments may use selective deposition processes or blanket deposition processes on some layers that are not electrodeposition processes. Some embodiments, for example, may use nickel, nickel titanium, nickel cobalt, titanium, stainless steel, gold, copper, tin, silver, zinc, solder, various alloys of these and other materials as structural materials while other embodiments may use different materials. Some embodiments, for example, may use copper, tin, zinc, solder or other materials as sacrificial materials. Some embodiments may remove a sacrificial material while other embodiments may not. Some embodiments may use photoresist, polyimide, glass, ceramics, other polymers, and the like as dielectric structural materials In view of the teachings herein, many further embodiments, alternatives in design and uses of the instant invention will be apparent to those of skill in the art. As such, it is not intended that the invention be limited to the particular illustrative embodiments, alternatives, and uses described above but instead that it be solely limited by th claims presented hereafter. RELATED APPLICATIONS
FIELD OF THE INVENTION
BACKGROUND OF THE INVENTION
SUMMARY OF THE INVENTION
BRIEF DESCRIPTION OF THE DRAWINGS
DETAILED DESCRIPTION OF PREFERRED EMBODIMENTS OF THE INVENTION
09/493,496 - Jan. 28, 2000 Cohen, “Method For Electrochemical Fabrication” 10/677,556 - Oct. 1, 2003 Cohen, “Monolithic Structures Including Alignment and/or Retention Fixtures for Accepting Components” 10/830,262 - Apr. 21, 2004 Cohen, “Methods of Reducing Interlayer Discontinuities in Electrochemically Fabricated Three- Dimensional Structures” 10/271,574 - Oct. 15, 2002 Cohen, “Methods of and Apparatus for Making High 2003-0127336A - Jul. 10, 2003 Aspect Ratio Microelectromechanical Structures” 10/697,597 - Dec. 20, 2002 Lockard, “EFAB Methods and Apparatus Including Spray Metal or Powder Coating Processes” 10/677,498 - Oct. 1, 2003 Cohen, “Multi-cell Masks and Methods and Apparatus for Using Such Masks To Form Three-Dimensional Structures” 10/724,513 - Nov. 26, 2003 Cohen, “Non-Conformable Masks and Methods and Apparatus for Forming Three-Dimensional Structures” 10/607,931- Jun. 27, 2003 Brown, “Miniature RF and Microwave Components and Methods for Fabricating Such Components” 10/841,100 - May 7, 2004 Cohen, “Electrochemical Fabrication Methods Including Use of Surface Treatments to Reduce Overplating and/or Planarization During Formation of Multi-layer Three-Dimensional Structures” 10/387,958 - Mar. 13, 2003 Cohen, “Electrochemical Fabrication Method and 2003-022168A - Dec. 4, 2003 Application for Producing Three-Dimensional Structures Having Improved Surface Finish” 10/434,494 - May 7, 2003 Zhang, “Methods and Apparatus for Monitoring 2004-0000489A - Jan. 1, 2004 Deposition Quality During Conformable Contact Mask Plating Operations” 10/434,295 - May 7, 2003 Cohen, “Method of and Apparatus for Forming Three- 2004-0004001A - Jan. 8, 2004 Dimensional Structures Integral With Semiconductor Based Circuitry” 10/434,315 - May 7, 2003 Bang, “Methods of and Apparatus for Molding 2003-0234179 A - Dec. 25, 2003 Structures Using Sacrificial Metal Patterns” 10/434,103 - May 7, 2004 Cohen, “Electrochemically Fabricated Hermetically 2004-0020782A - Feb. 5, 2004 Sealed Microstructures and Methods of and Apparatus for Producing Such Structures” 10/841,006 - May 7, 2004 Thompson, “Electrochemically Fabricated Structures Having Dielectric or Active Bases and Methods of and Apparatus for Producing Such Structures” 10/434,519 - May 7, 2003 Smalley, “Methods of and Apparatus for 2004-0007470A - Jan. 15, 2004 Electrochemically Fabricating Structures Via Interlaced Layers or Via Selective Etching and Filling of Voids” 10/724,515 - Nov. 26, 2003 Cohen, “Method for Electrochemically Forming Structures Including Non-Parallel Mating of Contact Masks and Substrates” 10/841,347 - May 7, 2004 Cohen, “Multi-step Release Method for Electrochemically Fabricated Structures” 60/533,947 - Dec. 31, 2003 Kumar, “Probe Arrays and Method for Making” 60/534,183 - Dec. 31, 2003 Cohen, “Method and Apparatus for Maintaining Parallelism of Layers and/or Achieving Desired Thicknesses of Layers During the Electrochemical Fabrication of Structures” 11/029,220 - Jan. 3, 2005 Frodis, “Method And Apparatus for Maintaining Parallelism of Layers and/or Achieving Desired Thicknesses of Layer During the Electrochemical Fabrication of Structures” 60/695,328 - Jun. 26, 2005 Cohen, “Electrochemical Fabrication Processes Incorporating Non-Platable Materials”