The invention describes a leadframe-based housing for a surface-mountable component, particularly a radiation-emitting component. Said leadframe-based housing comprises electrical connector strips and at least one chip mounting area, and provided according to the invention in one of the connector strips is an injection aperture that enables a leadframe-based housing to be produced with a very small thickness in an injection molding process. A method for producing such housings is further specified.
1. A surface-mountable leadframe-based housing for an electronic component, with a leadframe having a front side and a back side and comprising at least two electrical connector strips, and an injection-molded or transfer-molded housing base body made from an electrically insulating injection compound and comprising a front portion disposed at the front side of said leadframe and a back wall disposed at the back side of said leadframe, wherein said leadframe comprises at least one injection aperture through which said housing base body is injected onto said leadframe from a back side of said leadframe. and wherein the back wall of the housing base body includes a first recess that extends from said injection aperture. 2. The housing as described in 3. The housing as described in 4. The housing as described in claim I for a radiation-emitting and/or radiation-detecting component, wherein said housing base body comprises in said front portion a second recess for receiving a radiation-emitting and/or radiation-detecting chip, said injection aperture being disposed in the region of a wall of said front portion delimiting said second recess. 5. The housing as described in 6. A leadframe ribbon comprising at least one housing as described in 7. An electronic component having a housing as described in 8. The electronic component as described in 9. The electronic component as described in 10. The electronic component as described in 11. The electronic component as described in 12. The housing as described in 13. A method for producing a leadframe-based housing comprising:
a) providing a leadframe comprising two connector strips, at least one of the connector strips having an injection aperture, b) applying to said leadframe an injection mold that forms around said leadframe a cavity for creating a housing base body and placing an injection nozzle proximate to said injection aperture, c) injecting the an injection compound into said cavity, d) causing the injection compound to at least partially solidify, and e) removing the injection nozzle, and opening the injection mold. 14. The method as described in 15. The electronic component comprising a housing with reference to
The invention concerns a leadframe-based component housing, a leadframe ribbon with pre-injection-molded component housings, a surface-mountable electronic component, particularly a component comprising a radiation-emitting or radiation-detecting chip, for example a light-emitting diode, also known as an LED, and the method for producing said leadframe-based component housing. The invention concerns electroluminescent diode components suitable in particular for surface-mounting on a printed circuit board, in which a housing base body produced by injection molding and comprising partially embedded electrical connector strips is provided with a recess, preferably implemented as a reflector, that has a radiation window aimed at the front side of the component housing. The recess, in which an electromagnetic-radiation-emitting chip is disposed, is filled for example with an encapsulant that is transparent to the electromagnetic radiation emitted by the chip. Such component housings are also suitable for use with radiation-detecting chips, in which case the radiation window must be transparent to electromagnetic radiation that is to be received by the chip. The present patent application claims the priority of German Patent Application 10243247.3, whose disclosure content is hereby incorporated by reference. The invention is suitable in particular for use with radiation-emitting components in which the chip is installed in a so-called premolded leadframe. This means that each leadframe is overmolded with a housing base body before the chip is mounted. In the production of such a component housing, the connector strips are first partially stamped into a leadframe ribbon. The leadframe ribbon is then placed in a two-part injection mold which forms a cavity around the leadframe that serves to create the housing base body. An injection compound, e.g. a white plastic, is then fed in through an injection nozzle, for example via the portion of the injection mold adjoining the back side of the leadframe, i.e. into the portion of the cavity adjoining the back side of the leadframe, and fills the entire cavity of the injection mold. After the injection compound has at least partially solidified, the injection mold is opened. As the leadframe is removed from the mold, the injection compound located in the injection nozzle is torn away from the injection compound located in the cavity. In addition, the chip is preferably arranged on one of the connector strips in the recess provided for it, connected in an electrically conductive manner to the connector strips and provided with encapsulant. After this, the components interconnected by the leadframe ribbon can be separated from one another and thereby singulated from this interconnected structure. A radiation-emitting component of the aforesaid kind is described, for example, in EP 0 400 176 A1. The component comprises a housing base body with a mounting area in which a leadframe is partially embedded. Portions of the leadframe are formed as connector strips that project from the housing base body and, as they proceed further, are bent so that their connection areas lie in one plane with the mounting area, which defines the mounting plane of the component. The overall height of components produced in this manner can be reduced to less than about 1 mm only with high technical outlay, if at all. The minimum height of the front portion of the housing base body is then about 0.5 mm, that of the back wall of the housing base body about 0.3 mm, and the thickness of the connector strips about 0.1 mm. The reason for this is that the layer thickness of the injection compound located in the cavity between the leadframe and the tear-off site at the injection nozzle must be great enough to prevent delamination between the back side of the leadframe and the injection compound, insofar as possible. Such delamination would drastically increase the risk of damage to the component during further processing or later on during operation. Current knowledge has it that the above-cited layer thickness of the injection compound must be so great that the mechanical tensile forces occurring in the injection compound during tear-off from the injection nozzle can be reduced to a level such that the forces exerted at the boundary with the leadframe are not sufficient to tear the injection compound away from the leadframe. However, to permit, for example, a very small overall height on printed circuit boards and/or complete countersinking particularly into round openings (bores) in printed circuit boards, the height of the components must be kept as small as possible, and there is a pressing need to reduce the overall height far below the above-cited critical height of about 1 mm. In some applications, especially in mobile communication terminals, the radiation-emitting components should have a much smaller height. The possibility of reducing the overall height of components by decreasing the height of the housing base body on the chip side is severely limited owing to the final height of the radiation-emitting chip. The possibility of reaching the stated goal by simply reducing the thickness of the housing base body on the back side of the leadframe is also severely limited, since, as explained above, if the layer of injection compound used to form the back side of the housing is too thin, it will easily be torn away with the injection nozzle that is to be removed during the injection process used to produce the housing, in which case the hermeticity and thus the operation of the component can be disrupted. It is, therefore, an object of the instant invention to provide a leadframe-based housing for an electronic component, particularly for a radiation-emitting surface-mountable component, that has a very low height; an electronic component of this kind; a leadframe ribbon; and a method for producing a corresponding leadframe-based housing. This object is achieved by means of a leadframe-based housing having the features of Claim 1, leadframe ribbon having the features of Claim 6, an electronic component having the features of Claim 7 and a method having the features of Claim 13. Advantageous improvements of the invention are the subject matter of the dependent claims. A leadframe-based housing according to the invention for a surface-mountable electronic component has the following constituents:
The injection compound thus is injected from the back side of the leadframe through the injection aperture into the portion of the injection mold cavity that creates the front portion of the housing base body on the front side of the leadframe. During injection, the injection nozzle is guided through the portion of the cavity that creates the back wall portion of the housing base body on the back side of the leadframe to the injection aperture of the leadframe. In this fashion, a comparatively large volume of injection compound with a comparatively large cross section is made to be adjacent the injection nozzle and thus the tear-off region of the injection compound at the cavity end of the injection nozzle. The risk of delamination is reduced with this type of housing. The injection aperture is preferably disposed in one of the electrical connector strips. The back wall, i.e. the plastic wall between the back side of the leadframe and the back side of the housing base body, advantageously has a thickness of 0.3 mm or less, preferably 0.25 mm or less, especially preferably 0.2 mm or less, it being understood that the thickness in each case is greater than 0 mm. Especially preferably, the invention is suitable for use with components in which at least one recess for receiving a chip, particularly a radiation-emitting or radiation-detecting semiconductor chip, e.g., a light-emitting diode, is provided in the front portion of the housing base body. The injection aperture in this case is especially preferably arranged in the region of a wall that is part of the front portion and delimits the recess. A large volume of injection compound is advantageously present there by virtue of the structural shape itself. Provided in the recess is a chip mounting area that is preferably located on one of the two connector strips, but can also be arranged on the housing base body. Such a chip mounting area can also, however, be prepared later on, for example in the form of a carrier plate that is subsequently to be placed in the recess. It is further conceivable to place in the housing base body a thermal connecting base that preferably extends from the floor of the recess through the housing base body to the back side thereof. Depending on the arrangement of its connection areas, the chip can, for example
Still other electrical connection variants are, of course, feasible and will be chosen by the skilled person based on the design of the chip concerned. In the case of radiation-emitting components, which constitute an especially preferable application for the present invention, the recess comprises a radiation exit window. In this case, the inner surfaces of the recess are preferably implemented as a radiation reflector. Alternatively, the entire housing can also be made of a radioparent material and can completely encase the radiation-emitting chip. The injection compound preferably comprises a synthetic material, particularly a temperature-resistant synthetic material filled with white filler. The synthetic material is preferably a thermoplastic material and the filler is preferably titanium oxide and/or barium sulfate. Suitable materials for encasing the chip in the recess, for example reaction resins such as epoxy resins, acrylic resins, silicone resins and polyurethane resins, are known to those skilled in the art and therefore will not be recited in more detail herein. The same is true of the injection compound for the housing base body. Likewise, known and commonly used methods for mounting and electrically contacting chips can advantageously be used in this case. The method of the invention comprises in particular the following steps:
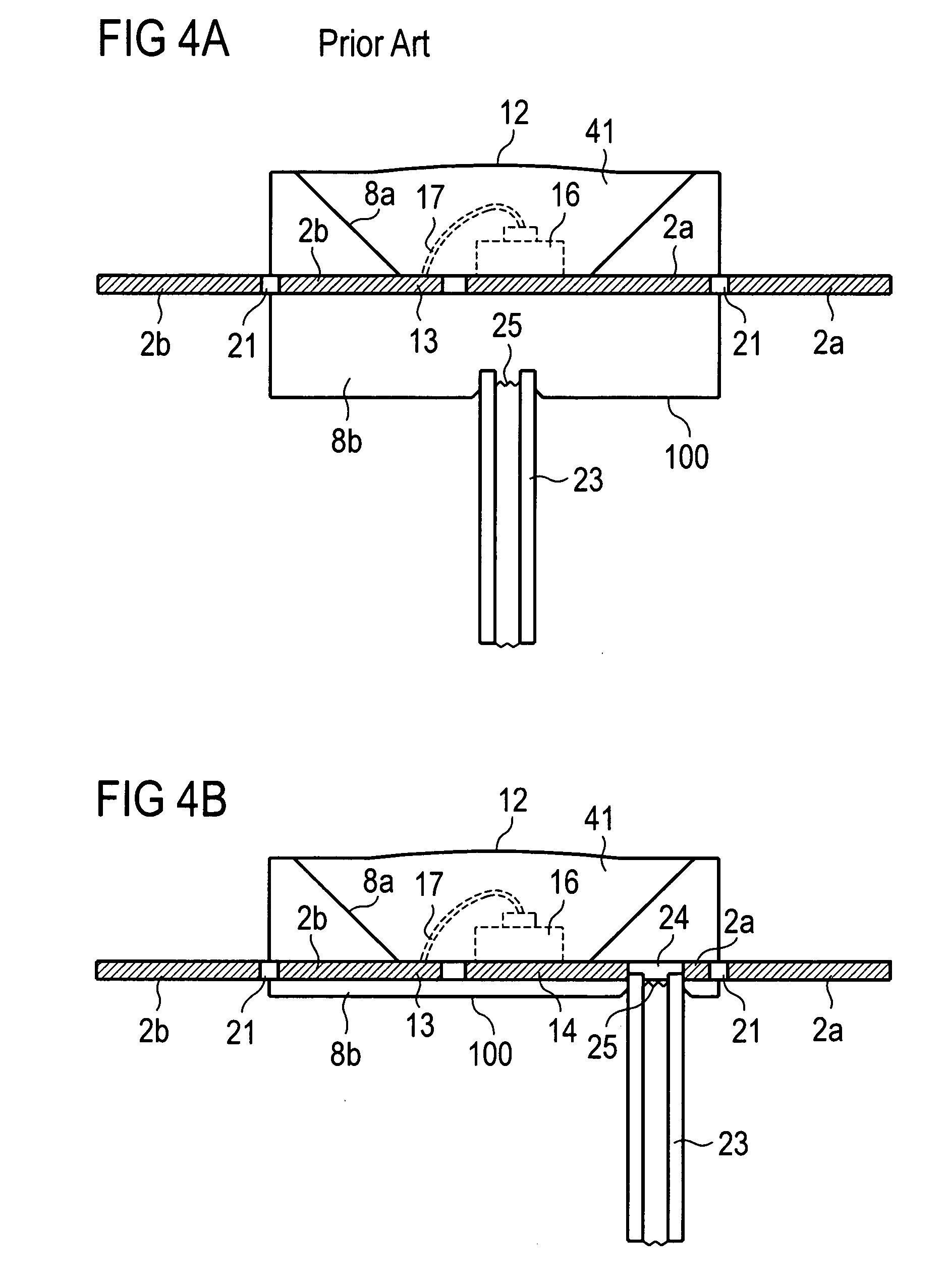
In the case of a housing base body comprising a recess for the chip, the inventive injection aperture is particularly preferably located under a solid wall of the housing base body that at least partially surrounds the recess. The particular advantage of the inventive production method resides in the fact that the overall height of a component housing to be produced thereby can be substantially reduced by means of the particularly thinly constructed back wall of the component housing, especially compared to the heretofore-known radiation-emitting components fabricated by means of premolded leadframes. The term “leadframe” herein relates in particular to metal leadframes of the kind commonly used in semiconductor optoelectronics, for example for electroluminescent diode housings. However, the term “leadframe” as used herein also encompasses all other leadframes suitable for the inventive housing technology, which need not necessarily be completely of metal and for example can include a combination of electrically insulating material and electrical conductor paths formed thereon. The term “leadframe” in this case is not necessarily to be construed as a continuous ribbon suitable for a “reel to reel” technique. Rather, the leadframe can also, for example, be in the form of strips or arrays. Further features, advantages and improvements of the invention will emerge from the embodiment examples described hereinbelow in conjunction with FIGS. 1 to 4. Therein: Like or like-acting elements have been given the same reference numerals in the figures. The housing base body of rectangular outline illustrated in The leadframe ribbon 1 according to the embodiment example of Contact strips 2 Chip mounting area 14 and wire connecting area 13 of the leadframe ribbon respectively extend (in the finished housing base body) into a provided reflector recess or have one surface that is contiguous at least with the interior of the recess, and thereby form at least part of the floor of the recess. To further reduce the size of the housing base body, a separate recession leading to the wire connecting region can additionally be formed in the reflector recess. These aspects can discerned in Further formed in leadframe ribbon 1 are circular openings 6 In addition, connector strips 2 The embodiment example illustrated in The component depicted in On the front side, which faces away from the connector strip, the chip 16 has a contact area from which an electrical connecting line 17 (e.g. a wire connection) is led to wire connecting part 13. The particular advantage of the invention is made immediately apparent by the comparison of the prior art and the invention illustrated in The front portion 8 A chip 16 to be inserted in a subsequent process step and an electrical connecting line 17 are depicted schematically in dashed lines. The oblique side face 11 of the recess preferably serves as a reflector. The housing base body 100 is made by means of a two or more part injection mold that has a cavity for housing base body 100 in which the leadframe is placed during the injection process. The cavity of the injection mold is filled with an injection compound for the housing base body by means of an injection nozzle 23. The difference between the prior art and the inventive arrangement of the injection nozzle lies in the position of the injection nozzle 23. In the prior art, the injection compound is injected into the volume adjacent the back side of the leadframe. After the injection compound has solidified, the injection nozzle is detached from the injection mold. This produces a tear-off site 25. During the detachment of the injection nozzle, the region near the tear-off site is subjected to severe mechanical loading that can lead to delamination of the material of the (solidified) injection compound at the interface between the back wall 8 In a leadframe-based housing according to the invention, by contrast, the injection nozzle 23 is not inserted in the central region of a cavity suitable for producing the back wall 8 Due to the very small height of the back side of an inventive component, formed by the back wall of the housing base body, the space occupied by the component in the vertical direction is much smaller than that of a component of prior art. The inventive component is suited in particular for flat display modules or as background illumination, for example for a liquid crystal display. Figures 5 In the injection mold 200 of prior art illustrated in By contrast, in an injection mold 200 for a component housing according to the invention, as illustrated in To keep connection areas 20 A housing base body produced with an injection mold 200 of this kind comprises recessions in the back wall of the housing base body in regions of connector strips 2 The description of the invention with reference to the illustrated embodiment examples is naturally not to be construed as a limitation of the invention. For example, the chip can be mounted—adhesive-bonded, for example—directly on a chip mounting area of housing base body 100, and the chip can be electrically connected to the connector strips by means of wire connections alone. The chip can also be mounted on a separate thermal connector embedded in the housing of the component and again be connected electrically to the leadframe via wire connections. Other variants of the chip mounting technique that are not described here can also be used. None of these embodiments departs from the basic ideas of the instant invention. The invention is not limited to the number or particular implementations of the embodiment examples illustrated in the figures. Rather, the invention encompasses any novel feature and any combination of features that includes in particular any combination of features recited in the claims, even if this combination is not stated explicitly in the claims.