A switching mechanism switches on and off transmission of a striking force to a working tool, and switches on and off transmission of a rotational force to the working tool, thereby switching operation modes among at least a rotation and strike mode, a strike only mode, and a neutral mode. A rotation locking mechanism engages a cylinder during the strike only mode, thereby locking rotation of the cylinder. During the neutral mode, the transmission of the striking force, the transmission of the rotational force, and the locking of rotation of the cylinder are all turned off.
1. A hammer drill comprising:
a housing; a motor disposed in the housing and generating a rotational force; a working tool; a striking force transmitting mechanism comprising:
a cylinder rotatably supported in the housing, the cylinder extending in an axial direction and having one end and another end, the working tool being engaged with the one end so as to be rotatable together with the cylinder; a piston disposed adjacent to the another end in the cylinder and movable in a reciprocating motion in the axial direction; a motion converting mechanism that converts the rotational force of the motor into the reciprocating motion of the piston; and a striking member disposed between the working tool and the piston in the cylinder and slidable in the axial direction, an air chamber being formed in the cylinder between the piston and the striking member, the reciprocating motion of the piston generating pressure changes in the air chamber, allowing the striking member to transmit a striking force to the working tool; a rotational force transmitting mechanism comprising a gear that transmits the rotational force of the motor to the cylinder, thereby rotating the cylinder together with the working tool; a switching mechanism that switches on and off transmission of the striking force to the working tool and that switches on and off transmission of the rotational force to the working tool, thereby switching operation modes among at least a rotation and strike mode, a strike only mode, and a neutral mode; and a rotation locking mechanism that engages the cylinder during the strike only mode, thereby locking rotation of the cylinder, wherein, during the neutral mode, the transmission of the striking force, the transmission of the rotational force, and the locking of rotation of the cylinder are all turned off. 2. The hammer drill according to wherein the cylinder is formed with at least one through-hole for providing fluid communication between the air chamber and an outside of the cylinder, further comprising:
a sleeve disposed around the outer peripheral surface of the cylinder, the sleeve being slidable in the axial direction for opening and closing the at least one through-hole to allow and block the fluid communication between the air chamber and the outside of the cylinder, thereby turning on and off the transmission of the striking force; and a restricting member that, during the neutral mode, restricts an amount of sliding of the sleeve for opening the at least one through-hole. 3. The hammer drill according to wherein the housing has an inner peripheral surface; wherein the rotation locking mechanism comprises a rotation locking member disposed in the housing and fitted with the inner peripheral surface of the housing by spline fitting, allowing the rotation locking member to be slidable in the axial direction for engaging with and disengaging from the coupling member; and wherein the rotation locking member serves as the restricting member. 4. The hammer drill according to 5. The hammer drill according to wherein, when the switching member is rotated, the eccentric pin slides the coupling member to engage with and disengage from the gear and the rotation locking member, and the cam slides the rotation locking member to change a position of the sleeve. 6. The hammer drill according to 7. The hammer drill according to wherein, during the rotation only mode, the switching mechanism turns off the transmission of the striking force and turns on the transmission of the rotational force, thereby transmitting the rotational force to the working tool without transmitting the striking force. 8. The hammer drill according to wherein the neutral mode is positioned between the strike only mode and the rotation only mode in an order for switching the operation modes with the switching member.
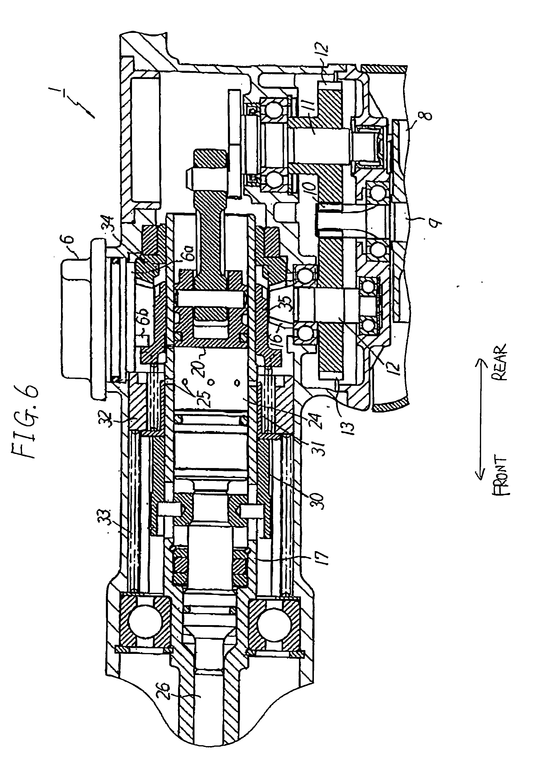
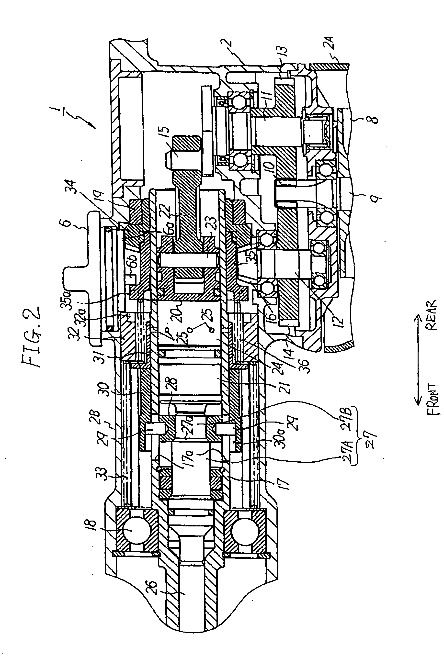
1. Field of the Invention The present invention relates to a hammer drill functioning both as a hammer and as a drill and including a striking force transmitting mechanism for applying a striking force to a working tool, and a rotational force transmitting mechanism for transmitting a rotational force to the working tool. 2. Description of Related Art Hammer drills provided with both a striking force transmitting mechanism and a rotational force transmitting mechanism have been conventionally provided with three operation modes: a rotation and strike mode for applying a striking force to the working tool while simultaneously driving the working tool to rotate, a rotation only mode for driving the working tool to rotate, and a strike only mode for applying a striking force to the working tool. This type of hammer drill requires an operation mode switching mechanism to switch the operation mode according to the desired operation. One such operation mode switching mechanism has been proposed in U.S. Pat. No. 6,557,648 (corresponding to Japanese patent-application publication No. 2002-192481). This operation mode switching mechanism is provided with a gear and a clutch mechanism for each of the striking force transmitting mechanism and rotational force transmitting mechanism. In order to switch operation modes, the hammer drill uses the clutch mechanism to interrupt the transfer of a rotational force from a motor. In addition to three operation modes, the hammer drill also has a neutral mode for mechanically interrupting the transmission of a rotational force to the working tool. Hence, when the power switch is turned off, the user can replace the working tool and can rotate the working tool about its axis to adjust the blade of the tool to a desired angle. However, in this type of conventional hammer drill, the strike force is transferred to the working tool in the neutral mode. Hence, the user cannot replace the working tool or adjust the angle of the working tool if the power switch is turned on during this time since the striking force is applied to the working tool. In view of the foregoing, it is an object of the present invention to provide a hammer drill that enables the user to safely replace the working tool and adjust the angle of the working tool. In order to attain the above and other objects, the present invention provides a hammer drill. The hammer drill includes a housing, a motor, a working tool, a striking force transmitting mechanism, a rotational force transmitting mechanism, a switching mechanism, and a rotation locking mechanism. The motor is disposed in the housing and generates a rotational force. The striking force transmitting mechanism includes a cylinder, a piston, a motion converting mechanism, and a striking member. The cylinder is rotatably supported in the housing. The cylinder extends in an axial direction and has one end and another end. The working tool is engaged with the one end so as to be rotatable together with the cylinder. The piston is disposed adjacent to the another end in the cylinder and is movable in a reciprocating motion in the axial direction. The motion converting mechanism converts the rotational force of the motor into the reciprocating motion of the piston. The striking member is disposed between the working tool and the piston in the cylinder and is slidable in the axial direction. An air chamber is formed in the cylinder between the piston and the striking member, The reciprocating motion of the piston generates pressure changes in the air chamber, allowing the striking member to transmit a striking force to the working tool. The rotational force transmitting mechanism includes a gear that transmits the rotational force of the motor to the cylinder, thereby rotating the cylinder together with the working tool. The switching mechanism switches on and off transmission of the striking force to the working tool, and switches on and off transmission of the rotational force to the working tool, thereby switching operation modes among at least a rotation and strike mode, a strike only mode, and a neutral mode. The rotation locking mechanism engages the cylinder during the strike only mode, thereby locking rotation of the cylinder. During the neutral mode, the transmission of the striking force, the transmission of the rotational force, and the locking of rotation of the cylinder are all turned off. The above and other objects, features and advantages of the invention will become more apparent from reading the following description of the embodiments taken in connection with the accompanying drawings in which: A hammer drill according to embodiments of the present invention will be described while referring to the accompanying drawings. The hammer drill 1 includes a handle 3 provided on the rear end of the housing 2 (the right end in A working tool 26 (see Next, the internal structure of the hammer drill 1 will be described in detail with reference to The housing 2 is configured of a motor housing 2A, and a cylinder case 2B affixed to the top of the motor housing 2A. The motor housing 2A accommodates a motor 8 serving as the drive source of the hammer drill 1. The motor 8 is disposed such that an output shaft (motor shaft) 9 protrudes upward from the motor 8. A pinion 10 is formed integrally with the top end of the output shaft 9. A crankshaft 11 and an intermediate shaft 12 are vertically disposed and rotatably supported on the motor 8, one on either side of the output shaft 9. Gears 13 and 14 are mounted on the crankshaft 11 and intermediate shaft 12, respectively, at central positions with respect to the height of the same, The gears 13 and 14 are engaged with the pinion 10 formed on the top end of the output shaft 9. A crank pin 15 is formed integrally with the crankshaft 11 and is erected vertically from the top end of the crankshaft 11 at a position eccentric to the rotational center of the crankshaft 11. A bevel gear 16 having a small diameter is integrally formed on the top end of the intermediate shaft 12. The cylinder case 2B extends horizontally in the front-to-rear direction. A cylinder 17 is disposed at a horizontal orientation inside the cylinder case 2B. The cylinder 17 is rotatably supported on both axial ends thereof by a ball bearing 18 and a metal bearing 19, respectively. A piston 20 and a striking member 21 are slidably fitted inside the cylinder 17. The piston 20 is connected to the crank pin 15 of the crankshaft 11 via a connecting rod 22. One end of the connecting rod 22 is coupled with the piston 20 via a piston pin 23. An air chamber 24 is formed in the cylinder 17 between the piston 20 and striking member 21. A plurality of air holes (through-holes) 25 in fluid communication with the air chamber 24 is formed in the cylinder 17. The air holes 25 can selectively provide fluid communication between the air chamber 24 and an outside of the cylinder 17. The cylinder 17 narrows toward the front end thereof. The working tool 26 is detachably mounted on the front end. The working tool 26 is engaged with the cylinder 17 so as to be able to slide in the axial direction of the cylinder 17 (front-to-rear direction) but to be unable to rotate circumferentially relative to the cylinder 17. In other words, the working tool 26 is rotatable together with the cylinder 17. An intermediate member 27 is fitted in the cylinder 17 between the working tool 26 and the striking member 21 and is capable of sliding horizontally. End faces of the intermediate member 27 contact respective end faces of the working tool 26 and striking member 21. The intermediate member 27 has a central portion 27A and an end portion 27B. The end portion 27B is positioned closer to the striking member 21 than the central portion 27A is. The end portion 27B has a smaller diameter than the central portion 27A, An annular member 28 is fitted in the cylinder 17 so as to be capable of sliding horizontally (in the axial direction of the cylinder 17). The end portion 27B is fitted into a center hole of the annular member 28. A tapered step part 27 Two slidable sleeves 30 and 31 are fitted around the outer periphery of the cylinder 17 and are capable of sliding in the front-to-rear direction. The slidable sleeve 30 is positioned farther forward than the slidable sleeve 31. A plurality of engaging grooves 30 A rotation locking member 32 is disposed radially outwardly from the slidable sleeve 31. The outer peripheral surface of the rotation locking member 32 is fitted with the inner peripheral surface of the cylinder case 2B by spline fitting. Hence, the rotation locking member 32 is capable of sliding axially on the inner peripheral surface of the cylinder case 2B but is incapable of rotating circumferentially. A compressed spring 33 is mounted between the rotation locking member 32 and the ball bearing 18 for constantly urging the rotation locking member 32 rearward. The rear end face of the rotation locking member 32 contacts the peripheral surface (cam surface) of a cam 6 As shown in A coupling member 35 is fitted, by spline fitting, around the outer peripheral surface of the cylinder 17 between the rotation locking member 32 and the bevel gear 34 so as to be capable of sliding in the axial direction of the cylinder 17 (front-to-rear direction), but to be incapable of rotating circumferentially relative to the cylinder 17. In other words, the coupling member 35 rotates together with the cylinder 17. A compressed spring 36 is mounted between the coupling member 35 and slidable sleeve 31 for constantly urging the coupling member 35 rearward so that a step part formed on a front peripheral part of the coupling member 35 is in contact with the eccentric pin 6 The gear 13, crankshaft 11, connecting rod 22, cylinder 17, piston 20, striking member 21, intermediate member 27, and the like described above constitute the striking force transmitting mechanism. The striking force transmitting mechanism converts rotation of the output shaft 9 in the motor 8 into reciprocating motion of the piston 20 to apply a striking force to the working tool 26. Further, the gear 14, intermediate shaft 12, bevel gears 16 and 34, coupling member 35, cylinder 17, and the like described above constitute the rotational force transmitting mechanism. The rotational force transmitting mechanism transmits the rotation of the output shaft 9 to the working tool 26 for driving the working tool 26 to rotate. In addition, the air holes 25, annular member 28, pins 29, slidable sleeves 30 and 31, spring 36, coupling member 35, rotation locking member 32, and the like described above constitute the switching mechanism. Next, operations of the hammer drill having the construction described above will be described with reference to 1) Rotation and Strike Mode In the rotation and strike mode, the hammer drill 1 applies a striking force to the working tool 26 while driving the working tool 26 to rotate. When the switching member 6 is rotated to select the rotation and strike mode, the cam 6 When the motor 8 is driven, the rotation of the output shaft 9 is decelerated via the pinion 10, gear 14, intermediate shaft 12, and bevel gears 16 and 34 and is transferred to the cylinder 17 via the coupling member 35 engaged with the bevel gear 34. Accordingly, the cylinder 17 and the working tool 26 mounted on the end of the cylinder 17 are driven to rotate so that the working tool 26 functions as a drill. The rotation of the output shaft 9 in the motor 8 is also decelerated via the pinion 10 and gear 13 and transferred to the crankshaft 11 so that the crankshaft 11 is driven to rotate at a predetermined rate. The crank pin 15 and connecting rod 22 convert the rotation of the crankshaft 11 into a reciprocating linear motion of the piston 20 in the front-to-rear direction inside the cylinder 17. When the working tool 26 is pressed against a workpiece (not shown) at this time, the resulting reaction force is transferred via the intermediate member 27, annular member 28, pins 29, and slidable sleeve 30 to the slidable sleeve 31. Consequently, the slidable sleeve 31 opposes the urging force of the spring 36 and moves rearward over the cylinder 17 to seal the air holes 25 formed in the cylinder 17. As a result, the air chamber 24 formed in the cylinder 17 is substantially in a hermetically sealed state. The reciprocating motion of the piston 20 changes the internal pressure in the air chamber 24, causing the striking member 21 to move reciprocatingly in the front-to-rear direction inside the cylinder 17 and intermittently impact the intermediate member 27. Through this impact, a striking force is transferred from the intermediate member 27 to the working tool 26. 2) Rotation Only Mode In the rotation only mode, the hammer drill 1 transfers only a rotational force to the working tool 26 to drive the working tool 26 to rotate. The rotation only mode is selected by rotating the switching member 6 180 degrees from the position shown in At this time, the coupling member 35, whose step part on the outer peripheral surface is in contact with the eccentric pin 6 Since the coupling member 35 and bevel gear 34 are engaged in the rotation only mode (the clutch is ON), the rotation of the output shaft 9 is transferred to the cylinder 17 along the same path described for the rotation and strike mode. Accordingly, the cylinder 17 and working tool 26 mounted on the cylinder 17 are driven to rotate so that the working tool 26 functions only as a drill. As in the rotation and strike mode, the rotation of the output shaft 9 in the motor 8 is converted to a reciprocating linear motion of the piston 20 inside the cylinder 17 in the rotation only mode. However, since the air holes 25 in the cylinder 17 are opened as described above, allowing external air to pass into the air chamber 24 in the cylinder 17, the reciprocating motion of the piston 20 does not produce a pressure change in the air chamber 24, thereby interrupting the transfer of a striking force to the working tool 26. Hence, the working tool 26 is only driven to rotate. At this time, the reaction force to the force at which the working tool 26 is pressed against the workpiece is transferred to the intermediate member 27, annular member 28, pins 29, and slidable sleeves 30 and 31. However, since the slidable sleeve 31 is in contact with the rotation locking member 32, movement of the slidable sleeve 31 is restricted in the axial direction, thereby maintaining the air holes 25 in an open state. 3) Strike Only Mode In the strike only mode, only a striking force is transferred to the working tool 26. To select the strike only mode, the switching member 6 is rotated 90 degrees clockwise from the position shown in At this time, as shown in Further, the rotation locking member 32, whose rear end face contacts the cam surface of the cam 6 Since the coupling member 35 and bevel gear 34 are disengaged in the rotation only mode, as described above, the bevel gear 34 rotates idly over the cylinder 17 so that this rotation is not transferred to the cylinder 17. Consequently, the cylinder 17 and the working tool 26 mounted on the cylinder 17 are in a non-rotation state, and the rotation of these components is locked by the engagement between the coupling member 35 and rotation locking member 32. As in the rotation and strike mode, the slidable sleeve 31 in the rotation only mode also seals the air holes 25 formed in the cylinder 17, maintaining the air chamber 24 in a substantially hermetically sealed state. Hence, the reciprocating motion of the piston 20 produces pressure changes in the air chamber 24. As described above, these pressure changes transfer a striking force to the working tool 26 via the striking member 21 and the intermediate member 27 so that the working tool 26 functions as a hammer. 4) Neutral mode In the neutral mode, neither the rotational force nor the striking force is transferred to the working tool 26. The neutral mode is selected by rotating the switching member 6 approximately 45 degrees clockwise from the position shown in At this time, as shown in Further, as in the rotation only mode, the cam 6 In the neutral mode described above, the coupling member 35 is disengaged (the clutch is OFF) from the bevel gear 34 and from the rotation locking member 32, and the air holes 25 formed in the cylinder 17 are open. Accordingly, neither a striking force nor a rotational force is transferred to the working tool 26 so that the working tool 26 is not operated. Since the working tool 26 can rotate idly in this state, the angular position of the working tool 26 can be easily adjusted. Since the working tool 26 rotates idly in the neutral mode, the user can replace the working tool 26 with a different working tool or can easily adjust the angular position of the working tool 26 to a desired position. Further, since the rotation locking member 32 restricts the position of the slidable sleeve 31 in the neutral mode so that the air holes 25 is always open, a striking force is 4 not transmitted to the working tool 26 so that the user can safely replace the working tool 26 or adjust the angular position of the working tool 26, even when the ON/OFF switch 4 is turned on during such an operation. Since conventional hammer drills were constructed to transfer a striking force to the working tool 26 in the neutral mode when the ON/OFF switch 4 was turned on, problems such as the working tool 26 rotating accidentally could occur when the operating mode was set to the neutral mode and the user thought the operation mode was set to the strike only mode. However, the hammer drill according to the present embodiment can reliably prevent the occurrence of such problems in the neutral mode. In the embodiment described above, the switching member 6 is operated to open and close the air holes 25 formed in the cylinder 17 with the slidable sleeve 31 in order to switch the strike mode ON and OFF and to engage the coupling member 35 with or disengage the coupling member 35 from the bevel gear 34 in order to switch the rotation mode ON and OFF. Accordingly, the slidable sleeve 31 and coupling member 35 constituting the switching mechanism can be both disposed around the cylinder 17, thereby simplifying the structure of the switching mechanism and reducing the number of parts in this structure. As a result, it is possible to construct a more compact hammer drill 1 that is lighter, less expensive to produce, easier to operate, and more durable. Further, by simply rotating the working tool 26, the eccentric pin 6 It is necessary to replace the working tool 26 when switching from the strike only mode to the rotation only mode or vice versa. Therefore, as shown in Table 1 below lists the state of engagement between the coupling member 35 and bevel gear 34 (ON or OFF) and the open/closed state of the air holes 25 formed in the cylinder 17 for each of the operating modes in the present embodiment.
Table 2 below lists the ON/OFF state of rotational force transmission (state of engagement between the coupling member 35 and bevel gear 34, the ON/OFF state of striking force transfer (open/closed state of the air holes 25), and the ON/OFF state of the rotation locking function (state of engagement between the coupling member 35 and the rotation locking member 32) for each of the operating modes in the present embodiment.
Next, a hammer drill according to a second embodiment of the present invention will be described with reference to In the hammer drill 101 according to the second embodiment, a cylinder 117 is held so as to be capable of moving in the front-to-rear direction. The bevel gear 34 is fitted, by spline fitting, around the outer periphery of the cylinder 117 on the rear end thereof, and the cylinder 117 can move forward and rearward relative to the bevel gear 34. The cylinder 117 rotates together with the bevel gear 34. In the present embodiment, the working tool 26 is mounted on the cylinder 117 via a tool sleeve 37. With this 4 construction, the cylinder 117 and the working tool 26 constantly rotate together with the bevel gear 34. In addition, a slidable sleeve 38 and a fixed sleeve 39 are fitted around the periphery of the cylinder 117. The slidable sleeve 38 is maintained so as to be slidable over the cylinder 117 in the front-to-rear direction. The fixed sleeve 39 is fixed in the axial direction of the cylinder 117 by a snap ring 40. A compressed spring 41 disposed between the slidable sleeve 38 and the fixed sleeve 39 constantly urges the slidable sleeve 38 forward. In the hammer drill 101 having this construction, the working tool 26 is constantly driven to rotate, but the user can select between a rotation only mode and a rotation and strike mode. Next, the operations of the hammer drill 101 according to the second embodiment will be described for the 1) rotation only mode and the 2) rotation and strike mode. 1) Rotation Only Mode As shown in When the motor 8 is driven, the rotation of the output shaft 9 is decelerated via the pinion 10, gear 14, intermediate shaft 12, and bevel gears 16 and 34 before being transferred to the cylinder 117. Consequently, the cylinder 117 and the working tool 26 mounted on the end of the cylinder 117 are driven to rotate so that the working tool 26 functions as a drill. Further, the rotation of the output shaft 9 in the motor 8 is simultaneously transferred to the crankshaft 11 after being decelerated via the pinion 10 and gear 13. The crank pin 15 and connecting rod 22 convert the rotation of the crankshaft 11 into a reciprocating linear motion of the piston 20 within the cylinder 117. However, since the air holes 25 are in an open state in the cylinder 117 as described above, enabling external air to pass into the air chamber 24, the reciprocating motion of the piston 20 does not produce pressure changes in the air chamber 24. Accordingly, a striking force is not transferred to the working tool 26 and, hence, the working tool 26 is only rotated to function as a drill. 2) Rotation and Strike Mode As shown in In the rotation and strike mode, the rotation of the output shaft 9 is transferred to the cylinder 117 along the same path as in the rotation only mode. Hence, the cylinder 117 and the working tool 26 mounted on the end of the cylinder 117 are driven to rotate so that the working tool 26 functions as a drill. Further, since the air holes 25 formed in the cylinder 117 are sealed by the fixed sleeve 39 in the rotation and strike mode, the air chamber 24 in the intermediate member 27 is maintained substantially in a hermetically sealed state. Accordingly, the reciprocating motion of the piston 20 produces pressure changes in the air chamber 24, causing the striking member 21 to move back and forth in the. cylinder 117 and intermittently impact the intermediate member 27. Hence, the intermediate member 27 transfers a striking force to the working tool 26 so that the working tool 26 also functions as a hammer. In the second embodiment described above, the switching member 106 is operated to move the cylinder 117 via the slidable sleeve 38 in order to open and close the air holes 25 and switch the strike mode ON and OFF. Therefore, the slidable sleeve 38 and fixed sleeve 39 constituting the switching mechanism can both be mounted around the cylinder 117. As in the first embodiment described above, the second embodiment simplifies the structure of the switching mechanism and reduces the number of parts required in this mechanism. Accordingly, it is possible to construct a more compact hammer drill 101 that is lighter, less expensive to manufacture, easier to operate, and more durable. While the invention has been described in detail with reference to the specific embodiment thereof, it would be apparent to those skilled in the art that various changes and modifications may be made therein without departing from the spirit of the invention. BACKGROUND OF THE INVENTION
SUMMARY
BRIEF DESCRIPTION OF THE DRAWINGS
DETAILED DESCRIPTION OF THE EMBODIMENTS
First Embodiment
Rotation and strike mode ON Closed Rotation only mode ON Open Strike only mode OFF Closed Neutral mode OFF Open Rotation and strike mode ON ON OFF Strike only mode OFF ON ON Neutral mode OFF OFF OFF Rotation only mode ON OFF OFF Second Embodiment