заявка
№ US 20060071041
МПК B22D41/50

Gas purged nozzle

Авторы:
Johan Richaud
Номер заявки
10530092
Дата подачи заявки
02.09.2003
Опубликовано
06.04.2006
Страна
US
Дата приоритета
16.12.2025
Номер приоритета
Страна приоритета
Как управлять
интеллектуальной собственностью
Чертежи 
2
Реферат

[0000]

A nozzle and method are described for delivering a flow of liquid metal from a metallurgical vessel. In combination with inert gas, the nozzle can shield the flow of liquid metal from oxygen and, additionally, can be used to purge liquid metal residing in the metallurgical vessel. The nozzle includes a substantially gas-impermeable liner surrounded by a permeable composition. The gas-impermeable liner may comprise a resin-bonded material, and the permeable liner is preferably a carbon-bonded or castable refractory. A metal housing may surround the nozzle.

[00000]

Формула изобретения

1-14. (canceled)

15. A refractory nozzle for use in the casting of molten metal having an inlet, an outlet fluidly connected to the inlet, an outer surface, an inner surface defining a bore between the inlet and the outlet, and a top surface surrounding the inlet, the nozzle adapted to receive a flow of inert gas wherein:

a) a gas-impervious refractory composition lines substantially the entire inner surface; and

b) a gas-permeable refractory composition surrounds at least a portion of the gas-impervious composition, the permeable composition having a porosity sufficient to permit diffusion of inert gas.

16. The refractory nozzle of claim 15, wherein the gas-permeable composition has a porosity of at least 15%.

17. The refractory nozzle of claim 15, wherein the permeable composition includes an open-cell pore structure and an average pore size of at least one micron.

18. The refractory nozzle of claim 15, wherein the permeable refractory composition is selected from the group consisting of carbon-bonded refractories, oxide-bonded refractories, resin-bonded refractories, castable refractories and mixtures thereof.

19. The refractory nozzle of claim 15, wherein the gas-impervious refractory composition is selected from the group consisting of carbon-bonded refractories, oxide-bonded refractories, resin-bonded refractories, castable refractories and mixtures thereof.

20. The refractory nozzle of claim 15, wherein the gas-impervious composition includes oxygen getters.

21. The refractory nozzle of claim 15, wherein the gas-impervious composition comprises a resin-bonded refractory comprising 50-90 wt. % refractory aggregate, 1-10 wt. % binder, and 0.5-15 wt. % reactive metal.

22. The refractory article of claim 21, wherein the refractory aggregate comprises at least one refractory material selected from the group consisting of alumina, zirconia, calcia, magnesia, silica, and mixtures and compounds thereof.

23. The refractory nozzle of claim 21, wherein the reactive metal comprises at least one metal selected from the group consisting of aluminum, magnesium, silicon, titanium, and mixtures and alloys thereof.

24. The refractory article of claim 15, wherein the gas-impervious refractory composition is made from a mixture comprising 65-80 wt. % fused alumina, 2-30 wt. % calcined alumina, 1-10 wt. % binder, 0.5-10 wt. % aluminum metal, up to 15 wt. % zirconia, and less than 3 wt. % silica.

25. The refractory nozzle of claim 15, wherein the nozzle includes an inert gas delivery system.

26. The refractory nozzle of claim 25, wherein the gas delivery system is selected from the group consisting of channels, grooves and devices.

27. The refractory nozzle of claim 15, wherein a metal housing at least partially encases the outer surface of the nozzle.

28. The refractory nozzle of claim 15, wherein the permeable composition extends to the top surface, whereby inert gas can purge the molten metal when pressure of the inert gas exceeds ferrostatic head in the molten metal.

Описание

FIELD OF THE INVENTION

[0001]

This invention relates to a refractory nozzle for use in the casting of molten steel, and particularly to a nozzle that uses inert gas for reducing unwanted accumulation of alumina deposits at the steel/nozzle interface.

BACKGROUND OF THE INVENTION

[0002]

Refractory articles for controlling a flow of molten metal, such as steel, are known in the prior art. Such articles include nozzles, slide gate plates, stopper rods and shrouds, and are often used in combination to modulate a flow of liquid steel during the casting of molten metal. In the 1970's, the manufacture of aluminum-killed steels became one of the most common products of the steel making industry due to their desirable metallurgical properties. Unfortunately, alumina and other refractory compounds deposit and accumulate at the interface of the article and the molten steel. Interfaces include, for example, the bore and top surface of the nozzle. Such deposits can ultimately cause the complete blockage of the nozzle or prevent shut-off of flow of the molten steel.

[0003]

Inert gas has been used to reduce unwanted deposits on refractory surfaces. Nozzle assemblies frequently include porous, gas-conducting refractory elements. Gas delivery systems, such as channels, grooves or devices, within or outside the nozzle can direct inert gas to the porous elements. Examples of such nozzles are U.S. Pat. Nos. 4,360,190; 5,100,035, 5,137,189, and 5,723,055. In operation, a pressurized inert gas, such as argon, travels through the gas delivery system and percolates through the porous refractory elements. The porous elements may define at least a portion of the bore surface or may be proximate to the bore surface so that inert gas may escape into the bore. Additionally, the porous element may be near or at the top surface of the nozzle. The resulting flow of small argon bubbles through the sides of the bore or top surface of the nozzle can reduce the deposition of unwanted alumina in these areas.

[0004]

Research has shown that oxygen reacts with constituents in the nozzle and the molten steel to produce alumina deposits. By injecting an overpressure of inert gas, the prior art decreased the partial pressure of oxygen available to cause clogging. In other words, the prior art injected inert gas into the nozzle and subsequently into the stream of molten steel causing a reduction in oxygen concentration and corresponding reduction in unwanted deposits. This solution is not entirely satisfactory because oxygen is still present to the molten steel because of, for example, leaks in the inert gas system, contamination of the inert gas, and preexisting oxygen in the system. Clogging can still occur.

[0005]

A need exists for a refractory article that shields the molten steel from oxygen. Prior art articles still permit the diffusion of oxygen through the article and into the molten steel. Metal cans have not proven completely acceptable because oxygen can still penetrate along the interface between the article and the can. Furthermore, “canning” significantly adds to the expense of the product. Ideally, a nozzle would scavenge or scrub oxygen from the inert gas while imposing an impermeable barrier around the molten metal.

SUMMARY OF THE INVENTION

[0006]

The present invention describes a refractory article for use in the casting of molten steel that reduces the accumulation of inclusions, particularly alumina, on surfaces exposed to a stream of molten steel. Surfaces may include the bore or top surface of a nozzle.

[0007]

In a broad aspect, the article includes a liner comprising a substantially gas-impermeable refractory composition and a gas-permeable refractory composition surrounding the liner. The impermeable composition inhibits oxygen diffusion to the molten metal. The permeable composition is adapted to permit diffusion of inert gas, thereby shielding the impermeable composition and the molten metal from oxygen.

[0008]

The impermeable composition is preferably a resin-bonded composition comprising a refractory aggregate, binder and oxygen getter. The latter includes compounds that scrub oxygen from the gas entering the molten metal, and includes reactive metals.

[0009]

The gas-permeable composition may comprise carbon-bonded, oxide-bonded, resin-bonded, or castable refractories. Importantly, the permeable composition permits the diffusion of inert gas so that inert gas substantially shields the impermeable composition and the molten metal from oxygen ingress. Conveniently, the porosity of the permeable composition can control the diffusion of inert gas. Alternatively or in conjunction with porosity, a gas delivery system, such as channels, grooves or devices, may facilitate the delivery and diffusion of inert gas through the permeable material.

[0010]

The method of the present invention includes lining a bore of a refractory article with a substantially gas impermeable composition, surrounding at least a portion of the impermeable composition with a gas-permeable composition, and flooding the permeable composition with inert gas.

[0011]

In one embodiment, an overpressure of inert gas shields the molten metal from oxygen. In an alternative embodiment, the inert gas purges molten metal within a metallurgical vessel.

BREIF DESCRIPTION OF THE DRAWINGS

[0012]

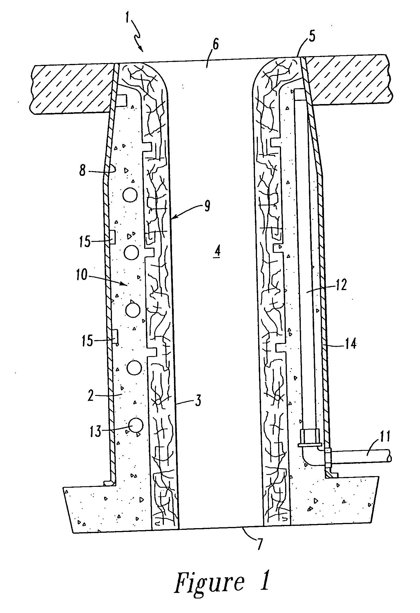
FIG. 1 shows a cross-section of a refractory nozzle of the present invention.

[0013]

FIG. 2 shows an alternative embodiment that permits purging of molten metal in a metallurgical vessel.

DETAILED DESCRIPTION OF THE INVENTION

[0014]

The present invention concerns refractory articles used to control the flow of molten metal, specifically steel. The present invention may include any refractory article for conducting a flow of molten metal, including nozzles, shrouds and slide gate plates. For convenience, nozzle shall mean any refractory article used to conduct a flow of molten metal.

[0015]

FIG. 1 shows one embodiment of the present invention. The article 1 comprises a nozzle body 2 having an inner surface 3 defining a bore 4, a top surface 5 surrounding an inlet 6 of the bore 4, an outlet 7 fluidly connected to the inlet 6, and an outer surface 8. The bore 4 is adapted to transfer the steel from the inlet 6 to the outlet 7. The inner surface 3 includes a liner 9 comprising a substantially gas-impervious composition. The liner 9 defines at least a portion, and preferably all, of the bore 4. An outer portion 10 of the nozzle 2 surrounds the liner 9 and comprises a gas-permeable composition. The nozzle 2 is adapted to receive a flow of inert gas. During casting, a conduit 11 may deliver the gas to the nozzle 2 and, in combination with various channels, grooves or devices 12 within or surrounding the nozzle 2, the gas permeates the outer portion 10 effectively shielding the molten metal in the bore 4 from the atmosphere.

[0016]

The gas-impermeable composition must be substantially impermeable to gases. One skilled in the art is aware of several methods to produce an impermeable material using a variety of chemical and mechanical means. For examples, fluxes, glazes, particle size distribution, bonding system, composition of the refractory, and processing conditions can individually and in combination affect permeability. Fluxes lower the glass temperature and facilitate vitrification. Glazes produce an impervious coating on the surface of the refractory. Particle size distribution in a refractory aggregate can substantially affect porosity, and ultimately permeability, in a finished product. Processing conditions, such as firing temperature and pressing, have profound effects on permeability. Chemical compositions of the refractory and bonding system also substantially affect permeability.

[0017]

The gas-impermeable composition may be formed from any type of material, including resin-bonded, carbon-bonded, oxide-bonded, and castable refractories. Carbon-bonded refractories include mixtures of refractory aggregate, graphite and a binder that have been fired under reducing conditions. Firing means heating the composition at a temperature capable of forming metal carbides, particularly aluminum carbide. Such temperatures are typically above 800° C., but may be higher depending on the firing time. Oxide-bonded compositions are sintered at elevated temperatures, often substantially higher than temperatures needed for carbon-bonding. Resin-bonded refractories are cured at temperatures below about 800° C., and frequently below about 500° C. Unlike the previous materials, castable refractories do not typically need pressing and can be molded at near ambient temperature and pressure. A castable material includes any of the refractory cement-like products commonly used in the industry.

[0018]

In a preferred embodiment, the impermeable composition comprises a resin-bonded material. Such materials require no special processing or chemicals, and are familiar to manufactures of refractories for the steel industry. Advantageously, resin-bonded compositions are cured at low temperatures, can comprise clog-resistant materials, and may contain oxygen getters that would not survive high temperature firing needed for carbon-bonded or oxide bonded materials.

[0019]

Suitable resin-bonded compositions include at least one refractory aggregate, a curable resin binder and a reactive metal. Refractory aggregate includes any refractory material suitable for steel casting, including but not limited to alumina, magnesia, calcia, zirconia, silica, compounds and mixtures thereof. Preferably, compounds that can produce volatile oxides at elevated temperatures, such as silica and magnesia, should be avoided because volatile oxides are a means of oxygen transport to the molten metal, and oxygen ingress has been correlated with alumina deposition.

[0020]

The curable resin binder should be present in an amount to achieve adequate green strength after pressing and curing. Curing commonly occurs at below around 300° C. The composition may be heat treated at a temperature preferably below about 800° C. and most preferably below about 500° C. The amount of binder will vary depending on, for example, the type of binder used and the desired green strength. A sufficient amount of binder will typically be from 1-10 wt. %. Typically, the binder is organic and usually the binder is a carbon resin, such as, a carbonaceous binder derived from pitch or resin. The binder may include other types of organic binders, such as, phenolic compounds, starch, or ligno-sulfinate.

[0021]

The gas-impermeable composition may also comprise oxygen getter. An oxygen getter reacts with oxygen that diffuses into or forms within the gas-impermeable composition, thereby making the oxygen unavailable to the molten steel. Common oxygen getters include, for example, boron compounds, carbides, nitrides, and reactive metal powders such as aluminum, magnesium, silicon and mixtures and alloys thereof. Advantageously, boron compounds reduce porosity and permeability, thereby creating a physical barrier to oxygen diffusion. The needed quantity of oxygen getter depends on the particular use to which the refractory article will be placed. A minimum of 0.25 wt. % is believed necessary to show demonstrable improvement in oxidation-resistance. Alternatively, more than 15 wt. % is costly, typically unnecessary, and may even be hazardous such as when using reactive metal powders. Additionally, oxygen getters may decrease thermal shock-resistance of the fired shape and reduce erosion-resistance to steel.

[0022]

A preferred oxygen getter comprise reactive metals, including aluminum, magnesium, silicon, titanium, and mixtures and alloys thereof. Conveniently, reactive metals are added as powders, flakes and the like. The reactive metal should be present in sufficient quantity so that, during casting of molten steel, the reactive metal scavenges any oxygen that may diffuse into or emanate from the refractory article. Various factors affect the amount of reactive metal that will be sufficient to scavenge oxygen. For example, the inclusion of oxygen-releasing compounds, such as silica, require higher levels of reactive metal in order to scavenge the released oxygen. Limitations on the amount of reactive metal include cost and hazardousness. Reactive metals are generally more expensive than refractory aggregates and, especially as powders, reactive metals can be explosive during processing. A typical amount of reactive metal is from 0.5-10 wt. %.

[0023]

The impermeable composition may include a resin-bonded composition comprising 50-90 wt. % refractory aggregate, 1-10 wt. % binder, and 0.5-15 wt. % reactive metal. More preferably, the resin-bonded composition comprises 65-80 wt. % fused alumina, 2-30 wt. % calcined alumina, 1-10 wt % binder, 0.5-10 wt. % aluminum metal, up to 15 wt. % zirconia, and less than 3 wt. % silica.

[0024]

The gas-permeable refractory composition may comprise any suitable refractory composition, including carbon-bonded, oxide-bonded, resin-bonded, or castable refractories, but preferably comprises carbon-bonded refractories or castable materials. Suitable carbon-bonded refractories are well known by one skilled in the art, and typically are thermal shock resistant. Castable materials are commonly dry powders that are mixed with water to form a slurry. Advantageously, the slurry can be molded around the impermeable composition without pressure or temperature extremes.

[0025]

The permeable composition should surround at least a portion of the impermeable composition, and preferably it surrounds the entire impermeable composition. Desirable, but not necessary, features of the permeable composition include easy grindability and low thermal conductivity compared to the impermeable composition. Grindability permits easier machining of a refractory article to its finished dimension. Low conductivity insulates the molten steel and reduces the likelihood of steel freezing in the nozzle.

[0026]

The permeable composition permits the diffusion of inert gas so that inert gas substantially shields the impermeable composition and the molten metal from oxygen ingress. Conveniently, the porosity of the permeable composition can control the diffusion of inert gas. As explained above, one skilled in the art is aware of numerous techniques to increase porosity. Fugitive additives, such as waxes and volatile compounds, may also be used to increase porosity. Alternatively or in conjunction with porosity, a gas delivery system, such as channels, grooves or devices, may facilitate the delivery and diffusion of inert gas through the permeable material.

[0027]

Porosity of the refractory largely controls permeability. Total porosity of the gas-permeable composition should be at least about 15%. Alternatively, the gas-permeable composition should have a porosity at least about 5% greater than the gas-impermeable composition. The difference in porosities is sufficient to channel gas through the permeable composition and away from the impermeable composition.

[0028]

Contiguous, open-cell pores are particularly effective at increasing permeability. Gases can readily travel from pore to pore without impediment. Large pore size also facilitates gas transport. In contrast, small pore size requires greater pressure to infuse the permeable composition with gas. Large pores, of course, can decrease the strength of the material. Preferably, the average pore size of the gas-permeable refractory is at least about one micron and less than five millimeters.

[0029]

Gas delivery systems can increase gas transport. Such systems comprise channels, grooves or devices within or on a surface of the refractory article. FIG. 1 shows a device 12 within the article. The device can be perforated to permit uniform distribution of gas along its length. Channels 13 on the interior of the nozzle 2 perform a similar function. Channels are frequently produced by burning out wax or other low melting point material that had been pressed or cast into the refractory article.

[0030]

A metal can 14 may be used with the refractory article, especially when the article is a collector nozzle of a ladle or tundish. A metal can14 often improves physical integrity and creates a mechanical barrier to oxygen diffusion. An added benefit is the ability to create a gas channel from a groove 15 on the outer surface 8 of the nozzle 2 and the metal can 14. Such grooves are often easier to manufacture than gas channels within the refractory article.

[0031]

FIG. 2 shows an alternative embodiment of the present invention. A subentry nozzle 2 extends from an interior volume 21 of a tundish 20 to a mold 22. The nozzle 2 comprises an impermeable liner 9 surrounded by a permeable composition 10. The nozzle 2 includes a top surface 5 surrounding the inlet 6. Unlike FIG. 1, the permeable composition 10 extends to the top surface 5. Forcing inert gas through the permeable composition 10 at a pressure higher than the ferrostatic head can force the gas to exit the top surface 5, thereby purging the molten metal within the tundish 20. Obviously, purging can also be accomplished with a well nozzle of appropriate construction.

[0032]

The impermeable and permeable compositions should form a single refractory article. The compositions may be co-pressed; one composition may be formed around or within the other composition; or pieces comprising first and second compositions may be joined together, such as by mortaring. Co-pressing is useful when the first and second compositions are particulates, and is particularly useful when the compositions require similar processing, such as, curing cycles, for example, when both compositions are resin-bonded compositions.

[0033]

Pressing includes isostatic and standard, uniaxial pressing. Co-pressing is also possible when one composition is pressed with a preform piece of the other composition. For example, a material may be pressed and fired to form a permeable, carbon-bonded preform. A second material, which will form the impermeable composition, can then be pressed and cured with the permeable preform to form the refractory article.

[0034]

Alternatively, an impermeable composition may be pressed and a permeable material may be molded in or cast around the second material. In one such embodiment, a slide gate plate may have a liner comprising the impermealbe material and a porous castable material may comprise the remainder of the plate. Another method of combining first and second compositions includes joining a first piece comprising an impermeable composition to a second piece comprising a permeable composition. Typically, a refractory mortar is used to join the two pieces.

[0035]

The method of the present invention includes lining a bore of a refractory article with a substantially gas impermeable composition, surrounding at least a portion of the impermeable composition with a gas-permeable composition, and flooding the permeable composition with inert gas.

[0036]

In one embodiment, as shown in FIG. 1, an overpressure of inert gas shields the molten metal from oxygen. In an alternative embodiment, as shown in FIG. 2, the inert gas shields molten metal within the bore from oxygen and purges molten metal within a metallurgical vessel.

[0037]

Obviously, numerous modifications and variations of the present invention are possible. It is, therefore, to be understood that within the scope of the following claims, the invention may be practiced otherwise than as specifically described. While this invention has been described with respect to certain preferred embodiments, different variations, modifications, and additions to the invention will become evident to persons of ordinary skill in the art. All such modifications, variations, and additions are intended to be encompassed within the scope of this patent, which is limited only by the claims appended hereto.

Как компенсировать расходы
на инновационную разработку
Похожие патенты