заявка
№ US 20060030395
МПК A63F9/24

Method of conducting a poker game with a value-bearing card

Авторы:
Alfred Thomas
Правообладатель:
Номер заявки
11180485
Дата подачи заявки
13.07.2005
Опубликовано
09.02.2006
Страна
US
Как управлять
интеллектуальной собственностью
Чертежи 
4
Реферат

[0000]

A method for conducting a wagering game on a gaming terminal includes displaying a plurality of symbol-bearing objects from a group of objects to form a user-playable hand. The group of objects includes at least one value symbol-bearing object. In response to the value symbol-bearing object appearing in the user-playable hand, a player is provided with the ability to select between (i) a first option to take the value associated with the- value symbol-bearing object and end the wagering game, and (ii) a second option to continue the wagering game.

[00000]

Формула изобретения

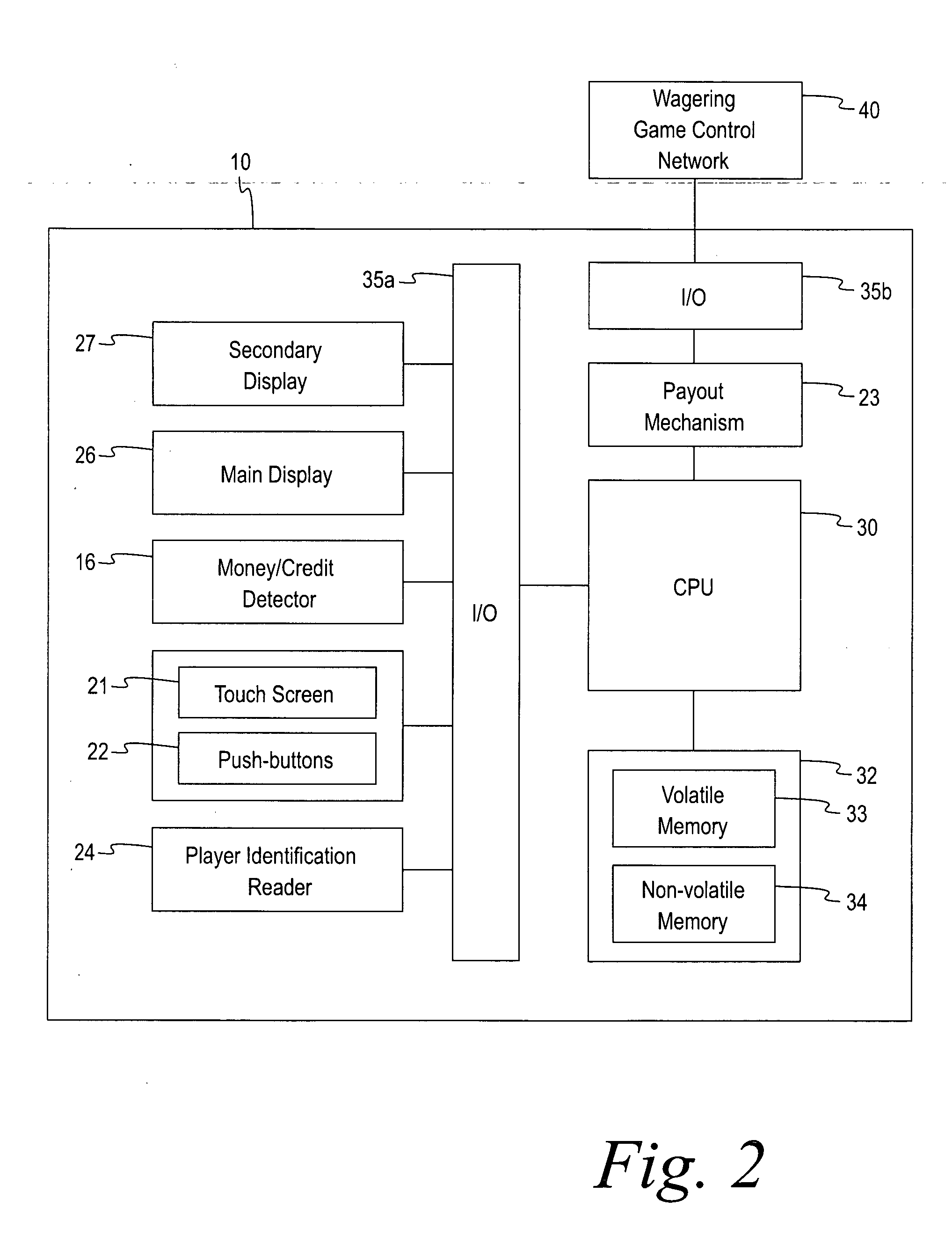
1. A method of conducting a wagering game, comprising:

displaying a plurality of symbol-bearing objects to form a user-playable hand, wherein the plurality of symbol-bearing objects are selected from a standard set of objects and the standard set of objects contains at least one value symbol-bearing object;

providing the ability to discard, via player selection, one or more of the displayed symbol-bearing objects from the user-playable hand;

replacing each of the discarded symbol-bearing objects, if any, with a replacement symbol-bearing object from the standard set of objects and displaying the replacement symbol-bearing object to form a second user-playable hand;

awarding the player a payoff based on a ranking of the second user-playable hand in response to the second user-playable hand meeting a predetermined criterion,

wherein an additional payoff is awarded if at least one of the at least one value symbol-bearing object forms the second user-playable hand.

2. The method of claim 1, wherein the value symbol-bearing object can be displayed when the plurality of symbol-bearing objects is displayed, and where the value symbol-bearing object can replace one of the discarded symbol-bearing objects if the value symbol-bearing object was not displayed with the plurality of symbol-bearing objects.

3. The method of claim 1, wherein the value symbol-bearing object is displayed when the plurality of symbol-bearing objects is displayed.

4. The method of claim 3, wherein the value symbol-bearing object reenters the standard set of objects upon being discarded.

5. The method of claim 3, wherein the value symbol-bearing object does not reenter the standard set of objects immediately upon being discarded, the value symbol-bearing object reentering the standard set of objects after the wagering game has ranked the second user-playable hand.

6. The method of claim 1, wherein the value symbol-bearing object can only be displayed when the plurality of symbol-bearing objects is displayed.

7. The method of claim 1, wherein the value of the value symbol-bearing object is predetermined based on a wager received from a player to play the wagering game.

8. The method of claim 1, wherein the value of the value symbol-bearing object is randomly generated from a plurality of predetermined values.

9. A computer readable storage medium encoded with instructions for directing a gaming device to perform the method of claim 1.

10. A method of conducting a wagering game, comprising:

displaying a plurality of symbol-bearing objects from a group of objects to form a user-playable hand, wherein the group of objects includes at least one value symbol-bearing object;

in response to the value symbol-bearing object appearing in the user-playable hand, providing a player with the ability to select between (i) a first option to take the value associated with the value symbol-bearing object and end the wagering game, and (ii) a second option to continue the wagering game.

11. The method of claim 10, wherein the second option to continue the wagering game does not allow the player to collect the value associated with the value symbol-bearing object when the second option is selected.

12. The method of claim 11 further comprising providing the player with the ability to select a third option to continue the wagering game and collect the value associated with the value symbol-bearing object at the end of the wagering game.

13. The method of claim 10, wherein the symbol-bearing objects are cards and the group of objects is a deck of cards.

14. The method of claim 13, wherein the deck of cards is a standard 52 card deck and at least one card is removed from the standard 52 card deck and is replaced by the at least one value symbol-bearing object.

15. The method of claim 13, wherein the deck of cards is a standard 52 card deck and at least one card from the standard 52 card deck is selected to be the at least one value symbol-bearing object.

16. The method of claim 13, wherein the deck of cards is a standard 52 card deck and the at least one value symbol-bearing object is added to the standard deck.

17. A computer readable storage medium encoded with instructions for directing a gaming device to perform the method of claim 10.

18. The method of claim 10, wherein the value associated with the value symbol-bearing card is for one or more free wagering games.

19. The method of claim 10, wherein the value associated with the value symbol-bearing card is for at least one opportunity to play a bonus game.

20. A gaming system capable of conducting a wagering game, the system comprising:

a main display for displaying a plurality of symbol-bearing objects from a set of objects to form a first user-playable hand, wherein the set of objects includes at least one value symbol-bearing object;

an input device for allowing the player to select between at least two options in response to the value symbol-bearing object appearing in the first user-playable hand, wherein the player may use the input device to select between (i) a first option to take the value associated with the value symbol-bearing card and end the wagering game and (ii) a second option to continue the wagering game, the input device being adapted to provide the player with the ability to discard and replace, via player selection, one or more of the objects from the first user-playable hand to form a second user-playable hand; and

a processor coupled to the input device and the main display and operative to

(i) form a best hand from the second user-playable hand, and

(ii) award a payoff based on the value associated with the value symbol-bearing object, in response to a player selecting the first option to take the value.

21. The gaming system of claim 20, wherein the value associated with the value symbol-bearing object is predetermined.

22. The gaming system of claim 21, wherein the value is predetermined based on the number of credits wagered by the player.

23. The gaming system of claim 20, wherein the value associated with the value symbol-bearing card is randomly selected.

24. The gaming system of claim 20, further comprising an interface with a network, wherein the processor is located on the network.

Описание

CROSS REFERENCE TO RELATED APPLICATIONS

[0001]

This application claims priority to U.S. provisional application Ser. No. 60/588,511, filed on Jul. 16, 2004. The disclosure of the aforementioned provisional application is incorporated by reference in its entirety herein.

COPYRIGHT

[0002]

A portion of the disclosure of this patent document contains material which is subject to copyright protection. The copyright owner has no objection to the facsimile reproduction by anyone of the patent disclosure, as it appears in the Patent and Trademark Office patent files or records, but otherwise reserves all copyright rights whatsoever.

FIELD OF THE INVENTION

[0003]

The present invention relates generally to wagering games and, more particularly, to a poker game having a value object as one of the playing cards.

BACKGROUND OF THE INVENTION

[0004]

Gaming terminals, such as slot machines, video poker machines and the like, have been a cornerstone of the gaming industry for many years. Generally, the popularity of such machines with players is dependent on the likelihood (or perceived likelihood) of winning money at the gaming terminal and the intrinsic entertainment value of the machine relative to other available gaming options. Where the available gaming options include a number of competing machines and the expectation of winning on each machine is roughly the same (or believed to be the same), players are most likely to be attracted to the most entertaining and exciting machines. Shrewd operators constantly strive to employ the most entertaining and exciting machines available, because such machines attract frequent play and hence increase profitability to the operator.

[0005]

On traditional gaming machines having multiple rounds, a player may be offered a “buy-out” to end the game immediately and take the buy-out offer, generally an award of credits on the gaming machine. This buy-out is based on the expected or anticipated value of the cards dealt to the player in the first round, assuming the player were to continue the game to completion. Once a buy-out is offered, the player may then either take the buy-out and the current game will terminate or the player may decline the buy-out and the game will proceed to its completion. Traditionally, when the game proceeds, the player has lost his ability to collect the buy-out.

SUMMARY OF THE INVENTION

[0006]

According to one embodiment of the present invention, a method for conducting a wagering game is disclosed. The method comprises displaying a plurality of symbol-bearing objects to form a user-playable hand, wherein the plurality of symbol-bearing objects are selected from a standard set of objects and the standard set of objects contains at least one value symbol-bearing object. The method further comprises providing the ability to discard, via player selection, one or more of the displayed symbol-bearing objects from the user-playable hand. The method further comprises replacing each of the discarded symbol-bearing objects, if any, with a replacement symbol-bearing object from the standard set of objects and displaying the replacement symbol-bearing object to form a second user-playable hand. The method further comprises awarding the player a payoff based on a ranking of the second user-playable hand in response to the second user-playable hand meeting a predetermined criterion. An additional payoff is awarded if at least one of the at least one value symbol-bearing objects forms the second user-playable hand.

[0007]

According to another embodiment of the present invention, a method for conducting a wagering game is disclosed. The method comprises displaying a plurality of symbol-bearing objects from a group of objects to form a user-playable hand. The group of objects includes at least one value symbol-bearing object. The method further comprises, in response to the value symbol-bearing object appearing in the user-playable hand, providing a player with the ability to select between (i) a first option to take the value associated with the value symbol-bearing object and end the wagering game, and (ii) a second option to continue the wagering game.

[0008]

According to yet another embodiment of the present invention, a gaming system capable of conducting a wagering game is disclosed. The system comprises a main display for displaying a plurality of symbol-bearing objects from a set of objects to form a first user-playable hand. The set of objects includes at least one value symbol-bearing object. The system further comprises an input device for allowing the player to select between at least two options in response to the value symbol-bearing object appearing in the first user-playable hand. The player may use the input device to select between (i) a first option to take the value associated with the value symbol-bearing card and end the wagering game and (ii) a second option to continue the wagering game. The input device being adapted to provide the player with the ability to discard and replace, via player selection, one or more of the objects from the first user-playable hand to form a second user-playable hand. The system further comprises a processor coupled to the input device and the main display and operative to (i) form a best hand from the second user-playable hand and (ii) award a payoff based on the value associated with the value symbol-bearing object, in response to a player selecting the first option to take the value.

[0009]

According to another embodiment of the present invention, a method for conducting a wagering game is disclosed. The method comprises receiving a wager from a player to play the game. The method further comprises displaying a plurality of symbol-bearing objects to form a user-playable hand. The plurality of symbol-bearing objects are selected from a standard set of objects and the standard set of objects contains at least one value symbol-bearing object. The method further comprises providing the ability to discard, via player selection, one or more of the displayed symbol-bearing objects from the user-playable hands. The method further comprises replacing each of the discarded symbol-bearing objects, if any, with a replacement symbol-bearing object from the standard set of objects, the newly-displayed plurality of symbol-bearing objects forming a second user-playable hand. The method further comprises providing the ability to award a total payoff when at least one of the at least one value symbol-bearing objects is displayed. The total payoff is determined by the combination of (a) a basic payoff based on a ranking of the second user-playable hand with a predetermined criterion, and (b) a value of the at least one value symbol-bearing objects.

[0010]

According to still another embodiment of the present invention, a method for conducting a wagering game is disclosed. The method comprises receiving a wager from a player to play the wagering game. The method further comprises, in response to receiving a wager, displaying a plurality of cards from a deck of cards to form a first user-playable hand. The deck of cards includes at least one value symbol-bearing card. The method further comprises, in response to the value symbol-bearing card appearing in the first user-playable hand, providing the player with the ability to select between (i) a first option to take the value associated with the value symbol-bearing card and end the wagering game and (ii) a second option to continue the wagering game. The method further comprises providing the ability to discard, via player selection, one or more of the cards from the first user-playable hand. The method further comprises replacing each of the discarded cards, if any, with a displayed replacement card from the deck of cards to form a second user-playable hand. The method further comprises providing an award, if any, associated with said second user playable hand.

[0011]

The above summary of the present invention is not intended to represent each embodiment, or every aspect, of the present invention. Additional features and benefits of the present invention are apparent from the detailed description, figures, and claims set forth below.

BRIEF DESCRIPTION OF THE DRAWINGS

[0012]

FIG. 1 is a perspective view of a gaming terminal according to one embodiment of the present invention.

[0013]

FIG. 2 illustrates a control system that is used in conjunction with the gaming terminal of FIG. 1.

[0014]

FIG. 3 is an image of a main poker game screen that is displayed on the gaming terminal of FIG. 1, according to one embodiment of the present invention.

[0015]

FIG. 4 is a flow diagram detailing a method of operation for a wagering game, according to one embodiment of the present invention.

[0016]

While the invention is susceptible to various modifications and alternative forms, specific embodiments have been shown by way of example in the drawings and will be described in detail herein. It should be understood, however, that the invention is not intended to be limited to the particular forms disclosed. Rather, the invention is to cover all modifications, equivalents, and alternatives falling within the spirit and scope of the invention as defined by the appended claims.

DETAILED DESCRIPTION OF THE ILLUSTRATED EMBODIMENTS

[0017]

Turning now to the drawings, FIG. 1 is a perspective view of a gaming terminal 10 according to one embodiment of the present invention. The gaming machine 10 is operable to conduct a wagering game. With regard to the present invention, the gaming terminal 10 may be any type of gaming terminal and may have varying structures and methods of operation.

[0018]

The gaming terminal 10 includes input devices, such as a wager acceptor 16, a touch screen 21, a push-button panel 22, and a player-identification card reader 24. For outputs, the gaming terminal 10 includes a payout mechanism 23, a main display 26 for displaying information about a basic wagering game such as video poker and a secondary display 27 for displaying additional information, and an output receptacle 28 coupled to the payout mechanism 23 for providing tokens or coins to the player when the player selects to cash out. While these typical components found in the gaming terminal 10 are described below, it should be understood that numerous other elements may exist and may be used in any number of combinations to create various forms of a gaming terminal.

[0019]

The wager acceptor 16 may be provided in many forms, individually or in combination. The wager acceptor 16 may include one or both of a coin slot acceptor or a currency note acceptor to input value to the gaming terminal 10. Additionally, the wager acceptor 16 may include a card-reading device for reading a card that has a recorded monetary value with which it is associated. The card may also authorize access to a central account, which can transfer money to the gaming terminal 10.

[0020]

The payout mechanism 23 performs the reverse functions of the wager acceptor 16. For example, the payout mechanism 23 may include a coin dispenser or a note dispenser to output value from gaming terminal 10. Also, the payout mechanism 23 may be adapted to receive a card that authorizes the gaming terminal to transfer credits from the gaming terminal 10 to a central account.

[0021]

The push button panel 22 is typically offered, in addition to the touch screen 21, to provide players with an option of how to make their game selections. Alternatively, the push button panel 22 provides inputs for one aspect of operating the game, while the touch screen 21 allows for inputs needed for another aspect of operating the game.

[0022]

The operation of the basic wagering game is displayed to the player on the main display 26. The main display 26 and the secondary display 27 may take the form of a cathode ray tube (CRT), a high resolution LCD, a plasma display, LED, or any other type of video display suitable for use in the gaming terminal 10. As shown, the main display 26 includes a touch screen 21 overlaying the entire monitor (or a portion thereof) to allow players to make game-related selections. Similarly, a touch screen may overlay the secondary display 27.

[0023]

The player-identification card reader 24 allows for the identification of a player by reading a card with information indicating the player's true identity. Currently, the identification is used by casinos for rewarding certain players with complimentary services or special offers. For example, a player may be enrolled in the gaming establishment's players' club and may be awarded certain complimentary services as that player collects points in the player's player-tracking account. The player inserts the player's card into the player-identification card reader 24, which allows the casino's computers to register that player's wagering at the gaming terminal 10.

[0024]

Referring also to FIG. 2, the various components of the gaming terminal 10 are controlled by a central processing unit (CPU) 30 (such as a microprocessor or microcontroller). To provide the gaming functions, the CPU 30 executes a game program. The CPU 30 is also communicatively coupled to or includes a system memory 32. The system memory 32 may comprise a volatile memory 33 (e.g., a random-access memory, “RAM”) and a non-volatile memory 34 (e.g., an EEPROM). It should be appreciated that the CPU 30 may include one or more microprocessors. Similarly, the memory 32 may include multiple RAM and multiple program memories. To provide gaming functions, the CPU 30 (or other controller) executes one or more game programs stored in a computer readable storage medium, in the form of the system memory 32.

[0025]

Communications between the peripheral components of the gaming terminal 10 and the CPU 30 occur through input/output (I/O) circuits 35a. As such, the CPU 30 also controls and receives inputs from the peripheral components of the gaming terminal 10. Further, the CPU 30 communicates with external systems via the I/O circuits 35b. Although the I/O circuits 35 may be shown as a single block, it should be appreciated that the I/O circuits 35 may include a number of different types of I/O circuits.

[0026]

The gaming terminal 10 is typically operated as part of a game control network 40 having control circuitry and memory devices, wherein a plurality of gaming terminals are coupled to the game control network 40. The game control network 40 can be the game controller that controls operation of the wagering game as described below. The processor, memory, or both may be remotely located on the game control network 40. For example, instead of the CPU 30, the game control network 40 may determine the random outcomes for games conducted on the gaming terminal(s) 10. Alternatively, the CPU 30 randomly determines the game outcomes.

[0027]

The gaming terminal 10 often has multiple serial ports, each port dedicated to providing data to a specific host computer system that performs a specific function (e.g., accounting system, player-tracking system, etc.). To set up a typical serial communication hardware link to the host system, the typical RS-232 point-to-point communication protocol that is often present in the gaming terminal 10 is converted to an RS-485 (or RS-485-type) master-slave protocol so as to take advantage of some of the benefits of the RS-485 capability (e.g., multi-drop capability that allows many gaming terminals 10 to communicate with the game control network 40). To perform this function, a custom interface board may be used by the gaming terminal 10 for each communication port in the gaming terminal 10. It should be noted that the gaming terminal 10 can initially be designed to be configured for a typical RS-485 protocol, instead of the typical RS-232 protocol. Further, the gaming terminal 10 may simply be designed for an Ethernet connection to the game control network 40.

[0028]

Referring now to FIG. 3, an image of a video poker game screen 50 which can be displayed on the main video display 26 is illustrated, according to one embodiment of the present invention. A player begins play of the basic wagering game by inserting a wager input into the wager input accepter 16 of the gaming terminal 10. A player can select play by either using the touch screen 21 or push-button panel 22. The CPU 30, or the wagering game control network 40 in alternative embodiments, operates to execute a wagering game program causing the main video display 26 to display the wagering game that includes a plurality of visual elements.

[0029]

According to one embodiment, a video poker game is preferably played with a single standard 52-card deck (i.e., Ace through King of four different suits). The standard 52-card deck may then be supplemented with one value symbol-bearing object (in the illustrated example, a value card). According to another embodiment, a card is selected from the single standard 52-card deck, and the selected card serves as the value object. However, a poker game may be played with any number of decks and/or with a variety of different card compositions (e.g., additional value objects, wild cards, etc.).

[0030]

According to one embodiment, during a particular poker hand, all of the cards are dealt from the same deck. After a card is dealt from the deck into the poker hand, the card is “used up” and cannot appear again until the next poker hand. Alternatively, in another embodiment, the value object is allowed to be reincorporated into the deck and may reappear in the same game. The deck may be replenished and randomly shuffled prior to every poker hand. The system memory 32 includes a data structure for storing data representing each card of the deck including the value object. The CPU 30 randomly selects cards for each poker hand from the data structure and controls the main video display 26 to display the cards.

[0031]

It should also be understood that the present invention is not limited solely to one or more decks of cards and may be instituted by using any type of symbol-bearing objects, such as, for example, dice, tiles, chips, marbles, wheels, flipped coins, reels that are spun, etc.

[0032]

An image of a video poker game screen can be seen in FIG. 3. The main poker game screen 50 featuring a five-card draw poker game in the illustrated embodiment may be displayed on the main video display 26. In the illustrated embodiment, the main poker game screen 50 is used to display a user-playable hand 54 composed of a plurality of cards 54a-e. The main poker game screen 50 also displays a plurality of hold buttons 56a-e for allowing a player to select a card to hold, a pay table 58, game session meters, and various buttons selectable by a player.

[0033]

The game session meters include: a “credits” meter 60 for displaying a number of credits available for play on the machine; a “bet” meter 62 for displaying a number of credits wagered (e.g., from 1 to 5 credits); and a “paid” meter 64 for displaying an amount to be awarded based on the results of the particular rounds outcome. The player-selectable buttons include a “collect” button 70 to collect the credits remaining in the credits meter 60; a “help” button 72 for viewing instructions on how to play the video poker game; a “max bet” button 74 for wagering a maximum number of credits (e.g., 5 credits); a “take value” button 76 for allowing a user to take the value associated with a displayed value object; a “deal” button 78 for causing the game to initially deal cards from a deck into the user-playable hand 54 face-up; and a “draw” button 80 for causing the game to replace any non-held card in the user-playable hand 54 with another card from the deck.

[0034]

The pay table 58, shown on the main display 26, may also or alternatively be displayed on the secondary screen 27. The pay table 58 includes a list of winning poker hand rankings 82 and a payout column 84 with payouts associated with each ranking. The number of credits won is linearly proportional to the number of credits wagered, except that a royal flush typically yields a bonus when achieved on a maximum wager. The list of winning poker hand rankings 82 includes standard poker hand rankings beginning at a pair of jacks or better and including hands through a royal flush.

[0035]

As will be explained in more detail with respect to FIG. 4, in a five-card draw poker game, five cards 54a-e are displayed face-up to a player to form a first user-playable hand. The player is able to select none, one, or a plurality of the cards 54a-e in the user-playable hand to discard. Any discarded card is then replaced to form a second user-playable hand. As illustrated in FIG. 3, a value object, the card 54d in the illustrated embodiment, may be part of the user-playable hand. The value object is used to provide a player the possibility of an alternative, or additional, payoff for the wagering game. For example, in one embodiment, a player may select to either: (1) keep the value object and end the game; or (2) continue the game and discard the value object. In another embodiment, the player may also select to keep the value object and continue the game

[0036]

At the end of the wagering game, the best poker hand is determined from the second user-playable hand and a player is awarded a primary payoff as displayed in the pay table 58 if the ranking of the hands meets the predetermined criteria displayed in the pay table 58. In embodiments where the player is allowed, and has chosen, to keep the value object and continue the wagering game, a hand ranking is determined from a reduced user-playable hand having only four cards in the illustrative embodiment. In the illustrated embodiment, the reduced user-playable hand includes cards 54a, 54b, 54c, and 54e. Thus, in embodiments where a reduced user-playable hand is ranked, players may prevent themselves from establishing certain hands (e.g., straight, flush, full-house, etc.) to ensure that they are awarded at least the value of the value object they have kept.

[0037]

The value object may be for a value that is predetermined based on the particular wager a player has made, or may be randomly generated from a predetermined range of values. The value object may provide the player an award of credits, free games, bonus games, prizes, tokens, a spin on an award wheel or reel, etc. The value object may also award the player a multiplier based on the primary payoff table. In this alternative, if, for example, a player would normally receive a primary payoff of 100 credits for a four of a kind, and the multiplier were a 3× multiplier, the player would receive 300 credits for the reduced user-playable hand's four of a kind with the value object multiplier.

[0038]

In other embodiments, a value card may be selected from one of the standard 52 cards, for example, the Ace of Spades. In these embodiments, if the player is provided the option of keeping the value card and continuing play, a player could collect on the value card while still being able to form standard five-card poker hands. This embodiment of the game is particularly favorable for use in association with the value card being a multiplier.

[0039]

Turning now to FIG. 4, the operation detailing the method of playing the game according to one embodiment of the invention will be described. In step s100, a player at the gaming terminal 10 begins a gaming session by any conventional method (e.g., inserting coins or using credits). The player then selects an amount to wager on the upcoming user-playable hand at step s104. Once the total wager has been made by the player, a first user-playable hand is displayed at step s106. According to one embodiment, the first user-playable hand comprises a plurality of playing cards and possibly a value object. According to another embodiment, the first user-playable hand comprises a plurality of symbol-bearing objects and possibly a value symbol-bearing object.

[0040]

After the first user-playable hand has been displayed, a determination is made as to whether a value object is present within the hand at step s108. If a value object is not present within the first hand, the game proceeds to step s110 to allow a player to select cards to discard from the first user-playable hand. A player is allowed to select either none, one or any plurality of the cards that form the first user-playable hand. A player may choose the cards to discard by utilizing the hold buttons 56a-e on the touch screen 21 (or similar buttons on the push button panel 22) associated with the cards 54a-e. A player selects the hold button for each of the cards the player would like to keep in their hand. The selection of a card to hold may be represented to a player by, for example, displaying “Held” in the displayed hold buttons 56a-e. A player then selects the draw button 80 to replace the non-selected cards with new cards from the deck at step s112, forming a second user-playable hand.

[0041]

A best hand is then ranked at step s114. The best hand is formed by combining the cards forming the second user-playable hand to form the highest possible ranking included within pay table 58, if such a hand can be formed. At decision box s116, a determination is made as to whether the best hand meets a predetermined criteria (e.g., a pay table). If the best hand meets the criteria, a primary payoff is awarded at step s118 and the player is prompted to initiate a new game at step s120. If the best hand does not meet the criteria no payoff is awarded and the player is prompted to initiate a new game at step s120.

[0042]

Alternatively, if at decision box s108, a value object is present within the first user-playable hand, a player may chose to take the value associated with the value object by selecting the take value button 76 on the touch screen 21 (or a similar button on the push button panel 22). At decision box s122, a determination is made as to whether the player has chosen to take the value associated with the value object. If the player has chosen to take the value, the player is awarded the value of the value object at step s136 and the player is prompted to initiate a new game at step s120. If the player does not chose to take the value of the value object, the game proceeds to step s124.

[0043]

At step s124, the player is allowed to select cards to discard from the first user-playable hand. A player is allowed to select either none, one or any plurality of the cards that form the first user-playable hand. In one embodiment, when a player does not select to take the value of the value object at decision box s122, the value object is automatically discarded and may not be kept. In another embodiment, the player may select to discard the value object or may keep the value object.

[0044]

Once a player has selected which cards to discard and then selected the draw button 80, the non-selected cards are replaced with replacement cards, at step s126, to form a second user-playable hand. At decision box s128, a determination is made as to whether the value object is present in the second user-playable hand. If the value object is not present, the game proceeds to step s114 and continues through step s120 as discussed above. If the value object is present within the second user-playable hand, the game proceeds to step s130 where a ranking for the best hand is determined.

[0045]

For five-card draw poker embodiments in which the value object is distinct from a standard 52 card deck, the best hand is formed from a reduced user-playable hand. The reduced user-playable hand is formed by removing the value object from the second user-playable hand. For five-card draw poker embodiments where the value object is a card within the standard 52 card deck, the best hand may be formed from the second user-playable hand (according to one method) or from the reduced user-playable hand (according to another method).

[0046]

At decision box s132, a determination is made as to whether the best hand meets a predetermined criteria (e.g., a pay table). If the best hand meets the criteria, a primary payoff is awarded at step s134 and the value of the value object is awarded at step s136. The player is prompted to initiate a new game at step s120. If the best hand does not meet the criteria, the value of the value object is awarded and the player is prompted to initiate a new game at step s120.

[0047]

Though the above examples illustrate a user-playable hand including five playing cards, it should be apparent that the present invention is not limited only to such embodiments. Additionally, a plurality of user-playable hands may be displayed for a player to wager upon. The number of user-playable hands is only limited by the number of cards which comprise the deck to be displayed. Where a larger number of user-playable hands are desired, a plurality of decks of cards may be combined to form the desired hands.

[0048]

It should be understood from the above that the value object could be able to be displayed on the initial deal, the draw, either or both. Additionally, according to one embodiment, when the value object presented on the draw and then discarded by the player, it is “used-up” for that particular game. Alternatively, in embodiments where the value object can be displayed on both the deal and the draw, the value object may be reincorporated into the partial deck and may, if randomly selected, be represented on the draw.

[0049]

It should be understood that the above invention is not limited to a video poker system and may be instituted on a standard casino table or another means sufficient to conduct the above described wagering game.

[0050]

While the present invention has been described with reference to one or more particular embodiments, those skilled in the art will recognize that many changes may be made thereto without departing from the spirit and scope of the present invention. Each of these embodiments and obvious variations thereof is contemplated as falling within the scope of the claimed invention, which is set forth in the following claims.

Как компенсировать расходы
на инновационную разработку
Похожие патенты