A drink making machine (10) includes an ice shaving and dispensing unit (11) which provides a predetermined amount of ice, by weight, through a chute (21) to the pitcher (17) of a blending unit (12). A nozzle (30) is carried by the chute (12) and provides water through a nozzle opening (41) until a predetermined amount of water, by weight, is received by the pitcher (14). The water from the opening (41) is not allowed to directly impinge against the bottom of the pitcher (17). The water from the opening (41) is not allowed to directly impinge against the bottom of the pitcher (17) so that it does not adversely affect the weight measurements being taken.
1. Apparatus for making a drink of at least a liquid and ice comprising a blending assembly including a pitcher, an ice dispensing assembly, a chute to transfer ice from said ice dispensing assembly to said pitcher, and a nozzle carried by said chute, said nozzle communicating with a source of liquid to provide liquid to said pitcher. 2. The apparatus of 3. The apparatus of 4. The apparatus of 5. The apparatus of 6. The apparatus of 7. The apparatus of 8. The apparatus of 9. The apparatus of 10. The apparatus of 11. The apparatus of 12. The apparatus of 13. The apparatus of 14. The apparatus of 15. A method of making a liquid and ice drink utilizing a blender having a pitcher, and utilizing a source of liquid and a source of ice comprising the steps of transferring liquid from the source of liquid to the pitcher until a predetermined weight of liquid is received by the pitcher, and transferring ice from the source of ice to the pitcher until a predetermined weight of ice is received by the pitcher. 16. The method of 17. The method of 18. The method of 19. The method of 20. The method of
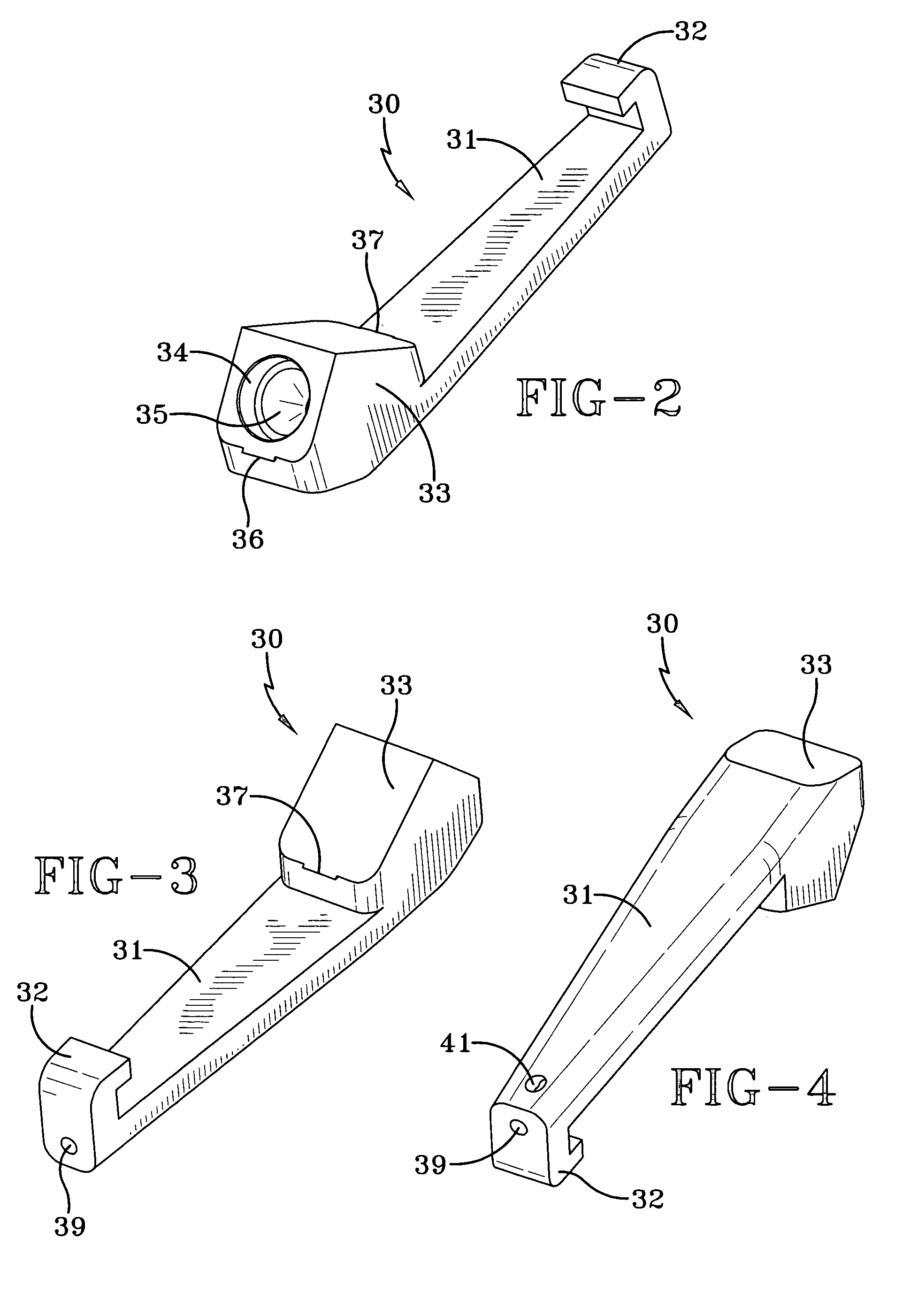
This invention relates to a machine which mixes drinks. More particularly, this invention relates to a machine which can deliver a precise amount of ice and liquid to the pitcher of a blender for subsequent mixing. Machines which dispense a precise amount of ice into a pitcher of a blender for subsequent mixing with other ingredients such as alcohol, juices, water and the like, have become quite popular, particularly in bars and restaurants. Such machines are particularly useful in making “frozen” or slush-like drinks. One of the very successful machines of this type is shown in U.S. Pat. No. 6,194,013. In that device, the user mixes a drink by placing an arbitrary amount of liquid or liquids in the pitcher of a blender and then operates the machine to dispense ice into the pitcher until a predetermined weight of ice is received by the pitcher. The blender is then operated to mix the drink. One of the advantages of this system is that every drink will be consistently mixed with the precise required amount of ice. However, one problem with this type of system is that the user must be able to add the correct amount of liquids to the pitcher of the blender. Oftentimes, particularly in the environment of a crowded bar or restaurant, the user hurriedly estimates the correct amount of liquids to the detriment of consistent drinks. Since one of the more often needed liquids is water, it would be desirable to provide a machine which would dispense the correct amount of water to the pitcher. However, to date, no known machine is provided with that feature. It is thus an object of the present invention to provide a machine which will dispense the desired amount of a liquid, such as water, by weight, to the pitcher of a blender for subsequent mixing. It is another object of the present invention to provide a machine, as above, which will also dispense the desired amount of ice, by weight, to the pitcher of a blender for subsequent mixing. It is an additional object of the present invention to provide a machine, as above, which dispenses the water to the pitcher without adversely affecting the weight measurements which are being taken. It is a further object of the present invention to provide a machine, as above, with a nozzle which is carried by an ice chute, with the liquid being dispensed through the nozzle and the ice being dispensed through the chute. It is yet another object of the present invention to provide a novel method of making a liquid and ice drink. These and other objects of the present invention, as well as the advantages thereof over existing prior art forms, which will become apparent from the description to follow, are accomplished by the improvements hereinafter described and claimed. In general, an apparatus made in accordance with the present invention is provided to make a drink of at least a liquid and ice. It includes a blending assembly including a pitcher and an ice dispensing assembly. A chute is provided to transfer ice from the ice dispensing assembly to the pitcher. A nozzle is carried by the chute and communicates with a source of liquid to provide the liquid to the pitcher. A method of making a liquid and ice drink in accordance with the present invention utilizes a blender, a pitcher, a source of liquid and a source of ice. The method includes the steps of transferring liquid from the source of liquid to the pitcher until a predetermined weight of liquid is received by the pitcher, and transferring ice from the source of ice to the pitcher until a predetermined weight of ice is received by the pitcher. A preferred exemplary drink making machine and its method of operation according to the concepts of the present invention is shown by way of example in the accompanying drawings without attempting to show all the various forms and modifications in which the invention might be embodied, the invention being measured by the appended claims and not by the details of the specification. A drink making machine having the features of the present invention is indicated generally by the numeral 10 in Blending unit 12 includes a pitcher 17 carried by a pad 18 which is positioned on a ledge 19 formed by base portion 13. Pitcher 17 is provided with a conventional mixing blade (not shown) that is rotated by a motor (not shown), the blade being connected to the motor through a drive socket formed in pad 18. Base portion 13 also includes a control pad 20 which, as discussed in U.S. Pat. No. 6,194,013, may be provided with buttons or the like to provide the user with a variety of options of drink selections. When a particular drink option is selected, ice shaving unit 11 is activated so that a blade (not shown) positioned near the bottom of ice bin 15 will shave ice and dispense it through an ice chute 21 to pitcher 17. A weighing mechanism, positioned below ledge 19 and described in detail in U.S. Pat. No. 6,194,013, will then weigh the ice received in pitcher 17 and turn off unit 11 when a predetermined weight of ice is received in pitcher 17, that amount being determined dependent on the drink option selected on the control pad 20. As shown in As previously described, in the prior art, the user would, preferably before, but sometimes after, the addition of ice to pitcher 17, pour into the pitcher 17 the liquid or liquids in an amount thought to be necessary to make the desired drink. In accordance with the present invention, the precise amount of at least one liquid can be automatically discharged into pitcher 17 through chute 21. Although any liquid could be so dispensed, as described herein, the liquid will most often be referred to as “water” since water is not only a prime drink component but also is readily available for use. Best shown in Nozzle 30 is carried by chute 21 as is best shown in Mounting block 33 is attached to a supply of water or other liquid in a manner shown in In operation of machine 10, the user selects a particular drink option by depressing the corresponding button on control pad 20. If that button is programmed to make a drink having water (or the liquid communicating with hose 50), the water will begin to flow out of nozzle opening 41 and will continue to flow until such time that a predetermined weight of water is in pitcher 17, at which time the solenoid will shut off the flow to nozzle 30. It should be noted that because nozzle opening 41 is provided angularly at the side of bar 31, the water does not directly impact the bottom surface of pitcher 17 where it might adversely affect the weight measurements being taken. Rather, as shown in It should thus be evident that a drink mixing machine, constructed and operated as described herein, accomplishes the objects of the present invention and otherwise substantially improves the art. TECHNICAL FIELD
BACKGROUND ART
DISCLOSURE OF THE INVENTION
BRIEF DESCRIPTION OF THE DRAWINGS
PREFERRED EMBODIMENT FOR CARRYING OUT THE INVENTION