заявка
№ US 20050253675
МПК H01F7/08

Harmonic drive motor

Авторы:
Ernie Davison
Правообладатель:
Номер заявки
10526776
Дата подачи заявки
11.09.2003
Опубликовано
17.11.2005
Страна
US
Дата приоритета
15.12.2025
Номер приоритета
Страна приоритета
Как управлять
интеллектуальной собственностью
Реферат

[0000]

A core for a flexispline motor is enclosed within a distortable flexispline having the shape of an open tin can, such that under rest conditions the space between the flexispline and the core is constant. The core of the motor is shaped as in a hub and spoke configuration, with spokes having variable widths. Coils are fitted to the spokes and are connected in pairs such that pairs of coils on opposing spokes are in series bucking relationship. A second set of coils, which overlap the first coils, can be connected in a non-bucking manner to increase the magnetic flux produced by the coils on opposing spokes. The flexispline has a flexible ring gear incorporated in its surface near the open end which when magnetically attracted ceases to have a circular shape and forms a two-lobe (elliptical) or three-lobe shape. Under these conditions the corresponding points of the shape so formed contact a ring gear which is mounted on a rotating hub. The points of the flexible ring gear which correspond to the minor axes contact the surface of the core. As the magnetic force rotates the distorted shape rotates, but the flexispline itself does not rotate. Because the number of teeth on the ring gear and the flexible gear are different, the hub is forced to rotate at reduced speed. An alternative construction embodies a splined locking arrangement to rotatably fix an open cylinder, composite material flexispline to the electromagnetic core. Other concentric pairs of inner and outer electromagnetic winding arrangements achieve pull-in pull-out flexispline distortion of elliptical or threelobe shape.

[00000]

Формула изобретения

1. A flexispline motor comprising a cylindraceous electromagnetic core, a flexispline and rotatable hub means mounted on suitable support means in a working relationship,

said core being provided with a set of suitable windings to produce a commutated and controlled rotating magnetic field,

a flexispline comprising a disc portion and cylindrical portion integrally joined together to form the general shape of an open ended tin can mounted on said support means in such a manner that it encompasses said magnetic core and is in a coaxial relationship with said core,

said cylindrically shaped portion of said flexispline comprising an elastically deformable magnetic material and being in a closely spaced relationship with said core but not touching said core in an unexcited magnetic state,

said flexispline having toothed external gear means formed thereon in the form of an elastically deformable band encircling the exterior surface of said cylinder generally near the open end of said flexispline,

hub means mounted on said support means adjacent to and coaxially with said flexispline, said hub having complementary ring gear means overlying but closely spaced with said gear means on said flexispline,

wherein said open end of said flexispline and said gear means being distorted in the presence of a magnetic field in said core to form a general multilobed shape such that said gear means on said flexispline exhibits toothed engagement with said ring gear on said hub at the protruding lobes on the distorted shape so formed.

2. A flexispline motor comprising a cylindraceous electromagnetic core, a flexispline and rotatable hub means mounted on suitable support means in a working relationship,

said core being provided with a set of suitable windings to produce a commutated rotating magnetic field,

a flexispline comprising a disc portion and cylindrical portion integrally joined together to form the general shape of an open ended tin can mounted on said support means in such a manner that it encompasses said electromagnetic core and is in a coaxial relationship with said core,

said cylindrically shaped portion of said flexispline further comprising an elastically deformable magnetically permeable material and being in a closely spaced relationship with said core but not touching said core in an unexcited magnetic state,

said flexispline having an elastically deformable toothed internal gear means formed thereon on the interior surface of said cylinder in the form of a band, near the open end of said flexispline,

hub means mounted on said support means adjacent to and extending coaxially with said flexispline, said hub having complementary toothed gear means formed thereon at one end thereof,

said gear means being encircled by said elastically deformable toothed internal ring gear means of said flexispline,

said gear means and said internal ring gear being in closely spaced relationship, but not touching in an unenergized magnetic state,

wherein said internal ring gear being distorted upon the presence of a magnetic field in said core to assume a multilobed shape and contact said ring gear at the protruding lobes of the multilobed shape so formed.

3. A flexispline motor as claimed in claim I wherein said flexispline is overwound with a magnetically permeable tape or as a helix of a magnetically permeable wire material with locked in radial stress or pressure.

4. A flexispline motor as claimed in claim 2 wherein said flexispline is overwound with a magnetically permeable tape or as a helix of a magnetic wire material with locked in radial stress or pressure.

5. A flexispline motor comprising a base, a hollow post affixed to said base, a cylindraceous electromagnetic core and a flexispline mounted on said base and said hollow post so as to enjoy a coaxial working relationship with said hollow post,

said core being provided with a set of suitable windings to produce a commutated and controlled rotating magnetic field,

a flexispline comprising a disc portion and cylindrical portion integrally joined together to form the general shape of an open ended “tin can. mounted on said support means in such a manner that it encompasses said magnetic core and is in a coaxial relationship with said core,

said cylindrically shaped portion of said flexispline comprising an elastically deformable magnetically permeable material and being in a closely spaced relationship with said core but not touching said core in an unexcited magnetic state,

said flexispline having toothed external gear means formed thereon in the form of an elastically deformable band encircling the exterior surface of said cylinder near the open end of said flexispline,

shaft means mounted within said post means on suitable bearings for rotation within said post and passing through said base, said shaft means being connected to a disc shaped hub at an end opposite said base,

ring gear means carried by said hub in a working relationship with said flexispline,

said ring gear means and flexispline gear.means having gear teeth that will mesh, but differ in number,

wherein said open end of said flexispline and said gear means being distorted in the presence of a magnetic field in said core to form a general multilobed shape such that said gear means on said flexispline exhibits toothed engagement with said ring gear on said hub at the protruding lobes on the multilobed shape so formed.

6. A flexispline motor comprising a base, cylindraceous, electromagnetic core, a hollow post, a flexispline and rotatable hub means mounted on a suitable shaft at a point intermediate its ends,

said shaft means passing within said hollow post and controlled magnetic core and being supported on suitable bearing means,

said shaft means being accessible at both ends of said motor,

said core being provided with a set of suitable windings to produce a rotating magnetic field,

a flexispline comprising a disc portion and cylindrical portion integrally joined together to form the general shape of an open ended tin can mounted on support means in such a manner that it encompasses said electromagnetic core and is in a coaxial relationship with said core,

said cylindrically shaped portion of said flexispline comprising an elastically deformable magnetically permeable material and being in a closely spaced relationship with said core but not touching said core in an unexcited magnetic state,

said flexispline having an elastically deformable toothed internal gear means formed thereon on the interior surface of said cylinder in the form of a band, near the open end of said flexispline,

hub means carrying a ring gear means mounted within said flexispline and extending coaxially with said flexispline, said ring gear means being encircled by said elastically deformable toothed internal ring gear means of said flexispline,

said gear means and said internal ring gear having teeth which will mesh but differ in number and being in closely spaced relationship, but not touching in an unenergized magnetic state,

wherein said internal gear means being distorted upon the presence of a magnetic field in said core to assume an multilobed shape and contact said ring gear at the protruding lobes of the multilobed shape so formed.

7. A flexispline motor as claimed in claim 5 wherein said flexispline is overwound with a magnetically permeable tape or with a helix of a magnetically permeable wire material with locked in radial pressure or stress.

8. A flexispline motor as claimed in claim 6 wherein said flexispline is overwound with a magnetically permeable tape or with a helix of a magnetically permeable wire material with locked in radial pressure or stress.

9. An electromagnetic core for a flexispline comprising a magnetically permeable core of a hub and spoke shaped construction,

said core comprising stacked laminations to form a unitary structure having an even number of radially spaced rectangular profile poles surrounding said hub,

a winding fitted to each pole to produce a magnetic field in each pole, and

the windings on each pair of opposing poles on said hub being energized to produce magnetic fields which oppose each other.

10. An electromagnetic core as claimed in claim 9 wherein the coils of each pair of opposing poles on said hub are connected in a series relationship.

11. An electromagnetic core for the production of a continuous wave deflection in a magnetically permeable flexispline member in a flexispline motor comprising,

a series of stacked laminations stacked together to form a unitary core having a hub and spoke configuration, such that an even number of rectangular profile core legs extend radially from said core hub at evenly spaced intervals,

each leg being supplied with suitable coil means,

each coil being sequentially energized from a suitable source of to electrical energy to produce a rotating electrical field in said core,

and wherein the magnetic forces produced in each opposing pair of core legs is in a bucking relationship.

12. An electromagnetic core as claimed in claim 13 wherein the number of core legs is eight,

and the source of electrical energy is a four phase source having frequency, amplitude, and commutation-control of the output current wave forms,

and the coils on each pair of opposing pairs of core legs is connected to said source of electrical energy in a series bucking relationship.

13. An electromagnetic core for a flexispline motor said core comprising a circular configuration and having a series of radially extending rectangular profile teeth protruding from said core, said teeth having teeth of variable widths arranged in a regular sequence around the circumference of said core separated by slots of uniform width.

14. An electromagnetic core for a flexispline motor comprising a stack of magnetically permeable laminations arranged to form a substantially cylindrical core, said core having a series of projecting rectangular shaped teeth having two distinct widths separated by slots of equal width, and wherein teeth of lesser width are double the number of the teeth of wider width.

15. A winding system for the electromagnetic core of claim 14 wherein each core tooth of wider width is provided with a first coil and a secondary coil is made to encircle said first coil plus the teeth of lesser width on either side of said core tooth of wider width.

16. A flexispline motor comprising an electromagnetic core, a flexispline sleeve, and a gear device wherein:

said core is mounted on a stationary member and has the general shape of a cylinder having a splined exterior surface, said core having a set of windings incorporated therein to produce a rotating magnetic field in said core,

a magnetically permeable sleeve mounted coaxially on said core having the shape of a hollow cylinder having an interior cylindraceous surface having a spline formed in said interior surface to mate with said splined exterior surface of said core in a sliding relationship which permits flexing in a radial direction and transfer of torque but which does not permit said sleeve to move in a circumferential direction,

said sleeve having an overlapping end extending beyond said core, said overlapping end of said sleeve having an internal gear formed therein having a predetermined tooth form of constant pitch, a driven gear being mounted within said overlapping end of said sleeve in a coaxial relationship with said core and said sleeve,

wherein said driven gear having teeth which mesh with said internal gear and being mounted to permit rotation about a central axis of said sleeve and core, said gear and said sleeve being in a non contacting relationship in the absence of a magnetic field in said core,

wherein said sleeve undergoing a cyclical elastic deformation in the presence of a rotating magnetic field in said core to form a multilobed shape such that the internal gear formed in said sleeve contacts said driven gear in the presence of a rotating magnetic field in said core, such that the protruding ends of the multilobed shape so formed by said sleeve and internal gear contact said driven gear, to cause said driven gear to rotate.

17. A flexispline motor comprising a magnetically permeable flexispline having the general shape of an open tin can, having a predetermined radius r,

said flexispline having a set of gear teeth incorporated in a predetermined surface of said flexispline near the open end of said flexispline,

said flexispline being mounted coaxially within and between a pair of substantially cylindrically extending magnetic core assemblies,

an inner core assembly having a series of salient poles whose number is a multiple of three protruding therefrom so that the pole tips of said inner core assembly lie in the locus of a circle having a radius r1,

an outer core assembly having a series of inwardly extending poles equal in number to the poles on said inner core assembly, such that each pole on said outer core assembly is spaced directly opposite from a pole on said inner core assembly, the pole tips of said outer core assembly lie in the locus of a circle having radius r2 such that r2 is greater than r is greater than r1 winding means on said cores to establish two rotating fields in space quadrature.

18. A prime-mover apparatus, for converting supplied electrical energy into rotary mechanical motion of a rotor with respect to a stator, about a drive-axis, wherein the stator comprises an elastically deformable magnetically permeable overwound with similar wire or metallic tape embodying a locked in radial stress or pressure;

an annulus having gear teeth, which form a stator-drive-gear;

the annulus is sufficiently elastic as to be deformable radially, being deformable in the sense that the annulus takes on a lobed configuration, upon appropriate radially-directed forces being applied to the annulus;

the rotor is provided with gear teeth, which form a rotor-drive-gear;

the rotor-drive-gear is a solid structure, not deformable to a lobed configuration;

the rotor-drive-gear is concentric with the stator-drive-gear, and the number SGT of teeth on the stator-drive-gear is different from the number RGT of teeth on the rotor-drive-gear;

the stator-drive-gear and the rotor-drive-gear are so configured that, when the thin-walled annulus of the stator has deformed to the lobed configuration, portions of the stator-drive-gear teeth corresponding to the induced lobes of the annulus move radially into meshing engagement with teeth of the rotor-drive-gear;

the stator includes N electrical coils, located at respective coil-orientations, around the drive-axis; in a manner such as to minimise the length of the magnetic flux flow path.

the coils are so structured, commutated, and arranged that, when energised with electricity, the coils create poles which exert respective radially-directed magnetic forces in a programmed sequential manner.

the arrangement of the apparatus is such that the said radially-directed forces act upon the electrically deformed annulus, and induce the annulus to deform into the lobed configuration;

the apparatus includes a commutator, for receiving the supplied electrical energy, and for switching same to the coils, in a specialized manner thereby energising and de-energising the coils, with the unused engerminus some losses being returned to the energy source.

the apparatus includes a cyclic-operator, for operating the commutator for energising and de-energising the coils sequentially in an optimal rotational pattern, around the drive-axis;

the arrangement of the apparatus is such that operating the commutator in the said rotational pattem is effective to drive the lobed configuration of the elastic stator annulus to rotate around the drive-axis, its speed of rotation being a lobe-rotate-speed LRS rpm;

whereby the rotor-drive-gear is driven to rotate at a speed of LRS *(SGT-RGT)/SGT rpm;

the electromagnetic core teeth on which the stator field winding is applied, embody a rectangular profile in axial planform.

19. The wire comprising the stator field winding of a flexispline motor is formed of hollow superconducting material.

Описание

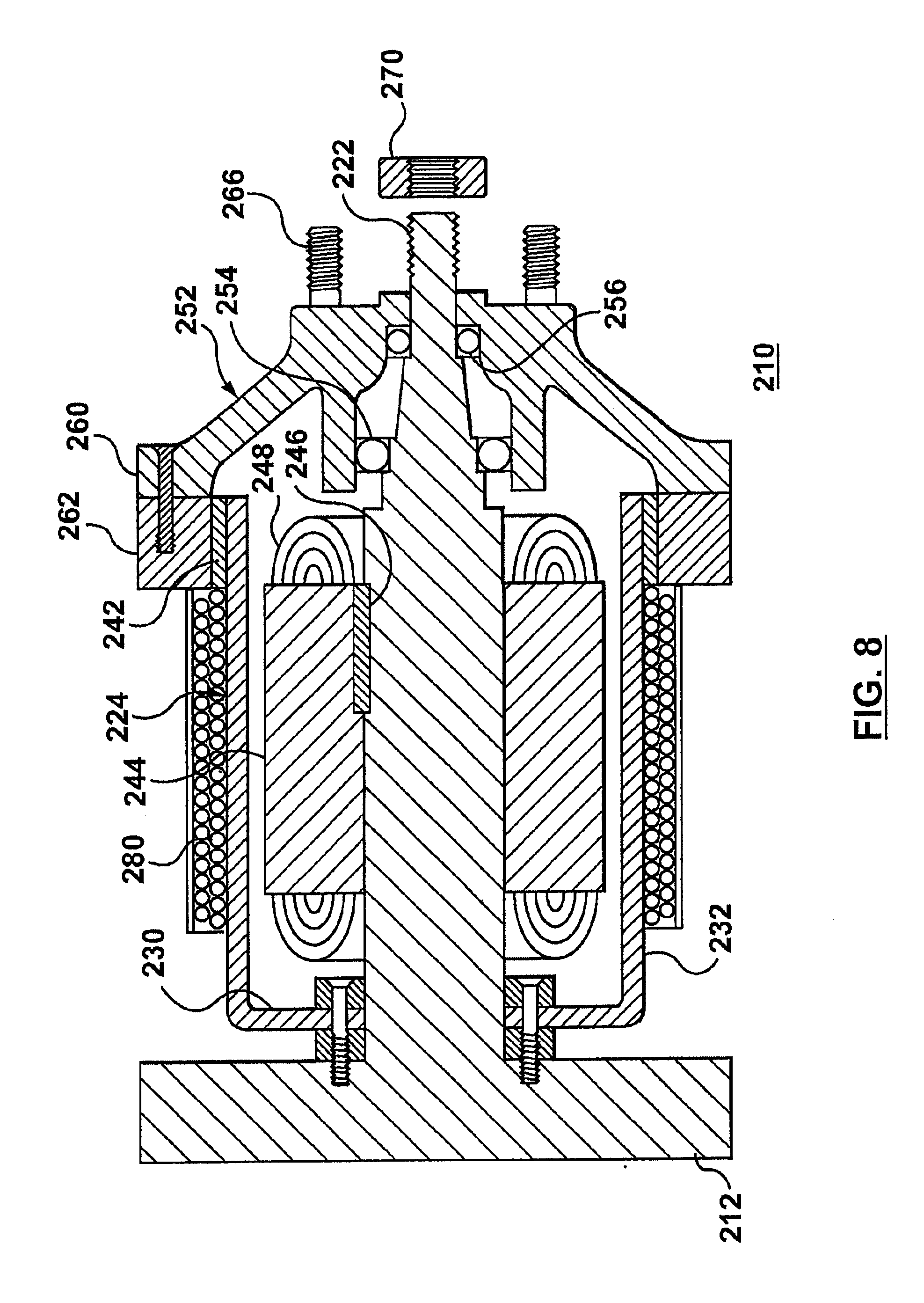
[0001]

This invention relates to a high torque low speed motor, which as part of its construction contains a electromagnetic permeable cup, which is elastically distorted by the influence of a electromagnetic field. This cup has the classical shape of an open-ended tin can in which a cylinder and generally an end disc are integrally connected. The open end of the cylinder incorporates a band gear having radially extending teeth, which is also capable of undergoing elastic deformation as the cylinder of the cup is deformed. When the magnetically permeable cup is exposed to a rotating magnetic field, an elastic distortion is produced, which manifests itself as a wave phenomena progressing around the open end of the cup. That is the open end of the can assumes the shape of an ellipse (two-lobed) or tricom (three-lobed), or (four-lobed) shape, which continues to rotate about the longitudinal axis of the cup.

[0002]

The open end of the cup on which the band gear is located is made to contact a gear in close proximity to the cup (which gear does not undergo any significant distortion) and which is contacted by said gear for example at two opposing points at the ends of the major axis of the elliptical shape assumed by the cup and band gear combination, or the protruding nodes of the other shapes.

[0003]

The band gear and the contacting gear have teeth, which mesh; both sets of teeth have the same pitch but differ in number. As the distorted shape of the end of the cup sweeps around the central axis of the cup, the radially extending teeth of the band gear progressively engage different teeth of the contacting gear; and because of the differing number of teeth on the two gears, relative rotation of the two gears occurs. This gearing phenomenon is well known and is usually referred to as strain wave gearing.

[0004]

An alternative form of construction embodies a composite materials flexispline of open cylinder form, open both ends, and rotatively fixed by means of integral male longitudinal splines. These splines mating into similar female splines formed in the circumferential surface of the internal electromagnetic core, this allows band gear teeth radial movement but prevents flexispline rotation, while permitting signifigantly greater torque transfer with a low distributed pressure. This mating spline arrangement may also be applied beneficially to the one closed end cup construction of paragraph 1 above.

BACKGROUND OF THE INVENTION

[0005]

The principles of strain wave gearing or flexispline drives are well known and are discussed in U.S. Pat. Nos. 2,906,143 (Sep. 29, 1959) and 2,931,248 (Apr. 15, 1960) issued to Musser. There the underlying principles involving the continuous oscillatory contact of a flexible spline (flexispline) with a ring gear to produce a rotational output from the ring gear are discussed in some detail. A torque is produced in the ring gear by the continuous elastic deformation of the flexible spline's gear tooth ring by a cam device called a strain inducer to cause the teeth on the flexispline to be driven into sequential engagement with the teeth of the ring gear.

[0006]

Because the fixed flexispline and the ring gear have a different number of teeth, the ring gear is forced to rotate a distance equal to the small tooth difference (generally two teeth for elliptical distortion) between the flexispline and the ring gear for one revolution of the strain inducer.

[0007]

Providing that the number of teeth on the flexispline and ring gear is large and the tooth differential is small between the flexispline and the ring gear (as it usually is), a tremendous gear reduction ratio can be realized between the rotation of the strain inducer and the ring gear. The output torque is developed from the continuous sequential meshing of the teeth of the flexispline with the ring gear and is proportional to the inverse of the gear ratio. This torque is generated by the rotating strain inducer, which is constantly distorting the flexispline to engage the ring gear in a sequential manner.

[0008]

Since 1959, a number of electromagnetically distorted strain wave gearing units have been produced in which a permeable magnetic cup was distorted by an electromagnetic force to produce rotation of the flexispline cup. Various materials, and configurations of the materials, forming the magnetic cup were attempted with varying degrees of success. Generally speaking, these devices have been limited to relatively low output torque and power driving motors and stepping motors.

[0009]

The size and shape of the unit may change, but the continuous sequential multiload distortion of a flexible cylinder is always present to produce output rotational motion at modified speeds and torques. It is a prime objective of the present invention to extend the application of this electromagnetically driven flexispline technology into applications requiring significantly greater and efficient output torque and power.

SUMMARY OF THE INVENTION

[0010]

This invention relates to a low speed high torque motor, which contains as part of its construction a magnetically permeable sleeve (flexispline). Preferably, the sleeve in its non-deformed shape is cylindrical, but when under the influence of an electromagnetic field becomes distorted into an multi-lobed shape. Both the flexispline and the stator core of the motor remain rotationally stationary during operation of the unit.

[0011]

The sleeve itself is preferably anchored to a cylindrical electromagnetic core by means of a bolted flange arrangement or interlocking splines, which facilitate torque transmission and prevent rotation of the sleeve, but allow it to undergo a cross-sectional shape distortion from a circle to the multi-lobed shape.

[0012]

The electromagnetic core preferably is provided with a series of axially extending grooves (slots) on its surface which lock into complementary splines on the inside of the surface of the flexispline sleeve. The grooves of this magnetic core may also house the stator windings which produce the electromagnetic field in the motor.

[0013]

One part of the sleeve is provided with gear teeth which may be integrally formed in the sleeve surface or it may be a band fixed to the surface of the sleeve by some acceptable means. The band gear is also distorted by flexing motion of the sleeve to undergo the same distortion as the sleeve, and is preferably constructed from low elastic-modulus materials, such as polymer composite or hard coated magnesium or aluminium alloy.

[0014]

The band gear of the sleeve meshes with another gear which, at rest, preferably is spaced very close to but not necessarily engaging the band gear. The band gear and the enclosed gear have the same tooth pitch, but the tooth number are deliberately made to be different for the two gears.

[0015]

Upon excitation of the electromagnetic core, the sleeve undergoes wave distortion as does the band gear and the distortion of the band gear causes the band gear teeth to engage the teeth of the other gear at corresponding points. As the distorted sleeve shape sweeps about the other gear, the tooth engagement progresses around the said gear and because of the difference in the number of teeth on the two gears, the said output gear rotates in greatly reduced motion, with respect to the rotating excitation magnetic field.

[0016]

The flexispline and the stator core comprise an electromagnetic system for which a rotating magnetic field is generally produced by a set of preferably inverted stator windings placed inside the flexispline which in turn produces a magnetic flux to distort the flexispline. In this instance the stator windings are carried by the central core or that part of a conventional electric motor which is usually occupied by the rotor. These stator windings may be formed using superconducting cooled wire such as provided by American Superconducting Corporation.

[0017]

Preferably, the stator core comprises a body of laminated magnetic material or its equivalent to enhance the concentration of the magnetic field produced by a set of windings carried by the stator core.

[0018]

These stator core windings are made to produce and concentrate a rotating magnetic flux which preferably passes from the core, across an airgap, then into the flexispline, splits, and returns to the core. This magnetic flux preferably is produced by passing a programmed commutated modulated current through the core windings. The resultant magnetic flux produces a rotating concentrated radially directed force of variable speed.

[0019]

The stator core itself is preferably mounted on a sturdy stationary central post which may be hollow and comprised of an electrically resistive (ohmic) magnetic material which serves to provide a rigid mounting means for the ring gear hub and any external load carried by the hub at the end of the post. The hub is mounted on the post so that the ring gear provided in the hub enjoys a close concentric relationship with the stator core and the flexispline. Preferably, a set of thrust bearings assures that the coaxial relationship of the core and the ring gear is maintained during rotation of the hub.

[0020]

The hub may be connected to an output shaft or a screw actuator to produce rotational or linear motion. It may also be mounted within a wheel of a vehicle to provide power to drive the wheel. When the device of this invention is mounted within a wheel, the shaft may also support the cantilevered vehicle load on the extended shaft and bearings. Thus reducing an equivalent parts count.

[0021]

Some differences over the prior art may be noted.

  • 1) The stator core is surrounded by the distorting flexispline, and
  • 2) The flexispline itself provides a return path for the magnetic flux. This improves the applicability of this device to more diverse applications and allows the flexispline diameter to be increased substantially over the prior art motors. These features make it possible to increase the output torque, power and efficiency of the device over the prior art models.
  • 3) The flexispline itself does not rotate during operation of the motor.
  • 4) The stator windings are designed to maximize the radially directed force vector, which is responsible for causing engagement of the band gear and the enclosed gear, and hence to maximise torque output.
  • 5) The use of a composite or wire/tape wound under tension with locked in radiat pressure over metal flexispline. Flexispline also reduces flexispline distortion stiffness, which increases torque output and efficiency. (Ref. Advance Mechanics of Materials seely. Smith Wiley Page 608)
  • 6) The use of a splined interlocking flexispline arrangement dispenses with the need for a closed-ended cup assembly to transfer output torque, and/or reduces the torsional stiffness requirements of same.
  • 7) The large diameter flexispline, allows flexispline distortion with a reduced radially force, and permits more redially multi-lobed distortion.
  • 8) The multi-lobed flexispline distortion capability, allows for potential effective gear ratio change electromagnetically, on line during operation.
  • 9) Rectangular profile cross section electromagnetic core teeth, increase the radial force in a major way over dumbbell shaped teeth employed in previous flexspline motor excitation systems.
  • 10) Variable with electromagnetic core teeth reduce the magnetic flux saturation levels in the teeth thus increasing torque and power output.
  • 11) Previous flexispline motor technology employed relatively thin walled flexisplines of generally poor magnetic permanances the present invention calls for relatively thick walled flexisplines(in some cased ranging from 0.25 to 0.5 inches and greater as required)of high magnetic permanence such as Carpenter Hypeco 15.
  • 12) The relatively thick walled flexispline of this invention provides a major return path for the magnetic flux, thus maximizing torque/power output.
  • 13) The preferred embodiment of this invention in terms of flexispline and output ring gear orientation (interal teeth of flexispline contacting output ring gear at point of radial force application)as shown in FIG. 7 confersan approximate 10% advantage over the alternative(external teeth on flexispline contacting ring at 90° phase lag from point of radial force application) In terms of flexispline diameterial deflection per unit radial force.
  • 14) The control circuitry and commutation strategy such as FIGS. 31 and 32 is ver important to the proper functioning of flexispline motors specified in the paten application. However, there is no present evidence that such have been applied before in the strain motor context. Otherwise, the negative torque due to declining inductance cancels out most of the positive torque due to increasing inductance.

PRIOR ART

[0000]

US Pat. No. 2,906,143 Musser Sep. 29 1959:

[0036]

This patent describes in detail the principles of strain wave gearing using a mechanical strain inducer to distort the flexispline. At FIGS. 54 and 55 Musser briefly describes a method of operation of a flexispline device driven by a polyphase electrical input and a series of electrical solenoids.

[0000]

U.S. Pat. No. 3,169,201 Spring et al Feb. 9, 1965:

[0037]

This patent describes a flexispline motor having an external stator (which is stationary) comprising a number of circumferentially distributed salient poles (axially aligned solenoid pole pairs) having an adjacent ring gear also mounted in the stator adjacent the poles.

[0038]

A flexispline rotor is attached to a shaft and is mounted for rotation within the stator and is provided with extemal gear teeth on the exterior surface thereof to mesh with a ring gear encircling the flexispline. The flexispline rotor is provided with a radial series of magnetically permeable axially aligned laminations mounted under its surface and allowed to pivot about one end (acting as a lever). These laminations are fastened to a rotor fulcrum ring and encouraged to pivot when subjected to a radial magnetic, force. A substantial mechanical advantage results. Upon actuation by a sequentially pulsed rotating magnetic field, the laminations pivot outwardly to cause the flexispline to distort and contact the surrounding ring gear. This causes rotation of the flexispline rotor and its attached shaft (in a direction opposite the direction of the rotating magnetic field). The rotor thus moves in accordance with the tooth differential existing between the ring gear and the flexispline gear giving rise to substantially reduced rotational motion at the output.

[0000]

U.S. Pat. No. 3,496,395 (Newell Feb. 17 1970):

[0039]

In one described embodiment of this technology, a stator is supplied with a set of windings to produce a rotating magnetic field. The stator comprises a series of stacked laminations which not only serve to provide a mounting system for the windings but also serve to provide a surface for attaching a stationary co-axial ring gear in the air gap between the stator and the flexispline rotor. The stationary ring gear has internally extending teeth which are engaged by the flexispline rotor externally extending teeth as it is distorted by a rotating magnetic field.

[0040]

The flexispline rotor in this instance is a thin (which limits the magnetic flux through it) flexible magnetically permeable hollow cylinder having ends closed by membranes which support and allow deflection of the cylinder but limits the magnetic flux flow through it.

[0041]

A shaft is made to pass through the central axis thereof. The closed ends of the flexispline cylinder are fastened to the shaft so that any rotation of the flexispline is transferred to the central shaft.

[0042]

The rotating flexispline is provided with a gear which is mounted or formed in the surface thereof to contact the internally extending teeth of the stationary ring gear.

[0043]

The magnetic flux produced by the stator windings passes into and returns from the hollow flexispline tube to produce a magnetic attraction force. Thus the circular shape of the cylindrical flexispline tube is distorted outwardly to force the teeth of the flexispline into engagement with the teeth of the stationary ring gear. The flexispline rotor thus rotates according to the tooth differential of the two sets of meshing gears, but in the opposite direction to the rotating magnetic field.

[0044]

The major focus of this patent is to produce a biased coiled magnetically permeable flat strip within the flexispline rotor to enhance the magnetic attraction between the flexispline and the stator and to reduce edge effect discontinuities which effect the position controlaccuracy in a servomotor positioning application.

[0000]

U.S. Pat. No. 3,169,202 Proctor et al Feb. 9, 1965:

[0045]

This patent describes a flexispline motor having a fixed external stator in which conventional three phase induction windings and a stationary ring gear are mounted. A flexispline having pockets of powdered iron arranged beneath its surface, is influenced by a rotating magnetic field to distort under the attractive force of that field. This causes engagement of the flexispline gear with the stationary ring gear to produce motion in accordance with the tooth differential of the flexispline gear and the ring gear.

[0046]

Various rotor constructions are shown in this patent, all designed to enhance the magnetic force attraction produced in the rotor by the magnetic field.

[0000]

U.S. Pat. No. 3,609,423 Spring Sep. 28,1971:

[0047]

This patent proposes the use of a tapered coil of flat flexible magnetic material beneath the flexispline to enhance elasticity and magnetic force attraction of the flexispline. The magnetic material is strategically slotted axially to decrease eddy current circulation.

[0000]

U.S. Pat. No. 5,691,584 Nov. 25, 1997:

[0048]

This patent is an excellent example of the state-of-the-art electrically driven vehicle in which a drive motor is located within the wheel and is connected through a double reduction gear transmission to produce a high driving torque.

[0000]

U.S. Pat. No. 5,600,191 Feb. 4, 1997:

[0049]

This relatively recent patent describes a driving assembly for a wheel In which low torque requirements are produced by an inside-out motor where the stator carries permanent magnets.

[0000]

U.S. Pat. No. 4,389,586 Jun. 21, 1983:

[0050]

This patent describes a driving arrangement for the wheel of a very large off-the-road vehicle. A DC motor drives the wheel through a double reduction gear train.

LIST OF THE DRAWINGS

[0051]

FIG. 1 is a cross sectional view of a flexispline motor.

[0052]

FIG. 2 is a cross sectional view of alternative construction to FIG. 1.

[0053]

FIG. 3 is an exploded perspective of view of the device of FIG. 1.

[0054]

FIG. 4 is an exploded perspective view of the device of FIG. 2.

[0055]

FIGS. 5A, 5B, 5C show the distortion of the flexispline of FIG. 1 as the magnetic field rotates.

[0056]

FIGS. 6A, 6B, 6C show the distortion of the flexispline of FIG. 2 as the magnetic field rotates.

[0057]

FIGS. 7, 8, 9, 10 show alternative constructions for flexispline motors.

[0058]

FIG. 11 is a sectional view of a flexispline and core shown at 6-6 in FIG. 1 and FIG. 2.

[0059]

FIG. 12 is an illustration of the flux flow of a conventional polyphase sinusoidally excited flexispline motor having internal and external core assemblies, with dumbbell-shaped stator core teeth.

[0060]

FIG. 13 shows a core punching component of a purposed flexispline motor, with straight stator core teeth, and concentrated magnetic flux

[0061]

FIG. 14 shows a winding configuration for a core composed of the punchings of FIG. 13.

[0062]

FIG. 15 shows the flux pattern for a flexispline core similar to FIG. 14.

[0063]

FIG. 16 shows a typical current flow in the four phases of winding assembly shown in FIG. 14.

[0064]

FIG. 17 is a representation of an eight legged magnetic core alternative less expensive structure.

[0065]

FIG. 18 is a perspective view of a winding shaped to fit over one of the core legs of FIG. 17.

[0066]

FIG. 19 is an illustration of the core of FIG. 17 fitted with the coils of FIG. 18.

[0067]

FIG. 20 is a simplified wiring circuit for the core of FIG. 17.

[0068]

FIG. 21 shows the typical flux distribution for the wired core of FIG. 20.

[0069]

FIG. 22 shows an illustration of a double core switched reluctance flexispline motor.

[0070]

FIG. 23 shows a flexispline motor of a tricornal flexispline configuration.

[0071]

FIG. 24 shows the motor of FIG. 23 with one set of poles energized.

[0072]

FIG. 25 shows the motor of FIG. 23 with a second set of poles energized.

[0073]

FIG. 26 shows the motor of FIG. 23 with a third set of poles energized.

[0074]

FIG. 27 shows a preferential wave form for current supplied to the excitation poles of the motor of FIG. 23.

[0075]

FIG. 28 is an exploded view of a splined flexispline motor.

[0076]

FIG. 29 is a cross sectional view of the assembled motor of FIG. 28.

[0077]

FIG. 30 shows an alternative flexispline motor arrangement, having in-board bearings.

[0078]

FIGS. 31A, 31B, 31C, 31D describe, in blockdiagram form, control circuitry adaptable for control of switched-reluctance versions of flexispline motors.

[0079]

FIG. 32 describes the commutation strategy for the flexispline motors.

THE PREFERRED EMBODIMENTS

[0080]

Referring now to FIGS. 1 and 3 in which wheel motor 10 is shown as a cross section FIG. 1 and as an exploded view in FIG. 3. The motor 10 is mounted on base plate 12, which in this illustration is provided with four threaded holes 14. The number of threaded holes depends on the application; there may be more or less holes 14 depending on the required output. A sturdy post 16 (which is preferably hollow, magnetic and of a high ohmic resistance) is mounted on base plate 12 so as to project orthogonally therefrom.

[0081]

Post 16 is provided with keyway 18 and wheel bearing mounting segment 20. Post 16 terminates in a threaded end 22.

[0082]

A somewhat cup-shaped flexible sleeve 24 (flexispline) is mounted on base plate 12 between a pair of spacers 26 by means of screws 28 so that it may not rotate. Sleeve 24 has a closed end 30 (which may be of somewhat heavier construction than the cylindrical upstanding portion 32) which is integrally attached to end 30.

[0083]

Sleeve 24 has an open end 34 remote from end 30. The end 30 of flexispline 24 has a locating hole 36 provided therein to guide the flexispline along post 16 during installation, and the opening 36 serves to centre and locate the flexispline 24 on base 12 so that the holes 38 and 40 in the spacers 26 and end 30 of flexispline 24 may be easily aligried with threaded holes 14 of base plate 12 for ease of assembly and to maintain gearing tolerances.

[0084]

The cylindrical upstanding portion 32 of flexispline 24 is provided with an external toothed gear 42 at or near the end 34 of flexispline 24. The flexispline 24 (in this instance) is composed of a highly permeable magnetic material having a high magnetic saturation level, as well as exhibiting a high resistance to eddy current circulation.

[0085]

A suitable material for flexispline 24 for this application would be iron or iron alloys including steel silicon, nickel and/or cobalt alloys(such as Carpenter HyperCo 15). The cylindrical shell 32 is purposely made to be readially distorted so that its usual shape (that is to say, its undeformed and undistorted shape—which is a cylinder) may be distorted to take on a multi-lobed shape(when compelled by the magnetic force to change from its normal shape).

[0086]

The deflection of the wall 32 of the flexispline 24 may be determined by the following equation:
P=K.ΔD.t3.E/r3
where

  • K=a constant
  • ΔD=diametrical deflection of cup (approximately twice the gear tooth height)
  • P=radial distorting force
  • L=axial length of the cup
  • t=wall thickness
  • E=flexural modulus (or composite flexural modulus)
  • r=radius of sleeve
    Thus the ratio (t/r)3

[0094]

One of the characteristics which should be determined with respect to the flexispline 24 before degree of deflection force is finally determined, is the amount of torsional twisting (shear stiffness) the flexispline 24 must withstand during operation (a function of the output load torque). The spline (or band) gear 42 mounted or formed on the outer surface of the sleeve will have a significant influence on the sleeve stiffness, which should therefore be minimised. Equation (1) above will also apply to the presence of spline gear 42 on flexispline 24 as well. In addition, it may be found that it is necessary to coat spline gear 42 with a hard coating to improve its wear characteristics, and to incorporate the interlocking splines of FIG. 28. This will reduce torque transmission shear requirements of the flexispline.

[0095]

The flexispline 24 is mounted on base plate 12 by sliding it along post 16 until holes 38 and 40 line up with threaded holes 14. Countersunk screws 28 are threaded through holes 38 and 40 into the threaded holes 14 to hold the flexispline 24 finely between spacers 26 against base 12.

[0096]

Next a magnetic core 44 is slid into place on post 16 and is rigidly mounted and located on post 16 in its home position and held in this location (in this instance) by means of key 46 in keyway 18. A corresponding keyway (not shown) is formed in core 44 to complement the keyway 18 formed in post 16.

[0097]

Core 44 is supplied with a winding 48 which is wound in core slots 50 formed in the surface of core 44 in such a manner as to provide the rotating magnetic field when energized. This field ultimately causes the flexure of the wall 32 of flexispline 24.

[0098]

A switched reluctance motor type field winding (for example four phase two rotor pole, or six and three phase with three rotor poles) along with appropriate control circuitry and communtation, such as depicted in FIGS. 31 and 32, may be used to provide the necessary deflection of the sleeve 32 of flexispline 24. The field winding may also be comprised of cooled superconducting wire as manufacture by American Superconductor Corporation USA.

[0099]

Next a hub 52 (on which a vehicle wheel.may be mounted) is rotatably journalled on post 16 by means of thrust bearings 54, 56 which are mounted on bearing segment 20 of post 16. In this instance, hub 52 is a robust casting having a similar shape to a truck or automobile wheel hub and brake drum assembly.

[0100]

Hub 52 is provided with a pair of bearing recesses to receive a pair of thrust bearings 54 and 56 therein to assure that hub 52 is firmly locked into position and rotates concentrically with the axis of post 16.

[0101]

Cylindrical shell 60 of hub 52 is provided with a cantilevered shell portion 62 which is provided with an internal spline gear 64. Gear 64 is made to have teeth which mesh with the teeth of spline gear 42 of flexispline 24 but the teeth comprising gear 64 are intentionally made to be different in number than the teeth in spline gear 42, but having the same pitch.

[0102]

Hub 52 may be provided with a series of studs such as 66 for mounting a wheel rim thereon.

[0103]

Referring now to FIGS. 5A, 5B, 5C, and FIGS. 6A, 6B, 6C, motor 10 is represented in cross section as taken along the axis of post 16, showing the distortion of flexispline 24 as the magnetic flux rotates about the axis of motor 10. Note that core 44 and flexispline 24 are rotationally stationary, but gear 64 is forced to rotate in the same direction as the rotating magnetic field.

[0104]

The magnetic material comprising flexispline 24 is attracted to core 44 at the points where the magnetic flux emanating from core 44 is greatest. At a point lagging by 90° mechanical the interior surface of flexispline 24 is usually designed to be in close proximity to the exterior surface of core 44.

[0105]

The rotating elliptical shape of flexispline 24 may in time produce wear on the surface of core 44 even though flexispline 28 and core 44 have no rotational motion (both are stationary). Flexispline teeth 42 oscillates about their own axis with a very small amplitude.

[0106]

Because of this it may be necessary to provide the contacting surfaces of flexispline 24 and core 44 with a lubrication, which may be in the form of a solid lubricant incorporated in the surface of core 44. Core 44 may be fabricated from electrical iron laminations stacked to the desired length, or core 44 may be a composite, having finely divided particles of a magnetic material encapsulated in a polymeric substance. The latter composite provides a material having good magnetic permeability characteristics, while providing excellent resistance to the flow of three dimensional eddy currents. The composite core just described also provides a surface in which it is quite possible to incorporate a solid lubricant to reduce frictional losses (which leads to less production of heat in the core), and also to help dampen any vibrations due to system resonances.

[0107]

FIG. 2 shows the modification of the device of FIG. I wherein the ring gear (62 of FIG. 1) is equivalent to gear 162 located on the interior of flexispline 124. The core 144 is provided with winding 148 to provide the magnetic attraction of flexispline 124 toward core 144. The basic difference in operation of the devices of FIGS. 1 and 2 is that the flexispline 24 of FIG. 1 contacts the ring gear 62 at an angle of 90° from the point of maximum flux force produced by core 44, whereas the point of contact of flexispline 124 (FIG. 2) with ring gear 162 is coincident with the maximum flux force produced by winding 148 on core 144 in FIG. 2. This results in approximately 10% reduction in required flexispline deflection force for the same defleciton.

[0108]

FIGS. 4 and FIGS. 6A, 6B, 6C similarly describe the motor 110 of FIG. 2.

[0109]

FIGS. 7 and 8 show an enhancement for the devices of FIGS. 1 & 2. Most of the components of FIGS. 7 and 8 are identical to the components shown in FIG. 1 and FIG. 2.

[0110]

A flexispline 244 is mounted on base 212. Core 244 carrying winding 248 is mounted on post 216 and locked in place with key 246.

[0111]

The major difference is the presence of a multi-layer wire and/or metallic tape winding 280 on the surface of flexispline 224. Winding 280 in this instance is shown having a circular cross section and is wound as a helix around flexispline 224. The winding 280 comprises a magnetic material to enhance the magnetic attraction of the flexispline 224 to core 244, to minimize the generation of eddy currents, and to increase flux flow area. In this context it is important to control the winding tension in such a manner so as to maximize the locked in radially stress (or pressure). This intern reduces the required flexispline distortion force. An alternative means of achieving this locked in radially stress is to shrink fit a collar or band of magnetic material around the solid or wound flexispline. Other alternatives include band type clamps with appropriate choice of flexispline cylinder geometry and locked in radial stress iti is possible to approach the critical buckling stress of the multilayered wound cylinder with 2,3, or 4 modal (lobar) buckling modes. Thus reducing the required flexispline radial deflection force.

[0112]

The winding 280 may be wound and bound to the surface of the flexispline as in a filament winding process or as a preformed coil, which acts as the flexispline. In either case the objective is to minimize the stiffness of the flexispline-coil combination (to keep the distortions stiffness down to a acceptable level, whilst maximizing the area for the flow of magnetic flux).

[0113]

To obtain a better fill factor and reduce the effect of radial air gaps in the wire layers, the wire comprising the winding 280 may have a square or rectangular cross section. Suitable compositions for the wire or tape comprising winding 280 are; Carpenters silicone iron B, HyperCo 15, or Honeywell amphorous metal 2605C0.

[0114]

The turns of winding 280 should be insulated (preferably on the axial facing only) from each other to reduce eddy current flow in winding 280, usually the polimar binding formed on the turns comprising winding 280 is sufficient for this purpose. If not, an oxide or phosphate can be added to same. Note that there is no electrical continuity between the wire layers because the, wire ends at both ends of the flexispline 224 and thus forms an open circuit.

[0115]

It may be expected that by the judicious selection of the magnetic material and the polymeric material binding the multilayer wire or tape forming winding 280 of motor 210, that the distortion stiffness of the combined metal flexispline 224 and winding 280 may be reduced by a factor of 3 or more in comparison with an equivalent solid metal flexispline. Similarly, increasing the helical wire-winding angle will also reduce the distortion stiffness of the flexispline. In this context it is important to control and lock in the winding tension in such a manner so as to maximise the locked in radial stress(or pressure), which in turn reduces the required flexispline distortion force. Analtemative means of achieving this locked in radial stress is to shrink fit a collar or band of magnetic material around the solid or wound flexispline. Other alternatives include band type clamps. With appropriate choice of flexispline cylinder geometry and locked in radial stress it is possible to approach the critical buckling stress of the multilayered wound cylinder with 2,3 or 4 modal (lobar) buckling modes. This reduces the required flexplined radial deflection force.

[0116]

A flexispline motor 310, which is a modification of the flexispline motor 10 of FIG. 1, is shown having a composite cup 324 in FIG. 9. The cup 324 is composed of a composite of magnetic powder filled polymer or a polymer bound wire or tape wound magnetic material bonded to flange 345, which now functions as a torque transmission agent and fulcrum (lever pivot point) for the electromagnetic deflection of flexispline 324. Alternatively, the open-ended flexispline cup concept of FIG. 28, 29, 30. May be adapted.

[0117]

A set of locking pads 370 and braking pads 372 are shown for arresting motion of the flexispline 324 and rotation of hub 352 if required.

[0118]

In FIG. 10, a flexispline motor 410 is shown mounted on base 412. A quill 416 is firmly mounted on base 412. A magnetic core 444 is securely mounted on quill 416 by means of key 446. Field excitation windings 448 are wound on core 444.

[0119]

The end 430 of flexispline 424 is firmly attached to baseplate 412 by means of spacers 426 and screws 428 as to be coaxial with quill 416 in its rest position. At the remote end 434 of flexispline 424 is a band gear 442, which encircles the open end of flexispline 424 on the exterior surface thereof.

[0120]

A driven element 452 is mounted in bearings 454 and 456 inside quill 416. Driven element 452 comprises a disc 470 attached to shaft 472 which extends through base 412 to form sharp projection 474, and disc 470 may carry wheel studs such as 476 or a shaft extension such as 478 (in the absence of studs 476).

[0121]

This construction allows the flexispline motor 410 to be adaptable to drive a load from either or both ends simultaneously.

[0122]

An overwrap winding similar to winding 280 may be incorporated into the structure of flexispline 424 to improve its magnetic characteristics. Of course, the motor structure may take the form of the flexispline motor in FIG. 2 wherein the flexispline 424 would surround the ring gear.

[0123]

FIG. 11 is a representation of the Section 6-6 shown in FIG. 1. The flexispline 24 is shown surrounding the core 44. Three windings 48a, 48b and 48c comprise winding 48. This is a three phase, sinusoidally-distributed, winding, which is a traditional winding. The three phase windings 48a, 48b and 48c are distributed about the core 44 in a well-known. manner. This winding, will serve to deflect the flexispline in the manner described previously. Variable speed and torque control of this winding version can be achieved by means of commercially-available modified electronic A.C. induction-motor controllers. However, the resulting output power, torque and efficiency tend to be disappointing.

[0124]

FIG. 12 shows the flux distribution for a flexispline motor having a polyphase two pole winding such as FIG. 11 excited by a sinusoidal signal. The core 44 is surrounded by a flexispline 24 (and in this instance an additional flux return path is provided by outer cylindrical core 45).

[0125]

It is to be noted that the flux traverses the entire core 44 thus core losses are inevitable where the flux passes in and through hub 47. The windings 48a, 48b, 48c, have bulky end turns (which occupy an inordinate amount of space) at each end of the core 44. This also gives rise to substantial energy loss and heat generation in the stator core and the end windings of 48a, 48b, 48c. Additionally, the dumbbell shaped stator teeth significantly reduce the applied radial distortion force. For these reason and other commutation problems, polyphase excitation winding are not the preferred embodiment for this invention.

[0126]

It is proposed to use the core composed of stacked punchings such as those illustrated in FIG. 8 to excite the flexispline for some of the alternative embodiments of this invention. FIG. 13 shows a core punching 344 having an even number of core teeth but the teeth of the punching are shown having variable widths. Core teeth 350, 352, 354, 356, 358, 360, 362, and 364 each have two teeth such as 366 and 368 interspersed there between. The core 344 is symmetrical in that this pattern is repeated throughout the core 344.

[0127]

FIG. 14 shows core 344 having a four phase 2 pole, reluctance motor type winding wound thereon which will be excited by a switched D.C. 4 phase excitation having each phase separated by 45° mechanical.

[0128]

Since the windings and core 344 are symmetrical, only one phase will be described in detail. Tooth 352 is supplied with a winding 400 which surrounds only the tooth 352. Winding 400 is connected in a series. bucking relationship (to ensure opposite magnetic flux flow directions) with winding 402 on opposing tooth 360. These windings are energized between terminals A-A1. A pair of windings 404 and 406 are wound on core 344 to encompass teeth 368,352,370 and 384,360,386 respectively. These windings are energized simultaneously with windings 400 and 402 to produce more concentrated flux in the area of teeth 352 and 360.

[0129]

The other three pole pairs are energized in 45 degree increments sequentially to move the flux pattern around through 360° to cause a wave deflection of the flexispline.

[0130]

FIG. 15 shows the flux flow pattern for the coils 400, 404, 402 and 406 on dumbbell shaped non variable width core teeth 352, 368, 370, 360, 384 and 386 being fully energized with the coils surrounding teeth 350, 366, 396, 380, 358 and 382 being partially energized. Note that the flux flow pattern is completely different from that illustrated in FIG. 12. The greatest concentration of flux is in teeth 352 and 360 which is shown linking adjacent teeth 350 and 358 instead of passing through the core hub as shown in FIG. 12. Also, the dumbbell shaped core teeth reduce the pole tip magnetic flux density and thus reduce the applied flexispline delfection force in a major way. For these reasons variable width straight teeth are the preferred embodiment.

[0131]

The energizing currept for the coils is illustrated schematically in FIG. 16. This current wave form is a switched DC current produced for each set of pole pair windings such as 400, 404, 402, 406 which produces a gradual rotational distortion of the surrounding flexispline. Without the overlap of the various phase currents in the windings of the core as shown in FIG. 16 the distortion of the flexispline tends to occur in discrete steps. Additionally, this overlap (phase advance) has to increase with increasing output rotational speed to compensate for the field coil flux build up time constant. Of much greater importance however, is the current cut off point (current pulse trailing edge), when the field coil current reverses direction to discharge stored energy this results in negative torque and the current must be cut off. The appropriate control strategy is shown in FIG. 32 resulting in a truncated current wave form. This control strategy is effected by the circuitry of FIG. 31, accompanied by appropriate commutation signals generated for instance by Hall effect devices.

[0132]

The frequency and amplitude of the various currents should be controlled to adjust the speed and radial force of the distortion wave of the flexispline. Suitable circuitry in block diagram form adaptable to achieve such control is shown in FIGS. 31A, 31B, 31C, 31D (Ref. Texas Instrument Literature in BARA058 July 1977)

[0133]

While windings such as 409, 402, 404, 406, etc., will function to cause the desired continuous wave distortion of the flexispline 24 of the motors 10, 110 and 210. However, there are some more less expensive windings which are capable of producing the distortion of the flexispline with less input energy to the magnetic system, and are adaptable to 2, 3, or 4 lobe flexispline distortion.

[0134]

FIG. 17 shows a magnetic core 524 for a flexispline motor application such as shown in FIGS. 1, 2, 7 and 8 in which the core is energized in a completely different manner than the core coil system shown in FIG. 11. FIG. 17 represents a partial perspective of a core to be used in a Switched Reluctance type Magnetic System. The core 524 comprises a hub 526 and spokes 528 arranged in a spaced configuration comprising stacks of laminations to produce, in this instance, a magnetic core having eight poles.

[0135]

FIG. 18 shows a typical winding coil 530 for any of the legs 528 of the core 524. Winding 530 is made to slip over the. selected leg 528 of core 524. Each pole 528 is fitted with a formed coil such as 530. In all there will be eight such coils 530 placed over the individual of the core 524, for four or eight phase excitation, and two or four flexispline rotor poles (similarly six coils/poles for three phase excitation with two or three rotor poles). Such arrangements allow the potential for electromagnetic gear change ratio on the fly.

[0136]

FIG. 19 shows the core 524 having coils 530 placed over each leg; note the wiring sequence. Coil 530 which is placed on the ØA leg of core 524 produces flux in the opposite direction as its series connected mate ØA1. The actual winding configuration for 2 poles is shown more simplistically in FIG. 20. Here the magnetic flux produced in legs ØA and the ØA1 is in direct opposition in the core. The remaining pairs of the six remaining poles are connected in pairs in a similar manner to ØA and ØA1. With each successive pole coil pair being wound in opposite magnetic flux flow directions to the previous pair.

[0137]

FIG. 21 is a representation of the flux produced in the four phase switched reluctance core 524. Note how the flux produced in the ØA and ØA1 legs of core 524 is in direct opposition. The flux produced in the ØA divides and splits to link the ØB and ØD1 legs. Similarly the flux produced in the ØA1 let splits and links the ØD leg and ØB1 leg. None of the flux produced in the ØA leg links the ØA1 leg as in the conventional sinusoidally distributed winding illustrated in FIG. 11, thus reducing magnetic flux saturation requirements. However it is obvious from FIG. 21 that the flexispline thickness should be increased to accommodate flux flow similar to the core teeth.

[0138]

Energization of the coils ØA, ØB, ØC, ØD is straightforward. The complementary coils ØA and ØA1 are connected in series opposition, as are the balance of the coils. A four phase switched D.C. power supply is therefore required to produce a magnetic field which results in the production of a continuously moving distortion of the flexispline. The.power supply should have both magnitude and frequency control to produce an output suitable for driving the flexispline motor for variable speed operation. Along with appropriate commutation as shown in FIG. 32.

[0139]

FIG. 22 shows a representation of a double core switched reluctance type flexispline motor 600. Here an inner core 624 is provided with eight protruding poles (similar to core 524) numbered 632, 634, 636, 638, 640, 642, 644 and 646. Poles 632-646 are energized in exactly the same manner as poles ØA-ØD etc. of FIG. 19 with coils 648-660 being energized so that the flux produced in opposing poles (such as 636 and 644) is bucking.

[0140]

All the flexispline motors illustrated in FIGS. 1, 2, 7, 8, and 14 are provided with a core contained within the flexispline itself. The flexispline motor 600 is provided with an external core 670 which is composed of a series of stacked laminations which are formed into a unitary structure by techniques well known in the art. Core 670 is provided with eight poles 672-686 which face poles 632-646. Poles 672-686 are provided with coils 688-704. Flexispline 610 is mounted coaxially with and midway between the poles 632-646 and 672 and 686.

[0141]

When coils 648 and 656 produce flux in a series bucking relationship, coils 692 and 700 are simultaneously energized to produce a magnetic pull (spaced 90° mechanically) on the flexispline 610 mounted between the cores 624 and 670. The poles 692 and 700 are in space quadrature with poles 648 and 656. While poles 648 and 656 pull the flexispline 610 inwardly, poles 692 and 700 pull the flexispline outwardly to increase the force of engagement of the flexispline 610 with its associated ring gear (not shown).

[0142]

This arrangement also permits the coupling of a flexispline having 2 sets of band gears, one on the inside, and one on the outside of the flexispline to engage an internal ring gear and an external ring gear simultaneously. This would give rise to driving 2 loads with different gear ratios.

[0143]

The exterior core 670 should be securely mounted on a base (such as 12 in FIG. 1) to hold the exterior core 670 in coaxial alignment with interior core 624 and flexispline 610.

[0144]

This arrangement will serve to increase the force of engagement of the flexispline and its associated ring gear. This double excitation arrangement will also function with the control strategy of FIG. 31 and FIG. 32. All that is required is an exterior core, the poles of which produce a magnetic field in space quadrature with the field produced by the interior core 48. This provides the necessary distortion of flexispline 610.

[0145]

FIG. 23 is a representation of a pull-pull flexispline motor having a six phase, three pole pull-pull type excitation, which is also capable of four or two pole excitation. The three pole version will now be dexcribed. Motor 800 is provided with a flexispline 810, and an inner core 824 having twelve protruding poles (similar to core 624) numbered 846-868. Surrounding flexispline 810 is a stationary stator core 870 having poles 872-894 protruding inwardly therefrom.

[0146]

Poles 846-868 are provided with windings 896-918 and poles 872-894 are provided with windings 920-942 respectively. At rest, as shown in FIG. 23, the flexispline 810 assumes a round shape and the gear teeth (not shown) of flexispline 810 Which are integral with flexispline 810 do not engage the ring gear (not shown in FIG. 23). Thus at rest the flexispline 810 assumes a circular shape in the unexcited state.

[0147]

FIG. 24 illustrates the resultant shaping of flexispline 810 when one of the four phases is energized.

[0148]

Here inner poles 848, 856 and 864 are energized by windings 898, 906 and 914 so as to deflect flexispline 810 inwardly, while outer poles 876, 884 and 892 carrying windings 924, 932 and 940 respectively distort the flexispline outwardly to produge a tri-mode engagement with the flexispline 810 and. its ring gear or gears.

[0149]

FIG. 25 shows the energization of the next phase when coils 900,908 and 916 of inner poles 850, 858 and 866 are energized.

[0150]

Simultaneously coils 926,934 and 942 on outer poles 878, 886 and 894 are energized to move the distortion wave ahead 1 pole from that shown in FIG. 24.

[0151]

FIG. 26 shows the energization of the six poles of the next phase and the resulting distortions of the flexispline 810.

[0152]

Thus the distortion of the flexispline moves through 120 space degrees for the successive sequential energization of four poles. Energization of the respective poles is provided by using chopped pulses of dc such as shown in FIG. 27. Using the circuitry of FIG. 31, FIG. 32 and appropriate commutation signals. If the tooth differential between the flexispline and the ring gear (assume the ring gear is external to the flexispline) is 3, then for 1 complete excitation mode excursion through 360 deg (space) there are 2 cycles of energization of each coil of the motor 800. This will advance the ring gear by 3 teeth during one excursion of the tricornal shape of the flexispline. In a flexispline such as shown in FIGS. 1, 2, 7, 8 and 14 where the difference in teeth between the flexispline and ring gear is two teeth, the ring gear would advance only 2 teeth so that the tricornal shape lessens the gear reduction ratio.

[0153]

Up to this juncture the various flexispline motors have generally embodied a cup shaped flexispline arrangement (a cylinder with one end open the other end closed). The main function of this cylinder is to transfer the full output load reaction torque from the band gear teeth 42 (ref. FIG. 1) back to the base plate 12 (FIG. 1), in addition to facilitating elliptical or tricornal distortion of same. This function requires the cylinder (flexispline) to possess adequate shear stiffness (thickness) in order to transfer the output load torque. This in turn, along with the closed cup end generally increases the flexispline distortion resistance, which in turn reduces output torque and efficiency. A new embodiment will now be described.

[0154]

FIG. 28 shows the essential component parts of flexispline motor 10. A core 12 is mounted in a frame (not shown) which prevents rotation of core 12. Core 12 may be composed of a stack of stamped laminations or it may be a composite, cast of magnetic material. The core 12 is provided with a shaft 15 having ends 14 and 16 at due opposite ends of core 12. Shaft end 14 is fixed so as to maintain core 12 stationary. Core 12 has a series of protruding ribs 18 formed in the surface thereof separated by valleys 20. The ribs 18 and the valleys 20 form a spline on which the sleeve type flexispline 22 is received in a spline engaging arrangement. The valleys 20 may also serve to house the windings necessary for the production of the electromagnetic field in the core.

[0155]

Flexispline 22 which is of the form of a hollow cylinder has internal flexible ribs 24 (preferably of a polymeric based material) and valleys 26 which mate with valleys 20 and ribs 18 of the core 10.

[0156]

The fit between the flexispline 22 and the core is somewhat loose to permit the required flexing of the flexispline in a radial direction, but prevents motion of the flexispline 22 in a circumferential direction. Thus providing a reaction to the output load torque, but with a lower distributed surface pressure. (This technique can also be used with one closed end cup type flexispline)

[0157]

An internal band gear 30 is fitted into one end of flexispline 22 so as to be integral therewith. The band may be bonded to the sleeve type flexispline 22 or permanently fastened to the sleeve flexispline by some acceptable method.

[0158]

It is important that the band gear 30 and the se eve type flexispline be capable of the required distortion in the presence of a rotating magnetic field established in core 12, in order to distort from a circular cross section to a multinodal shape in order to achieve proper operation of motor 10. Thus the use of construction materials having an elliptical low apparent elastic modulus for both the flexispline and the band gear is a necessity to achieve optimum operation of the motor 10. These techniques have been described previously in paragraphs [0055] to [0060].

[0159]

FIG. 29 shows a cross section of the final assembly of motor 10. In this Fig., the shaft end 14 is permanently fixed to a reference to support motor 10. Shaft 14 is not permitted to turn. Coil windings 32 are shown on core 12 and are generally located in valleys (core slots) 20.

[0160]

A fulcrum and retaining ring 34 is generally provided near the end of sleeve type flexispline 22 to establish and stabilize the rest position of the flexispline 22 on core 12.

[0161]

A gear 36 is mounted on an assembly 38 for rotation on shaft 16 of motor 10. Gear 36 has external teeth 40 to engage with the band gear teeth 42. The teeth 42 of band gear 30 do not necessarily engage the teeth 40 of gear 36 under rest conditions.

[0162]

The gear assembly 38 is mounted on bearings 44 for efficient rotation. Gear assembly 38 terminates in output shaft 46.

[0163]

Core 12 is permanently fixed to the shaft 14-16 by means of key 50.

[0164]

The motor functions as follows.

[0165]

A rotating magnetic field is established in core 12 by windings 32. The magnetic attraction established by the magnetic field in core 12 attracts the magnetic sleeve type flexispline 22 so that opposite sides of the flexispline are drawn inwardly so that band gear 30 contacts the 40 of gear 36 at two diametrically opposed points.

[0166]

As the magnetic field sweeps around the core 12 the distortion of the flexisplin e 22 and band gear 30 sweeps around gear 36 and core 12.

[0167]

Because there are more teeth in the band gear 30 than the gear 36, the gear 36 rotates (according to the tooth differential) in a direction opposite to the rotating magnetic flux.

[0168]

The ring 34 which may be fitted into sleeve 22 and core 12 by means of a circumferential groove and flange serves as a hinge, if desired for the flexure of the flexispline 22 on core 12 during operation.

[0169]

The flexispline 22 may be made of a composite magnetic material, and or it may be a magnetic metallic cylinder over wound with a magnetic wire or magnetic tap contained therein to enhance its magnetic characteristics while not increasing substantially to the stiffness of the sleeve. This contruction has been described previously.

[0170]

Those skilled in the art will recognize that the motor 10 of FIG. 29 can be reconfigured as the arrangement 101 of FIG. 30 to place the angular thrust roller bearings 44 inboard of the magnetic core 12, and to reduce the magnitude of any off-centred load. In this case the band gear 301 is placed on the external surface of the flexispline 22, and the teeth 401 are placed on the internal surface of gear 36. Also shown in FIG. 30 is the potential placement of a rim 501, and tire 601, assembly for traction vehicle applications, and in-wheel arrangements in particular. Elements of this arrangement are also applicable to the motors 10 (FIG. 1), 110 (FIG. 2), 210 (FIG. 7), 210 (FIG. 8), 310 (FIG. 9), and 410 (FIG. 10). It is also intended that some of the features of motors 10FIG. 29, and 101FIG. 30 can be interchanged beneficially.

[0171]

In summary, the flexispline motor of this invention preferably places the electro-magnetic core inside the flexispline, and minimises the flux flow path and flexispline stiffness. This concentrates the radial distortion force and maximizes the flexispline flux flow area. This construction has definite advantages over prior art devices in that the motor may produce greater torque and power and be much smaller and less complicated than previous devices.

[0172]

The torque and power efficiency produced by a flexispline motor depends to a large extent on the square of the diameter of the flexispline. In prior art devices the flexispline is surrounded by an electromagnetic core structure; and or motor casing, thus the diameter of the flexispline is much less than the external diameter of the motor structure. The applicant's structure, generally places the flexispline at the outer extremities of the motor thus increasing the torque versus motor size ratio significantly, and reducing flexispline stiffness thus increasing efficiency when compared to prior art motors.

[0173]

The structure of the flexispline motor of this application is ideally suited for applications such as traction motor, robot joint, and snow blower auger drives, because of compactness, requisite high torque at low speed capability and the capacity to free wheel when the magnetic core is unexcited. Another application relates to hybrid automobile drives, and particularly, in retrofit situations, by placing in-wheel drives at the rear end of front wheel drive vehicles. Extension of the technology to large power dissipation devices is envisaged by means of forced cooling and the use of superconducting wire field windings, such as that produced by American Super Conductor Corporation.

[0174]

In another embodiment of this invention the flexispline motor places an electromagnetic core both inside and outside of the flexispline, this allowing tricomal distortion of same. This has an advantage in some,applications requiring smaller gear ratios and greater stiffness.

[0175]

The Utilization of the composite flexispline embodying a magnetic filament or tape winding reduces the radial distortion stiffness whilst maximizing the return path magnetic flux flow area. This improves the power output by increasing the torque and improving the efficiency of the subject devices.

[0176]

A comparison can be made between the commutation of the flexispline motor, and a switched-reluctance (SR) motor. It is recognised that the poles in the flexispline motor can be regarded as equivalent to the poles in an SR motor, and it is recognised that the commutation of a flexispline motor is similar enough to that of a SR motor, that the flexispline motor can take advantage of the modified existing well-developed SR commutation technologies. FIGS. 31A, 31B, 31C, 31D show how the typical text-book manner of commutating a SR motor may be applied to a flexispline motor. Whereas FIG. 32 depicts the commutation strategy. This is achieved generally by means of Hall effect magnetic sensing devices for rotor (flexispline) position and or parametic measurements of idle phase winding inductance as in FIG. 31D. Such technology is an integral and necessary element for efficient operation of the flexispline motor of this patent specification.

[0177]

In FIGS. 31A, 31B, 31C, the abbreviations are:

  • PI=proportional integral
  • PID=proportional integral /derivative
  • lfb=feed-back current
  • lcmd=command current
  • PWM=pulse width modulation
  • DSP=digital signal processor

Как компенсировать расходы
на инновационную разработку
Похожие патенты