заявка
№ US 20050251108
МПК A61M1/00

Rotate-to-advance catheterization system

Авторы:
James Frassica
Правообладатель:
Номер заявки
11121751
Дата подачи заявки
04.05.2005
Опубликовано
10.11.2005
Страна
US
Как управлять
интеллектуальной собственностью
Реферат

[0000]

A system of rotate-to-advance medical devices including catheters, dilators, occluders, stents, suprapubic catheters and camera introducers configured with external screw threads and depending substantially on rotation for means of advancement and emplacement in mammalian genitourinary and gastrointestinal passages and organs.

[00000]

Формула изобретения

1. A threaded introducer system for accessing a bodily passageway, said introducer system comprising:

a flexible tube having a distal end and a proximal end, a longitudinal axis extending between said distal end and said proximal end, and a lumen extending from said distal end to said proximal end, said lumen being sized to receive an object to be transported through the bodily passageway;

apparatus for connecting the object received within said lumen to said tube, said apparatus comprising a rotary coupling attached to said tube such that said rotary coupling may rotate freely about said longitudinal axis of said tube while being longitudinally fixed to said tube; and

an external thread disposed over said distal end of said tube, said external thread having a sufficient structural integrity, and a sufficient surface profile, such that when said tube is disposed in a bodily passageway, rotation of said tube about said longitudinal axis will result in longitudinal motion of said tube along said bodily passageway.

2. A threaded introducer system according to claim 1 wherein said object comprises visualization apparatus for visualizing structures disposed adjacent to said distal end of said tube.

3. A visualization system for traversing a bodily passageway, said system comprising:

a flexible tube having a distal end and a proximal end, a longitudinal axis extending between said distal end and said proximal end, and a lumen extending from said distal end to said proximal end;

visualization apparatus received in said lumen for visualizing structures disposed adjacent to said distal end of said tube, said visualization apparatus being attached to said tube such that the visualization apparatus may rotate freely about the longitudinal axis of said tube while being longitudinally fixed to said tube; and

an external thread disposed over said distal end of said tube, said external thread having a sufficient structural integrity, and a sufficient surface profile, such that when said tube is disposed in a bodily passageway, rotation of said tube about said longitudinal axis will result in longitudinal motion of said tube along said bodily passageway.

4. Apparatus for effecting Brachytherapy, said apparatus comprising:

an elongaged element having a distal end and a proximal end, and a longitudinal axis extending between said distal end and said proximal end;

radioactive material carried by elongated element; and

an external thread disposed over said distal end of said elongaged element, said external thread having a sufficient structural integrity, and a sufficient surface profile, such that when said elongaged element is disposed in a bodily passageway, rotation of said elongated element about said longitudinal axis will result in longitudinal motion of said elongaged element along said bodily passageway.

5. Apparatus according to claim 4 wherein said elongaged element comprises a tube.

6. Apparatus according to claim 4 wherein said elongated element comprises a rod.

7. Apparatus for effecting therapy, said apparatus comprising:

an elongaged element having a distal end and a proximal end, and a longitudinal axis extending between said distal end and said proximal end;

a therapeutic agent carried by elongated element; and

an external thread disposed over said distal end of said elongaged element, said external thread having a sufficient structural integrity, and a sufficient surface profile, such that when said elongaged element is disposed in a bodily passageway, rotation of said elongated element about said longitudinal axis will result in longitudinal motion of said elongaged element along said bodily passageway.

8. Apparatus according to claim 7 wherein said elongaged element comprises a tube.

9. Apparatus according to claim 7 wherein said elongated element comprises a rod.

10. A conduit fitting for accessing a bodily conduit, said conduit fitting comprising:

a body having a distal end and a proximal end, a longitudinal axis extending between said distal end and said proximal end, and a lumen extending from said distal end to said proximal end;

an external thread disposed over said distal end of said body, said external thread having a sufficient structural integrity, and a sufficient surface profile, such that when said tube is disposed in the wall of a bodily conduit, rotation of said tube about said longitudinal axis will result in longitudinal motion of said tube into said bodily conduit; and

a flange disposed on said body proximal to said external thread, said flange being adapted to act as a stop to prevent further movement of said body into the bodily conduit when said flange contacts said wall of the bodily conduit.

11. An access device for accessing a bodily conduit, said conduit fitting comprising:

a body having a distal end and a proximal end, a longitudinal axis extending between said distal end and said proximal end, and a lumen extending from said distal end to said proximal end, said lumen being adapted to receive a gastrointestinal endoscope therein.

Описание

REFERENCE TO PENDING PRIOR PATENT APPLICATION

[0001]

This patent application claims benefit of:

    • (1) pending prior U.S. Provisional Patent Application Ser. No. 60/156,218, filed Sep. 27, 1999 by James J. Frassica for INTRODUCER WITH ROTARY COUPLING FEATURE; and
    • (2) pending prior U.S. patent application Ser. No. 09/448,054, filed Nov. 23, 1999 by James J. Frassica for ROTATE TO ADVANCE CATHETERIZATION SYSTEM.

[0004]

The two above-identified patent applications are hereby incorporated herein by reference.

FIELD OF THE INVENTION

[0005]

This invention relates to apparatus and methods for catheterization and related treatments of the genitourinary and gastrointestinal passages of mammals. More particularly, this invention relates to catheters, dilators, occluders, stents, suprapubic catheters, camera introducers and related medical devices subject to being proximally propelled and directed for advancement and control in mammalian genitourinary and gastrointestinal passages.

BACKGROUND OF THE INVENTION

[0006]

In most mammals, mucous membranes line all those passages by which the internal parts communicate with the exterior, and are continuous with the skin at the various orifices of the surface of the body. The mucous membranes are soft and velvety, and very vascular, and their surface is coated over by their secretion, mucus, which is of a tenacious consistency, and serves to protect them from the foreign substances introduced into the body with which they are brought in contact.

[0007]

Mucous membranes are described as lining the two primary mammalian tracts, i.e., the genitourinary and the gastrointestinal—and all, or almost all, mucous membranes may be classified as belonging to, and continuous with, the one or the other of these tracts.

[0008]

Catheterization of any of these bodily passages may at times be useful or necessary.

[0009]

Urinary outlet problems have presumably been around for as long as humans. History has the ancient Chinese using onion stalks to relieve people of acute urinary retention. Literature refers to such problems as far back as 206 B.C., more than 2000 years ago. The ancient Romans are known to have used catheters, which are believed to have been first invented by Erasistratus, a Greek doctor in the third century B.C. The Roman catheters were fine tubes made of bronze. The Roman gynecologist Soranus describes how catheters could be used to push stones out of the way and back into the cavity of the bladder, thus restoring urine flow. Excavations in Pompeii unearthed several bronze catheters. These instruments were well constructed but relatively simple and showed that catheter designs changed little from the period of 79 A.D. until around 1700 A.D.

[0010]

However, during the 18th and 19th centuries, catheter construction became more complex, with an intensified search taking place for an appropriate substance that would be at once flexible, non-irritating and functional. England, France, and the United States all had individuals and companies deeply involved with urinary catheters during this period. Many variations were produced, but they all caused significant stress on the patient when these rigid devices were pushed into the urethra. The first practical breakthrough was made by the French using gum elastic catheters—a catheter that would bend better in the urethral channel and not scour the mucosa as much in the process.

[0011]

Charles Goodyear improved upon what the French had produced when he successfully vulcanized crude rubber. The problem of manufacturing an instrument which was both sufficiently rigid to enable it to be pushed through the urethra and into the bladder, and yet flexible enough to negotiate the path, had at last reached the point of practicality, notwithstanding its shortcomings. At that time, and even to this day, a functional urethral catheter is frequently defined as being one that is flexible enough to negotiate the bends of the urethra and stable enough to be pushed through the length of the urethral passage.

[0012]

The French urologist J. J. Cazenave, with the hopes that his country would regain leadership in the catheter field, dedicated 25-30 years of his life improving the flexible durable catheter. This effort was in the late 1800's and Cazenare's catheter, made of decalcified ivory, was a dated device, but it nonetheless shows the consistency of the state of the art wherein catheters are pushed into and negotiated along the urethral passage toward the bladder.

[0013]

During the past 300 years or so, intensified catheter development efforts were stimulated by professional pride, national pride and financial rewards. These efforts yielded many improvements, such as changes to size, curve shape, materials of construction, smoothness, lubricants, coatings, combinations of materials, physical properties, chemical properties and more—yet all these improvements subscribed to the basic principle of external push-to-advance catheter deployment.

[0014]

The catheters of the prior art are generally large and stiff, difficult and uncomfortable to administer, and uncomfortable to wear for extended periods of time. There is a degree of skill, tolerance and patience required from medical personnel installing the catheters that takes much time, training and practice to learn. The difficulty, discomfort, risk of injury and infection, inhibition and inconvenience of the methods and apparatus of the prior art results in the deprivation, for many patients, of the freedom to work, play and travel as do unaffected people.

[0015]

The anatomy of the adult male urinary tract, as illustrated in FIG. 1, has a bladder 4 where urine is collected prior to exiting the body via the urethra 6. The bladder 4 converges into the urethra 6 at a muscular exit called the bladder neck 5. Approximately the first inch of the urethra 6 lies within the prostate 7, which is a chestnut-sized gland. The next approximately half inch of the urethra passes through the external sphincter 8, which is the muscular flow valve that controls the release of urine. The remaining six inches of the urethra 6 lie in a spongy zone, exiting the body at the meatus 9.

[0016]

The normal process of emptying the bladder can be interrupted by two causes. One is bladder outlet obstruction, and the other is failure of the nerves linking the bladder to the brain. The most frequent cause of bladder outlet obstruction in males is enlargement of the prostate gland by hypertrophy or hyperplasia. In older males, it is not uncommon for a progressive enlargement of the prostate to constrict the prostate urethra. This condition, known as benign prostatic hyperplasia (BPH), can cause a variety of obstructive symptoms, including urinary hesitancy, straining to void, decreased size and force of the urinary stream and, in extreme cases, complete urinary retention possibly leading to renal failure.

[0017]

The most common surgical intervention for BPH, transurethral resection of the prostate, or TURP, has a lengthy recovery period of up to one year, and presents a high operative risk for complications such as sexual dysfunction. Up to 10% of those subjected to such surgery are left with mild to moderate stress incontinence. Approximately 400,000 patients in the United States, and approximately 500,000 patients internationally, were diagnosed in 1994 with BPH or cancer-induced bladder outlet obstructions that were sufficiently severe to warrant TURP or alternative surgery, according to industry sources.

[0018]

Because of the high costs, medical risks and quality of life compromises associated with TURP, new technologies have begun to challenge TURP's position as the standard treatment for severe BPH. Recently, the U.S. Food and Drug Administration (FDA) approved two drugs, tera zosin hydrochloride and rinasteride, to treat BPH. However, these drugs generally do not improve symptoms for six to nine months after treatment begins, and are not without side effects.

[0019]

Urethral strictures are another cause of outlet obstruction, often due to fibrous tissue growth resulting from reaction to catheters or cystoscopes or from injury, birth defects or disease, and are commonly treated by urethral dilation, catheterization or surgery. Men with urethral strictures also experience a limited ability to urinate, which may cause extreme discomfort and, if left untreated, may cause complications that necessitate catheterization. Approximately 50,000 patients in the United States were diagnosed with recurrent urethral strictures in 1994, according to industry sources. It is estimated that approximately 75,000 additional patients were diagnosed internationally.

[0020]

Women suffer from urinary incontinence far more often than men and at a younger age, primarily because of the stress associated with pregnancy and childbirth, the shorter length of the female urethra, and the absence of a prostate. The U.S. Department of Health and Human Services (HHS) estimates that the involuntary loss of urine affects approximately 10 million Americans, of which 8.5 million are women. Seven million of these women are non-institutionalized, or community-dwelling.

[0021]

For women between the ages of 15 and 64, the prevalence of urinary incontinence is estimated to range from 10 to 25 percent of the population. For non-institutionalized persons over the age of 60, the prevalence of urinary incontinence ranges from 15 to 30 percent, with the prevalence in women twice that of men.

[0022]

The involuntary loss of urine can be caused by a variety of anatomical and physiological factors. The type and cause of urinary incontinence is important to how the condition is treated and managed. The two broad categories of urinary incontinence are urge and stress incontinence. Some people suffer from what is termed mixed incontinence, or a combination of stress and urge incontinence.

[0023]

Urge incontinence is the involuntary loss of urine associated with an abrupt and strong desire to void. In most cases, urge incontinence is caused by involuntary detrusor (the smooth muscle in the wall of the bladder) contractions or over-activity. For many people, urge incontinence can be satisfactorily managed with pharmaceuticals.

[0024]

The more frequently occurring stress incontinence is the involuntary loss of urine caused by movement or activity that increases abdominal pressure. The most common cause of stress incontinence is hypermobility or significant displacement of the urethra and bladder neck during exertion. A less frequent cause of stress incontinence is intrinsic urethral sphincter deficiency (ISD), a condition in which the sphincter is unable to generate enough resistance to retain urine in the bladder.

[0025]

Females, and males with no benign prostatic hyperplasia condition, might also have the inability to empty their bladder because of the nerves linking the bladder to the brain. This condition is known as neuropathic bladder, and may occur in a wide variety of conditions which include spina bifida, multiple sclerosis, spinal injury, slipped disc and diabetes. When these and other problems prevent the bladder from effectively controlling urine, there are a number of treatment options. They are catheters, dilators, occluders, and stents.

Indwelling Foley-Type Catheters

[0026]

During continuous catheterization, an indwelling catheter is retained in the bladder by a water-filled balloon. The indwelling catheter drains urine continuously from the bladder into a bag which is attached to the leg or bed. The bag has a tap so that the urine can be emptied at intervals. The catheter is usually inserted by a doctor or nurse and changed about every four to six weeks. But difficulty in placement has always been inherent in this design. This is due to the traditional “push to advance” technology which necessitates a relatively stiff, thick-walled catheter to traverse the delicate mucosal-lined urethra.

[0027]

Often the French (unit of measurement) size of the catheter is dictated by the need for stiffness to insert rather than the lumen size needed to pass urine. A 14 French or smaller Foley catheter is rarely used because catheters of this size lack the column strength needed to push the catheter along the full length of the urethra into the bladder.

[0028]

The larger French Foley catheters are painful to place, uncomfortable when indwelling, and require a highly-skilled care provider to insert.

Intermittent Catheters

[0029]

During intermittent catheterization, a simple catheter made of plastic, rubber, or metal is inserted by the patient or a helper for just long enough to empty the bladder completely, which is typically about one minute. These temporary catheters are usually smaller in diameter and stiffer than an indwelling catheter of the same size. This stiffness can make catheterization difficult in men because the male urethra is long and has an acute bend within the prostate. Also, when the external sphincter is reached, the sphincter muscle will contract, making passage difficult. Most patients learn to catheterize themselves and thereby gain a large degree of independence. This process is repeated about every 3-4 hours during the day and occasionally as needed at night.

[0030]

Intermittent catheterization is mainly used by people who are incontinent due to neuropathic bladder. Intermittent catheterization may also be utilized by people who cannot empty their bladder because the bladder muscle is weak and does not contract properly.

Suprapubic Catheters

[0031]

In some patients, an alternate apparatus and method used to maintain long term drainage of the bladder is the use of a suprapubic tube.

[0032]

Suprapubic catheterization of the bladder is performed via transabdominal puncture which enters the body above the pubic arch and is directed into the bladder using ultrasound or fluoroscopy to guide the trocar introducer and suprapubic catheter. The trocar introducer is then removed when proper catheter placement within the bladder is confirmed, leaving the drainage catheter in place.

[0033]

Long term drainage may require the fixation of the catheter at the skin using, standard adhesive-based interface components to address mechanical fixation, infection control, and skin compatibility. The distal end of the catheter is commonly contained within the bladder by inflated balloon, or by winged-shaped tip configurations which expand within the bladder, or by pre-shaped curved catheter tips which curl to their original J-shape when stiffening wire is removed from the catheter lumen.

[0034]

A problem with this form of distal end emplacement through the bladder wall is that it is only unidirectional; that is, it only resists the inadvertent pulling out of the tip of the: catheter from the wall of the bladder, while allowing the catheter to freely pass further into the bladder, and to back out up to the point of the containment structure. This continuing catheter motion in and out of the bladder puncture site may irritate tissue and cause infection or other difficulty at the bladder-catheter interface. Urine is especially irritating to most parts of the human body that are outside of the urinary tract.

Dilators

[0035]

Dilation is accomplished by pushing successively larger urethral dilation tubes through the urethra so as to increase the size of the urethral lumen, a procedure which is painful and traumatic to the patient. Surgical treatment of strictures involves surgical risks as well as complications, including infection, bleeding and restenosis, which frequently requires further treatment.

[0036]

With the exception of balloon catheters, the current art of dilators has also changed little over the passage of time. A shaft with an increasing taper, bulbous structure, or enlarged end is pushed from without the passage to advance the tool through the restricted passage, thus forcing, by longitudinally-applied pressure, the lateral expansion of the passage walls. This push-to-advance method necessitates a stiff shaft which has all the same limitations as traditional catheters. Catheters inherently provide a degree of this dilatorial function to the extent that the passage is opened sufficiently to accommodate the catheter.

Occluders

[0037]

Occluders are used in some cases to control incontinence. Occluders of the prior art are constructed and applied with the same push-to-advance concept as the catheters and dilators described above, and hence suffer from the same disadvantages. The basic occluder is a bulb or plug on a shaft which is inserted within the urethra to stop or prevent the normal flow of urine through the urethra, or driven all the way into the bladder, for example, and allowed to seat as a plug at the neck of the urethra to prevent the flow of urine from the bladder.

Stents

[0038]

A stent is a tubular metallic mesh device that is implanted in to open and support a stricture so as to allow for urine flow. The stent body is between 3.5 cm and 6.5 cm in length, depending on the anatomy, and is expandable by design to anchor in place. The stent, being a mesh, has openings that allow the tissue to grow through the wall, making removal difficult and causing encrustation that reduces urine flow.

Intraurethral Valved Catheters

[0039]

An intraurethral valved catheter is a device that is implanted to control the flow of urine by means of an integral valve that is remotely actuated. Since the entire catheter length is within the urethra, the chance for external infection is reduced. The anchoring mechanism of current designs is accomplished with balloons, or “petal-like” projections from the catheter. Both of the aforementioned designs are complicated to install and difficult to remove and, if the valve fails, leaves the patient in a painful and dangerous situation.

Patents in the Prior Art

[0040]

There has been patent activity in the prior art indicating dissatisfaction with the push-to-advance methodology. Catheters have been adorned with a wide assortment of spiral and threaded features described as intended to ease the trauma and pain of what clearly remained a push-in device. Alvord's U.S. Pat. No. 207,932, Peyret's French Pat. No. 564,832, Hayes' U.S. Pat. No. 1,644,919, and Jacoby's U.S. Pat. No. 1,888,349 are representative of these. In all cases, these disclosures fail to recognize that the basic push-to-advance technique is fundamentally flawed and should be abandoned, and fail to resolve the critical features of structure necessary for rotational advancement as a substitute for the push-to-advance method.

[0041]

Other art reveals the use of spiral features for different purposes. For example, Spinosa's U.S. Pat. No. 3,815,608 discloses a catheter with a thread designed to hold the urethral wall away from the shaft so as to allow urine to flow around the outside of the catheter. Such disclosures likewise reveal a reliance on push-in methods, or an assumption that such structures can be pulled out without regard to the spiral features, again failing to recognize rotation as a viable substitute for pushing, and failing to resolve the critical features of structure necessary for effective rotational advancement.

[0042]

As a further indication of the failure of the prior art to provide effective improvements to traditional push-in methods, there is no apparent indication among the products commercially available, or in the medical practices known to the applicant, that any of these spirally-ornamented devices were ever found to be clinically viable.

Gastrointestinal Endoscopes

[0043]

The current device used for inspection and treatment of the GI (gastrointestinal) tract is a flexible endoscope. This device takes a high level of skill to use, is difficult to maneuver and can be very painful for the patient, due to the basic push-to-advance design that has not changed since the device was invented in the early 1960's. The distal tip of the endoscope typically has the following parts:

    • 1. a channel opening for suction and passage of accessories;
    • 2. a light guide lens to distribute light from a fiberoptic bundle to illuminate the visual field;
    • 3. an objective lens to focus an image of the mucosa onto the face of an image bundle for transmission back to an eyepiece; and
    • 4. an air/water jet, which supplies air to inflate the organ being observed, and water to clean off the image (i.e., objective) lens.

[0048]

The so-called “bending section” is the distal end of the tube, ranging from approximately 8-15 cm long, which can articulate so as to steer the scope as it is pushed inward and is controlled by a cable mechanism that is connected to control knobs on the proximal handle.

[0049]

The so-called “insertion tube”, which makes up the rest of the endoscope's 60-150 cm length, is not capable of controlled deflection. It has a tailored bending flexibility and torque transmission which is of major importance in endoscope design. Most instruments have a two-stage bending stiffness, i.e., the distal portion of the insertion tube is more flexible than the proximal portion. The flexibility of each portion of the insertion tube requires extensive clinical testing to ensure that the endoscope handles easily and produces a minimum of patient discomfort.

[0050]

The colon is a tubular organ which runs from the cecum in the right lower quadrant to the rectum. It is widest in the cecum and ascending colon and gradually narrows as one approaches the rectum. The colon is divided into the following sections:

    • a. the cecum;
    • b. the ascending colon, which runs cephalad (towards the head) from the cecum to the hepatic flexure;
    • c. the transverse colon, which runs from the hepatic flexure in the upper quadrant to the splenic flexure in the left upper quadrant;
    • d. the descending colon, which runs caudad (toward the feet) from the splenic flexure to the left lower quadrant;
    • e. the sigmoid colon, which runs from the left lower quadrant to the rectosigmoid junction; and
    • f the rectum, which extends down to the anal canal.

[0057]

The inner layer of circular muscle is present throughout the colon. The outer longitudinal muscle in the wall of the colon is fused into three bands, the teniae coli. These bands start at the base of the appendix and run in the wall of the colon down to the rectum, where they diff-use into the muscular coat. The three teniae cause the colon to have a triangular appearance endoscopically; this is especially prominent in the ascending and transverse colon. The haustra are outpouchings of the colon, separated by folds. In the descending colon the endoscopic appearance is often tubular.

[0058]

Most experienced colonoscopists use similar endoscopic techniques. Air is introduced to inflate the colon, but as little as possible to prevent overdistension. The pushing pressure on the endoscope is gentle to avoid stretching the colonic wall or mesentery (the connective tissue that holds the colon like a fan) which can cause pain, a vagal episode, or a perforation. The lumen is kept in view at all times; little or none of the examination is performed blindly, because the colonoscopist is pushing a stiff instrument through delicate tissue.

[0059]

A variety of in and out maneuvers are used to “accordian” the colon on the colonoscope, keeping the colonoscope as free of loops as possible. In the difficult colon, special maneuvers such as the creating of an alpha loop in the sigmoid colon are used to pass the sharply angulated sigmoid/descending colon junction. This maneuver may require fluoroscopic guidance and training in the technique.

[0060]

The colonoscope is advanced to the cecum under direct visualization. The detailed examination of the mucosa is usually performed as the colonoscope is slowly removed from the cecum.

[0061]

To inspect the whole length of the large intestine requires a highly skilled practitioner, which makes the procedure costly. Even still, the procedure can be very painful for the patient, making sedation necessary. This is due to the inherent deficiencies in the “push-to-advance” design.

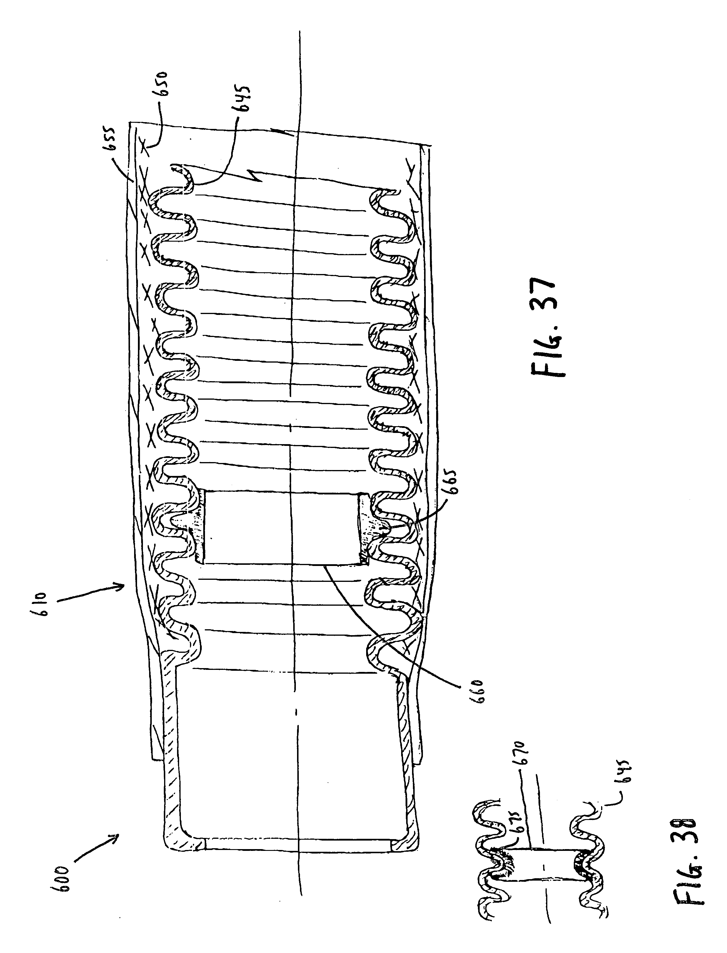
SUMMARY

[0062]

In summary, there are problems in making present push-in catheters, dilators, and occluders stiff enough for penetration and flexible enough to make the turns without undue risk of trauma to the wall of the passageway when being pushed in; and once installed, comfortable enough to wear for an extended period of time. The problems with stent encrustation and removal are well known. Self-administration is inhibited by all of the short-comings of the prior art. Further injury, infection and discomfort can result from unskilled or improper technique. The problems with colonoscopy have been previously described.

[0063]

The long history of push-in catheters/dilators and occluders has gradually crystallized into an industry-wide, self-perpetuating, fundamental assumption that catheters are to be mainly pushed through bodily passageways, albeit with some rotational easing. This “fact” is so widely perpetuated and pervasive in the commercially-available products and medical practices as to have stifled original thinking in this art. This, in spite of the well-recorded shortcomings of pain, trauma, risk of rupture, and failed, aborted or incomplete procedures, and the need for skilled practitioners and special equipment for monitoring and safeguarding against the inherent problems.

SUMMARY OF THE INVENTION

[0064]

For the purposes of this disclosure, including the appended claims, the terms “distal”, “distally”, and “distal end”, as they relate to the devices and methods described herein, refer to the end of the device further from, or in the direction away from, a practitioner who might be applying the device or method to the subject. Stated otherwise, the aforementioned terms refer to the end of the device closer to, or in the direction towards, the subject's interior.

[0065]

The terms “proximal”, “proximally”, and “proximal end”, as they relate to the devices and methods described herein, refer to the end of the device closer to, or in the direction towards, the practitioner who might be applying the device or method, rather than to the subject.

[0066]

Objects of the invention include providing and employing screw-based means for rotational advancement and anchoring of catheters, probes, occluders, stents, and dilators into genitourinary and gastrointestinal passageways such as the urethra, ureter, esophagus and fallopian tube, and for the emplacement of suprapubic catheters for draining genitourinary organs such as the bladder, whereby the subject device is applied through a natural body orifice or surgically created opening and is drawn through the passage by the longitudinal pull of a helix on the walls of the passage or organ as the device is rotated.

[0067]

This technology is a radical departure from the 4000 year old traditional “push-to-advance” methodology previously discussed.

Indwelling and Intermittent Catheters

[0068]

Flexible, thin-wall indwelling and intermittent catheters and related devices and delivery stylets, made possible by this rotate-to-advance form of emplacement, are less traumatic and easier for the medical practitioner or patient to use. The catheter of the invention eliminates the problems of conventional devices by using helix or rotational technology that provides controlled insertion and flexibility to negotiate the urethra. The helix design accomplishes a pre-dilatation of the passageway at a steady rate that relaxes the sphincter and lessens or prevents spasm. Once placed, the device is anchored by the radial displacement and close pitch of the helix, preventing longitudinal migration due to body movement or fluid flow.

[0069]

In another embodiment, the helix is located on the shaft under a Foley-type balloon and disappears when the balloon is inflated. The flexible, reinforced shaft need be only about half the wall thickness of conventional Foley catheters, which means a smaller outer diameter (OD) catheter can be used. The helix advances the shaft and dilates the urethra as the catheter is inserted. Once the bladder is reached, the balloon is inflated with sterile water, and the helix is engulfed by the balloon. The process is then reversed to remove the catheter. This technology fosters reduced costs for patent care, improved clinical outcomes and enhanced patient quality of life.

Continence Catheter With Valve

[0070]

The continence catheter of the invention, indicated for bladder outlet obstructions, is intended for BPH patients who are not able to, or choose not to, undergo TURP. This embodiment of the invention allows the urethra in the area of the prostate to remain open. At the proximal (external) end of this catheter there may be a flow valve which can be depressed or otherwise opened to empty the bladder. The catheter may be produced as a sterile, single-use, disposable item that can be used once and replaced as needed.

[0071]

The same embodiment of the catheter of the invention provides a female Stress UI sufferer with lifestyle benefits that greatly outperform absorbent products intended to manage this condition.

[0072]

The patient simply inserts the catheter into the urethral opening and rotates the shaft to advance the catheter into the bladder. This can be done in the morning in the convenience of home. When the user needs to urinate, the valve end of the flexible shaft may be exposed through the clothing and the valve opened to empty the bladder. Since the device is not removed and reinserted after each voiding, the risk of infection is reduced. At the end of the day, the catheter is easily removed and disposed of

Intraurethral Valved Catheter

[0073]

The male or female intraurethral valved catheter of the invention is indicated for bladder control. This embodiment of the invention allows the flow of urine to be controlled by a valve mechanism that is within the catheter. This valve may be actuated directly by insertion of a tool such as a stylet, or remotely by using a magnetic field device.

[0074]

The intraurethral device reduces the potential for infection by eliminating the external tubing which can be an entry path for bacterial contamination. These catheters are typically 3.5 to 6.5 centimeters in length, depending on the anatomy, and have the helical element of the invention on the outer diameter of the body. The thread height of the helix may vary over its length, as an aid to the advancement and retention characteristics of the device. The sidewall of the catheter may be reinforced to resist collapsing due to contraction pressure. This catheter may be inserted in the urethra under fluoroscopy, using a detachable flexible stylet which keys into the proximal end of the catheter in a non-rotational fitment, and may be inserted in an outpatient procedure using topical anesthesia.

Stents

[0075]

The stent of the invention, indicated for bladder outlet obstructions, keeps the urethra open in the area of the stricture. The stent body may be between 3.5 cm and 6.5 cm in length, depending on the anatomy, and has a helical element on the outer diameter of the body to advance and retain the stent. The sidewall of the stent may have a reinforcement means to prevent collapsing due to prostate pressure. The stent can be inserted in the urethra under fluoroscopy, using a detachable flexible stylet which keys into the proximal end of the stent body, and may be inserted in an outpatient procedure using topical anesthesia.

[0076]

The stents of the invention are not susceptible to being incorporated by the urethral mucosa in a manner preventing rotation, thereby permitting a lengthy period of emplacement and subsequent removal by the same rotational technique. The stent may also have a sufficiently large internal diameter, or lumen, to permit cystoscopies, thereby allowing examination of the bladder without removing the stent.

Dilators and Occluders

[0077]

Helically-adapted dilators and occluders of the invention are likewise rotatingly advanced and retracted; the helical element performing a dilatory function to some degree. Dilators of respectively larger diameters may be used to achieve a gradually more pronounced effect.

[0078]

The rotational advancement means may be combined with the push-to-advance methodology in any of these devices. In a dilator, for example, a helically-equipped leader shaft extending distally of the bulbous portion of the device rotatingly advances the device up to the point that the helix passes out of the interior end of the passage; the remainder of the leader shaft then providing a guidewire that leads the bulb through the remainder of the passageway when the dilator is pushed from the proximal end.

Suprapubic Catheters

[0079]

The adaptation of the invention to suprapubic catheters, used in a classic transabdominal puncture for the drainage of the bladder or other genitourinary organs, permits the helix on the distal end of the catheter to be emplaced in the wall of the organ far enough so that the helical vane extends from both sides of the organ wall, so that the longitudinal sliding motion of the catheter into and out of the organ is inhibited by the helical vane. This reduces a source of irritation and associated complications at the organ wall entry point.

[0080]

The helically-adapted suprapubic catheter may be placed in the organ using ultrasound or fluoroscopy to visualize placement, by rotatingly advancing the catheter over a guidewire leading to the organ; the guidewire having been installed through a tubular access created by using a cannula and trocar to reach the organ, the trocar and the cannula having been successively removed.

General Construction

[0081]

Any embodiment of the invention may be radiopaque, or have radiopaque features, markers or other components, permitting the use of fluoroscopy to monitor emplacement or removal of the device, or even the rotational orientation and rotational movement of the device.

[0082]

The thread element may be solid, hollow, or fluid-filled. It may taper in height at various locations to optimize advancement and anchoring. Embodiments or elements of the invention may be fabricated, molded, wound, extruded or otherwise constructed of non-toxic, non-corrosive materials, or combinations of materials, e.g., a composite construction, that are otherwise tolerant of bodily fluids and/or durable when implanted in vivo. Such materials may include, but are not limited to, polyurethane, medical grade stainless steel, silicone, bicarbon, polytetrafluoroethylene, tantalum, titanium, or nickel-titanium alloy. Conversely, materials may be specifically chosen to be bioabsorable so as to obviate the need for removal.

[0083]

The devices of the invention may be enhanced with one or a combination of the following coatings: a water-based hydrophilic; antibacterial coatings such as nitrofurazone; bateriostatic coatings such as silver; or other mediations to further enhance their clinical performance.

Camera Introducer

[0084]

The threaded camera introducer system, briefly stated, presents a novel means for the introduction of visualization sensors and other implements into and through the full length of the colon. The fundamental structure of the introducer, consistent with the rotate-to-advance structure and methodology of the invention, is a large, soft, flexible worm-like tubular device with a helix of soft, pliant threads which translate rotational force at the proximal end to a pulling action on the colon wall.

[0085]

The hollow core or central lumen connects the distal and proximal ends of the tube. A camera head or other visual sensor can be introduced into the device and arranged to “see” forward from the center of the bulbous tip on the distal end. Light bundles or wires connected to the camera pass through the central lumen and out the proximal end of the device to an appropriate control and viewing apparatus.

[0086]

The distal end of the device is gently urged into the rectum sufficiently far to engage the helix. The device is rotated from just outside the point of entry, to slowly advance into and through the entire length of the colon to the cecum. The helical threads pull the device gently along the interior colon wall; the flexibility of the device allows it to easily negotiate the major turns of the colon. The larger threads at the distal end provide the greatest grip or pull, the smaller threads closer to the proximal end contributing a lesser degree of grip or pull. The device is removed using the same method in reverse.

[0087]

As illustrated in the figures, the light bundles or cables may be encased in a flexible torque tube or assembly which provides or contributes to the torsional strength necessary to rotatingly advance and withdraw the device.

[0088]

The interior wall of the main tubular device or introducer may be configured to contain the torque tube or vertebra in a non-rotational manner, such that torque applied at any place on the exterior wall of the introducer is transmitted to the torque tube and hence over the full length of the device.

[0089]

Various embodiments and enhancements are possible, all within the scope of the invention:

    • 1. The helical thread or spiral extending the length of the device may be used for auxiliary purposes, including to:
      • a) carry fluids into the colon/passage;
      • b) provide vacuum to the passageway itself, or vacuum within the device to facilitate the advancement of the camera or endoscope into the device;
      • c) convey light bundles or electrical wires for specific purposes, and/or;
      • d) provide depth markers to assist the practitioner in determining the general position of the device within the body;
    • 2. the spiral may also be inflated with a fluid during entry to obtain full thread form and rotationally grip or fix the catheter to the camera element, and then deflated to permit non-rotational removal by pulling the device through the colon;
    • 3. the video screen, or the image on the screen as seen through the rotating camera introducer as it advances, may be electronically processed to hold the image in a non-rotating, stationary manner for the benefit of the person administering the procedure;
    • 4. the distal portion of the device may be relatively more flexible to enhance trackability along the path of the colon/passageway;
    • 5. the device may have sufficient torque transmission capability from the proximal to the distal end so the distal portion of the device can be thus rotated at full length in the colon without interior support;
    • 6. the distal tip or zone may have a sufficient thread height to grip the colon wall and provide the primary “pulling power” to advance the device into the body and negotiate the turns, while the somewhat lower thread height along the remainder of the device is adequate to support rotational advancement without drag and avoid bunching or gathering of the colon wall;
    • 7. there are at least three methods of containing and controlling this 160 cm long instrument to ensure it remains within the operating field:
      • a) a dispensing device as shown in FIG. 34;
      • b) a straight tubular component; or
      • c) held by an assistant;
    • 8. material of construction:
      • a) the main body may be produced from polyvinylchloride (PVC) plastic and may be reinforced with wire or fabric;
      • b) the helix may be made of PVC and may be reinforced with wire or otherwise;
      • c) a distal end window may be a flat, optically clear plastic lens made from PVC, polycarbonate, or acrylic plastic;
    • 9. alternative uses:
      • a) variations on the introducer device within the scope of the invention include full length tubes, or short sections analogous to urethral stents, being emplaced in the colon by the rotational structures and techniques of the invention for temporary purposes such as to aid in the repair of a damaged colon or a related abdominal injury or condition, by providing a supplemental lining and/or form to the colon or to a section of the colon;
    • 10. camera with torque control umbilicus:
      • a) the camera body which houses both the camera and the light source may be made of stainless steel or molded with a dimensionally stable plastic such as polycarbonate;
      • b) the vertebrae which makes up the torque control umbilicus may be made of a high strength thermoplastic or a metal such as stainless steel or beryllium copper.

[0113]

By means of the invention, the entire colon can be examined without the need for a conventional colonoscope or endoscope, and without the attendant expertise, pain, medication, post-procedure recovery time, and cost. The means and method of the invention require less training and have far greater likelihood of reaching the cecum (far end of the colon) than conventional tools and procedures. Other body cavities and passageways may be similarly examined.

[0114]

The camera introducer catheter can be used in four different modes:

    • 1. as an “introducer”, it includes the following characteristics and benefits:
      • a) it conveys a camera assembly along the entire colon to screen patients for polyps, lesions, cancer sights and other maladies;
      • b) the entire colon can be examined without the need for a conventional colonoscope/endoscope;
      • c) a total examination of the colon can be successfully performed with significantly less manipulation technique, pain, medication and post procedure recovery time;
      • d) it requires less training and has greater success in reaching the cecum;
      • e) as a single-use disposable device, it allows the expensive camera with its torque controlled umbilicus to be used repeatedly without danger of sequential infections;
      • f) the procedure is less expensive when compared to the cost of cleaning and repairing conventional endoscopes and amortizing the cost of a costly video processing unit;
      • g) the procedure can be successfully performed by less-specialized, less-expensive individuals; and
      • h) the “introducer” is supplied sterilized and ready for use;
    • 2. as a more “conventional style endoscope”—by adapting a conventional endoscope to the structure and method of the invention, the benefits of the invention are coupled with the following conventional functions:
      • a) tip articulation;
      • b) air and water delivery;
      • c) suction of fluids;
      • d) illumination of passages;
      • e) imaging capability;
      • f) drug delivery; and
      • g) accessories (e.g., working tools).
    • 3. as a “hybrid catheter” having some of the functions and features of the more “conventional style endoscope” and/or the “introducer” built into the device for procedure-specific applications; also, it could be used in conjunction with, or independent of, conventional endoscopic devices and accessories; and
    • 4. as a “transporter” or “introducer” to deliver a conventional endoscdpe to any location of the colon or other passageway—this may occur by:
      • a) providing a fluid-tight envelope for the endoscope; and
      • b) providing a means for the endoscope to exit the distal end of the “introducer” to perform diagnostic/therapeutic procedures normally done with the endoscope.

[0136]

Still other objects and advantages of the present invention will become readily apparent to those skilled in this art from the following detailed description, wherein there are shown and described preferred and other embodiments of the invention by way of illustration of the best mode contemplated for carrying out the invention. As will be realized, the invention is capable of other and different embodiments, and its several details are capable of modifications in various obvious respects, all without departing from the invention.

BRIEF DESCRIPTION OF THE DRAWINGS

[0137]

FIG. 1 is an illustration of the lower abdominal anatomy of a male subject, with the threaded portion of the catheter of FIG. 2 extending into the bladder;

[0138]

FIG. 2 is a perspective view of a threaded catheter for a male;

[0139]

FIG. 3 is a cross-sectional view of the threaded portion of the catheter of FIG. 2;

[0140]

FIG. 4 is an illustration of the threaded end of the catheter of FIG. 1 engaged in the urethra;

[0141]

FIG. 5 is a perspective view of a threaded catheter for a female;

[0142]

FIG. 6 is a cross-sectional view of the threaded portion of the catheter of FIG. 5;

[0143]

FIG. 7 is a perspective view of a threaded catheter and a flexible shaft stylet with which it is installed;

[0144]

FIG. 8 is a cross-sectional view of the tip of the catheter of FIG. 7, showing the non-rotational fitment that receives the tip of the stylet of FIG. 7;

[0145]

FIG. 9 is a perspective view of the tip of the stylet of FIG. 7 that is insertable into the fitment of FIG. 8;

[0146]

FIG. 10 is a diagrammatic, longitudinal cross-sectional view of a threaded balloon catheter showing the thread element inside the inflated balloon, with lumens shown as dashed lines;

[0147]

FIG. 11 is a cross-sectional view of the shaft of the catheter of FIG. 10, showing the central drain lumen and the smaller inflation lumen;

[0148]

FIG. 12 is a longitudinal cross-sectional view of the distal end of the catheter of FIG. 10, showing the balloon contracted around the helical element;

[0149]

FIG. 13 is a side elevation of a threaded dilator;

[0150]

FIG. 14 is a side elevation of a threaded occluder;

[0151]

FIG. 15 is a side elevation of another variation of a threaded occluder;

[0152]

FIG. 16 is a perspective view of a threaded stent, dashed lines showing an internal sidewall reinforcement member and a bushing with a hexagonal drive socket;

[0153]

FIG. 17 is a cross-sectional view of the stent of FIG. 16;

[0154]

FIG. 18 is a proximal end view of the stent of FIG. 16, with the hexagonal drive socket visible at the center;

[0155]

FIG. 19 is a perspective view of a stylet, with a grip on the proximal end and a hexagonal drive tip on the distal end;

[0156]

FIG. 20 is a perspective view of the hexagonal drive tip of the stylet of FIG. 19;

[0157]

FIG. 21 is a perspective view of a stent-follower with a helical element at the distal end;

[0158]

FIG. 22 is an enlarged, cross-sectional view of the distal end of the stent-follower of FIG. 21, showing the hidden portion of the bushing, with the hexagonal drive aperture in dashed lines;

[0159]

FIG. 23 is a cross-sectional view of an intraurethral catheter with flow control, showing the coiled wall reinforcement member acting as a spring on the ball of the check valve;

[0160]

FIG. 24 is an enlarged perspective view of a stylet tip for operating the check valve of the intraurethral catheter of FIG. 23;

[0161]

FIG. 25 is a diagrammatic illustration of a suprapubic catheter emplaced through the abdomen, with the distal end anchored by the helical thread in the bladder wall;

[0162]

FIG. 26 is a partial side perspective view of the helical thread of the suprapubic catheter of FIG. 25, anchored by the helical thread in a hole in the bladder wall;

[0163]

FIG. 27 is a partial front perspective view of the suprapubic catheter of FIGS. 25 and 26 anchored in a hole in the bladder wall, the hole being stretched and deformed to fit tightly about the tube and thread of the catheter;

[0164]

FIG. 28 is a diagrammatic view of a trocar, cannula and guide wire used to install the suprapubic catheter of FIG. 25;

[0165]

FIG. 29 is a distal end view of the suprapubic catheter of FIG. 21, showing rotational orientation markers;

[0166]

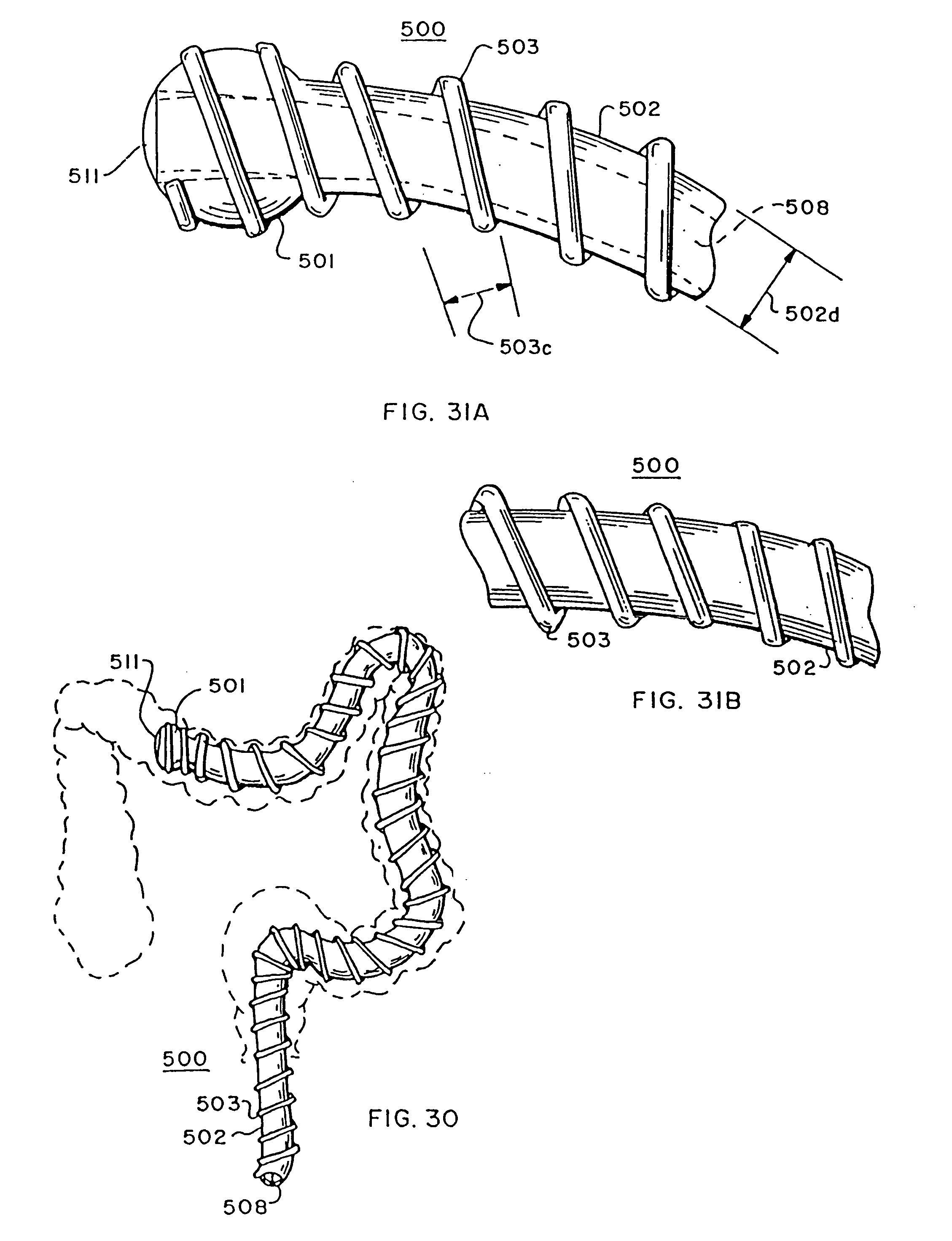
FIG. 30 is a front perspective diagram of a threaded camera introducer catheter advanced into the transverse colon area;

[0167]

FIG. 31A is a partial side view of the distal end of the catheter of FIG. 30, showing the larger thread height of the thread in the distal area of the catheter's length;

[0168]

FIG. 31B is a partial side view of the mid-section of the catheter of FIG. 30, showing the reduced thread height of the thread in other than the distal area of the catheter's length;

[0169]

FIG. 32 is a perspective view of a camera assembly with a video camera or visual sensor head attached to a flexible torque tube or assembly within which run electrical cables and/or light bundles;

[0170]

FIG. 33 is a partial cross-sectional view of the distal end of the preferred embodiment of FIG. 31A, with the camera assembly of FIG. 32 installed as it would be used;

[0171]

FIG. 34 is a rotating container and dispensing device by which the catheter of FIG. 30 may be managed and administered during application to a patient;

[0172]

FIGS. 35-39 are schematic views showing various constructions for a camera introducer with rotary coupling;

[0173]

FIG. 40 is a schematic view of a conduit fitting formed in accordance with the present invention; and

[0174]

FIGS. 41-43 are schematic views of an access device formed in accordance with the present invention.

DESCRIPTION OF THE PREFERRED EMBODIMENT

[0175]

To those skilled in the art, the invention admits of many variations and appellations in apparatus and methodology. By way of example, there is provided, in accordance with the present invention, a rotate-to-advance structure and methodology applicable to a range of medical devices that have heretofore relied entirely or substantially on a push-to-advance technique for penetration of bodily passages. Such devices include catheters, dilators, and occluders for mammalian genitourinary or gastrointestinal passages such as the urethra or ureter for the usual purposes associated with such devices where no incising or rupture of passage walls or membranes is intended.

Catheters

[0176]

Referring now to FIGS. 1, 2 and 3, a threaded catheter 101 for males is made up of a tube 102 with an external thread 103, attachable to a flow control device 104. Tube 102 is extruded from a polyurethane material, has an inside diameter of 0.06 inches, an outside diameter 103d of 0.125 inches, and is approximately 13 inches long. The durometer, as measured on the smooth, outside wall of the tube, is 85 Shore A. Distal end 105 is closed off, with its tip rounded to a uniform radius of about 0.06 inches. Proximal end 106 of tube 102 is cut off square and attached to flow control device 104. Tube 102 is sufficiently strong such that when the majority of its length is contained within the urethra, it will withstand and transmit torque, as applied by finger force at the lower end of the tube external of the urethra, to the thread.

[0177]

Referring to FIGS. 2 and 3, external thread 103 is formed from a strip of polyurethane material with a rectangular cross-section of width 103a, 0.05 inches, and height 103b, 0.032 inches, and continuously attached over its length to tube 102, starting 0.2 inches from distal end 105 and extending four complete turns around tube 102 in a clockwise direction towards proximal end 106 at a uniform pitch 103c of 0.25 inches, resulting in a four-turn thread or helix about one inch long.

[0178]

It is readily apparent from the dimensions of FIGS. 2 and 3 that the thread height 103b of catheter 101 is greater than twenty percent (20%) of the 103d thread diameter. This relative height is desirable to expand and penetrate the longitudinal folds of the urethra to a sufficient depth to achieve a useful grip by the thread.

[0179]

The diameter of the helix formed by thread 103 of catheter 101 is referred to as thread diameter 103d, and is equal to two thread heights 103b plus the outside diameter 102d of catheter tube 102 or, in this case, 2 times 0.032 inches plus 0.125 inches, or approximately 0.19 inches. The circumference C of the helix formed by thread 30 is calculated as π (pi) times thread diameter 103d or, in this case, 3.14 times 0.19, or approximately 0.6 inches.
C=π× thread diameter 103d

[0180]

The ratio R of thread pitch 103c, 0.25 inches, to the circumference of thread diameter 103d, at 0.6 inches, is much less than 1 to 1, thereby improving the leverage of the screw thread for converting rotation into longitudinal pulling power, as compared to ratios larger than 1/1. R=threadpitch103cC

[0181]

The shoulders of thread 103 have a radius of 0.015 inches. In small quantities, thread 103 may be attached to tube 102 by wicking tetrahydrofuran (THF) solvent under the thread using a fine hollow tube. Catheter 101 may be molded in large quantities with thread 103 being an integral part of the molded structure.

[0182]

Referring to FIG. 4, two drainage ports 107, connecting to lumen 108, are oval in shape, the major axis of the oval being parallel to the axis of tube 102 and about 1.5 times the minor axis, which is about equal to the diameter of the lumen. The two ports are configured 180 degrees apart radially, and spaced longitudinally to fit between the turns of thread 103.

[0183]

Both ends of thread 103 are tapered from zero to full height in one-half turn of the helix, to facilitate gentle, gradual displacement of urethra wall 2 by thread 103 when catheter 101 is rotated clockwise for advancement into the urethra and counterclockwise for retraction. The difference between thread height 103b and pitch 103c shown in FIG. 3 is sufficient that the urethra wall 2 does not bridge between adjacent turns of thread 103, but rather is only displaced in a manner closely conforming to the cross-section of thread 103, thereby providing the longitudinal grip on urethra wall 2 for advancing and retracting the catheter.

[0184]

Referring to FIG. 1, catheter 101 is shown in proper position for draining bladder 4, after it has been advanced through the urethra 6 until the helix passes out of the urethra into the bladder.

[0185]

It is apparent from the anatomy shown in FIG. 1 that thread 103 must be limited in length to be advanced to any point above the sphincter 8, so that the sphincter may contract directly onto the smooth, round, exterior of tube 102, thereby preventing leakage around the tube, and further constraining catheter 101 from migrating or being forced out of the urethra by pressure from urine in the bladder. It is further apparent from the anatomy shown in FIG. 1 that there is a limit to the length of thread 103 on a catheter that can be advanced to a position above the sphincter 8, not more than about six turns within the optimal range of thread pitch, and still fit within the bladder 4 without interference. A limited length of thread 103 also localizes the area of pulling force to the upper end of catheter 101, thereby assuring that the trailing length of the catheter is drawn, not pushed, through the passage.

[0186]

A useful alternative embodiment of catheter 101 incorporates the recited external thread 103 for rotational advancement, but provides for the central lumen to connect to or terminate in a straight-through or axially-aligned drainage port at the distal tip of the catheter, similar to the most basic conventional catheters. This is likewise useful for drainage and also enables the insertion or passage of guidewires or other devices where specific procedures require it.

[0187]

Referring next to FIGS. 5 and 6, a threaded catheter 111 for females, similar to catheter 101 for males, is made up of a tube 112 with a thread 113, attachable to a flow control device 114. Tube 112 is extruded from polyurethane material, has an inside diameter of 0.063 inches, an outside diameter 112d of 0.125 inches, and is approximately seven inches long. The durometer, as measured on the smooth, outside wall of the tube, is 85 Shore A. Distal end 115 is closed off, with its tip rounded to a uniform radius of about 0.06 inches. Proximal end 116 of tube 112 is cut off square and attached to flow control device 114. Tube 112 is sufficiently strong such that when the majority of its length is contained within the urethra, it will withstand and transmit torque, as applied by finger force at the lower end of the tube external of the urethra, to the thread or helix.

[0188]

Referring to FIGS. 5 and 6, thread 113 of catheter 111 is formed from a strip of polyurethane material with a rectangular cross-section of width 113a of 0.05 inches and height 113b of 0.10 inches, attached to tube 112 starting 0.2 inches from distal end 115 and extending four turns around tube 112 in a clockwise direction towards proximal end 116 at a uniform pitch 113c of 0.25 inches, resulting in a four-turn thread or helix about one inch long.

[0189]

It is readily apparent from FIGS. 5 and 6 that the thread height 113b of catheter 111, at 0.10 inches, is much greater than twenty percent (20%) of tube diameter 112d, at 0.125 inches. This relative thread height is desirable in order to expand and penetrate the longitudinal folds of the female urethra sufficiently far to achieve a useful grip by the thread.

[0190]

Similar to the description of threaded catheter 101, the diameter 113d of the helix formed by thread 113 is equal to two thread heights 113b plus the diameter 112d or, in this case, 2 times 0.10 plus 0.125, or approximately 0.33 inches. The circumference C of the helix formed by thread 113 is calculated as π (pi) times the thread diameter 113d or, in this case, 3.14 times 0.33, or approximately 1.0 inches. The ratio R of thread pitch 113c, at 0.25 inches, to the circumference C, at 1.0 inches, is again much less than 1 to 1, thereby improving the leverage of the thread for converting rotation into longitudinal pulling power as compared to larger ratios.

[0191]

The shoulders of thread 113 have a radius of 0.015 inches. Catheter 111 may be constructed or fabricated by the same means as catheter 101.

[0192]

Referring to FIG. 5, two side drainage ports 117, connecting to lumen 118, are oval in shape, the major axis of the oval being parallel to the axis of tube 112 and about 1.5 times the minor axis, which is about equal to the diameter of the lumen. The two side ports 117 are configured 180 degrees apart radially, and spaced longitudinally to fit between the turns of the thread.

[0193]

Referring to FIGS. 5 and 6, the ends of thread 113 are tapered from zero to full height in three-quarters turn of the helix, to facilitate gentle, gradual displacement of the urethra wall by the thread when the catheter is rotated clockwise for advancement and counterclockwise for retraction. The difference between width 113a and pitch 113c is sufficient that the urethra wall does not bridge between adjacent turns, but rather is displaced in a manner closely conforming to the profile of the thread, thereby providing the longitudinal grip on the urethra wall for advancing and retracting the catheter, in the same manner as the thread of catheter 101 of FIGS. 2 and 3.

[0194]

The optimal position for threaded catheter 11 for draining the bladder of a female subject is where it is advanced through the urethra until the thread passes out of the urethra into the bladder, similar to how catheter 101 is illustrated in FIG. 1, but for females.

[0195]

A detailed method for the self-administration of the appropriate respective threaded catheter 101 or 111, or other similar threaded devices, will now be explained.

[0196]

First, the user assembles materials including a sterile threaded catheter 101 or 111, a container for urine, soap and water, a water soluble lubricant (if the catheter is not pre-lubricated), a mirror (for females), and tissues. The user will then wash the hands and urethral opening with soap and water, squeeze out a small amount of lubricant into clean tissue, dip the distal end tip of the catheter into the lubricant, and manually engage the tip of the catheter into the urethral opening (the mirror may be helpful for females to assist in locating the opening).

[0197]

The user will then gently push and turn the catheter in, far enough to engage the thread about one full turn with the urethra, and then gently rotate the tube of the catheter in the direction of the thread, preferably clockwise, to advance the catheter into the urethra until urine appears in the tube. The user then pauses to drain the bladder, directing the urine into the container, then resumes rotation of the catheter until it is no longer advanced by the rotation, indicating that the thread of the catheter has passed into the bladder and the catheter is in proper position.

[0198]

The user then places a flow control device on the proximal end of the catheter and empties the bladder periodically as required. The catheter is removed when appropriate using similar precautions for cleanliness and containment, by rotating the catheter in a direction opposite the direction of insertion, presumably counterclockwise.

[0199]

Referring next to FIGS. 7, 8 and 9, another embodiment of the invention is illustrated by a catheter 121, which is made up of tube 122 with thread 123 applied in the form of a helix, and utilizing a flexible shaft stylet 131 as an insertion and retraction tool. Stylet 131 has a grip 133 at its proximal end for turning the device. Tube 122 is configured with non-rotational fitment 124 (FIG. 8) near its distal end 125 so that stylet 131 can be inserted through the tube's proximal end 126, passed up through lumen 128 of tube 122, and the tip 134 of stylet 131 engaged with fitment 124 in a manner that allows rotation of grip 133 in one direction to rotate catheter 121 for advancement into the urethra, and in the other direction for retraction.

[0200]

The flexible shaft 132 of stylet 131 is sufficiently strong such that when it is fully inserted into catheter 121, shaft 132 will withstand and transmit torque, as applied by finger force to knurled knob grip 133 external of the urethra, to the thread 123. Stylet 131 is removed after catheter 121 is installed, and reinserted for retracting the catheter when required.

[0201]

Fitment 124 is an elongated collar with a multi-faceted interior wall, securely anchored within tube 122, and configured to receive, in a non-rotational relationship, tip 134. Tip 134 is configured with a corresponding elongated, multi-faceted exterior shape and rounded end, to readily enter fitment 124. Stylet tip 134 and fitment 124 can be alternatively configured and connected by various means to provide a non-sliding, as well as non-rotational, connection.

[0202]

Referring next to FIG. 10, 11 and 12, a threaded Foley-type catheter 141 of the invention is made from polyurethane material. Catheter 141 comprises a flexible tube 142 with an axial drainage lumen 148 running from a drainage port 149 to its proximal end 146a, and a thread 143 applied to its external surface near its distal end 145 in the manner of the threaded catheters previously described. Catheter 141 has a thin-walled inflatable elastic balloon 150 encasing the helical thread 143 and sealed to tube 142 above and below (i.e., distal and proximal to) the thread 143. Drainage port 149 is located above (or distally) from balloon 150. A smaller inflation lumen 151 within tube 142 communicates between inflation port 152 (within the envelope of balloon 150) and the distal end 146b of the catheter. Lumens 148 and 151 are isolated from each other, as indicated by FIGS. 11 and 12.

[0203]

Balloon 150, when uninflated, is normally contracted tightly about helical element 143 as illustrated in FIG. 12, and may be inflated as in FIG. 10 by injecting fluid through lumen 151 and into the balloon cavity 153. The flexible tube 142 is of sufficient torsional strength to withstand and transmit rotational finger force, applied at the proximal end of tube 142, to thread 143.

Dilators And Occluders

[0204]

Referring now to FIGS. 13, 14 and 15, a dilator 201 and occluders 211 and 221 are similarly constructed by configuring the upper end 205 of a flexible shaft 202 with a tapered bulb 204 near its distal end, and disposing thereon one or two sections of thread 203. These threads are similar to thread 103 on catheter 101 of FIGS. 2 and 3, wherein the height of the thread is at least twenty percent (20%) of the diameter of the shaft 202, and the ratio of thread pitch to the circumference of the thread diameter at any given point on the bulb or shaft is less than one to one (1/1). The ends of threads 203 are tapered for ease of advancing and retracting, again similar to the threaded catheter of FIGS. 2 and 3.

[0205]

Dilator 201, of FIG. 13, is configured with multiple turns of thread 203 extending over both ends of tapered bulb 204, and is used to dilate a constricted passage by being rotatingly advanced and retracted through the obstructed area of the passage in the same fashion as the threaded catheters of the invention.

[0206]

Occluder 211, of FIG. 14, is configured with two sections of thread 203, leaving the midsection or bulbous portion of tapered bulb 204 smooth and round in order to provide a uniform occluding surface. This occluder is used to plug or constrict a passageway at an interior point, being rotatingly advanced to and retracted from that point in the same fashion as the threaded catheters of the invention.

[0207]

Occluder 221, of FIG. 15, is configured with two sections of thread 203, the lower or proximal end thread 203 being disposed on the shaft 202 below the tapered bulb 204, leaving the lower tapered end of bulb 204 smooth and round in order to provide a uniform occluding surface. This occluder is used to plug a passageway at the interior end neck or entrance, being rotatingly advanced until the tapered bulb passes entirely through the passage while the lower thread remains engaged in the passage, and being then rotatingly retracted to seat the tapered bulb against the neck of the passage. The occluder is then rotatingly retracted when appropriate.

Stents And Intraurethral Valve Catheters

[0208]

Referring now to FIGS. 16-18, a threaded urethral stent 301 made from polyurethane material has a tube 302 with an external thread 303 of uniform pitch. Thread 303 is similar to thread 103 of catheter 101 of FIGS. 2 and 3, wherein the height of the thread is at least twenty percent (20%) of the diameter of the shaft 202, and the ratio of thread pitch to the circumference of the thread diameter is less than one to one (1/1). The ends of thread 303 are tapered for ease of advancing and retracting through a passage. There is an interior shoulder 304 (FIG. 17) at the distal end 305 of the stent, and a bushing 307 (FIG. 17) of relatively harder material disposed proximal to interior shoulder 304. Bushing 304 has a tapered interior wall 308 extending from the bushing's full diameter at one end to a uniform hexagonal aperture 309. Coiled sidewall reinforcement member 310 is secured within stent 301 intermediate bushing 307 and interior shoulder 304. Alternative embodiments may have a section of the thread being tapered to a lesser height or no height, so as to provide a “waist” for gripping by a muscular zone such as the prostate or sphincter. Also, reinforcement member 310 could be configured or molded into the sidewall of tube 302.

[0209]

Referring now to FIGS. 19 and 20, a stylet 331, similar to the stylet 131 of FIG. 7, has a flexible shaft 332 with a grip 333 at the proximal end for turning, and a hardened hexagonal tip 334 at the distal end which closely fits into aperture 309 of stent 301 in a non-rotational manner for emplacement of the stent by the method of the invention. The flexible shaft 332 of the stylet is sufficiently strong such that when tip 334 is inserted into aperture 309, the shaft will withstand and transmit torque, as applied by rotational finger force at grip 333, to thread 303.

[0210]

Referring now to FIGS. 21 and 22, a threaded stent-follower 341 has a flexible tube 342, the lumen 347 (FIG. 22) of which is sized to accept the ready insertion of tip 334 and shaft 332 of stylet 331 of FIG. 19. Tube 342 is of sufficient torsional strength to accept and transmit rotational finger force applied at its proximal end 346 to its distal end 345. A thread 343 of uniform pitch, and not more than six turns, is applied to the external surface of tube 342 near distal end 345. Thread 343 preferably conforms to the same twenty percent (20%) “rule” of thread height to tube diameter, and the ratio of thread pitch to thread circumference of less than one to one (1/1), as thread 103 in FIGS. 2 and 3 as described above. The ends of thread 343 are tapered for ease of advancing and retracting.

[0211]

Referring to FIGS. 17 and 22, bushing 351 (FIG. 22) has a uniform hexagonal aperture 352 which is the same size as aperture 309 in bushing 307 of stent 301, and a tapered interior wall 353 extended from its full diameter at its proximal end to aperture 352. Bushing 351 also has an external tapered tip 354 at its distal end. Bushing 351 is affixed within the distal end 345 of tube 342, with tip 354 protruding, such that the distal end 345 of stent-follower 341 mates with a self-centering action with the proximal end of stent 301 when the two devices are brought into contact with approximate axial alignment. When stent-follower 341 and stent 301 are thus mated, tip 334 (FIG. 19) of stylet 331 may be extended through aperture 352 (FIG. 22) and into aperture 309 (FIG. 17), thereby locking stent 301 and stent-follower 341 into a fixed rotational relationship. In this condition, the rotation of the proximal end of stylet 331 and stent-follower 341 causes the concurrent rotation of stent 301, whether to rotatingly advance or retract the stent. Stylet 331 may be withdrawn and stent-follower 341 rotatingly retracted, leaving stent 301 positioned at any useful point within a passageway.

[0212]

Referring now to FIG. 23, threaded intraurethral catheter 361, shown in cross-section, incorporates means for flow control. The catheter has a tube 362 made from a section of extruded polyurethane tubing material, with thread 363 of uniform pitch and not more than six turns applied to its external surface. Thread 363 preferably conforms to the same twenty percent (20%) “rule” of thread height to tube diameter, and ratio of thread pitch to thread circumference of less than one to one (1/1), as thread 103 in FIGS. 2 and 3 as described above.

[0213]

Alternative embodiments may have a section of the thread being tapered to a lesser height or no height, to provide a “waist” for gripping by a muscular zone such as the prostate or sphincter. Also, a portion of reinforcement member 370 could be configured or molded into the side wall of tube 362.

[0214]

There is an interior shoulder 364 at the distal end 365 of catheter 361, and a bushing 367 of relatively harder material disposed proximal to interior shoulder 304. Bushing 367 has a tapered interior wall 368 extending from the bushing's full diameter at one end to a uniform hexagonal aperture 369.

[0215]

A coiled sidewall reinforcement member 370 and a check ball 371 are secured between interior shoulder 364 and bushing 367 so that coiled member 370 holds ball 371 in compression against the upper (proximal) end of bushing 367 in the manner of a check valve, whereby to prevent outward (proximal) flow through the lumen 372 of the stent. Coiled member 370 may be compressed by upward movement of ball 371, thereby opening the check valve to flow.

[0216]

Referring next to FIGS. 19, 21, 23 and 24, alternate hexagonal tip 384 for stylet 331 has a slightly concave proximal end 385 and flutes 386. When used in conjunction with stent-follower 341 to actuate the check valve of catheter 361, tip 384 is adapted to be inserted through aperture 369 of catheter 361 to push ball 371 upward against coil member 370, thereby opening the check valve function and permitting outward flow of fluid through flutes 386 and aperture 369 and then into and through stent-follower 341.

Suprapubic

[0217]

Referring now to FIGS. and 25-29, the threaded suprapubic catheter 401 of FIGS. 25 and 26 is constructed with a flexible tube 402, with a lumen 408 connecting axial ports at the proximal end and the distal end, and an external thread 403 of uniform pitch applied at its distal end. As described previously for catheter 101 of FIGS. 2 and 3, the ratio of thread pitch 403c to the circumference of thread diameter 403d is much less than one to one (1/1). Tube 402 is of sufficient torsional strength to accept and transmit rotational finger force, applied at the proximal end, to the distal end. The ends of thread 403 are tapered for ease of advancing and retracting the catheter through the abdomen and into the bladder wall.

[0218]

Referring to FIGS. 26 and 27, relative thread height 403b, as a percentage of tube diameter 402d, is greater than in the case of catheter 101 of FIGS. 2 and 3; preferably greater than fifty percent (50%). This is because suprapubic catheter 401 is being advanced by the rotation of thread 403 along an unlined path through the abdomen, and being anchored against longitudinal displacement by the engagement of pitch 403c of thread 403 in a hole pierced into the wall of organ 31 that must encompass tube 402 plus thread 403 passing through the plane of the organ wall 31. This is distinguished from the longer gripping surface available in a lined passageway as is the case for the catheter 101 of FIG. 4.

[0219]

Referring to FIG. 28, the method by which suprapubic catheter 401 is deployed is conventional to the extent that trocar 421 and cannula 422 are used with ultrasound or fluoroscopy to create the path through abdomen wall 21 into the bladder organ 31; trocar 421 is removed and temporary guidewire 423 is then inserted through cannula 422, extending from outside the abdomen wall 21 to inside the bladder organ 31. Cannula 422 is then withdrawn, leaving guidewire 423 as a connecting path, extending from outside the body, passing through the abdominal wall 21, and into the bladder organ 31.

[0220]

Suprapubic catheter 401 is then threaded over the proximal end of guidewire 423, and gently started into the abdomen wall 21 with a rotating motion of about one turn until thread 403 is firmly engaged. The catheter is then rotatingly advanced along the guidewire through the unlined pathway in the same manner as other threaded devices of the invention, until thread 403 penetrates the wall of organ 31 about one full turn, as determined by ultrasound, fluoroscopy or equivalent means. The distal end of catheter 401 is then secured in a non-rotatable fashion to abdomen wall 21 using conventional adhesive means or equivalent means, thereby locking thread 403 at the distal end of the catheter in position in the wall of organ 31. Guidewire 423 is then withdrawn. Threaded suprapubic catheter 401 is then available for use.

[0221]

Referring to FIG. 29, radiopaque markers 411, embedded at select points displaced along the perimeter of thread 403, provide the capability for external detection and monitoring (through fluoroscopy or other means) of the orientation and movement of the distal end of the catheter.

Camera Introducer

[0222]

Referring next to FIGS. 30 and 31A, threaded camera introducer catheter 500, suitable for an average size adult's colon, consists of a bulbous tip 501 connecting to a soft, flexible tube 502 which is about 5 feet long with a tube diameter 502d of 1 inch. Lumen 508 extends from the interior face of a window 511 on the distal end of tip 501, through tip 501 and tube 502 to the proximal end of tube 502.

[0223]

Referring to FIG. 31A, external thread 503, with uniform pitch 502c of 1 inch, begins at the edge of window 511, tapering from nothing to a height of about 0.16 inches, extending around tip 501 and tapering there to about 0.32 inches, and continuing proximally for about 6 inches along tube 502. Referring to FIG. 31B, thread height then tapers from a thread height of 0.32 inches down to 0.16 inches and continues at this height to the proximal end of tube 502.

[0224]

An alternative embodiment of the introducer 500 may have a relatively diminutive tip, but maintain an external thread of equal or greater height and total circumference. Another variation of introducer 500 may have thread 503 applied only to the introducer's distal end, the thread terminating after a few turns, analogous to catheter 101 of FIG. 2.

[0225]

It is readily apparent from the dimensions of the introducer 500 of FIGS. 31A and 31B that the 0.32 inch thread height of thread 503 spanning about 6 inches at the distal end of camera introducer 500 is greater than twenty percent (20%) of tube diameter 502d. A relative thread height in the range of 20 percent or more of the camera introducer diameter size, appropriate to the subject's size, is desirable to expand and penetrate the walls of the colon to a sufficient depth to achieve a useful grip by the thread in accordance with the rotate-to-advance technology of the invention. The relatively lower thread height of the continuing thread is adequate to assist in the rotational advancement of the fill length of the device without exerting undue forward pressure on the distal end. It also aids in the easing of advancement over the full length of the introducer around and through the bends in the colon.

[0226]

It will be further apparent, consistent with the techniques, structure and methodology of the invention, that the thread pitch 503c, at one inch, is much less than the overall circumference of thread 503, thereby providing the necessary leverage to translate rotational effort at the proximal end to a forward force greater than the friction against the wall of the colon. Simple vector analysis confirms this result.

[0227]

Referring to FIG. 32, a camera assembly 520 consists of camera 521, with light lens 522 and image lens 523, attached to a flexible, hollow, jointed spine 531. A cable harness 541, connected to camera 521, passes through spine 531, extending out the proximal end and connecting to the necessary power, control and display equipment. Spine 531 is constructed of a chain of vertebrae 532, connected by universal joints which combine flexibility with torsional strength.

[0228]

Referring to FIG. 33, camera assembly 520 is shown installed in camera introducer catheter 501, with camera 521 secured within tip 501 by set screw 512, so that the camera views forward through the window. The camera assembly and catheter are combined here as a camera introducer system.

[0229]

Referring next to FIG. 34, rotating container and dispensing system 550 consists of drum 551 with axial opening 552 around which handle 553 is rotatably attached. Catheter 501 is rotatingly dispensed during application by holding handle 553 and rotating drum 551 while catheter 501 is being rotatingly advanced in the subject colon.

[0230]

As will be realized, the invention is capable of other and different embodiments, and its several details are capable of modifications in various obvious respects, all without departing from the invention. The objects and advantages of the invention may be further realized and attained by means of the instrumentalities and combinations particularly pointed out in the appended claims. Accordingly, the drawings and description are to be regarded as illustrative in nature, and not as restrictive.

Camera Introducer with Rotary Coupling

[0231]

In FIGS. 30-34, there is shown a threaded camera introducer catheter 500 which may be used to position a camera assembly 520 within a body passageway.

[0232]

However, with the aforementioned assembly of (i) threaded camera introducer catheter 500 and (ii) camera assembly 520, camera assembly 520 is secured, both longitudinally and rotationally, to threaded camera introducer catheter 500, e.g., by means of set screw 512 (FIG. 33). Thus, when threaded camera introducer catheter 500 is rotated so as to advance camera assembly 520 within the colon, camera assembly 520 is also rotated. This presents two issues.

[0233]

First, if camera assembly 520 is rotated during passage through the colon, the image observed by the medical practitioner (on either a video monitor or through an eyepiece) will also be rotating. This rotation can make it difficult for the medical practitioner to effectively use the visualization provided by the camera assembly during passage through the colon. At the very least, this rotation makes it difficult for the medical practitioner to maintain their sense of direction (i.e., up/down/left/right) during deployment. This latter point is significant, since the medical practitioner frequently relies on their sense of spatial orientation in order to navigate a tortuous passageway such as the lower GI tract. Stabilizing this image electronically requires complex additional circuitry and/or computer software in an already-costly scope and image processor system.

[0234]

Second, if camera assembly 520 is rotated during passage through the colon, the camera assembly's umbilage connections (e.g., light, electrical, fluid, etc.) become complex. By way of example but not limitation, in such a situation, water connections to the distal end of the endoscope must be designed to rotate freely about the axis of the endoscope, with a leak-proof seal, etc. Again, this can add significant cost and complexity to an already costly and complex endoscope system.

[0235]

The aforementioned issues are addressed by a new threaded camera introducer catheter which has a rotary coupling at its distal end which is free to rotate relative to the body of the introducer. This new camera introducer catheter is installed over the distal end the endoscope, with the distal end of the endoscope being secured to the rotary coupling. Due to the fact that the endoscope is attached to the camera introducer catheter by means of the rotary coupling, the camera introducer catheter is free to rotate about its axis while the endoscope remains rotationally stationary.

[0236]

This new arrangement allows the camera introducer catheter to rotate about its longitudinal axis, whereby to advance the introducer (and hence the endoscope) within the colon; at the same time, however, inasmuch as rotation of the camera introducer catheter is not transferred to the endoscope, the endoscope (and hence all of its associated input and output connections) remains rotationally stationary. As a result, the new camera introducer catheter allows the medical practitioner to hold the proximal end of the endoscope in the customary manner, i.e., rotationally fixed, yet to deploy the endoscope using the rotate-to-advance methodology of the present invention. This is a significant advance in the art.

[0237]

Looking at next at FIGS. 35 and 36, there is shown a threaded camera introducer catheter 600 which may be used to position a camera assembly or endoscope 700 within the colon.

[0238]

In one form of the invention, camera introducer catheter 600 is preferably substantially the same as the camera introducer catheter 500 described above, except for the provision and use of the rotary coupling 605 which will hereinafter be discussed in further detail. More particularly, camera introducer catheter 600 generally comprises a tube 610 upon which is formed a helical thread 615. Tube 610 has sufficient rigidity that rotation applied to the proximal end of the tube will be transmitted to the distal end of the tube; at the same time, tube 610 also has sufficient flexibility that the tube may bend around curves in the colon. Furthermore, helical thread 615 has a geometry such that when the camera introducer catheter 600 is positioned within the colon, rotation of the proximal end of the catheter will cause helical thread 615 to pull the camera introducer catheter 600 along the colon, in the rotate-to-advance fashion of the present invention.

[0239]

As referred to above, camera introducer catheter 600 includes the rotary coupling 605. Rotary coupling 605 is rotatably attached to the distal end of tube 610, such that the rotary coupling may rotate freely about the axis of the tube while being fixed, longitudinally, to the tube.

[0240]

Preferably camera introducer catheter 600 is constructed so as to minimize friction between rotary coupling 605 and tube 610 when tube 610 is rotated. For example, low friction bushings or bearings may be used, and/or appropriate lubricants and/or coatings may be applied to contacting surfaces.

[0241]

The joinder between rotary coupling 605 and tube 610 may be sealed to prevent fluid infiltration. A design addressing this feature may include labyrinth, point-contact and wiper configurations. See, for example, FIG. 36, where a pair of O-ring seals 620 and 625 seal the construction against fluid penetration.

[0242]

The camera assembly or endoscope 700 is intended to be secured to rotary coupling 605 so that the endoscope will be longitudinally fixed to camera introducer catheter 600 but free to rotate relative to the camera introducer catheter. By way of example but not limitation, camera assembly or endoscope 700 may be mounted to rotary coupling 605 by means of a set screw 630 which causes a protective ring liner 635 into binding engagement with endoscope 700. Access to set screw 630 may be through an opening 640 in tube 610.

[0243]

As a result of the foregoing construction, camera assembly or endoscope 700 may be secured to rotary coupling 605 of camera introducer catheter 600 whereby, when the camera introducer catheter 600 is thereafter placed within the colon and the proximal end of the catheter's tube 610 is rotated, the distal end of tube 610 will turn, whereby helical thread 615 will pull the catheter (and hence endoscope 700) distally along the colon. At the same time, however, inasmuch as rotary coupling 605 is free to rotate with respect to tube 610, endoscope 700 will remain rotationally stationary with respect to the rotating catheter. In this way, endoscope 700 may be advanced within the colon using the rotate-to-advance technique of the present invention, without requiring any corresponding rotation of the endoscope itself. As a result, the medical practitioner will be able to maintain effective visualization of the colon as the endoscope is advanced within the colon. Furthermore, inasmuch as the endoscope per se does not to rotate, the endoscope's umbilage connection (e.g., light, electrical, fluid, etc.) are significantly simplified.

[0244]

If desired, threaded camera introducer catheter 600 may be provided with multiple rotary couplings, with the additional rotary couplings being positioned anywhere along the length of catheter 600. By way of example but not limitation, and looking now at FIG. 35, a relatively short introducer catheter 600 might utilize a pair of rotary couplings, one (i.e., 605) at the distal end of the catheter and one (i.e., 605A) at the proximal end of the catheter; a longer introducer catheter 600 might include several additional rotary couplings, with the additional rotary couplings (i.e., 605B) being disposed between the two end rotary couplings.

[0245]

Furthermore, if desired, threaded introducer catheter 600 may include design features designed to maximize the tortional stiffness of its tube 610 while minimizing bending stiffness of the tube. By way of example but not limitation, and looking now at FIG. 37, tube 610 may be formed with a composite construction comprising an inner convoluted or corrugated tube 645, a braided fiber layer 650 and a flexible outside layer 655. Where such a construction is used, one or more low friction bearings 660 (FIG. 37) may be positioned within the catheter's interior lumen so as to reduce surface contact with the endoscope (not shown in FIG. 37), where bearings 660 include a protrusion 665 which is adapted to ride in the helical trough of the convoluted or corrugated tube 645. Alternatively, and looking now at FIG. 38, one or more low friction bearings 670 may be provided, where bearings 670 include a recess 675 for receiving the helical peak of convoluted corrugated tube 645.

[0246]

The threaded camera introducer catheter 600 may also include a feature to disconnect the rotary coupling 605 from the endoscope while the catheter 600 is deployed within the body. This disconnect may be effected via fluid, mechanical, electrical or other means. See, for example, FIG. 39, where a fluid line 680 is used to expand and deflate a bladder 685 so as to selectively bind and release, respectively, the endoscope 700 to and from rotary coupling 605.

[0247]

It should also be appreciated that threaded introducer catheter 600 may be used to deploy objects other than an endoscope 700. For example, introducer catheter 600 may be used to deploy other visualization apparatus (e.g., ultrasound devices) and other objects which have umbilage associated therewith, e.g., a fluid dispenser apparatus, a vacuum snare, surgical instruments, etc.

Apparatus For Brachytherapy And Chemotherapy

[0248]

The treatment of cancerous growths with Brachytherapy is well documented. One approach is to surgically implant radioactive material into the cancerous growth in order to position the radiation source as close as possible to the target tissue. Such implantation can be difficult and time-consuming to effect. Furthermore, if the need subsequently arises to modify the radiation dosage or to limit the exposure to only a short time period, the implantation process can be difficult to reverse.

[0249]

Thus, in accordance with the present invention, there is provided novel apparatus for effecting Brachytherapy, that is, for directing radioactive material to a target site within the body, while allowing for easy implantation and removal.

[0250]

Such novel Brachytherapy apparatus may be cannulated or non-cannulated, depending on the anatomy which is to be targeted.

[0251]

By way of example but not limitation, in one preferred application of the novel Brachytherapy apparatus, the device may be used for the treatment of prostate cancer where the radioactive material must be delivered to the region of the affected prostate gland. In this case, it will generally be desirable to use a cannulated form of the invention.

[0252]

More particularly, in this case, the novel Brachytherapy apparatus may comprise a stent such as the stent 301 shown in FIGS. 16-18, along with its associated threaded stent-follower 341 shown in FIGS. 21 and 22, as well as its associated stylet 331 shown in FIGS. 19 and 20, except that the stent includes radioactive materials RM (FIG. 17) incorporated into its construction. As a result, when Brachytherapy stent 301 is emplaced within the urethra adjacent to the target prostate tumor, the Brachytherapy stent may irradiate the tumor so as to effect the desired Brachytherapy.

[0253]

By way of further example but not limitation, in another preferred application of the novel Brachytherapy apparatus, the device may be used for the treatment of breast cancer, where the therapeutic radiation must be delivered to the breast. In this case, it may be desirable to use a non-cannulated form of the invention.

[0254]

More particularly, in this case, the novel Brachytherapy apparatus may comprise a threaded solid element such as the dilator 201 shown in FIG. 13, except that the dilator may include radioactive materials RM (FIG. 13) incorporated into its construction. As a result, when Brachytherapy dilator 201 is advanced through a mammary canal (accessed through an opening on the nipple) and into the interior of the breast, whereby it may reside adjacent to a target tumor, the Brachytherapy dilator may irradiate the tumor.

[0255]

It is also anticipated that the radioactive materials RM of the aforementioned Brachytherapy stent 301 and/or the aforementioned Brachytherapy dilator 201 may be replaced by a therapeutic agent capable of leaching out of the wall of the delivery device and thereby be delivered to the target tumor. Additionally, the therapeutic agent may be coated onto a wall of the delivery device for delivery to the target region.

Conduit Fitting

[0256]

Looking next at FIG. 40, there is shown a conduit fitting 800 which can be used to provide a quick and effective access to a corporeal conduit such as an artery or vein, etc.

[0257]

Conduit fitting 800 generally comprises a body 805 and an obturator 810. Body 805 has a helical thread 815 formed on its distal end, and an enlarged flange 820 formed on body 805 proximal to helical thread 815. A central lumen 825 extends the length of body 805. A fluid valve 830, preferably in the form of one or more deformable seals, is disposed at the distal end of the device so as to selectively close off lumen 825.

[0258]

Obturator 810 is sized to fit within, and close off, lumen 825 of body 805. In addition, obturator 810 is adapted to drivingly engage body 805, whereby rotation of obturator 810 may be converted into corresponding rotation of body 805. By way of example but not limitation, obturator 810 may be drivingly connected to body 805 by an obturator pin 835 which engages a pair of body ears 840.

[0259]

In one contemplated manner of use, a small hole is first made into a corporeal conduit, e.g., a blood vessel. The distal end of body 805, with obturator 810 in place, is then inserted into the hole. Next, obturator 810 is turned so as to cause body 805 to turn, whereupon thread 815 will pull the distal end of body 805 into the interior of the blood vessel. Engagement of flange 820 with the outer surface of the blood vessel will prevent further movement of body 805 into the blood vessel. Engagement of flange 820 can also assist in sealing the blood vessel against leakage. To this end, flange 820 may comprise a compliant seal and/or may comprise a thrombogenic agent. Obturator 810 may then be removed; however, blood will not pass out of the proximal end of body 805 due to the presence of fluid valve 830. Thereafter, when instruments or the like are to be introduced into the blood vessel by means of body 805, they may be pushed through the fluid valve 830 and lumen 825.

[0260]

When access to the blood vessel is no longer required, body 805 may be backed out of the blood vessel, e.g., by reinserting obturator 810 into body 805 so that obturator pin 835 engages body ears 840, and then appropriately turning the distal end of the obturator so as to unscrew body 805 from the wall of the blood vessel.

[0261]

Body 805 is preferable absent of perforations so as to minimize any ingrowth of tissue into the body, which may render subsequent removal more difficult. Additionally, various materials and/or coatings may be used to minimize tissue ingrowth to body 805.

Access Device

[0262]

Visual examination of the large intestine (colonoscopy) is performed by passing a colonoscope, retrograge, the entire length of the intestine, starting at the rectum and advancing to the cecum.

[0263]

Standard practice is to lubricate the colonoscope and the entry site (i.e., the anal sphincter) prior to inserting the colonoscope with a combination of push-and-quarter turn twisting motion.

[0264]

This insertion can be especially challenging where the patient is not relaxed and the sphincter muscle is held tightly closed. Hemorrhoids can also cause discomfort when the instrument is advanced into the anal sphincter. Also, to the extent that a helically-threaded introducer (such as the threaded introducer catheter 500 described above) is used to deploy the endoscope, the presence of the introducer's helical threads can add to the challenge of inserting the colonoscope into the rectum.

[0265]

To this end, and looking now at FIGS. 41-43, a novel access device 900 is provided. Access device 900 comprises two main elements, a liner 905 having a central lumen 907 and an obturator 910 sized to selectively close off lumen 907.

[0266]

In use, obturator 910 is first positioned in lumen 907 of liner 905, and then the assembly is inserted into the rectum. Once access device 900 is inserted in the rectum, obturator 910 is removed, thereby providing a tubular access into the rectum. Then the colonoscope (with associated threaded introducer catheter 500 if desired) can be passed freely into the rectum.

[0267]

Liner 905 may or may not have a helical thread or other surface geometry on the exterior of the tube to help advance the liner into the rectum or to help keep it in place. Additionally, liner 905 may be designed with a feature to cause it to split so it can be easily removed from the procedure site once the colonoscope has entered the rectum.

Как компенсировать расходы
на инновационную разработку
Похожие патенты