An improved tensile inclusion member utilizing synthetic deformed bars to reinforce soil with improved attachment devices between synthetic deformed bars or other tensionable bars to precast concrete retaining wall elements.
1. A retaining wall system comprising:
confined face layers forming a mechanically stabilized earthen wall fill; an assembly of rigid, full height fascia panels; a separate foundation to support said fascia panels; adjustable attachment points connected to said fascia panels for horizontal and plumb adjustment of said fascia panels; synthetic deformed bars (sdb's) attached to said fascia panels at said attachment points for anchoring said fascia panels to said mechanically earthen fill; a void separating said fascia panels from said mechanically stabilized earthen wall fill; and a layer of fill at the top of said void. 2. The system of 3. The system of 4. The system of 5. The system of 6. The system of 7. The system of 8. The system of 9. The system of 10. The system of 11. The system of 12. A retaining wall system comprising:
a mechanically stabilized earthen backfill (MSE) having a base, intermediate layers, and an uppermost layer; an assembly of full height rigid fascia panels, each of said fascia panel having a lower edge; a separate foundation to support said fascia panels, said foundation having an attachment point for receiving said fascia panel lower edges; synthetic deformed bars (sdb's) embedded in said MSE; said sdb's attached to said fascia panels; adjustment mechanisms connecting said fascia panels to said sdb's and providing horizontal alignment of said fascia panels; sdb connections to said full height fascia panels that allow limited vertical relative movement between said fascia panels and said MSE; and a void separating said fascia panels from said MSE. 13. The system of precast concrete fascia panels having prepositioned adjustable attachment points cast into said fascia panels during manufacture. 14. The system of 15. The system of 16. The system of 17. The system of 18. The system of 19. The system of 20. The system of 21. A method of constructing a retaining wall comprising:
forming a mechanically stabilized earthen wall fill having confined layers; constructing a separate foundation to support an assembly of full height rigid fascia panels, said fascia panels having a face side; embedding synthetic deformed bar (sdb) assemblies between designated layers of said mechanically stabilized earthen wall fill; connecting said fascia panels to said sdb assemblies; aligning said fascia panels using adjustable panel connection mechanisms that allow horizontal and plumb alignment of said fascia panels; and providing a void between said fascia panels and said mechanically stabilized earthen wall fill. 22. A retaining wall facing system comprising:
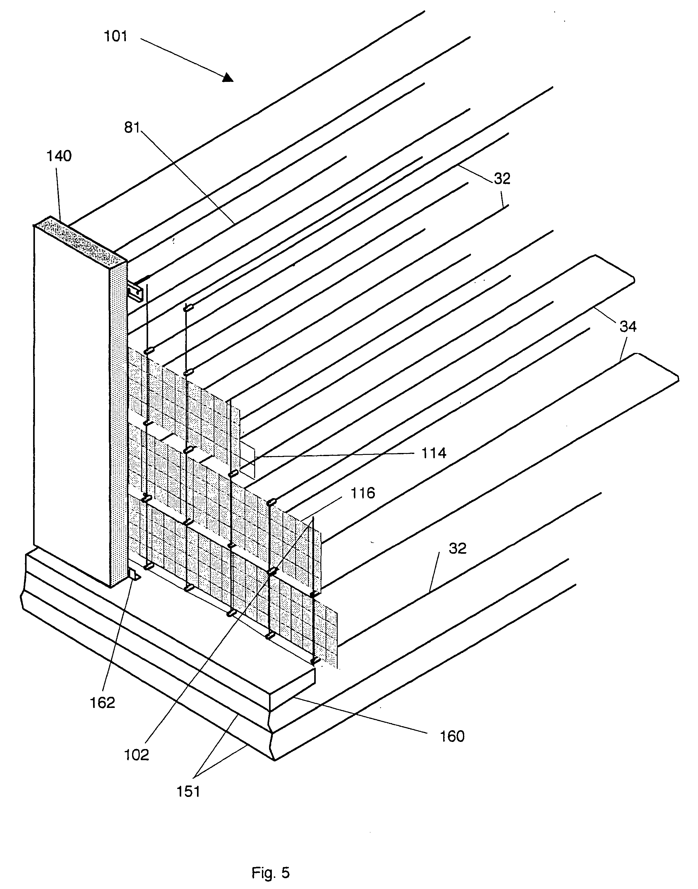
an elevated, remote foundation; an mechanically stabilized earthen backfill (MSE) having a base, intermediate layers, and an uppermost layer; an assembly of full height rigid fascia panels, each of said fascia panel having a lower edge; a separate foundation to support said fascia panels, said foundation having an attachment point for receiving said fascia panel lower edges; synthetic deformed bar (sdb) anchors embedded in said MSE; adjustment mechanisms connecting said anchors attached to said fascia panels and allowing horizontal and plumb adjustment of said fascia panels; sdb anchor connections connecting said full height fascia panels to said anchors, said sdb anchor connections allowing limited vertical relative movement between said fascia panels and said MSE; and a void separating said fascia panels from said MSE. 23. The system of precast concrete facing panels having prepositioned adjustable attachment points cast into said facing panels during manufacture, said sdb anchor connections connected to said fascia panels at said adjustable attachment points. 24. The system of a continuous foundation beam to which said facing panels are mechanically attached. 25. The system of separate foundation beams positioned at a vertical joint of adjacent panels, said panels mechanically attached to said foundation beams. 26. The system of 27. The system of 28. The system of 29. The retaining wall system comprising:
generally horizontally disposed layers of sdb tensile inclusion members forming a mechanically stabilized earthen wall fill; an assembly of rigid full height facing panel; adjustable attachment points connected to said full height facing panels for a vertical and plumb adjustment of said panels, allowing for relative vertical movement; a portion or all of said sdb tensile inclusion members attached to said full height panels; an optional partial void separating said fascia panel from a partial said sdb stabilized closed face earthen wall fill; and a foundation beam supporting said full height wall facing panels. 30. The wall system as claimed in 31. The wall system as claimed in 32. The wall system as claimed in 33. The wall system as claimed in 34. The wall system as claimed in 35. The wall system as claimed in 36. The wall system as claimed in 37. The wall system as claimed in 38. A multipanel retaining wall system, comprising:
a mechanically stabilized earth backfill (MSE); a separate foundation; wall facing comprising an assembly of shaped perimeter and area facing panels, each panel having a top edge, a bottom edge, a front side, a back side, and attachment points on said panel back side, said attachment points optionally providing vertical and horizontally adjustable of said facing panels; and a generally horizontal, layered array of synthetic deformed bars (sdb's) disposed in said MSE; said sdb's attached to said attachment points. 39. The system of 40. The system of a continuous foundation beam. 41. The wall system as claimed in 42. The system of 43. A method of constructing a retaining wall comprising:
constructing a foundation to support an assembly of multiple wall facing panels, said panels having mating adjoining sides of any suitable shape; connecting rigid synthetic deformed bars (sdb's) to said wall facing panels; placing fill behind said wall facing panels; and embedding said sdb's within said fill to form a mechanically stabilized reinforced earth backfill (MSE); and wherein said MSE is formed without a requirement for bracing of said wall panels. 44. The method of 45. The wall system as claimed in 46. The wall system as claimed in 47. The wall system as claimed in 48. The wall system as claimed in 49. The wall system as claimed in 50. The wall system as claimed in 51. The wall system as claimed in 52. The wall system as claimed in 53. The wall system as claimed in 54. The wall system as claimed in 55. The wall system as claimed in 56. The wall system as claimed in 57. The wall system as claimed in 58. The wall system as claimed in 59. The wall system as claimed in 60. The wall system as claimed in 61. The wall system as claimed in 62. A retaining wall facing system comprising:
mechanically stabilized earthen (MSE) backfill having a base, intermediate layers, and an uppermost layer; an assembly of tier layer height rigid facing panels; synthetic deformed bars (sdb′) anchors embedded in said MSE; attachment devices connected to said anchors to support horizontally disposed rigid bars spanning between adjacent said sdb's in each said MSE layer; said rigid tier layer height facing panels placed edge to edge forming generally horizontally disposed rows; said adjacent vertically stacked rows horizontally displaced. 63. The system of 64. The system of 65. The system of 66. The system of 67. The system of 68. The system of 69. The system of 70. A generally vertically disposed precast retaining wall system, said retaining wall system comprising:
an assembly of wall panels attached to similarly shaped concrete foundation tees side by side with each wall panel, including either a single or a pair of generally T-shaped vertical stems formed with a horizontal and optionally with a vertical bearing surface; shaped vertical tee stems formed with a horizontal and optionally with a vertical bearing surface for contact with the horizontal bearing surfaces of the foundation tee stems; precast concrete tee stems forming a foundation means for supporting said retaining wall system, each tee including either a single or a pair of generally T-shaped vertical tee stems formed with a horizontal bearing surface; shaped vertical tee stems formed with a horizontal and optionally with a vertical bearing surface for contact with corresponding vertical and horizontal bearing surfaces of said foundation tee stems; said foundation tees having sufficient bending moment capacity to resist overturning loads of said wall panels; generally vertically disposed synthetic deformed bar tension rods (sdb's) within said wall panels attached to voids in said base tee stems. 71. The wall system of 72. The wall system of 73. The wall system of 74. The wall system of 75. The wall system of 76. The wall system of 77. The wall system as claimed in 78. The wall system of 79. The wall system of 80. The wall system of 81. The wall system of 82. The wall system of 83. The wall system of 84. The wall system of 85. The wall system of 86. The wall system of 87. The wall system of 88. The wall system of 89. The wall system of 90. The wall system of 91. The wall system of 92. The wall system of 93. The wall system of 94. The wall system of 95. The wall system of 96. The wall system of 97. The wall system of 98. The wall system of 99. The wall system as claimed in 70, wherein said foundation tee base is trapezoidal shaped. 100. The wall system as claimed in 70, wherein said foundation tee base shape facilitates plumb orientation of said vertically disposed tee wall panel. 101. The wall system as claimed in 102. The wall system as claimed in 103. The wall system as claimed in 104. The wall system as claimed in 105. The wall system as claimed in 106. The wall system as claimed in 70, wherein said opposing wall panel has additional said vertically disposed stem voids for additional said tensionable bars 107. The wall system as claimed in 70, wherein an upper panel is attached to both said lower opposing wall panel and to said extension tee foundation. 108. The wall system as claimed in 70, wherein both said lower and said upper wall panels are attached to said extended tee foundation with sdb's, steel thread bar, or steel cable strand inserted through said aligned vertically disposed stem voids. 109. A segmental, anchored, generally vertically inclined or variably inclined precast retaining wall system, said retaining wall system comprising:
foundation means for supporting said retaining wall system; an assembly of base wall panels attached to said foundation each base panel including either a single or a pair of generally T-shaped vertical tee stems formed with a horizontal and vertical bearing surface; shaped vertical tee stems formed with a horizontal and vertical bearing surface; an assembly of upper subsequent tiers of wall panels stacked on said base tier panels, each upper tier panel including a single or pair of generally T-shaped vertical tee stems, formed with a horizontal and vertical bearing surface for contact with said horizontal and vertical bearing surfaces of the base wall panel tee stems; straight or U-shaped sdb's attached to said base wall panels and to said upper tier wall panels said sdb's imbedded within geosynthetic or geogrid reinforced MSE wall; base and upper flat wall panels placed between base and upper wall support panels; and a horizontal displacement of exposed fill material between said base and upper wall support panels and flat wall panels. 110. The wall system as claimed in 111. The wall system of 112. The wall system of 113. The wall system of 114. The wall system of 115. The method of 116. The wall system of 117. The wall system as claimed in 118. The wall system as claimed in 119. An assembly of generally vertically and horizontally disposed structural precast concrete assembly comprising:
an assembly of similarly shaped concrete foundation tee formed side by side with each concrete foundation including either a single or pair of generally T-shaped stems formed with a horizontal and vertical bearing surface for contact with and attached to similarly shaped concrete pane; precast concrete tee stems and flange forming a foundation or base for supporting a similarly shaped generally vertically disposed precast concrete support tee; shaped vertical tee stems formed with a horizontal and vertical bearing surface for contact with corresponding vertical and horizontal bearing surfaces of the foundation of base tee stems; precast concrete tees forming a foundation or base means for supporting earth loaded panels placed between and bearing on said vertical tees for retaining wall or earth loaded structures; 120. A retaining wall system comprising:
an assembly of wall panels attached to similarly shaped concrete foundation tees; including either a single or a pair of generally T-shaped vertical stems formed with a vertical bearing surface; shaped vertical tee stems formed with a vertical bearing surface for contact with a corresponding vertical bearing surface of the foundation tee stems; precast concrete tee stems forming a foundation means for supporting said vertical wall tee panels, each tee including either a single or pair of generally T-shaped vertical tee stems formed with a vertical bearing surface; shaped vertical tee stems formed with a vertical bearing surface for contact with corresponding vertical bearing surfaces of said foundation tee stems; generally horizontally disposed, trapezoidal panels spanning between adjacent, displaced said tee panel assemblies; said wall tees having sufficient bending moment capacity to resist horizontal earth load imposed by said trapezoidal panels; said foundation tees having sufficient bending moment capacity to assist overturning load imposed by said vertical wall tee; generally horizontally disposed sdb's, steel threadbars, or high strength steel cable strands within said walls attached to voids in said foundation and said wall tees. 121. The wall system as claimed in 122. The wall system as claimed in 123. The wall system as claimed in 124. The wall system as claimed in 125. The wall system as claimed in 126. The stabilized earth structure of Provisional Patent No. 60/184,049, wherein the attachment devices are steel deformed bars or thread bars attached to a steel face plate. 127. The stabilized earth structure of Provisional Patent No. 60/184,049, wherein the attachment of deformed steel bars or high strength steel cable strand U-shaped bars is by encapsulation in grout forming a structural bond to said sdb's placed in said insitu material in said drilled shaft.
This application claims the benefit of U.S. provisional patent application No. 60/261,486, Doc. No. 7291 filed Jan. 13, 2001, and is a continuation-in-part of PCT patent application number PCT/US01/05733, filed Feb. 22, 2001, which designates the United States of America and claims the benefit of U.S. provisional patent application No. 60/184,049, filed Feb. 22, 2000. These patent applications are incorporated by reference herein in their entirety. Various methods have been used to construct precast walls for retaining earth, soil, sand or other fill (generally referred to as soil). A typical precast wall system is disclosed in U.S. Pat. No. 4,914,876, assigned to the Keystone Retaining Wall System, Inc. by Paul J. Forsberg. The Keystone Patent illustrates a typical modular block wall system wherein the wall face is comprised of concrete masonry units connected to geosynthetic wall reinforcement layers. The geosynthetic tensile inclusion members for this type of retaining wall structure are typically referred to as “geogrids.” A disadvantage of such a system is that a considerable amount of hand labor is required to install the numerous small block facing units of the block wall system. This requirement limits the amount of wall structure that can be completed in any work shift. In addition, if the wall is placed on weak foundation soils, a manifestation of wall settlement is cracking or more significant crushing or crumbling of the facing units. If wall settlement is excessive, the geogrid material can be sheared where it connects to the concrete masonry unit horizontal joints, which can result in wall failure. Numerous other types of concrete block mechanically stabilized earth wall systems are available. These systems, like the Keystone System previously described, mandate precise grading and compacting of the wall backfill to correspond to increments of the vertical height of the block facing units so that the tensile inclusion materials used to mechanically reinforce the retained wall backfill material can be placed at the horizontal joint elevations of the concrete masonry units. Although the material costs for these types of wall systems are low, the high labor costs for the various stages of wall construction can result in installed price of walls that are substantially higher than the material costs. Other mechanically stabilized earth walls include walls that use precast concrete panels for the wall facing elements, such as walls disclosed in U.S. Pat. No. 4,961,673, issued to Pagano et al., and U.S. Pat. Nos. 3,421,326; 3,686,873; and 4,116,010 to Vidal. Such wall systems require the use of metal reinforcing strips or steel grids as soil inclusion members in the wall backfill. Those members are connected to the precast wall panels to hold the panels in place and to provide stability for the wall backfill. A disadvantage of walls that use metal soil reinforcement is that the metal soil tensile inclusion members are subject to corrosion, because the metal is in direct contact with the wall backfill. Numerous catastrophic failures have resulted from the effects of unchecked corrosion on the metal tensile inclusion members for these wall systems. Although soil inclusion members (e.g., metal strips or steel grids) can be galvanized to resist the corrosive effects of the oxidation process, this technique is not effective for all soil types due to the diverse mineral content present in some soils. Other methods, such as epoxy coating of the metal soil inclusion members, have been used to further resist the deleterious effects of potential chemical reactions of the soil minerals with the soil inclusion members. A disadvantage of the epoxy coating, however, is that the coating is easily scratched during the construction, which results in the exposure of the metal soil reinforcement to the corrosive effects of minerals present in the backfill. Also, epoxy coatings increase the costs of these systems. Another factor that increases the likelihood of premature failure of MSE walls that use steel soil reinforcement is the reduced sliding friction of the soil reinforcing material at the onset of the effects of corrosion. Because corrosion commences from the outside surface of the reinforcing material, the corrosive residue becomes the material that is in contact with the soil following the commencement of corrosion. The interface of the corrosion layer with the steel soil tensile reinforcement member is therefore the weak link. The remaining competent steel material may move with respect to the corrosion layer. Movement between the soil fill and the soil reinforcement may also occur. The ultimate result of this relative movement could be premature wall failure. Typical wall facing units for existing MSE systems in current use may range in size from 8″×16″ for block systems to 25 to 50 sq. ft. for precast panel wall systems. The concrete masonry block systems, due to the high unit weight and relatively small size of each block, do not require bracing or interlocking to hold the face units in a vertical position as the wall backfill is placed. Since the blocks are heavy (exceeding 100 pounds for some applications), the placement of the blocks is physically demanding, which adds to the placement cost of the facing units. MSE wall systems that use panels for wall facing are large in size compared to the block facing units, and the panels (typically between 25 to 80 sq. ft. in area) are held in place during backfilling operations by interlocking with previously placed or adjacent panels. For some systems, the facing units are “wedged” or leaned by other methods so that the effect of the interaction of the backfill pressure and the metal soil reinforcement will, in theory, force the panels into a plumb or vertical position. Panel placement for these systems requires experienced workers to erect the units so that the resultant structure will be vertical and not leaning either in or out of a vertical plane. Full height panels have been used on MSE walls where the MSE layers are connected to the wall face. Temporary erection braces are required for these systems to hold the panels in place because the backfill is placed behind the wall. This requires additional working right-of-way in front of the wall and restricts site access. Because the soil reinforcement material (e.g., geosynthetic or metal) is not designed for concentrated high loads at the connections of the soil reinforcement material, the panel connections should, in theory, have quantifiable uniform loads. This condition is extremely difficult, if not impossible, to achieve in the field. This difficulty is one of the primary reasons why few full height MSE panel walls have been built with precast face units. An indeterminacy situation exists for the load determination at the numerous connections of the soil reinforcement material to the panels for these types of walls since, typically, the number of soil reinforcement connections to the wall facing exceeds the number of equations available to solve for the individual connection loads. There is a portion of retained soil loading on the wall face in full height and all MSE panel systems currently in use. Vertical settlement (relative motion) between the tensile inclusion soil reinforcement layers and the panel face can induce excessive shear loads on the soil reinforcement material at the connection point to the panel. Typically there is no adequate provision to allow for this vertical movement without inducing shear forces on the tensile inclusion material at the connection to the wall face for the systems currently in use. Many panel connection devices have been installed and utilized for these various systems currently in use wherein the wall face can, in theory, move with respect to the soil reinforcement material. Panel connections, such as vertical bolts supported by devises cast into the panels that are connected to the metal trip soil reinforcement, have been used to allow for vertical movement. The high horizontal earth loading on the individual connections results in large friction loads at the bolts and, as a result, the relative motion desired at the connections has not typically been achieved. This condition is exasperated because the currently available MSE wall systems do not utilize soil reinforcement that has significant bending moment resistance or shear strength, even though the soil reinforcement may have high tensile capacity. Vertical settlement of the whole MSE wall mass, wherein the panels move with the MSE structure is, for some sites a valid assumption because the forces supporting the vertical wall and backfill loads are uniform. Unfortunately, for certain wall sites, the retaining structure may rest on material that does not have uniform bearing capacity over the reach of the wall. For these sites, if there is compressible material under some portions of the MSE mass, the structure will not settle uniformly. This can result in differential settlement between the wall elements and the wall mass, which can lead to structural failures of varying degrees. Another broad range of MSE wall types that have been used extensively for permanent and temporary retaining wall applications are wrapped face, or confined fill layers, that form a geotextile MSE wall. These walls are comprised of an assembly of vertically stacked layers of wall backfill confined by closed face sheets of geotextile that are typically placed in horizontal planes within the wall backfill as the backfill is placed and compacted. For temporary walls, the face of these walls is the exposed geotextile material. The geotextile material that retains the fill at the face of each layer is wrapped back into the fill behind the face of the wall. The wrapped back geotextile is imbedded into the backfill material behind the face of the wall for each compaction lift of fill that is placed. One of the difficulties associated with the construction of these types of earth retention structures is that the wrapped back face portion of each backfill layer requires that an external forming system be installed in front of the face of the wall to hold the geotextile face at the proper alignment until the wrap back portion of the geotextile layer is sufficiently imbedded in the backfill adjacent to the wall face. The associated fill pressure prevents the wrap back geotextile from being displaced horizontally. The cost of labor associated with the placement and operation of the external forming system adds to the cost of these types of walls. Whether the geotextile wall is a temporary or permanent structure, a face forming grid is required during wall construction so that the resultant overall wall face will conform to the wall alignment limits. For permanent geotextile walls, it is necessary to cover the exposed wall face so that the geotextile will be protected from the deleterious effects of prolonged exposure to ultraviolet radiation. Although the geotextile material is corrosion-resistant with respect to the soils and minerals that the material may come into contact with due to the embedment in the wall backfill, the long-term effects of exposure to the sun can result in the ultimate deterioration of the wall face. Various facing materials that have been used to cover the face of geotextile walls. The facing materials include, for example, sprayed concrete faces, precast or cast-in-place concrete panels. The use of a sprayed concrete faces requires that attachment fasteners, such as lengths of wire or pieces of rebar, be installed in the wall and protrude from the face of the wall to form a connection between the sprayed on concrete and the exposed geotextile surface. The disadvantage of walls with this type of face is that the wall surface is typically not uniform and not aesthetically pleasing. Additionally, if the walls experience any significant long-term settlement, cracking and spalling of the sprayed concrete face can occur. Precast facing elements have also been attached to wrapped face geotextile walls by the use of long bolts or thread bar anchors that are screwed into the geotextile earth retention structure. Although these methods are adequate to provide U.V. protection, corrosion of the bolts or metal anchors can reduce the life of the wall. The precast facing is also rarely attached accurately, so the resultant wall face may not be uniform in appearance. Another wall face that has been used for geotextile walls is the option of casting a poured-in-place concrete face over the geotextile textile wall. This approach can result in a uniform aesthetic face, but it does require extensive forming and the associated high field labor and material costs. These additional costs can make walls of this type less competitive than other conventional wall types. For wall locations where the retaining wall structure is located at the base of a hill or at the toe of an embankment, the cut or excavation required for the base of the wall may make the use of an MSE wall of any type impractical. Depending on the existing slope angle at the proposed wall site and in situ material of the sloping embankment, the excavation limits from the back of the cut may also be very large or require shoring in lieu of excavating massive amounts of material. For applications such as these, cast in place or tied back type retaining walls may be the current choice even though the cost of these walls exceeds the cost of typical MSE wall components. Cast-in-place, cantilever walls for these applications typically have an extended footing in front of the wall and a shear key. The cost of the shear key and the extension of the footing in front of the wall to offset the lack of the footing behind the wall (under the wall fill) results in a substantially more costly wall than would be the case for a standard configuration cast-in-place wall. By the same token, if a tied back or other top down type of wall is selected for the cut wall site (e.g., due to the high cost of wall excavation), the end result will be a wall with a much higher unit cost than for a typical MSE or cast in place wall. Another type of cast in place vertical cantilever wall application is for those walls along a channel or for bulkheads to act as erosion control structures along waterways or at the shore of other bodies of water. For channel applications where a vertical wall is required, if the area or right of way behind the proposed wall alignment is at a minimum, a front extension of the wall footing is required at the base of the wall. This situation, as for the previously described wall conditions, adds to the cost of the structure. Both conventional cast in place concrete walls and precast wall systems are in use that provide free standing walls that are stationary prior to fill placement and are not dependent on fill interaction for stability, as is the case for MSE walls. The disadvantages of these walls are shortcomings in fabrication and efficient construction techniques. These systems require an extensive use of formed, cast-in-place concrete for the completion of the wall construction. For example, wall panels having integral stems are connected to the cast-in-place wall foundation as the cast-in-place footing is poured. The wall panels for this system have to be braced in the field until the cast-in-place footing concrete has cured and obtained sufficient strength to allow the panels to be self supporting. The use of this extensive bracing and special forming for the wall foundation requires skilled workmen in the field to implement the connection of the panel to the wall base. Another currently available free standing cantilever precast wall system is the “Port-O-Wall” product. For this system, the wall panels are also precast and are attached in the field to a formed cast in place wall footing. For this system the wall panel typically has voids in the bottom portion of the panel. The elevation of the void in the panels is located so that when the panels are erected in the field, the voids are encapsulated into the field concrete that is placed in the wall foundation. For the previously described system, there is a requirement for the rebar that is cast into the panel to react with the footing reinforcement and cast-in-place concrete to achieve the design wall stability. For the Port-O-Wall System, there is typically no exposed panel reinforcement, and the rebar in the footing is extended through the void in the panel prior to completing the placement of the footing concrete. For both of these systems, the wall panels are required to be braced until the footing concrete has reached sufficient strength to support the panel. The need to have the footing concrete cure is a disadvantage for either wall system for ease of construction or construction schedule. The bracing also adds time to the erection process. The need for the field concrete to reach design strength, so that the wall can withstand wall fill pressures, can be as long as 28 days before the wall fill can be placed behind the panels. Another method that has been used extensively for cantilever wall applications is the double tee wall system that was developed by Colorado Dept. of Transportation in the 1980's. For that design, double tee wall panels are placed on massive cast in place foundations to form a cantilever wall. The mechanism that is used to resist the overturning moments induced on the wall by the fill pressures is the extensive use of post tensioning rods. The rods are typically inserted through the tee stems of the double tee wall panels in the field and threaded into couplers cast into the wall foundation. To achieve the required accuracy for the placement of the couplers in the footing mandates, the use of special forming and highly skilled field personnel is required. Also, the installation of the post tensioning typically requires the use of special contractors in the field. As with the previous systems, should there be a void or incorrect application of grout at the connection point of the wall reinforcement the wall panel connection is subject to corrosion and premature failure. Another precast wall system that simulates a conventional cast-in-place cantilever wall is disclosed in U.S. Pat. No. 4,572,711, issued on Feb. 19, 1986 issued to Benson et al. This system requires the use of a precast double tee attached to either a precast or cast-in-place flat footing slab. The implementation of this design has similar shortcomings as those stated for the CDOT tee wall system previously described. Since the footing shown for that post tensioned combination is a flat slab, the size and thickness of the footing is required to be massive, similar to the CDOT cast-in-place footing. Also, the installation of the post tensioning requires specialty contractors. In addition to the shortcomings stated for the above mentioned systems, all of these products, with the exception of the Benson patent, require special forms for the production of the wall panels. Heretofore steel soil reinforcement, as well as flexible synthetic sheets of synthetic material, have been used for soil reinforcement for MSE walls. If steel is used, it is usually required to be galvanized or protectively coated to enhance the corrosion resistance. Also, an increase in the cross sectional area of the steel soil reinforcement member is required so that the structure will still be in service for up to 50 years. This increase in cross sectional area is generally referred to as sacrificial steel in the industry. By adding additional steel area to compensate for the section loss due to corrosion, the cost of steel soil reinforcement is increased proportionally to the sectional area increase. Due to the corrosion coating and an increased comparable sectional area for steel, there is a need for new products with enhanced corrosion resistance. The present invention provides synthetic deformed bars (sdb's), retaining walls comprising sdb's, and methods of making retaining wall including sdb's. The sdb's are typically solid, rigid bars are can be of any suitable sizes and strength. Sdb's can be used as tie rods, as anchors, as soil inclusion members, as tensioning members, and the like. In accordance with one aspect of the present invention, a full height precast panel MSE wall system is provided. The MSE wall system generally includes an assembly of wall panels, a foundation, confined face layers forming a mechanically stabilized earthen wall fill (MSE), and a plurality of sdb's disposed or imbedded in the MSE. The wall panels are typically precast. The foundation can be, for example, cast-in-place or precast, and may optionally be elevated with respect to the bottom layer of the MSE wall. The sdb's can be attached wall panels at attachment points to position the wall panels in a stable, substantially vertical plane. The MSE can optionally be separate from or in contact with the wall panels. In certain embodiments, the MSE wall system can use permanent precast wall panels that correspond to the height of the MSE, or that are in incremental heights, the total of heights of which equal or exceed the height of the MSE. Full height wall panels are typically not subject to significant earth loading by the retained soil. The synthetic deformed bars can provide corrosion protection and allow for the option of compensating for vertical differential settlement. The panel base can optionally have an elevation higher than the base of the MSE. The synthetic deformed bars used for the tensile soil inclusion members for the separate MSE wall structure can be installed in any suitable pattern. For example, the sdb's can be installed in an alternating pattern within a soil mass. In certain embodiments, the sdb's are positioned generally horizontally (e.g., in substantially horizontal planes). The sdb's can be installed singly, in pairs or in greater units. In certain embodiments, the sdb's Can be U-shaped bars that are pre-bent. For the U-bar placement, effectively two tensile inclusion members can be installed in the soil. The ends of U-bar sdb's can optionally be adapted for connection to the wall panels. In certain embodiments, the deformed bars can be pre-bent at the factory, so that the bars have consistent bends. The U-bar face is typically parallel to the face of the wall. The distance between the bends (or curves) at the front of the U-bars are typically approximately equal in length to the horizontal grid distance of the bar spacing, per the MSE design. Following placement of U-bars and fill in uniform soil lifts, the U-bars are secure in the soil mass to be retained. The U-bars can be secured in a generally sequential manner from the bottom of the wall as the soil is placed. In certain embodiments, generally vertically disposed bars can be inserted at the inside edge of the face bends of the U-bars, so that the vertical bars are at the approximate grid spacing of the U-bars. The generally vertically disposed bars can typically be synthetic or non-corrosive metal bars, such bars can also be metal. Such an array of generally vertical bars can form a structural grid of bars restrained from outward motion by the U-bar face bend due to the embedment depth of the U-bar in the fill. Due to the high bending capacity of the generally vertical sdb's, the face of the U-bar MSE wall typically does not-substantially deviate from a vertical plane, as would an unformed, wrapped face geotextile wall. The combination of the vertical bars restrained by the U-bars can optionally form a plane at the face of the wall, without the use of an external forming system. Because the vertical grid can be established with bars of varying lengths convenient for wall construction and plan layout, a grid mat of much smaller spacing can be placed behind the vertical grid of horizontal and vertical disposed bars. This smaller grid (or mesh mat) along with a geotextile or comparable flexible fabric can form the closed face of the MSE wall and can prevent soil particles from falling away from the separate MSE wall. In certain embodiments, such a field assembly process can be followed until the height of the MSE wall corresponds to the panel attachment elevation. At the anticipated panel joint, a separate sdb with a threaded end can be placed in the fill. A plate can be attached to the threaded end of the bar. The plate optionally can be attached to the adjacent panels as they are placed. The panels can thereby be secured to the separate MSE wall. Typically, the panel attachment elevation is close to the maximum MSE wall height, so that the MSE wall effectively acts to surcharge or consolidate the in situ foundation material at the base of the wall prior to the attachment of the fascia panels to the MSE wall. In other embodiments, precast double Tee retaining walls are provided. Such walls can include, for example, an assembly of wall panels attached to similarly shaped concrete foundation tees, shaped vertical tee stems formed with a horizontal and vertical bearing surface for contact with the horizontal and vertical bearing surfaces of the foundation tee stems; precast concrete tee stems forming a foundation means; and shaped vertical tee stems formed with a horizontal and vertical bearing surface for contact with corresponding vertical and horizontal bearing surfaces of said foundation tee stems. Synthetic deformed tension bars, high strength steel threadbars and/or high strength steel strand cables can be used to attach the tee members. In another embodiment, double tee wall panels are attached to deadmen placed in excavated trenches or in slots within in situ material behind tee wall assemblies. In a related embodiment, a segmental, anchored, generally vertically inclined or variably inclined precast retaining wall system is provided. The wall system can include, for example, foundation means; an assembly of base wall panels attached to the said foundation means; shaped vertical tee stems formed with a horizontal and vertical bearing surface; an assembly of upper subsequent tiers of wall panels stacked on the base tier panels; and straight or U-shaped sdb's attached to said base wall panels and to the upper tier wall panels; base and upper flat wall panels placed between base and upper wall support panels. Geosynthetic sheets can be placed with backfill material behind the wall support panels and flat panels. These and other embodiments are further described by the following description and drawings. The present invention provides synthetic deformed bars (sdb's), retaining walls comprising sdb's, and methods of making retaining wall including sdb's. The sdb's are typically solid, rigid bars and can be of any suitable sizes and strength. Sdb's can be used as tie rods, as anchors, as soil inclusion members, as tensioning members, and the like. The sdb's are typically generally elongate and can have any suitable cross-sectional shape, such as, for example, a generally circular, ellipsoidal, square, rectangular, polygonal or other regular or irregular cross sectional shape. Sdb's, according to the present invention, are typically substantially solid and composed of a corrosion-resistant synthetic (i.e., non-metallic material), such as, for example, polyester, vinyl ester, epoxy and epoxy derivatives, urethane-modified vinyl ester, polyethylene terephthalate, recycled polyethylene terephthalate, and the like. Suitable materials can also include combination of any of these. The synthetic resin can be a composite fiber material, such as a combination of a synthetic resin and a fiber reinforcement. Suitable fiber reinforcements are typically non-metallic and include, for example, E-glass, S-glass, aramide fiber (e.g., KEVLAR), carbon fiber, ceramic reinforcement and the like, or combinations of any of these. Suitable fiber composite materials are, for example, PSI Fiberbar (Polystructures, Inc., Arkansas) or C-Bar (Marshall Industries). In some applications, the bar can be coated with a corrosion or moisture resistant material. SDB's have adequate deformations for bonding to grout or other bonding material, or for use as soil inclusion members. As used herein, deformations can be corrugations, dimples, protrusions, and the like, on the circumference of the bar. Such deformations provide a larger surface for bonding of the bar surface to cement, concrete, and grout e.g., (hereafter generally referred to as “grout”), soil, and the like. Such increased bonding area allows a stronger bond to be formed between the bar and the grout or soil, thereby taking advantage of the load capacity of the bar. The deformations on the surface of the bar can optionally form a continuous repeating pattern on the surface of the bar. In such an embodiment, the deformation can have a generally relatively consistent spacing and depth (or height) from the bar's surface to provide a predictable field bonding characteristic. The deformations in the SDB can also facilitate the connection of attachment devices, such as couplers, as may be required for in situ soil reinforcement. The SDB can also have a flared end or a threaded end. In certain embodiments, the sdb's have significant surface deformations comparable to that of steel rebars, which provide pullout resistance of the sdb's which is substantially higher than that of many other types of soil reinforcement currently in use. Sdb's also have lighter weight and higher strengths with equivalent bond strengths of concrete or cementatious grout than metal bars of the same cross-sectional area. Due to the lightweight and high tensile strength, the bars can be rigid and exhibit a high bending moment capacity. Sdb's, according to the present invention, can include a variety of mechanical ends. For example, such mechanical ends can facilitate use of the sdb's for soil anchoring as described in PCT/US01/05733, and in U.S. provisional patent application No. 60/184,049 (the disclosures of which are incorporated herein in their entirety). In certain embodiments, sdb's with significant deformations of the cross-sectional area with deviations over the length of the sdb can have a high bonding strength between the sdb and the surrounding material. The associated pulling resistance to remove the sdb from a surrounding medium will be significant. This property is useful not only if the surrounding material is concrete or a cementations grout, but also applies to other types of surrounding material, such as soil. In certain installations, it may be desirable to structurally integrate the wall face to the sdb's by “lapping’ face bar reinforcement inserted into the drilled shaft at the face of the wall following the installation of an sdb nail assembly. For such a configuration, the inserted bar reinforcement length is typically determined by the bond length to obtain the full strength of the sdb. Since it is feasible to visually inspect the shaft void at the face of the wall, the use of steel bars may be acceptable for these applications, since the probability of complete encapsulation of the bars with the grout is quite high. With complete cover of the bars with grout, the usual corrosion concerns with the use of steel bars-is minimal, since their use with this option is only at the wall face. Steel bars can optionally be used to transfer the sdb load to the wall face. For example, a bar/steel plate assembly or hairpin bars with an approximate 180° bend can be used. The bar/plate option typically requires that the steel reinforcing bars or other deformed bars (e.g., thread bars) be structurally attached to a plate prior to inserting into the shaft. For a hairpin bar (e.g., having a 180° bend) inserted into a shaft void, typically steel deformed bar reinforcement or high strength cable (e.g., stressing strand) is pre-bent prior to insertion. For either option, face reinforcement, parallel to the proposed final wall face, is placed either behind the plate or through the hairpin bars (at the 180° bend). These face bars can typically be placed in an orthogonal pattern and integrated with adjacent reinforcement of the soil wall concrete face, although other patterns are possible and within the scope of the present invention. In certain embodiments, a fascia panel MSE system is provided. Referring to Vertical face bars 102 can be placed on the inside of the exposed front section 106 of the U-bars 104. The vertical face bars 102 are shown extending a vertical distance 103 above a typical U-bar 104. The vertical orientation of the U-bars 104 can be maintained by the stationary position of the lower U-bar 104. A typical material for the vertical face bars 102 is a corrosion-resistant material, such as a synthetic deformed bar or other suitable material that can be fabricated as bars. Such bars typically have a uniform cross section with suitable bending strength characteristics for wall face loads. The top portion of An exemplary embodiment of subsequent placement of vertical face bars 102 of typical vertical cross sections of a separate MSE wall assembly 100 is shown in Subsequent fill layer 135 is shown placed in view “b” in A partially completed isometric view of wall assembly 100 is shown in Referring to Another exemplary embodiment for a separate MSE wall assembly 101 is shown in the isometric view of a typical wall construction in Another option for forming the separate MSE wall for the fascia panel wall system is the curved closed face MSE wall utilizing sdb's. For this MSE wall option, the face (exposed portion) of the sdb's used for tensile inclusion members typically has a radial or semi-circular shape. The sdb's can be arranged in an alternating pattern in a generally horizontally disposed plane within the wall fill. As the sdb's are typically installed in sequential layers proceeding from the base of the wall, flexible corrugated sheets are placed to conform to the face curve of the sdb's within the semicircular arc of adjacent sdb's. Suitable sheet material is, for example, that used for building roofing or building cladding. Due to the corrugations of the sheet steel or aluminum material, the sheets are flexible to facilitate bending in conformance to the face curve. Conversely the sheets exhibit a high bending moment resistance for loads applied perpendicular to the long axis of the sheets. Since this is the load condition for the curved wall face, corrugated sheets can be effectively used to span the vertical distance between the horizontal layers of the curved faces soil reinforcement. For permanent fascia panel application, the corrugated sheeting material can be aluminum, plastic, fiberglass, or other corrosive resistant material. For temporary wall applications, steel soil reinforcement, such as deformed steel reinforcement bars bent to the curved shape, can be used with steel corrugated sheets. Temporary wall applications would typically be used to contain embankments on construction projects due to logistical phasing needs of specific projects. For temporary applications the semicircular face separate MSE wall 418 can utilize conventional steel deformed bars to secure the corrugated sheets 420. Steel bars (not shown) can either be straight or have a closed type U-bend within the MSE wall without affecting the operation of the current invention. Additionally shapes other than smooth semicircular curves shapes can be used without conflict with the present invention. Triangular or other face bend shapes (not shown) are other potential shapes that allow the use of flexible sheeting with a high bending capacity. Due to the rigid nature of sdb's, it is feasible to utilize the bars for direct connection to full height panels. One method is to utilize a separate closed face MSE wall for the lower portion of the wall so that the need to temporarily brace the wall panel is minimized or eliminated. By providing a partial height, separate closed face sdb or sdb reinforced MSE wall in combination with other geosynthetic fabrics or geogrids built to at least one third of the overall height of the wall, the full height panel can be supported from horizontal sdb's placed within the separate MSE. Following placement of a full height panel on the foundation, and while the panel is held by appropriate lifting devices, sdb's extending from lower the separate MSE wall can be attached to full height panels. The lifting devices can then be removed from the panel, since the panel is stable and held in a vertical position by the restraining effect of the sdb's imbedded in the separate MSE wall. Placement of self-compacting fill within the void between the separate closed face MSE wall and the back of the panel up to the elevation of the top of the partial height MSE wall precedes the attachment of the remainder of the sdb's, either void end or threaded end extensions sdb's, and proceeds in correspondence to the fill placement to the top of the wall panel. Since the sdb's are rigid and have a high bending movement capacity, their use has distinct advantages compared to the use of flexible soil reinforcement that is in current use to for attachment to full height panels. Since the bars will resist bending due to their rigid nature if the wall fill settles or moves downward with respect to the wall panel the likelihood of a shear failure at the connection of the sdb to the tee panel is unlikely. Additionally the use of the connector options that are described in the following various multiple panel wall facing embodiments for use with the current invention allow for vertical differential settlement without introducing noticeable shear at the connection. Another option for full height panels with direct attachment to sdb's imbedded in the wall fill is to temporarily brace the panel in a vertical orientation. The stabilizing effect of the brace along with the connection of the full height panels to the foundation allows the careful placement of wall fill and sdb's without effecting panel alignment. The braces can be removed when the fill height and sdb's within the fill are connected to the panel when the fill height reaches approximately one third of the wall height. The remainder of the sdb's and wall fill can then be completed to the design height. As with the previously described embodiment, the sdb's and fill can exhibit limited vertical settlement with regard to the panel elevation due to the use of the connections described herein for other embodiments. Referring to Referring to view “b” a full height panel 28 is shown attached to the threaded end extension sdb 40. Full height panel 28 is also attached to base angle clips 162 at the foundation pad 24. Full height panel 28 would typically be placed following placement and cover of threaded end extension sdb 40 by partial fill layer 43 which secures and immobilizes threaded end extension sdb 40. View “c” in Vertical sectional views of a braced full height panel MSE wall assembly 109 are depicted in View “b” in In accordance with another aspect of the present invention, the use of sdb's to retain multiple facing panels with varying shapes or interface details is also provided. Rigid sdb's used for soil reinforcement allows for partial fill placement prior to sdb soil reinforcement placement adjacent to and in contact with the backside of multiple facing panels. Placing wall backfill under the sdb's following panel placement can reduce or eliminate the need for temporary bracing or shimming, or interlocking of facing panels, which results in construction time savings. Size, shape, or panel interface details for the present invention are not significant for the operation of the present invention and any suitable shape or panel interface can be used in conformance with the use of sdb's described for soil reinforcement. The panels can be attached to the sdb's with any suitable attachment mechanisms known to the skilled artisan as well as those described herein. Referring to Three typical sequential sectional views of a multiple panel assembly 12 during a wall construction are shown in The center view “b”, shown in The lower view “c” shown in Referring to The lower portion of The partial rear elevation, view “b”, shows the threaded end extension 61 attached to the panel 37 at the sliding connector 62. The recess void 60 is shown and is formed by using a blockout as the panel is cast. View “b” of View “c” of View “d of Threaded extension 61 can displace downward due to the rigidity of the threaded extension 61 (bending moment resistance) and, in conjunction with the combination of the sliding spacer 68 assembled as shown, a mechanism is provided for maintaining an essentially vertical position for the panel 37 during construction and for the completed wall, while allowing free vertical displacement of the threaded extension 61 with respect to the stationary position of the panel 37. Certain applications may require that the multiple facing panels be horizontally offset. Therefore rather than the upper and lower edges of adjacent panels being in total contact forming a planar face, upper subsequent rows of facing panels can be horizontally offset from each other. For configurations of the this type, the portion of wall fill under the planned horizontal offset location of the adjacent upper panel is required to be placed and compacted to the proper base elevation and grade of the panel. Following placement of the offset panel and attachment of at least one sdb to securely position the offset panel, the placement and construction procedures for this optional embodiment proceed as previously described for the multiple panel system. Another economic and unique wall facing option is that of utilizing precast concrete roof ballast pavers or concrete roof tiles for wall facing. Such facing, although not in current use for retaining wall applications, can be lightweight, strong, and with the colorful appearance of such products which are currently used for roofing applications. Typically, void end connector sdb's can be used although other connection options can be used to secure the paver facing and will be and be in conformance with the present invention. For this wall facing, the voids in the sdb's are generally horizontally disposed, allowing for the placement of horizontal rods between sdb's placed within the wall fill in the same generally disposed horizontal plane. By placing horizontal bars, such as sdb's, aluminum, corrosion resistant steel, or equivalent strength synthetic bars, in adjacent layers of void end sdb layers, an essentially vertical or inclined plane can be formed between subsequent layers of sdb soil reinforcement. By installing concrete ballast pavers or concrete (or other cementatious or clay) roofing tiles behind the horizontally disposed bars between the sdb's, an essentially vertical or inclined plane is formed by the pavers or tiles. The paver or tile tier wall face height roughly corresponds to the vertical layer height of the sdb reinforcement. Suitable SDB's include straight or U-shaped bars for soil reinforcement. In addition, such sdb's can be integrated with other geosynthetic soil reinforcements If deemed appropriate for certain wall applications without affecting the operation of the invention. For sdb walls utilizing concrete ballast pavers or tiles for wall facing, the individual tier heights will either typically closely correspond to the long dimension or the short dimension of the paver or tile. In addition, the individual tiers can be essentially vertical, or can be installed leaning outward or in a reverse batter orientation. A horizontal offset between alternating layers of sdb layers is also typical for this wall option. The resulting exposed horizontal layer of wall fill between layers of sdb's provides potential planting space within the wall face. If a reverse batter inclination is used for each tier of tiles or pavers, an essentially vertical or steep wall face results which creates adequate space for installation of landscape materials between tiers with a minimum wall face batter. The effect of the plants and the colorful face provided by the variable earth tone colored concrete facing, results in a low cost, attractive, plantable MSE wall system. The horizontal offset sdb MSE assembly can also utilize a flexible mesh fabric face 116 (not shown) in lieu of the concrete ballast roofing pavers. The use of flexible mesh/fabric face 116 for wall facing has been previously shown and described in the fascia panel MSE system 100. Concrete roof tiles (not shown) are also equivalent facing for the horizontal offset precast concrete ballast paver MSE assembly 406. In another aspect, a double tee cantilever wall is provided. Such a wall can be used, for example, for narrow right of way wall locations or at the base of an existing sloping embankment. Precast double tees can be used for the base of the cantilever wall and the face of the wall. These tees can be fabricated for many structural applications, such as for example, bridge decks of roof structures. Many tee configurations are known to the skilled artisan and can be used in accordance with the present invention. Optionally, the use of double tees for the wall base or foundation of the wall can eliminate the need for a cast-in-place foundation for the wall panels. In certain embodiments, the tee sections can have equivalent bending to that of a massive rectangular footing with a fraction of the concrete volume. Due to the height of the base tee stems, the base of the wall panel is typically at a higher elevation than the base of a comparable cast-in-place wall. Therefore, the loads on the wall tees can be less than those for a conventional structure of comparable height. In addition, base tees can be precast, which can reduce the requirement for field concrete for the precast wall assembly, which can effectively simulate a conventional cantilever retaining wall assembly. Sdb's according to the present invention can be used to structurally connect the base tees to the wall tees. The sdb's can provide a competent structural connection sufficient to maintain wall stability and/or eliminate the need for corrosion-protection at the connection between the horizontal tee base and vertical wall tee. In other embodiments, other types of high tensile strength tendons can be used. Such high tensile strength tendons typically include adequate corrosion protection. High strength post tensioning bars can be used, but their use typically requires field grouting at the tendon connections. In embodiments, where precast base tees are used, the tendon connections optionally can be visible prior to installing wall fill, and consistent quality control is possible at the grouting locations. Additionally, partial post tensioning of the wall tees to the base tees can be completed prior to placing wall fill. The use of both of these features with the precast tee cantilever wall according to the present invention can eliminate the need for corrosion protection, whether sdb's or post tensioned tendons are used to attach the tee members. In an exemplary embodiment, for a typical wall site, following the wall footprint excavation, a level (or on grade), compacted base is prepared under the proposed wall footprint. Subsequently, the base tees can be placed at the wall alignment with the tee stems protruding upwards. The flat flange or deck portion of the base tee can be supported by the level fill. The wall face tees are then positioned over the base tees with the use of the appropriate lifting equipment. The stems of the wall tees are oriented towards the wall fill, and the flange or deck of the face tees are exposed to view. Additionally, the face tees can be fabricated with a face blockout at the bottom of the face tees that closely corresponds to the cross section of the base tee stems. The use of the stem blockout allows the face of the wall tee to project down to the back face of the base tees. This configuration can provide additional bearing area, if needed for taller wall applications. For typical wall heights, the projection of the face of the wall tees will typically not be required, and the face of the wall tees can be at the face of the top of the base tee stems. At the plan location of the face tees on the base tee stems, a mating recess can be provided in the base stems, corresponding to the dimensions of the face tee stems. At the rear of the base stem, a void can be cast into the base stem to facilitate attachment of the wall tee to the base tee. As the wall tee is lowered onto the base tee, sdb's cast into the wall stems that extend (or protrude) out of the wall stems are inserted into the mating void that is cast into the base stems. Although base tees placed on field graded surface can be at the proper orientation, it may be necessary to install shims at the horizontal mating surface of the base tee stem, so that the wall tee will be positioned in an essentially vertical orientation. The ability to shim the contact bearing interface of the wall and base stem over the relatively small area bearing surface allows orientation of the large wall panel. Therefore, exact field grade is not required, but can fall within reasonable tolerances. Field grouting between the base of the wall tee stems and the top of the base tee stems can provide a competent, complete bearing surface to compensate for shimming heights needed to position the wall tee at the correct orientation. Following the insertion of the sdb's into the base stems and grouting between the base and wall tees, the void in the base stem around the protruding sdb's can be grouted or other wise have suitable bonding agent material (e.g., such as epoxy or the like) injected into the base stem void to encapsulate the sdb and effectively structurally bond the sdb between the wall and base members. In certain embodiments where post tensioning tendons or high strength thread bars are utilized to attach the tees, the tendons or bars are typically inserted through a duct cast into the wall stem into a corresponding duct cast into the base stem. Following insertion of the tendon or bar through the wall tee stems, the tendons or bars are inserted into the appropriate connecting hardware, per the tendon or bar manufacturer. Nuts can be threaded onto the thread bar ends at the top of the wall stems to secure the wall tees in a vertical position prior to applying post tensioning forces to the bars. If tendons, such as strand, are used to attach the tees, strand chucks or equivalent connectors can be used to make the connection between the wall and base tees. Optionally, by using a threaded or chuck connector at the top of the wall panels, the wall tees can be free standing and the need for temporary erection bracing can be eliminated. Any of the aforementioned attachment methods typically form a bond between the base and wall tees sufficient to hold the face tees generally in a vertical position. Following the stable positioning of the face tee, the assembly is grouted at the appropriate time per the site-specific wall design at the base tee and face tee interfaces. Each wall tee component can have one or more tee protrusions, as needed, for efficient wall assembly or as is economically desirable for specific projects. The resultant base and wall tee assembly can simulate a conventional cast in place cantilever retaining wall, at a lower cost with a faster placement time without concerns for corrosion protection at the structural connection between the wall components. As the wall panel 208 is placed onto and over the base tee 202, the protruding stem sdb 210 will penetrate into the stem void 214 in the base stem 212. Referring to the left side of the isometric shown in The wall panel 208 can be further restrained from any lateral motion by the interlocking effect of the face stem blockout 222, which conforms to or slightly exceeds the outer dimensions of the base tee stem 212. Following the placement of the wall tee 208, the voids between the contact areas of the wall tee 208 and the base tee 202 at the shear key 216 are typically shimmed and grouted, as necessary. Optionally, the volume between the stem sdb 210 and the base stem void 214 can be grouted. If the stem void 214 is formed by a grout sleeve, the grouting is typically performed according to the manufacturer's specifications. If a generic grout sleeve serves as the stem void 214, then a similar process can be followed, per specific design parameters. Adequate grout or other bonding material injected into the stem void 214 can result in a bond that can ensure that the tension capacity of the stem sdb can be attained at the connection. The width of the base tee 224 can be slightly less than the width of the wall tee 226. Either width can vary, as desired, due to wall alignment or curves without affecting the operation according to the present invention. The height of the base stem 228 and the thickness of the base flange 230 can be dependent on the moment induced on the base tee 202 by the wall loads placed on the wall tee 208. The thickness of the base flange 230 can also vary or taper from one side of the base tee 202 so that the slope or taper of the base tee 202 matches the base grade of any wall application. By providing a base tee 202 with a variable width 230, wall excavation can be more efficient at a constant grade, rather than excavating steps into the in situ material to approximate the base of wall elevation changes. Because the panel stem 213 is attached at the top of the base stem roughly corresponding to the height of the base stem 228 above the top of the leveling pad 204, the overall height of the wall tee 208 can be effectively reduced compared to that of a conventional cantilever wall for the same application. The decrease in the moment arm for the wall loads compared to length of the moment arm of a comparable conventional cantilever wall can roughly correspond to the height of the base stem 228. The width of the base stem 228 can be, for example, between about three to about five feet (or more or less). The effective reduction in the moment induced on the wall can be significantly reduced for the tee assembly compared to a comparable height cantilever wall due to the elevation of the wall panel connection made available with the use of the tee base 202. The shape of the base tee 208 can provide a substantially greater moment resistance with significantly less material than would be the case for a rectangular section cast in place base. Three vertical cross sectional views of a typical tee wall panel 208 and base tee 312 assembly are shown on View “a.” shows a threaded end extension sdb 40 utilized to connect the tee wall panel 208 to the base tee 212. The thread extension sdb 40 is secured to the base tee 212 at the base plate/nut assembly 378 within the base tee 212. The top tensioning nut 380 at the upper portion of the tee wall panel stem 213 is shown threaded onto the threaded end extension sdb61. Grout 382 injected in the injection tube 384 cast in the base tee stem 212 encapsulates the threaded end extension sdb 61. View b. shows cable steel strand 386 utilized to connect the tee wall panel 208 to the base tee 212. The cable steel strand 386 is secured to the base tee 212 at the strand plate 379 within the base tee stem 212. The cable steel strand 386 at the upper portion of the tee wall panel stem 213 is shown inserted into cable steel strand 386. Grout 382 injected in the injection tube 384 cast in the base tee stem 212 encapsulates the cable steel strand 386. View c. shows steel threadbar 390 utilized to connect the tee wall panel 208 to the base tee 212. The steel threadbar 390 is secured to the base tee 212 at the base plate/nut assembly 378 within the base tee stem 212. The top tensioning nut 380 at the upper portion of the tee wall panel stem 213 is shown threaded onto the steel threadbar 390. Grout 382 injected in the injection tube 384 cast in the base tee stem 212 encapsulates the steel threadbar 390. In another aspect of the present invention, sdb's placed in slots cut into the embankment can be used to anchor face tees to the embankment, such as for wall applications where a desired wall is located at the base of an existing sloping embankment. The sdb's can be used as tensionable members between wall tees and anchor components. Alternatively, aluminum alloy, steel alloy or other types of material commonly used as a tensionable material can be used. Typically, adequate corrosion protection is included for the tensionable member, as necessary. The wall tees are typically placed on finite centers, although in other embodiments, the wall tees can be placed edge to edge. The horizontal distance between the tees can allow for the slots to be cut into the existing embankment so that the in situ material in the slope between the slots will remain stable. The slot or trench cut into the existing embankment can provide an anchoring void, so that when sdb's are secured to the face tees, the amount of excavation that would be required for a conventional cantilever or MSE wall is reduced. For a typical tee slot cut wall construction, the base tees can be placed on level fill at centers corresponding to the distance between the wall panels. The face tees are then placed over and onto the base tees in a similar manner to that described previously. The face tees can alternatively be placed on cast-in-place pads or have bases attached to the wall tees prior to placing in front of the slots. If tee base are used as a wall panel base, after the face tees and base tees are attached to form a structural unit, the face tees can be further secured to the embankment via horizontally disposed sdb's attached to the wall face stems and to deadmen or comparable anchors placed in the slots excavated out of the existing slope. To form a complete wall face, additional panels can be placed between the flanges of the face tees between adjacent wall tees. The panels can be subsequently backfilled along with the face tees. Prior to placing significant fill behind the wall panels, the deadmen can be secured into the slots with compacted fill, a concrete encapsulation around the deadmen, or similar methods. Referring to The deadmen 242, when encapsulated with fill concrete, concrete slurry, or other suitable material, can effectively secure the wall panels 208 in a vertical position due to the tensile capacity of the sdb tie rod assemblies 240. To provide anchorage for deadmen 242, the wall panel 208 and the tee bases 202 can be displaced horizontally a sufficient distance 252 from each other, so that the trenches 246 can be excavated into the existing embankment 250. In certain embodiments, this tee spacing 252 can be slightly less than the width of the wall panel 254. The wall panel 254 is supported by tee flange 256. As the wall assembly 301 is completed, wall panels 254 can be installed, as required, to equal an elevation equal to the tee panel 208 heights. A typical sdb tie rod assembly 240 connected to a wall stem 213 is shown in View “b” in The face nut 260 can be threaded onto the end of the threaded extension tie rod connector 61. Face nut 260 bears on the plate 262, which transfers the tensile load of the threaded extension tie rod connector 61 to the flange 256 of the tee wall panel 208. Following the placement of the face nut 260, the nut access void 264 cast into the face of the tee wall panel 208 is typically filled with a cement grout (not shown). The connection of the tie rod assembly 240 to the deadman 242 can be completed in a similar manner to that shown for the sdb tie rod assembly 240 connection to the wall panel stem 213, or with any number of connection methods known to the skilled artisan. The connection of the tie rod assembly 240 to the tee wall panel stem 213 can also be done with other configurations or with grout sleeves (not shown) without affecting the operation of the present invention. In a related aspect, vertical concrete wall flood control channels are currently constructed with cast-in-place concrete and are usually required to have a smooth face so that the channel sides do not restrict flow in the channel. In addition the bottom portion or “invert” of the channel section is typically a poured-in-place concrete flat slab that is continuous for the reach or length of the channel. This structural application is another configuration that has application for the vertical free standing precast tee wall system. For walls of this type, a typical cast-in-place design will show a long extension of the wall foundation in front of the face of the wall so that the typical limited right of way behind the wall face will not be encroached either during or following wall construction. To utilize the free standing precast tee wall system for the vertical wall channel wall applications, since the width of the majority of these channel is narrow, the base tee unit is manufactured to roughly correspond to the overall width of the channel. This unique feature of the system allows for one base tee section to be used for a foundation component for opposing wall panels (two panels) for each side of a parallel alignment vertical wall channel. Additionally, the channel bottom that is exposed to flood flow, which is cast over the tee base, is not structural concrete, which can be the case for typical cast in place channels. When the free-standing tee system is used for vertical wall channel applications, the wall tees can be attached to the foundation tee, as has been previously described. Another option for some wall sites is to pre-assemble a base tee with two opposing wall panels and deliver the assembly to the site for installation as a unit. By providing pre-assembled units field construction time can be reduced since three wall components are placed with each crane placement compared to three components that would otherwise be placed. Since channels typically require flow there will be a slope over the reach of most channels. One method to maintain a vertical orientation of the tee base extension stems, so that they will properly mate with the opposing wall tees, is to manufacture the base extension tee with a sloping base. By casting the slope of the base bottom to correspond to the slope of the channel the orientation of the base stems will be perpendicular. With this base configuration the mating surfaces of the wall tees will match the horizontal bearing surface of the base stems. For high channel wall applications, where pre-assembled channels section are used, the pre-assembled portion of the channel can be produced to the maximum height wall that is feasible for transport to that site. Following delivery and placement of the pre-assembled units, the top panel of the channel is typically placed on top of the vertical wall tee panels. The maximum elevation of the top panels added to the existing tee panels on the pre-assembled units generally correspond to the design height of the vertical wall channel. The connection of the top panel to the lower base panel can be completed in a similar manner to the connections that have been previously described for the free-standing precast tee system. The unique feature of the connection of the top panel to the base wall panel is that the tension bar used for the attachment of the top panel to the base panel is inserted through the base wall tee stem and the top panel. The tension bar is anchored to the base tee stems in a comparable manner to what has been previously described and is also grouted in a similar manner. By passing the tension bar through both wall tees in the pre-assembled unit, the resultant taller wall tees act structurally as a single wall tee built to the overall wall height of the vertical wall channel. In View b. in The use of double tee shaped sections supporting reverse batter flat trapezoidal panels is described in U.S. Pat. No. 5,468,098 issued Nov. 21 1995 to John Babcock. For that system, the wall face can be landscaped due to the exposed inclined soil layers between subsequent tiers. The structural elements described in that patent require that the tee shaped support panels be anchored to wall backfill with tie rods secured to deadman. For this embodiment of the present invention, conventional deadmen are not required. Also the tee shaped support members are typically formed from standard double tee sections. Additionally the wall face batter and the reverse batter of the face panels are variable depending on the orientation angle of the base tee. This angle can be varied to conform to site requirements with minor form modifications. For this embodiment, as with the other previously described MSE walls, the use of either sdb's or a combination of sdb's and geosynthetic soil tensile inclusion members are effective to form the MSE wall. Sdb's are utilized to secure the reverse batter wall facing wall and are in direct contact with and encapsulated in fill. Referring to View a. shows a base variable incline tee support panel 336 placed on an isolated foundation 338. The wall face incline angle 340 and the variable base angle 342 are shown. The remaining upper variable incline tee support panels 346 bear on the stem notch 348 of each subsequent lower variable incline tee support panels 346. Void end sdb's 32 are shown held by stem pins 350. Void end sdb's 32 can either be straight or U-shaped or used in combination. In either case, the void end sdb's 32 are imbedded within an adjacent MSE wall 352 utilizing geosynthetic soil reinforcement 354. The void end sdb's 32 stabilize the variable incline tee support panels 346 & 336 and trapezoidal face panels 334, but are not subject to significant earth loading that is resolved by the adjacent MSE wall 352. View b. in Another wall type that can utilize a structural combination precast of tee wall panels and precast tee bases is the Stresswall precast counterfort wall, as described in U.S. Pat. No. 4,668,129 (the disclosure of which is incorporated by reference herein). For this wall system the “L” shaped counterforts are currently typically precast monolithically. Due to height limitations of trucking transport, the counterforts are limited in height to a maximum of approximately 10 feet. This is substantially less height than would be the case for the previously described free standing precast tee wall/base system that can be used for walls over 40 feet in height, due to the field assembly of the precast tee components. Precast counterforts can be pre-assembled from precast tee sections. To utilize precast tees, the tension bars connecting the tees are oriented in a horizontal position. For example, precast components can be assembled as disclosed in the Benson et al U.S. Pat. No. Benson et al U.S. Pat. No. 4,572,711, issued on Feb. 19, 1986 by using vertical high strength steel bars to connect vertical wall panel support members to precast or cast-in-place bases. In addition, extremely deep section (tall stem) double tees can be used to pre-assemble precast tie back or counterfort components for that system. Since the average wall tier height for the precast counterfort system is the 8 foot range, the resultant earth load for in place wall components for that system can be applied to the vertical portion of the tie back or counterfort at approximately one third up from the bottom or under three feet up from the base. Since large tee stems can approach 5 feet in depth, the use of horizontal tension bars placed in the top portion of the base stems can roughly correspond to the location of the horizontal earth load imposed on the counterfort by the retained wall face. Typically little, if any, moment is induced on the connection between the wall and base tee at the attachment point. Conversely, the Benson et al U.S. Pat. No. Benson et al U.S. Pat. No. 4,572,711, issued on Feb. 19, 1986 describes the connection location and vertical orientation of the connecting bars in opposition to the outward bending moment effect of the retained fill on the wall panels or face of the counterfort or tie back unit. By using deep section tees for the counterfort bases, the resisting tension member can be oriented linearly with the wall load imposed on a corresponding precast wall tee unit. A similar connection, previously described for the free standing vertical face panel and base tee assembly, can be utilized for the precast tee/base counterfort assembly for the Stresswall counterfort system (U.S. Pat. No. 4,668,129 issued May 26, 1987) the disclosure of which is incorporated by reference herein. The major difference between the free standing tee assembly connection and the connection used for the precast counterfort tee assembly is the 90° difference of the orientation of the tension bar used to connect the wall tee and base tee for the counterfort tee. Synthetic deformed bars, threaded extension sdb's, high strength steel thread bars or steel cable strand can be used as the tensionable members to structurally connect the precast tee base to the precast tee wall face. This alternative use of tee assemblies to form the counterfort units can also provides more wall square footage for the tee assembly than is the case for the precast counterfort in current use. Also, by alternating the flat panel locations between the tee face and back of stem in an alternating pattern a wall face can be achieved with the tee assemblies very effectively for plantable wall applications. As with the other tee wall options previously described, production rates of the counterfort units can be increased. Referring to The preceding examples are provided to illustrate the invention but not to limit its scope. Other variants of the invention will be readily apparent to one of ordinary skill in the art and are emcompassed by the appended claims. All publications, patents, and patent applications cited herein are hereby incorporated by reference for all purposes. What is claimed is:
Parts List (excluding parts as stated in PCT/US01/05733 and U.S. provisional paten application No. 60/184,409 applications)
CONTINUITY
BACKGROUND OF THE INVENTION
SUMMARY OF THE INVENTION
DESCRIPTION OF FIGURES
DETAILED DESCRIPTION OF SPECIFIC EMBODIMENTS