заявка
№ US 20040262475
МПК E04G3/00

Modular forearm extension

Авторы:
Odd Oddsen
Номер заявки
10779096
Дата подачи заявки
13.02.2004
Опубликовано
30.12.2004
Страна
US
Как управлять
интеллектуальной собственностью
Реферат

[97]

A modular forearm extension includes an elongated U-shaped body severed from a member of indeterminate length. A stiffening member is attached to the interior of the body to provide additional strength to the forearm extension. A pair of couplings are fixedly attached to the ends of the body, each having a bore therethrough. The couplings are provided with surface recesses adapted to receive the corresponding shaped ends of the elongated body for attachment and attachment thereto.

[98]

Формула изобретения

1. A forearm extension comprising an elongated U-shaped body having a hollow interior, said body including first and second ends, an elongated stiffening member fixedly secured within the interior of said body, a first coupling having an outer wall fixedly attached to said first end of said body, and a second coupling having an outer wall fixedly attached to said second end of said body, said first and second couplings each including a bore having a longitudinal centerline parallel to each other.

2. The forearm extension of claim 1, wherein said stiffening member comprise a U-shaped member.

3. The forearm extension of claim 1, wherein said outer wall of said first coupling includes a pair of spaced apart recesses, wherein said first end of said body is fixedly attached within said recesses.

4. The forearm extension of claim 3, wherein said outer wall of said first coupling includes an opening providing communication between said bore of said first coupling and the interior of said body.

5. The forearm extension of claim 1, wherein said outer wall of said second coupling includes a pair of spaced apart recesses, wherein said second end of said body is fixedly attached within said recesses.

6. The forearm extension of claim 1, further including an elongated cover attached to said body overlying said interior thereof.

7. The forearm extension of claim 1, wherein said body includes a bottom wall having an opening adjacent said second end thereof.

8. The forearm extension of claim 1, wherein said first end of said body has a shape conforming to the shape of said outer wall of said first coupling.

9. The forearm extension of claim 1, wherein said second end of said body has a shape conforming to the shape of said outer wall of said second coupling.

10. A forearm extension for mounting an electronic device thereto, said forearm extension comprising an elongated U-shaped body having a hollow interior, said body including first and second ends; an elongated stiffening member fixedly secured within the interior of said body; a first coupling including an outer wall having a pair of first recesses, said first end of said body fixedly attached to said first coupling within said first recesses; and a second coupling including an outer wall having a pair of second recesses, said second end of said body fixedly attached to said second coupling within said second recesses; said first coupling having a bore therein in communication with the interior of said body through an opening provided within said outer wall of said first coupling; and said second coupling having a bore therein adapted for mounting an electronic device thereto.

11. The forearm extension of claim 10, wherein said stiffening member comprise a U-shaped member.

12. The forearm extension of claim 10, wherein said first end of said body has a shape conforming to the shape of said outer wall of said first coupling.

13. The forearm extension of claim 10, wherein said second end of said body has a shape conforming to the shape of said outer wall of said second coupling.

14. The forearm extension of claim 10, wherein said first end of said body includes a curved bottom wall end and a pair of spaced projecting sidewalls of different length.

15. The forearm extension of claim 10, wherein said second end of said body includes a curved bottom wall and a pair of spaced projecting sidewalls of substantially the same length.

16. The forearm extension of claim 10, wherein said first and second couplings are of cylindrical shape.

17. The forearm extension of claim 10, wherein said first recesses are non-symmetrical.

18. The forearm extension of claim 10, wherein said second recesses are symmetrical.

19. A method of making a forearm extension, said method comprising forming an elongated hollow body having first and second ends and a cavity extending therebetween; fixedly securing a stiffening member to said body within said cavity; fixedly attaching said first end of said body to a first coupling; and fixedly attaching said second end of said body to a second coupling; said first coupling including a first pair of recesses receiving said first end of said body and said second coupling including a second pair of recesses receiving said second end of said body.

20. The method of claim 19, further including forming said first and second ends of said body to conform to the shape of a corresponding one of said first and second couplings.

21. The method of claim 19, wherein said body has a U-shape.

22. The method of claim 19 wherein said elongated hollow body has a predetermined length by severing a portion forming said hollow body from an elongated hollow body of greater length.

23. A method of making a forearm extension having a predetermined length, said method comprising forming a U-shaped elongated hollow body of indefinite length relative to the length of said forearm extension, said elongated hollow body having a cavity extending therethrough; severing a portion of said elongated hollow body to provide a predetermined length hollow body; fixedly securing a stiffening member having first and second ends within said cavity of said predetermined length hollow body; providing a first coupling having an outer wall and a first pair of spaced apart recesses; fixedly attaching one end of said elongated hollow member to said first coupling within said first pair of recesses; providing a second coupling having an outer wall and a second pair of spaced apart recesses; and fixedly attaching the other end of said elongated hollow body to said second coupling within said second pair of recesses.

24. The method of claim 23, wherein said stiffening member has a predetermined length by severing a portion forming said stiffening member from an elongated stiffening member of greater length.

25. The method of claim 23, further including forming said first and second ends of said hollow member to conform to the shape of a corresponding one of said outer walls of said first and second couplings.

Описание

CROSS REFERENCE TO RELATED APPLICATIONS

[1]

[0001] The present application is a continuation-in-part of application Ser. No. 10/061,880 entitled “Modular Mounting Arm”, filed Feb. 1, 2002, the disclosure of which is incorporated herein by reference.

BACKGROUND OF THE INVENTION

[2]

[0002] This invention relates in general to an apparatus for mounting devices, and more specifically, to a modular forearm extension for mounting electronic peripheral devices in a statically balanced adjustable position.

[3]

[0003] Articulated extension arms for mounting electronic peripheral devices, such as computer monitors, notebook computers, internet computers, video cassette recorders, cameras, computer keyboards, televisions, and the like are well known in prior art. For example, there is known from O'Neill, U.S. Pat. No. 4,852,842; Greene, U.S. Pat. No. 5,584,596; and Voeller et al., U.S. Pat. No. 5,743,503 various mechanical support arms.

[4]

[0004] Due to recent advances in flat-screen technology, there is a demand for adjustable extension arms particularly suited for use with flat-screen devices, such as flat-screen computer monitors and televisions. One such example is described in Applicant's U.S. Pat. No. 6,478,274 entitled “Arm Apparatus For Mounting Electronic Devices.” Another example is described in Applicant's U.S. Pat. No. 6,409,134 entitled “Arm Apparatus for Mounting Electronic Devices with Cable Management System.” The disclosures of these applications are incorporated herein by reference.

[5]

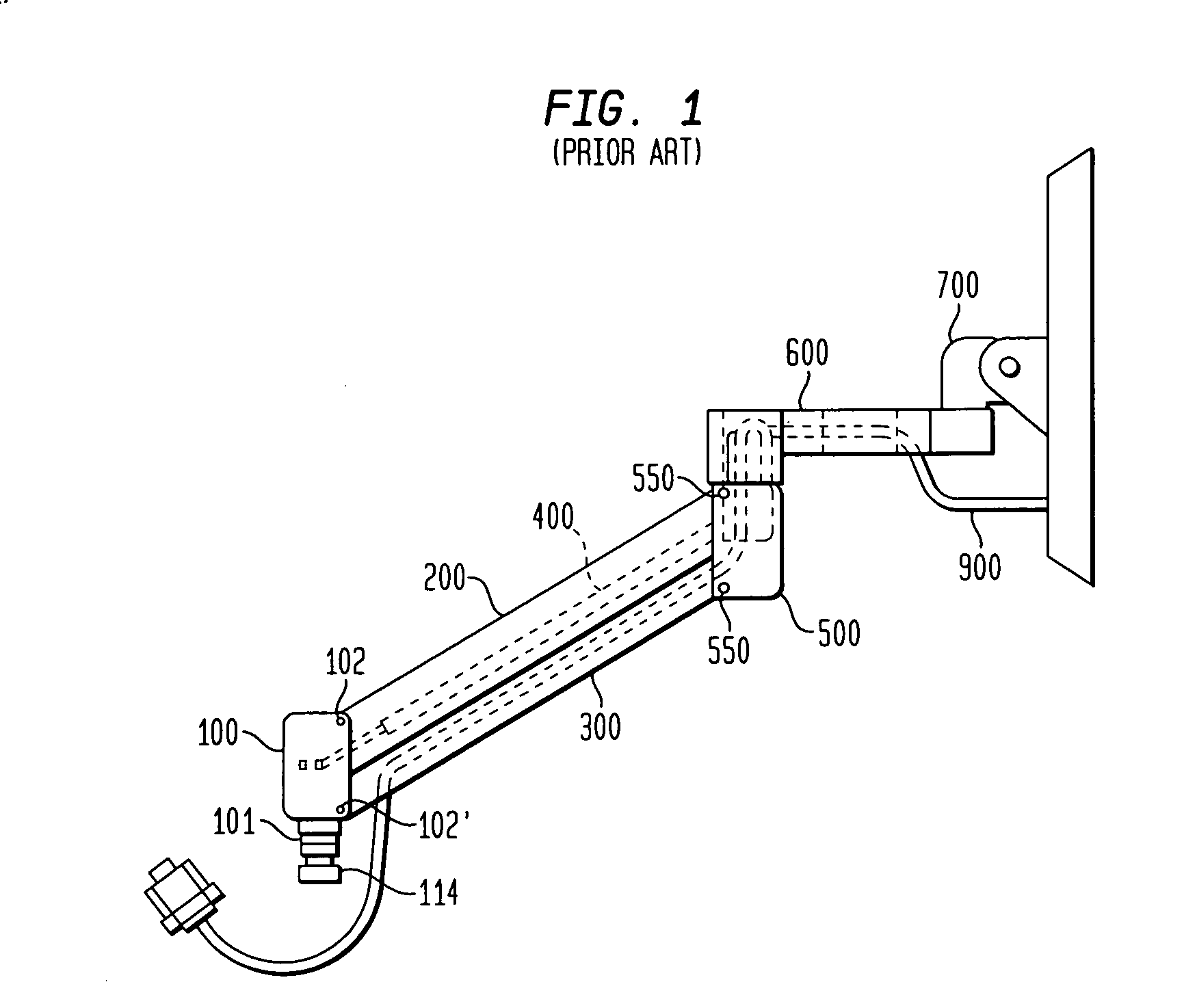
[0005]FIGS. 1 through 7, including their respective sub-figures, disclose an extension arm for mounting an electronic peripheral device in accordance with Applicant's prior extension arms. The main elements of the extension arm are a first endcap 100, upper channel 200, lower channel 300, suspension device 400, second endcap 500 and forearm extension 600. The extension arm is capable of supporting an electronic device attached to a mounting device, such as a tilter 700, and also provides an internal cable management system for a cable 900.

[6]

[0006] The first endcap 100 has an endcap shaft 101 that may contain a plurality of concentric circumferential grooves 114. The endcap shaft 101 may be pivotably attached to a rigid support mount (not shown), such as an orifice sized to accept the endcap shaft 101 or a track configured and sized to slidably engage the grooves 114 provided, or both.

[7]

[0007] The first endcap 100 contains two pairs of holes 113 (See FIG. 2) therethrough such that pins 102 may pivotally couple the upper channel 200 and lower channel 300 to the first endcap 100. Similarly, the second endcap 500 contains two pair of holes 513 (See FIG. 2) disposed therethrough such that pins 550 pivotally couple the opposite ends of the upper channel 200 and the lower channel 300 to the second endcap.

[8]

[0008] The combination of the upper and lower channels 200, 300 and the first and second endcaps 100, 500 form an adjustable parallelogram that permits a device coupled to the forearm extension 600 to be raised and lowered to a desirable height. The parallelogram retains its position by employing a suspension device 400, which is pivotally and adjustably attached to the first endcap 100 and the upper channel 200, as will be further described below. Generally, the suspension device 400 is sized so as to have a fixed length until an upward or downward force is exerted at the second endcap 500 that exceeds the suspension device's designed resistance. One suitable suspension device 400 is a gas filled piston known for this purpose and commercially available from a variety of manufacturers. Typically, such a gas filled piston will have an adjustable resistance with a range suitable for use in accordance with the weight of the electronic peripheral device specified. Thus, the suspension device 400 causes the parallelogram to retain its position when the only force exerted at the second endcap 500 is the weight of the device, but permits the parallelogram to be adjusted when a user pushes the electronic peripheral device up or down.

[9]

[0009] A first female coupling 602 couples the second endcap 500 to the forearm extension 600 while a second female coupling 603 couples the opposite end of the forearm extension 600 to the mounting device, such as the tilter 700. Thereafter, the mounting device may be coupled to the electrical peripheral device. The electrical peripheral device may in turn have a cable 900 of sufficient length and diameter as to permit its placement through the forearm extension 600, second endcap 500, and lower channel 300, so as not to be visible in those areas.

[10]

[0010]FIGS. 3A through 3E illustrate the first endcap 100, having the endcap shaft 101 disposed on a first end 103 of the first endcap 100. In accordance with one embodiment as shown in FIG. 3A, the endcap shaft 101 has an endwall 181 with a hole 104 formed at its first end 103. The first endcap 100 also has a second end 105 with an endwall 151 having a hole 106 disposed therethrough. Within the holes 104, 106 and between a pair of trough walls 158, is a threaded rod 107. A first end 108 of the threaded rod 107 is inserted into the hole 104 at the base of the endcap shaft 101. A second end 109 of the threaded rod 107 is aligned with the hole 106 and held in place with a clip 110. The clip 110 is fastened to an inner surface of the first endcap 100 by screws 111.

[11]

[0011] In accordance with the preferred embodiment as shown in FIG. 3B, the first endcap 100 further includes a sidewall 152 between the endwalls 151 forming a partially enclosed housing 150. The endcap shaft 101 is typically integrally molded to the endwall 151 of the first endcap 100. Preferably, the entire first endcap 100 (the partially enclosed housing 150 and the endcap shaft 101) is molded from zinc. Within the partially enclosed housing 150 and integrally molded on the sidewall 152 are a plurality of stops 153 disposed in proximity to the endwalls 151. Also within the partially enclosed housing 150 are the trough walls 158, disposed longitudinally along the inner surface of the sidewall 152 between the endwalls 151 so as to define a trough 159 therebetween.

[12]

[0012] The stops 153 serve to provide limits of upward or downward movement of the upper channel 200 and lower channel 300 when the ends of the upper channel 200 and lower channel 300, respectively, meet the stops 153 when one moves the electronic peripheral device in extended or contracted positions. The trough 159 disposed between the trough walls 158 allows a clevis 120 to be moved therein. As discussed in more detail later, the clevis provides connection and adjustment means for one end of the suspension device 400.

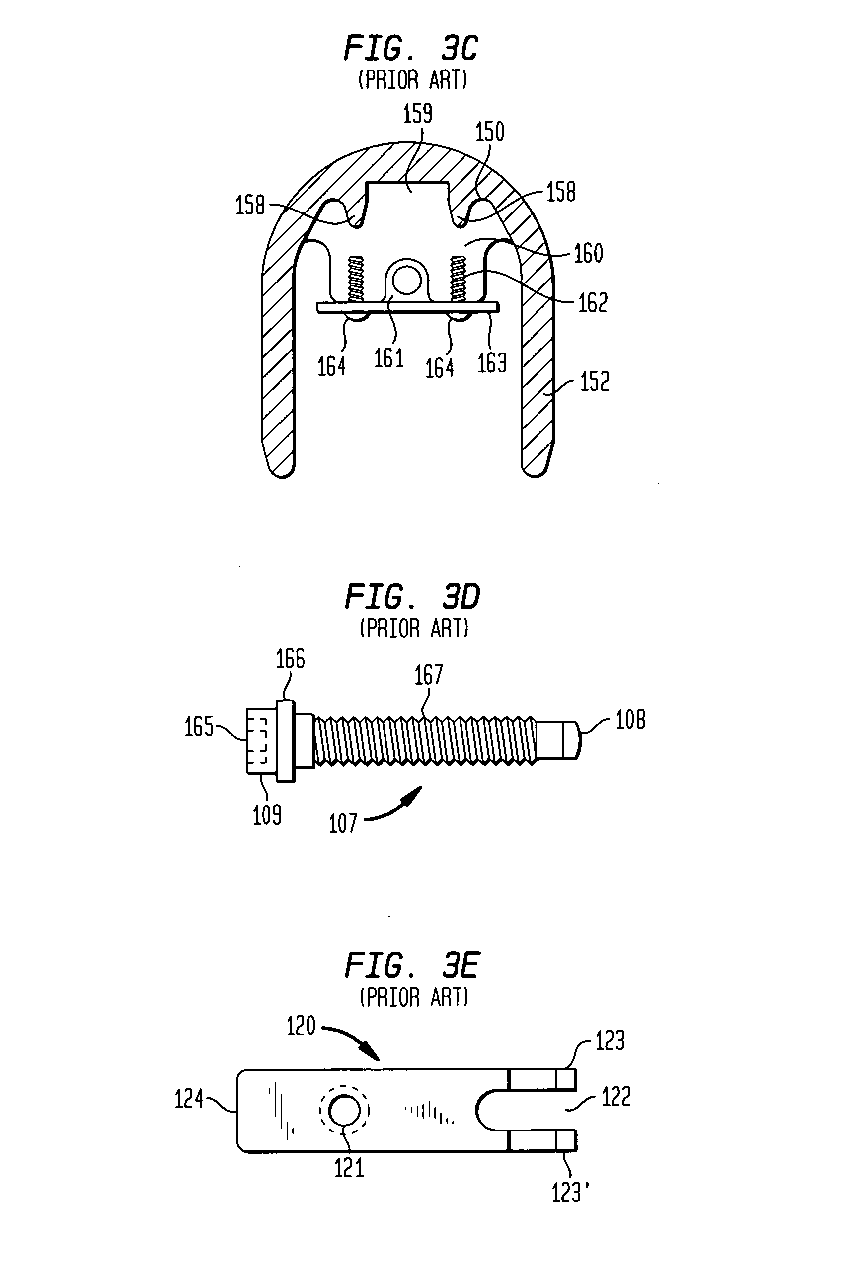
[13]

[0013]FIG. 3C illustrates a variation of the first endcap 100 in accordance with the preferred embodiment, wherein shelves 160 define co-planar faces separated by a groove 161. The shelves 160 have a connection means, such as self-tapping screw holes 162 disposed therein. The co-planar faces of the shelves 160 are configured to engage a retainer clip 163, which is fastened in place, for example, by a pair of screws 164. When the retainer clip is fastened in place, the groove 161 defines a space for accepting one end 108 of the threaded rod 107.

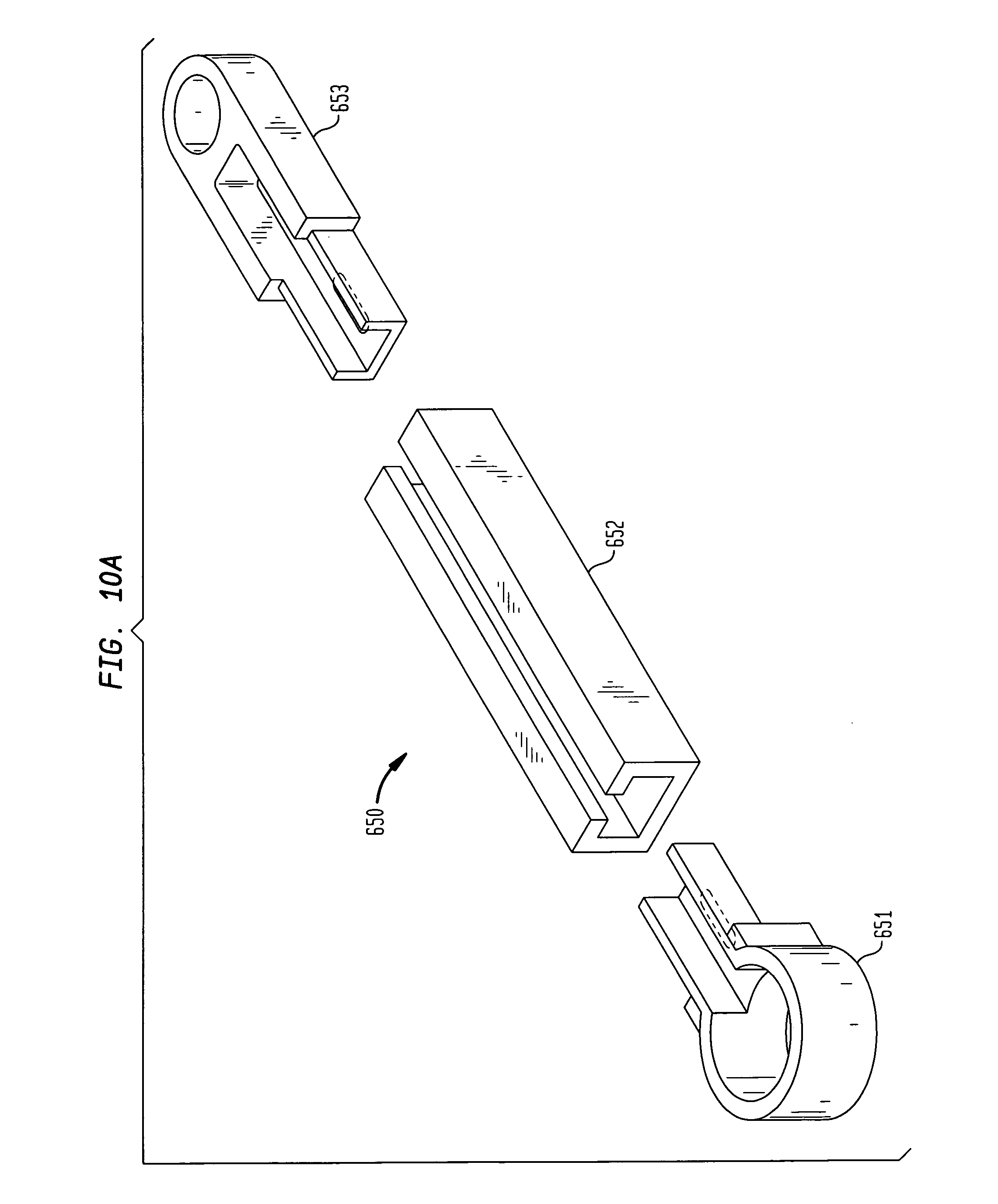
[14]

[0014] The threaded rod 107 is employed within the first endcap 100 so as to adjustably support the clevis 120. FIG. 3D illustrates the threaded rod 107, the second end 109 of which has a circular cross-section within which is axially disposed a shaped opening 165, for example, a hex-shaped opening for accepting a shaped key (not shown), such as a hex-shaped key. The cross-sectional diameter of the second end 109 is smaller than a cross-sectional diameter of the hole 106, so as to be inserted therein. Adjacent the second end 109 is a shoulder 166. The shoulder 166 has a circular cross-section of a diameter larger than the cross-sectional diameter of the hole 106. Thus, the shoulder 166 abuts an inner surface of the endwall 151 and retains the second end 109 within the hole 106.

[15]

[0015] The first end 108 of the threaded rod 107 is disposed in the groove 161 located between the shelves 160 of the first endcap 100 (See FIG. 3B) or the hole 104 of the endcap shaft 101 (See FIG. 3A). The first end 108 of the threaded rod 107 has a circular cross-section having a diameter that is smaller than the size of the groove 161 or the hole 104, such that the first end 108 is supported between the shelves 160 but is free to rotate therein.

[16]

[0016] Between the first end 108 and the second end 109 of the threaded rod 107 is a threaded section 167. Threadably mounted on the threaded section 167 is the clevis 120. The clevis 120 as illustrated in FIG. 3E, has a tapped hole 121 formed therein for receiving the threaded rod 107. The clevis 120 also has a pair of fastening members 123 at a first end 122 to which are fastened a first end of the suspension device 400. The second end 124 of the clevis is configured so as to slidably engage the trough 159.

[17]

[0017] The second end 109 of the threaded rod 107 can be engaged by a shaped key to rotate the threaded rod 107 around its axial centerline. When the threaded rod 107 is rotated around this axis of rotation, the clevis 120 travels along the length of the threaded rod 107 in a direction corresponding to the direction which the shaped key is turned. This movement of the clevis 120 adjusts the length of the suspension device 400 thereby altering its resistance.

[18]

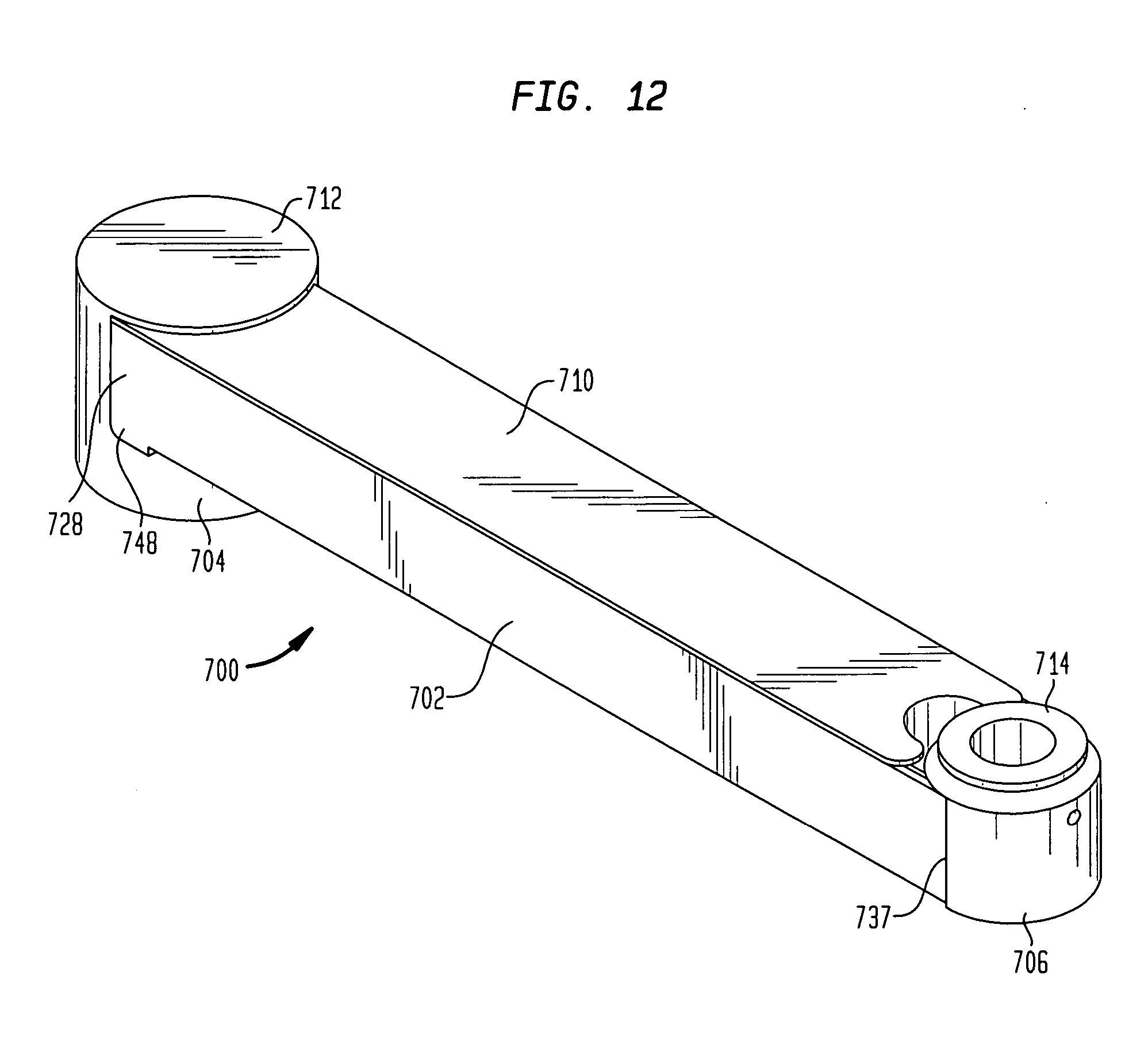
[0018]FIGS. 4A through 4D illustrate several views of the upper channel 200 according to the prior art. The upper channel 200 includes a U-shaped body 201 and integrally cast rollers 202 disposed at opposite ends of the U-shaped body 201. The rollers 202 can also be separately constructed and subsequently welded onto the ends of the U-shaped body 201 as disclosed in Applicant's aforementioned patent applications. The U-shaped body 201 comprises a channel bottom 203 from which extend two channel sidewalls 204. For heavy weight electronic peripheral devices, the channel bottom 203 and the sidewalls 204 are typically stamped from heavy gauge steel with the rollers 202 being welded thereto. For lightweight electronic peripheral devices, the channel bottom 203, the sidewalls 204 and the rollers 202 of the upper channel 200 are typically integrally cast from zinc, giving the upper channel a lesser weight and degree of rigidity more appropriate for the lighter weight application.

[19]

[0019] Cast molded upper channels 200 permit the angle between the channel bottom 203 and the channel sidewalls 204 to be exactly the same for each manufactured upper channel 200. Moreover, cast molding permits the sidewalls 204 to be tapered. As illustrated in FIGS. 4(c) and 4(d), both an outer surface and an inner surface of the sidewalls 204 may taper in, for example, by approximately 1 degree. The taper allows for clearance between the upper and lower channels 200, 300 when the upper and lower channels 200, 300 are brought together during usage. That is, the inner surface of the sidewalls 204 being displaced by 1 degree means that there is additional clearance for the lower channel 300 to fit there within. The addition clearance ensures that the upper channel 200 and lower channel 300 will not scrape together during usage.

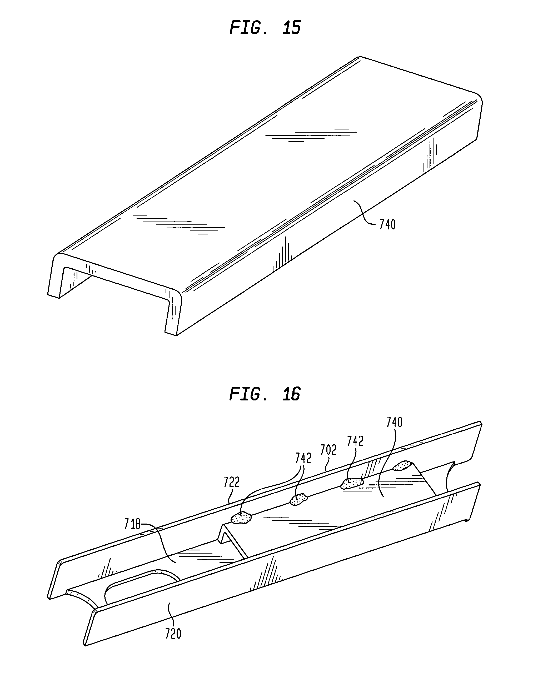
[20]

[0020] The rollers 202 have a hole 205 therethrough (either cast in or subsequently drilled) for receiving a connection mechanism, such as pins 102, 550. Additionally, the channel bottom 203 includes an integrally cast threaded hole configured and sized to receive a threaded end ball stud 207. The ball stud is configured and sized to receive a second end of the suspension device 400.

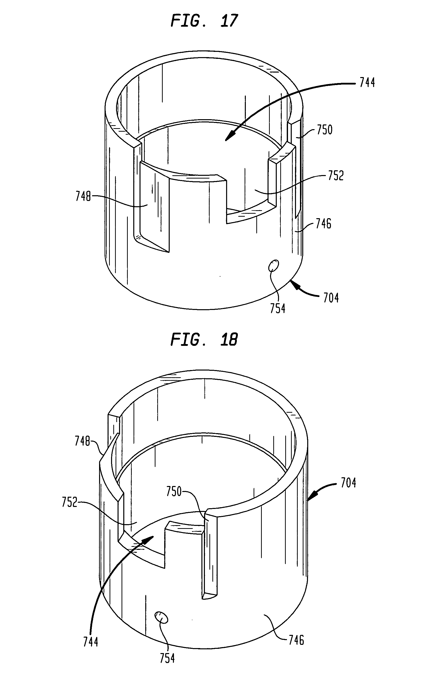
[21]

[0021]FIGS. 5A through 5E illustrate several views of the lower channel according to the prior art. The lower channel 300 includes a U-shaped body 301 and integrally cast rollers 302 disposed at opposite ends of the U-shaped body 301. The U-shaped body of the lower channel 300 includes a channel bottom 303 from which extend two channel sidewalls 304. As with the upper channel 200 components, for heavy weight electronic peripheral devices, the channel bottom 303 and the sidewalls 304 of the lower channel 300 are typically stamped from heavy gauge steel, the rollers 302 being welded thereto. For lightweight electronic peripheral devices, the channel bottom 303, the sidewalls 304 and the rollers 302 of the lower channel 300 are typically integrally cast from zinc, giving the lower channel a lesser weight and degree of rigidity more appropriate for the lighter weight application. The rollers 302 have a hole 305 therethrough (either cast or subsequently drilled) for receiving a connection mechanism, such as the pins 102, 550.

[22]

[0022] The channel bottom 303 additionally includes a cable channel 306 running longitudinally there along. Typically, a first end 307 of the cable channel 306 starts near the end of the channel bottom 303 that pivotably connects to the first endcap 100. The cable channel 306 then runs along the entire length of the channel bottom 303 to the end of the channel bottom that pivotably connects to the second endcap 500. The second end 308 of the cable channel 306 provides an opening between the rollers 302. The first end 307 may be, for example, rounded to improve the rigidity of the lower channel 300. The cable channel 306 is configured to receive a cable cover 325 (illustrated in FIG. 5E) which is configured to removably fit within the cable channel. Thus, cables 900 of the mounted device may be substantially retained within the lower channel 300 so as to hide them from view and protect them from harm. The cable channel 306 and the cable cover 325 enable cables to be accessed when desired, while securing them within the lower channel 300.

[23]

[0023] As illustrated in FIGS. 5C and 5D the sidewalls 304 of the lower channel 300 are also tapered. For example, an outer surface of the sidewalls 304 may be tapered approximately M degree while an inner surface may be tapered approximately 1 degree. It should be noted that the taper is not limited to a particular angle, and that the taper of the inner surface and the outer surface may be the same. The taper is possible because the lower channel 300 is typically cast molded. As noted above with respect to the upper channel 200, the taper provides more clearance between the upper channel 200 and the lower channel 300 so as to reduce or eliminate the chance of the upper and the lower channels 200, 300 scraping.

[24]

[0024] As illustrated in FIG. 5E, the cable cover 325 includes a top cover 326 with two sidewalls 327 extending therefrom. A far end of each sidewall 327 has a catch 328 formed thereon so as to engage with the cable channel 306. Typically, the cable cover 325 is molded from plastic and is sufficiently flexible so that the stops 328 may be engaged and disengaged from the cable channel 306 as necessary. The cover is not, however, so flexible that the stops 328 naturally flex such that the cable cover 325 fails to engage with the cable channel 306.

[25]

[0025] As illustrated in FIGS. 6A through 6I the second endcap 500 includes a partially enclosed housing 501 and a shaft assembly 502. The partially enclosed housing 501 has a first endwall 503 and a second endwall 504 oppositely disposed from each other and fixedly connected by a sidewall 505. The sidewall 505 extends partially around the partially enclosed housing 501 so as to permit manipulation of components, such as cables, which may be contained there within. The first endwall 503 has a hole 506 disposed therethrough and threaded holes 507 disposed therein that are in communication with the hole 506. Typically, the diameter of the hole 506 is large enough to allow a plug end of a cable to fit therethrough. Disposed within the threaded holes 507 are set screws 508.

[26]

[0026] As illustrated in FIGS. 6E through 6G, the shaft assembly 502 typically includes two symmetrical endcap adapters 509 which when assembled provide the boundaries for a hollow shaft 510. The endcap adapters 509 have a mounting end 511 and a shaft end 512 that is thinner than the mounting end 511. As illustrated in FIG. 6D, the mounting ends 511 of both of the endcap adapters 509 are inserted into the hole 506 and are coupled together and to the partially enclosed housing 501, to form the second endcap 500, by tightening the set screws 508.

[27]

[0027] As stated earlier, the upper and the lower channels 200, 300 and the first and the second endcaps 100, 500 are configured so as to form an adjustable parallelogram. When configured, the shaft 101 of the first endcap 100 and the hollow shaft 510 of the second endcap 500 point in opposite directions. For example, as illustrated in FIG. 2, the shaft 101 of the first endcap 100 extends vertically downward while the hollow shaft 510 of the second endcap 500 extends vertically upward. The shape of the parallelogram is retained by the suspension device 400. As previously mentioned, the first end of the suspension device 400 is adjustably mounted to the clevis 120 within the first endcap 100 and the second end is attached to the ball stud 207 mounted within the upper channel 200.

[28]

[0028] Generally, the suspension device 400 is sized so as to have a fixed length until an upward or downward force is exerted at the second endcap 500 that exceeds the suspension device's designed resistance. Thus, the suspension device 400 retains the parallelogram shape when the only force exerted at the second endcap 500 is the weight of the electronic peripheral device. However, the suspension device 400 permits the parallelogram shape to be adjusted when a user pushes the electronic peripheral device coupled to the forearm extension 600 up or down.

[29]

[0029] With reference to FIGS. 7A and 7B, the forearm extension of the prior art includes a body 601 having a first female coupling 602 located on a first end and a second female coupling 603 located on a second end. The first female coupling 601 has an inner diameter 604 that is sized to rotatably engage the hollow shaft 510 of the second endcap 500. The first female coupling 602 is also configured to receive a cable through the hollow shaft 510. That is, the first female coupling 602 has a cable slot 605 formed therein, for example by milling the cable slot 605 into the first female coupling 602, or by casting the first female coupling 602 with the cable slot 605 integrally formed therein.

[30]

[0030] The first female coupling 602 generally has a set screw 606 formed within a wall 607 thereof. The set screw 606 can be tightened to prevent the first female coupling 602 from rotating about the hollow shaft 510. Advantageously, the first female coupling 602 has a plurality of voids 608 formed in the wall 607, which saves on material costs and weight and permits the forearm extension 600, when cast, to be cooled more quickly.

[31]

[0031] A bushing 609 (See FIG. 2) is preferably used to engage the first female coupling 602 and the hollow shaft 510. That is, the bushing 609 is placed over the hollow shaft 510 and within the first female coupling 602. The bushing 609 is preferably made of a smooth material, such as plastic, in order to reduce friction and prevent metal to metal contact. As illustrated in FIGS. 6H and 6I, the bushing 609 also has a cable slot 610 formed therein. The cable slots 605, 610 are aligned so that a cable can pass therethrough. When the set screw 606 is tightened it causes the bushing 609 to flex inward and frictionally engage the hollow shaft 510 and thus prevent the forearm extension 600 from rotating about the hollow shaft 510. The hollow shaft 510 and the first female coupling 602 are held together by utilizing a screw 611 and a washer 612 (See FIG. 2).

[32]

[0032] The body 601 preferably has an inverted U-shape with a topwall 613 and two sidewalls 614 so that a cable can be hidden therein. Advantageously attached within the U-shaped body 601, and preferably on the topwall 613, is a cable holder 615 (See FIG. 2). The cable holder 615 secures a cable within the U-shaped body so that it can be hidden from view as it travels the length of the forearm extension 600.

[33]

[0033] The second female coupling 603 is for attachment to a device mounting, such as a tilter 700 described in Applicant's U.S. Pat. No. 6,505,988 which is incorporated herein by reference in its entirety. Thus, the second female coupling 603 has an inner diameter 616 that is sized to rotatably engage a shaft of the device mount. A bushing 621 (See FIG. 2), preferably made of a smooth material such as plastic, is placed over the shaft and within the second female coupling 603. The second female coupling 603 preferably has a set screw 617 formed within a wall 618 of the second female coupling 603. When the set screw 617 is tightened it causes the bushing 617 to flex inward and frictionally engage the shaft and thus prevent the device mount from rotating around the second female coupling 603. Advantageously, the second female coupling 603 also has a plurality of voids 619 formed in the wall 618.

[34]

[0034] The forearm extension 600 illustrated in FIGS. 7A and 7B, has the topwall 620 flush with an upper edge of the female couplings 602, 603. Since the first female coupling 602 is larger than the second female coupling 603, the center of the first female coupling 602 is not aligned with the center of the second female coupling 603 or an axial centerline of the body 601. It should be noted that an alternative embodiment is to have the center of the female couplings 602, 603 and the axial centerline 621 of the body 601 all aligned, so that the topwall 620 would not be aligned with an upper edge of the first female coupling 602.

[35]

[0035] Referring back to FIG. 1, an electronic device such as a flat-screen monitor is attached to a device mounting, such as tilter which is rotatably coupled to the second female coupling 603. A cable, such as a power cable, proceeds from the electronic peripheral device to the underside of the body 601 of the forearm extension 600. The cable is held in place within the body 601 by the cable holder 615. The cable proceeds from the body through the cable slots 605, 610, in the bushing 609 and the first female coupling 602. The cable then proceeds through the hollow shaft 510 of the second endcap 500. The cable exits the second endcap 500 through the open end of the partially enclosed housing 501. The cable proceeds down the length of the lower channel 300 and exits at the first end 307 of the cable channel 306, while being hidden from view and substantially protected by the cable cover 325.

[36]

[0036] Typically, the cable is inserted into the lower channel 300 as portions of the lower channel 300 and upper channel 200 are being assembled. That is, the cable is placed under the body 601 of the forearm extension 600 and is held in place by the cable holder 615. The cable is then passed through the cable slots 605, 610. The cable including the plug is then fed through the hole 506 in the second endcap 500. The second endcap 500 is now assembled by inserting the mounting end 511 of each endcap adapter 509 into the hole 506, thus surrounding the cable. The endcap adapters 509 are held together and within the hole 506 by tightening the set screws 508. The hollow shaft 510 is then placed within the first female coupling 602. The cable is placed within the lower channel 300, prior to the lower channel 300 and the second endcap being secured together. This ensures that the cable is above the roller 302 and is contained within the hollow bar formed by the upper channel 200 and the lower channel 300.

[37]

[0037] Referring back to FIG. 2, several additional components of the extension arm 100 are typical. For aesthetic purposes, a bumper 650 may be placed on the second endwall 504 of the second endcap 500 and a plug 651 is generally placed over the first female coupling 602. A washer 652 is typically placed over the two endcap adapters 509 to help secure them together.

[38]

[0038] It has become increasingly apparent that additional innovations are necessary to make forearm extensions for electronic peripheral devices more cost effective. Forearm extensions according to the prior art have been manufactured utilizing members individual to specified stock lengths. Thus, if an end-user required a forearm extension of a particular length different from that manufactured, it was either unavailable, or more costly because an entirely new forearm assembly of the correct length would have to be manufactured. Additionally, if a manufacturer wished to provide forearm extensions of various lengths, he would be required to maintain an inventory of several different length components at a significant cost.

SUMMARY OF THE INVENTION

[39]

[0039] In one embodiment of the present invention, there is described a forearm extension comprising an elongated U-shaped body having a hollow interior, the body including first and second ends, an elongated stiffening member fixedly secured within the interior of the body, a first coupling having an outer wall fixedly attached to the first end of the body, and a second coupling having an outer wall fixedly attached to the second end of the body, the first and second couplings each including a bore having a longitudinal centerline parallel to each other.

[40]

[0040] In accordance with another embodiment of the present invention there is described a forearm extension for mounting an electronic device thereto, the forearm extension comprising an elongated U-shaped body having a hollow interior, the body including first and second ends; an elongated stiffening member fixedly secured within the interior of the body; a first coupling including an outer wall having a pair of first recesses, the first end of the body fixedly attached to the first coupling within the first recesses; and a second coupling including an outer wall having a pair of second recesses, the second end of the body fixedly attached to the second coupling within the second recesses; the first coupling having a bore therein in communication with the interior of the body through an opening provided within the outer wall of the first coupling; and the second coupling having a bore therein adapted for mounting an electronic device thereto.

[41]

[0041] In accordance with another embodiment of the present invention there is described a method of making a forearm extension, the method comprising forming an elongated hollow body having first and second ends and a cavity extending therebetween; fixedly securing a stiffening member to the body within the cavity; fixedly attaching the first end of the body to a first coupling; and fixedly attaching the second end of the body to a second coupling; the first coupling including a first pair of recesses receiving the first end of the body and the second coupling including a second pair of recesses receiving the second end of the body.

[42]

[0042] In accordance with another embodiment of the present invention there is described a method of making a forearm extension having a predetermined length, the method comprising forming a U-shaped elongated hollow body of indefinite length relative to the length of the forearm extension, the elongated hollow body having a cavity extending therethrough; severing a portion of the elongated hollow body to provide a predetermined length hollow body; fixedly securing a stiffening member having first and second ends within the cavity of the predetermined length hollow body; providing a first coupling having an outer wall and a first pair of spaced apart recesses; fixedly attaching one end of the elongated hollow member to the first coupling within the first pair of recesses; providing a second coupling having an outer wall and a second pair of spaced apart recesses; and fixedly attaching the other end of the elongated hollow body to the second coupling within the second pair of recesses.

BRIEF DESCRIPTION OF THE DRAWINGS

[43]

[0043] The above description, as well as further objects, features and advantages of the present invention, will be more fully understood with reference to the following detailed description of a modular forearm extension, when taken in conjunction with the accompanying drawings, wherein:

[44]

[0044]FIG. 1 is an assembly drawing in front elevation of an extension arm for mounting a computer monitor in accordance with the prior art;

[45]

[0045]FIG. 2 is an exploded assembly drawing in perspective view of the extension arm in accordance with the prior art;

[46]

[0046]FIGS. 3A through 3E illustrate various views of the first endcap and the components forming the first endcap in accordance with the prior art;

[47]

[0047]FIGS. 4A through 4D illustrate various views of the upper arm extension in accordance with the prior art;

[48]

[0048]FIGS. 5A through 5E depict various views of the lower arm extension in accordance with the prior art;

[49]

[0049]FIGS. 6A through 6I illustrate various views of the second endcap and the components forming the second endcap in accordance with the prior art;

[50]

[0050]FIGS. 7A and 7B illustrate various views of the forearm extension in accordance with the prior art;

[51]

[0051]FIGS. 8A through 8G illustrate various views of the upper arm extension and components therefore forming the upper arm extension constructed in accordance with one embodiment of the present invention;

[52]

[0052]FIGS. 9A through 9F illustrate various views of the lower arm extension and components therefore forming the lower arm extension constructed in accordance with one embodiment of the present invention;

[53]

[0053]FIGS. 10A through 10F illustrate various views of the forearm extension and components therefore forming the forearm extension in accordance with one embodiment of the present invention;

[54]

[0054]FIG. 11 is an assembled view of an extension arm constructed in accordance with the present invention;

[55]

[0055]FIG. 12 is a perspective view of a module forearm extension constructed in accordance with one embodiment of the present invention;

[56]

[0056]FIG. 13 is a perspective view of an elongated body forming one component of the forearm extension;

[57]

[0057]FIG. 14 is a perspective view of the elongated body configured for use in the forearm extension as shown in FIG. 12;

[58]

[0058]FIG. 15 is a perspective view of an elongated stiffening member forming one component of the forearm extension;

[59]

[0059]FIG. 16 is a perspective assembled view of the forearm extension body and stiffening member;

[60]

[0060]FIGS. 17 and 18 are perspective views of a first coupling forming a component of the forearm extension;

[61]

[0061]FIGS. 19 and 20 are perspective views of a second coupling forming a component of the forearm extension;

[62]

[0062] FIGS. 21 is a perspective view of an elongated forearm extension cover forming a component of the forearm extension; and

[63]

[0063]FIG. 22 is a perspective view of a coupling cover forming a component of the forearm extension.

DETAILED DESCRIPTION

[64]

[0064] In describing the preferred embodiments of the subject matter illustrated and to be described with respect to the drawings, specific terminology will be resorted to for the sake of clarity. However, the invention is not intended to be limited to the specific terms so selected, and is to be understood that each specific term includes all technical equivalence which operate in a similar manner to accomplish a similar purpose.

[65]

[0065] Referring to FIGS. 8A through 8F, there is illustrated an upper arm extension 250 constructed in accordance with one embodiment of the present invention. The upper arm extension 250 is constructed of an upper channel exterior member 253, a pair of roller units 251 and a reinforcing bar 252. The upper arm extension 250 can be constructed from a variety of metals, such as extruded aluminum which has the beneficial properties of both strength and light weight. The upper channel exterior member 253 is in the nature of a U-shaped member of indeterminate length. The upper channel exterior member 253 is capable of being cut from an indeterminate length to a user specified size and will therefore include a first end 262 and a second end 263. Accordingly, multiple upper channel exterior members 253 can be cut from a single extruded length of stock material.

[66]

[0066] The upper channel exterior fitting 253 includes two spaced apart sidewalls 255 and a transversally arranged top wall 254 therebetween, thus forming the U-shaped member. The sidewalls 255 may be tapered as previously described. Located on the interior surface of each sidewall 255 at positions equidistant below the top wall 254 are two projecting shelves 256. The shelves 256 generally extend between the first and second ends 262, 263 of the upper channel exterior member 253, such that they run through the entire length of the upper channel 250. The shelves 256 are situated such that an open cavity 259 is formed between the top wall 254, sidewalls 255 and the shelves. The cavity 259 is defined by cavity walls 261 and a cavity roof 260. At each end of the upper channel 250, a notch such as a circular region 264 can be cut out of the sidewalls 255 where it joins with topwall 254 to accommodate a portion of the roller units 251 in assembled relationship, as to be described hereinafter.

[67]

[0067] A reinforcing bar 252 of preferably tubular construction is slideably disposed or force fit within the cavity 259 along the length of the upper channel exterior member 253 between the first and second ends, 262, 263. The bar is sized in height and width such that its bottom surface 257 rests upon the shelves 256 while the top surface 258 generally contacts the cavity roof 260 and its side surfaces 263 generally contact the cavity walls 261 forming a rigid structure. The bar 252 is formed with a cavity 274 extending therethrough. Typically, the reinforcing bar 252 is formed from extruded steel or other suitable material to enhance and strengthen the upper channel 250 and is cut to a length dependent on, and generally equal to, the final length of the upper channel exterior member 253. Formed with the top and bottom surfaces 257, 258 of the reinforcing bar 252 at both ends are through holes 265. The holes 265 are preferably located near both of the first and second ends 262, 263 of the upper channel 250, and as illustrated, are typically elongated holes, although other shapes are contemplated.

[68]

[0068] Each roller unit 251 includes a rectangular member 266 of solid or tubular construction from extruded aluminum having a first end 269 and a second end 270, and a cylindrical member 267 also formed from aluminum. At the second end 270 of each rectangular member 266, an arcuate or semi-circular region 268 may be formed. The cylindrical member 267 is welded transversally to a respective rectangular member 266 along the length of the top wall 271, bottom wall 272, and sidewalls 273 of the rectangular member. Each cylindrical member 267 has a cast or formed hole 205 extending therethrough such that it may be pivotally attached via pins 102, 550 to the first endcap 100 or second endcap 500. The roller unit 251 may also be formed as an integral one piece casting or machining and the like.

[69]

[0069] The rectangular member 266 is sized and shaped such that it may be snugly disposed longitudinally within the cavity 274 of the reinforcing bar 252. Provided through the top wall 271 and bottom wall 272 of the rectangular member 266 are aligned openings, for example, elongated holes 275. When the roller units 251 are properly slid within the reinforcing bar 252, the holes 265, 275 will have at least a common overlying portion in alignment with each other. By way of example, the holes 265, 275 may have the same size and shape. These overlying holes 265, 275 enable the reinforcing bar 252 and each roller unit 251 to be fixed in assembled position. Typically, the reinforcing bar is made of steel while the roller units 251 and upper channel 250 are made of aluminum. This material divergence prevents each element from being directly welded together.

[70]

[0070] In one embodiment of the invention, aluminum material may be welded to the roof 260 of the top wall 254 of the upper channel exterior member 253 by filling the holes 265, 270 to form a rigid connection plug 280 as shown in FIG. 8G. In another embodiment, a pre-formed aluminum plug (not shown) suitably sized to fill the space within the two elongated holes 265, 275 may be inserted and bonded to the upper channel exterior member 253. In either case, the plug serves to lock the components together in assembled relationship, such that they may no longer slide relative to one another. In another embodiment, the roller units 251, reinforcing bar 252 and upper channel exterior member 253 may be chemically bonded, for example, with epoxy adhesive. Additionally, these components may be mechanically connected with, for example, screws or rivets or the like.

[71]

[0071] As previously described, each roller unit 251 is engaged with the upper channel's respective first end 262 and second end 263. At each first end 262 and second end 263, the cylindrical member 267 of each roller unit 251 abuts the upper channel. The abutment may either be directly against the first end 262 and second end 263 or may be within the notches, such as the circular region 264 expressly provided for this purpose. For illustrative purposes, FIG. 8B depicts a first end 262 with the standard abutment against a right angle corner and a second end 263 with the notched semi-circular region 264, See also FIG. 8A. It is therefore contemplated that the ends of the reinforcing bar 252 will be similarly notched with a corresponding circular region to receive the cylindrical member 267.

[72]

[0072] Disposed adjacent the second end 263 of the upper channel 250 is a tapped hole 277 within the reinforcing member 252. The tapped hole is sized to accept a threaded end ball stud 278. The ball stud is configured and sized and threaded to receive the second end of the suspension device 400, as previously described in the prior art.

[73]

[0073]FIGS. 9A through 9F illustrate a lower arm extension 350 including a lower channel exterior member 363, a pair of roller units 351 and a reinforcing bar 352 constructed in a like manner as the upper arm extension 250 detailed above.

[74]

[0074] Referring to FIGS. 8D and 9C, each sidewall 255, 355 of the upper and lower channel 250, 350 may be slightly tapered inwardly, for example, by approximately ½ to 1 degree. The taper allows more clearance between the upper and lower channels 250, 350 when the upper and lower channels 250, 350 are brought together during usage. That is, the inner surface of the sidewalls 276 of the upper channel exterior member 253 being tapered by approximately ½ to 1 degree means that there is additional clearance for the exterior surface 376 of the lower channel exterior member 353, which can be similarly tapered, to fit there within. The addition clearance ensures that the upper channel 250 and lower channel 350 will not scrape together during usage.

[75]

[0075] Referring to FIGS. 10A through 10F, there is illustrated a forearm extension 650 constructed in accordance with one embodiment of the present invention. In this embodiment, the forearm extension 650 includes a first female coupling 651, elongated body 652 and second female coupling 653, each formed from aluminum or similar material. In one embodiment of the present embodiment, the body 652 is formed from extruded metal of indeterminate length, preferably aluminum, and may be cut or formed to a user specified length to achieve a forearm extension 650 of the required length when connected to the first female coupling 651 and the second female coupling 653. The first and second female couplings 651, 653 may be formed by casting machining and the like.

[76]

[0076] As shown in FIG. 10B, the first female coupling 651 includes a coupling end 654 and a shaft end 655. The coupling end 654 has a through bore 800 having an inner diameter 656 that is sized to rotatably engage the hollow shaft 510 of the second endcap 500. The first female coupling 651 is also configured to receive a cable through the hollow shaft 510. That is, the first female coupling 651 has a cable slot 657 formed therein during casting which communicates with the interior of the elongated body 652.

[77]

[0077] The first female coupling 651 generally has a threaded hole 658 to receive a set screw (not shown) formed within a wall 659 thereof. The set screw can be tightened to prevent the first female coupling 651 from rotating about the hollow shaft 510. A bushing 609 (See FIG. 2) is preferably used to engage the first female coupling 651 and the hollow shaft 510. That is, the bushing 609 is placed over the hollow shaft 510 and within the first female coupling 651. The bushing 609 is preferably made of a smooth material, such as plastic, in order to reduce friction and prevent metal to metal contact. As illustrated in FIG. 6H, the bushing 609 also has a cable slot 610 formed therein. The cable slots 605, 610 are aligned so that a cable can pass therethrough. When the set screw 658 is tightened it causes the bushing 609 to flex inward and frictionally engage the hollow shaft 510 and thus prevent the forearm extension 650 from rotating about the hollow shaft 510. The hollow shaft 510 and the first female coupling 651 are held together by utilizing a screw 611 and a washer 612 (See FIG. 2) threadably engaging a portion of the second endcap 500.

[78]

[0078] The shaft end 655 of the first female coupling 651 is constructed in a U-shaped configuration with a bottom wall 670 and two spaced apart sidewalls 671. Each sidewall 671 extends outwardly from the coupling end 654 of the first female coupling 651. Formed within the bottom wall is a void 674, such as an elongated hole.

[79]

[0079] The shaft end 655 of the first female coupling 651 is sized and shaped such that it may be slideably engaged within the body 652 of the forearm extension 650. The body is configured as a lipped U-shaped member forming a hollow interior which is slightly larger than the shaft end 655 of the first female coupling 651 to accept same. Specifically, the body 652 as shown in FIG. 10C includes a bottom wall 675, spaced apart sidewalls 676 and a partially enclosed top wall 677 formed by inwardly extending lips. The body 652 and the first female coupling 651 are joined together such that the bottom wall 675 of the body slideably engages the bottom wall 670 of the shaft end 655 of the first female coupling; the inner surface of the sidewalls 676 of the body slideably engage the outer surfaces of the sidewalls 671 of the shaft end 655 of the first female coupling 651; and, the sidewall top surface 673 of the shaft end 655 of the first female coupling 651 slideably engages undersurface of the lips 677 of the body 652. The shaft end 655 is permitted to penetrate the body 652 until stops 672 disposed at the junction of the coupling end 654 and the shaft end 655 prevent further movement. The stops 672 are sized and positioned such that the void 674 of the shaft end 655 will align over the bottom wall 675 of the body 652. The first female coupling may be rigidly attached to the body 652 using similar means as that described for the upper channel exterior fittings 253 connection with the perspective roller units 251, including by means of a welded plug, preformed plug, chemical bonding, screw or rivet. The aforementioned engagement form an essentially rigid structure.

[80]

[0080] Slidably engaged into the opposite end of the body 652 in a similar manner is the second female coupling 653. The second female coupling 653 includes a shaft end 680 and a coupling end 681. The coupling end 681 comprises two spaced apart sidewalls 682 and a circular endwall 683 directly opposite the shaft end 680. Within the coupling end 681 is a through bore 699 having an inner diameter 684 for rotatably engaging a shaft of the tilter or similar device mount (not shown). A bushing 617 (See FIG. 2), preferably made of a smooth material such as plastic, is placed over the shaft and within the inner diameter 684 of the second female coupling 653. The second female coupling 653 preferably has a threaded hole to accept a set screw 685 formed within a wall 686 created by the inner diameter 684 and the semi-circular endwall 683. When the set screw 685 is tightened it causes the bushing 617 to flex inward and frictionally engage the shaft and thus prevent the device mount from rotating around the second female coupling 653.

[81]

[0081] Formed within the coupling end 681 of the second female coupling 653 is a cable opening 684. The opening is suitably sized such that the device cable and plug may be placed therethrough. Following placement through the cable opening, the cable and plug may then be placed through the cable slot 685, the body 652, and the first female coupling 651, as previously described.

[82]

[0082] The shaft end 680 of the second female coupling 653 is shaped and dimensioned such that it may be slideably engaged within the opposite end of the body 652 of the forearm extension 650 as the first female coupling 651. As such, the shaft end 680 of the second female coupling 653 is cast in a U-shaped configuration with a bottom wall 681 and two spaced apart sidewalls 682. Each sidewall 682 extends outwardly from a stop 683 formed with the coupling end 681 of the second female coupling 653. Formed within the bottom wall 681 is a void 687, such as an elongated hole 686. The void 686 is utilized in a similar manner as that of the first female coupling void 674 to form an essentially rigid structure with the body 652.

[83]

[0083] A cable cover 692 is typically affixed upon the first female coupling 651, body 652, and second female coupling 653. The cover is molded from plastic and contains a top cover 695 with a pair of sidewalls extending therefrom. The cable cover is shaped and sized such that the top cover 695 rests upon the first female coupling, body 652 and second female coupling 653. As such, at the first female coupling 651, the cover is circular in shape. Similarly, the extending sidewalls 693 are semi-circular in shape and extend into the inner diameter 656. The sidewalls 693 are suitably flexible such that stops 694 attached thereto engage the inner diameter 656 with sufficient pressure to prevent the cover from being released without an intent to do so. The portion of the cover 692 affixed to the shaft end 655 of the first female coupling 651, the body 652, and the second female coupling 653 is rectangular corresponding to the shape of those elements. This portion of the cable cover 692 may be cut to a corresponding length to that of the specified forearm extension 600. An assembled extension arm constructed in accordance with the present invention as thus far described as shown in FIG. 11.

[84]

[0084] Turning to FIG. 12, there is shown a modular forearm extension constructed in accordance with another embodiment of the present invention and generally designated by reference numeral 700. The forearm extension 700 includes an elongated main body 702, a first coupling 704 fixedly attached to one end of the body, a second coupling 706 fixedly attached to the other end of the body, and optionally, an elongated stiffening member 708 (See FIG. 15), an elongated body cover 710 and a coupling cover 712. The forearm extension 700 may also include a polymer bushing 714 received within the second coupling 706.

[85]

[0085] Referring to FIG. 13, the body 702 is initially formed from an elongated U-shaped member 716 of undefined length. The U-shaped member 716 includes a bottom wall 718 and a pair of spaced apart sidewalls 720, 722. The elongated member 716 is generally a stock component of the forearm extension which is cut to size depending upon the required length of the forearm extension. As such, the U-shaped member 716 may be extruded or otherwise formed into a U-shape of indefinite length. The members 716 may be stocked in various widths between the sidewalls 720, 722, as well as various thickness depending upon the application of the forearm extension and the weight to be supported such as an electronic device or other object.

[86]

[0086] The member 716 is severed into the predetermined length as desired for the particular forearm extension to be assembled. The ends of the member 716 are shaped or otherwise conformed to that required to mate with a corresponding one of the first and second couplings 704, 706. As shown in FIG. 14, end 724 of the body 702 is formed with a circular shaped bottom wall end 726. The ends of the sidewalls 720, 722 extend beyond the extent of the bottom wall end 726 forming sidewall projection 728, 730 of different length. The other end 732 of the body 702 is also formed with a circular shaped bottom wall end 734 from which there extends spaced apart sidewall projections 736, 737. The ends 724, 732 of the body 702 may be formed by various manufacturing techniques such as machining, grinding and the like. The ends 724, 732 are shaped to abut against its corresponding coupling 704, 706 so as to be fixedly attached thereto as to be described hereinafter. Optionally, the bottom wall 718 may be provided with an enlarged opening 738 adapted to allow cables and/or connectors to pass therethrough in use of the forearm extension 700.

[87]

[0087] In certain embodiments of the forearm extension 700, it may be desirable to provide additional mechanical strength depending upon the application and load to be carried by the forearm extension. As shown in FIG. 15, an elongated U-shaped stiffening member 740 is cut from an indeterminate length. The materials of construction, thickness and length of the stiffening member 740 may be determined based on the design and load criteria of the forearm extension. Although the stiffening member 740 has been described as a U-shaped member, it is to be understood that other shapes that provide structural rigidity may also be employed, for example, I-beam, rectangular and the like.

[88]

[0088] As shown in FIG. 16, the stiffening member 740 is positioned within the interior of the body 702 between the sidewalls 720, 722 facing downwardly, typically supported on the bottom wall 718. The stiffening member 740 is fixedly secured to the body 702 such as by weld spots 742 between the stiffening member and the adjacent sidewalls 720, 722. It is to be understood that any other technique for fixedly securing the stiffening member 740 to the interior of the body 702 may be employed to form a rigid structure.

[89]

[0089] Referring to FIGS. 17 and 18, the first coupling 704 is in the nature of a cylindrical body having a through bore 744. The outer wall 746 forming the first coupling 704 is provided with a pair of spaced apart recesses 748, 750. The recesses 748, 750 are formed in parallel spaced apart planes adapted to respectively receive one of the sidewall projections 728, 730 formed at the end 724 of the body 702. This is partially shown in FIG. 12 wherein sidewall projection 728 is received within recess 748. Accordingly, the recesses 748, 750 capture and support the sidewall projection 728, 730 which facilitates alignment and the subsequent attachment of the body 702 to the first coupling 704. Once in the assembled relationship, the sidewalls 720, 722 are welded to the outer wall 746 of the first coupling 704 from the interior of the body 702 such as by forming weld fillets.

[90]

[0090] In the embodiment shown, the recesses 748, 750 are not symmetrical or of identical shape. Rather, the recesses 748, 750 are offset from one another and are of a different size so as to accommodate the different length of the sidewall projection 728, 730, which may be of substantially the same length if desired. As a result, the center of the first coupling 704 is offset from the longitudinal axis of the body 702 forming the forearm extension 700, See FIG. 12.

[91]

[0091] The outer wall 746 is optionally provided with an opening 752 providing communication between the interior of the body 702 and bore 744 within the first coupling 704. The outer wall 746 may additionally be provided with a threaded hole 754 for receiving a set screw (not shown).

[92]

[0092] Referring to FIGS. 19 and 20, the second coupling 706 is formed from a cylindrical body having an outer wall 765 and a through bore 758. The outer wall 756 is provided with a pair of spaced apart recesses 760, 762 arranged in parallel spaced apart planes. The recesses 760, 762 are adapted to receive the sidewall projections 736, 737 to be fixedly attached thereto. In the manner as previously described, the sidewall projection 736, 737, which are of the same length, may be welded to the outer wall 756 within the interior of the body 702 via weld fillets and the like. As shown, the recesses 760, 762 are symmetrical to accommodate projections 736, 737 of equal length such that the center line of the body 702 is aligned with the center axis of the second coupling 706 as shown in FIG. 12. However, the projections 736, 737 may be of different lengths if desired. The second coupling 706 may optionally include a threaded hole 764 for receipt of a set screw (not shown).

[93]

[0093] The forearm extension 700 is shown in assembled relationship in FIG. 12. The body 702 opens upwardly forming an elongated top opening. The opening may be enclosed by means of a cover 710 as further shown in FIG. 21. The cover 710 includes a top wall 766 and a pair of depending spaced apart walls 768, 770. The wall 766, 768 are spaced apart so as to frictionally engage the interior surface of sidewalls 720, 722 of the body 702. This provides a friction fit to allow attachment and removal of the cover 710. One or both ends of the cover 710 may be formed with an opening 772 to allow for passage of cables form the interior of the forearm extension 700. The other end of the cover 710 may be straight, provided with a shaped opening so as to conform to the outer wall 746 of the first coupling 704 or provided with an opening (not shown).

[94]

[0094] The first and second couplings 704, 706 may be preformed as stock components having a configuration adapted to mate with the ends 724, 732 of the body 702 of the forearm extension 700. Thus, it is contemplated that the recesses 748, 750, 760, 762 may be preformed in the first and second couplings 704, 706 or machined thereafter depending upon the size of the body 702 being used.

[95]

[0095] The bore 744 within the first coupling 704 may be closed by means of a coupling cover 712 as shown in FIG. 22. The bottom surface of the coupling cover 722 includes a circumscribing depending rib 772. The rib 772 is adapted to frictionally engage the inner surface of the first coupling 704 so as to frictionally attach the coupling cover to the first coupling.

[96]

[0096] Although the invention herein has been described with reference to particular embodiments, it is to be understood that the embodiments are merely illustrative of the principles and application of the present invention. It is therefore to be understood that numerous modifications may be made to the embodiments and that other arrangements may be devised without departing from the spirit and scope of the present invention as defined by the claims.

Как компенсировать расходы
на инновационную разработку
Похожие патенты