заявка
№ US 20040237973
МПК A24C5/47

Apparatus for ascertaining the transverse dimensions of rod-shaped articles

Авторы:
Andreas Noack
Правообладатель:
Номер заявки
10850119
Дата подачи заявки
21.05.2004
Опубликовано
02.12.2004
Страна
US
Дата приоритета
14.12.2025
Номер приоритета
Страна приоритета
Как управлять
интеллектуальной собственностью
Чертежи 
2
Реферат

[64]

The invention relates to an apparatus which embodies an optical measuring assembly serving to ascertain the transverse dimensions (such as diameters) of at least substantially cylindrical rod-shaped articles, preferably cigarettes or other rod-shaped articles of the tobacco processing industry, and includes a radiation source employing at least one first preferably circular array of light emitting diodes or the like, an evaluating unit employing at least one preferably circular array of signal generating charge coupled devices or the like, and a control unit which regulates the operation of batches of neighboring diodes and receives preferably short-lasting signals from the charge coupled devices located in the shadow produced by the article which is coaxial with and is spacedly surrounded by the two arrays. The article can be stationary or it can move (such as axially) relative to the coaxial arrays.

[65]

Формула изобретения

1. Apparatus for ascertaining transverse dimensions of at least one at least substantially rod-shaped article, including an optical measuring assembly comprising:

a radiation source arranged to direct radiation against an article so that the article intercepts a portion of radiation which is indicative of the transverse dimension thereof, said source comprising at least, one first array of radiation emitting first elements; and

an evaluating unit including at least one second array of radiation-sensitive second elements located at least substantially opposite said radiation emitting first elements and in the path of propagation of radiation from said source toward the article to generate signals denoting the amount of radiation being intercepted by the article.

2. The apparatus of claim 1, wherein said first elements include light emitting diodes.

3. The apparatus of claim 1, wherein said second elements include charge coupled devices.

4. The apparatus of claim 1, wherein the article constitutes at least a portion of a rod-shaped smokers' product.

5. The apparatus of claim 1, wherein said evaluating unit is arranged to effect a short-lasting determination of the transverse dimension of the at least one rod-shaped article in said path.

6. The apparatus of claim 1, wherein the article in said path is stationary.

7. The apparatus of claim 1, further comprising means for advancing the at least one article across said path.

8. The apparatus of claim 1, wherein at least one of said first and second arrays at least partially surrounds the article in said path.

9. The apparatus of claim 1, wherein at least one of said arrays has an arcuate shape.

10. The apparatus of claim 9, wherein said at least one array forms at least a portion of a circle having a center and the article in said path is located at least close to said center.

11. The apparatus of claim 10, wherein at least one of said arrays forms a complete circle.

12. The apparatus of claim 1, wherein each of said radiation emitting elements has a first effective width and each of said second elements has a second effective width less than said first width.

13. The apparatus of claim 1, wherein said optical measuring assembly further comprises control means operatively connected with said source and with said unit and arranged to actuate selected groups of said first elements, to receive signals from said second elements, and to ascertain the transverse dimension of the article in said path on the basis of said signals.

14. The apparatus of claim 13 for ascertaining the diameters of at least substantially rod-shaped articles normally having predetermined diameters, wherein said control means is arranged to actuate selected groups of first elements and each of said groups has a length at least approximating one of said predetermined diameters, and to ascertain the diameter of the article in said path on the basis of (a) said predetermined diameters and (b) signals from those second elements which are screened from the groups of neighboring first elements by the article in said path.

15. The apparatus of claim 14, wherein said control means is arranged to ascertain the diameter of the article in said path exclusively on the basis of signals transmitted from second elements which are fully screened from said groups of neighboring first elements.

16. The apparatus of claim 13, wherein said first array is elongated and said selected groups of first elements are adjacent each other, said control means being arranged to actuate successive groups of first elements and said successive groups forming a row extending lengthwise of said first array so that the radiation issuing from said successive groups of first elements impinges at different angles upon the article in said path.

17. The apparatus of claim 16, wherein said first array at least partially surrounds the article in said path so that said successive groups of first elements cause said second elements to generate signals suitable to be processed by said control unit to ascertain the curvature of that portion of the circumference of the article in said path which is being exposed to radiation by said successive groups of first elements.

18. The apparatus of claim 16, wherein said control means includes means for processing the signals from said second elements into information denoting an average transverse dimension of that part of an article which is located in said path.

19. The apparatus of claim 13 for simultaneously ascertaining transverse dimensions of a plurality of at least substantially rod-shaped articles, comprising a discrete optical measuring assembly for each of said plurality of articles.

20. The apparatus of claim 19, wherein the radiation sources and the evaluating units of said discrete assemblies are closely adjacent each other.

21. The apparatus of claim 1, further comprising means for optically separating said first and second arrays from each other.

22. The apparatus of claim 21, wherein said separating means comprises at least one diaphragm.

23. The apparatus of claim 21, wherein at least one of said arrays forms an at least substantially complete circle and said separating means comprises a diaphragm having an opening for the article in said path.

24. The apparatus of claim 1, wherein the radiation issuing from said source is at least substantially normal to the longitudinal extension of the article in said path.

Описание

CROSS-REFERENCE TO RELATED CASES

[1]

[0001] This application claims the priority of the commonly owned German patent application Serial No. 103 23 152.8 filed May 22, 2003. The disclosure of this German patent application, as well as that of each U.S. and/or foreign patent and/or patent application identified in the specification of the present application, is incorporated herein by reference.

BACKGROUND OF THE INVENTION

[2]

[0002] The invention relates to improvements in apparatus for measuring the transverse dimensions (such as the diameters) of one or more rod-like objects, especially rod-shaped products or articles of the tobacco processing industry, which employ at least one optical arrangement or assembly including an irradiating unit which illuminates the product or products and an evaluating unit. The latter can be constructed and assembled to effect a preferably short-lasting ascertainment of the extent to which the rod-shaped product(s) intercepts or intercept the radiation issuing from the irradiating unit and to initiate or to effect the generation of signals denoting the transverse dimension(s) of the product(s). The product or products can be positioned in or can move across the path of radiation which issues from the irradiating unit and is directed toward the evaluating unit.

[3]

[0003] As utilized herein, the term “rod-shaped products of the tobacco processing industry” is intended to denote plain and filter cigarettes, cigars and cigarillos, filter rods for tobacco smoke and other rod-shaped commodities which constitute or form part of smokers' products. Such rod-shaped products can be monitored in order to ascertain their diameters (actually their transverse or cross-sectional dimensions because the cross-sectional outline of a cigarette or the like often should but often does not constitute a perfect circle) irrespective of the then stage of treatment of the products. For example, the monitoring can take place prior or subsequent to or during the assembly of plain cigarettes, filter rod sections and portions of so-called tipping paper into filter cigarettes of unit length or multiple unit length. Furthermore, the apparatus of the present invention can be set up to monitor the cross-sectional dimensions of one or more endless rod-shaped articles (such as continuous cigarette rods or filter rods) which is or are caused to move lengthwise (axially) and/or which rotates or rotate about its or their longitudinal axis or axes, as well as to monitor the cross-sectional dimensions (hereinafter frequently referred to as diameters) of endless articles subsequent to their subdivision into one or more files of rod-shaped articles of unit length or multiple unit length in one or more severing devices, e.g., of the type known as cutoffs.

[4]

[0004] The ascertainment or determination of the cross-sectional dimensions of rod-shaped smokers' products, and the elimination of causes of departure of such dimensions from predetermined (optimum) dimensions are particularly important when the products are cigarettes and/or filters for cigarettes. Such determination normally involves measurements which are carried out while the products are being moved lengthwise (axially), either continuously or in a stepwise fashion. The measurement of cross-sectional dimensions of rod-shaped smokers' products of the just outlined character can present numerous problems for any one of a variety of reasons, such as the speed of a modern machine which is designed to turn out products at a rate unheard of and unimaginable only a few decades ago. Furthermore, the extent to which the actual transverse dimensions of a plain or filter cigarette (or a component or portion thereof) can depart from the prescribed (optimum) dimensions is within a minute fraction of a millimeter, and the problems are or can be even greater if the cross-sectional outline of the products (such as oval cigarettes) should depart (often considerably) from a prescribed (such as circular) outline.

[5]

[0005] European patent application Serial No. 0 909 537 A1 (filed Sep. 17, 1999 by Mauricio Cotti et al. for “A UNIT FOR CHECKING THE TRANSVERSE DIMENSIONS OF ROD-SHAPED PRODUCTS”) discloses a measuring apparatus wherein an irradiating unit is designed to generate a wide bunched beam of parallel electromagnetic rays which impinge upon a mirror to be deflected at an angle of 90° and to be thus reflected upon an evaluating unit. The rod-shaped article to be monitored extends in parallelism with the mirror and at right angles to the beam in such position that a first portion of the beam is propagated from the source directly to the article, and that a second portion of the beam reaches the article upon deflection by the mirror. In other words, the radiation which reaches the evaluating unit of the apparatus disclosed by Cotti et al. includes two neighboring sections which are arranged to represent the diameters of a cross-sectional area of the article and are normal to each other. This apparatus exhibits the advantage that it can monitor the diameters of rod-shaped articles which need not turn about their longitudinal axes or which is should not turn about such axes; this renders the apparatus of Cotti et al. suitable for the ascertainment of diameters of endless rod-shaped commodities. However, the apparatus of Cotti et al. exhibits the serious drawback that it can ascertain only two diameters of those cross-sectional areas which are to be monitored; such mode of ascertaining the departures of actual configurations of rod-shaped articles from the desired or prescribed configurations cannot ensure the detection of all defects of rod-shaped articles to satisfy the requirements of smokers and/or of the makers of rod-shaped smokers' products.

[6]

[0006] Commonly owned German patent application Serial No. DE 195 23 273 A1 of Siegfried Hapke et al. for “METHOD OF AND APPARATUS FOR ASCERTAINING THE DIAMETER OF A ROD-SHAPED ARTICLE OF THE TOBACCO PROCESSING INDUSTRY” (published Jan. 9, 1997) discloses a method and an apparatus which are particularly suitable for ascertainment of the diameters of cigarettes that are monitored while moving lengthwise and while rotating about their longitudinal axes during transport through a stationary measuring apparatus. The cigarette which turns about its axis during lengthwise movement through the measuring apparatus is exposed to radiation, and the apparatus monitors the size of at least one shadow which develops as a result of interception of some radiation. The apparatus generates electric signals which are proportional to the size(s) of the shadow(s). Several of the thus obtained signals are processed into a signal which denotes the diameter of the monitored rod-shaped article.

[7]

[0007] An advantage of the just described method and apparatus is that they render it possible to ascertain the diameters of cigarettes or analogous rod-shaped smokers' products with a high degree of accuracy. On the other hand, such method and apparatus cannot be resorted to in connection with the ascertainment of diameters of continuous rod-shaped products which turn about their longitudinal axes.

[8]

[0008] Commonly owned U.S. patent application Ser. No. ______ (filed ______ 2004 by Siegfried Hapke et al. for “METHOD OF AND APPARATUS FOR ASCERTAINING THE TRANSVERSE DIMENSIONS OF ROD-SHAPED ARTICLES”) discloses a method of and an apparatus for ascertaining the transverse dimensions, such as diameters, of one or more rod-shaped articles, for example, continuous or finite-length cigarette rods and/or other rod-shaped smokers' products. When the method and the apparatus are utilized to ascertain the transverse dimensions of a single rod-shaped article, such as a continuous cigarette rod which is stationary, which turns about its longitudinal axis and/or which is moved lengthwise, the apparatus can employ at least one radiation source which emits a beam of radiation against the stationary or moving article whereby the article intercepts a first portion of the beam and permits the remaining portion to impinge upon a device which evaluates the non-intercepted portion of the beam and generates signals denoting the diameter of the article. The apparatus also employs an arrangement, such as a motor and a belt-and-pulley device, for selectively altering the orientation of the beam relative to the article; this enables the evaluating device to furnish signals which can be processed to indicate whether or not the article is round or out of round.

OBJECTS OF THE INVENTION

[9]

[0009] An object of the present invention is to provide a novel and improved method of ascertaining the transverse dimensions of rod-shaped commodities, such as discrete cigarettes, continuous cigarette rods, discrete filters for tobacco smoke, continuous filter rods and the like, which need not rotate about their longitudinal axes in the course of the testing operation.

[10]

[0010] Another object of the invention is to provide a method of accurately ascertaining the transverse dimensions of continuous rod-shaped smokers' products or the like.

[11]

[0011] A further object of the instant invention is to provide a method which can ascertain the diameters of rod-shaped smokers' products with a degree of accuracy much higher than that achievable by resorting to heretofore known undertakings.

[12]

[0012] An additional object of this invention is to provide a novel and improved apparatus which can be utilized for the practice of the above outlined method.

[13]

[0013] Still another object of the invention is to provide an apparatus which can be embodied in or utilized in conjunction with presently known (including the latest versions of) machines for the making of cigarettes and other rod-shaped products of the tobacco processing industry.

[14]

[0014] A further object of this invention is to provide a novel and improved optical signal generating and signal processing assembly for use in the above outlined apparatus.

[15]

[0015] An additional object of the invention is to reduce the number of rejects which are turned out by machines for the making and processing of rod-shaped smokers' products or the like.

SUMMARY OF THE INVENTION

[16]

[0016] The invention resides in the provision of an apparatus for ascertaining transverse dimensions (such as diameters) of at least one at least substantially rod-shaped article. The apparatus includes an improved optical measuring assembly which comprises a radiation source which is arranged to direct radiation against the article so that the article intercepts at least a portion of radiation, namely a portion which is indicative of its transverse dimension. The radiation source comprises at least one first array of radiation emitting first elements (such as light emitting diodes), and the measuring assembly further comprises an evaluating unit including at least one second array of radiation-sensitive second elements which are located at least substantially opposite the radiation emitting first elements and in the path of propagation of radiation from the source toward the article to generate signals which denote the amount of radiation being intercepted by the article. The radiation-sensitive second elements can include charge coupled devices. The article in the aforementioned path can constitute at least a portion of or an entire rod-shaped smokers' product.

[17]

[0017] The evaluating unit is preferably arranged to effect a short-lasting determination of the transverse dimension of the at least one rod-shaped article in the aforementioned path; such article can be stationary or the apparatus can further comprise means for moving the at least one article across the path.

[18]

[0018] At least one of the first and second arrays can at least partially surround the article in the aforementioned path; to this end, at least one of the arrays can be imparted an arcuate shape and such at least one array can constitute a portion of or a complete circle with the article in the aforementioned path located at or at least close to the center of such arcuate or circular array.

[19]

[0019] The effective width of each radiation emitting (first) element can exceed the effective width of each is radiation-sensitive second element.

[20]

[0020] The optical measuring assembly of the improved apparatus preferably further comprises control means which is operatively connected with the radiation source and with the evaluating unit and is arranged to actuate selected groups or sections of first elements, to receive signals from the second elements, and to ascertain the transverse dimension of the article in the aforementioned path on the basis of such signals. If the apparatus is arranged to ascertain the diameters of at least substantially rod-shaped articles normally having predetermined (standard) diameters, the control means is preferably arranged to actuate selected groups of first elements, namely groups each of which has a length at least approximating one of the predetermined diameters, and such control means is preferably further arranged to ascertain the diameter of the article in the aforementioned path on the basis of (a) the predetermined diameters and (b) on the basis of signals from those second elements which are screened from the groups of neighboring first elements by the article in the path.

[21]

[0021] The control means can be arranged to ascertain the diameter of the article in the aforementioned path exclusively on the basis of signals which are transmitted by those second elements which are fully screened from the groups of neighboring first elements.

[22]

[0022] The first array (of radiation emitting first elements) is or can be elongated (e.g., circumferentially around the article in the aforementioned path) and the selected groups of first elements are preferably adjacent each other. The control means of such optical measuring assembly can be arranged to actuate successive groups of first elements (namely successive groups which form a row extending lengthwise of the first array) so that the radiation issuing from successive groups of first elements impinges at different angles upon the article which is located in the aforementioned path. If the first array at least partially surrounds the article in the aforementioned path, successive groups of first elements can cause the second elements to generate signals which are suitable to be processed by the control unit to ascertain the curvature of that portion of the circumference of the article in its path which is being exposed to radiation by the successive groups of first elements. The control means can be arranged to process the signals from the second elements into information which denotes an average transverse dimension of that part of the article which is located in the aforementioned path.

[23]

[0023] If the improved apparatus is to simultaneously ascertain transverse dimensions of a plurality of (such as two) at least substantially rod-shaped articles, it comprises a discrete optical measuring assembly for each of such plurality of articles. The radiation sources and the evaluating units of such discrete assemblies are or can be closely (such as immediately) adjacent each other.

[24]

[0024] The improved apparatus can further comprise means (such as at least one diaphragm) for optically separating the first and second arrays from each other. If at least one of the arrays forms an at least substantially complete circle, the optical separating means can comprise a diaphragm which is provided with an opening for the article located in the aforementioned path.

[25]

[0025] The radiation which issues from the radiation source of the improved optical measuring assembly can be at least substantially normal to the longitudinal extension of the article in its path.

[26]

[0026] The novel features which are considered as characteristic of the invention are set forth in particular in the appended claims. The improved apparatus itself, however, both as to its construction and the modes of assembling, installing and operating the same, together with numerous additional important, desirable and advantageous features and attributes thereof, will be best understood upon perusal of the following detailed description of certain presently preferred specific embodiments with reference to the accompanying drawing.

BRIEF DESCRIPTION OF THE DRAWING

[27]

[0027]FIG. 1 is a somewhat schematic perspective view of a cigarette making machine employing a diameter ascertaining apparatus which embodies one presently preferred form of the invention;

[28]

[0028]FIG. 2a is a diagrammatic view of an optical system which can be utilized in an apparatus that is embodied in or cooperates with the cigarette making machine of FIG. 1 or an analogous machine for the making of rod-shaped products;

[29]

[0029]FIG. 2b is a coordinate system wherein the curves denote the progress or arrangement of signals being generated by the optical system of FIG. 2a; and

[30]

[0030]FIG. 3 is a schematic side elevational view of is the optical system which is shown in FIG. 2a.

DESCRIPTION OF PREFERRED EMBODIMENTS

[31]

[0031]FIG. 1 illustrates certain relevant details of a cigarette rod making machine which is known as PROTOS and is distributed by the assignee of the present application. This machine comprises a gate 1 which is arranged to supply batches of shredded and/or otherwise comminuted tobacco leaves into a preliminary distributor 2. A tobacco withdrawing drum 3 serves to draw tobacco particles from the distributor 2 into a magazine 4 in such a way that the supply of tobacco in the latter is maintained at an at least substantially constant level. A preferably automatically controlled elevator conveyor 5 of known design (see, for example, commonly owned U.S. Pat. No. 5,072,742 granted Dec. 17, 1991 to Heitmann for “METHOD OF AND APPARATUS FOR MAKING A FILLER OF SMOKABLE MATERIAL”) is provided to draw batches of tobacco particles from the magazine 4 and to deliver successive batches into a gathering duct 6 which is installed in the machine frame at a level above a rotary carded drum 7 cooperating with a rapidly rotating so-called picker roller 8 to propel an at least substantially uniform stream of tobacco particles onto the upper reach of a continuously driven constant-speed endless belt conveyor 9.

[32]

[0032] The conveyor 9 gathers and advances lengthwise a continuous stream of tobacco particles, and the leader of such stream is propelled against a pneumatic sifter 11 which includes nozzles and/or analogous air discharging and directing devices forming an upright air curtain which is traversed by larger (heavier) tobacco particles but intercepts the lighter particles of the stream being supplied by the belt conveyor 9. The intercepted lighter tobacco particles descend onto the carding of a rotary drum 12 cooperating with a wall 13 to form therewith a funnel 14. The heavier (more satisfactory) tobacco particles which have traversed the air curtain formed by the sifter 11 are propelled by the carding of the drum 12 to enter a channel 16 and to impinge upon and be entrained by the lower reach of a foraminous band conveyor 17. The latter cooperates with a suction chamber 18 to attract and advance successive increments of a shower of satisfactory tobacco particles toward a stream trimming or equalizing device 19.

[33]

[0033] The equalizing device 19 removes the surplus of tobacco from the stream at the underside of the lower reach of the band conveyor 17 which conveys the thus trimmed stream onto the upper side of a continuously advancing strip or web 21 of cigarette paper or other suitable wrapping material. This web is drawn off a bobbin 22 and moves in the same direction as the lower reach of the band conveyor 17 to advance the equalized tobacco stream into a wrapping mechanism 26 employing a driven endless belt or band 24 known as garniture. Prior to entering the wrapping mechanism 26 including the garniture 24, successive increments of the cigarette paper web 21 advance through a printer 23 which provides successive spaced-apart portions of the web with suitable printed matter (e.g., the trademark(s) of the manufacturer of plain or filter cigarettes).

[34]

[0034] The garniture 24 drapes the running web 21 of cigarette paper around the trimmed or equalized tobacco stream (called filler) in such a way that one longitudinal marginal portion of the web extends substantially tangentially of and away from the cylindrical envelope surrounding the confined tobacco stream. The wrapping mechanism 26 further comprises a so-called paster (not shown) which coats one side of the aforementioned one marginal portion of the web 21 with a suitable adhesive, and such marginal portion is thereupon folded over the adjacent portion of the thus finished tubular envelope for the confined equalized tobacco stream or filler of the resulting cigarette rod 28. A plate-like drying device (e.g., a so-called tandem sealer) 27 is provided to promote the setting of adhesive and to thus prevent the envelope from bursting open at the adhesive-coated seam during further processing of the continuous cigarette rod 28.

[35]

[0035] The rod 28 is caused to advance through a measuring and regulating apparatus 29 on its way to a severing apparatus 31 (known as cutoff) which repeatedly cuts across the advancing rod to convert the latter into a series of succesive plain cigarettes 32 of double unit length. Such plain cigarettes advance into the range of controlled orbiting arms 33 of a transfer unit 34 which delivers the cigarettes 32 onto a drum-shaped receiving conveyor 36 of a filter cigarette making machine 37. The latter comprises a severing device including a drum 38 and a circular knife (not shown) which cooperates with the drum 38 to halve each cigarette 32 into a pair of plain cigarettes of unit length. The filter cigarette making machine 37 can be of the type disclosed in commonly owned U.S. Pat. No. 5,135,008 granted Aug. 4, 1992 to Oesterling et al. for “METHOD OF AND APPARATUS FOR MAKING FILTER CIGARETTES”.

[36]

[0036]FIG. 1 further shows two endless belt conveyors 39, 41 which serve to convey surplus tobacco (removed by the trimming device 19) back into the range of the elevator conveyor 5 which supplies such material into the gathering duct 6. More specifically, the conveyor 41 delivers surplus tobacco into a receptacle 42 which is adjacent the path of movement of spaced-apart paddles at the outer side of the endless flexible element of the elevator conveyor 5.

[37]

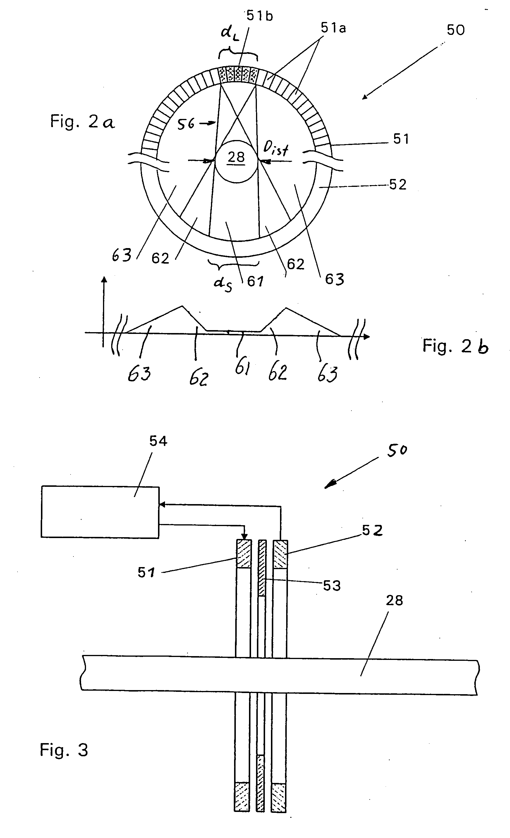
[0037] The aforementioned apparatus 29 of the continuous cigarette rod making machine of FIG. 1 comprises an optical measuring assembly 50 the relevant constituents of which are schematically depicted in FIGS. 2a and 3. Such constituents include a ring-shaped array 51 of closely adjacent discrete light-emitting diodes (LED) 51a. For example, the array 51 can comprise 4096 closely adjacent (neighboring) diodes 51 or equivalent radiation emitting elements. As can be readily seen in FIG. 2a, the diodes 51a are directly adjacent each other and are or can be identical with one another. This Figure further shows that the diodes 51a have identical widths, as seen in the circumferential direction (i.e., longitudinally) of the array 51.

[38]

[0038] The array 51 is coaxial with and is spaced apart from (see FIG. 3) a second annular array 52 consisting of charge coupled sensor devices (CCD), e.g., an array of 4096 CCD pixels. FIG. 3 shows that the two circular arrays of diodes 51a and pixels are spaced apart from each other as seen in the direction of the common axis of these arrays. It will be appreciated that the CCD pixels of the array 52 can be replaced with other optical sensor elements without departing from the spirit of the present invention. Each pixel of the second array 52 can be oriented and positioned in the same way as the diodes 51a of the array 51.

[39]

[0039] In order to ensure the making of highly accurate measurements, it is desirable to assemble the second array 52 of a large number of radiation-sensitive pixels (or equivalents thereof) so that each such pixel has a small (minimal) effective width as seen in the circumferential direction of such array. On the other hand, if desired or necessary, the array 51 can be assembled of a relatively small number of diodes 51a or equivalents thereof (i.e., fewer than 4096). The illustrated arrays 51 and 52 are stationary and each thereof forms a complete circle.

[40]

[0040] As can be seen in FIG. 3, a circular washer-like diaphragm 53 is interposed between and is or can be coaxial with the arrays 51 and 52. The diaphragm 53 constitutes a means for optically separating the pixels of the array 52 from the neighboring (nearest) diodes 51a of the array 51. This is necessary because (and as shown in FIG. 2a) light beams issuing from the diodes 51a should not impinge upon the immediately adjacent CCD elements but rather upon the diametrically opposite elements of the array 52. For example, the light beams issuing from the diodes 51a at the twelve o'clock position of the array 51 shown in FIG. 2a should impinge upon the pixels at the six o'clock position of the array 52.

[41]

[0041] The cigarette rod 28 is caused to move lengthwise through the coaxial arrays 51, 52 and the central opening of the diaphragm 53 which latter is coaxial with the two arrays. In te illustrated embodiment of the improved assembly 50, the cigarette rod 28 is coaxial with the parts 51 to 53, i.e., it advances at right angles to the planes of the two arrays and the diaphragm with the result that the beams 56 of radiation issuing from the activated light emitting diodes 51a of the array 51 impinge upon the oppositely located CCD elements of the array 52 at an angle which, in actual practice, is normally a little smaller than a right angle. In other words, the beams 56 impinge upon the cigarette rod 28 at an angle which is at least close to and can be a little less than 90°.

[42]

[0042]FIG. 3 further shows that the optical measuring assembly 50 also comprises a control unit or evaluating unit 54 which actuates and thus activates selected diodes 51a of the array 51 and which is also connected to and receives and evaluates signals from the CCD elements of the array 52. The diodes 51a of the array 51 are controlled and actuated in such a way that several neighboring coherent activated diodes 51a form a segment or group 51b (see FIG. 2a) which serves to generate what can be called a running or travelling light advancing lengthwise of (i.e., along) the ring-shaped array 51, namely around the cigarette rod 28. This activated segment or group 51b of running light can be caused to advance at any one of a plurality of different speeds because its speed is not dependent upon the speed or speeds of any mechanical components. Thus, the diameter of the rod 28 can be measured in one of several directions without resorting to mobile parts.

[43]

[0043] As a rule, or at least in many instances, the width dL of an activated group or segment 51b of several diodes 51a should match or at least approximate the is desired (predetermined) diameter of the cigarette rod 28. The latter generates a core or shadow 61 by interrupting certain beams of radiation, and such shadow is formed on that part (dS) of the array 52 which is disposed diametrically opposite the group or segment 51b and is detected by the corresponding CCD elements of the second array 52. The core shadow 61 is flanked by what can be termed half shadows or partial shadows 62 which, in turn, are inwardly adjacent regions 63 of dispersed light impinging upon the annular CCD array 52. The distribution of brightness of light impinging upon the CCD elements of the array 52 (as seen in the circumferential direction of the relevant section of the CCD array 52) is shown schematically in the coordinate system of FIG. 2b wherein the intensity is measured along the ordinate and the location (circumferentially of the array 52) is measured along the abscissa.

[44]

[0044] In the embodiment which is illustrated in the drawing, the width ds of the core shadow 61 (by taking into consideration the width dL of the group or segment 51b and the actual diameter Dist of the cigarette rod 28) is calculated as follows:

[45]

d=dL+2×(Dist−dL)=2Dist−dL.

[46]

[0045] This equation can be resorted to in order to ascertain the measured (actual) diameter Dist in accordance with the equation:

[47]

Dist=(ds−DL)/2.

[48]

[0046] If it is desired to perform a single measurement (in order to ascertain the actual diameter of the advancing cigarette rod 28), it is important to ensure that the cigarette rod is maintained exactly at or at least very close to the central portion of the space which is surrounded by the coaxial arrays 51 and 52, i.e., that the longitudinal axis of the cigarette rod coincides with the common axis of the two arrays. If such guidance of the cigarette rod 51 is not possible, it is desirable or necessary to carry out several measurements in different angular positions of the radiation beams 56. At the very least, one should carry out two measurements in positions in which the beams 56 are disposed at an angle of 1800 relative to each other. Depending upon the number of measurements in which the beams 56 are in different angular positions relative to the cigarette rod 28 and which develop as a running or travelling light due to the orbiting activated group or segment 51b, the evaluating unit 54 calculates or ascertains a corresponding number of diameter values. In the next step of the method which is being practiced by resorting to the novel assembly 50, such diameter values are averaged in the control unit 54 which is thus is in a position to furnish information pertaining to an averaged diameter of the cigarette rod 28. The averaging unit (not shown) of the control unit 54 can be of any known design.

[49]

[0047] The control unit 54 can be arranged to evaluate several signals from the annular CCD array 52 in such a way that the thus processed signals denote the extent to which the actual cross-sectional outline departs from a desired outline (e.g., that the processed signals denote the exent to which the cross-sectional outline of the cigarette rod 28 is out of round).

[50]

[0048] Still further, the novel optical measuring assembly 50 can also serve to monitor the transverse dimensions of one of several discrete rods containing tobacco, other smokable material and/or filter material for tobacco smoke. If the machine of FIG. 1 is replaced with a machine which is set up to simultaneously turn out two cigarette rods, the apparatus comprises two optical measuring assemblies 50, one for each cigarette rod. Such plural assemblies are preferably installed close to or in immediate proximity of each other. Machines which can simultaneously turn out a plurality of cigarette rods are disclosed, for example, in commonly owned U.S. Pat. No. 4,893,640 (granted Jan. 16, 1990 to Heitmann et al. for “MULTIPLE-ROD CIGARETTE MAKING MACHINE”) and in commonly owned U.S. Pat. No. 4,924,885 (granted May 15, 1990 to Heitmann et al. for “METHOD OF AND APPARATUS FOR BUILDING, GUIDING AND TRIMMING STREAMS OF FIBROUS MATERIAL”).

[51]

[0049] U.S. Pat. No. 4,412,505 (granted Nov. 1, 1983 to Häusler et al. for “APPARATUS FOR APPLYING ATOMIZED LIQUID TO A RUNNING LAYER OF FILAMENTARY MATERIAL OR THE LIKE”) discloses a machine which can turn out a continuous rod wherein a rod-like filler of filter material for tobacco smoke is surrounded by a tubular wrapper of paper or the like. Such machine can also embody an apparatus which serves to ascertain and to initiate (when necessary) changes of transverse dimensions of the filter rod.

[52]

[0050] An important advantage of the improved apparatus and its optical measuring assembly 50 is that, due to the utilization of a plurality of serially arranged discrete light emitting elements 51a and a plurality of serially arranged sensor elements which constitute the array 52, the diameter (transverse dimension) of the at least one rod-shaped article 28 can be ascertained with a surprisingly high degree of accuracy, even if the article portion in the path of rays 56 issuing from the activated light emitting elements 51a is out of round. Thus, the improved apparatus can be utilized with advantage to ascertain the transverse dimensions of those rod-shaped articles which are produced or processed in an apparatus wherein a turning about their longitudinal axes is not required or desired, as well as of those articles which constitute finished or partly finished endless products. In other words, an article which is being tested can be monitored to ascertain its transverse dimension(s) while it is at a standstill. However, it is equally possible to utilize the improved apparatus for the measurement of transverse dimensions of rod-shaped articles while such articles are in motion, e.g. (and as shown in FIGS. 1, 2a and 3), while the articles advance lengthwise under the action of the driven garniture 24. This is of particular advantage if the determination of the diameter of a continuous article should take place during a stage of the process of making discrete rod-shaped articles which precedes the step or steps of subdividing the continuous article into sections or portions of unit length or multiple unit length. The measurement to ascertain the transverse dimensions of an originally endless article can take place while the article moves continuously or stepwise, and the same holds true if the measurement involves a monitoring of transverse dimensions of discrete articles which have already undergone at least one subdividing treatment or prior to the is last subdividing step. For example, the improved apparatus can be utilized to ascertain the diameters of plain cigarettes 32 of double unit length in a cigarette making machine of the type shown in FIG. 1, or to ascertain the diameters of plain cigarettes of unit length in a machine of the type disclosed in the aforementioned commonly owned US patent No. 5,135,008 to Oesterling et al.

[53]

[0051] In a modification of the apparatus which is shown in FIGS. 2a and 3, the array 51 and/or the array 52 can be arranged to surround only a portion of that part of an article which is being monitored to ascertain its transverse dimensions. Such array or arrays can have an arcuate shape and the article or the article portion to be measured can be located at or close to the center of the partial or complete circle of elements 51a and/or the CCD elements of the second array 52. The article is spaced apart from such elements, the same as in the apparatus 29 including the assembly 50 shown in FIGS. 1, 2a and 3. The arrays 51 and 52 which are shown in FIGS. 2a and 3 (i.e., the arrays which are complete circles) constitute a presently preferred embodiment of the invention. An advantage of such embodiment is that the distances between the elements 51a of the array 51, as well as the distances between the sensors of the array 52, are uniform which contributes to simplicity of the improved apparatus and to simplicity of evaluation of signals which are being transmitted to the control unit 54.

[54]

[0052] An advantage of an optical assembly wherein the number of radiation-sensitive elements in the array 52 is relatively high and the widths (and hence the pitch) of such elements are or is relatively small is that this even further ensures the making of highly accurate measurements of transverse dimensions of rod-shaped articles. It has been ascertained that the accuracy of measurements is enhanced if the effective widths of the elements 51a exceed the widths of the sensor elements forming part of the array 52.

[55]

[0053] An important advantage of the feature that the control unit 54 is arranged to activate sections or segments or groups 51b of coherent (neighboring) radiation emitting elements 51a, and that the control unit 54 receives signals from those sensor elements of the array 52 which are located in the shadow (at 61) of the article 28 (and generates signals denoting the diameters of articles 28 in the path of the rays 56 issuing from the group of coherent elements 51a) is that such arrangement also contributes to greater accuracy and simplicity of the measurements. Such accuracy is further is enhanced if the length of the segment 51b (as measured in the circumferential direction of the array 51) at least approximates the desired diameter Dist of the rod-shaped article 28 which is located in the path of rays 56 issuing from the group or section 51b of activated radiation emitting elements. This ensures that the control unit 54 can ascertain the transverse dimensions (such as diameters Dist) of the articles 28 being tested on the basis of signals from those elements of the array 52 which are disposed in the shadow of the article 2825 as well as on the basis of (i.e., by full consideration of) the desired or prescribed diameters of the rod-shaped articles.

[56]

[0054] The accuracy of determination of actual transverse dimensions Dist of tested articles 28 can be further enhanced if the control unit 54 of the optical measuring assembly 50 receives signals only from those sensor elements of the array 52 which are disposed in the full shadow or core shadow 61 being generated by the tested article. Moreover, this contributes to simplicity of the improved optical measuring assembly 50 because the geometrical evaluation of the full shadow or core shadow can be performed in a rather simple manner.

[57]

[0055] The aforementioned feature that the control unit 54 is arranged to activate a group 51b of coherent (neighboring) light emitting elements 51a brings about the additional advantage that the radiation issuing from such group of elements 51a can be caused to advance circumferentially of the article 28 which is being tested or monitored (i.e., that the control unit 54 can cause the groups or segments 51a to generate running radiation which travels circumferentially of the array 51) ; this is of particular advantage when the array 51 is stationary. This is the normal way of building up and operating the optical measuring assembly 50. A change in the angular position of the rays 56 issuing from the group or segment 51b of activated light-emitting elements 51a relative to the article 28 being tested can be effected or realized in that the control unit 54 activates, for short intervals of time, successive groups 51b of coherent elements 51a, e.g., by deactivating at least one element 51a at one side of an activated group 51b and simultaneously activating at least one previously idle element 51a at the other side of such group. This results in the generation of a running arrangement of rays 56 which change their positions relative to the article 28 whose longitudinal axis then preferably coincides with the common axis of the arrays 51 and 52. Such mode of operating the optical measuring assembly 50 is of particular advantage if the assembly is to ascertain the extent to which the cross-sectional outline of the tested article 28 departs from a desired (such as circular) outline.

[58]

[0056] The just described optical measuring assembly 50 renders it possible to carry out a practically infinite number of measurements in any desired cross-sectional plane of the rod-shaped article 28. This, in turn, enables the improved assembly to accurately ascertain the cross-sectional outline of the tested article and hence also the extent to which such outline departs from a desired or optimal (such as circular) outline. Still further, such assembly can be resorted to for the determination of maximal and minimal transverse dimensions of the tested articles which, in turn, renders it possible to determine the extent to which the cross-sectional outline departs from a range of acceptable outlines. In addition, the just discussed assembly renders it possible to test oval cigarettes and oval filter mouthpieces, e.g., in order to ascertain whether or not such rod-shaped articles are compatible (i.e., whether or not they can be assembled into acceptable oval filter cigarettes).

[59]

[0057] Alternatively, or in addition to the aforedescribed construction and mode of operation, the improved optical measuring assembly can employ an arrangement which averages the ascertained transverse dimensions to thus furnish an averaged transverse dimension which is or which can be indicative of the mean diameter of a substantially round rod-shaped article, namely of the average of those diameters which are ascertained in different angular positions of the rays 56 relative to the common axis of the arrays 51, 52 and the article which is located in the path of such rays. The accuracy of a determination of such mean or average diameter of a substantially round rod-shaped article can be increased practically at will, i.e., by the simple expedient of increasing the number of individual measurements in different angular positions of the rays 56.

[60]

[0058] If the improved optical assembly is to simultaneously ascertain the transverse dimensions of plural (e.g., two) rod-shaped articles, such articles are preferably located in close or immediate proximity to each other. The improved assembly then comprises one pair of arrays 51, 52 and one control unit 54 for each of the articles. As already mentioned hereinbefore, such composite optical assemblies can be utilized in or with machines of the type disclosed in the commonly owned U.S. Pat. Nos. 4,893,640 and 4,924,885 to Heitmann et al.

[61]

[0059] The purpose of the diaphragm 53 is to further enhance the reliability of the results which are furnished by the control unit 54 in that it reduces the ability of stray light or dispersed light (63) to adversely influence the elements of the array 52 by radiation issuing from the neighboring elements 51a of the array 51. As can be seen in FIG. 3, the diaphragm 53 is placed between and optically separates the arrays 51 and 52 from each other. The central opening of the diaphragm 53 is large enough to ensure unimpeded insertion and (if contemplated) axial advancement of a rod-shaped article 28 therethrough.

[62]

[0060] The rays 56 are preferably oriented in such a way that they are at least substantially normal to the longitudinal axis of the rod-shaped article 28.

[63]

[0061] Without further analysis, the foregoing will so fully reveal the gist of the present invention that others can, by applying current knowledge, readily adapt it for various applications without omitting features that, from the standpoint of prior art, fairly constitute essential characteristics of the generic and specific aspects of the above outlined contribution to the art of ascertaining the transverse dimensions of rod-shaped articles and, therefore, such adaptations should and are intended to be comprehended within the meaning and range of equivalence of the appended claims.

Как компенсировать расходы
на инновационную разработку
Похожие патенты