заявка
№ US 20040083243
МПК G06F15/16

Privacy preferences roaming and enforcement

Авторы:
An Feng
Номер заявки
10279263
Дата подачи заявки
23.10.2002
Опубликовано
29.04.2004
Страна
US
Как управлять
интеллектуальной собственностью
Чертежи 
4
Реферат

[84]

The invention comprises a system and method for management of Web users' privacy preferences. In the distributed system, a Web user has a single set of privacy preferences. The single set of privacy preferences and any of its modifications are propagated among Web browsers and Web services. The user's own privacy preferences are enforced at Web services based on the requester's privacy policies.

[85]

Формула изобретения

1. In a distributed network comprising a number of service providers and a number of clients communicatively coupled to each other via a network, wherein a number of users are registered with said service providers through said clients, each of the users having a single set of privacy preferences, a method for propagating a user's privacy preferences from a service to a browser comprising the steps of:

signing up, by a user, a service provider via a browser without privacy;

returning, by said service provider, a set of default privacy preferences to said browser;

accessing, by the user, a service consumer site;

sending the user a user prompt for response;

modifying, by the user, said privacy preferences; and

returning said modified privacy preferences to said browser as a response.

2. The method of claim 1, wherein said step of modification can be any of:

using a preference editor to edit his privacy preferences and importing the edited privacy preferences into his preferred browser; and

changing said privacy preferences through permission prompts created by any site visited.

3. The method of claim 1, further comprising the steps of:

checking, by said service provider, whether said browser needs to be updated for said modified privacy preferences;

if the check result in said checking step is yes, then sending back said modified privacy preferences to said browser via a response header for the user's response;

updating said browser with said modified privacy preferences;

if the check result in said checking step is no, then acknowledging, by said service provider, receipt of the user's permission; and

replying, by said service consumer site, the user's request.

4. The method of claim 1, further comprising the steps of:

checking, by said service provider, whether said browser needs to be updated for said modified privacy preferences;

if the check result in said checking step is yes, then sending a response header from said service provider to said service consumer site;

sending a response header from said service consumer site to said browser;

updating said browser with said modified privacy preferences;

if the check result in said check step is no, then acknowledging, by said service consumer site, receipt of the user's permission; and

replying, by said service consumer site, the user's request.

5. In a distributed network comprising a number of Web service providers and a number of clients communicatively coupled to each other via the Internet, wherein a number of users are registered with said Web service providers through said clients, each of the users having a single set of privacy preferences, a method for propagating a user's privacy preferences from a Web browser to Web services comprising the steps of:

signing up, by a user, a Web service provider (WSP) via a browser with P3P private preferences;

requesting, by said WSP, said privacy preferences from said browser;

sending, by said browser, said privacy preferences to said WSP;

recording, by said browser, said WSP's URL; and

acknowledging, by said WSP, receipt of said privacy preferences.

6. The method of claim 5, further comprising the steps of:

modifying, by the user, said privacy preferences on said browser;

updating said browser with said modified privacy preferences; and

sending, by said browser, copy of said privacy preferences to each Web site whose URL is recorded in said browser.

7. The method of claim 6, wherein the user can perform said step of modification by using a P3P preference editor to edit said user's privacy preferences and importing them into said browser.

8. In a distributed network comprising a number of Web service providers and a number of clients communicatively coupled to each other via the Internet, wherein a number of users are registered with said Web service providers through said clients, each of the users having a single set of privacy preferences, a method for enforcing a user's privacy preferences at Web services based on a service requester's P3P policies comprising the steps of:

(a) accessing, by the user, a Web service consumer site (WSC);

(b) sending, by said WSC, a service request to a Web service provider (WSP);

(c) classifying, by said WSP, the user's data in terms of P3P categories;

(d) checking whether said WSP needs to update its cache of said WSC's P3P policies;

(e) if the check result in step (d) is yes, then updating said WSC's P3P policies in said WSP's cache and continuing with step (f);

(f) if the check result in step (d) is no, then identifying said WSC's P3P policies based on the data included in the service request;

(g) evaluating the user's privacy preferences against said WSC's P3P policies;

(h) checking whether said WSC's P3P policies exclude the user's privacy preferences;

(i) if the check result of the step (h) is no, then replying, by said WSP, to said WSC;

(j) if the check result in the step (h) is yes, prompting the user via said WSC for permission; and

(k) sending the user's preference changes back from said WSP to said browser via HTTP response header for the user's response.

9. The method of claim 8, wherein the service request comprises:

the URL of said WSC's P3P policies and/or reference file;

a timestamp of said WSC's last modification on its P3P policies and/or reference file; and

the URL that the user used to access said WSC.

10. The method of claim 8, wherein the step (g) further comprises the steps of:

identifying the set of data fields that said WSC is trying to access;

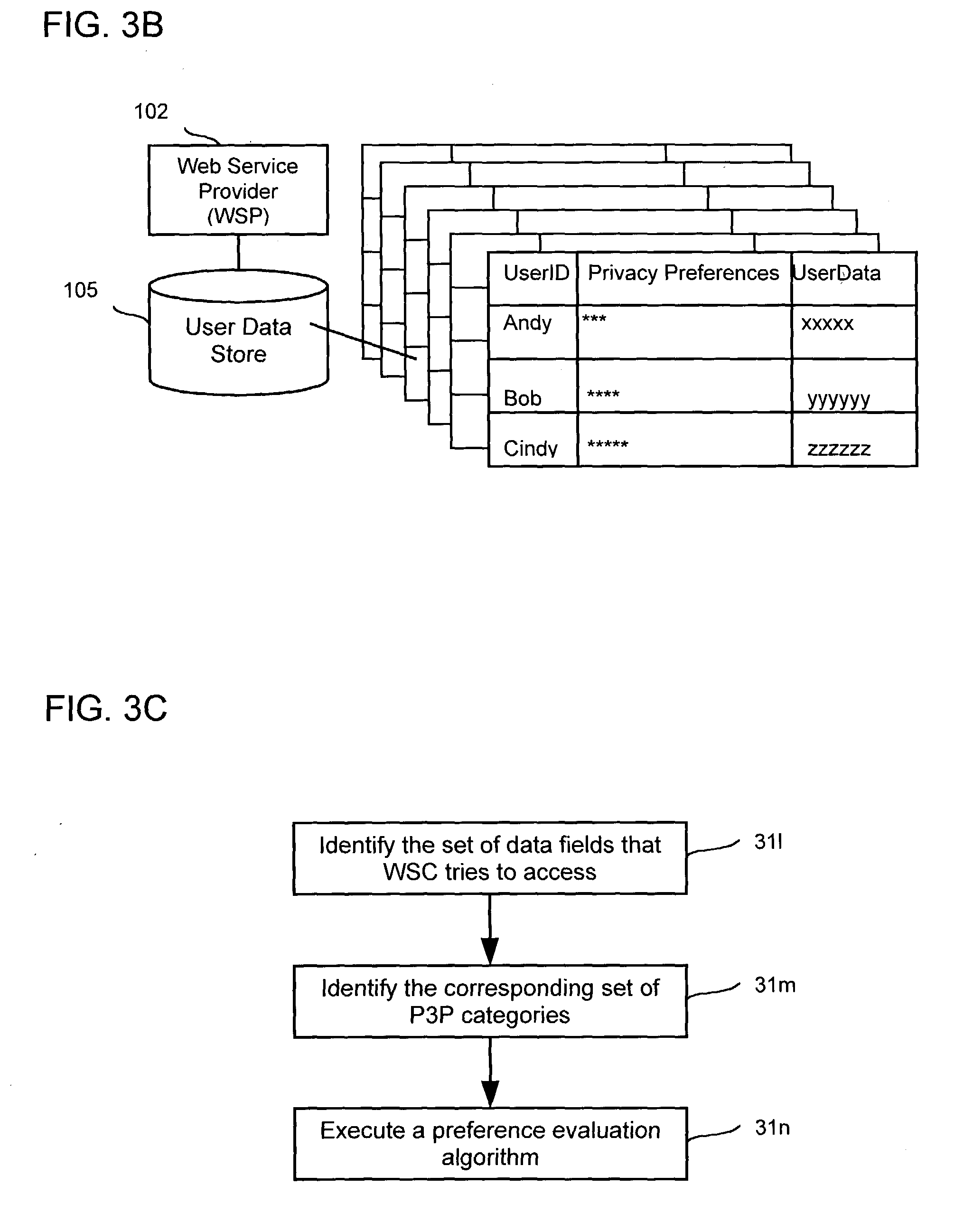
identifying the corresponding set of P3P categories by applying data-to-P3P category mapping; and

executing a preference evaluation algorithm by taking input parameters.

11. The method of claim 10, wherein said input parameters comprise:

said WSC's P3P policies used at the URL that the user used to access said WSC; and

the set of P3P categories that said WSC tries to access.

12. An apparatus for propagating a user's privacy preferences from Web service to Web browser, comprising:

at least one Web site;

at least one client, said at least one client and said at least one Web site being communicatively coupled to each other via the Internet;

wherein a number of users registered with said Web service providers through said at least one client, each of the users having a single set of privacy preferences;

wherein when a user signs up a Web service provider (WSP) via a browser without P3P private preferences, said WSP returns a set of default privacy preferences to said browser;

wherein the user modifies the default privacy preferences;

wherein said WSP returns the modified privacy preferences to said browser as HTTP response; and

wherein said browser updates with the modified privacy preferences.

13. The apparatus of claim 12, wherein the user modifies said default privacy preferences by any of:

using a P3P preference editor to edit his privacy preferences and importing the edited privacy preferences into his preferred browser; and

changing said privacy preferences through permission prompts created by any Web site he visited.

14. An apparatus for propagating a user's privacy preferences from a Web browser to Web services, comprising:

at least one Web site;

at least one client, said at least one client and said at least one Web site being communicatively coupled to each other via the Internet;

wherein a number of users registered with said Web service providers through said at least one client, each of the users having a single set of privacy preferences;

wherein when a user signs up a Web service provider (WSP) via a browser with P3P private preferences, said privacy preferences are copied to said WSP;

wherein said browser records the URL of each Web site which receives a copy of said privacy preferences;

wherein when said privacy preferences are modified in said browser, said browser propagates the modified privacy preferences to each Web site whose URL is recorded in said browser.

15. The apparatus of claim 14, wherein the user can modify his privacy preferences by using a P3P preference editor and import the modified privacy preferences into said browser.

16. An apparatus for enforcing a user's privacy preferences at Web services based on a service requester's P3P policies, comprising:

at least two Web sites;

at least one client, said at least one client and said at least two Web sites being communicatively coupled to each other via the Internet;

wherein a number of users registered with said Web service providers through said at least one client, each of the users having a single set of privacy preferences;

wherein when a user accesses a Web service consumer site (WSC) which in turn sends a service request to a Web service provider (WSP), said WSP classifies the user's data in terms of P3P categories;

wherein said WSP updates its cache of said WSC's P3P policies when necessary;

wherein said WSP identifies said WSC's P3P policies based on the data included in the service request and evaluates the user's preferences against said WSC's P3P policies;

wherein if said WSC's P3P policies exclude the user's privacy preferences, then said WSP prompts the user directly or indirectly via said WSC for permission and sends the user's preference changes back to said browser via HTTP response header for the user's response.

17. The apparatus of claim 16, wherein the service request comprises:

the URL of said WSC's P3P policies and/or reference file;

a timestamp of said WSC's last modification on its P3P policies and/or reference file; and

the URL that the user used to access said WSC.

18. The apparatus of claim 16, wherein WSP evaluates the user's preferences against said WSC's P3P policies by:

identifying the set of data fields that said WSC is trying to access;

identifying the corresponding set of P3P categories using data-to-P3P category mapping; and

executing a preference evaluation algorithm by taking input parameters.

19. The method of claim 18, wherein said input parameters comprise:

said WSC's P3P policies used at the URL that the user used to access said WSC; and

the set of P3P categories that said WSC tries to access.

Описание

BACKGROUND OF THE INVENTION

[1]

[0001] 1. Technical Field

[2]

[0002] The invention relates generally to Internet based centralized user privacy preferences management technology. More particularly, this invention relates to a system and method for user privacy preferences roaming among clients and Web services and privacy enforcement at Web services base on the requesters' privacy policies.

[3]

[0003] 2. Description of the Prior Art

[4]

[0004] The Platform for Privacy Preferences Project (P3P), developed by the World Wide Web Consortium, is emerging as an industry standard providing a simple, automated way for users to gain more control over the use of personal information on Web sites they visit. P3P has been designed to promote privacy and trust on the Web by enabling Web services to disclose their information practices, and enabling Web users to make informed decisions about the collection and use of their personal information.

[5]

[0005] P3P is an important building block of a new privacy protection concept that increasingly focuses on transparency and market-economy elements. At its most basic level, P3P is a standardized set of multiple-choice questions, covering all the major aspects of a Web site's privacy policies. Taken together, they present a clear snapshot of how a site handles personal information about its users. P3P-enabled Web sites make this information available in a standard, machine-readable format. P3P-enabled browsers can read this snapshot automatically and compare it to the consumer's own set of privacy preferences. P3P enhances user control by putting privacy policies where users can find them, in a form users can understand, and, most importantly, enables users to act on what they see.

[6]

[0006] P3P allows users' Web browsers to understand Web sites' privacy practices automatically. Privacy policies are embedded in the code of a Web site. Browsers read the policy, and then, automatically provide certain information to specific Web sites based on the preferences set by the users and stored as a User Preference file on the user's computer. The User Preference file specifies what kinds of practices the user will accept, what kinds should be rejected, and what kinds should cause the program to prompt the user to decide how to respond.

[7]

[0007] The P3P specification provides syntax for specifying privacy policies, privacy preferences (APPEL) and a protocol for exchanging information between the Web site and user agent. Sophisticated preferences may be difficult for end-users to specify, even through well-crafted user interfaces. An organization can create a set of recommended preferences for users. Users who trust that organization can install a pre-defined rule set rather than specifying a new set from scratch. It will be easy to change the active rule set on a single computer, or to carry a rule set to a new computer.

[8]

[0008] Categories are vital to making P3P user agents easier to implement and use; they allow users to express more generalized preferences and rules over the exchange of their data. Categories are often included when defining a new element or when referring to data that the user is prompted to type in, as opposed to data stored in the user data repository. Categories themselves are not data-elements, but are a more generalized description of a set of single data-elements, which belong to this category.

[9]

[0009] Using the policy-reference-file, by defining realms in the header of the answer, servers can not only define different policies on the same server, but also a same policy for different servers. To define different policies on the same server can be useful, when there are pages, that can be browsed and where the service does not collect any data and other pages for shopping or feedback, where data is collected and a certain purpose would be addressed.

[10]

[0010] The first major commercial user agent implementation of P3P is Microsoft's Internet Explorer 6 Web browser released in the summer of 2001, which is focused on cookie blocking. Other P3P software (for example, the AT&T Privacy Bird) uses the full P3P policy more extensively than it is used in IE6. IBM released a P3P policy editor tool that Web sites can use to create their P3P policies. This tool has been used by many of the Web sites that adopted P3P.

[11]

[0011] After all, only few user agents now support P3P privacy preferences. Even these user agents have implemented only partial solutions such as merely dealing with cookies. These browser based P3P privacy preferences are only applicable when the user is using that particular browser. In addition, because Web services design their access control languages, such as XACML (an XML specification for expressing policies for information access over the Internet) from OASIS and HSDL from Microsoft's .NET MyServices, Web users are required to manage multiple sets of privacy preferences, each specified in different languages or tools. Further, none of the Web services enforces user's privacy preferences according to requester's P3P policies.

[12]

[0012] Therefore, there is a need for a mechanism according to which a user has only a single set of privacy preferences and this single privacy preferences and any of its modifications are propagated among Web browsers and Web services. What is further needed is that the user's privacy preferences are enforced at Web services based on the requester's privacy policies.

SUMMARY OF THE INVENTION

[13]

[0013] The invention provides a system and method for management of Web users' privacy preferences. In the distributed system, a Web user has a single set of privacy preferences. The single set of privacy preferences and any of its modifications are propagated among Web browsers and Web services. The user's own privacy preferences are enforced at Web services based on the requester's privacy policies. The solution gives Web users integrated control over their online privacy relationships and enhances trust between Web service providers and Web users.

[14]

[0014] According to one aspect of the invention, each user has a single set of privacy preferences. A user can make changes of their privacy preferences at either his preferred browsers or services. For example, a user could apply P3P preference editor to create his privacy preferences and then import it into his preferred browser. Alternatively, a user can modify his privacy preferences through permission prompts created by Web services.

[15]

[0015] According to another aspect of the invention, a user's privacy preferences and their changes are propagated among web browsers and web services.

[16]

[0016] 1. Propagation from Web Services to Web Browser:

[17]

[0017] When a user signs up a Web service provider (WSP) via a browser without P3P privacy preferences, the WSP offers default privacy preferences to the user, and the user can then make necessary modification on the preferences. The result privacy preferences is sent back to user's browser as HTTP response.

[18]

[0018] In another situation, after a user replied to a permission prompt whether a Web service consumer site (WSC) could access user data on a WSP, the Web service examines whether the user's privacy preferences should be changed. If so, the delta of privacy preference changes is propagated from Web services to the Web browser. If the permission message is hosted by the WSP, then the preference changes are sent back from the WSP to the browser via HTTP response header for user's response. Otherwise, if the permission message is hosted by the WSC, then the preference changes are sent back from the WSP to the browser in two steps: first, SOAP response header is sent from the WSP to the WSC; and second, HTTP response header is sent from the WSC to the browser.

[19]

[0019] 2. Propagation from Web Browser to Web Services:

[20]

[0020] When a user signs up a Web service via a browser with P3P preferences, the user's privacy preferences is copied from the browser into the new Web service, and the browser records the URL of this new Web service in its ServicePrivacyURLs file, which consists of the URLs of all Web services which contain a copy of user's privacy preferences.

[21]

[0021] After a user modified his privacy preferences in a browser, for each URL within the ServicePrivacyURLs file, the user's modified privacy preferences is propagated from the browser to the corresponding Web services.

[22]

[0022] According to another aspect of the invention, users' privacy preferences are enforced at Web services based on the requester's P3P policies. Consider a case that a user accesses the Web site WSC, which in turn accesses a Web service WSP. Web service WSP classifies its user data in terms of P3P categories. This can be done via a list of P3P<DATA-STRUCT> elements. The service request from the WSC to the WSP includes p3pReferenceURL, p3 pModificationTime, and userAccessURL.

[23]

[0023] Web service WSP then decides whether it needs to update its local cache of WSC's P3P policies/references info based on the incoming parameters p3pReferenceURL+p3 pModificationTime. If so, pull WSC's P3P policies/references information and update local cache appropriately.

[24]

[0024] The WSP then identifies the WSC's P3P policy used at userAccessURL and evaluate user's privacy preferences against WSC's P3P policies to determine whether the service request is allowed or not.

[25]

[0025] If user prompt is needed, the WSP prompts users directly or indirectly via the WSC for permission. Response to this permission prompt can result in the changes of the user's privacy preferences.

BRIEF DESCRIPTION OF THE DRAWINGS

[26]

[0026]FIG. 1 is a schematic flow diagram illustrating a method 100 of propagating a user's privacy preferences from Web services to Web browser;

[27]

[0027]FIG. 2 is a schematic flow diagram illustrating a method 200 of propagating a user's privacy preferences from a Web browser to Web services; and

[28]

[0028] FIGS. 3A-3C are schematic diagrams collectively illustrating a method 300 of enforcing a user's privacy preferences at Web services based on the requester's P3P policies.

DETAILED DESCRIPTION OF THE INVENTION

[29]

[0029] Terminology

[30]

[0030] The following terms shall have the meaning associated therewith for purposes of the discussion herein;

[31]

[0031] Data Element—An individual data entity, such as last name or telephone number.

[32]

[0032] Data Category—A significant attribute of a data element or data set that may be used by a trust engine to determine what type of element is under discussion, such as physical contact information. Categories provide hints to users and user agents as to the intended uses of the data.

[33]

[0033] Data Set—A known grouping of data elements, such as user.home-info.postal.

[34]

[0034] Policy—A collection of one or more privacy statements together with information asserting the identity, URI, assurances, and dispute resolution procedures of the service covered by the policy.

[35]

[0035] Practice—The set of disclosures regarding data usage, including purpose, recipients, and other disclosures.

[36]

[0036] Preference—A rule, or set of rules, that determines what action(s) a user agent will take. A preference might be expressed as a formally defined computable statement such as the APPEL preference exchange language.

[37]

[0037] Service—A program that issues policies and (possibly) data requests. By this definition, a service may be a server (site), a local application, a piece of locally active code, such as an ActiveX control or Java applet, or even another user agent. Typically, however, a service is usually a Web site. In this specification the terms “service” and “Web site” are often used interchangeably.

[38]

[0038] Service Provider (Data Controller, Legal Entity)—The person or legal entity which offers information, products or services from a Web site, collects information, and is responsible for the representations made in a practice statement.

[39]

[0039] SOAP—Simple Object Access Protocol, which provides a way for applications to communicate with each other over the Internet, independent of Platform. SOAP relies on XML to define the format of the information and then adds the necessary HTTP headers to send it.

[40]

[0040] Statement—A P3P statement is a set of privacy practice disclosures relevant to a collection of data elements.

[41]

[0041] URL—Abbreviation of Uniform Resource Locator, the global address of documents and other resources on the World Wide Web. The first part of the address indicates what protocol to use, and the second part specifies the IP address or the domain name where the resource is located.

[42]

[0042] User—An individual (or group of individuals acting as a single entity) on whose behalf a service is accessed and for which personal data exists. P3P policies describe the collection and use of personal data about this individual or group.

[43]

[0043] User Agent—A program whose purpose is to mediate interactions with services on behalf of the user under the user's preferences. A user may have more than one user agent, and agents need not reside on the user's desktop, but any agent must be controlled by and act on behalf of only the user. The trust relationship between a user and his agent may be governed by constraints outside of P3P. For instance, an agent may be trusted as a part of the user's operating system or Web client, or as a part of the terms and conditions of an ISP or privacy proxy.

[44]

[0044] The invention provides a system and method for P3P privacy preferences roaming and enforcement. In this system, each user has a single set of privacy preferences. The user can make changes of his preferences at his preferred browsers or services. For example, a user can apply P3P preference editor to create his privacy preferences and then import it into his preferred browser. Alternatively, the user can modify his privacy preferences through permission prompts created by Web services.

[45]

[0045]FIG. 1 is a schematic flow diagram illustrating a method 100 of propagating a user's privacy preferences from Web service to Web browser. The method comprises the following steps:

[46]

[0046] Step 11a: The user signs up a WSP 102 via browser 101 without P3P preferences;

[47]

[0047] Step 11b: WSP 102 returns “default privacy preferences” to the browser 101, which then records WSP 102's URL in its ServicePrivacyURLs file;

[48]

[0048] Step 11c: The user visits a Web Service Consumer (hereinafter as WSC) 103;

[49]

[0049] Step 11d: If a user prompt is returned from the WSP 102 via WSC 103, then WSC 103 sends the user's “permission” to WSP 102;

[50]

[0050] Step 11e: WSP 102 checks whether the browser 101 needs to be updated;

[51]

[0051] Step 11f: It the check result in step 11e is yes, then WSP 102 informs WSC 103 to update browser 101 with the “privacy preferences” (SOAP response header from WSP to WSC);

[52]

[0052] Step 11g: WSC 103 sends the privacy preference update to the browser 101 (HTTP response header from WSC to the browser);

[53]

[0053] Step 11h: If the check result in step 11e is no, then WSP 102 acknowledges receiving of the user's “permission” forwarded by WSC 103; and

[54]

[0054] Step 11i: WSC 103 replies the user's HTTP request.

[55]

[0055]FIG. 2 is a schematic flow diagram illustrating a method 200 of propagating a user's privacy preferences from Web browser to Web services. The method comprises the following steps:

[56]

[0056] Step 21a: The user signs up a Web service provider (WSP) 102 via browser 101 with P3P privacy preferences 104a;

[57]

[0057] Step 21b: WSP 102 requests the “privacy preferences” from the browser 101;

[58]

[0058] Step 21c: The browser 101 sends a copy of the user's privacy preferences 104b to WSP 102 and records the WSP 102's URL in the browser's ServicePrivacyURLs file which comprises a list of the URLs of these WSPs containing a copy of the “privacy preferences”;

[59]

[0059] Step 21d: WSP 102 acknowledges the receiving of the user's “privacy preferences”;

[60]

[0060] Step 21e: The user modifies the “privacy preferences” on the browser 101;

[61]

[0061] Step 21f: The browser 101 updates all registered WSPs about the updated “privacy preferences”.

[62]

[0062] FIGS. 3A-3C are schematic diagrams collectively illustrating a method 300 of enforcing a user's privacy preferences at Web services based on a service requester's P3P policies. The method comprises the following steps:

[63]

[0063] Step 31a: A user accesses a Web site (WSC) 103;

[64]

[0064] Step 31b: WSC 103 sends a service request to WSP 102, the service request including the following data:

[65]

[0065] p3pReferenceURL, which is the URL of WSC's P3P policy reference file;

[66]

[0066] p3 pModificationTime, which is the latest date/time when WSC modified its P3P policies and/or reference file;

[67]

[0067] userAccessURL, which is the URL that the user tries to access at WSC.

[68]

[0068] Step 31c: WSP 102 classifies the user data in terms of P3P categories. This could be done via a list of P3P<DATA-STRUCT> elements. For example:

[69]

[0069] <p3p: DATA-STRUC Tname=“myProfile.contact.name” structref=“#personname”><p3p:CATEGORIES><p3p:physical/><p3p:demographic/></p3p:CATEGORIES></p3p:DATA-STRUCT>

[70]

[0070] Step 31d: WSP 102 decides whether it needs to update its local cache of WSC's P3P policies/references information based on the incoming parameters p3pReferenceURL and p3 pModificationTime;

[71]

[0071] Step 31e: If the check result in step 31d is yes, then WSP 102 pulls WSC's P3P policies/references information and updates the local cache appropriately, and continues with step 31f;

[72]

[0072] Step 31f: If the check result in step 31d is no, then WSP 102 identifies the WSC's P3P policies used at the userAccessURL;

[73]

[0073] Step 31g: WSP 102 evaluates the user's privacy preferences against WSC's P3P policies;

[74]

[0074] Step 31h: Checks whether the WSC's P3P policies exclude the user's privacy policies;

[75]

[0075] Step 31i: If the check result in step 31h is no, then the service request is allowed and WSP 102 gets data from the database 105 as shown in FIG. 3B and replies to WSC 103;

[76]

[0076] Step 31j: If the check result in step 31h is yes, then WSP 102 prompts the user directly or indirectly via WSC 103 for permission;

[77]

[0077] Step 31k: Send the user's preference changes back to the browser via HTTP response header for the user's response.

[78]

[0078]FIG. 3C is a flow diagram illustrating the sub-steps of step 31g in FIG. 3A:

[79]

[0079] Step 31l: Identify the set of data fields that WSC is trying to access (for example, by executing XPath parsing);

[80]

[0080] Step 31m: Identify the corresponding set of P3P categories by applying the data-to-P3P-category mapping mentioned above; and

[81]

[0081] Step 31n: Execute a preference evaluation algorithm by taking input parameters such as (1) WSC P3P policy used at userAccessURL and (2) the set of P3P categories that WSC is trying to access.

[82]

[0082] Although the invention is described herein with reference to the preferred embodiment, one skilled in the art will readily appreciate that other applications may be substituted for those set forth herein without departing from the spirit and scope of the invention.

[83]

[0083] Accordingly, the invention should only be limited by the claims included below.

Как компенсировать расходы
на инновационную разработку
Похожие патенты