An air flow mixing system for a vehicle air conditioning system having a distribution door to force air from a first air flow to mix with a second air flow of different temperature proximate a merging region in the air conditioning system. In one embodiment, the distribution door has an arcuate passageway or scoop to forcibly route air from the first airflow to the second airflow. In a second embodiment, the distribution door has at least one projecting channel to divide each of the first and second air flows into a plurality of alternating flow paths to promote heat transfer and mixing of the two airflows. In each embodiment, the pivoting distribution door facilitates heat transfer between the airflows resulting in a more even temperate airflow emerging from the merging region.
1. An air conditioning system for a vehicle having a first airflow conditioned to a first temperature and a second airflow conditioned to a second temperature, said system comprising:
a distribution door pivotably mounted proximate a merging junction between said first and second air flows adapted to selectively control a flow of both said first and second airflows to a merging area downstream said merging junction, said distribution door having at least one distribution member forcibly diverting at least a portion of said first airflow through said distribution door to mix with said second airflow. 2. The air conditioning system according to 3. The air conditioning system according to at least one opening formed in said distribution door facing said first air flow to divide said first airflow into at least one first air flow; and at least one projection extending from said distribution door into said second air flow, said at least one projection formed to divide said second air flow into a plurality of spaced apart second airflows; wherein said distribution door and said distribution member are arranged to route said at least one first air flow and said second airflows in an alternating fashion thereby enhancing heat transfer and mixing of said first and second airflows to form a uniform airflow of substantially uniform temperature. 4. The air conditioning system according to a blend door located downstream of said evaporator and pivotably mounted to selectively divert said second airflow through a heat exchanger. 5. The air conditioning system according to 6. An air flow system for a vehicle air conditioning system, comprising:
a first conduit for a first airflow; a second conduit for a second airflow; a merging region downstream of said first and second conduits for merging said first and second air flows; and a mixing structure comprising a first side upstream of said merging region, a second side upstream of said merging region, and a substantially curved passageway leading from said first side to said second side for mixing said first and second air flows at the merging region, wherein said mixing structure defines a distribution door pivotally mounted within said system. 7. The airflow system of 8. The air flow system of 9. The air flow system of 10. The air flow system of 11. The airflow system of 12. The air flow system of 13. The airflow system of 14. An air flow system for a vehicle air conditioning system, comprising
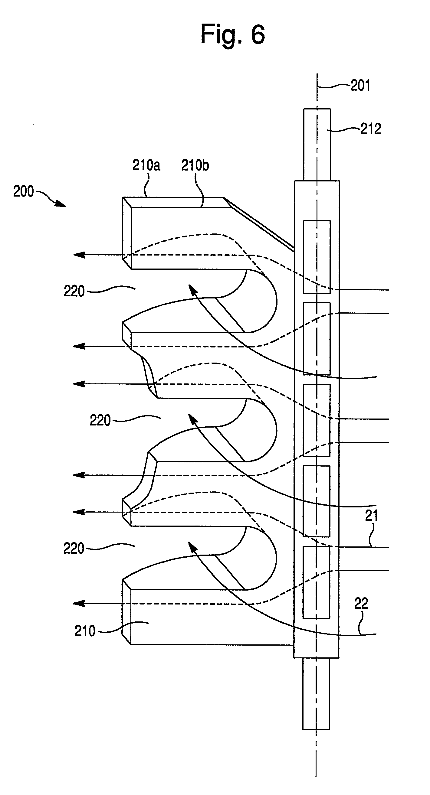
a heat exchanger disposed in a first conduit for providing a first heated air flow, a second conduit for a second airflow, a merging region downstream of said first and second conduits for merging said first and second air flows; and a mixing structure comprising a first side upstream of said merging region, a second side upstream of said merging region and opposite said first side, at least one projection extending from said first side, and at least one channel respectively passing through said at least one projection and leading from the first side to the second side, wherein said mixing structure defines a distribution door pivotally mounted within said system. 15. The airflow system according to 16. The airflow system according to 17. The airflow system according to 18. The airflow system according to 19. The airflow system according to
[0001] The present invention relates to the field of air conditioning systems, and more specifically to air mixing systems within air conditioning systems. [0002] Vehicle air conditioning systems are well known in the art. Such systems conventionally include an air duct, which is selectively connected to the external air or to the interior of the vehicle cabin, a fan for causing the air to flow, and an evaporator unit within the duct for cooling the air. The cold air output from the evaporator unit may be supplied directly to various outlets within the vehicle cabin or some of the cold air may be passed through a heating heat exchanger whose heated air output is mixed with the cold air to provide temperature control of the air output to the cabin. Diversion of the cold air through the heat exchanger is controlled by a so-called “blend door”, which in one extreme position causes all of the cold air to flow through the heat exchanger and in the opposite extreme position causes none of the air to flow through the heat exchanger. In intermediate positions different proportions of cold air and heated air can be provided. [0003] As will be seen in [0004] In modern vehicles, there are a number of air outlets into the vehicle cabin and these outlets are connected to the air duct by a corresponding number of output ducts. Two such ducts are shown in [0005] It is desirable to be able to provide air outlets which are all at substantially similar temperatures. This may not be possible in the prior art arrangements due to the above-mentioned spatial distribution of air temperature within the air conditioning system. [0006] Attempts have been made to provide improved mixing of hot and cold air at the output of an air conditioning system; however, these attempts have caused unacceptable temperature stratification and pressure drops, as well as substantial increases in manufacturing costs due to complex parts and assemblies. [0007] It is an object of the present invention to provide improved mixing of air within an air conditioning system. [0008] In accordance with this invention, the present invention provides a mixing structure that mixes different airflows more efficiently within a limited space. The present invention may be structured to guide more cold air to the floor registers and more hot air to the panel registers as compared to the conventional designs with the goal of reducing bi-level stratification. [0009] Moreover, the invention may increase the hot air flow velocity to penetrate the cold airflow to thereby reduce bi-level stratification. [0010] The present invention may also be structured to avoid a permanently installed cross flow baffle that generates pressure drop in the cold air path, whereby in all blend positions including a full-cold position. In such case, the stratification control door is rotated aside in the full-cold position. [0011] According to a first aspect of the invention there is provided an air flow mixing system for a vehicle air conditioning system having a first conduit for a first air flow, a second conduit for a second air flow, an opening between said first and second conduits for merging said first and second air flows in a merging region and a common air channel for said merged air flows. The mixing structure comprising a first side upstream of said merging region, a second side upstream of said merging region, and a substantially arcuate or curved passageway leading from said first side to said second side for mixing said first and second air flows at the merging region. [0012] In the preferred embodiment, the mixing structure comprises a distribution door having a cold air side and a hot air side upstream of said merging region, whereby the distribution door includes a substantially arcuate or curved passageway disposed between the hot air side and the cold air side for mixing these first and second air flows at the merging region. [0013] According to a second aspect of the invention, there is provided a vehicle air conditioning system having a heat exchanger disposed in a first conduit for providing a first heated air flow, a second conduit for a second air flow, an opening between said first and second conduits for merging said first and second air flows in a merging region, and a mixing structure. The mixing structure comprising a first side upstream of the merging region, a second side upstream of the merging region that is opposite the first side, at least one projection projecting from the first side, and at least one channel respectively passing through the at least one projection and leading from the first side to the second side. The second aspect of the invention includes at least one air passage opening at openings into said merging region for dividing said first heated air flow at an inlet region into plural air flows leading to the merging region and at least one u-shaped opening facing the second airflow, whereby the first heated air flow and second air flow mix in said merging region. [0014] Preferably, the mixing structure is formed as part of the mixing and/or distribution doors. [0015] [0016] [0017] [0018] [0019] [0020] [0021] [0022] [0023] In the Figures like reference numerals refer to like parts. [0024] Referring first to [0025] It would be understood by one skilled in the art that although some mixing of the hot and cold air flows will take place in the mixing region 24, nonetheless the flow resistance caused by the heat exchanger core 20 will substantially reduce the velocity of the hot air and, as a result, on the extreme left of the duct 3, as seen in the direction of flow, the cold air will predominate and, on the extreme right of the duct 3 as seen in the direction of flow, hot air will dominate. Thus distribution duct 41 is more likely to contain cool air and distribution duct 42 is more likely to carry warm air. Additionally, the specific arrangement of the system downstream of the mixing region 24 may vary considerably depending on the environment and application for the air conditioning system. [0026] Referring now to [0027] With reference to [0028] When distribution door 100 is disposed in the hot air position shown in [0029] As will be understood by those of skill in the art, the distribution door 100 may be located at any intermediate position between the extreme positions shown in [0030] With reference to [0031] In the preferred embodiment only one u-shaped channel 220 and deflector 230 is provided; however, [0032] When distribution door 200 is disposed in the hot air position shown in [0033] When the distribution door 200 is disposed in the cold air position shown in [0034] From the foregoing description, it will be understood by those of skill in the art that the distribution door 200 may be located at any intermediate position between the extreme positions shown in [0035] As described above, the present invention provides various mixing structures that commingle and interpose different airflows more efficiently within a limited space. For example, the present invention may be structured to guide more cold air to the floor registers and more hot air to the panel registers. Moreover, the invention may increase the hot air flow velocity to penetrate the cold airflow to thereby reduce bi-level stratification. [0036] The present invention may also be structured to avoid a permanently installed cross flow baffle that generates pressure drop in the cold air path, whereby in all blend positions including a full-cold position. In such case, the stratification control door is rotated aside in the full-cold position. [0037] While the foregoing invention has been shown and described with reference to several embodiments, it will be understood by those of skill in the art that various changes in form and detail may be made therein without departing from the spirit and scope of this invention. For example, although it is envisaged that the structures for mixing airflow will normally be made from plastics material, nevertheless it will also be possible to use metal if this should prove desirable. FIELD OF THE INVENTION
BACKGROUND TO THE INVENTION
SUMMARY OF THE INVENTION
BRIEF DESCRIPTION OF THE DRAWINGS
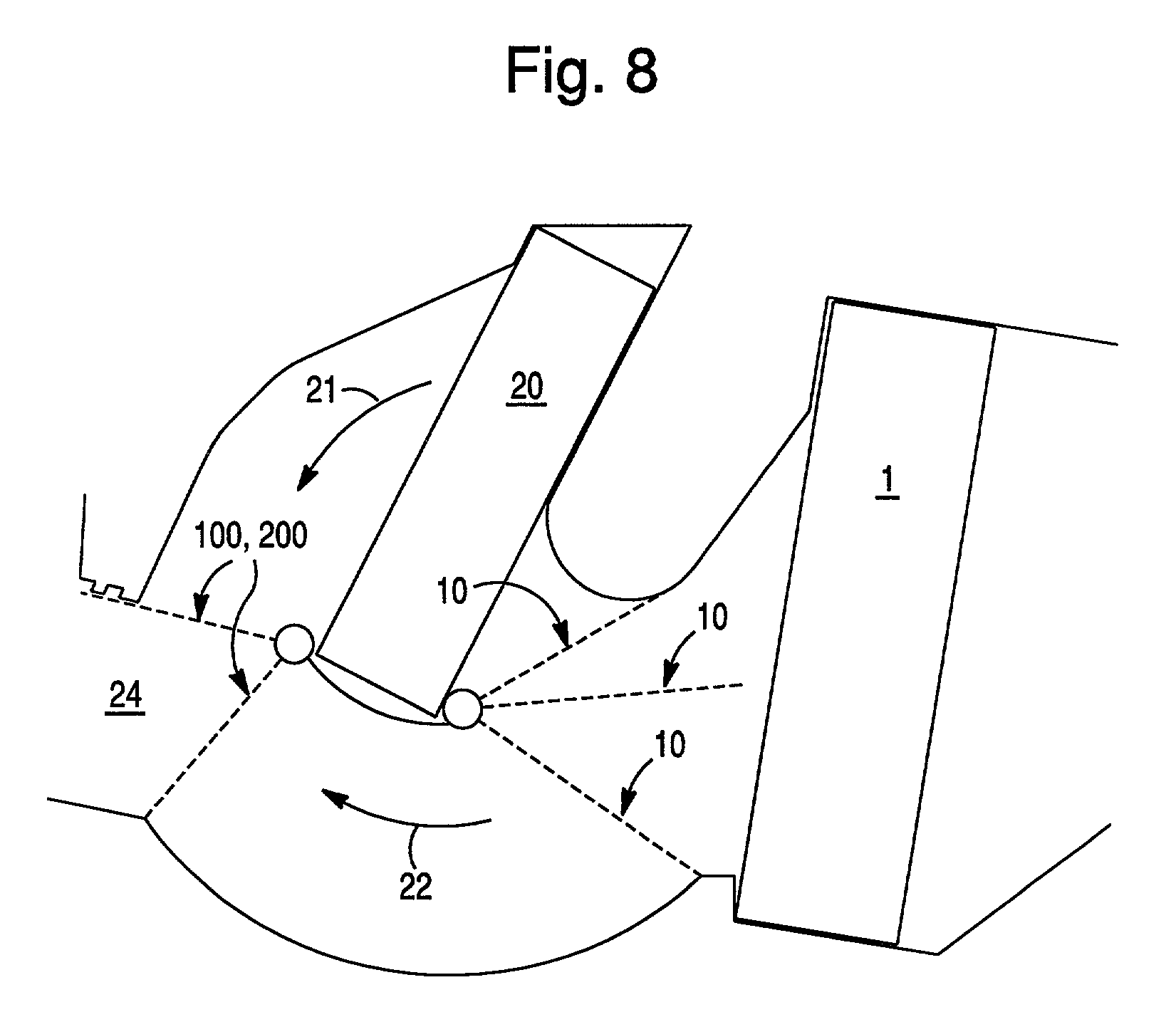
DESCRIPTION OF THE PREFERRED EMBODIMENTS