A method and apparatus for dynamically controlling a programmable gain amplifier (PGA) to provide a plurality of gain steps thereby providing automatic gain control (AGC) in a receiver intermediate frequency (IF) stage comprising a succession of operational amplifiers wherein at least one is for providing fine gain control and wherein the gain of each fine gain amplifier is controlled by the resistance ratios of a plurality of selectively biased MOSFETs coupled at an input stage and in a feedback loop between the inputs and outputs of each amplifier. The gain is selected by comparing the peak amplitude of a signal to a pair of high and low thresholds. In one embodiment of the invention, three coarse amplifiers are provided, each having a gain of either 0 dB or 12 dB based on the value of a two-state signal provided to each amplifier gain control input. A single fine gain amplifier has a gain of 0 dB, 3 dB, 6 dB or 9 dB based on the binary value of the two-bit signal provided to the amplifier. The combination of three coarse gain amplifiers and one fine gain amplifier provides for a total gain of 45 dB in 3 dB steps in the described embodiment of the invention. The output of the gain control circuitry also is fed into an inverter. The inverter output may be used as a received signal strength indicator for a desired signal.
1. A radio receiver formed in an integrated circuit, comprising:
a receiver and low noise amplifier circuit (Rx/LNA) coupled to receive an RF signal; a mixer coupled to receive an amplified RF signal of the Rx/LNA, the mixer for down converting the received amplified RF signal; at least one programmable gain amplifier (PGA) for providing a coarse incremental gain step; and at least one PGA for providing a fine incremental gain step, comprising:
an operational amplifier (Op Amp); a first group of MOSFETs coupled in parallel in a feedback loop of the Op Amp between the Op Amp's output and negative input; and a second group of MOSFETs coupled to the negative input of the Op Amp wherein the MOSFETs of the first and second groups are matched and further wherein the number of selectable transistors in the second group of MOSFETs is chosen so that increments of gain in terms of dB may be achieved from zero dB to a dB value that is equal to or less than a gain step size produced by the at least one PGA for providing a coarse incremental step. 2. The radio receiver of 3. The radio receiver of 4. The radio receiver of 5. The radio receiver of 6. The radio receiver of 7. The radio receiver of 8. The radio receiver of 9. The radio receiver of 10. A radio receiver formed within an integrated circuit, comprising:
a low noise amplifier coupled to receive a wireless communication signal; a mixer for tuning and down converting the received wireless communication signal; a low pass filter coupled to receive a down converted signal from the mixer; a programmable gain amplifier further comprising:
a plurality of selectable coarse gain amplifiers coupled in series for providing gain in coarse increments; and at least one programmable fine gain amplifier coupled in series with the selectable coarse gain amplifiers; an amplitude level detector for detecting the amplitude of an amplified signal produced by the plurality of selectable coarse gain amplifiers and the at least one programmable fine gain amplifier; logic circuitry coupled to receive a detected amplitude from the amplitude level detector, the logic circuitry for providing control signals for incrementing or decrementing the amplitude of the amplified signal; and a counter coupled to receive the control signals and to the programmable gain amplifier to produce gain increase and decrease signals thereto. 11. The radio receiver of 12. The radio receiver of 13. The radio receiver of 14. The radio receiver of 15. A method for producing an indication of a received signal strength, comprising:
receiving, at a peak amplitude detector, a signal having an amplitude; producing an indication of a peak amplitude of the signal; determining whether the amplitude is too high; determining whether the amplitude is too low; incrementing and decrementing a counter according to whether the amplitude is too high or too low; and receiving and inverting a counter output received from the counter to produce a received signal strength indication. 16. The method of 17. The method of 18. The method of 19. The method of 20. The method of
[0001] This application claims priority to and incorporates by reference U.S. Provisional Application entitled, “Method and Apparatus for a Radio Transceiver” (Attorney Docket No. BP 2121P), having a serial No. 60/367,904 and a filing date of Mar. 25, 2002. [0002] 1. Field of the Invention [0003] This invention relates generally to wireless communications and, more particularly, to the operation of a Radio Frequency (RF) transceiver within a component of a wireless communication system. [0004] 2. Description of the Related Art [0005] The structure and operation of wireless communication systems are generally known. Examples of such wireless communication systems include cellular systems and wireless local area networks, among others. Equipment that is deployed in these communication systems is typically built to support standardized operations, i.e., operating standards. These operating standards prescribe particular carrier frequencies, modulation types, baud rates, physical layer frame structures, MAC layer operations, link layer operations, etc. By complying with these operating standards, equipment interoperability is achieved. [0006] In a cellular system, a regulatory body typically licenses a frequency spectrum for a corresponding geographic area (service area) that is used by a licensed system operator to provide wireless service within the service area. Based upon the licensed spectrum and the operating standards employed for the service area, the system operator deploys a plurality of carrier frequencies (channels) within the frequency spectrum that support the subscriber units within the service area. Typically, these channels are equally spaced across the licensed spectrum. The separation between adjacent carriers is defined by the operating standards and is selected to maximize the capacity supported within the licensed spectrum without excessive interference. In most cases, severe limitations are placed upon the amount of adjacent channel interference that maybe caused by transmissions on a particular channel. [0007] In cellular systems, a plurality of base stations is distributed across the service area. Each base station services wireless communications within a respective cell. Each cell may be further subdivided into a plurality of sectors. In many cellular systems, e.g., Global System for Mobile Communications (GSM) cellular systems, each base station supports forward link communications (from the base station to subscriber units) on a first set of carrier frequencies, and reverse link communications (from subscriber units to the base station) on a second set of carrier frequencies. The first set and second set of carrier frequencies supported by the base station are a subset of all of the carriers within the licensed frequency spectrum. In most, if not all, cellular systems, carrier frequencies are reused so that interference between base stations using the same carrier frequencies is minimized and system capacity is increased. Typically, base stations using the same carrier frequencies are geographically separated so that minimal interference results. [0008] Both base stations and subscriber units include RF transceivers. Radio frequency transceivers service the wireless links between the base stations and subscriber units. The RF transmitter receives a baseband signal from a baseband processor, converts the baseband signal to an RF signal, and couples the RF signal to an antenna for transmission. In most RF transmitters, because of well-known limitations, the baseband signal is first converted to an Intermediate Frequency (IF) signal and then the IF signal is converted to the RF signal. Similarly, the RF receiver receives an RF signal, down converts the RF signal to an IF signal and then converts the IF signal to a baseband signal. In other systems, the received RF signal is converted directly to a baseband signal. [0009] In the initial signal processing stages of an RF receiver, the received RF signal is converted to baseband through one or more steps. Initially, the received RF is mixed with a local oscillator (LO) to down convert the carrier frequency of the RF. It is also common to utilize a low pass filter coupled to the output of the mixer to remove introduced interferences. One problem with using a mixer and low pass filter, however, is that both add a fixed amount of gain to the received signal, irrespective of the received signal strength. [0010] This amplified signal is passed to the baseband processor, which is sensitive to excessive signal strength which can cause quantification errors in downstream analog-to-digital converters (ADCs) and saturation in the output devices. Previous designs have included a programmable gain amplifier (PGA) between the low pass filter output and the baseband processor input to limit the gain when the received signal strength is excessive. This approach, however, requires a method to detect the peak amplitude of the received signal then provide a control signal to the PGA that is proportional to the received signal amplitude. [0011] Since a received signal is comprised of a differential I and Q signal, the traditional method of detecting the peak amplitude is to take the square root of the sum of I squared and Q squared [(I2+Q2)1/2]. The square root function is traditionally performed using a digital signal processor (DSP) in the digital domain. Generally, though, it is advantageous to perform such peak amplitude detection in the analog domain and to perform gain control based upon the detected peak values. There is a need in the art, therefore, for an analog circuit and a method to adjust the gain level of the PGA according to the determined peak amplitude of the amplified signal. [0012] The present invention provides a method and apparatus for dynamically controlling a programmable gain amplifier (PGA) to provide a plurality of gain steps thereby providing automatic gain control (AGC) in a receiver intermediate frequency (IF) stage. A plurality of matched and scaled MOSFETs are biased in their linear regions to operate as resistors on an input side of an amplifier. The use of MOSFETs in this configuration is more efficient in terms of IC real estate. Moreover, using matched and scaled MOSFETs (in one embodiment) leads to an amplifier having accurate gain steps defined by the ratios of the MOSFETs. The signal output of the PGA can, therefore, be automatically controlled at a predefined amplitude level for input into a baseband processor without danger of either saturating the output stages of the baseband processor or compromising dynamic range. [0013] Generally, the output signal level of the PGA is provided to the input of a peak amplitude detector that outputs a signal level proportional to the peak amplitude of the received signal. The detected peak signal level is coupled to the first input of a pair of comparators each of which have a precise reference level provided to the second input. The output of the first comparator is provided to the UP input terminal of a 4-bit counter whereas the output of the second comparator is provided to the DOWN input terminal. In conjunction with an external clock signal, the 4-bit counter either increments or decrements the 4-bit binary output value based on the levels at the UP and DOWN inputs. The 4-bit binary value is coupled to the gain control inputs of PGAs thereby increasing or decreasing the PGA gain as necessary to maintain the required output level. [0014] The gain control inputs of the PGAs are used as control lines for setting the gain in a plurality of coarse gain amplifiers and fine gain amplifiers. In one embodiment of the invention, three coarse amplifiers are provided, each having a gain of either 0 dB or 12 dB based on the value of a two-state signal provided to each amplifier gain control input. A single fine gain amplifier has a gain of 0 dB, 3 dB, 6 dB or 9 dB based on the binary value of the four-state signal provided to each amplifier. The combination of three coarse gain amplifiers and one fine gain amplifier provides for a total gain of 45 dB in 3 dB steps in the described embodiment of the invention. The PGAs comprise a succession of operational amplifiers wherein at least one is for providing fine gain control and wherein the gain of each fine gain amplifier is controlled by the resistance ratios of a plurality of selectively biased Metal Oxide Semiconductor Field Effect Transistors (MOSFETs) coupled at an input stage and in a feedback loop between the inputs and outputs of each amplifier. [0015] Other features and advantages of the present invention will become apparent from the following detailed description of the invention made with reference to the accompanying drawings. [0016] These and other features, aspects and advantages of the present invention will be more fully understood when considered with respect to the following detailed description, appended claims and accompanying drawings wherein: [0017] [0018] [0019] [0020] [0021] [0022] [0023] [0024] [0025] [0026] [0027] [0028] The RF circuitry formed according to the present invention may be formed to operate with any one of a number of different protocols and networks. For example, the network of [0029] The Bluetooth specification provides for a sophisticated transmission mode that ensures protection from interference and provides security of the communication signals. According to most designs that implement the Bluetooth specifications, the Bluetooth radio is being built into a small microchip and is designed to operate in frequency bands that are globally available. This ensures communication compatibility on a worldwide basis. Additionally, the Bluetooth specification defines two power levels. [0030] A first power level covers the shorter, personal area within a room and a second power level is designed for covering a medium range. For example, the second power level might be used to cover communications from one end of a building, such as a house, to the other. Software controls and identity coding are built into each microchip to ensure that only those units preset by the owners can communicate with each other. In general, it is advantageous to utilize low power transmissions and components that draw low amounts of power (especially for battery operated devices). The Bluetooth core protocols include Bluetooth-specific protocols that have been developed for Bluetooth systems. For example, the RFCOMM and TCS binary protocols have also been developed for Bluetooth but they are based on the ETSI TS 07.10 and the ITU-T recommendations Q.931 standards, respectively. Most Bluetooth devices require the Bluetooth core protocols, in addition to the Bluetooth radio, while the remaining protocols are only implemented when necessary. [0031] The baseband and link control layers facilitate the physical operation of the Bluetooth transceiver and, more specifically, the physical RF link between Bluetooth units forming a network. As the Bluetooth standards provide for frequency-hopping in a spread spectrum environment in which packets are transmitted in continuously changing defined time slots on defined frequencies, the baseband and link control layer utilizes inquiry and paging procedures to synchronize the transmission of communication signals at the specified frequency and clock cycles between the various Bluetooth devices. [0032] The Bluetooth core protocols further provide two different types of physical links with corresponding baseband packets. A synchronous connection-oriented (SCO) physical link and an asynchronous connectionless (ACL) physical link may be implemented in a multiplexed manner on the same RF link. ACL packets are used for data only while the SCO packets may contain audio, as well as a combination of audio and data. All audio and data packets can be provided with different levels of error correction and may also be encrypted if required. Special data types, including those for link management and control messages, are transmitted on a specified channel. [0033] There are other protocols and types of networks being implemented and that may be used with the network of [0034] Generally, Bluetooth facilitates the fabrication of a low-cost and low-power radio chip that includes some of these protocols described herein. The Bluetooth protocol operates in the unlicensed 2.4 GHz Industrial Scientific Medical (ISM) band and, more specifically, transmits and receives on 79 different hop frequencies at a frequency in the approximate range of 2400 to 2480 MHz, switching between one hop frequency to another in a pseudo-random sequence. Bluetooth, in particular, uses Gaussian Phase Shift Keyed (GFSK) modulation. Its maximum data rate is approximately 721 kbits/s and the maximum range is up to 20-30 meters. [0035] Even though Bluetooth has a much lower range and throughput than other known systems, its consequently significantly reduced power consumption means it has the ability to be much more ubiquitous. It can be placed in printers, keyboards, and other peripheral devices, to replace short-range cables. It can also be placed in pagers, mobile phones, and temperature sensors to allow information download, monitoring and other devices equipped with a Bluetooth access point. Nonetheless, it is advantageous to improve the low power consumption of Bluetooth devices to improve battery life for portable applications. [0036] Similarly, wireless LAN technologies (such as those formed to be compatible with IEEE 802.11b) are being designed to complement and/or replace the existing fixed-connection LANs. One reason for this is that the fixed connection LANs cannot always be implemented easily. For example, installing wire in historic buildings and old buildings with asbestos components makes the installation of LANs difficult. Moreover, the increasing mobility of the worker makes it difficult to implement hardwired systems. In response to these problems, the IEEE 802 Executive Committee established the 802.11 Working Group to create WLAN standards. The standards specify an operating frequency in the 2.4 GHz ISM band. [0037] The first IEEE 802.11 WLAN standards provide for data rates of 1 and 2 Mbps. Subsequent standards have been designed to work with the existing 802.11 MAC layer (Medium Access Control), but at higher frequencies. IEEE 802.11a provides for a 5.2 GHz radio frequency while IEEE 802.11b provides for a 2.4 GHz radio frequency band (the same as Bluetooth). More specifically, the 802.11b protocol operates in the unlicensed 2.4 GHz ISM band. Data is transmitted on Binary Phase Shift Keyed (BPSK) and Quadrature Phase Shift Keyed (QPSK) constellations at 11 Mbps. 802.11b data rates include 11 Mbits/s, 5.5, 2 and 1 Mbits/s, depending on distance, noise and other factors. The range can be up to 100 m, depending on environmental conditions. [0038] Because of the high throughput capability of 802.11b devices, a number of applications are more likely to be developed using 802.11b for networks such as that shown in [0039] The RF circuitry of the present invention is designed to satisfy at least some of the above mentioned standard-based protocols and may be formed in any of the subscriber units 114 through 128, base stations 102 through 112 or in any other wireless device, whether operating in a cellular system or not. The RF circuitry of the present invention includes low power designs that utilize CMOS technology and that support the defined protocols in a more efficient manner. Thus, for example, the teachings of the present invention may be applied to wireless local area networks, two-way radios, satellite communication devices, or other devices that support wireless communications. One challenge, however, with CMOS design in integrated circuits is that they typically utilize voltage sources having low values (e.g., 3 volts) and are generally noisy. It is a challenge, therefore, to develop receiver and transmitter circuitry that have full functionality while meeting these lower power constraints and while providing good signal quality. The system of [0040] [0041] Coupled to host device components 152 is a Radio Frequency (RF) interface 154. RF interface 154 services the RF communications of wireless device 150 and includes an RF transmitter 156 and an RF receiver 158. RF transmitter 156 and RF receiver 158 both couple to an antenna 160. One particular structure of a wireless device is described with reference to [0042] The RF interface 154 may be constructed as a single integrated circuit. However, presently, the RF interface 158 includes an RF front end and a baseband processor. In the future, however, it is anticipated that many highly integrated circuits, e.g., processors, system on a chip, etc., will include an RF interface, such as the RF interface 154 illustrated in [0043] [0044] RF unit 204 includes the RF transceiver components and operates according to the present invention to adjust the amplification or gain level of a programmable gain amplifier prior to delivery of a down converted signal to a baseband processor. More specifically, RF unit 204 includes the gain control circuitry as described herein receives detected peak values from an analog peak detector and generates gain control commands responsive thereto. Further, the RF unit 204 provides circuitry that generates a received signal strength indication as a part of providing gain control commands thereby eliminating a need for a discrete received signal strength indicator circuit for determining the signal strength of a received and down converted RF signal. The structure of subscriber unit 202, as illustrated, is only one particular example of a subscriber unit structure. Many other varied subscriber unit structures could be operated according to the teachings of the present invention. Further, the principles of the present invention may be applied to base stations, as are generally described with reference to [0045] [0046] [0047] The example of [0048] [0049] In the described embodiment of the invention, the radio transceiver is formed to satisfy 802.11b design requirements. Accordingly, the input signal is tuned to a 2.4 GHz frequency of oscillation and then is down converted to baseband. Mixers 508A and 508B produce the down converted signal to a low pass filter 512A and a low pass filter 512B for the I and Q modulated channels, respectively. [0050] As is known, low pass filters 512A and 512B are for blocking all communication signals above a specified frequency. The outputs of low pass filters 512A and 512B are then produced to programmable gain amplifiers (PGAs) 516A and 516B. The outputs of PGAs 516A and 516B are adjusted by gain control circuitry 520 to produce approximately 0 dBm of swing for the amplified signal that is then transmitted into baseband processing circuitry. In the described embodiment, the analog-to-digital converters (ADCs) are within the baseband processing circuitry external to the IF radio integrated circuit. [0051] Each of the components in this path thus far, namely, receiver/LNA 504, mixers 508A and 508B, and low pass filters 512A and 512B, add gain to the received signals. Because the power of the received signal can vary dramatically, however, the gain of the programmable gain amplifier is adjusted so that the gain of the output signal being provided to the baseband radio circuitry is of a constant level. Unfortunately, many common programmable gain amplifiers provide a very limited number of amplification steps, if any. Accordingly, the present invention includes a programmable gain amplifier whose gain can be incremented in 3 dB increments from 0 dB to 45 dB. Additionally, the invention includes circuitry to determine an appropriate amount of gain that should be added to the signal received by the PGA 516A so that it is amplified up to 0 dBm with a tolerance of +/−2 dBm. [0052] [0053] Accordingly, by selecting which of the four amplifiers 604, 608, 612 or 616 is providing gain, and in the case of amplifier 616 how much gain is generated therefrom, the amount of gain provided collectively can be varied in incremental steps of 3 dB all the way from 0 dB of gain to 45 dB of gain (16 logic states). In general, each of the amplifiers 604, 608 and 612 receive a binary signal specifying whether it should provide 0 dB of gain or 12 dB of gain. Amplifier 616, however, receives a four-state signal in one embodiment of the invention, which specifies whether it is to provide 0 dB, 3 dB, 6 dB or 9 dB of gain. As is known by those of average skill in the art, four bits is sufficient to generate the required 16 logic states for this embodiment of the invention. A plurality of logic gates may be used to generate the required amplifier control signals from the four bits as generally described. [0054] [0055] In the described embodiment, the first group of MOSFETs 704 comprise five matched MOSFETs that are coupled in parallel within the feedback loop of Op Amp 708 and are shown as one MOSFET 716 coupled to operate as a resistor when biased in its linear region. [0056] In the second group of MOSFETs 712, a total of fourteen MOSFETs are coupled in parallel to provide the incremental gain steps for the amplifier of [0057] More specifically, two transistors, shown as MOSFET 724, are biased by a first selectable bias voltage S1. Similarly, three transistors, shown as MOSFET 728, are all biased by a second selectable bias voltage S2. Finally, four transistors, represented as MOSFET 732, are biased by a third selectable bias voltage S3. Thus, the five transistors represented by MOSFET 720, will always be on, while the MOSFETs that receive bias voltages S1, S2and S3, shown herein as MOSFET 724, 728 and 732, respectively, may be selectively biased according to the desired output gain level. [0058] As is understood by those of average skill in the art, the gain of the amplifier (in dB) in [0059] For example, if MOSFETs 724, 728 and 732 are biased to an off state, then the gain is 0 dB because the log of the resistance of the five MOSFETs 716 divided by the resistance of five matched MOSFETs 720 is equal to 0 because the log of 1 is equal to 0. To provide 3 dB of gain, seven of the transistors from the second group of MOSFETs 712 must be biased in the linear region. This is because 20 log (7/5) is equal to 2.92 dB, which is approximately equal to 3 dB. Similarly, for 6 dB of gain, ten of the MOSFETs 712 must be biased in the linear region because 20 log (10/5) is equal to 6.02 dB, which is approximately equal to 6 dB. Finally, for 9 dB of gain, all fourteen MOSFETs of the MOSFETs 712 must be biased in the linear region because 20 log (14/5) is equal to 8.94 dB, which is approximately equal to 9 dB. [0060] Thus, to achieve the desired gain steps, the fourteen MOSFETs of the second group of MOSFETs 712, must be operationally biased so that either 5, 7, 10 or 14 transistors are on according to the desired step size. Moreover, as was described before, the five MOSFETs represented by MOSFET 720 are always biased in the linear region by virtue of the gate terminal coupled to ground. Thus, for 0 dB of gain, the remaining transistors are merely biased off by the logic signals. Whenever 3, 6 or 9 dB of output is desired, logic signal S1 is used to operationally bias the MOSFETs represented by MOSFETs 724. Whenever 6 dB of gain is desired, both S1and S2are used to bias the transistors represented by MOSFETs 724 and 728 in the linear region. Finally, if all fourteen transistors were to be biased on to provide 9 dB of gain, then S1, S2and S3are all set to bias the MOSFETs represented by MOSFETs 724, 728 and 732 of the MOSFETs 712 of [0061] [0062] [0063] [0064] In the described embodiment of the present invention, peak detector 912 comprises analog circuitry for fast determination of the peak amplitude of the outputs of the PGAs 904 and 908. In general, peak detector 912 takes advantage of a square law current to voltage function for MOS devices to determine that peak of the amplified signal. By utilizing a circuit that takes advantage of the square law function for MOS devices, the present invention is able to square the received inputs, thereby eliminating the sine and cosine elements of the signals because of the known equation that holds that sin2+cos2=1. Thus, by also taking the square root of the sum of the squared signals, the peak amplitude “a” of the received quadrature signals may be determined. [0065] [0066] With respect to comparator 1008, if the peak amplitude received from peak amplitude detector 1004 is below the low reference voltage, it generates a signal to 4-bit counter 1016 to increment the 4-bit count value and, thus, increase the gain of PGAs 516A and 516B. Similarly, comparator 1012 will generate a signal to decrease the gain if the detected peak amplitude from peak amplitude detector 1004 is higher than the high reference voltage. [0067] Correspondingly, the gain control circuitry 1006, and, more specifically, the 4-bit counter 1016 generates control signals to PGAs 516A and 516B to increase or decrease the gain. As was described earlier, each of the PGAs 516A and 516B will amplify a signal up to 45 dB in the described embodiment of the invention. 4-bit counter 1016 will set the four control bits to adjust the gain, as has been described herein, in 3 dB increments in the described embodiment of the invention. [0068] The inventor herein has further recognized that the output of 4-bit counter 1016 also describes the inverse of the signal strength for the received signal. Accordingly, by adding an inverter 1020 to the output of 4-bit counter 1016, the output may serve as a received signal strength indicator (RSSI) that is common in these types of radio circuits. [0069] Generally, an RSSI is coupled to the input stage of the programmable gain amplifiers, such as PGAs 516A and 516B, to provide an indication of the received signal strength. The circuitry used to control the gain of PGAs 516A and 516B may also be used to provide an indication of the received signal strength in place of a received signal strength indicator by merely inverting the output of 4-bit counter 812. Accordingly, the output of 4-bit counter 1016 is provided to inverter 1020, whose output serves as the output of a received signal strength indicator. [0070] As is understood by those of average skill in the art, typical radio transceiver designs include two RSSIs so that a determination may be made about the amount of interference as well as the signal strength of the received signal. This information is used for controlling gain at the various stages of the radio transceiver. RSSI 1 (a first RSSI) is usually coupled at the input of a low pass filter to measure the signal strength of the combination of the received signal and interferers in the same and in adjacent channels. RSSI 2 (the second RSSI) is usually coupled at the output of the low pass filters and at the input of the PGA and is used to measure the signal strength of the desired signal. The output of inverter 1016 serves to provide the received signal strength indicator of RSSI 2, meaning the signal strength of the signal only. [0071] The invention disclosed herein is susceptible to various modifications and alternative forms. Specific embodiments therefore have been shown by way of example in the drawings and detailed description. It should be understood, however, that the drawings and detailed description thereto are not intended to limit the invention to the particular form disclosed, but on the contrary, the invention is to cover all modifications, equivalents and alternatives falling within the spirit and scope of the present invention as defined by the claims. CROSS-REFERENCE TO RELATED APPLICATION
BACKGROUND
SUMMARY OF THE INVENTION
BRIEF DESCRIPTION OF THE DRAWINGS
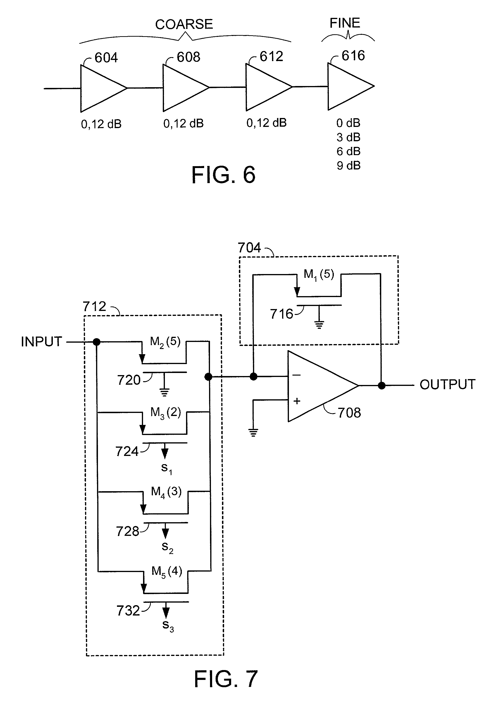
DETAILED DESCRIPTION OF THE DRAWINGS