заявка
№ US 20030122390
МПК B25J1/02

Frisbee golf disc retriever and more

Авторы:
L. Slauf
Номер заявки
10027463
Дата подачи заявки
20.12.2001
Опубликовано
03.07.2003
Страна
US
Как управлять
интеллектуальной собственностью
Чертежи 
3
Реферат

[4]

The invention known as the “Frisbee golf disc retriever and more” is made up of tubular sections of a durable material being machined or formed on each end to create slip-joint type connections which are pulled together by an elastic type of cord device being laced through the center of all the tubular sections and being anchored in a partially tensioned state at each end piece section of said tubing by means of a knot or any feasible type of cord end device or apparatus that could rest inside a shallow bore machined at the distal end of each said end piece section. This part of the said invention is accompanied by some solid round stock material being machined to attach threadedly to the said end piece sections. The said tubular sections make up the body of the said invention, while the solid material pieces make up three other components of the said invention. Those three components being a handle, a double ended coupler device which also houses a tie strap device, and a nail-head type hook device for retrieving Frisbee golf discs and the like or other retriever attachments include any readily attachable tool or retriever type of apparatus such as, a J-hook device, a net device, a magnetic pick-up device, a feather duster device, an ornament hanger device, a gutter cleaning device, a self closing grabbing device, etc. Where any of the said retriever attatchments are attatched threadedly to the distal end opposite the said handle.

[5]

Формула изобретения

1. A tubular fold up type of extension retriever device for retrieving Frisbees or “Disc Golf” discs used in the game or sport known as “Frisbee Golf” or also known as “Disc Golf” from course hazards located through out the course or playing field on which the said game or sport is played, or to be used for any type of job in need of an extension pole device with readily attachable tools job or function at hand may call for, comprising;

several tubular slip-joint body sections, having a male slip-joint connection on one end and a female slip-joint connection at the other end so that the said body sections can be connected together at the mating ends to create an extension pole unit; and

two tubular slip joint end piece sections, to be connected to the distal ends of the said nine tubular slip-joint body sections when connected to make a unit, one at each end of the unit, each one having different gender slip-joint connection at one end, then both having OD threads on the distal end of each said end piece section, being accompanied by a shallow bore in the said threaded end; and

an elastic type of cord laced through the center of all of the body sections and both end piece sections being anchored in a state of partial tension at the said shallow bores at the distal end of each said end piece section by means of a knot in the cord or any other type of crimp type cord end or anchor attachment that would rest inside the said shallow bores; and

a removable nailhead type hook device especially designed to promote the same hooking action around the full circumference of the nailhead type end to snag the lip of a Frisbee or a Disc Golf disc, having a bore and a counter bore with ID threads at the opposite end for attaching to said end piece section of unit; and

a removable handle having one end turned down and threaded on the OD for attaching to the unit, while the other end is knurled for grip or has a grip sleeve or tape device affixed to it; and

an elastic type cord to be used as a friction type tie strap; and

a removable double ended coupler which also houses the said friction type tie strap, the said double ended coupler is attached threadedly to either one of the two said end piece sections which makes it possible to attach another unit for additional length when needed for retrieving a golf disc or other valuable that is out of reach of a single units length, such as high trees or the like type of hazards, the said double ended coupler is also accompanied by the said removable handle being attached threadedly to the distal end of said coupler, connecting a second unit is accomplished by means of removing the said handle from the distal end of the double ended coupler of one unit, and removing the said nailhead type hook device or other type of tool or apparatus from the distal end piece section of a second unit and attaching the two units together by connecting the distal end piece section of one unit to the distal end of the double ended coupler of the other unit, then after you've finished retrieving the Frisbee golf disc or when you're done using the two units together just reverse the coupling steps to restore each unit to it's original state, then each unit can then be collapsed to a compact state by means of separating the slip connections between the said end piece sections and the said body sections by a twist and pull action and then folding all the sections together and securing the unit in it's collapsed state by means of the said friction type tie strap which is housed at the double ended coupler by means two holes drilled into the side of said coupler perpendicular to the said second counter bore in one end of said coupler, having one of these two said perpendicular holes intersecting with the said second counter bore, having the said intersecting hole drilled through only one wall of said second counter bore, then having the second drilled hole being drilled all the way through the OD of the said double ended coupler about ½″ inch further from the bored end of the said coupler than the said intersecting drilled hole, and not intersecting with said second counter bore, then having the friction type tie strap which has an OD to match or be about {fraction (1/64)}″ inch larger than the ID of the said drilled holes thus creating a friction hold on the said strap as it is knotted or has a cord end attachment at one end then the other end laced into the said second counter bore and out through the said intersecting drilled hole and pulled tight to anchor the one end of the said tie strap cord at the bottom of the said second counter bore, then the other end of the said tie strap cord is laced through the said second drilled hole thus creating a loop strap on one side of the said double ended coupler which can be cinched or pulled closed to hold by means of said friction hold the said unit in it's said collapsed state when the said tie strap loop is wrapped around the said unit in its' collapsed state and then having knot or a type of cord end attachment being attached to the end of said tie strap preventing the said tie strap from being pulled out of the said drilled hole; and

a:) the several tubular slip-joint body sections as mentioned in claim 1 are comprised of, aluminum tubular sections being about ½″ in diameter having about an ⅛″ inch wall being approximately 11 inches in length and having one end turned down to approximately ⅜″ inch O.D. about ¾″ inch long while having the other end bored out to an I.D. slightly larger than the said O.D. being about ¾″ inch deep, or the said slip joint connection could also comprise of matching ID-OD tapers to provide a smooth slip joint connection between each body section.

b:) the two end piece sections as mentioned in claim 1 are comprised of, the same type of slip joint connections as the said slip-joint body sections described in 1a with the exception of each piece section is opposite in slip joint gender from the other so to connect to the said slip joint body sections, while the distal end of each end piece section is threaded to mate with the said double ended coupler or the said nailhead type hook device then being bored out to about {fraction (5/16)}″ inch about ¼″ inch deep to house the anchor knot or any feasible type of cord end at each end of said elastic type cord which is laced through the center of all the said slip joint body sections and said end piece sections.

c:) The double ended coupler housing the friction type tie strap as mentioned in claim 1 is comprised of; a solid piece of round aluminum stock about ⅝″ inch O.D. being bored at each end with an I.D. being slightly larger than the said O.D. of the unmachined portion of the said end piece section about ½″ inch deep, with one end having threaded counter bore at while the other end also has a threaded counter bore, then having a second counter bore being about {fraction (5/16)}″ inch I.D. about {fraction (1.5)}″ inches deep and intersecting with a perpendicular hole drilled through one wall to be an anchor spot for the aforementioned friction type tie strap that is an elastic type cord having a knot a one end then the other end of said tie strap cord is laced into the bore and out through the said perpendicular intersecting hole drilled through one wall to anchor the cord by means of the knot at the bottom of the {fraction (5/16)}″ inch bore then the said cord is laced into another hole drilled through the said solid piece of round aluminum stock which is also perpendicular the bored end but not intersecting with the bore, then knotted on the other side thus creating a loop strap on one side of the coupler that will sinch closed when pulled through by the knotted end on the other side of said double ended coupler.

d:) The said nailhead type hook device as mentioned in claim 1 is comprised of:

a solid piece of round stock approximately 1″ inch OD about 3″ to 6″ inches long having all but a small fraction of it's length ( about ¼″ inch) turned down to about ⅝″ inch leaving the unturned portion to resemble that of a nailhead, thus creating a snagging type hooking action the full circumference of the nailhead type end, which works great to snag the lip of a Frisbee or Disc golf disc used in the game or sport known as “Frisbee Golf” or “Disc Golf” and retrieve it from a course hazards such as water holes or trees located randomly through out the course on which the said game or sport is played.

2. Any other type of removable tool or retriever device that can be attached readily to the distal end of the end piece section defined in claim 1, thus creating a an extension pole or retriever device for various types of jobs that can be accomplished by the means of different types of tools or retriever devices that can be readily attached to either said end piece section of said unit, such as;

a readily attachable net type attachment for retrieving fish, catching birds, butterflies, etc.; and

a readily attachable gutter cleaning brush tool; and

a readily attachable feather type duster tool; and

a readily attachable paint brush or roller type painting tool; and

a readily attachable strong magnetic pick up tool that has a about a 10lb holding capacity housed in a plastic sleeve for retrieving diesel mechanics tools or the like that are usually out of reach of the other existing types of telescopic type pocket magnetic retrievers that only have about a 2-5 lb holding capacity; and

a readily attachable hanger tool for installing and removing string type ornamental lights or the like on high tree branches or other suitable places not rendering a predetermined receiving device or apparatus.

3. The fashion in which the said unit is changed or transformed from it's collapsed state to it's extended state when the unit is needed for use; where the said tie strap can be loosed or uncinched by means holding the collapsed unit in one hand and loosening the looped portion of said tie strap by pulling the loop out to it's full extent then removing the loop from around the collapsed unit with the other hand, then using the hand that loosed the tie to grasp the handle of the unit and removing the other hand from around the unit thus allowing the unit to automatically pull together all of the said slip joint connections by means of the said elastic cord laced through the unit and anchored in a state of tension at each end piece section of said unit.

Описание

DETAILED DESCRIPTION

[1]

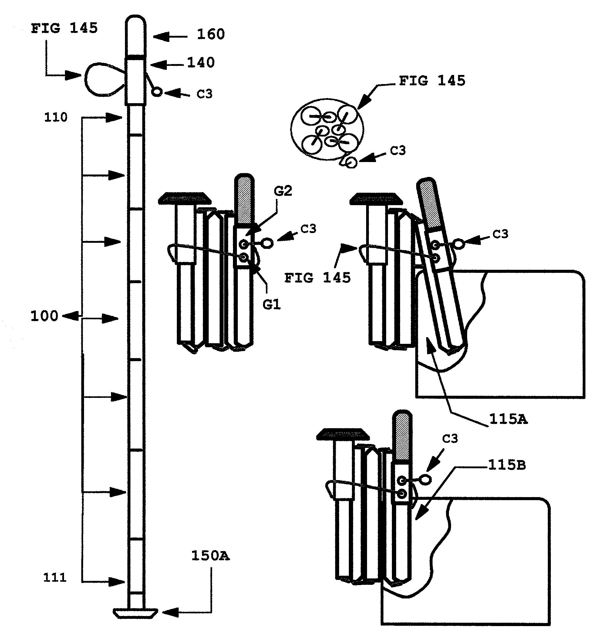
[0001] The said body of the invention as shown in (100) is made up of several body sections (FIG. 120) having mating gender slip joint ends (A) being machined or formed to provide a ridged connection between each body section and the end piece sections (FIG. 110/FIG. 111) while the said end piece sections are machined at their distal ends to have a shallow bore (B) for means of anchoring the said elastic type (FIG. 125) cord by means of a knot or cord end device (C) that would rest inside the said shallow (B) bore which is accompanied by external threads (D) allowing for attachment to the said double ended coupler device (FIG. 140) at either end of the said body by means of mating threads machined or formed inside a counter bore located at each end of the said double ended coupler device (E) allowing for attachment to another body unit of said invention or the said handle device (FIG. 160) attached threadedly to said double ended coupler on the distal end opposite said body unit thus forming a single unit of said invention having a said nail-head type hook device (FIG. 150) or other type of said retriever device that can be readily attached threadedly to the distal end of the said body of the unit opposite the said double ended coupler, such as: illlustrated on Assembly sheet 2 as: (150A,B,C,D,E,F). (150-A) is the forementioned nail head type hook device that provides an equal hooking action around the circumference of the distal end. (150-B) is a magnetic pick-up device having a round or square bar shape rare earth magnet with a pick-up capacity of at least 5 pounds and being housed inside a plastic or nylon alloy type of sleeve. (150-C) is a net type of apparatus for cleaning debris swimming pools or deep fish tanks or the like or for retrieving fish from the water, or catching birds or butterflies or the like. (150-D) is a duster type of apparatus made from feathers or any other natural or synthetic material. (150-E) is a standard J-hook type of retriever device. (150-F) is an ornament tool for hanging or removing string lights or the like in tall trees or any high place the ornaments may be hung. The said invention can be transformed into a compact state (H) by means of separating the slip-joint connections by a twist and pull action and folding each section over until all the said body sections of the invention are grouped together forming a compact bundle which is held in a compact state by means of the said elastic type tie strap (FIG. 145) which is housed at the said double ended coupler by means of said tie strap being laced into a second counter bore (F) located in one end of said double end coupler then laced out through an intersecting hole (G1) drilled through only one wall of said second counter bore and said tie strap is anchored in the bottom of said second counter bore by means of a knot or cord end device (C2) then the said tie strap is laced through a second hole (G2) drilled through the side of the said double ended coupler perpendicular to said second counter bore but not intersecting with said second counter bore, then the said tie strap is knotted on the end or has a cord end device attached to it (C2) so to keep the said tie strap from pulling out. The said second drilled hole is the same size or slightly smaller than said tie strap thus creating a drag friction type of grip on the said tie strap which assembles to said double ended coupler in such a way that it creates a cinchable or closing loop(145 B) on the out side of the said coupler, then the closable loop is stretched around all of the components of the said invention in it's collapsed or compact state and the loop is pulled or cinched closed by means of pulling tightly on the distal end of said tie strap (C3). The said invention can then be attached to the side of a disc golf bag or the like by means of slightly spreading the compact tubes apart and saddling them over the edge of the wall of the bag (FIG. 115A) and pushing the invention down onto the golf bag wall which is now being squeezed between the tight bundle of tubing.(FIG. 115B).

BACKGROUND AND FIELD OF THE INVENTION

[2]

[0002] The present invention relates to collapsible fold up type retriever devices with removable handle and removable tools, accompanied by a built in removable coupler for connecting multiple units when needed for retrieving items or valuables from long reaches, more particularly, a Frisbee or Disc Golf disc retriever for retrieving Frisbees or Disc Golf discs used in the game or sport known as Frisbee Golf AKA Disc Golf, by means of a removable nailhead type of hook device for retrieving said Frisbees or Disc Golf discs that may fall victim to course hazards that are out of arms reach, such as bodies of water e.g. streams, creeks, ponds, and the like or other hazards such as trees, or bushes and the like, that are randomly located through out the course or playing field on which the said game or sport is played. The said invention is also intended to be used for a variety of jobs, tasks, or functions that can be accomplished with the said invention accompanied by a variety of readily attachable tools such as, a net device tool for retrieving fish from bodies of water, or catching birds or insects such as butterflies, etc. Other types of readily attachable tools could be a gutter cleaning brush, or ceiling fan blade feather duster for those real high fans, or paint brush or roller, or a magnetic pick up tool to be used by diesel and big rig mechanics where tools can fall far out of reach of any existing magnetic pick up tool devices, or a readily attachable hanger tool for installing and removing string type ornamental lights or the like on high tree branches or other suitable places not rendering a predetermined receiving device or apparatus. Even as some of these mentioned jobs, tasks, or functions the unit could be used for there will always be those cases where the unit is too short to accomplish the task at hand. Enter the built in double ended coupler which makes it possible to attach another Frisbee golf disc retriever and more unit for additional length when needed. For example, those extra high trees or the like type of hazards. This said attaching another unit is accomplished by means of removing the handle from the end of the double ended coupler of one unit and removing the hook device or other type of tool or apparatus from the end piece section of the other unit and attaching the two units together by connecting the distal end section piece of one unit to the distal end of the double ended coupler of the other unit, when finished retrieving the Frisbee golf disc or when you're done using the Frisbee golf disc retriever and more unit for whatever job the unit was used for, the unit can then be collapsed to a compact state by means of separating the slip connections between the end piece sections and the body sections by a twist and pull action and folding all the sections together and securing the unit in it's collapsed state by means of the said friction type tie strap which is housed at the double ended coupler.

SUMMARY

[3]

[0003] A fold up type of extension retriever device with a built in coupler, which is made up of several slip joint tubular sections that are automatically pulled together by means of an elastic cord laced through and anchored in a partial tension state at each end of the unit, having each end of the unit threaded to accommodate the said coupler and or any suitable tool that may be readily attached, also the unit can connect to another like unit by means of the said built in coupler which also houses a friction type pull tie strap to keep the unit in a compact state when not in use.

Как компенсировать расходы
на инновационную разработку
Похожие патенты