An apparatus is provided for closing a vehicle storage compartment. The apparatus includes: a housing which resembles a tailgate of a vehicle and wherein the housing has one or more loading surfaces. The loading surfaces can be removed from the tailgate, placed into a loading position and used for loading items into or out of a vehicle storage compartment. Thereafter, the loading surfaces may be transformed into a storage position and placed within the housing.
1. An apparatus for closing a storage compartment of a vehicle, the storage compartment is configured to receive items loaded from a supporting surface, the apparatus comprising:
a housing having a receptacle, wherein the housing is pivotably attachable to the storage compartment of the vehicle; and an at least one loading surface, positionable within the receptacle of the housing when the at least one loading surface is in a storage position, and removable from the receptacle when the at least one loading surface is positioned in a loading position. 2. The apparatus of 3. The apparatus of 4. The apparatus of 5. The apparatus of 6. The apparatus of 7. The apparatus of 8. The apparatus of 9. The apparatus of 10. An apparatus for closing a storage compartment of a vehicle, the storage compartment is configured to receive items loaded from a supporting surface, the apparatus comprising:
a housing having a receptacle, wherein the housing is pivotably attachable to the storage compartment of the vehicle; and a means for loading the items, wherein the means for loading is positionable within the receptacle of the housing when the means for loading is in a storage position, and removable from the receptacle when the means for loading is positioned in a loading position. 11. The apparatus of 12. The apparatus of 13. The apparatus of 14. The apparatus of 15. The apparatus of 16. A method for performing one of loading and unloading a storage compartment of a vehicle, the storage compartment is configured to receive items loaded from a supporting surface, the method comprising:
lowering a housing into a horizontal position, the housing having a receptacle and wherein the housing is pivotably attachable to the storage compartment of the vehicle; removing an at least one loading surface from the receptacle; and connecting the at least one loading surface to the housing to position the at least one loading surface in a loading position. 17. The method of 18. The method of 19. The method of 20. The method of
[0001] The present invention claims priority to U.S. Provisional Serial No. 60/306,676, filed on Jul. 20, 2001 and entitled “INTEGRATED TAILGATE AND LOADING RAMPS FOR LIGHT DUTY TRUCKS”. [0002] This invention relates to systems and methods for loading objects into a pickup truck and wherein the ramps are stored in the tailgate. [0003] Pickup trucks and similar vehicles having truck beds are frequently used to transport objects, such as motorcycles, all terrain vehicles, tractors, mowers, and the like. There has been a continuous effort since the advent of vehicles with truck beds to produce an efficient means of transferring these objects from the ground to the truck bed. [0004] Early prior art solutions utilized ramps, which were designed to be carried within the truck bed. However, this type of design wasted usable space in the truck bed and added significant weight to the vehicle, thereby reducing the effective load capacity of the truck. [0005] Another prior art solution to this problem focused on combining the tailgate of the truck and ramps. The complexity in design of combination tailgate and ramp systems has ranged from simple designs consisting of large, cumbersome tailgates that unfold to form a ramp to intricate designs involving telescopic ramps that are housed within a tailgate. [0006] Other devices disclosed in U.S. Pat. No. 4,003,483, issued to Fulton, U.S. Pat. No. 5,211,437, issued to Gerulf, and U.S. Pat. No. 5,425,564, issued to Thayer, address the load capacity problem by pivoting a panel located in the position of a conventional tailgate about its vertical axis then rotating the panel 90 degrees so the height of the panel rests along the horizontal axis of the assembled configuration. The panel is then lowered to create a surface that runs from the ground to the rear edge of the truck bed. One problem with this design is that the length of the ramp is restricted to the width of the truck bed. Therefore, the ramp is steeply inclined resulting in a higher degree of difficulty in transferring objects to and from the truck bed. [0007] Other devices, disclosed in U.S. Pat. No. 5,133,584 and U.S. Pat. No. 5,156,432, both issued to McCleary, involve a relatively large apparatus that attaches to the original tailgate and unfolds rearward to form a ramp. While these designs adequately address the issue of ramp length, they are large and rather cumbersome devices that tend to reduce the effective loading capacity of the truck by adding weight to the truck and taking up space in the truck bed. [0008] Two devices, U.S. Pat. No. 5,273,335, issued to Belnap, and U.S. Pat. No. 5,312,149, issued to Boone, adequately address both the ramp length issue and the loading capacity issue by using telescopic ramps that are stored within the tailgate. To use these devices, the tailgate is lowered to the horizontal position and telescopic ramps are horizontally pulled out of the tailgate. These ramps form a surface that runs from the ground to the truck bed, The devices are contained within the area typically occupied by a conventional tailgate; therefore, the loading capacity of the truck is only marginally affected, if at all. Additionally, the telescopic ramps allow a relatively longer ramp surface, which results in a more gradual ramp incline. However, the telescopic design of the ramps results in a very complex apparatus. Additionally, because these devices are permanently attached to the vehicle, the vehicle's utility is restricted to tasks that can be achieved while the tailgate is in place. [0009] Therefore, there is a need for an apparatus comprised of long and relatively simply designed ramps and a tailgate capable of housing these ramps so as not to decrease the loading capacity of the truck. Moreover, there is a need for an apparatus that may be easily converted to allow the vehicle to be used in operations that normally require the removal of the tailgate. Finally, the apparatus must maintain a close resemblance to a conventional tailgate, thereby helping to maintain the aesthetic qualities of the vehicle. [0010] In a preferred embodiment of the present invention a tailgate and a pair of detachable ramps that can be folded and stored within the tailgate are provided. When housed within the tailgate, the ramps stretch across the width of the tailgate. This configuration allows the ramps to be relatively long, which reduces the degree of inclination of the ramps, with respect to the ground, when the ramps are unfolded and in the loading position. [0011] In another embodiment of the present invention, the ramps are detachable, thus, increasing the utility of the vehicle. [0012] Preferably, the ramps may be positioned at various points along the base of the tailgate to accommodate objects of various shapes and sizes. [0013] In an alternative embodiment, the ramps are removed from the tailgate to allow the vehicle to accommodate a fifth wheel RV without removing the entire tailgate. [0014] In yet another embodiment, the ramps are removed from the tailgate and replaced by a grate or mesh structure to form an airgate. The replacement of conventional tailgates with airgates is well known in the art. [0015] In a preferred embodiment, the tailgate is located in the conventional position and uses a conventional latching mechanism. [0016] In yet another embodiment, the ramps are secured within the tailgate space. [0017] In still another embodiment of the present invention, a hinged plate and a protruding lip fix the ramps within the tailgate. [0018] Preferably, when the ramps are stored within the tailgate, the resultant apparatus closely resembles a conventional tailgate. [0019] In an embodiment of the present invention, the ramps are comprised of two portions, an upper portion and a lower portion. The ramps are configured in a way that allows the lower portion of the ramp to be folded into the upper portion of the ramp. A c-channel is attached to the upper portion of each ramp. When the ramps are unfolded, the c-channel may be attachable to the base of the tailgate to form sturdy, gradually inclining ramps. The ramps may be positioned anywhere along the base of the tailgate, which allows the ramps to be used to easily load and unload objects of various shapes and sizes. [0020] In yet another embodiment of the present invention, the invention may be easily configured to accommodate a fifth wheel RV. By removing both ramps, a large portion of the tailgate is open, which allows sufficient room for a fifth wheel RV to be hitched to the vehicle. [0021] In yet another embodiment, the ramps may be removed and replaced by a grate or mesh structure, thereby improving gas mileage. [0022] These and other aspects and advantages of the present invention will become apparent upon reading the following detailed description of the invention in combination with the accompanying drawings. [0023] [0024] [0025] [0026] [0027] [0028] [0029] [0030] [0031] [0032] [0033] [0034] [0035] [0036] Referring now to [0037] In FIGS. 2-3, apparatus 20 is shown pivotally attached to a vehicle. Housing 22, as shown, has a housing base 28, side portions 30 and 30′, retainers 32 and 32′, and a ramp-housing receptacle 38. The function of the housing base 28 is to support ramps 24 and 26 both when ramps 24 and 26 are stored in the housing, as shown in [0038] In addition to providing support for ramps 24 and 26, housing base 28 includes retainer latch mechanisms 40 and 40′ for securing retainers 32 and 32′, which, in turn, secure ramps 24 and 26 within receptacle 38. Latch mechanisms 40 and 40′ are substantially identical, and are located at opposite sides 27 and 29 of housing base 28. As shown schematically in [0039] Housing base 28 and latch mechanisms 40 and 40′, like the rest of housing 22, are preferably constructed from steel to maximize strength and durability. Alternatively, any other suitable material, such as aluminum, plastic, fiberglass, metal alloys, or composites, may be used to construct housing base 28 and latch mechanisms 40 and 40′, or any other parts of housing 22. [0040] With reference to [0041] As shown in [0042] Support members 47 and 47′ are provided for supporting apparatus 20 when in a horizontal position. Support members 47 and 47′ are fixed at one end to housing 22 and at the other end to the vehicle. [0043] Retainers 32 and 32′, as illustrated in [0044] As shown in [0045] As illustrated in [0046] Referring to [0047] Lower ramp section 58, as illustrated in [0048] As illustrated in [0049] As shown in [0050] Ramps 24 and 26 are preferably constructed from aluminum to minimize weight. Alternatively, ramps 24 and 26 may be constructed from any suitable material, such as steel, plastic, fiberglass, metal alloys, or composites. [0051] Thus, the present invention provides an apparatus 20, which is easily converted from a tailgate to a ramp. In operation, housing 22 is lowered into a horizontal position, as shown in [0052] In [0053] The present invention provides many advantages and benefits over the prior art. Ramps 24 and 26 are constructed in such a way to allow the ramps to be folded and stored within housing 22 of apparatus 20. This results in an apparatus 20 that occupies no truckbed space in excess of that of a conventional tailgate. In addition, the decrease in the loading capacity of the vehicle, as a result of the implementation of apparatus 20, is negligible. [0054] As any person skilled in the art of systems and methods for loading objects into a vehicle will recognize from the previous detailed description and from the figures and claims, modifications and changes can be made to the preferred embodiments of the invention without departing from the scope of this invention defined in the following claims. CROSS-REFERENCE TO RELATED APPLICATIONS
TECHNICAL FIELD
BACKGROUND
SUMMARY
BRIEF DESCRIPTION OF THE FIGURES
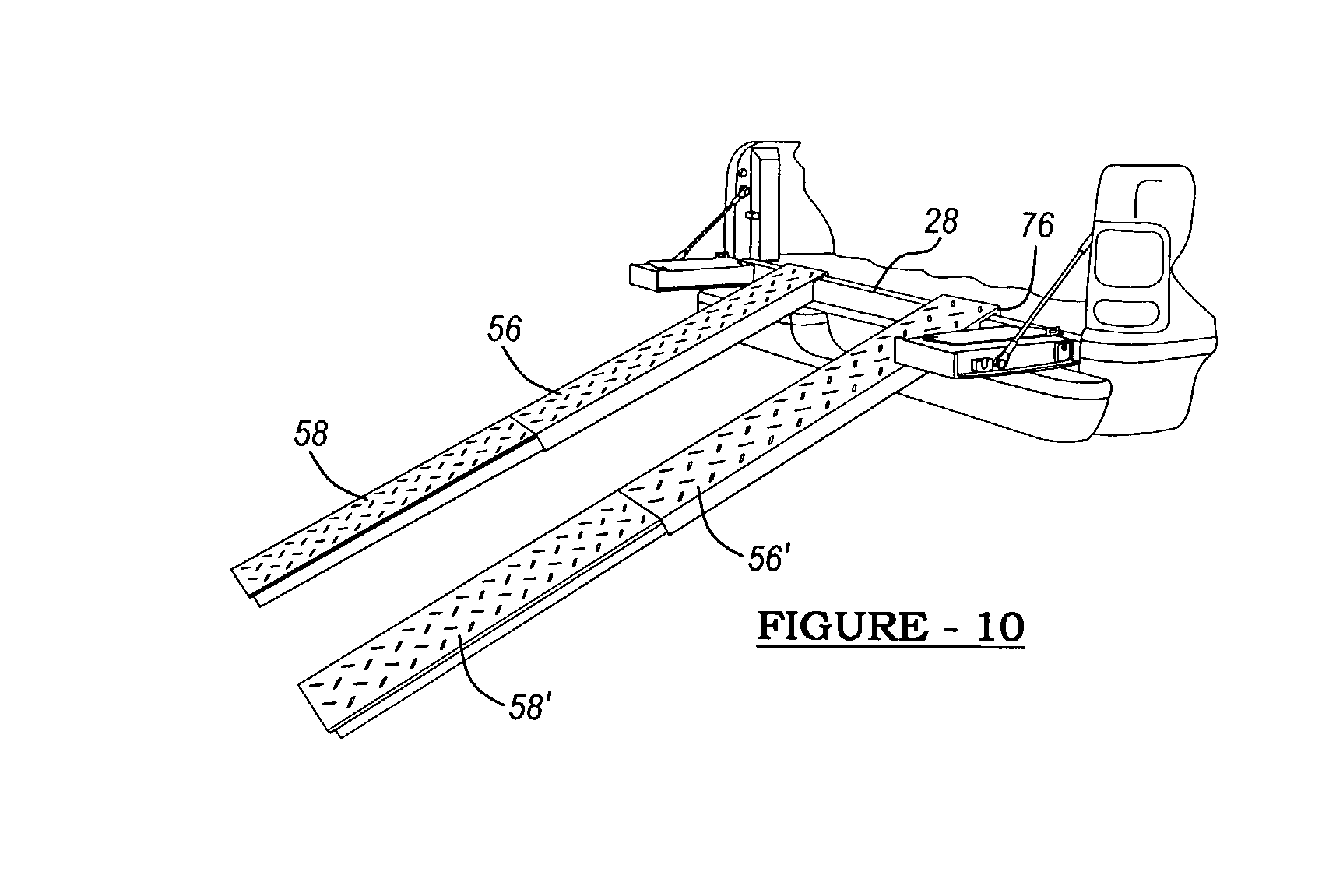
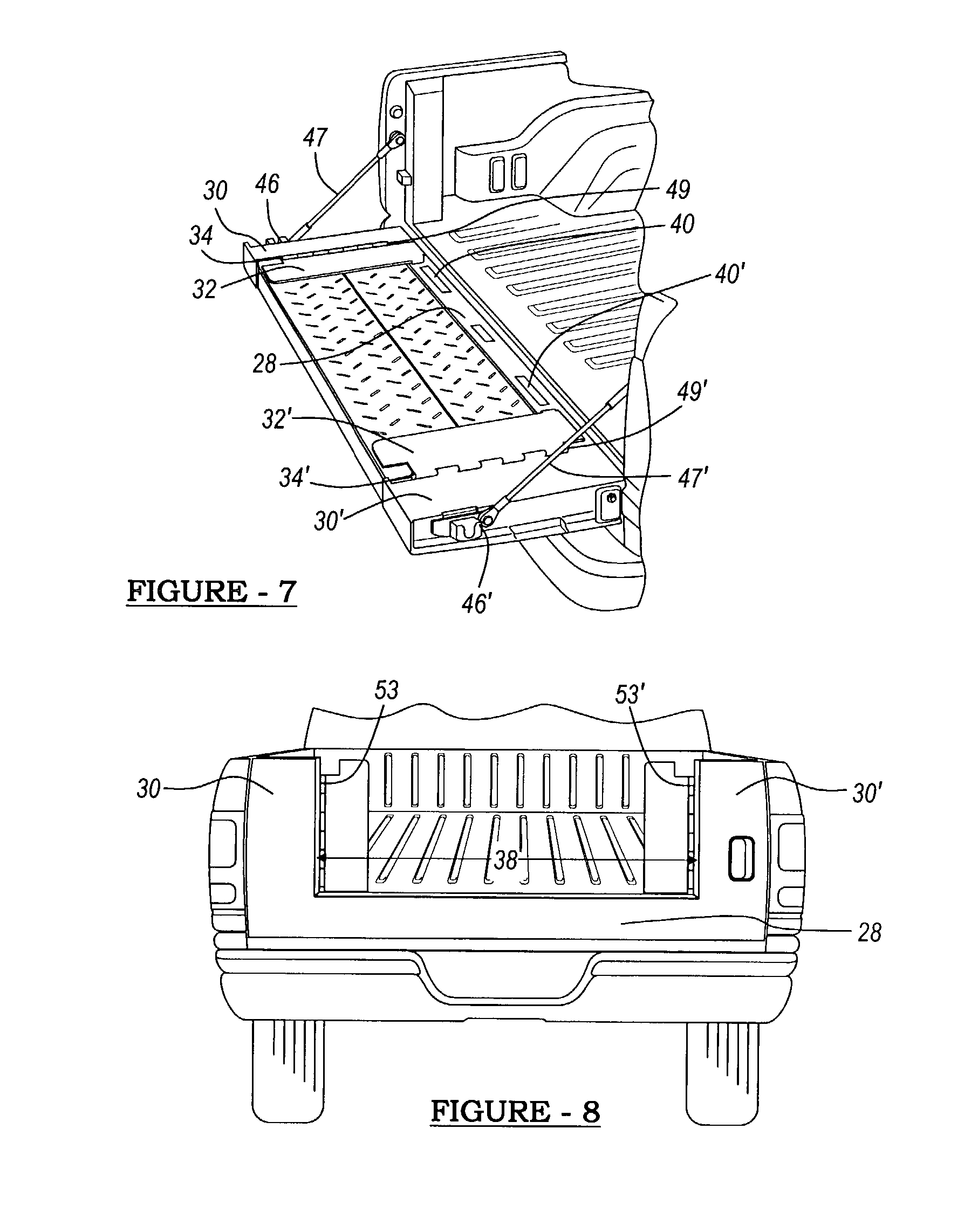
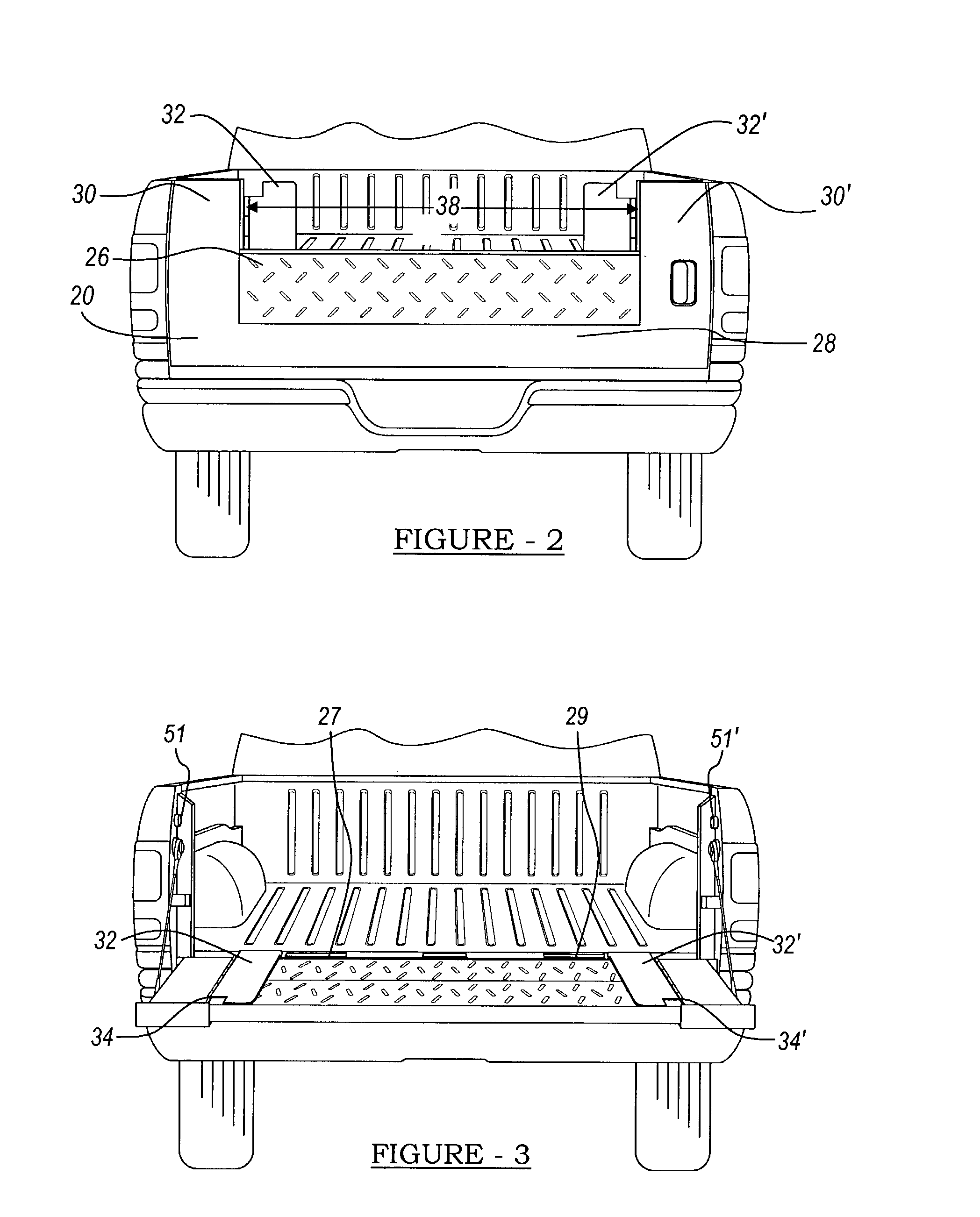
DETAILED DESCRIPTION