A versatile, wavelength-slicing device, referred to herein as an optical spectrum synthesizer (OSS), provides new avenues and technologies for optical communication applications. Specifically, OSS separates a composed optical signal into two output spectra. Each output spectrum carries a multiple of optical communication signal channels. The bandwidth of each channel and spacing between adjacent channels may differ from one output to the other. The cascades of OSS devices, the combinations of OSS with prior art components and modules, and other new devices to be used in conjunction with OSS lead to new Spectrum Devices that add new dimensions to existing and new optical network architectures. The invention of OSS leads to new Spectrum Wavelength Division Multiplexing and management devices based on cascades of OSS devices. Examples of these devices include Spectrum Multiplexer, Spectrum Demultiplexer and Spectrum Add Drop Module. The combinations of OSS and other prior art devices also lead to several new Spectrum devices and modules. Examples of these include, Spectrum Switch, Spectrum Cross-Connect and Spectrum Long Haul Transport Modules. Other devices designed to be used in conjunction with OSS, e.g., 1/n Multiplexer and 1/n Demultiplexer, can also be used to form new devices and modules.
1. An apparatus for receiving a composite optical signal defined by a plurality of distinct channels having spaced center wavelengths in a continuous frequency spectrum; the apparatus generating two separate output optical signals from the received signal; the apparatus comprising:
a wavelength-dependent optical device for segregating said received signal into said two separate output optical signals having non-continuous spectra; one of said output signals having a greater number of said distinct channels than the other of said output signals. 2. The apparatus recited in 3. The apparatus recited in 4. The apparatus recited in 5. The apparatus recited in a plurality of adjacent optical cavities each having at least one partially reflective surface. 6. The apparatus recited in at least two adjacent optical cavities having a total of at least three partially reflective surfaces; said optical cavities having a selected thickness for achieving said separate output optical signals. 7. The apparatus recited in 8. The apparatus recited in at least three adjacent optical cavities having a total of at least four partially reflective surfaces; said optical cavities having a selected thickness for achieving said separate output optical signals. 9. The apparatus recited in 10. The apparatus recited in 11. The apparatus recited in 12. The apparatus recited in 13. The apparatus recited in 14. The apparatus recited in 15. An apparatus for receiving a composite optical signal defined by a plurality of distinct channels having center wavelengths in a continuous frequency spectrum; the apparatus comprising:
a wavelength-dependent optical device for segregating said received signal into N separate output optical signals having non-continuous spectra, where N≧3; each of said output optical signals having a substantially equal number of said distinct channels. 16. A spectrum add and drop apparatus for receiving a first composite optical signal defined by a plurality of distinct channels having spaced center wavelengths in a continuous frequency spectrum and generating a second composite optical signal wherein at least some of said distinct channels from said first composite signal are replaced by substitute distinct channels in said second composite signal; the apparatus comprising:
a first wavelength-dependent optical device for segregating said first composite signal into two separate output optical signals having non-continuous spectra; one of said output signals having a greater number of said distinct channels than the other of said output signals; a second wavelength-dependent optical device connected to said first wavelength-dependent optical device for receiving said output signal having a greater number of said distinct channels, but receiving a substitute for the other output signal of said first wavelength-dependent optical device; said second wavelength-dependent optical device generating said second composite optical signal. 17. The apparatus recited in 18. A method for demultiplexing a composite optical signal with different center-wavelengths represented by λ1, λ2, λ3, . . . λnwhere n is a positive integer and said wavelengths are equally spaced, comprising steps of
a) receiving said composite optical signal into an asymmetric wavelength slicing device through a device input port; and b) slicing said composite signal and extracting a first composite optical signal comprising a first set of channels λ1, λa, λb, λc, . . . λn−a+2through a first output port, and a second composite optical signal comprising a second set of channels λ2, λd, λe, λf, . . . λnthrough a second output port wherein said second set of data channels is complimentary to said first set of data channels and a spacing (λ1−λa) between λ1and λais different from a spacing (λ2−λd) between λ2and λd. 19. A method for demultiplexing a composite optical signal with different center-wavelengths represented by λ1, λ2, λ3, λ4, . . . λnwhere n is a positive integer and the wavelengths are equally spaced, comprising steps of
a) receiving said composite optical signal into an asymmetric wavelength slicing device through a device input port; and b) slicing said composite signal and extracting a first composite optical signal comprising a first set of channels λ1, λ3, λ5, λ7, λn−1through a first output port, and a second composite optical signal comprising a second set of channels λ2, λ4, λ6, λ8, . . . λnthrough a second output port wherein said second set of data channels is complimentary to said first set of data channels but having a different bandwidth. 20. A asymmetric wavelength slicing device for demultiplexing a composite optical signal with different center-wavelengths represented by λ1, λ2, λ3, λ4, . . . λnwhere n is a positive integer and the wavelengths are equally spaced, comprising at least an input port and two output ports,
said composite signal being sliced into a first composite optical signal comprising a first set of channels λ1, λa, λb, λc, . . . λn−a+2through a first output port, and a second composite optical signal comprising a second set of channels λ2, λd, λe, λf, . . . λnthrough a second output port wherein said second set of data channels is complimentary to said first set of data channels, but the spacing between λ1and λais different from the spacing between λ2and λd. 21. A asymmetric wavelength slicing device for demultiplexing a composite optical signal with different center-wavelengths represented by λ1, λ2, λ3, λ4, . . . λnwhere n is a positive integer and the wavelengths are equally spaced, comprising:
at least an input port and two output ports, said composite signal being sliced into a first composite optical signal comprising a first set of channels λ1, λ3, λ5, λ7, . . . λn−1through a first output port, and a second composite optical signal comprising a second set of channels λ2, λ4, λ6, λ8, . . . λnthrough a second output port wherein said second set of data channels is complimentary to said first set of data channels, but the bandwidth is different from the bandwidth of said first set of data channels. 22. The method recited in 23. The method recited in 24. The device recited in 25. The device recited in 26. A spectral demultiplexer for use in optical communications systems: the demultiplexer receiving a composite optical signal having spectral components in any of a plurality of wavelength channels in a continuous spectrum and generating a plurality of N output optical signals each having spectral components in 1/N of said wavelength channels in respective non-continuous spectra. 27. The spectral demultiplexer recited in 28. A spectral multiplexer for use in optical communications systems; the multiplexer receiving a plurality of N input optical signals each having different discontinuous spectral components in 1/N wavelength channels of a plurality of wavelength channels in a continuous spectrum, and generating an output composite optical signal having the spectral components of all of said N input optical signals. 29. The spectral multiplexer recited in 30. A group of optical signal demultiplexers comprising a plurality of demultiplexers each receiving a different composite optical signal having a plurality of spaced center channel wavelengths in a non-continuous spectrum and each such demultiplexer producing a plurality of individual output optical signals each having a unique one of said spaced center channel wavelengths. 31. A group of optical signal multiplexers comprising a plurality of multiplexers each receiving a plurality of individual input signals each such signal having a center channel wavelength which is spaced from the center channel wavelength of the other such signals; each such multiplexer producing a different composite output signal, each such different output signal comprising all of the center channel wavelengths of the individual input signals of the multiplexer from which the output signal is produced. 32. The apparatus recited in
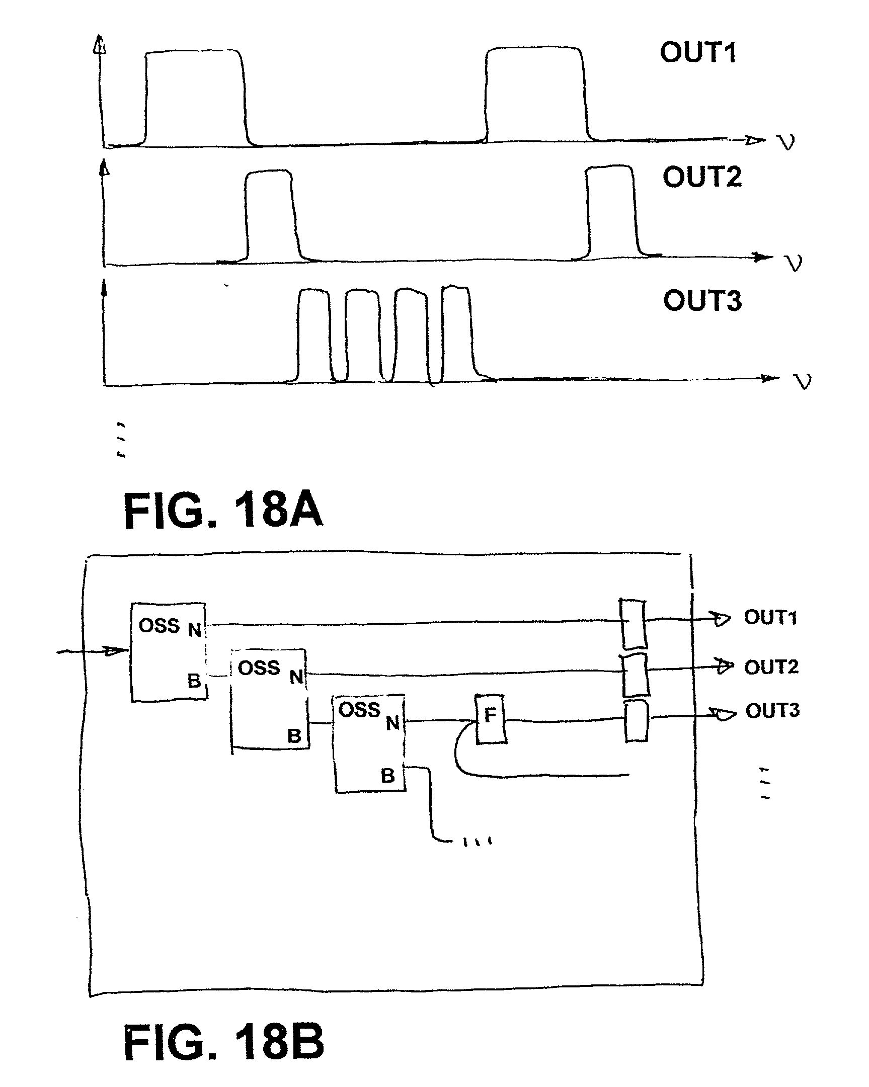
[0001] This application is a continuation-in-part of pending application Ser. No. 09/573,330 filed May 18, 2000. [0002] 1. Field of the Invention [0003] The present invention relates generally to the field of optical communications and more particularly to an etalon-based method and apparatus for asymmetric wavelength slicing for use in dense wavelength division multiplexing (DWDM) applications. [0004] 2. Background Art [0005] Optical communications is an active area of new technology and is crucial to the development and progress of several important technologies, e.g., Internet and related new technologies. A key technology that enabled higher data transmission rate is the dense wavelength division multiplexing (DWDM) technology. In the DWDM technology, optical signals generated from different sources operating at predetermined, dense-spaced center wavelengths are first combined to form a single optical output. This single optical output is then transmitted, frequently amplified during transmission, through an optical fiber. The single optical output is then de-multiplexed, a process to separate individual data channels and each channel is then directed to its own destinations. In the DWDM technology, each data channel is assigned to a center frequency and the spacing between any two adjacent channels is a constant (e.g., 200 GHz or 100 GHz). It is also understood that all channels are given frequency windows with identical width, the width of these windows is kept great enough to pass information associated with these data channels and at the same time as narrow as possible to prevent cross-talking between different data channels. It is generally understood that the more narrow the frequency spacing between different data channels, the greater the transmission capacity a DWDM system will have. [0006] Several multiplexing and de-multiplexing devices are essential to the operation of a DWDM system. [0007] In the filter approach to DWDM, each data channel is associated with a specific optical filter. The DWDM system therefore consists of many filters, each of which has to be connected or placed in a particular location and/or orientation. A more systematic way to construct a DWDM system is to use wavelength dispersion devices such that many channels can be multiplexed or de-multiplexed with a single device. In [0008] A third type of wavelength separating and combing devices is known as interleavers. [0009] These prior art interleavers can provide more flexibility to DWDM system designers and engineers. In [0010] In accordance with the present invention, an Optical Spectrum Synthesizer (OSS) separates a composed, multi-channel optical communication signal into two groups of channels. Each output signal has a different spectrum that allows the selection of a different group of channels or the passage of different frequency regions of the original optical spectrum. Specifically, each spectrum can be characterized as comprising periodic passing bands. The width and period of the passing bands can be designed to accommodate specific network requirements. The two output spectra are complements of each other, but may have different passing bandwidths. An OSS can be used to separate two groups of channels having different OC protocols requiring different bandwidths, e.g., one output is used to pass OC-192 channels whereas the other is used to pass OC-768 channels. A Spectrum De-Multiplexer (SDEMUX) constructed by cascading n OSS devices, will separate a composed multi-channel optical signal into n spectra each containing a different sub group of the incoming channels. The SDEMUX has a similar functional structure in comparison with DEMUX devices used in prior DWDM technology. Instead of having outputs each carrying an individual signal channel, each output of SDEMUX carries a sub group of channels. The individual channels contained in a particular output of SDEMUX can be further separated using a 1/n DEMUX where the separation between adjacent channels is n times the spacing of a prior art DEMUX. Similarly, a Spectrum Multiplexer (SMUX) is obtained by using the SDEMUX in the reverse direction. A 1/n MUX can be constructed by using a 1/n DEMUX in the reverse direction. In an additional embodiment, a long haul transmission system is disclosed which utilizes SMUX, SDEMUX and EDFA devices. An alternate long haul system is also disclosed consisting of 1/n MUX, 1/n DE-MUX and EDFA devices. A Spectrum Add-Drop Module (SADM) can be implemented with a cascade of two OSS devices. The SADM provides the network system designer a means to add and drop a group of signal channels collectively. The combination of a SDEMUX with an optical switch allows the formation of a Spectrum Switch (SS) where different groups of signal channels can be switched simultaneously. The SS can be connected to form a Spectrum Cross-Connect in a way similar to the construction of a conventional optical cross-connect using conventional optical switches. Another device is also disclosed here where two (or more) OSS devices are connected with a branch coupler. Such a device maximizes the usage of frequency space and hence can be used to achieve a higher overall data throughput rate in a network system. In still another embodiment of the invention, a Spectrum Processor is disclosed in which flexible usage of the frequency space is enabled by dividing that frequency space to accommodate different OC protocols and provide a group of channels all within a specific frequency window and with a different channel spacing and width. [0011] The aforementioned objects and advantages of the present invention, as well as additional objects and advantages thereof, will be more fully understood hereinafter as a result of a detailed description of a preferred embodiment when taken in conjunction with the following drawings in which: [0012] [0013] [0014] [0015] [0016] [0017] [0018] [0019] [0020] [0021] [0022] [0023] [0024] [0025] [0026] [0027] [0028] [0029] [0030] [0031] [0032] [0033] [0034] [0035] [0036] [0037] [0038] [0039] [0040] [0041] [0042] [0043] In [0044] [0045] [0046] In [0047] [0048] [0049] [0050] [0051] [0052] [0053] [0054] [0055] In the following the details of various preferred embodiments of the present invention are disclosed. The preferred embodiments are described with the aid of the accompanying drawings, wherein like reference numerals refer to like elements throughout. [0056] [0057] In [0058] Referring now to [0059] In order to match the center frequencies of the passing bands of output 1 and 2 to that of a standard communication grid (e.g., ITU grid), the incident angles and/or environment temperature(s) of the OSS are adjusted. In addition, one or both of the optical cavities may be constructed with piezoelectric materials such that the free-spectra-range of each of the optical cavities may be controlled. The temperature environment may also be controlled in a way to enhance the performance of the OSS. One or more electrical heaters and coolers are placed close (within a few decimeters) to the two optical cavities to ensure best performance. The effect of temperature can also be compensated for through an a-thermal design where materials with different thermal expansion coefficients are used to change the incident angle of the OSS thereby achieving a stable operation condition. [0060] Referring now to [0061] In order to match the center frequencies of the passing bands of output 1 and 2 to that of a standard communication channel grid, the incident angles and/or environment temperature(s) of the OSS are adjusted. In addition, one or both of the optical cavities may be constructed with piezoelectrical materials such that the free-spectra ranges of each or both of the optical cavities may be controlled. Another preferred way to adjust the free-spectra-range of the “air-spaced” etalon is to set and control the gas mixture and the pressure of the “air-spaced” cavity. The temperature environment of both etalons may also be controlled in a way to enhance the performance of the OSS. One or more electrical heaters and coolers are placed close (within a few decimeters) to the two optical cavities to ensure best performance. The effect of temperature can also be compensated through an a-thermal design where materials with different thermal expansion coefficients are used to change the incident angle and the thickness of the OSS thereby achieving a stable operation condition. The temperature sensitivity of the etalon can be reduced by using material with low thermal expansion. Temperature is important because typically a 1 degree C change in temperature can have an effect on the critical product of width and index of refraction comparable to the required precision to achieve the desired outputs. [0062] Referring now to [0063] In order to match the center frequencies of the passing bands of output 1 and 2 to that of a standard communication channel grid, the incident angles and/or environment temperature(s) of the OSS are adjusted. In addition, one or both of the optical cavities may be constructed with piezoelectric materials such that the free-spectra-range of each of the optical cavities may be controlled. The temperature environment of both etalons may also be controlled in a way to enhance the performance of the OSS. One or more electrical heaters and coolers are placed close (within a few decimeters) to the two optical cavities to ensure best performance. The effect of temperature change can also be compensated through an a-thermal design where materials with different thermal expansion coefficients are used to change the incident angles and the thickness of the OSS thereby achieving a stable operation condition. [0064] Referring now to [0065] In order to match the center frequencies of the passing bands of output 1 and 2 to that of a standard communication grid, the incident angles and/or environment temperature(s) of the OSS are adjusted. In addition, one, two or all three of the optical cavities may be constructed with piezoelectrical materials such that the free-spectra ranges of each of the optical cavities may be controlled. The temperature environment may also be controlled in a way to enhance the performance of the OSS. One or more electrical heaters and coolers are placed close (within a few decimeters) to the three optical cavities to ensure best performance. The effect of temperature can also be compensated for through an a-thermal design where materials with different thermal expansion coefficients are used to change the incident angle of the OSS thereby achieving a stable operation condition. The temperature sensitivity of the air spaced etalons can be reduced by using spacer materials with a low thermal expansion coefficient. [0066] Referring now to [0067] In order to match the center frequencies of the passing bands of output 1 and 2 to that of a standard communication channel grid, the incident angles and/or environment temperature(s) of the OSS are adjusted. In addition, one, two or all three of the optical cavities may be constructed with piezoelectric materials such that the free-spectra-range of each of the optical cavities may be controlled. Another preferred way to adjust the free-spectra-range of the “air-spaced” etalon is to set and control the gas mixture and the pressure of the “air-spaced” cavity. The temperature environment of these etalons may also be controlled in a way to enhance the performance of the OSS. One or more electrical heaters and coolers are placed close (within a few decimeters) to the three optical cavities to ensure best performance. The effect of temperature can also be compensated for through an a-thermal design where materials with different thermal expansion coefficients are used to change the incident angles and the thickness of the OSS thereby achieving a stable operation condition. The temperature sensitivity of the air-spaced etalon can be reduced by using spacer materials with a low thermal expansion coefficient. [0068] Referring now to [0069] In order to match the center frequencies of the passing bands of output 1 and 2 to that of a standard communication channel grid, the incident angles and/or environment temperature(s) of the OSS are adjusted. In addition, one, two, or three optical cavities may be constructed with piezoelectric materials such that the free-spectra-range of each of the optical cavities may be controlled. The temperature environment of the three etalons may also be controlled in a way to enhance the performance of the OSS. One or more electrical heaters and coolers are placed close (within a few decimeters) to the three optical cavities to ensure best performance. The effect of temperature change can also be compensated through an a-thermal design where materials with different thermal expansion coefficients are used to change the incident angle and the thickness of the OSS thereby achieving a stable operation condition. It will be understood that the various embodiments of the invention can be implemented using more than just two or three optical cavities. [0070] In [0071] [0072] Referring now to [0073] [0074] Referring now to [0075] [0076] Referring now to [0077] [0078] In another preferred embodiment of the present invention, a Spectrum Processor is disclosed where a flexible usage of the frequency space is enabled. As illustrated in [0079] [0080] Having thus disclosed various embodiments of the present invention, it being understood that numerous alternative embodiments are contemplated and that the scope of the invention is limited only by the appended claims and their equivalents.CROSS REFERENCE TO RELATED APPLICATIONS
BACKGROUND OF THE INVENTION
SUMMARY OF THE INVENTION
BRIEF DESCRIPTION OF THE DRAWINGS
DESCRIPTION OF THE PREFERRED EMBODIMENTS